Выбор средства измерения для САР давления нефти

  • Вид работы:
    Курсовая работа (т)
  • Предмет:
    Другое
  • Язык:
    Русский
    ,
    Формат файла:
    MS Word
    1,76 Мб
  • Опубликовано:
    2014-08-21
Вы можете узнать стоимость помощи в написании студенческой работы.
Помощь в написании работы, которую точно примут!

Выбор средства измерения для САР давления нефти

Введение

Современный уровень развития нефтегазовой отрасли предполагает высокий уровень интеграции в производство (добычу, транспортировку или переработку сырья) информационных технологий и, в частности, систем и средств автоматического контроля и управления технологическим процессом. И это неудивительно, ведь автоматизация может частично или полностью способствовать решению следующих производственно-хозяйственных задач предприятия отрасли:

поддержание требуемых объёмов поставок продукта заказчику;

сокращение материальных и трудозатрат на обслуживание объекта;

повышение надёжности и безотказной работы эксплуатируемого технического и технологического оборудования;

улучшение качества управления технологическим процессом путём применения усовершенствованных алгоритмов;

получение актуальной информации о технологическом процессе операторами-технологами и руководством.

Современный магистральный нефтепровод представляет собой комплекс сооружений, предназначенных для перекачки нефти из районов промысла на нефтеперерабатывающие заводы и пункты налива для последующей её транспортировки водным или железнодорожным путем. Этот комплекс включает в себя линейную часть нефтепровода, головную и промежуточные насосные станции, резервуарные парки, пункты приема и т.д.

Рассредоточенность технологических объектов линейной части нефтепровода привела к необходимости построения автоматизированных систем управления (АСУ) с применением средств телемеханики (ТМ) и микропроцессорной автоматики (МПА) для осуществления дистанционного контроля и управления технологическими параметрами нефти и технологическим оборудованием.

Объектом исследования является промежуточная нефтеперекачивающая станция НПС «Сетово-1».

Целью курсового проекта является выбор средства измерения в камере регулирования давления нефти на входе и выходе НПС «Сетово-1».

1. Описание и характеристика технологического объекта управления

.1   Общая характеристика нефтеперекачивающей станции (НПС)

Линейная производственно - диспетчерская станция «Сетово» введена в эксплуатацию 1974 году и расположена на территории Тобольского района Тюменской области. Тогда была оснащена автоматикой г. Суммы. В 1995 году была произведена реконструкция автоматики и смонтирована новая фирмы MMG Венгрия. ЛПДС «Сетово» является промежуточной станцией, через которую ведется транспортировка нефти по двум магистральным нефтепроводам «Усть-Балык-Курган-Уфа-Альметьевск» (УБКУА) и «Нижневартовск-Курган-Куйбышев» (НКК). В настоящий момент ЛПДС работает согласно заданному режиму с производительностью 480 тыс. тонн в сутки.

На двух нефтеперекачивающих станциях обеспечивается перекачка нефти по магистральному н/п 1 класса «Усть-Балык-Курган-Уфа-Альметьевск» с производительностью 63,4 млн. тонн в год и по магистральному н/п 1 класса «Нижневартовск-Курган-Куйбышев» с производительностью 68,7 млн. тонн в год.

За ЛПДС «Сетово» закреплен участок линейной части магистрального нефтепровода длиной 100 км в одиночном исполнении, в техническом коридоре протяженностью 242 км. В состав основного оборудования каждой НПС входят: узлы подключения к магистральным нефтепроводам, фильтры-грязеуловители, магистральная насосная, камеры регуляторов давления, блок гашения ударной волны.

ЛПДС «Сетово» является объектом автоматизации многоуровневой иерархической системы диспетчерского контроля и управления технологическими процессами перекачки нефти в системе магистральных нефтепроводов (СДКУ) в составе ЕАСУ АК «ТРАНСНЕФТЬ».

1.2 Назначение и состав НПС

НПС «Сетово-1» входящая в состав ЛПДС «Сетово» предназначена для поднятия давления нефти в магистральном нефтепроводе для дальнейшего ее продвижения до следующей станции. На территории НПС имеется:

·    местный диспетчерский пункт (МДП);

·    узел подключения станции к магистральному нефтепроводу;

·    площадка фильтров - грязеуловителей (ФГУ);

·    общее укрытие НПС;

·    камера регулирования давления (КРД);

·    блок-бокс гашения ударной волны «Аркрон-1000»;

·    емкости сбора утечек нефти ЕП - 40;

·    емкости РВС-400 для сброса ударной волны;

·    маслосистема;

·    система приточно-вытяжной вентиляции насосного зала;

·    подпорная вентиляция эл. зала

·    вытяжная вентиляция крд, аркрона;

·    технологические трубопроводы;

·    блок-бокс пожаротушения НПС;

·    котельная работающая на нефти;

·    системы водоснабжения, теплоснабжения, канализации, электроснабжения, телемеханики, связи, производственно-бытовые здания и сооружения;

.3 Технологический процесс перекачки НПС

Для стабильной работы магистрального нефтепровода необходимо соблюдать два основных условия. Первое условие - давление на приёме НПС, соответственно и на приёме насоса должно быть не ниже предельного значения исходя из условия кавитации насоса. При недостаточном давлении на приёме насоса (ниже 0,1 МПа) происходит выделение растворённого газа, т. е. начинается вскипание жидкости, что приводит к увеличению вибрации насоса, нагреву корпуса насоса, разрушению насоса. Второе условие - давление на выходе НПС должно быть не выше предела прочности трубопровода. Характеристика магистрального нефтепровода.

Выполнение выше названных условий реализуется при работе магистрального нефтепровода в режиме «из насоса в насос». В этом случае давление приема НПС является давлением развиваемым предшествующей НПС. Технологическая схема, показанная в приложении №1, нефтеперекачивающей станции «Сетово-1» позволяет выполнять следующие операции:

·    перекачку нефти из насоса в насос;

·    перекачку нефти минуя станцию (транзитом);

·    прием и пропуск скребка с остановкой НПС;

·    прием и пропуск скребка без остановки НПС;

·    откачку нефти из сборников утечек ЕП - 40 в РВС-400;

·    аварийный сброс нефти в РВС-400 при ударной волне;

·    раскачку РВС-400 на всас насосов.

На НПС «Сетово-1» установлено 4 насосных агрегата НМ - 10000/210 производительностью 10000 и электродвигатели марки СТД - 8000, расположенных в насосном зале и электрозале.

Таблица 1.1 - Основные технические данные некоторых центробежных насосов для магистральных нефтепродуктопроводов по ГОСТ 12124-74

Марка насоса

Подача, М3

Напор, м ст. жидк.

Допустимый кавитационный запас, -м ст. жидк.

К. п. д, на воде, %

НМ-125-550 НМ-180-500  НМ-250-475  НМ-360-460  НМ-500-300  НМ-710-280  НМ-1250-260  НМ-1800-240  НМ-2500-230  НМ-3000-250  НМ-3600-230  НМ-5000-210  НМ-7000-210  НМ-10000-210 НМ-12500-210

 125 180 250 360 500 710 1250 1800 2 500 3 000 3 600 5 000 7 000 10 000 12 500

550 500 475 460 300 280 260 240 230 250 230 210 210 210 210

4 5 6 8 12 14 20 25 32 36 40 42 52 65 68

68 70 72 74 78 83 84 85 86 86 87 88 89 89 89


Каждый насосный агрегат оборудован и оснащен системами: маслосистемой и системой сбора утечек нефти.

Все переключения на НПС, технологических трубопроводах, пуски, остановки основного оборудования, изменения режимов работы НПС, нефтепроводов регистрируются в оперативной документации диспетчерских служб и оперативного персонала НПС. Нефть по нефтепроводу диаметром 1220 мм на входе НПС проходит через приемную задвижку №1 расположенную в узле подключения станции. Узел подключения станции позволяет вести перекачку нефти как через НПС «Сетово-1», так и минуя ее. При перекачке нефти через НПС открыты секущие задвижки №1 и №2а, cо стороны всасывания и нагнетания станции, а так же всас и нагнетание всех четырех агрегатов. Также на узле подключения открыты задвижки №2, №3,№4 и задвижка последовательно с обратным клапаном №7, для транзита нефти. Задвижки №5,№6,№8 закрыты, они используются для приема и пропуска ОУ. Для того чтобы станция не работала на себя на узле подключения и на каждом насосном агрегате стоит обратный клапан. При перекачке нефти минуя стоящую НПС, открыты задвижки те же что и при работающей НПС, но нефть транзитом проходит через задвижку №4 последовательно с обратным клапаном и продвигается дальше. При открытых входных задвижках нефть поступает в блок фильтров - грязеуловителей, где она очищается от механического мусора, парафино-смолистых отложений, посторонних предметов. Датчики перепада давления показывают степень засоренности фильтров. При превышении максимального перепада давления на фильтрах-грязеуловителях, их подвергают очистке. Значение максимального перепада давления принимается по техническим требованиям завода-изготовителя.

Далее нефть поступает на прием магистральных насосных агрегатов. На участке трубопровода между фильтрами-грязеуловителями и магистральной насосной предусмотрена система сглаживания ударных волн давления. На НПС «Сетово-1» установлена система типа «Аркрон-1000» с клапанами флекс-фло в количестве 6 шт., производства США. При появлении волн давления «Аркрон» обеспечивает сброс ударной волны со всаса станции магистральной насосной в емкость РВС-400. «Аркрон» срабатывает при скорости нарастания волны выше 0,3 Мпа/с. На участке трубопровода от магистральной насосной до магистрального нефтепровода установлен блок-бокс камера регулирования давления для поддержания заданных величин давления:

·    минимальное давление на входе в магистральную насосную 0,6 МПа;

·    максимальное давление на выходе из магистральной насосной 6,4 МПа.

·    максимальное давление после регулирующих заслонок 5,2 МПа

После камеры регуляторов давления нефть через узел подключения станции к нефтепроводу подаётся на следующую НПС.

1.4 Система автоматического регулирования давления

Система автоматического регулирования (САР) давления предназначена для поддерживания давления методом дросcелирования:

на приёме НПС не ниже заданного исходя из условий кавитации насосов;

на нагнетании НПС не выше заданного исходя из условий прочности трубопровода.

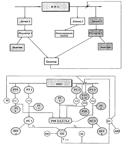
CАР имеет два контура регулирования (см. рис 1.2):

Рис. 1.2 - Блок-схема САР давления

·    контур 1 по приему НПС;

·    контур 2 по нагнетанию НПС.

В состав контура входит:

·    датчик давления;

·    регулятор;

·    задатчик.

На выходе регулятора 1 появится сигнал, если давление на приеме НПС будет ниже заданного.

На выходе регулятора 2 появится сигнал, если давление на нагнетании НПС будет выше заданного.

То есть на выходе регулятора формируется сигнал в результате рассогласования (разницы заданной и измеренной величины). Величина выходного сигнала зависит от величины рассогласования.

Селектор выбирает больший по величине выходной сигнал регулятора и передает его для управления заслонкой.

Контур 2 контролирует давление на нагнетании насосов.

На НПС «Сетово-1» применяется САР фирмы MMG. Состав системы, принцип и режимы работы:

• шкаф регуляторов 05.2;

• шкаф с силовой электроникой 05.3;

• шкаф приборов МДП 05.4;

• привод для регулирующих заслонок - 2 шт.;

• датчики давления.

В качестве регулятора используется цифровой регулятор "Digidrik" фирмы Hartmann & Braun, который выполняет несколько функций.

Регулятор PC01 выполняет следующие функции:

♦ является пропорционально-интегральным регулятором на приеме НПС (вход Е1);

♦ является селектором, т.е. выбирает собственный выходной сигнал и выходной сигнал регулятора РС02 поступающий на РС01 через вход Е2;

♦ выдает световой и звуковой сигнал при уменьшении или увеличении давления на 1 атм. от установившегося давления.

Регулятор PC02 выполняет следующие функции:

♦ является пропорционально-интегральным регулятором на нагнетании НПС (вход Е1);

♦ определяет перепад на регулирующих заслонках (на вход Е2 поступает сигнал от датчика нагнетания насосов РТ02). Величина перепада через выход А2 поступает на показывающий прибор PDI01. При перепаде 17 атм выдает сигнал на отключение первого по ходу насосного агрегата;

♦ выдает световой и звуковой сигнал при уменьшении или увеличении давления на 1 атм. от установившегося давления.

Задание, через переключатели HS01 и HS02, поступает на вход ЕЗ регуляторов РС01 и РС02.

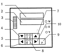
Органы контроля и управления регулятора "Digitric"(cм. рис. 1.3).

1 - табло регулируемого параметра; 2 - табло, показывающее параметры большой или малой петли: • величину задания, если горит светодиод W; • рассогласования разности между регулируемой и заданной величиной), если горит светодиод Е; • выходной сигнал регулятора в %, если горит светодиод Y; 3 - световой индикатор уровня выходного сигнала.

9 - кнопка переключения табло 2 4.7 - кнопка увеличения или уменьшения внутреннего задания 5 - кнопка переключения на внутреннее задание (горит светодиод I) или внешнее (горит светодиод Е) 6,10 - кнопка открытия или закрытия в ручном режиме 8 - кнопка переключения в ручное (горит светодиод Н) или автоматическое (горит светодиод А) управление

Рис. 1.3 - Регулятор «Дигитрик»

При исчезновении внешнего задания регулятор автоматически переходит на внутреннее задание.

При каждом нажатии на клавишу "Р" на табло 1 отображается обозначение информация малой или большой "петли", а на табло 2 ее значение.


Пример:

Ниже приведен перечень информации регулятора РС02 (нагнетание НПС):

1 W - величина внешнего задания на регулятор;

2 Е - рассогласование;

3 Y - выходной сигнал в %;

♦ _G1 - 1.0 - величина повышения давления, при которой выдается звуковой или световой сигнал (в данном случае 1,0 атм).

♦ _G2 - 1.0 - величина понижения давления, при которой выдается звуковой или световой сигнал (в данном случае 1,0 атм).

♦ _G3 - 17,0 - величина перепада давления при которой выдается сигнал на отключение (в данном случае 17,0 атм).

♦ _2А - 1000 - время, в течении которого выдается сигнал об изменении давления (соответствует 40 секундам). По истечении этого времени изменение давления будет происходить относительно нового установившегося значения.

♦ _SL - 0,00 - нижний предел измеряемой величины (в данном случае 0 атм).

♦ _SH - 60,00 - верхний предел измеряемой величины (в данном случае 60,00 атм).

♦ _Pt - 20 - предел пропорциональности (коэффициент усиления).

♦ _tn - 4 - время интегрирования.

♦ _YL - 10,0 - минимальная величина выходного сигнала в автоматическом режиме (меньше 10% выходной сигнал не уменьшится, и соответственно, регулирующая заслонка меньше чем на 10% не откроется).

♦ _YH - 90,0 - максимальная величина выходного сигнала в автоматическом режиме (больше 90 % выходной сигнал не увеличится, и соответственно, регулирующая заслонка больше чем на 90% не закроется).

♦ _rL - -15,8 - минимальное давление, которое когда либо поступало на регулятор (в данном случае -15,8 атм)

♦ _rН - 62,6 максимальное давление, которое когда либо поступало на регулятор (в данном случае 62,6 атм).

♦ _30 - 32,8 - величина давления на нагнетании насосов (в данный момент 32,8 атм).

♦ _r - 0,1 - величина перепада регулирующих заслонках (в данный момент 0,1 атм).

Примечание: при измерении позиций 1,2,3 на табло 1 отображается измеряемое значение, а на табло 2 числовое значение информации (W,E или Y).

.4 Режим работы САР

Система имеет следующие режимы работы (см рис. 1.4)

• управление заслонкой с помощью штурвала;

• кнопочный режим каждой заслонкой;

Рис. 1.4 - Режимы работы САР

• ручной режим с регулятора РС01 или РС02 (горит светодиод Н);

• автоматический режим (горит светодиод А) и имеет 2 режима:

внутреннее задание регулятора (горит светодиод I);

внешнее задание (горит светодиод Е).

Внешнее задание может поступать:

из операторной от HIT 01 (02);

из МДП;

из РДП.

1.5 Маслосистема насосных агрегатов

Каждый насосный агрегат оборудован и оснащен маслосистемой. Маслосистема предназначена для подачи масла в узлы трения (подшипники насоса НМ 10000-210 и электродвигателя СТД (АТД)-8000) с целью уменьшения трения и отвода выделяющегося при трении тепла при работе магистральных насосных агрегатов. Техническая характеристика масла, применяемого в системе маслосмазки, должна соответствовать требованиям ГОСТ-32-74.

Система смазки магистральных насосных агрегатов состоит из рабочего и резервного масляного насосов, оборудованных фильтрами очистки масла, рабочего и резервного маслобаков, аккумулирующего маслобака и маслоохладителей.

Масло в маслосистеме подается насосами шестереночного типа, марки III-40-4-19,5/4. Подача = 19,5 м/ч3, Давление = 0,4 МПа. Насос имеет привод от электродвигателя мощностью 5,5 кВт, количество оборотов 980 об/мин.

Маслосистема содержит маслобаки объемом 1,8 м3, в количестве 2 шт. На крышке баке смонтированы сигнализатор уровня «ОМЮВ», датчик уровня ультразвуковой «Optiflex». Внутри бака имеются три перегородки для сбора осадка грязи и механических включений. Маслосистема так же имеет масло охладители. Маслоохладители однокорпусные, прямотрубные, горизонтального типа являются наружными установками, находящиеся на открытом воздухе. Маслосистема является гидростатической системой смазки. В ее состав также входит аккумулируюшнй бак, при остановке маслонасосов давление масла за счет столба жидкости в вертикальной трубе поддерживается некоторое время. Маслосистема агрегатов поддерживает такие параметры: температура масла должна быть в пределах 25ч45 0С, давление масла перед подшипниками насоса 0,25-0,8 кгс/см2. Контроль давления на выходе маслонасосов и на подшипниках основных агрегатов ведется с помощью реле давления тип-1806 фирмы MMG Венгрия.

1.6 Система нефтеутечки

 

Служит для сбора утечек, накопления и закачки накопленной нефти обратно в магистральный нефтепровод.

В систему откачки утечек входит: запарная арматура, емкость утечек, насосы и нефтепроводы откачки утечек. Система утечек оснащена защитой по максимальным утечкам. Для контроля утечек магистральных насосных агрегатов используется сигнализатор уровня «OMUV/05.l». Принцип работы: утечки со всех узлов и агрегатов поступают в ЕП-40, из ЕП-40 погружными насосами закачиваем в РВС-400 а уже из РВС-400 центробежными насосами на всас станции. Пуск и отключение погружных и ЦНС насосов происходит от сигнализатора уровня «OMUV/05.l». Контроль по давлению выполняется сигнализатором давления фирмы «SeriesOne» тип -J120.

Типы насосов применяемых в системах откачки утечек:

Погружной насос 12НА-9х-4.

Четырехступенчатый, секционный, артезианского типа. Состоит из

Насоса, напорной колонки и опорной стойки. Температура эксплуатации

От -400С…+350С. Подача - 12 м3/ч, напор - 9 м., частота вращения 1470 об/мин.

Центробежный секционный насос ЦНС УН-60-330: шестиступенчатый, секционный, центробежного типа насос, имеющий пять рабочих колес. Жидкость на всас насоса должна подаваться с подпором 0,15….0,7 кгс/см2. Подача - 60 м3/ч, напор - 230 м. Насос комплектуется электродвигателем мощностью 63 кВт., число оборотов 2900 об/мин.

2. Автоматизация процесса перекачки и регулирования давления

.1 Описание функциональной схемы автоматизации процесса перекачки нефти

Система автоматизации НПС предназначена для централизованного контроля, защиты и управления оборудованием НПС. Система автоматизации НПС должна обеспечивать автономное поддержание заданного режима работы нефтеперекачивающей станции и его изменение по командам оператора НПС или диспетчера районного диспетчерского пункта (РДП).

На НПС предусмотрено:

)     централизованное управление за всеми устройствами из помещения операторной;

)     автоматизация защит насосной по общестанционным параметрам;

)     автоматизация защит магистрального насоса

)     автоматическое регулирование давления в трубопроводе;

)     автоматическое управление вспомогательными системами.

Система автоматизации НПС имеет трехуровневую структуру - нижний, средний и верхний уровень.

К нижнему уровню системы автоматизации относятся:

-    датчики технологических параметров;

-    исполнительные механизмы;

-    показывающие приборы, устанавливаемые по месту.

Дополнительно к нижнему уровню относится блок ручного управления (БРУ), который размещается в шкафу операторной и имеет в своем составе сигнализацию непосредственно от датчиков сигналов и кнопки управления, воздействующие непосредственно на исполнительные механизмы.

К среднему уровню системы автоматизации относятся программно-аппаратные модули (блоки) управления узлов и агрегатов НПС на базе программируемого логического контроллера (ПЛК).

Контроллер обеспечивает:

-    сбор информации от датчиков, устанавливаемых по месту;

-    обработку и передачу информации о состоянии объектов на верхний уровень системы автоматизации

-    автоматическое управление технологическим оборудованием станции и контроль его работы;

-    прием информации с верхнего уровня системы автоматизации и формирование управляющих воздействий на исполнительные механизмы.

-    передача сигналов телемеханики;

-    связь с системой автоматического пожаротушения.

К верхнему уровню системы автоматизации относится автоматизированное рабочие место (АРМ) оператора-технолога. Реализованный на базе двух персональных компьютеров (рабочего и резервного), размещающихся в операторной НПС.

Верхний уровень системы автоматизации обеспечивает:

-    мониторинг технологического процесса и получение трендов измеряемых технологических параметров;

-    оперативное управление технологическим процессом;

-    архивация событий нижнего уровня, контроллера, действий оператора и команд РДП.

Компьютеры из состава АРМ оператора-технолога работают независимо друг от друга и связаны с контроллером среднего уровня по собственным независимым полевым шинам. Выполнение инженерных функций реализуется на одной из операторских станций.

Для обеспечения надёжности работы системы на станции предусмотрено:

-    резервирование контроллера и питания;

-    резервирование сети в схеме удалённого ввода/вывода;

-    бесперебойное питание АРМ.

.2 Управление оборудованием НПС

Для технологического оборудования НПС предусмотрено два уровня управления:

− местное управление из МДП (операторной);

− дистанционное управление из РДП (по каналам телемеханики).

Все автоматизируемое оборудование может управляться оператором из МДП.

Для насосных агрегатов, секущих задвижек и основных вспомогательных систем предусмотрено управление из РДП.

Режим управления НПС «Местный» или «Дистанционный» устанавливается оператором МДП. Для магистральных (подпорных) насосных агрегатов предусмотрена индивидуальная установка режимов управления «Дистанционный из РДП» или «Программный из МДП». Возможность выбора того или иного режима МНА (ПНА) зависит от установленного режима управления НПС.

В режиме «Местный» управление МНА, секущими задвижками, задвижками узла подключения НПС, агрегатами вспомсистем, аварийное отключение НПС производится только из МДП.

В режиме «Дистанционный» управление МНА, секущими задвижками, задвижками узла подключения НПС, агрегатами вспомсистем, аварийное отключение НПС производится из РДП и МДП.

.3 Защиты НПС

В системе автоматизации контролируется параметры аварийной защиты, по которым требуются отключение оборудования НПС и запрет его дальнейшую эксплуатацию до выяснения и устранения причин аварии. В зависимости от параметра защиты могут выполняться следующие действия:

− отключение одного из работающих МНА, первого по ходу нефти;

− одновременное или поочередное отключение всех работающих МНА;

− закрытие задвижек подключения НПС;

− закрытие задвижек САРД, ФГУ;

− отключение тех или иных вспомогательных систем;

− включение устройств световой и звуковой сигнализации.

Алгоритм одновременного отключения МНА, предусматривает одновременную подачу команд на отключение работающих МНА.

Алгоритм поочередного отключения МНА предусматривает последовательное отключение работающих МНА, начиная с первого по ходу нефти. Общее время для поочередного отключения всех МНА НПС составляет 5 секунд.

К общестанционным защитам относятся:

по затоплению насосного зала МНСЗ, маслоприямка (помещения маслосистемы);

по загазованности (аварийная загазованность или сохранение предельной загазованности) в насосном зале МНСЗ, помещении РД, помещении маслосистемы, помещении ССВД;

по аварийному уровню нефти в емкостях сбора утечек и ССВД;

отключение МНС кнопкой "Стоп МНС".

Общестанционные защиты предусматривают:

для промежуточной НПС после подтверждения отключения всех МНА закрытие всех агрегатных (вход и выход) задвижек и задвижек на входе и выходе МНС. Узел подключения МНС к МН оборудован транзитным обратным клапаном;

Факт срабатывания общестанционных защит запоминается до деблокировки их оператором. Защиты по давлениям могут быть деблокированы также из РДП по каналам телемеханики.

При срабатывании общестанционных защит (кроме защит по пожару) закрытие агрегатных задвижек (вход и выход) и отключение вспомогательных систем, обеспечивающих безопасную работу насосных агрегатов, должно производиться только после получения сигнала об отключении ВВ всех работавших агрегатов.

Для некоторых защит предусматривается наличие задержки между обнаружением аварийного сигнала и защитным отключением. Отключение основных вспомсистем, закрытие задвижек подключения НПС к МН и закрытие задвижек подключения САРД выполняется после отключения всех МНА.

Для всех параметров защиты предусмотрен испытательный режим. В испытательном режиме устанавливается защита и передается сообщение оператору, но управляющие воздействия на технологическое оборудование не формируются.

Система энергоснабжения НПС обеспечивает закрытие задвижек подключения НПС к МН при срабатывании соответствующих общестанционных защит как при нормальном, так и при отключенном внешнем энергоснабжении НПС.

.4 Защиты НПС по давлению (технологические защиты)

Для защиты МН и НПС по давлению (минимальное на входе МНС, максимальное в коллекторе МНС, максимальное на выходе НПС) применяются две ступени защиты:

-    защита по предельному давлению;

-     защита по аварийному давлению.

Каждая ступень защиты должна выполняется самостоятельным контуром, включающим индивидуальный датчик (сигнализатор).

Защиты: предельное минимальное давление на входе МНС, предельное максимальное давление в коллекторе МНС, предельное максимальное давление на выходе НПС, предельный максимальный перепад давления на регуляторе давления - обеспечивают отключение одного (первого по потоку) насосного агрегата. При сохранении предельного давления в течение 10 секунд должно осуществляться отключение следующего (по потоку) агрегата и т.д.

Защиты: аварийное минимальное давление на входе МНС, аварийное максимальное давление в коллекторе МНС, аварийное максимальное давление на выходе НПС должны предусматривают поочередное отключение всех работающих МНА.

Срабатывание защит по предельному минимальному давлению и аварийному минимальному давлению на входе магистральной насосной станции осуществляется с выдержкой времени, предотвращающей случайные срабатывания (в том числе при прохождении воздушных пробок), но не более 10 секунд.

В случае невозможности обеспечения селективности срабатывания защит по предельному и аварийному минимальному давлению на входе МНС необходимо предусматривать настройку обеих защит на величину аварийного минимального давления на входе МНС, с выдержкой времени между их срабатыванием. Указанная выдержка времени не должна превышать 10 секунд. При этом также должна быть предусмотрена выдержка времени на срабатывание защиты по предельному минимальному давлению на входе МНС.

.5 Защиты по пожару

При поступлении сигнала «Пожар в РП» система автоматизации должна подать одновременно команды на:

отключение всех работающих насосных агрегатов НПС, подключенных к РП;

отключение систем вентиляции НПС;

закрытие агрегатных (вход и выход) задвижек всех ПНА;

закрытие задвижки между всеми МНС и ПНС, подключенными к РП

и выполнить действия, предусмотренные по п. 2.7.

При поступлении от АСУ ПТ сигнала «Пожар» в насосном зале МНСЗ и ПНСЗ, на технологической площадке МНСО, ПНСО, в помещении электрозала, в помещении РД, в помещении маслосистемы, в помещении ССВД, помещениях СИКН (на входе и выходе МНС) система автоматизации должна одновременно:

отключить все работающие насосные агрегаты, относящиеся к данной НПС;

отключить все системы вентиляции, работающие в этом помещении;

отключить все вспомогательные системы;

закрыть задвижки на входе и выходе трубопровода нефти, проходящего через это помещение;

Закрытие агрегатных задвижек, задвижек, блокировочных задвижек и задвижек на линии подачи нефти в РП определяется исходя из требований, установленных в п. 2.1.5.

Система автоматизации должна обеспечивать полное закрытие задвижек до поступления сигнала о закрытом состоянии задвижки.

.6 Общие требования к защитам НПС

При срабатывании защит:

«Аварийная загазованность», «Длительная загазованность» в помещении СИКН, расположенном на линии подачи нефти в РП;

«Пожар» в помещении СИКН, расположенном на линии подачи нефти в РП;

«Пожар в РП»

должно предусматриваться закрытие задвижки на линии подачи нефти в резервуарный парк.

Для СИКН, расположенного на линии подачи нефти в РП после предохранительных клапанов одновременно с закрытием задвижек на входе и выходе СИКН производится открытие задвижки для сброса нефти в резервуары аварийного сброса.

Требования к закрытию задвижек при поступлении сигнала «пожар»:

для промежуточной НПС при пожаре: в насосном зале МНСЗ, на технологической площадке МНСО, в помещении электрозала, в помещении РД, в помещении маслосистемы, в помещении ССВД, помещениях СИКН - одновременно с отключением всех МНА производится закрытие всех агрегатных (вход и выход) задвижек и задвижек на входе и выходе МНС, закрытие задвижек на входе ФГУ, закрытие задвижек на выходе РД, закрытие задвижек подключения ССВД к технологии НПС. Узел подключения МНС к МН должен быть оборудован транзитным обратным клапаном;

для НПС с емкостью при пожаре: в насосном зале МНСЗ и ПНСЗ, на технологической площадке МНСО, ПНСО, в помещении электрозала, в помещении РД, в помещении маслосистемы, помещениях СИКН (расположенных до или после МНС) - одновременно с отключения всех МНА, ПНА производится закрытие всех агрегатных задвижек (вход и выход) МНА, агрегатных задвижек (вход и выход) ПНА, закрытие выкидных и приемных задвижек ПНС, выходной задвижки подключения МНС к МН, закрытие задвижек на выходе узла РД, задвижек на линии подачи нефти в резервуарный парк.

Автоматическое закрытие задвижки подачи нефти в РП при срабатывании защиты должно обеспечиваться только после автоматического отключения всех НПС участка МН, работающего через данную задвижку.

При отсутствии в системе управления МН функции автоматического отключения всех НПС участка МН закрытие задвижки на линии входа в РП производится дистанционно оператором РП по команде диспетчера после подтверждения остановки всех НПС данного МН.

Полный перечень защит МНС и алгоритмы, описаны в РД «Автоматизация и телемеханизация магистральных нефтепроводов. Основные положения» приложение В.

2.7 Управление МНА

Управление МНА (ПНА) может осуществляться:

− от команды диспетчера РДП в дистанционном режиме;

− от команды оператора МДП в автоматическом основном, дистанционном или кнопочном режиме;

− автоматически - включение из резерва, отключение собственными защитами, отключение станционными защитами.

Для МНА (ПНА) предусмотрены следующие режимы управления:

− программный из операторной (МДП);

− дистанционный из РДП (ТДП);

− автоматический резервный;

− кнопочный;

− ремонтный;

− испытательный.

Программный режим управления предполагает автоматический пуск и останов насосного агрегата по команде оператора из МДП в соответствии с выбранной программой пуска.

Дистанционный режим управления предполагает автоматический пуск и останов насосного агрегата по команде оператора из РДП или МДП в соответствии с выбранной программой пуска.

Автоматический резервный режим управления МНА (ПНА) предполагает запуск агрегата при отключении работающего или запускаемого агрегата собственными защитами.

После включения агрегата из резерва он автоматически переводится в основной режим.

Кнопочный режим управления означает, что по командам пуска и останова агрегата управляется только электродвигатель МНА (ПНА). Открытие и закрытие агрегатных задвижек производится по командам управления данными задвижками. Для кнопочного режима выбор программы пуска не имеет значения.

Ремонтный режим устанавливается и отменяется оператором НПС при выводе неработающего агрегата в ремонт. В этом режиме должно блокироваться управление насосным агрегатом и задвижками агрегата через систему автоматизации НПС. После перевода агрегата в ремонтный режим блокируется срабатывание агрегатных защит этого агрегата.

В испытательном режиме контроллер программно имитирует работу двигателя, не формируя команд управления высоковольтным выключателем и приводами задвижек. Состояние ВВ контролируется, но не влияет на установку сигнала "Двигатель в работе".

Изменение состояния двигателя происходит при поступлении соответствующих команд управления двигателем. Этот режим также задается из карты режимов агрегата и является дополнительным к основным режимам МНА (ПНА). Управление агрегатом производится в соответствие с основным режимом.

Режимы управления МНА (ПНА) устанавливаются оператором из МДП и являются взаимоисключающими. Изменение режима управления во время выполнения программы пуска запрещено. Выбор ремонтного режима допускается только для неработающего агрегата.

Выбор резервного режима запрещен, если резервный режим уже установлен для одного из МНА (ПНА).

Режим управления агрегата зависит от режима управления НПС. При установке режима управления НПС "Дистанционный", все агрегаты, находящиеся в режиме "Программный из операторной (МДП)", автоматически переводятся в режим "Дистанционный из РДП". При установке режима управления НПС "Местный", все агрегаты, находящиеся в режиме "Дистанционный из РДП", автоматически переводятся в режим "Программный из операторной (МДП)".

Возможность управления агрегатными задвижками по командам оператора в автоматическом и дистанционном режимах блокируется. Несанкционированное закрытие задвижек у работающего агрегата, находящегося в автоматическом или дистанционном режиме управления, считается агрегатной защитой.

При установке режимов управления "Дистанционный из РДП" или "Программный из операторной (МДП)" агрегатные задвижки автоматически переводятся в состояние, соответствующее выбранной программе пуска.

Управление агрегатом в режимах "Программный из операторной (МДП)" и "Дистанционный" производится в соответствии с одной из двух программ пуска:

− программа пуска №1 - пуск двигателя на открытую выходную задвижку;

− программа пуска №2 - пуск двигателя на открывающуюся выходную задвижку.

Программа №2 является обязательной для МНА. Для ПНА необходимость данной программы определяется по согласованию с заказчиком системы автоматизации.

Программа пуска №1 (обязательная) предполагает пуск двигателя при полностью открытых агрегатных задвижках. В том случае, если при подаче команды "Пуск" агрегатные задвижки находятся не в открытом состоянии, то они автоматически открываются, после чего включается двигатель.

Программа пуска №2 предполагает пуск двигателя при открытой входной и открывающейся выходной задвижке. Для готовности к пуску по данной программе выходная задвижка должна быть закрыта. При подаче команды "Пуск" входная задвижка автоматически открывается (если она была не открыта), затем начинает открываться выходная задвижка. Через выдержку времени после начала открытия выходной задвижки (уставка задается оператором) включается двигатель.

Программы пуска устанавливаются оператором МДП. При изменении программы пуска происходит автоматическое предпусковое открытие или закрытие агрегатных задвижек в соответствие с устанавливаемой программой и выбранным режимом управления.

При выполнении программного отключения МНА (ПНА), задвижки приводятся в состояние, соответствующее выбранной программе МНА (ПНА).

Изменение программы пуска допускается только для неработающего агрегата.

.8 Состояние и готовность МНА

Состояния насосного агрегата определяется состоянием двигателя, задвижек и выбранным режимом управления. Агрегат может находиться в одном из трех состояний:

− отключен;

− в процессе пуска;

− в работе;

− в процессе отключения.

В программном, резервном или дистанционном режимах агрегат считается включенным после полного завершения программы пуска, то есть при включенном двигателе и полностью открытых агрегатных задвижках. В кнопочном режиме состояние агрегата контролируется только по состоянию двигателя. В испытательном режиме флаг состояния двигателя устанавливается программно при поступлении соответствующих команд управления двигателем.

У отключенного агрегата непрерывно контролируется ряд параметров и условий, определяющих его готовность к запуску. К таким условиям, например, относятся:

− отсутствие станционных и агрегатных защит;

− исправность ВВ;

− готовность агрегатных задвижек;

− соответствие положения агрегатных задвижек выбранной программе пуска;

− нормальные значения технологических параметров агрегата (температуры, давление масла, воздуха, охлаждающей воды);

− готовность технологической схемы (вход и выход НПС);

− состояние вспомогательных систем.

При отсутствии какого-либо из условий готовности в массиве запрета пуска устанавливается соответствующий флаг. Готовность к пуску определяется с учетом выбранного режима управления и отражается в следующих взаимоисключающих флагах:

− "Готов к пуску из МДП" (в программном, дистанционном или кнопочном режиме);

− "Готов к пуску из РДП" (в дистанционном режиме);

− "Горячий резерв" (резервный режим);

− "Не готов к пуску".

.9 Технические средства автоматизации на НПС

В настоящее время гарантией надежности и обеспечения точности соблюдения технических условий технологического процесса являются автоматизированные системы управления технологическим процессом (АСУ ТП). Это обуславливается тем, что данные системы позволяют свести к минимуму воздействие человеческого фактора на ход технологического процесса.

Для построения надежной автоматизированной системы управления технологическим процессом, необходимо оснащение технических установок соответствующими автоматическими измерительными приборами и информационно-измерительными системами. В нефтепроводном транспорте нефти выбирают наиболее точные, надежные и зарекомендовавшие себя приборы. Также при выборе опираются на такие критерии как:

·    взрывопожаробезопасность

·    высокий класс точности

·    надежность

·    ремонтопригодность

В качестве технических средств нижнего уровня для автоматизации процесса регулирования давления используются следующие контрольно-измерительные приборы:

-    для измерения избыточного давления - Yokogawa EJX530С;

-    для измерения перепада давления - Yokogawa EJA430В;

-    для измерения уровня рефлекс-радарный уровнемер - OPTIFLEX 1300C

-    для контроля давления масла Series J120

.9.1 Датчики избыточного давления

Для измерения избыточного давления на основных агрегатах и для регулирования давления на входе и выходе НПС мы применили датчик избыточного давления EJX530С (см.рис.1.5). Он предназначен для измерения давления различных сред: жидкости, газа и пара.

Рис. 1.5 - EJX530C

Технические характеристики представлены в таблице 1.2.

Таблица 1.2 - Основные характеристики Yokogawa EJX530С

характеристики

А

В

С

D

Диапазон измерения, MПа

-100…200 кПа

-1…2

-0,1…10

-0,1…50

Диапазон перенастройки шкалы, MПа

0-8…0-200 кПа

0-0,04…0-2

0-0,2…0-10

0-1…0-50

Максимальное рабочее давление

200 кПа

2 МПа

10 МПа

50 МПа

Температура процесса

-40...120 °С

Погрешность измерений шкалы

± 0,075%

Выходной сигнал, мА

- это серия высокоточных интеллектуальных преобразователей давления. Датчики серии EJA и EJX обладают всеми функциями современных интеллектуальных датчиков. Отличительной особенностью преобразователей серий EJA и EJX является принцип измерения давления: в качестве чувствительного элемента в них используется кремниевый механический резонатор - уникальная разработка фирмы Иокогава.

Что такое кремниевый резонатор? Кремниевый резонатор представляет собой параллелепипед плоской формы, защищенный герметичной капсулой и интегрированный в плоскость кремниевой мембраны. При изготовлении чувствительных элементов применяются самые современные технологи роста кристаллов, благодаря чему вся эта сложная структура получается с единой монокристаллической решеткой.

Принцип работы кремниевого резонатора (см. рис. 1.6, 1.7):

На рабочий чувствительный элемент 1- воздействует измеряемая среда давлением Рраб и Траб, на опорный чувствительный элемент 2- давление окружающей среды и температурой Рокр и Токр. Частотные автогенераторы 3 и 4, в электрическую сеть которых включены рабочий и опорный чувствительный элементы, генерируют на своих выходах частотные сигналы давления и температуры рабочей и окружающей сред. Частотный выходной сигнал со смесителя 5 является разностным параметром между сигналами рабочего и опорного каналов. Соответственно в каждый канал включены чувствительный элемент и автогенератор. Выходным сигналом измерительного преобразователя могут служить частотный Рвых и унифицированный токовый Iвых сигналы, которые генерируются частотным преобразователем 6. На практике частотный сигнал Рвых по своим техническим показателям предпочтительнее токового Iвых.

Рис. 1.6 - Структурная схема работы кремниевого резонатора DPharp

Собственная частота такого ненагруженного резонатора составляет около 90 кГц.

В зависимости от знака приложенного давления резонатор растягивается или сжимается, в результате чего частота его собственных механических колебаний соответственно растет или уменьшается. Колебания механического резонатора в постоянном магнитном поле преобразуются в колебания электрического контура, и, в итоге, на выходе чувствительного элемента получается цифровой (частотный) сигнал, точно отражающий величину измеряемого давления. Возбуждение колебаний и передача частоты механических колебаний в электрический, частотный сигнал происходят путем помещения двухконтурных резонаторов в постоянное магнитное поле и пропускания переменного электрического тока через тело резонатора в контуре возбуждения. Благодаря эффекту электромагнитной индукции, в измерительном контуре возникает переменная ЭДС с частотой, равной частоте колебаний резонатора измерительного контура. Обратная связь контура возбуждения по измерительному контуру вместе с эффектом сдвига частоты вынужденных колебаний в сторону резонансной частоты обеспечивают постоянное соответствие частоты электрических колебаний резонансной (собственной) частоте механических колебаний тела резонатора. Серия EJX почти полностью перекрывает модельный ряд EJA и вводит еще ряд новых моделей, таких как многопараметрический датчик EJX910A.

Рис. 1.7 - Схема резонатора

.9.2 Перепад давления

Для измерения перепада давления мы применили EJА430B, предназначен для измерения давления жидкости, газа или пара (см.рис.1.8). Его выходной сигнал 4 - 20 мА постоянного тока соответствует величине измеренного давления.

Рис. 1.8 - EJA430B

Таблица 1.3 - Основные характеристики Yokogawa EJA430В

характеристики

A

B

Диапазон измерения, MПа

-0,1…3

-0,1…14

характеристики

A

B

Диапазон перенастройки шкалы, MПа

0,03…3

0,14…14

Максимальное рабочее давление

3

14

Погрешность измерений, %

0,075

0,075

Температура процесса

-40...120 °С

Выходной сигнал, мА

4…20 мА


.9.3 Измерение уровня

В системе нефтеутечек для точного измерения уровня мы применили рефлекс-радарные уровнемеры Optiflex 1300С (см. рис. 1.9). Он разработан для измерения дистанции, уровня, границы раздела фаз, массы и объема жидкостей, паст, шламов, сыпучих и гранулированных продуктов. Рефлекс-радарные уровнемеры снабжены специальными сенсорами, по которым рабочий сигнал перемещается от прибора к поверхности продукта. Основной принцип измерения называется "Рефлектометрия интервала времени" (Time domain reflectometry (TDR)). Это принцип измерения, используемый прибором для измерения уровня и раздела фаз. Устройство излучает маломощный импульсный сигнал длительностью около 1 наносекунды по жесткому или гибкому проводнику. Этот импульс перемещается со скоростью света. Когда сигнал достигает продукта, он частично отражается от его поверхности (величина отражения зависит от диэлектрической проницаемости продукта Er). Например,

для воды величина отраженного сигнала составляет около 80% от исходного значения. В дальнейшем прибор измеряет время прохождения сигнал от момента передачи сигнала до его возвращения: 1/2 времени возвращения и соответствует дистанции от технологического присоединения прибора (фланца, резьбового присоединения) до поверхности продукта. Это время прохождения сигнала преобразуется в электронном конверторе в дистанцию, уровень, массу или объем продукта и выдаётся в качестве токового выхода 4-20 мА и по протоколу HART®.

Пыль, пена, испарения продукта, завихрение поверхности продукта, кипящая поверхность продукта, изменения давления и температуры не оказывают практического влияния на процесс измерения.

Рис. 1.9 - рефлекс-радарный уровнемер Optiflex 1300С

Технические характеристики в таблице 1.4.

Таблица 1.4 - Технические характеристики Optiflex 1300C

Разрешающая способность измерений:

1 мм

Воспроизводимость:

 ± 1 мм

Точность измерений: (в прямом режиме)

Уровень жидкостей: · ± 3 мм при дистанции < 10 метров · ± 0,03% от измеренного значения при дистанции ≥ 10 метров

Точность измерений: (в прямом режиме)

Уровень границы раздела фаз жидкостей: · ± 10 мм при постоянном значении диэлектрической проницаемости Er измеряемого продукта

Точность измерений: (в прямом режиме)

Для сыпучих продуктов: ± 20 мм

Стандартные условия в соответствии со стандартом EN 60770

Температура:

+ 20 oС ± 5 oС

Давление:

1013 мбар ± 20 мбар

Относительная влажность воздуха:

60 % ± % 15

Условия эксплуатации

Температура окружающей среды:

-40…+80 °C, Для приборов взрывозащищенного исполнения смотрите специальное дополнение на странице 158 и соответствующие сертификаты

Стойкость к термошоку:

100 °C в минуту

Рабочее давление:

Стандартное исполнение: -1…40 бар

Напряжение источника питания

Терминальные картриджи взрывобезопасного исполнения "Ex d", выход 1: 14…36 В постоянного тока при токе 22 мА


.9.4 Сигнализатор давления

Для измерения давления масла на подшипниках МНА используем сигнализатор давления Series тип J120 модель 184 (см.рис.1.10). Принцип измерения основан на деформации чувствительного элемента, сильфона, под действием измеряемой среды. Сильфон в свою очередь нажимает на микропереключатель, который замыкает или размыкает контакты.


Технические характеристики в таблице 1.5

Таблица 1.5 - Технические характеристики Series 120-184

Модель

Диапазон изменения уставки bar

Гистерезис mbar

Давление перегрузки bar

Давление Испытательное bar

184

0,1 до 3,4

20,7 до 206,8

34,5

68,9


Характеристики микропереключателя: 15 А 125/250/480 В AC, резистивная нагрузка (стандартно), кроме типов H122P; 11A 125/250 В AC характеристики резистивная нагрузка; B121-13272, B122-13322, E121-13273, E122-13321; 22A 480VAC резистивная нагрузка. Переключатели имеют ограниченные возможности переключения постоянного тока (DC).

Температура от -56˚C до +85˚C; модели 36-39, 520-525, 540-548, 701-705: от -17˚C до +71˚C; Типы 820E, 822E: окружающей среды от -40˚C до +71˚C уставка обычно сдвигается менее чем на 1% от диапазона при изменении температуры окружающей среды на 28˚C; для типов E121 и E122 - менее чем на 2%

Повторяемость уставки реле давления: модели 126-164, S126B-S164B, 171-174, 270-274, 358-376, 520-535, 540-543, 560-564, 701-705: ±1% от настраиваемого диапазона; модели 450-559: ±1/2% от настраиваемого диапазона; модели 36-39, 183-194, 483-494, 544-548, 565-567, 612-680: ±1 1/2% от настраиваемого диапазона.

3. Выбор средства измерения давления для САР давления

.1 Современное состояние проблемы измерения давления

Высокопроизводительная, экономичная и безопасная работа технологических объектов требует применения современных методов и средств измерения величин, характеризующих ход производственного процесса и состояние оборудования. Давление является одним из основных параметров, подлежащих контролю со стороны систем автоматического регулирования.     

Промышленная группа YOKOGAWA Electric (Япония) представила на российский рынок результаты своих последних разработок, одними из последних разработок были преобразователи давления EJX, использующих в своей основе частотно-резонансный принцип измерения давления на базе кремниевого резонатора. Основная область применения данных приборов - измерение давления или перепада давления жидкостей, газов и пара в технологических процессах как на стандартных, так и на высоко ответственных позициях в различных отраслях промышленности.

      Новые приборы в своей основе используют тот же "частотно-резонансный" принцип преобразования давления в частотный сигнал на базе кремниевого кристалла (DPHarp технология).

При этом в серии EJX существенно изменена конструкция капсулы, благодаря чему значительно уменьшено время отклика (теперь оно составляет 95 мсек - EJX - самый быстрый интеллектуальный датчик!!!). Кроме того переработана электроника (теперь она полностью резервирована даже для стандартных базовых исполнений), добавлены функции, улучшена точность. Вся линейка EJX стандартно сертифицирована по TUV на уровень безопасности SIL2. Серия EJX почти полностью перекрывает модельный ряд EJA и вводит еще ряд новых моделей, таких как многопараметрический датчик EJX910A.

3.2 Выбор метода и средства измерения давления

Согласно РД по автоматизации нефтеперекачивающих станций основная погрешность СИ не должна превышать значений, в процентах, для параметров:

-   давление нефти на входе МНС в системе автоматического регулирования ±0,1;

-    давление нефти в коллекторе МНС, на выходе НПС в системе автоматического регулирования ±0,2;

В качестве средства измерения избыточного давления на входе и выходе станции был выбран датчик давления EJX530 с капсулой С. Технические характеристики в таблице 1.6. Конструктивной особенностью датчика является то что в сенсоре используются не один, а два идентичных резонатора, расположенных так, что они по разному реагируют на изменение перепада давления. Благодаря этому есть возможность разделить "полезный" и паразитные вклады в сигнал (разница частот резонаторов пропорциональна перепаду давления, а сумма частот статическому давлению с поправкой по температуре). Таким образом, возможна сразу аппаратная компенсация с одновременным получением дополнительной информации. Сопротивление тела резонатора является индикатором температуры. "Кремниевый резонатор" называют по истине цифровым сенсором, так как в нем полностью отсутствует промежуточное аналого-цифровое преобразование (деформация сразу преобразуется в частоту) в отличие от емкостного и пьезорезистивного датчиков, где промежуточный аналоговый параметр обязательно присутствует (деформация-емкость-частота, деформация- сопротивление- частота). Этот факт, вкупе с чисто линейной зависимостью частоты от давления, дает большое преимущество "кремниевому резонатору", благодаря чему, для достижения более высокой точности, требуется только увеличить точность калибровки, а перестройка шкалы не требует подстройки нуля и калибровки, обязательных для емкостного и пьезо-резистивного датчиков.

При всем этом в новой серии EJX реализован целый ряд отличительных функций и характеристик, которые выделяют EJX по сравнению с EJA:

Гарантируются более высокие точность и стабильность (погрешность _ 0.04% от шкалы стандартно, стабильность _ 0.1% от ВПИ в течении 10 лет). При этом максимальная глубина перестройки шкалы увеличена до 200;

Таблица 1.6 - Основные характеристики Yokogawa EJX530С

характеристики

А

В

С

D

Диапазон измерения, MПа

-100…200 кПа

-1…2

-0,1…10

-0,1…50

Диапазон перенастройки шкалы, MПа

0-8…0-200 кПа

0-0,04…0-2

0-0,2…0-10

0-1…0-50

Максимальное рабочее давление

200 кПа

2 МПа

10 МПа

50 МПа

Температура процесса

-40...120 °С

Погрешность измерений шкалы

± 0,075%

Выходной сигнал, мА

4…20 мА

Материал, контактирующий со средой

мембрана - SUS 316L, Hastelloy C-276, титан или тантал

Питание

10,5...42 В постоянного тока


·    Время отклика 90 мсек

·    Температура процесса -40...120 °С

·    Температура окружающей среды -51 °С (без индикатора)

·    Температура окружающей среды -30…80 °С (с индикатором)

.3 Расчет погрешностей измерения

Одним из факторов, влияющих на точность измерения давления нефти, является температура измеряемой среды и температура окружающей среды. Таким образом надо учитывать нагрев или охлаждение чувствительного элемента. Произведем расчеты абсолютной и приведенной погрешностей с учетом влияния максимально допустимых температурных отклонений.

Выберем прибор с классом точности: 0.075%.

Приведенная погрешность определяется формулой:

, (3.1)

где:  g - предел допускаемой приведенной погрешности в % от нормирующего значения (±0,075),

X N - нормирующее значение (10 МПа),

D - абсолютная погрешность.

Выразив из этого выражения абсолютную погрешность :

, (3.2)

получим значение

Среднеквадратическое отклонение погрешности средства измерения определим как:

, (3.3)

где: к=1,7 - энтропийный коэффициент для равномерного закона распределения погрешностей.

В итоге получим значение

Абсолютная погрешность с учетом температуры определяется как

, (3.4)

где: a - температурный коэффициент (0,00039), н - температура при нормальных условиях (20°С),- максимальная температура отклонения при работе в которой рассчитан прибор от -40°С до + 60°С.

После подставления соответствующих значений получим

Среднеквадратическое отклонение определим как

, (3.5)

в итоге, получая значение

Суммарное среднеквадратическое отклонение средства измерения найдем из выражения:

; (3.6)

оно получается равным

Тогда суммарная величина абсолютной погрешности средства измерения определится как

, (3.7)

и будет равняться

Приведенную погрешность средства измерения найдем по формуле:

, (3.8)

g=±0,047<0,075, что и требовалось по заданию.

4. Монтаж средства измерения

.1 Подключение по электрической принципиальной схеме

Датчик избыточного давления EJX530 с капсулой С приведен в Приложении Б. На рисунке 1.6 рассмотрим электрическую принципиальную схему подключения.

Рисунок 1.6 - Варианты подключения аналогового выхода и выхода состояния EJX530С

Для источника питания 24В постоянного тока нужно в цепь измерительную подключить сопротивление от 250 Ом до 550 Ом. При использовании функции цифровой связи по Brain расстояние должно быть до 2 км при использовании кабелей CEV с полиэтиленовой изоляцией ПВХ в оплетке. Расстояние зависит от типа используемого кабеля. При использовании функции цифровой связи по HARТ расстояние до 1,5 км при использовании многожильных кабелей витых пар. Расстояние связи меняется в зависимости от типа выбранного кабеля. Прибор должен обязательно заземлен в соответствии с ПТЭП и ПУЭ.

Заключение

В данной работе была рассмотрена система автоматизации НПС -1 «Сетово» на ЛПДС «Сетово» ОАО «Сибнефтепровод». Было рассмотрено оборудование АСУ, а также выбраны средства автоматизации с учетом современного состояния развития отрасли, заменяющие существующие.

В соответствии с требованиями была представлена функциональная схема автоматизации на одном листе формата А3.

Для каждого прибора рассматривались принцип работы и основные характеристики с которыми он выпускается.

Кроме того, отдельно рассматривалась позиция прибора для измерения давления в камере регулирования давления. В качестве средства измерения давления был выбран интеллектуальный датчик давления EJX530 с капсулой С. Для рассмотрения принципа работы последнего была рассмотрена измерительная схема первичного преобразователя, с учетом номинальных технологических параметров. Был произведен расчет погрешностей измерения. Также была рассмотрена схема подключения.

Описана система автоматизации, которая обеспечивает контроль, регистрацию и отображение основных технологических параметров, а так же автоматическое регулирование и управление ходом технологического процесса, в том числе аварийное управление.

Список используемой литературы

1.     Приборы и средства автоматизации. Каталог. Т.2. Приборы для измерения давления, перепада давления и разряжения. - М.: ООО Издательство «НАУЧТЕХЛИТИЗДАТ», 2004. 168 с.

.       Приборы и средства автоматизации. Каталог. Т.4. Приборы для измерения и регулирования уровня жидкости и сыпучих материалов. - М.: ООО Издательство «НАУЧТЕХЛИТИЗДАТ», 2004. 176 с.

.       Приборы и средства автоматизации: Каталог. Т.6. Вторичные приборы. - М.: ООО Издательство «НАУЧТЕХЛИТИЗДАТ», 2005. 164 с.

.       Приборы и средства автоматизации. Каталог. Т.7. Приборы регулирующие. Сигнализаторы температуры, давления, уровня. Датчики реле. Исполнительные механизмы отечественного и зарубежного производства.- М.: ООО Издательство «НАУЧТЕХЛИТИЗДАТ», 2005.488 с.

.       Российский официальный сайт компании Yokogawa #"788203.files/image028.gif">

Приложение Г

Принципиальная схема подключения датчика давления EJA530 с капсулой С

Рис. 1.1 - схема подключения датчика давления EJA530 с капсулой С

Рис. 1.2 - Структурная схема работы кремниевого резонатора DPharp

Похожие работы на - Выбор средства измерения для САР давления нефти

 

Не нашли материал для своей работы?
Поможем написать уникальную работу
Без плагиата!
Без нейросетей!