Восстановление винтов диспергатора
Министерство
образования и науки Российской Федерации
Российский
государственный университет нефти и газа
имени И.М.
Губкина
Кафедра
"Машины и оборудование нефтяных и газовых промыслов"
Курсовая
работа
по дисциплине
"Основы эксплуатации и ремонта бурового и нефтегазодобывающего
оборудования"
Работу выполнил:
ст. гр. МО-11-09
Азарин К.И.
Работу проверили:
В.Н. Протасов, С.А. Карелина
Москва 2015
Оглавление
Введение
1. Назначение
1.1 Функции
1.2 Специфика
условий работы
2. Дефекты,
возникающие при эксплуатации
2.1 Виды
дефектов
2.2 Процессы,
вызывающие образование конкретных дефектов
2.3 Методы
выявления дефектов
3. Технологические методы устранения
дефектов винта
3.1 Анализ рекомендуемых в литературе
технологических методов устранения различных дефектов
3.2 Выбор и обоснование наиболее
эффективных методов устранения дефектов винта диспергатора лабиринтно-винтового
типа
4. Разработка технологического маршрута
ремонта винта диспергатора
Заключение и
выводы
Список
использованной литературы
Введение
Поддержание рабочего состояния оборудования обеспечивается
планово-предупредительными ремонтами. Основанием для ограничения сроков
эксплуатации являются экономические соображения. Сроки эксплуатации единицы
оборудования могут различаться в зависимости от условий эксплуатации, от
методов диагностики, обслуживания и ремонта [1].
Функция по выполнению работ по техническому обслуживанию и ремонту
оборудования нефтегазодобывающего общества возложена на
эксплуатационно-ремонтную базу, которая включает собственную
эксплуатационно-ремонтную базу, ремонтные базы подрядных организаций
(технический сервис) и ремонтные базы предприятий-изготовителей оборудования(
фирменный сервис). На старых месторождениях они, по меньшей мере, удваиваются,
а новое оборудование приобретается только для освоения новых месторождений [1].
Такая политика обеспечивает компаниям значительный экономический эффект,
особенно, при ускоренном отборе нефти из скважин, когда сближаются сроки
эксплуатации оборудования со сроками разработки месторождений [1].
Улучшение положения потребностей нефтегазовой отрасли в оборудовании
возможно и целесообразно не только за счет увеличения количества выпускаемого
оборудования, а за счет улучшения качества выпускаемого оборудования. Что
возможно, если компании производители будут самостоятельно разрабатывать и
развивать системы технического обслуживания и ремонта оборудования в течение
всего срока эксплуатации вплоть до его списания. Так как компания производитель
сможет сделать это наиболее эффективно, в связи с тем что испытания и
производство оборудования были проведены на этапе разработки прототипов
оборудования и следовательно сроки эксплуатации и промежутки времени через
которые следует проводить техническое обслуживание будет более ясным для такой организации.
На данном этапе развития нефтегазовой промышленности в условиях
ожесточающихся режимов эксплуатации оборудования должна быть поставлена задача
повышения эффективности, качества и скорости работы ремонтных компаний. Целью
этого направления является обеспечение должной надежности работы оборудования,
а так же минимально возможных сроков обслуживания и ремонта оборудования для
его повторного ввода в эксплуатацию.
Цели курсовой работы
- Систематизировать и закрепить теоретические знания,
полученные при изучении дисциплины "Основы эксплуатации и ремонта бурового
и нефтегазодобывающего оборудования";
- Углубить теоретические знания по теме работы;
- Сформировать умение использовать справочную и нормативную
документацию;
- Подготовиться к государственной аттестации.
Задачи работы:
По выбранному совместно с руководителем по выполняемой курсовой работе
чертежу детали, входящего в состав оборудования, разрабатываемого в 8-м
семестре курсового проекта по дисциплине "Машины и оборудование для добычи
и подготовки нефти и газа".
· Сформулировать назначение выбранной детали в оборудовании, в
состав которого оно входит
· Систематизировать характерные виды дефектов, возникающих при
эксплуатации оборудования, в состав которого входит эта деталь, рассмотреть
механизм процессов, вызывающих образование конкретных дефектов
винт диспергатор дефект ремонт
1. Назначение
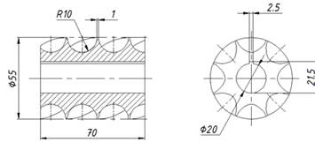
Для выполнения данной курсовой работы был выбран винт диспергатора,
входящий в состав газосепаратора-диспергатора (рисунок 1.1).
Рисунок 1.1. Винт диспергатора лабиринтно-винтового типа.
1.1 Функции
Диспергатор лабиринтно-винтового типа в конструкции
газосепаратора-диспергатора предназначен для измельчения пузырьков свободного
газа в газожидкостной смеси, растворения их в жидкости для расширения
функциональных возможностей погружного насоса и создания более благоприятных
условий его работы.
1.2 Специфика
условий работы
Детали этого типа подвержены практически всем видам коррозии и износа,
т.к. они работают в условиях быстродвижущейся агрессивной среды, перекачиваемой
насосом, в которой присутствуют свободный газ, абразивные частицы, высокие
температуры, химически активные элементы, контактирующие со всей площадью
поверхности детали.
2. Дефекты,
возникающие при эксплуатации
.1 Виды
дефектов
Для винта диспергатора, работающего в условиях быстродвижущейся
коррозионно-активной среды, с повышенным содержанием механических примесей
характерны следующие виды дефектов:
· Сквозные свищи (результат воздействия коррозионно-активной
среды)
· Коррозионные отверстия (потеря материала в результате
различных видов коррозии)
· Потеря металла (изменение геометрических параметров винта
вследствие механических или коррозионных повреждений)
· Риски/царапины/задиры (произвольно направленные механические
повреждения поверхности).
.2 Процессы,
вызывающие образование конкретных дефектов
Абразивное изнашивание - это разрушение поверхности детали в результате
его взаимодействия с твердыми частицами (абразивом). Абразивным материалом
называют материал естественного или искусственного происхождения, зерна
которого имеют достаточную твердость и обладают способностью резания
(царапания). В зависимости от структуры абразивного материала и среды зерна и,
следовательно, типа его воздействия на поверхность детали абразивное
изнашивание можно разделить на царапание и резание [2].
Механизм резания может рассматриваться как совокупность следующих
элементарных процессов:
) упругое взаимодействие абразивной частицы с металлической поверхностью;
) пластическое деформирование изнашиваемого материала при внедрении
абразивной частицы;
) процесс снятия (среза) доли металла абразивной частицей с поверхности
изнашиваемого металла (рисунок 2.1).
В случае неглубокого проникновения абразива к радиусу скругления внедрившейся
кромки процесс резания невозможен, в этом случае абразивная частица оттесняет
часть материала в стороны. Образуются царапины и риски [2].
Рисунок 2.1. Образования деформированного слоя при абразивном износе пластичного
материала: 1 - основная структура обрабатываемого металла; 2 - зона пластическй
деформации; 3 - стружка; 4 - пластически деформированный поверхностный слой; 5
- абразивная частица.
Кавитационное изнашивание связано с нарушениями сплошности потока
жидкости, движущейся с большой скоростью. На участках, где давление жидкости
падает ниже давления насыщения паров, возникают пузырьки пара, воздуха, газа. В
зоне повышенного давления кавитационные полости и пузырьки захлопываются с
большой скоростью, вызывая микрогидравлические удары жидкости о поверхность
детали и ее разрушение (рисунок 2.2). Нередко кавитационное изнашивание
сочетается с эрозионным процессом, если поток жидкости загрязнен механическими
частицами, как и происходит в случае винта диспергатора [2].
Рисунок 2.2. Схемы гидравлических ударов при сокращениях кавитационного
пузыря.
Химической коррозией называют разрушение металлов вследствие химического
или электрохимического взаимодействия их с коррозионной средой. Чистая
металлическая поверхность легко подвергается химическому воздействию среды.
Окружающая среда оказывает существенное влияние на характер протекания
коррозионного процесса и, следовательно, обуславливает коррозию разных видов
[2].
Жидкостная коррозия - коррозия металлов и сплавов в жидкой среде, которая
может обладать или, наоборот, не обладать электролитическими свойствами при
полном, неполном или переменном погружении.
Газовая коррозия происходит при непосредственном контакте твердого тела с
химически активным газом. Характеризуется образованием на поверхности тела
пленки продуктов химической реакции между веществами, входящими в состав тела и
адсорбируемыми из внешних газовых включений перекачиваемой газожидкостной смеси
[2].
2.3 Методы выявления
дефектов
Дефектоскопия является составной частью диагностики технического
состояния оборудования и его составных частей. Работы, связанные я выявлением
дефектов в материале элементов оборудования, совмещаются с ремонтами и
техническим обслуживанием или выполняются самостоятельно в период технического
осмотра. Для выявления скрытых дефектов в конструкционных материалах
используются различные методы неразрушающего контроля.
Для выявления дефектов в теле винта диспергатора применяют такие методы
дефектоскопии, как акустическая, магнитная, капилярная, оптическая.
Акустические методы (рисунок 2.1) основаны на регистрации параметров
упругих колебаний, возбужденных в исследуемом объекте. На ремонтных
мероприятиях нефтегазовой отрасли применяют ультразвуковую дефектоскопию,
сущность которой заключается в способности ультразвуковых колебаний проникать
вглубь материала контролируемого изделия и отражаться от дефектов, являющихся
нарушением сплошности материала [3].

- контролируемая деталь, 2 - приемный преобразователь пьезоэлектрический,
3 - преобразователь пьезоэлектрический, 4 - усилитель, 5 - трубка
электронно-лучевая, 6 - генератор импульсный, 7 - генератор основной развертки,
8 - дефект.
Магнитные методы основаны на регистрации магнитных полей рассеивания над
дефектами или магнитных снов контролируемого объекта. Их применяют для
обнаружения поверхностных и подповерхностных дефектов в деталях различной
формы, изготовленных из ферромагнитных материалов. Магнитный потом, встречая на
своем пути дефект с низкой магнитной проницаемостью по сравнению с
ферромагнитным материалом детали, обтекает его, и часть магнитных силовых линий
выходит за пределы детали (рисунок 2.2) [3].
Рисунок 2.2. Схемы возникновения магнитных полей рассеяния при
намагничивании:
А - продольное; б - циркулярное; 1 - трещина; 2 - неметаллическое
включение.
При контроле деталей, поступающих в ремонт, наиболее распространен
металлопорошковый способ. Технология состоит из следующих операций: очистка
поверхности, подготовка суспензии, намагничивания контролируемой детали,
осмотра поверхности с целью выявления мест, покрытых отложениями порошка,
размагничивание детали.
Капиллярный метод основан на капиллярном проникновении индикаторных
жидкостей в полости поверхностных и сквозных несплошностей объекта и
регистрации образующихся индикаторных следов визуально или с помощью
преобразователя (рисунок 2.3). Эти методы позволяют обнаруживать дефекты
производственно-технологического и эксплуатационного происхождения [3].
Рисунок 2.3. Последовательность капиллярного метода контроля:
а - трещина, заполненная проникающей жидкостью, б - жидкость с поверхности
детали удалена, в - нанесен проявитель, трещина выявлена.
- контролируемая деталь, 2 - полость трещины, 3 - проникающая жидкость, 4
- проявитель, 5 - след трещины.
3.
Технологические методы устранения дефектов винта
Для выполнения основной функции диспергатора винт должен обеспечивать
определенные напор и подачу.
Данные параметры напрямую зависят от геометрических размеров винта (угол
наклона лопасти, площадь проходного сечения, внешний диаметр винта и др.)
Поэтому все используемые методы ремонта направлены именно на
восстановление геометрических параметров винта.
После разборки диспергатора винт подвергается контролю с целью выявления
дефектов. Наружные трещины выявляются магнитопорошковым, капилярным методами,
внутренние трещины - с помощью ультразвуковой дефектоскопии. Проводится замер
основных геометрических параметров винта. При несоответствии замеров с
начальными данными более чем на 80% деталь утилизируют.
При смятии или разрушении кромок шпоночной канавки в отверстии винта, на
долбежном станке обрабатывается новая канавка под углом 120-180° к оси старой канавки. Изношенные
поверхности винтовой нарезки восстанавливают в основном наплавкой, а изменения
остальных геометрических параметров компенсируют наплавкой или металлизацией. В
редких случаях при соответствующих условиях эксплуатации используют полимерное
покрытие.
После проведения вышеперечисленных методов восстановления параметры винта
подгоняют под требуемые с помощью механической обработки.
3.1 Анализ
рекомендуемых в литературе технологических методов устранения различных
дефектов
В результате действия потока жидкости и абразивных частиц, содержащихся в
нем, уменьшается внешний диаметр винта и диаметр ступицы винта. Эти размеры
восстанавливают с помощью наплавки, в результате которой они превышают
доэксплуатационные и требуют последующую механическую обработку.
Сущность процесса наплавки заключается в нанесении расплавленного металла
на поверхность детали, нагретую до температуры плавления. Данный способ
восстановления применяют для возврата к первоначальным геометрическим
параметрам. Применяют ручную и автоматическую наплавки [3].
Широко применяют наплавку порошковой проволокой, используемую при
наплавке высоколегированных и высокоуглеродистых сплавов, что позволяет
повысить производительность наплавки при высоком легировании наплавленного
металла.
Самым распространенным методом наплавки является газовая наплавка, где
расплавление основного и присадочного материала осуществляется теплом, выделяющимся
в процессе сгорания горючих газов в среде кислорода (рисунок 4.1) [3].
Рисунок 4.1. Схема газовой наплавки: 1 - наплавляемая деталь; 2 - газовая
горелка; 3 - присадочный материал; 4 - наплавляемый металл.
Механическую обработку используют в качестве подготовительной и
окончательной обработки при восстановлении поверхностей разными
технологическими методами [3].
Механическая обработка включает такие операции, как точение,
фрезерование, строгание, сверление, резка, притирка, полирование. Деталь
обрабатывается с применением охлаждающей жидкости. В результате наплавки с
последующей механической обработкой получаем винт диспергатора с
доэксплуатационным параметром внешнего диаметра, с требуемой шероховатостью.
В результате воздействия потока жидкости с включениями свободного газа и
абразивными частицами изнашиваются проходные каналы винта, возможно образование
химических соединений металла винта с вредными примесями газожидкостной смеси.
Для ремонта детали необходимо удалить прореагировавший слой посредством
механической обработки, а после нанести новый слой металла. Одним из самых
простых способов покрытия поверхностей металлом является металлизация.
Процесс металлизации заключается в нанесении расплавленного металла на
специально подготовленную поверхность винта путем распыления его струей воздуха
или газа. В результате соударения происходит механическое закрепление и
молекулярное схватываниемежду напыляемым и основным металлом [3].
Широкое применение на ремонтных предприятиях получила электродуговая
металлизация (рисунок 4.2), заключающаяся в создании электрической дуги между
двумя электродными проволоками и раздуванием расплавленного метала на
поверхность винта струей сжатого воздуха.
Рисунок 4.2. Схема электродуговой металлизации:- график скорости струи
сжатого воздуха; II - график скорости частиц расплавленного металла; 1,2 -
электродные проволоки; 3 - механизм подачиэлектродной проволоки; 4 - деталь; 5
- напыленный слой; 6 - наконечник; 7 - сопло.
Процесс металлизации требует последующую механическую обработку с целью
восстановления доэксплуатационного параметра шероховатости проходных каналов.
.2 Выбор и
обоснование наиболее эффективных методов устранения дефектов винта диспергатора
лабиринтно-винтового типа
По моему мнению, наиболее эффективным методом восстановления номинальных
размеров винта диспергатора является наплавка слоя металла, которая в ряде
случаев обеспечивает деталь новыми свойствами поверхности, а так же повышенными
физико-химическими свойствами.
Хотя процесс металлизации и является более эффективным способом
восстановления, он гораздо более дорогостоящий, им достаточно сложно
восстановить параметр внешнего диаметра винта, который является
основополагающим.
Характерной особенностью эксплуатации скважинного оборудования, является
стремление достижения максимального времени нахождения этого оборудования в
самой скважине.
Таким образом, метод наплавки может обеспечить восстановление, и даже
увеличение ресурса работы винта диспергатора, и, следовательно, продлить время
работы погружного насоса.
4. Разработка
технологического маршрута ремонта винта диспергатора
Технологический процесс ремонта - комплекс работ, выполняемых в
определенной последовательности и обеспечивающих восстановление
работоспособности оборудования [4].
При разработке технологического процесса ремонта детали сначала намечают
всевозможные способы ремонта, а затем выбирают наиболее рациональный, который
обеспечивает максимальный срок службы детали после ремонта и минимальную
стоимость ремонта.
Поэтому факторами, влияющими на выбор способа ремонта, являются:
конструктивно-технологические особенности и условия работы детали; величины
дефектов на деталях; эксплуатационные свойства самих способов, определяющие
долговечность отремонтированных деталей; производственные возможности и формы
организации ремонтного предприятия; стоимость ремонта.
Конструктивно-технологические особенности деталей определяются: их
структурными характеристиками - геометрической формой и размерами, материалом и
термообработкой, поверхностной твердостью, точностью изготовления и
шероховатостью поверхности; характером сопряжения (типом посадки); условиями
работы - характером нагрузки, видом трения, величиной износа за эксплуатационный
период; техническими условиями на ремонт [4].
Обеспечение работоспособности винта диспергатора в течении заданного
периода времени всецело зависит от износа и коррозии его геометрических
параметров, основным из которых является внешний диаметр винта.
Технологический процесс состоит из следующих операций: мойка, дефектация,
очистка от следов коррозии, наплавка, механическая обработка, контроль (рисунок
4.1).
Механическая обработка заключается в зачистке торца лопасти диспергатора,
обточке его наружного диаметра в номинальный размер, обработке шлифованием под
номинальный размер, тонком шлифовании до требуемого значения шероховатости.
Рисунок 4.1. Технологический маршрут ремонта винта диспергатора.
- мойка; 2 - дефектация; 3 - очистка торца лопасти диспергатора; 4 -
наплавка; 5 - механическая обработка; 6 - контроль.
Заключение и
выводы
Восстановление винтов диспергатора редко проводят в виду экономической
нецелесообразности. Чаще всего вышедшую из работоспособного состояния деталь
отправляют на переработку и заменяют новой.
Описанный выше технологический маршрут винт диспергатора проходит только
в случае его высокой стоимости, которая должна превышать стоимость производства
новой такой детали. В конструкции разрабатываемого мной
газосепаратора-диспергатора винт имеет сложную форму и изготавливается из
дорогостоящего материала, что частично оправдывает его ремонт.
Выводы:
. Сформулировано назначение винта диспергатора и функции, которые
он выполняет, учтена специфика его работы.
. Проанализированы виды дефектов и механизмы процессов, вызывающих
их образование. Рассмотрены способы выявления дефектов в теле винта.
. Рассмотрены технологические методы устранения дефектов винта
диспергатора. В качестве самого эффективного выбран и обоснован метод
устранения дефектов наплавкой.
. Разработан технологический маршрут ремонта винта диаспергатора.
Список
использованной литературы
1. Что
мешает обновлению нефтегазового оборудования:
http://www.promved.ru/articles/article.phtml?id=289&nomer=12
. Гаркунов
Д.Н., Триботехника (износ и безызносность): Учебник. - 4-е изд., перераб. и
доп. - М.: "Издательство МСХА", 2001. - 616 с.
. Протасов
В.Н., Султанов Б.З., Кривенков С.В. "Эксплуатация оборудования для бурения
скважин и нефтегазодобычи". Под общ. ред. Протасова В.Н.,:
"Недра-Бизнесцентр", 2004. - 691 с.
. Способы
и технологические процессы ремонта //
http://stroy-technics.ru/article/sposoby-i-tekhnologicheskie-protsessy-remonta