Виготовлення заготівки за допомогою лиття та штампування
МІНІСТЕРСТВО ОСВІТИ І НАУКИ, МОЛОДІ
ТА СПОРТУ УКРАЇНИ
НАЦІОНАЛЬНИЙ ТЕХНІЧНИЙ УНІВЕРСИТЕТ
УКРАЇНИ
«КИЇВСКИЙ ПОЛІТЕХНІЧНИЙ ІНТИТУТ»
РОЗРАХУНКОВА РОБОТА
з дисципліни «Системи технологій»
на тему: «Виготовлення заготівки за допомогою
лиття та штампування»
Студентка ІІ курсу групи УВ-21
Кольцова Є.М.
Перевірила Калапа Т.В.
Київ - 2013
Зміст
Вступ
Розділ 1.
Розрахункова частина
Розділ 2. Технології
ливарного виробництва
Розділ 3. Технології
штампувального виробництва
Висновок
Список використаної
літератури
Вступ
У будь-якому виробництві одним з головних завдань є
визначення технологічного процесу. Правильно обраний технологічний процес
дозволить значно скоротити матеріальні витрати, зменшити людські ресурси та
зробити можливим швидкий процес самого виробництва товару.
У цій розрахонковій роботі потрібно визначити, який з
технологічних процесів виробництва є доцільнішим: лиття чи штампування
Лиття з металу - один з основних способів виробництва заготовок (в
машинобудуванні), тому що дозволяє одержати виливок практично будь-якої форми і
маси з необхідними фізико-механічними властивостями. Лиття часто не тільки
простіший, але й економічніший за інші спосіб виробництва (на долю литих
деталей в средньому приходиться 50-70% маси (в верстатобудуванні до 90%) і 20%
вартості машин, тільки методами лиття можливо отримати складні за конфігурацією
і геометрією заготівки із чорних та кольорових сплавів з високим (75-98%)
коефіцієнтом використання металу).
Головною ознакою технологічного процесу лиття є метал виливків, залежно
від якого відрізняють чавуно-, стале-, мідноливарне виробництво та ін.
Штампування - процес обробки матеріалів тиском - пластичне
деформування заготовки в штампах з витіканням металу, обмеженого розмірами
штампувального простору. Під час штампування відбувається формоутворення без
зняття стружки, забезпечується висока точність виробів при високій
продуктивності праці.
Розділ 1. Розрахункова частина
Завдання. Визначите: коефіцієнт використання матеріалу;
потребу металу на програму у натуральному виразі та економічну доцільність
одного із технологічних процесів виготовлення заготівки. Опишіть цей процес.
Задані умови
|
№ з/п
|
Статті затрат
|
Виріб, од.
|
|
|
кришка
|
|
1
|
План випуску
|
5800
|
|
2
|
Технологічний
процес виготовлення заготівки
|
Лиття(Л)
|
Штамп. із
виливка(Ш)
|
|
3
|
Норма використання
матеріалу, кг
|
1,2
|
1,3
|
|
4
|
Чиста маса виробу,
кг
|
0,9
|
|
5
|
Середня вартість 1
т заготівок, грн
|
40 100
|
40 800
|
|
|
|
|
|
Розв`язання.
. Коефіцієнти використання матеріалу.
К - коефіцієнт використання матеріалу
Мч - чиста маса деталі, кг
Нм - норма використання матеріалу (маса заготовки), кг
А) Коефіцієнт використання матеріалу при дотриманні
технології лиття
Кл= 
= 0,75
Б) Коефіцієнт використання при штампуванні із виливка
Кш= 
= 0,69
2. Потреби металу на програму у натуральному виразі
У=n*
У - потреба металу в кг
n - план випуску в одиницях
Нм - норма використання матеріалу (маса заготовки),в кг
А) за технологією лиття
Ул = 5800*1,2 = 6960(кг) = 6,960(т)
Б) при штампуванні із виливка
Уш = 5800*1,3 = 7540(кг) =7,540(т)
3. Економічна доцільність одного із технологічних процесів виготовлення
заготівки
Е = ( Ул×СВл ) - (Уш×СВш)
Е - економічна доцільність
СВл- середня вартість 1т заготовок при литті
СВш- середня вартість 1т заготовок при штампуванні
Витрати матеріалу у грошовому вираженні за технологією лиття:
Ул×СВл = 6,960 * 40100 = 279096(грн)
Витрати матеріалу у грошовому вираженні за технологією штампування:
Уш×СВш = 7,540 * 40800 = 307632(грн)
Економічна доцільність:
Е = 307632 - 279096 = 28536
Висновок: Виконавши дані розрахунки, можна зробити висновок,
що доцільнішим технологічним процесом є саме лиття, оскільки, при литті
матеріал використовується раціональніше, ніж при штампуванні. Потреби металу при литті є значно
менші ніж при штампуванні, що дозволяє зекономити значні матеріальні ресурси,
як в натуральному, так і в грошовому вираженні. Для виконання запланованої
програми випуску кришок грошові затрати при литті складають 279096грн., що на 28536грн. дешевше ніж при штампуванні. Отже, використання лиття, як
технологічного процесу, є
економічно доцільнішим.
Розділ
2. Технології ливарного виробництва
Ливарне
виробництво
Ливарне виробництво - процес виготовлення фасонних відливків під час
заповнення рідким металом заздалегідь заготовлених форм, в яких метал твердіє.
Відливки можуть бути або повністю готовими деталями, або заготовками для
остаточної обробки в механічних цехах. В останньому разі на відливках
передбачається припуск для обробки.
Литі деталі широко застосовують при виготовленні верстатів, машин,
механізмів. Вони можуть бути найрізноманітніших розмірів і досить складної
форми. Нерідко вартість литих виробів набагато нижча, ніж виготовлених іншими
способами.
Проте для лиття придатні лише сплави з високими «ливарними»
властивостями.
Найбільшу кількість лиття - близько 70 % від маси всіх
відливків-виробляють із сірого чавуну (включаючи модифікований і високоміцний),
далі йде стальне лиття (близько 20 %), лиття зковкого чавуну (близько 8%),
мідних, алюмінієвих, магнієвих і титанових сплавів.
Успіхи щодо поліпшення структури відливків, фермових матеріалів, прийомів
і якості формування привели до істотного поліпшення фасонного лиття. Це дало
можливість відливати дуже відповідальні деталі машин, наприклад колінчасті вали
двигунів, раки гусениць та ін.
Є кілька способів заливання металу у форми:
) вільне заливання - метал заповнює форму вільно під дією кавітаційних
сил;
) заливання в обертову форму - метал заповнює форму під впливом
відцентрової і гравітаційної сил;
) заливання тиском (поршневим або повітряним) із застосуванням ливарних
машин;
) зливання вакуумним засмоктуванням.
Форми для заливання металу можуть бути разовими або багато разовими Разові
форми придатні тільки для одного виливання.
Багаторазові металеві форми витримують сотні і тисячі зали). Багаторазові
піщано-цементні, шамотні, графіт, керамічні форми витримують, як правило,
кілька десятків заявок; їх застосовують для відливання станин верстатів, важко
великих плит, виливниць і т.д.
Лиття за
виплавлюваними моделями
Лиття в піщаній формі за виплавлюваними моделями застосовують звичайно
для виготовлення дрібних деталей масою до 15 кг ; сталі та інших
важкооброблюваних сплавів з температурою плавлення до 1600 °С. При цьому
досягаються велика точність рог (11-13 квалітетів,) і висока чистота поверхні,
чому відпадає потреба в механічній обробці. Для виготовлення деталей з
розмірами за вищими еквалітетами потрібна лише поліровка.
Технологія лиття за виплавлюваними моделями така;
.Виготовлення металевої моделі-еталона виробу, що ввається;
.Виготовлення прес-форми з легкоплавкого сплаву за моделю-еталоном;
.Виготовлення виплавлюваних моделей шляхом заповнення форм легкоплавкою
рідкою або пастоподібною сумішшю (частіше суміш стеарину з парафіном);
.Виготовлення моделей ливникової системи з тієї самої суміші (див. п. 3);
складання моделей і ливникової системи та покриття їх вогнетривкою сумішшю
(порошкоподібний кварц з добавкою)
.На етилсилікату або рідкого скла як зв'язуючого); ця облишвальна суміш
при рожарюванні форм (див. п. 7) утворює міцну оболонку і забезпечує точність
відливка;
.Виготовлення форми в опоці;
.Виплавлення моделі і прожарювання форми;
.Возплавлення металу;
.Валивання форм;
.Вибивання і очищення відливків.
Модель-еталон роблять з урахуванням усадки виплавлюваної моделі і металу,
який заливається у форму. На рис. 1, зображний комплект моделей з ливниковою
системою. Метал заливають у гарячі форми, іноді під тиском 0,2-0,5 Мпа відентровим
способом(Рис.1,б). Високої точності лиття до
застосуванням точних моделей і форм без роз'єму.
За виплавлюваними моделями відливають лопатки газових турбін різальний
інструмент (фрези, свердла, дрібні деталі автомобілів, тракторів і т. п.
На заводах великосерійного та масового виробництва всі процеси
механізовані і автоматизовані.
Рис.1
Лиття в
оболонкові форми
Лиття в оболонкові форми застосовують в умовах масового і
серійного виробництва невеликих, переважно тонкостінних відливків На Рис. 2
показано схему виготовлення оболонкової форми. Поворотний бункер(Рис.2,а) і
машини наповнюють формовою сумішшю з піску і термореактивної
фенолформальдегідної смоли. Нагріту 150-200°С односторонню металеву плиту 2 з
металевими моделями закріплюють над бункером (рис.2,б) і перевертають разом з
ним (рис.2,в). Під дією нагрітої плити смола в шарі, що покриває плиту,
плавиться і спікає пісок. При зворотному повертанні пристрою на формі
залишається спечена кірка (оболонка) З (рис.2,г), а надлишок суміші залишається
в бункері. Для завершення реакції утворення резиту оболонку разом з плитою
вміщують на 30-40 сек у піч 4 (рис.2,д), нагріту до 250-300 °С. Затверділу
оболонку знімають з плити штовхачем (рис.2,е) і спарюють з іншою оболонкою (півформою)
затискачами або склеюють. Готову оболонкову форму заливають металом; після
затвердіння відливки легко звільняються. В оболонкові форми заливають чавун,
сталь, а також сплави кольорових металів.
Лиття в оболонкові форми має ряд переваг: формування можна
легко автоматизувати, видаючи до 500 оболонок за годину; точність відливки в
оболонкові форми становить 0,3-0,7 мм на 100 мм розміру при високій чистоті
поверхні, тому відпадає або скорочується обробка на верстатах; витрата формових
матеріалів зменшується у 8-10 раз і не потрібні опоки; усе це в десятки разів
скорочує вантажопотік у ливарному цеху.
Рис. 2
Ливарні
сплави, плавлення їх і виготовлення відлитків
Ливарні сплави. Найважливішими ливарними властивостями є
рідкотекучість, мала усадка, незначна ліквація.
Чисті метали мають невисокі ливарні властивості, тому для
відливання їх практично не використовують. Із сплавів для лиття використовують
ті, які мають добрі ливарні властивості, ці сплави називають ливарними.
Рідкотекучістю сплаву називають здатність-його заповнювати
порожнину ливарної форми і точно відтворювати контури цієї форми.
Усадкою металів і сплавів називають властивість їх
зменшуватися в лінійних розмірах та об'ємі при охолодженні від температури
заливання до кімнатної. З усадкою пов'язана поява у відливках усадочних
раковин, пористості, короблення, тріщин. Для фасонного лиття допустима лінійна
усадка до 2,5 %, а наприклад, сплав АЛ2 має лінійну усадку 0,9 %.
Ліквацією називають неоднорідність хімічного складусплаву в
різних частинах відливка, що виникає під час кристалізації. Розрізняють
зональну, внутрішньо кристалічну (дендритну) ліквацію і ліквацію за питомою
вагою.
Зональна ліквація у відливках виникає із-за різниці
температур затвердіння окремих складових і різної щільності цих складових
сплавіз. У чавуні і сталі ліквують сірка, фосфор, •вутлец-ь/^озА-іщуЮчись у
верхній і центральній частиках відливка. У сплавах; що твердіють з
дрібнозернистою структурою, зональна ліквація зменшується.
Внутрішньокристалічна ліквація утворюється при прискореному
охолодженні відливків; її можна зменшити відпалюванням відливка. Ліквація за
питомою вагою виникає в сплавах, що містять важкі метали (наприклад, у
свинцевих бронзах); такій ліквації запобігають перемішуванням сплаву перед
заливанням і прискореним охолодженням при кристалізації.
Чавунне лиття. Основну масу чавунного литва виготовляють з
сірого і високоміцного чавуну. Крім того, відливки роблять з білого чавуну з
наступним відпалюванням на ковкий чавун. Литво із сірого чавуну - основна
продукція ливарних цехів. Це пояснюється насамперед його невисокою вартістю,
добрими ливарними властивостями, відносно невисокою температурою плавлення
(1100-1200°С), доброю рідкотекучістю, малою усадкою - близько 1 % однорідністю
відливків.
Крихкість чавуну дещо обмежує застосування його. Проте багато
деталей, машин і механізмів, які не зазнають великих ударний навантажень,
відливають із сірого чавуну. Значного поліпшення властивостей чавунного литва
досягають модифікуванням.
Відливки з білого чавуну відпалюють на ковкий чавун. Вміст
вуглецю в цьому чавуні обмежується до 2,2-3,2 %, щобкількість вуглецю відпалу в
масі готового виробу не була надто великою. Щоб запобігти утворенню вільного
графіту в процесі лиття, вміст кремнію не повинен перевищувати 1,4 %.
Підвищеної рідкотекучості чавуну досягають при наявності фосфору (для відливків
деталей машин до 0,2 %). Марганець заважає розпаду карбідів заліза Ре3С при
відпалюванні, тому вміст його не повинен перевищувати 0,6 % (а для чорносерцевинних
феритних чавунів 0,5%). Усадка білих чавунів становить близько 2 %.
Для плавлення чавуну в ливарних цехах найчастіше застосовують
вагранки. Вагранка (чудовий російський винахід XVIII століття)- це шахтна
піч(Рис.3), викладена шамотною цеглою і у стальному кожусі 3. Завантажують
шихту через колошниковий отвір 5^з колошникової площадки 4. Повітря для горіння
палива звичайного коксу надходить у вагранку від вентилятора по трубах через
стальну коробку 6, що оперізує вагранку, і через фурми 7. Частину вагранки від
верхнього ряду фурм до колошникового отвору називають шахтою. Вище від шахти
міститься димова тру- ба з іскрогасником. Нижню частину, від поду 1 до фурм,
називають горном. Під нахилений у бік копильника 9, де накопичується
розплавлений чавун і вирівнюється його склад. У копильника є льотка 10 і жолоб
11 для випускання чавуну, а також одна або дві шлакові льотки 8. Як правило,
вагранка працює 4-8 год на добу, іноді до 16 год і більше. Продуктивність її
залежить від діаметра шахти і коливається в межах від 1 до 25 т чавуну на
годину. У ливарних цехах машинобудівних заводів найчастіше вагранки видають по
3-8 т/год.
Іноді вагранки будують без копильника, і тоді чавун і шлак
випускають через льотки з горна.
Шихту завантажують баддею 12 з конусним або відкиднимдном, що
опускається.
Для видачі литва заданого хімічного складу шихту складають із
чушкового чавуну, чавунного та стального брухту своїх цехових відходів і
феросплавів у певних пропорціях.
Підготовлену металеву шихту, паливо і флюси завантажують у
вагранку окремими порціями (колошами).
Під час плавлення у вагранці кисень дуття випалює домішки
кремнію 10-15 %, марганцю 17-22 %, заліза 0,4-1,5 %; вміст фосфору залишається
без змін; вуглець дещо вигоряє, але втрати його врівноважуються навуглецюванням
чавуну від коксу. Вміст сірки дещо збільшується за рахунок коксу, тому для
вагранок використовують ливарний кокс з пониженим вмістом сірки.
Оксиди, що утворюються, разом із золою коксу та домішками
фермової суміші шлакуються з вапняком.
Для виплавлення високоякісних сортів сірого чавуну, а також
легованого і ковкого чавуну застосовують подвійні (дуплекс) процеси: плавлення
у вагранці і дуговій або полуменевій печі, що дає можливість перегрітії чавун і
видати його з точно заданим складом.
Стальне лиття. Ливарні властивості у сталі гірші, ніж у
чавуну: вона не настільки рідкотекуча і гірше заповнює форму. Усадка сталі
становить 2 % і вище, тому усадочні раковини у відливках можуть бути значних
розмірів, сталь тугоплавка (температура плавлення 1400-1540°С). Щоб не було
браку із-за усадочних раковин, у формах кр'м випорів передбачають додатки,
достатні для живлення рідкою сталлю охолоджуваного відливка.
Рис. 3
Лиття
в кокіль
Кокіль виготовляють з чавуну або сталі. При литті з легких
сплавів застосовують чавунні і стальні стержні, а для лиття із сталі, чавуну та
мідних сплавів - піщані стержні. При відносно легкоплавких сплавах кольорових
металів кокіль витримує десятки тисяч заливок; стійкість кокілю при литті сталі
і чавуну коливається в межах від 100 до 5000 заливок залежно від розміру
відливків; тому лиття в кокіль для великих стальних відливків вигідніше лише у
випадку простих форм, коли вартість виготовлення кокілю невелика. Що ж
стосується сплавів кольорових металів і чавуну, то цей спосіб вигідний,
оскільки крім більш точних розмірів відливків поліпшується структура і
механічні властивості їх.
Для запобігання відбілюванню чавуну і для більшої стійкості
форм застосовують вогнетривкі покриття їх; цим уповільнюється швидкість
охолодження чавуну. Крім того, перед заливанням чавуну кокіль підігрівають до
200-300 °С. Відбілюванню запобігає також збільшення кремнію в чавуні.
Для лиття складних деталей застосовують кокіль з кількох
частин з роз'емами.
На рис.4 показано кокіль із штирями (пальцями) ззовні для
прискореного охолодження. При масовому виробництві лиття в кокіль можна
автоматизувати, як, наприклад, на заводах-автоматах, де відливають алюмінієві
поршні для двигунів внутрішнього згоряння.
Рис.4
Відбіленим литтям називають чавунне лиття з відбілюванням на
потрібну глибину при швидкому охолодженні в металевій формі (кокілі). У
відбіленому шарі увесь або майже увесь вуглець хімічно зв'язаний із залізом (у
цементиті). Твердість відбілених деталей коливається в межах від 300 до 500 і
вище, глибина відбілювання - від 12 до 30 мм залежно від призначення деталі.
Швидкість охолодження відливка повинна забезпечувати поступовий перехід білого
чавуну в сірий, інакше відбілений шар може викришуватися.
На рис.5 показано форму, підготовлену для заливання
прокатного валка. Тут кокілем є тільки середня частина 1, що утворює робочу
поверхню валка; верхня 2 і нижня 5 частини формуються в опоках із формової
суміші за моделлю і утворюють шийки валка, які потім обробляють на верстатах.
Через ливникову чашу 3 і ливниковий стояк 4 чавун сифоном підводять у нижню
частину складеної форми.
Рис.5
Відцентроване
лиття
При відцентровому відливанні метал заливають у форму, яка
обертається навколо вертикальної або горизонтальної осі. В результаті рідкий
метал відтісняється відцентровою силою до стінок форми. При цьому структура
металу стає ущільненою, тому що гази і неметалеві включення витісняються до
поверхні, яка розташована ближче до центра обертання і піддається звичайно
механічній обробці. Форму обертають до повного затвердіння металу, після чого
виймають готові відливки.
Машини з горизонтальною віссю обертання застосовують для
відливків значної довжини. Швидкість обертання форми повинна забезпечувати
однакову товщину стінок по всьому перерізу.
На рис.6 наведено схему установки для відливання труб. Рідкий
метал із ковша 7 по жолобу 6 спрямовується в обертовий під 5. У кінці поду для
обмеження внутрішньої поверхні розтруба встановлено стержень /. Між кожухом 4 і
подом циркулює вода, що охолоджує форму. Форма обертається від електродвигуна 3
за допомогою зубчастої передачі 2. У міру подачі рідкого металу машина
рівномірно переміщується в напрямі, показаному стрілкою, доти, поки передній
зріз жолоба не досягне кінця форми. Далі подача металу припиняється; після
затвердіння металу припиняється обертання і готову трубу виймають із форми.
Чавунні труби внаслідок швидкого охолодження відбілюються, тому їх відпалюють.
Щоб зменшити відбілювання, вживають тих самих заходів, що й у кокілях.
Рис.6
Машини з вертикальною віссю обертання застосовують
здебільшого для кільцеподібних відливків невеликої висоти. Метал заливають в
обертову форму із стопорного ковша. При відцентровому способі лиття немає
живильників, ливників і випорів, що знижує витрату металу.
Лиття
під тиском
При литті під тиском сплав поршнем машини запресовується в
рознімну стальну форму, що називається прес-формою. Лиття під тиском
застосовують в основному для алюмінієвих, магнієвих і цинкових сплавів, рідше
для мідних сплавів; освоюється лиття сталі і чавуну. Деталі виходять точними (11-13-й
квалітети) і чистими, масою від кількох грамів до десятків кілограмів. Тиск
поршня становить при пресуванні до 200 МПа. Механічна обробка відливків
незначна або взагалі не потрібна. Вартість прес-форм висока, тому лиття під
тиском застосовують при масовому виробництві, коли в одній формі одержують
тисячі відливків
Продуктивність машин дуже висока - до 3000 відливків на
годину, при роботі в автоматичному режимі. Машини для лиття під тиском мають
холодну або гарячу камеру пресування.
Машини з холодною камерою пресування застосовують для лиття з
алюмінієвих, магнієвих і мідних сплавів, а також сталі та чавуну; при цьому в
камеру заливається дозована кількість рідкого металу з окремої печі, після чого
виконується пресування.
На рис.7,а наведено робочу зону машини з холодною камерою
пресування 1. Під час руху вниз плунжер 2 гиене на залит; порцію металу 3 і на
п'яту 4, яка, переміщуючись донизу, зідкриває отвір ливника 5, і метал заповнює
прес-форму.
Нерухома 2 (рис.7,б) і рухома 4 частини прес-форми утворюють
порожнину, що відповідає відливку. Стержень 3 призначе ний для утворення
отвору. Рідкий метал надходить у форму під тиском поршня через мундштук 1.
Затвердіння відливка тривав кілька секунд, після чого форма рознімається і
готовий відливок виштовхується із форми штовхачем 5.
Залежно від положення отворів стержні можуть розміщуватися як
у нерухомій, так і в рухомій частині форми.
Форму конструюють з таким розрахунком, щоб при рознятті
відливок затримався в рухомій частині, де розміщені штовхачі Машини з гарячею
камерою пресування застосовують для лиття з цинкових сплавів. Камера 4 і тигель
5 (рис.7) являють собою один чавунний відливок, який міститься в печі; сплав
підтримують у рідкому стані. При піднятому плунжері 3 як на схем сплав через
отвори 2 з тигля переливається в камеру. При опускан ні вниз плунжер перекриває
отвори і сплав під тиском заповнюють прес-форму, де твердіє. Потім плунжер
піднімається і рідкий метал з каналу зливається в камеру
Рис.7
Лиття
у піщано-глиняні форми
Лиття у піщано-глиняні форми (в земляні форми) (Рис.8) -
найбільш універсальний та розповсюджений спосіб виготовлення заготовок. Він
використовується в одиничному, серійному й навіть у масовому виробництві.
Литтям у земляні форми звичайно виготовляють великі та середньогабаритні
заготовки простої та складної форми в одиничному та дрібносерійному
виробництві.
Рис.8
Береться модель, яку треба відлити, і ставиться в опоку, туди
додається суміш і ущільнюється. Потім дві половинки складають і заливають
рідкий метал. Механізоване та автоматизоване машинне формування опок сумішшю,
її ущільнення, виймання моделей з форми, складання, фарбування, сушіння та
транспортування форм використовується в серійному та масовому виробництвах.
Застосування роботизованих та автоматизованих ліній з програмним управлінням
виробничого процесу забезпечує високу якість заготовок, поліпшені умови праці
та високу продуктивність устаткування. Розрізняють такі способи виготовлення
форм для лиття заготовок: у двох, трьох і більше опоках;за роз’ємними та
нероз’ємними моделями; за моделями з віднімними частинами; з перекидною
колодою; за шаблонами; за скелетною моделлю; у грунті; у стержнях. Форми за
станом перед їх заливанням є сирі, напівсухі хімічнотвердіючі і самотвердіючі.
Останні забезпечують можливість організації автоматизованого та екологічно
чистого виробництва. Застосовують також лиття за газифікованими моделями. Суть
його полягає в тому, що рідкий метал заливають через ливникову систему
беспосередньо на заформовану в наповнювальну суміш пінополістиролову модель,
яка під дією тепла рідкого металу згоряє і газифікується, звільняючи порожнину
форми для заповнення її металом. Особливістю цього способу є використання
невиймальної перед заливанням форми разової пінополістиролової моделі,
відсутність стержнів та площини рознімання форми. Все це дає змогу розширити
можливості процесу лиття в піщано-глиняні форми, отримати виливки складної
конфігурації, сприяє підвищенню їх якості. Для виготовлення моделей
використовують бук, березу, клен, сосну чи ялицю. Для машинного формування
моделі виготовляють з металу . Переваги дерев’яних моделей - їх низька ціна,
простота виготовлення; при великих розмірах - невелика маса; але недоліком є
недовготривалість, зміна розмірів відповідно до вологовмісту. Металеві моделі
мають більшу довготривалість, високу точність та чисту робочу поверхню. Існують
ще моделі із пластмас Розрізняють такі формувальні суміші: наповнювальні,
облицювальні та універсальні. Основні вимоги, яким вони повинні відповідати:
вогнетривкість, пластичність, міцність, газопроникність, податливість, непригоряння,
негігроскопічність, довговічність, дешевизна, недефіцитність. Для приготування
формувальних сумішей використовують як наповнювачі глину та кварцовий порошок;
як протипригарні елементи - кам’яновугільний пил, тальк і графіт; як барвники -
маршальт, магнезит і цирконій. У шишкових сумішах замість глини застосовують
оксоль, рідке скло, смоли, декотрин, патоку з додаванням дерев’яного трачиння
та торфу, які, вигоряючи, підвищують пористість і податливість сумішей. Для
підвищення якості виливків формувальні суміші у формах пресують на гідравлічних
пресових машинах або на машинах з гумовою діафрагмою під тиском 2-4 МПа.
Шишкові форми складають із сухих шишок у спеціальних металевих опоках. У
масовому виробництві використовують оболонкові шишки, які виготовляють
піскодувним способом у нагрітій металевій формі. Часто великі шишки роблять
порожнистими, що дає змогу економити матеріал для виготовлення сумішей.
Лиття
у напівсталі форми
Напівсталі форми залежно від матеріалу та рідкого стопу
витримують до кількох сот заливань.Наприклад, графітові форми, які
використовують для виготовлення заготовок з жароміцнихчавунів, сталей,
молібденових, вольфрамових, вольфрамокобальтових та інших стопів з
високоютемпературою плавлення, витримують до 300 заливань. Графітові форми виготовляють
збрикетованого графіту за допомогою обробки різанням. Шамотні, гіпсові та
металокерамічніформи залежно від вмісту металевого порошку дають змогу керувати
швидкістю охолодження виливка та напрямком твердіння його стінок. Керамічні
форми виготовляють з рідкої хімічної суміші, яку додатково обпалюють.
Застосовують керамічні форми з пластичних та сипких сумішей, що виготовляються
пресуванням. У керамічних формах утворюються виливки масою від 0,2 до 10000 кг
із різних матеріалів, з точністю розмірів виливків до 11 квалітету та чистоти
поверхонь до 5 мкм за параметром Ra. Це дає змогу отримувати фасонні виливки
для ковальського, пресового та різального інструменту, лопаток турбін, арматури
високого тиску з легованих сталей тощо. Виливки з деяких стопів нікелю та
титану отримують тільки способом лиття у керамічні форми. Для виготовлення
графітових форм застосовують природний або штучний графіт, пірографіт, інші
вуглецеві матеріали. Ці форми практично незамінні для виготовлення виливків з
хімічно активних тугоплавких стопів на основі титану, урану, ніобію, вольфраму
тощо. У виробництві використовують як чисто графітові форми, так і форми,
покриті вуглецевими композиціями, оболонкові вуглецеві та форми, виготовлені з
вуглецевих сумішей за виплавлюваними моделями. Останнім часом все частіше
застосовують одноразові форми, що тверднуть у спорядженні (на моделі, у формі).
Спільним для них є використання синтетичних зв’язувальних матеріалів, які за
відповідних умов безповоротно тверднуть. Виливки, отримані в цих формах,
відзначаються великою точністю розмірів, якістю поверхонь, малими припусками на
обробку різанням. Технологічні процеси легко механізуються та автоматизуються.
Недоліками цього способу є токсичність зв’язувальних матеріалів.
Розділ
3. Технології штампувального виробництва
Продуктивність штампування в десятки разів більша, ніж
кування, а кваліфікація робітників потрібна значно нижча. Крім того, при
штампуванні досягається значно більша, ніж при куванні, точність розмірів і
чистота поверхні, тому нерідко після штампування деталі не потребують
механічної обробки. У цьому й полягає перевага штампування над куванням. Проте
штампування вигідне лише з масовому і серійному виробництві, тому що витрати на
виготовлення стальних форм (штампів) виправдують себе тільки при випуску
значної кількості поковок. Штампування буває гарячим і холодним, об'ємним і
листовим.
Гаряче об'ємне штампування. Якщо при куванні течія металу
спрямовується бойками і підкладними інструментами, то при штампуванні вона
обмежується порожниною штампа, і заготовка набуває форми цієї порожнини
(рівчака).
Припуск на механічну обробку при гарячому об'ємному
штампуванні приблизно вдвоє менший, ніж при вільному куванні для тих самих
виробів, і змінюється в межах від 0,4 до 5 мм. Застосування точної об'ємної
штамповки на кривошипних пресах чеканки і калібровий дає змогу ще більше
знизити припуски і в багатьох випадках повністю ліквідувати обробку різанням. Штампуванням можна виготовляти дуже
складні вироби. Гаряче штампування здійснюється на молотах і кувальних машинах.
Штампування на молотах - найпоширеніший спосіб гарячого штампування. Штамп
(рис. 9, а) складається з двох частин: верхньої 1 і нижньої 2. Нижня частина
кріпиться на штампо-тримачі, встановленому на шаботі, а верхня - в бабі; кожну частину
штампа кріплять клином і шпонкою. Місця кріплення мають вигляд ластівчиного
хвоста. В обох частинах є порожнини, які утворюють рівчак, що відповідає формі
поковки. Для штампування заготовку нагрівають до температури кування і вміщують
у нижню порожнину 2 штампа. Під ударами верхньої частини штампа метал тече в
кільцеву порожнину і утворює так званий облой (задирки) З (рис.9, б), який
сприяє кращому заповненню порожнини штампа, перешкоджаючи дальшому перетіканню
металу в порожнини роз'єму штампа. Задирки обрізують на прес в спеціальному
обрізному штампі в гарячому або холодному стані. За кількістю рівчаків штампи
бувають одно- і багаторівчакові.
Рис.9
Однорівчакові штампи застосовують для виготовлення простих виробів і для
штампування заготовок, заздалегідь підготовлених куванням. Ця підготовка
полягає в наближенні форми заготовки до форми готової поковки. Багаторівчакові
штампи мають заготовчі, штампувальні і відрізні рівчаки. У заготовках рівчаках
виконуються операції протягування або згинання у штампувальних - надання
заготовці остаточної форми, у відрізних - відділення штамповки від прутка
(катаної заготовки). Заготовчі рівчаки розміщують по краях штампа, а
штампувальні - всередині. На рис. 10 показані багаторівчаковий штамп, а також
ескізи вихідної заготовки, деформування її при наступних переходах штампування
і готова поковка. Заготовка надходить спочатку в протяжний рівчак 4, де
протягується. Потім її деформують у прокатному рівчаку З для потовщення на кінцях,
далі передають у згинальний рівчак 1, після чого її штампують спочатку в
попередньому 2, а потім у завершальному 5 рівчаках.
В останні роки поширюється безоблойне штампування в закритих штампах. При
цьому досягають значної економії металу, відпадає потреба в обрізних пресах і
штампах, а також в обрізуванні облою, підвищуються механічні властивості
поковок. Для гарячого штампування застосовують кривошипні преси, фрикційні і
пароповітряні молоти.
Рис.10
Штампування на кривошипних пресах є найбільш продуктивним, тому що ці
преси швидкісні (кількість ходів - від 35 до 90 на хвилину). На рис. 11
зображено схему кривошипного гаряче штампувального преса. Від електродвигуна 2
клинопасовою передачею 1 рух передається проміжному валу 9.
Зворотно-поступальний рух повзуна 5 (до якого кріпляться бойок і верхня частина
штампа) здійснюється за допомогою шатуна 4 ексцентрикового вала 10, з'єднаного
з проміжним валом зубчастою передачею 8. Вмикають робочий хід преса муфтою 7.
Стрічкове гальмо 3 призначене для прискореної зупинки повзуна при виключеній
муфті. Щоб мати можливість дещо зміцнювати по висоті положення нижньої частини
штампа, стіл 6 встановлюють на похилій поверхні основної плити. Кривошипні
преси виготовляють із зусиллям від 5 до 80 МН.
Із фрикційних молотів застосовують молоти з дошкою (рис. 12). Бойок у цих
молотах піднімається в результаті тертя між роликами 1 і дубовою дошкою 2. Щоб
нанести удар, ролики відводяться від дошки після її підняття і вона вільно
падає вниз разом з бойком 4, який ковзає по напрямних 3. Падаючі частини в
підвішеному стані утримуються спеціальними затискачами. Сила удару регулюється
зміною висоти підняття.
Рис.11
Рис.12
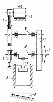
Штампування на горизонтально-кувальних машинах. На відміну від молотів, у
кувальних машин повзун рухається в горизонтальній площині, тому ці машини
називають горизонтально-кувальними. Такі машини застосовують для виготовлення
поковок, що мають форму порожнистих або суцільних стержнів з потовщенням на
кінці (болтів, заклепок та ін.), а також для виготовлення поковок
кільцеподібної форми (втулок, гайок, кілець).
Ці машини мають високу продуктивність, забезпечують більшу точність, ніж
при штампуванні на молотах, і майже не дають відходів (задирки зовсім не
утворюються або бувають дуже тонким,
Штампування на горизонтально-кувальній машині звичайно зводиться до
операції висадки нагрітої прокатної заготовки. Штамп має два рівчаки. У першому
рівчаку відбувається висадка для утворення зовнішнього контура кільця (рис. 13,
а), в другому рівчаки (рис. 13,б) пуансон П прошиває і виштовхує заготовку.
Тиск, що розвивається машинами, становить від 500 до 30 000 кН.
Рис.13
Чеканка гаряче штампованих виробів є високопродуктивним способом обробки
металів тиском. Штамповані заготовки калібрують за допомогою малих деформацій
металу тиском у чеканочних штампах (холодне штампування); при цьому досягається
висока точність, - до 9-го квалітету. Завдяки цьому в ряді випадків після
чеканки дістають готові деталі, що з кілька разів зменшує їх вартість.
Штамповані заготовки для чеканки повинні мати найменші припуски, тому що
збільшення припуску потребує більших зусиль чеканки і зменшує точність.
Заготовки очищають від окалини струменем піску або травленням.
Для чеканки застосовують кривошипні преси а жорсткими напрямними. До
чеканочних штампів також ставлять вимоги максимальної жорсткості.
Гаряче листове штампування. Це штампування застосовують для виготовлення
виробів із сталей, які не мають достатньої пластичності в холодному стані, і
для штампування товстих листів (понад 6 мм) з низьковуглецевої сталі. Цей вид
штампування найбільш поширений при виробництві котлів, апаратів для хімічної
промисловості, в суднобудуванні. Штампування виконують здебільшого на
гідравлічних листоштампувальних пресах із зусиллями 2-12МН, а дрібних виробів -
на фрикційних гвинтових пресах.
Холодне листове штампування. Таке штампування застосовується для виробів
з листів сталі, алюмінію та його сплавів, міді, латуні, сплавів магнію тощо.
Нижче приведені основні операції листового штампування.
Вирубування застосовують для виготовлення з листа плоских деталей; форма
контура може бути довільною: коло, квадрат, овал і т. д. Цим методом також
пробивають отвори. У штампа для вирубування і пробивання є дві основні частини
(рис. 14): матриця 4 і пуансон 1. При опусканні вниз пуансон 1 гострими краями
робочого контура зрізує частину заготовки. При зворотному русі залишок
заготовки 3 впирається в знімач 2 і знімається з пуансона.
Крім вирубування і пробивання роздільною операцією є відрізування.
Відрізування - відокремлення частин по незамкнутому контуру - найчастіше
застосовують для розділення листа на смуги заданої ширини; відрізування
виконують на ножицях (паралельних, гілйотинних, дискових).
Рис.14
Витяжкою виготовляють порожнисті вироби з листової заготовки. Заготовку
діаметром D кладуть у виточку матриці (рис. 15, а) і витягують пуансоном у
стакан (рис. 15, б). Щоб не різати заготовку, краї пуансона округлюють.
Якщо зазор а між матрицею і пуансоном дорівнює товщині заготовки, то
товщина стінок виробу залишається такою самою; але чим цей зазор менший, то стінки
стають тонші.
На рис. 154, в наведено приклад відбортування, яке по лягає в утворенні
у виробі з пробитим твором d отвору більшого діаметра D з бортами висотою H.
Обтискання (рис. 15, г) роблять, щоб зменшити розмір крайової частини
заготовки, виготовленої витягуванням.
При роздаванні (рис. 15,д) збільшують розмір перерізу заготовки.
Для місцевої зміни форми, наприклад, утворення ребер жорсткості,
заготовку додатково формують у штампах.
Холодне штампування виконують під ексцентриковими, кривошипними або
фрикційними пресами.
Щоб зняти наклеп, деякі вироби відпалюють. Якщо штампують у кілька
переходів з великою деформацією, то відпалюють багаторазово. Проте нерідко
наклеп не погіршує якості виробів (наприклад, коли бажана підвищена пружність),
тоді відпал не потрібний.
Рис.15
Кривошипні преси для листового штампування розвивають зусилля від 5 до 45
МН. Схема такого, преса аналогічна схемі гаряче штампувального преса; він
відрізняється від останнього менш жорсткою конструкцією при відносно великих
розмірах штампувального простору.
Аналогічну будову мають ексцентрикові преси, які відрізняються від
кривошипних лише тим, що на вал замість кривошипа насаджують ексцентрик. Їх
застосовують переважно для обрізування заготовок.
Гвинтові фрикційні преси (рис. 16) виготовляють на зусилля від 300 до 20
000 кН. На робочому валу 3 насаджені чавунні диски 2 і 4, відстань між якими
дещо більша від діаметра маховика 5, обтягнутого шкірою. Робочий вал за
допомогою рукоятки керування 1 може переміщуватися вздовж осі так, що диски
поперемінно підключатимуться до маховика. При підключенні диска 2 до маховика
гвинт 6 вгвинчується в гайку 7 і повзун 8 опускається, роблячи тиск на
заготовку; при підключенні диска 4 гвинт вигвинчується, а повзун піднімається.
Ці преси універсальні і широко застосовуються в дрібносерійному виробництві для
різних штампувальних робіт.
Рис.16
Висновок
Виконуючи дану розрахункову роботу, я дослідила коефіцієнт використання матеріалу, потребу металу на програму у
натуральному виразі та економічну доцільність одного із технологічних процесів виготовлення заготівки.
Виконавши дані розрахунки, можна зробити висновок, що
доцільнішим технологічним процесом є саме лиття, оскільки, при литті матеріал
використовується раціональніше, ніж при штампуванні. Потреби металу при литті є значно
менші ніж при штампуванні, що дозволяє зекономити значні матеріальні ресурси,
як в натуральному, так і в грошовому вираженні. Для виконання запланованої
програми випуску кришок грошові затрати при литті складають 279096грн., що на 28536грн. дешевше ніж при штампуванні. Отже, використання лиття, як
технологічного процесу, є
економічно доцільнішим.
Основне завдання ливарного виробництва - отримання відливок з максимально
наближеними розмірами, конфігурацією і чистотою поверхонь до готових деталей,
що сприяє зниженню об’ємів механічної обробки або повного виключення її із
технологічного процесу. Цього можна досягти удосконаленням існуючих і
впровадженням спеціальних способів лиття.
заготівка
ливарний штампування
1. Г.Г.Корицький,
М.О.Маняк, «Технологія ливарного виробництва»: Навч. посібник - Донецьк, 2008 -
97с.
2. А.П.Гуляев,
«Металоведення»., - М., 1977 - 249с.
. І.Й.
Бочар «Матеріалознавство і технологія конструкційних матеріалів». Тернопіль,
2002 - 390с.
4. М.В.Остапчук,
А.І.Рибак,
«Технлогія навчального виробництва»: Навч. Посібник. К.: Освіта, 2001 - 720с.