Взаємозамінність, стандартизація та технічні вимірювання

  • Вид работы:
    Курсовая работа (т)
  • Предмет:
    Другое
  • Язык:
    Украинский
    ,
    Формат файла:
    MS Word
    253,63 Кб
  • Опубликовано:
    2015-05-17
Вы можете узнать стоимость помощи в написании студенческой работы.
Помощь в написании работы, которую точно примут!

Взаємозамінність, стандартизація та технічні вимірювання

Міністерство освіти та науки України

Придніпровська державна академія

будівництва та архітектури

Кафедра матеріалознавства та обробки матеріалів







Курсова робота

Взаємозамінність, стандартизація та технічні вимірювання


Виконав: студент

Перевірив: доцент Спільник А. Я.








м. Дніпропетровськ, 2014

Вступ

Курсова робота включає розрахунково-пояснювальну записку в об'ємі 20-25 сторінок і графічний матеріал формату А4.

Розрахунково-пояснювальна записка містить завдання на курсову роботу, в яке включені наступні розділи: визначення характеру з'єднань, допусків і граничних розмірів отвору, валу і з'єднання, розрахунок посадки із зазором, розрахунок посадки з натягом, розрахунок перехідної посадки (на вірогідність отримання натягу і зазорів), розрахунок калібрів для гладких циліндричних деталей, розрахунок і вибір посадок підшипників кочення, обгрунтування допусків форми і розташування деталей, визначення допусків зубчастих коліс передачі, список рекомендованих літературних джерел.

Графічна частина включає:

схеми розташування полів допусків на деталі, що з'єднуються (посадки із зазором натягом, перехідні) (формат А4, розміри полів і штампів див. в кінці роботи додатки 17 та 18.);

криві нормального розподілу (розподіл Гауса), розсіювання розмірів в з'єднаннях із зазором, з натягом, з перехідними посадками;

позначення допусків і посадок на ескізах складального та детальних креслень;

схеми розташування полів допусків калібрів;

виконавчі креслення калібрів;

схему розташування полів допусків для внутрішнього і зовнішнього кілець підшипників кочення і деталей, зв'язаних з підшипниками кочення;

ескізи з'єднання шийки валу і отвору в корпусі;

креслення валу з нанесенням позначень допусків форми і розташування поверхень;

схеми контролю елементів зубчастих коліс.

Всі розрахунки слід вести в одиницях СІ, а розрахунково-пояснювальну записку і графічну частину роботи - оформляти з урахуванням вимог ЄСКД у комп'ютерному наборі і роздруківці.

При виготовленні деталей і складанні машин стандартизація, яка грунтується на широкому впровадженні принципів взаємозамінністі, являє собою один з найбільш ефективних засобів , що сприяє підвіщенню якості випускаємої продукції.

Якість - це сукупність характеристик об'єкта, які стосуються його здатності задовольнити встановлені й передбачені потреби. Вона повинна постійно зростати, відповідати кращим вітчизняним і зарубіжним зразкам.

1. Взаємозамінність гладких циліндричних з’єднань

 

Зміст завдання. Для кожного із заданих в таблиці 1.1. гладких циліндричних з'єднань визначити характер з'єднання , відхилення розмірів деталей, які з'єднуються виконати графічне зображення полів допусків, розрахувати граничні розміри отвору і валу, визначити параметри з'єднання (зазори або натяги ), виконати розрахунки вірогідних параметрів, накреслити ескізи з'єднання, отвору, валу і нанести на них умовні позначення допусів і посадок, привести приклади призначення посадки

З'єднання Ǿ 30 Н7/ h6

Рішення

З'єднання, виконане в системі отвору.

Відхилення отвору (основний отвір) по 7-му квалітету, валу по 6-му квалітету, поле допуску "h". Поле допуску "h" забезпечує отримання з'єднань із зазором ( всі поля допусків від "а" до "h" використовуються для утворення посадок із зазором).

Відхилення деталей, що з'єднуються, визначаються по таблицях допусків ЄСДП .

( ГОСТ 25346-82 ).

Для отвору Ǿ 30 Н7 :

а) номінальний розмір D = 30мм;

б) верхнє граничне відхилення ЕS = +25мкм = +0,025мм;

в) нижнє граничне відхилення ЕI= 0=0мм;

г) середнє відхилення Еm= 0,5/ЕS+ЕI/ = 0,5/25+0/ = 9мкм=0,0125 мм;

д)поле допуску не відноситься до переважних.

Для валу Ǿ 30 h6.:

а) номінальний розмір d = 40мм;

б) верхнє граничне відхилення es = 0мкм = 0мм;

в) нижнє граничне відхилення еi = -16мкм = -0,016мм;

г) середнє відхилення еm =0,5 (еs + еi) = 0,5 [0+(-16)] = -5,5мкм= -0,008мм;

д) переважне поле допуску .

Графічне зображення полів допусків з'єднання (мал. 1.1).

Мал. 1.1. Графічне зображення полів допусків з'єднання.

Розрахунок граничних розмірів і допусків деталей, що з'єднуються.

Для отвору: Ǿ 30 Н7 :

найбільший граничний розмір

Dmax = D + ES = 30 +0,025 = 30,025мм;

якнайменший граничний розмір

Dmin =D + EI = 30 + 0 = 30мм;

допуск розмірів отвору

TD = Dmax - Dmin = 30,025 - 30 = 0,025мм.

Для валу Ǿ 30 h6.:

найбільший граничний розмір

dmax =d + еs = 30 + 0 = 30мм;

якнайменший граничний розмір

dmin= d + еi = 30 + (-0,016) = 29,984мм;

допуск розміру валу

Td = dmax - dmin = 30 - 29,984 = 0,016мм.

Розрахунок параметрів з'єднання:

якнайменший зазор

Smin = Dmin - dmax = 30- 30 = 0мм;

найбільший зазор

Smax = Dmах - dmin = 30,025 - 29,984 = 0,041мм;

середній зазор


допуск посадки

TS = Smax - Smin = 0,041 - 0 = 0,041мм.

Перевірка. (Допуск посадки рівний сумі допусків деталей, що з'єднуються)

TS = TD + Td = 0,025 + 0,016= 0,041мм

Визначення вірогідних зазорів :

граничне розсіювання зазора

Σ = Smax - Smin = 0,041 -0 = 0,041мм;

середнє значення зазора

= Em - em - 0,1 (TD + Td) = 0,0125 +0,008 - 0,1 (0,025 + 0,016) = 0,0164мм;

розсіювання вірогідності зазора

ΣP == √ ТD2 + Тd2 = √ 0,0252 + 0,0162 = 0,029мм;

найбільший зазор вірогідності

= Spm + 0,5 tΣP = 0,0164 + 0,5 ·0,029 = 0,0309мм;

якнайменший зазор вірогідності     

= Spm - 0,5 tΣP = 0,0164 - 0,5 ·0,029 = 0,0019мм

Мал. 1.2. Графічне зображення розсіювання зазора.

Позначення допусків і посадок на ескізах складального і детальних креслень (мал. 1.3)

Мал. 1.3. Позначення допусків і посадок на складальному і детальних креслень

Застосування посадки.

Посадка Н7/h6 відноситься до числа посадок підвищеної точності і призначена в основному для точних рухомих з'єднань при важких режимах роботи і великих температурних деформаціях, наприклад, підшипники рідинного тертя в турбінах, вали в підшипниках швидкохідних трансмісій, впускні і випускні клапани в направляючих двигунів внутрішнього згоряння, поршневі кільця в канавках поршня (по ширині) і т.п.

З'єднання Ǿ30 H8 / n7.

Результати розрахунків зводимо в таблицю 1.2.1

Отвір Æ30 H8

Вал Æ30 n7

 З'єднання  



розрахунок по max-min

Вірогідний розрахунок

D = 30мм

d =30мм

D = 30мм

tå = 0,064

ES=+39мкм=+0,039мм

es= +42мкм= 0,042мм

Smax = 0,022мм

tåp =0,04625мм

EI=0мкм= 0мм

ei = +17мкм = +0,017мм

Nmax = -0,042мм

Npm = -0,0164мм

Em=19,5мкм= 0,0195мм

em= 29,5мкм=0,0295 мм

T(S,N)=0,064мм

Spmax=0,00675

Dmax =30,039мм

dmax=30,042 мм

Перевірка: T(S,N)=TD+Td= =0,039+0,025=0,064мм

Npmax= -0,0395

Dmin=30мм

dmin= 30,017мм


Перевірка: tåp=Spmax+Npmax= =0,04625мм

TD=0,039мм

Td=0,025мм



поле допуску відноситься до переважного

поле допуску не відноситься до переважного




Мал 1.2.1 Графічне зображення полів допусків зєднання

Графічне зображення розсіювання розмірів зазора-натягу (мал. 1.2.2.).

Мал. 1.2.2. Графічне зображення вірогідного розсіювання розміру зазору - натягу

Позначення допусків і посадок на ескізах складального і детальних креслень

Мал. 1.2.3. Позначення допусків і посадок на ескізах складального і детальних креслень

Застосування посадки.

Посадка H8/n7 - посадка зниженої точності, використовуються при знижених вимогах міцності,зокрема, в тракторному, дорожному, хімічному,сільськогосподарському машинобудуванні: крейцкопф ний валик в отвірах шатуна компресора,поршень на штоці циркуляційного насоса.

. Калібри для гладких циліндричних деталей

Розрахувати виконавчі розміри і допуски на знос робочих калібрів - пробок, калібрів - скоб і контрольних калібрів. Побудувати схеми полів допусків деталей і калібрів. Виконати робочі креслення калібрів з вказівкою розмірів, шорсткості поверхонь, маркіровки і технічних умов.

Початкові дані:

Номінальні посадочні розміри і граничні відхилення приймаються по раніше розрахованих і вибраних параметрах, наприклад, Ǿ30 H7(+0,025) / h6 (-0,016) (див. розрахунок посадки із зазором).

отвору Dmax = 30,025мм , Dmin =30мм

валу dmax = 30мм, dmin =29,984 мм

По таблиці . (додаток 1) у інтервалі розмірів 30...50 мм, квалітету точності Н7 знаходимо дані для розрахунку калібрів.

Для отвору:

допуск на виготовлення калібру - пробки - Н = 4мкм.

відхилення середини поля допуску прохідного калібру - пробки щодо якнайменшого граничного розміру виробу (отвору) - z = 3,5мкм

допустимий вихід розміру зношеного калібру - пробки за межу поля допуску виробу (отвору) - у =3 мкм

Для валу:

допуск на виготовлення калібру - скоби - Н1 = 4мкм

відхилення середини поля допуску на виготовлення прохідного калібру - скоби щодо найбільшого граничного розміру виробу (валу) - z1 = 3,5мкм

допустимий вихід розміру зношеного прохідного калібру - скоби за межу поля допуску виробу (валу) - y1 = 3мкм

допуск на виготовлення контрольного калібру для скоби - Hp = 1,5мкм

Розміри калібру - пробки для контролю отвору:

найбільший розмір прохідного нового калібру - пробки

ПР max = Dmin + z + H/2 = 30 + 0,0035 +0,004/2 =30,0055 мм

виконавчий розмір прохідного калібру - пробки

ПР = ПРmax­H = 30,0055 -0,004мм.

якнайменший розмір зношеного прохідного калібру - пробки

ПРзн = Dmin - у = 30 - 0,003= 29,997мм

найбільший розмір непрохідного нового калібру - пробки

НEmax = Dmax + H/2 = 30,025 + 0,004/2 =30,027 мм

виконавчий розмір непрохідного калібру - пробки

НЕ = НЕ max­H = 30,027 -0,004 мм

Розміри калібру - скоби для контролю валу.

Якнайменший розмір прохідного нового калібру - скоби

ПPmin = dmax - z1 - Н 1 /2 = 30 - 0,0035 - 0,004/2 = 29,9945 мм.

виконавчий розмір прохідного калібру - скоби

ПР = ПPmin+H = 29,9945 +0,004 мм

найбільший розмір зношеного прохідного калібру - скоби

ПPзн = dmax + y1 = 30 + 0,003 = 30,003мм

якнайменший розмір непрохідного калібру - скоби

НEmin = dmin- Н1 /2 = 29,984 - 0,004/2 = 29,982 мм

виконавчий розмір непрохідного калібру - скоби

НЕ = НEmin+Н1 = 29,982+0,004 мм.

Розміри контрольних калібрів найбільший розмір прохідного контрольного калібру для контролю робочої скоби при її виготовленні

К-ПPmax = dmax - z1 + Нр /2 = 30 - 0,0035 + 0,0015/2 =29,99725 мм

виконавчий розмір прохідного контрольного калібру

К-ПР = К-ПPmax­Hp = 29,99725 -0,0015 мм

найбільший розмір непрохідного контрольного калібру для контролю робочої скоби при її виготовленні

К-НEmax = dmin + Hp/2 = 29,984 + 0,0015/2 = 29,98475 мм

виконавчий розмір непрохідного контрольного калібру

К-НЕ = К-НEmax­Hp = 29,98475 -0,0015 мм

найбільший розмір непрохідного контрольного калібру для контролю зносу прохідної робочої скоби

К - Вmax = dmax + y1 + Нр/2 = 30 + 0,003+ 0,0015/2 = 30,00375 мм

виконавчий розмір контрольного калібру

К - В = К-Вmax-Hp = 30,00375 -0,0015 мм..

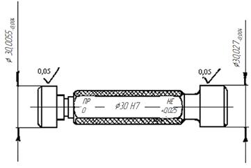
Графічне зображення полів допусків калібру - пробки і калібру - скоби приведено на мал. 2.1. і 2.2., а креслення калібрів на мал. 2.3. і 1.4.

Мал 2,1 Графічне зображення полів допусків калібра - пробки

Мал.2.2. Креслення для виконання калібра пробки

Мал. 2.3. Креслення для виконання калібра - скоби

. Взаємозамінність підшипників кочення

Завдання. Для підшипника кочення, посадженого на суцільний вал, призначити посадки внутрішнього і зовнішнього кілець, показати розташування полів допусків, зробити перевірку на наявність посадочного зазора по найбільшому натягу вибраної посадки, виконати складальне креслення вузла.

Дано: Підшипник №217, класу точності - 0. Радіальне навантаження Fr = 1000кгс. Осьове навантаження А відсутнє. Навантаження внутрішнього кільця - циркуляційне , зовнішнього - місцеве. Навантаження з помірними поштовхами 150 %. Корпус чавунний, нероз'ємний.

По ГОСТ 8338 - 71 визначаємо тип підшипника і його основні розміри.

Підшипник 217 кульковий, радіальний, однорядний, легкої серії.

Розміри: d = 85мм;= 150мм;

В = 28мм;= 3мм

Інтенсивність навантажень визначається по формулі, кгс/см:

r = F·K1·K2·K3 / B' =1000*1*1*1/2,2=454,54 кгс/см ,

де Fr - радіальне навантаження, кгс; В' - робоча ширина посадочного місця, см, В'=В-(2*r)=28-(2*3)=22мм=2,2см; К1 - динамічний коефіцієнт посадки (при перевантаженні 300%, помірних поштовхах і

вібрації К1 = 1,8; К2 - коефіцієнт, що враховує ступінь ослаблення посадочного натягу при порожнистому валу або тонкостінному корпусі (при суцільному валу К2 = 1);

К3 - коефіцієнт нерівномірності розподілу радіального навантаження між рядами роликів в дворядних конічних роликопідшипниках або між здвоєними шарикопідшипниками. Значення К3, залежить від величини


де β - кут контакту тіл кочення з доріжкою кочення зовнішнього кільця. Для радіальних і радіально-упорних підшипників з одним зовнішнім або внутрішнім кільцем К3 = 1.

По знайденій інтенсивності навантаження знаходимо: поле допуску валу для внутрішнього місцево-навантаженого кільця на вал - js6; поле допуску для отвору в корпусі (корпус чавунний, нероз'ємний) - G7.

З'єднання валу з внутрішнім кільцем підшипника.

Граничне відхилення для валу Ø 85 js6

нижнє відхилення еі = -11мкм = -0,011 мм

Граничне відхилення внутрішнього кільця підшипника Ø 85 мм

верхнє відхилення ESп = 0

нижнє відхилення EIп = - 20мкм = -0,02мм

де індекс "п" - відхилення розмірів кілець підшипника.

Розрахунок граничних розмірів і допусків деталей, що зєднуються.

внутрішнє кільце підшипника Ø 85 мм

найбільший граничний розмір

(кп)= d + Esп = 85 + 0 = 85 мм

якнайменший граничний розмір

(кп)= d + Eiп = 85 + (-0,02) = 84,98мм

допуск кільця

Тd = dmax - dmin = 85 - 84,98= 0,02мм

вал Ø 85 js6

найбільший граничний розмір

= d + es = 85 +0,011 = 85,011мм

якнайменший граничний розмір

= d + ei = 85 -0,011 = 84,989мм

допуск розміру валу

Тd = dmax - dmin = 85,011 - 84,989 = 0,022мм

Графічне зображення з'єднання валу з внутрішнім кільцем підшипника приведено на мал.4.1.

З графічного зображення видно, що з'єднання відноситься до перехідних посадок .

Мал.4.1 Графічне зображення з'єднання внутрішнього кільця підшипника і валу

Основні параметри з'єднання

найбільший натяг

= dmax - dmin(п)= 85,011 - 84,98 = 0,031мм

якнайменший натяг

= dmin - dmax(п)= 84,989 - 85 = -0,011 мм

середній натяг (вірогідність)

= 0,5 (Nmax + Nmin) = 0,5 (0,031 - 0,011) = 0,01мм

допуск посадки з натягом

= Nmax - Nmin = 0,031 +0,011 = 0,042мм.

Граничні відхилення отвору Ø 150 G7 в корпусі (корпус чавунний, нероз'ємний).

верхнє відхилення ES = 54мкм = 0,054мм

нижнє відхилення EI = 14мкм = 0,014мм

Граничні відхилення зовнішнього кільця підшипника Ø150 (додаток 4).

верхнє відхилення esп = 0

нижнє відхилення eiп = -25мкм = - 0,025мм

Розрахунок граничних розмірів і допусків деталей, що з'єднуються.

Зовнішнє кільце підшипника.

найбільший граничний розмір

(п)= D + esп = 150 + 0 = 150мм

якнайменший граничний розмір

(п)= D + eiп = 150+(-0,025)= 149,975мм

допуск кільця

(п)= Dmax(п) - Dmin(п)= 150 -149,975 = 0,025мм.

Отвір Ø 150G7в корпусі.

найбільший граничний розмір

= D + ES = 150 +0,054 = 150,054мм

якнайменший граничний розмір

Dmin = D+ EI = 150+0,014 = 150,014мм

допуск розміру отвору

TD = Dmax -Dmin = 150,054 - 150,014 =0,04мм.

З графічного зображення видно, що з'єднання відноситься до посадок з зазором

Основні параметри з'єднання найбільший зазор

= Dmax - Dmin п = 150,054 - 149,975 = 0,079мм

якнайменший зазор

Smin = Dmin - Dmax п = 150,014 - 150= 0,014мм

середній зазор

Sm = 0,5 (Smax +Smin) = 0,5 (0,079 - 0,014) = 0,0325мм

допуск посадки із зазором

ТS = Smax - Smin = 0,079 -0,014 = 0,065мм

Мал.3.2 Графічне зображення з'єднання зовнішнього кільця підшипника і отвору в корпусі.

Радіальний посадочний зазор при вибраній посадці

Sпос. = Sm поч - Δd(біг. дор.)

де, Sпос - радіальний посадочний зазор;поч - середнє значення початкового радіального зазора;

Δd(біг. дор) - діаметральна деформація бігової доріжки кільця.

поч. = 40мкм, Smin поч =16мкм.поч = 0,5(Smax поч.+ Smin поч )= 0,5 · (16 + 40) = 28мкм

при нерухомій посадці внутрішнього кільця на вал

Δd(біг. дор. Νеф ·d п / dо ,

при нерухомій посадці зовнішнього кільця в корпус

Δd(біг. дор Νеф · D о / Dп ,

де: Νеф - ефективний (дійсний) натяг, визначається :

по внутрішньому кільцю : N еф = (d/d+3) · Nmax,

по зовнішньому кільцю : N еф = 0,85 · Nmax,о- приведений зовнішній діаметр внутрішнього кільцяо- приведений внутрішній діаметр зовнішнього кільця

dо = dп + [ ( Dп - dп ) / 4 ] , Dо = Dо - [ (Dп -dп )/ 4 ]

Для даного випадку

dо = dп + [( Dп - d п ) / 4] = 85 + [( 150 - 85) / 4 ] = 101,25 ммо = Dо - [(Dп -dп )/ 4 ] = 150 - [( 150 - 85 ) / 4 ] = 133,75 мм

Δd(біг. дор Νеф ·d п / dо = 85/88 ·31 ·85 /101,25 = 25,13 мкмпос = Sm поч.- Δd(біг дор.) = 28 - 25,13= 2,86мкм.

Отже, посадочний зазор має місце, що і вимагалося забезпечити.

Щоб уникнути розриву кілець найбільший натяг посадки не повинен перевищувати значення допустимого натягу, мм


де σд - допустиме напруження на розтягування (для шарикопідшипникової стали

σк=40кгс/мм2 = 400 мН/м2); N' - допоміжна величина, залежна від розміру внутрішнього кільця;


середнє значення N' для підшипників легкої серії-2,8, для середньої-2,3 і для важкої-2,0.


Оскільки при вибірковій посадці h6 найбільший натяг Nmax= 31мкм, то, отже, запас міцності кільця цілком достатній.

Граничні значення допуску циліндричності, похибок форми, шорсткості посадочних поверхонь валу і корпусу. Допуски форми поверхонь указуються на кресленнях згідно ГОСТ 24643-81.Числові значення допуску циліндричності призначаються залежно від ступеня точності форми посадочних поверхонь і діаметру (ГОСТ 24643-81). Посадочні поверхні, що з'єднуються з кільцями підшипників кочення нормальної точності (0-го і 6-го класів), звичайно обробляються шліфуванням (вали) і чистовим розточуванням (отвори), що відповідає 5-й і 6-й ступені точності. По дод. 8 визначаємо допуск циліндричності: поверхні валу - 4 мкм, поверхні отвору в корпусі - 5 мкм.Відповідно до ГОСТ 3325-55 граничні похибки форми посадочних поверхонь при монтажі підшипників 0-го і 6-го класів точності не повинні перевищувати по овальності і конусоподібності 0,5 допуску на розмір. Таким чином, допустимі овальність і конусоподібність шийки валу повинні бути не більш Δ = 0,5 · 0,025=0,0125 мм. Допустимі овальність і конусоподібність отвору в корпусі повинні бути не більш 0,0175…0,018 мм:Δ=0,5·0,046=0,023 мм

Ескізи з'єднання шийки валу і отвору в корпусі (мал. 3.4)

Мал 3.4. Ескізи з'єднання шийки вала і отвору в корпусі

калібр деталь допуск посадка

4. Обґрунтування допусків форми і розташування

На мал 4.1. зображено вузол вихідного вала редуктора. На кресленні призначені посадки колеса на вал і підшипників на вал і корпус.

1. Визначити допуски:

- циліндричності посадочних поверхонь;

співвісності посадочних поверхонь;

перпендикулярності торців буртиків для базування;

паралельності і симетричності розташування паза шпонки на конусі валу.

. Привести ескіз цього валу з вказівкою баз і допусків форми розташування поверхонь.

Розв’язок

Осьовий розмір вала 33мм входить до сбірного розрахунку ланцюга. Так як осьовий розмір у підшипника кочення регулюють компенсаторам-набір прокладок, то згідно рекомендаціям на розмір 32мм назначаємо поле допуску h12.

Назначення поля допусків форми та розташування елементів валу:

. Допуски циліндричності посадочних поверхонь:

для підшипників кочення T=0.3t=0.3*16=4.8мкм, округляємо до 0,005мм.

для зубчатого колеса T-0.3t=0.3*3.9=0,0117мкм,округлю лити до 0,012мм.

. Допуски співвісності посадочних поверхонь.

для підшипників кочення по табл.. 8.1 для підшипників 3-оі групи на Ø45мм по 5-муквалітету допуску T=0.012мм;

для колеса по табл.. 8.2 для 8-го ступеню точності на Ø48мм по 6-му квалітету допуску Т=0,016мм

.Допуск перпендикулярності торців буртиків для базування:

підшипників кочення по табл.. 8.1 для підшипників 3-оі групи на Ø52мм по 5-му квалітету допуску Т=0,012мм

для зубчатого колеса,як відношення довжини посадкової поверхні колеса, до Ø48мм більше 0,8 , тоді допуск перпендикулярності до торця буртика не вказуємо .

4. Допуск радіального биття поверхні вала під манжетою не вказуємо так як n<1000 об/хв..

.Допуск паралельності та симетричності роз положення шпоночного паза. При ширині паза 12мм допуски в полях від 9-го квалітету:

паралельності Т=0,6*43=25,8мкм, округляємо до Т=0,025 мм;

симетричності Т=4*43=174 мкм, округляємо до Т=0,16мм.

Мал. 4.1 Вузол вихідного валу редуктора

. Визначення допусків зубчастих коліс передачі

Початкові дані :

Передача змонтована в чавунному корпусі. Зубчаті колеса сталеві, некориговані, з параметрами :

. Модуль нормальний mn = 3,5 мм,

. Кут нахилу зубів β = 8 ° 26 ',

. Кут головного профілю α = 20 °,

. Ширина зубчатого вінця Вw = 30 мм,

. Числа зуб'ів : z 1= 40, z 2 =60,

. Ділильні діаметри d1= 140мм, d2 = 210 мм,

. Міжосьова відстань передачі : аw = 175мм,

. Ступінь точності по ГОСТ 1643-81 : 7-8-9,

. При роботі передачі температура коліс досягає +60°С, температура корпусу - +40°C;

. Окружна швидкість V=16 м/с.

Р і ш е н н я :

Відповідно до заданого ступеня точності з таблиць ГОСТ 1643-81 знаходимо :

а) Норми показників, що забезпечують кінематичну точність по 7-й ступеню:

допуск на радіальне биття зубчатого вінця

Frr1 = Frr2=56 мкм

-допуск на коливання довжини загальної нормалі1 = Fvwr2=38 мкм

відхилення кроку зачепленняpbr1 =f pbr2 = ±19 мкм

відхилення окружного крокуptr1 = f рtr2 = ±20 мкм ;

похибка профілю зубаfr1 =f fr2 = 0 мкм ;

в) Норми показників, що забезпечують контакт зв'язаних зуб'ів по 7-й ступеню:

пляма контакту по довжині зуба

( а - с ) соsβ• 100 / в = 60 % ;

- по висоті зуба hm•100 / h = 45 % ;

допуск на похибку напряму зубавr1 =20; F вr2=25 мкм

Бічний зазор в передачі.

Величина бічного зазору, яка забезпечуе температурну компенсацію визначається по формулі

1 = aw1 ( t1 - 20° ) - α2 ( t2 - 20° ) ] 2 sinα,

де аw - міжосьова відстань передачі,

α12 - коефіцієнти лінійного розширення, відповідно матеріалів коліс і корпусу (α1 = 11,5 • 10 - 6 ; α2 = 10,5 • 10 - 6 )1 і t2 - робоча температура, відповідно коліс і корпусу по умові задачі ( t1 = 60°С, t2 = 40°C ) ;

α - кут головного профілю ( по умові α = 20 ° ).

Підставивши чисельні значення відповідних величин в початкову формулу, одержимо :

1 = 175 [ 11,5 • 10 -6 ( 60° - 20° ) - 10,5 • 10 -6 ( 40° - 20° ) ] 0,684 = 0,029925 мм.

Величина бічного зазору для забезпечення нормальних умов змащування

Jnо = ( 10 - 30 ) mn, мкм,

де mn, - модуль нормальний ( по умові mn, = 3,5 ), числове значення коефіцієнта при mn, вибирається менше (ближче до 10) для тихохідних передач і більше (ближче до 30) для швидкохідних. У данному випадку, для швидкохідної передачі приймемо коефіцієнт рівним 20, тоді

= jn1+ jn2 =29,9 + 80 = 109,9 мкм.

Для призначення стандартного виду з'єднання і виду допуску, в таблицях ГОСТ 1643-81 знаходимо значення jn min найближче ( але не менше ) до розрахункового jn.

У даному випадку, для передачі з aw = 175 мм знаходимо jn min = 115 мкм, цілком відповідне мінімальне необхідному розрахунковому зазору jn. Цьому значенню jn min відповідає вид сполучення "С", вид допуску "с" і граничне відхилення міжосьової відстані fα = ±55 мкм.

Для забезпечення такого зазору в передачі з 6-й ступенем норми кінематичної точності, ділильними діаметрами d1 = 140 мм і d2 = 210 мм і допуском на радіальне биття зубчатого вінця Frr1 =Frr2 = 56мкм, знаходимо табличні значення якнайменшого додаткового зсуву початкового контура Е HS і допуски на зсув початкового контура ТH

Е HS 1 =110; Е HS 2 = 120 мкм ; ТH1H2 = 140 мкм.

З урахуванням цих значень найбільший можливий зазор в передачі

jn max = jn min +(ТH1 + ТH2 + 2fα) 2sinα = 115 + (140 + 140 + 2∙55 ) 0,684 = 345,42 мкм

Допуск на радіальне биття діаметру вершин зубів Eda1 = 30 мкм, Eda2= 36 мкм, граничні відхилення діаметру вершин Δda1 = мкм, Δda2 = мкм.

Числові значення Δda беруться з таблиць ГОСТ 25346 -82 .

Вільний кутовий поворот зубчатого колеса при складанні

Якнайменший вільний кутовий поворот зубчатого колеса 2.

Δφ min 2= ( 2 jn min /mn z2 cosα ) 206 = 438.76с = 7 ' 31 ".

Найбільший вільний кутовий поворот зубчатого колеса 2.

Δφ mах 2= ( 2 jn mах /mn z2 cosα ) 206 = 19 ' 01 ".

Приклад виконання схем контрольованих елементів приведений на мал. 5.1 .

Мал. 5.1. Схеми контролю елементів зубчастих коліс

Список рекомендованих літературних джерел

1. Допуски и посадки: Справочник. В 2хч./В.Д. Мягков, М.А. Палей, А.Б. Романов, В.А. Брагинский. - 6е изд., перераб. и доп. - Л.:Машиностроение Ленингр. отд-ние, 1982. - ч.1 543 с., ил.; 1983 ч. 2. 448 с., ил.

2. Якушев А.И. и др. Взаимозаменяемость, стандартизация и технические измерения: Учебник для втузов/ А.И. Якушев, Л.Н. Воронцов, Н.М. Федотов. - 6е изд. перераб. и дополн. - М.: Машиностроение, 1987. - 352 с.; ил.

3. Бейзельман Р.Д., Цыпкин Б.В., Перель Л.Я. Подшипники качения. Справочник, Изд. 6е, перераб. и доп. М.: Машиностроение, 1975, 572 с.

4. Дунаев П.Ф., Лёликов О.П., Варламова Л.П. Допуски и посадки. Обоснование выбора: Учеб. пособие для студентов машиностроительных вузов. - М.: Высш. школа, 1984. - 112с., ил

5.      Саранча Г.А. Метрологія, стандартизація та управління якістю: Підручник. - К.: Либідь, 1993. - 256 с.; іл.

6.      ЕСКД: Справ. пособие. М., 1989, 118с.

.        Основные нормы взаимозаменяемости. ЕСДП. Общие положения, ряды допусков и основных отклонений ГОСТ 25346-89. М., 1989, 32 с.

.        ГОСТ 25347-82. ЕСДП. Поля допусков и рекомендуемые посадки. - М.: Изд-во стандартов.

.        Попова Г.Н., Иванов Б.А. Условные обозначения в чертежах и схемах по ЕСКД. Справочное пособие. Под ред. к.т.н. Б.Я. Мирошниченко. Л., Машиностроение (Ленингр. отд-ние), 1976.

Похожие работы на - Взаємозамінність, стандартизація та технічні вимірювання

 

Не нашли материал для своей работы?
Поможем написать уникальную работу
Без плагиата!
Без нейросетей!