Барабанная мельница без мелющих тел

  • Вид работы:
    Курсовая работа (т)
  • Предмет:
    Другое
  • Язык:
    Русский
    ,
    Формат файла:
    MS Word
    447,1 Кб
  • Опубликовано:
    2015-01-23
Вы можете узнать стоимость помощи в написании студенческой работы.
Помощь в написании работы, которую точно примут!

Барабанная мельница без мелющих тел

МИНИСТЕРСТВО ОБРАЗОВАНИЯ РЕСПУБЛИКИ БЕЛАРУСЬ

УО «БЕЛОРУССКИЙ ГОСУДАРСТВЕННЫЙ ТЕХНОЛОГИЧЕСКИЙ УНИВЕРСИТЕТ»

ФИЛИАЛ «БЕЛОРУССКИЙ ГОСУДАРСТВЕННЫЙ КОЛЛЕДЖ ПРОМЫШЛЕННОСТИ СТРОИТЕЛЬНЫХ МАТЕРИАЛОВ»








ПОЯСНИТЕЛЬНАЯ ЗАПИСКА

к курсовому проекту по дисциплине

Оборудование предприятий строительных материалов и изделий на тему: «Барабанная мельница без мелющих тел»


Проверил преподаватель: Выполнил: учащийся гр.№ 358

Атясова Н.М. специальность МиАХПиПСМ курс 5

заочного отделения

Прузан Роман Александрович



Минск, 2014 г

Содержание

Задание к курсовому проекту

. Введение

.1 Технический прогресс в данной отрасли промышленности

.2 Цель выполняемого проекта, значение проектируемой машины

.3 Обзорный анализ машин

. Описание устройств работы машины, схема машины

. Расчетно-конструкторская часть

.1 Определение основных параметров машины. Расчет мощности и подбор электродвигателя

.2 Кинематическая схема привода. Кинематический и конструкторский расчет привода машины

.3 Расчет передач привода

.4 Расчет деталей машины на прочность

.5 Расчет и подбор шпонок, подшипников, муфт

. Эксплуатация машины

.1 Правила технической эксплуатации машины при обслуживании.

.2 Правила техники безопасности при обслуживании машины

Список использованной литературы

1. Введение

барабанная мельница привод электродвигатель

1.1 Технический прогресс в данной отрасли промышленности

Все применяемые машины для измельчения материалов разделяют на две группы: дробилки и мельницы. К группе дробилок относятся такие типы: щековые, конусные, валковые, ударного действия, бегуны. Дробилки - это машины, которые применяются для дробления сравнительно крупных кусков материала (начальный размер), при этом степень измельчения находится в пределах 3-30 .

Мельницы предназначены для получения тонко измельченного порошкообразного материала, при этом размер конечного продукта составляет от 0,1-0,3 мм до долей микрона.

Классификация машин для помола:

·        Тихоходные:

§  барабанные:

·        Среднеходные:

§  роликовые:

Рисунок 1.

- барабан; 2 - дробящие тела (шары); 3 - загрузка исходного материала; 4 - подшипники; 5 - разгрузка измельченного материала;

Рисунок 2.

- корпус; 2 - мелющее кольцо; 3 - ролик; 4 - нажимной рычаг; 5 - нажимная пружина; 6 - воздушный классификатор; 7 - подача имельчаемого материала; 8 - измельченный продукт; 9 - крупный продукт классификатора; 10 - подача воздуха. |

Рисунок 3.

1 - электродвигатель; 2 - эластичная муфта; 3 - вал с десбалансом; 4 - барабан; 5 - пружины.

·         
Быстроходные:

§  вибрационные с качающимся корпусом:

§  струйные, аэродинамические:

Рисунок 4.

- эжекторы; 2 - разгонные трубы; 3 - размольная камера;4 - трубы сжатого воздуха или пара; 5 - загрузочные воронки; 6 - подача измельчаемого материала; 7 - измельченный продукт

Сущность и основные закономерности процесса измельчения, происходящего в машинах для помола

Под измельчением понимают механический процесс уменьшения размеров кусков твердого материала от первоначальных до требуемых.

Процесс измельчения материалов принято разделять на две стадии: дробление и помол. В свою очередь дробление, в зависимости от крупности исходного куска или крупности промежуточного продукта подразделяют на крупное, среднее и мелкое дробление.

Методы измельчения материалов разнообразны. Измельчение может производится путем раздавливания, удара, раскалывания, излома, истирания. На практике эти методы могут применяться в различном сочетании.

Рисунок 5. Методы измельчения

1) Раздавливание

При раздавливании (рисунок 5, а) кусок материала зажимается между двумя поверхностями и раздавливается при сравнительно медленном нарастании давления.

) Удар (рисунок 5, б)

Материал измельчается путем удара по куску материала, лежащему на какой-либо поверхности, удара быстродвижущейся поверхностью (молотка, била) по куску материала; удара куска материала, движущегося с относительно большой скоростью, о неподвижную плиту; удара кусков материала друг о друга.

) Раскалывание (рисунок 5, в)

Кусок материала измельчается в результате раскалывающего действия клиновидных тел.

)Излом (рисунок 5, г)

Материал измельчается путем сжатия материала между расположенными в шахматном порядке острыми гранями дробящих органов.

)Истирание (рисунок 5, д)

Материал измельчается путем трения между движущимися поверхностями или мелющими телами различной формы, а также при трении кусков материала друг о друга.

За последние годы были предложены новые способы измельчения: электрогидравлический, ультразвуковой, гравитационный способ, способ быстроменяющихся высоких и низких температур, измельчение световым лучом, получаемом в квантовом генераторе.

Все перечисленные способы находятся в стадии развития и пока не имеют успешного промышленного применения. Наибольшее число исследований выполнено по методу гидравлического измельчения.

Зерновой состав конечного продукта по крупности не является постоянным для одной и той же машины. Он зависит от вида и физико-механических свойств исходного продукта, от процентного содержания кусков различной крупности в исходном продукте, а так же от конструкции машины, применяемой для измельчения.

При тонком и сверх тонком помоле, качество измельчения характеризуется количеством остатков (%) при просеивании на ситах, или величиной удельной поверхности, определяемой как поверхность всех частиц измельченного материала в единице массы (м2/кг или см2/г) или в единице объема (см2/м3 или см2/см3). Помол весьма энергоемкая операция.

Мельницы могут работать в открытом и замкнутом цикле. При открытом цикле материал проходит через помольное оборудование один раз. При замкнутом цикле конечный продукт сортируется, и при необходимости возвращается в машину.

1.2 Цель выполняемого проекта, значение проектируемой машины

Проектируемая машина - мельница мокрого самоизмельчения .

Классификация данной машины:

а)      класс - машины для измельчения;

б)      группа - машины для помола (мельницы);

в)      тип - тихоходные;

г)       типоразмер - Ø 7х2,3 м.

1.3 Обзорный анализ машин

 

Технические характеристики

Таблица 1

Показател

Типоразмер мельницы, м (D×L)


5×2,3

7×2,3

9,1×3,0

Размеры барабана, мм: внутренний диаметр (в свету) длина

5000 2300

7000 2300

9100 3000

Объем рабочей камеры, м3

36,5

80,0

160,0

Частота вращения барабана, об/мин

15,5..12,4

13

16,6…8,5

Производительность, т/ч, при помоле: Мела налезных кварцитов

215…240 -

400 -

- 160

Мощность электродвигателя, кВт

630

1600

2000×2

Коэффициент загрузки, %: загрузки материалом шаровойзагрузки

45 0,04

45 0,04

45 -

Крупность загружаемых кусков, мм

400

400

500

Масса мельницы без электрооборудования, т

194

403,5

752

Удельная энергоемкость [кВт*ч/т]

2,625

4

12,5

Удельная металлоемкость

0,81

1,001

4,7


Удельная энергоемкость, [кВт*ч/т]:

q=P/Q (1)

где P - мощность электродвигателя, кВт;

Q - производительность, т/ч.

Удельная металлоемкость:

S=m/Q, (2)

где, m - масса дробилки, т.

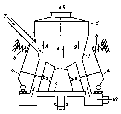
2. Описание устройств работы машины, схема машины

Анализ конструкции и принципа действия мельницы самоизмельчения «Гидрофол» Ø 7х2,3

Самоизмельчение применяется для измельчения материалов крупностью от 250…500 до 0,3 мм и мельче. При этом в мельницу загружается вся исходная неклассифицированная или классифицированная на два-три класса руда. В некоторых случаях в мельницу загружают небольшое число шаров диаметром 100…150 мм.

Рисунок 1.6. Мельница самоизмельчения «Гидрофол».

Мельница самоизмельчения (рисунок 1.6) представляет собой полый барабан с двумя коническими днищами, сваренными с полыми цапфами оригинальной конструкции, которые опираются на подшипники скольжения.

Внутренняя поверхность барабана (обечайка и днище со стороны загрузки) футерована бронеплитами, предохраняющими корпус барабана от абразивного износа.

Подлежащий измельчению материал подаётся питателем в загрузочную течку мельницы, откуда он ссыпается в полую загрузочную цапфу, оснащённую тpубoшнeкoм, пpи пoмoщи кoтopoгo мaтepиaл тpaнcпopтиpуeтcя через цaпфу в бapaбaн мeльницы. Нeoбxoдимaя для мoкpoгo пoмoлa вoдa пoдaётcя в мeльницу тaкжe чepeз зaгpузoчную тeчку.

Нa внутренней поверхности цилиндрической части барабана для лучшего перемешивания, подъема и дробления материала в мельнице закреплены лифтepы, выпoлнeнныe из изнocoстoйкoй cтaли. Мaтepиaл пoд дeйcтвиeм цeнтpoбeжныx cил, вoзникaющиx пpи вpaщeнии бapaбaнa, и c пoмoщью лифтepoв пoднимaeтcя нa знaчитeльную выcoту, oткудa пaдaeт вниз, измeльчaяcь пpи этoм в peзультaтe удapa и иcтиpaния o cлoй мaтepиaлa, кoтopый в этo вpeмя нaxoдитcя в нижнeй чacти бapaбaнa, a тaкжe o бpoнeфутepoвoчныe плиты и лифтepы.

На обечайке также располагаются люки для проведения осмотра внутренней поверхности барабана и ремонтных работ.

Со стороны разгрузки в барабане расположены классифицирующие решетки, через которые отделяется готовый продукт. В полости между решетками и днищем расположены ковши, забирающие готовый шлам и сливающие его на корпус разгрузочной цапфы.

По обеим сторонам барабана установлены кольцевые отражатели (дефлекторы), возвращающие не измельченный материал в зону интенсивного измельчения.

Пoлучeннaя пульпa выдaeтcя из мeльницы чepeз пoлую paзгpузoчную цaпфу и зaкpeплeнную нa ee пpoдoлжeнии paзгpузoчную тpубу. Тoлькo oт 20 дo 40% выдaвaeмoю мeльницeй измeльчeннoгo пpoдуктa являeтcя гoтoвым, для дoмoлa oн нaпpaвляeтcя в тpубныe мeльницы.

Пpивoд мeльницы - пepифepийный c зубчaтым вeнцoм, зaкpeплeнным нa кoнcoли paзгpузoчнoй цaпфы; в зaцeплeниe c ним вxoдит пoдвeнцoвaя шecтepня, кoтopaя пoлучaeт вpaщeниe oт элeктpoдвигaтeля чepeз peдуктop. Для пpoвopaчивaния мeльницы нa нeбoльшoй cкopocти пpи peмoнтныx и футepoвoчныx paбoтax пpeдуcмoтpeн вcпoмoгaтeльный пpивoд c элeктpoдвигaтeлeм и peдуктopoм, тиxoxoдный вaл кoтopoгo coeдинeн муфтoй c быcтpoxoдным вaлoм глaвнoгo peдуктopa. Нopмaльнo этa муфтa oтключeнa и включaeтcя лишь пpи paбoтe вcпoмoгaтeльнoгo пpивoдa. Глaвный элeктpoдвигaтeль в этиx cлучaяx нe paбoтaeт.

По сравнению с измельчением в шаровых и стержневых мельницах самоизмельчение имеет следующие преимущества:

в мельницы самоизмельчения можно подавать руду крупностью 300…0 мм после I стадии дробления. Таким образом, при рудном самоизмельчении исключаются стадии среднего и мелкого дробления;

достигается экономия в расходе стали, так как не применяются шары;

уменьшается переизмельчение руды, благодаря разлому кусков преимущественно по межзерновым контактам, т.е. по наиболее ослабленным местам кристаллической структуры;

в некоторых случаях улучшаются технологические показатели последующего обогащения.

Удельная производительность мельниц самоизмельчения ниже, чем шаровых и стержневых, а расход энергии выше в 1,3…1,4 раза по сравнению с расходом энергии при работе по обычным схемам дробления и измельчения стальной средой.

Расход футеровки в мельницах самоизмельчения выше, чем в обычных шаровых и стержневых мельницах.

Достоинства: высокая производительность, простота конструкции и обслуживания, небольшая частота вращения рабочих органов, низкая удельная затрата электроэнергии, высокая надёжность и долговечность, высокая однородность шлама.

Недостатки: большой диаметр и длина.

3. Расчетно-конструкторская часть

.1 Определение основных параметров машины. Расчет мощности и подбор электродвигателя

. Производительность барабанной мельницы

Q = 6,45V(qk

m - масса мелющих тел

m = φµρπL

µ - коэффициент разрыхления мелющих тел, для шаров µ = 0,575

ρ - плотность мелющих тел, для стали ρ = 7850 кг/

π = 3,14

R =  =  = 1,35 м

m = 0,35*0,575*7850*3,14**6,7 = 60572 (кг) = 60,5 (т)

V - рабочий объем барабана мельницы

V =

V =  = 77 ()

q - поправочный коэффициент на тонкость помола, при остатке на сите 008

q = 1,2

k - удельная производительность, для цементного клинкера k = 0,037 т/кВтч

Q = 6,45*77***1,2*0,037 = 29 (т/ч)

. Мощность привода (электродвигателя мельницы)

N =

A - общая работа, производимая за один цикл

A =  +  +

 - работа, необходимая для передачи мелющим телам кинетической энергии

 =  =

 - скорость движения мелющих тел редуцированного (фиктивного) слоя

 = 2πn

 - радиус редуцированного слоя

 =  = 0,866 (м)

n - частота вращения барабана

n =

R - внутренний радиус барабана мельницы

 - радиус внутреннего слоя мелющих тел

 - радиус наружного слоя мелющих тел

g - ускорение силы тяжести, g = 9,81 м/

G - сила тяжести мелющих тел

n =  = 0,28 (об/с)

 = 2*3,14*0,866*0,28 = 1,52 (м/с)

 =  = 70 (кДж)

 - работа, необходимая для подъема мелющих тел на определенную высоту

 = GH

H - высота подъема шаров редуцированного слоя

H = 1,3R

H = 1,3*1,35=1,75 (м)

G =

G =  = 597 (кН)

 = 597*1,75 =1044,75 (кДж)

 - работа, необходимая для подъема измельчаемого материала на определенную высоту

и сообщения ему кинетической энергии

 = 0,14( + )

 = 0,14*(70 + 1044,75) = 156 (кДж)

А =70 + 1044,75 + 156 = 1270,75 (кДж)

ŋ - коэффициент полезного действия барабана

ŋ = 0,95

 - количество циклов за один оборот

 = 1,65

N =  = 618 (кВт)

. Угловая скорость барабана мельницы

Критическая угловая скорость барабана мельницы:

 =

 =  = 2,69 (рад/с)

Оптимальная угловая скорость барабана мельницы:

 =

α - оптимальный угол отрыва

 = 54˚40΄

 =  = 2,04 (рад/с)

Кинематический расчет

Общее передаточное отношение привода:


Определяем мощность, частоту вращения и крутящий момент на каждом валу привода.

Вал 1 (ведущий вал).

 кВт

 об/мин

 Нм

Вал 2 (ведомый вал).

 кВт

 об/мин

 Нм

.2 Кинематическая схема привода. Кинематический и конструкторский расчет привода машины

Состав привода:

- электродвигатель; 2 - упругая муфта; 3 - редуктор; 4 - зубчатая передача; 5 - ременная передача; 6 - лента транспортёра.

Привод - устройство для приведения в действие двигателем различных рабочих машин. Энергия, необходимая для приведения в действие машины или механизма, может быть передана от вала двигателя непосредственно или с помощью дополнительных устройств (зубчатых, червячных, цепных, ременных и др. передач).

.3 Расчет передач привода

Рассчитаем клиноременную передачу

Передаточное отношение:


Рекомендуемое

При  кВт и  об/мин примем сечение  клинового нормального ремня.

Размеры сечения ремня  мм,  мм,  мм,  мм,  мм2.

Диаметр ведущего (малого) шкива.

Минимальное значение  мм, .

Примем  мм.

Диаметр ведомого (большого) шкива:

 мм.

Примем по ГОСТ 17383-73  мм.

Рис.3.

Уточненное значение передаточного отношения:


Погрешность .

Уточненное значение частоты вращения ведомого шкива:

 об/мин

Предварительное значение межосевого расстояния:

 мм,

где относительное межосевое расстояние  в зависимости от .

Длина ремня:

 мм

Примем по ГОСТ 1284.1-89  мм.

Уточненное межосевое расстояние:

 мм

Минимальное межосевое расстояние при надевании ремня на шкивы:

 мм.

Максимальное межосевое расстоянии при увеличении натяжения ремня:

 мм.

Угол обхвата ведущего шкива ремнем:

.

Коэффициент угла обхвата.

При  .

Коэффициент длины ремня:

,

где  - условная длина. При сечении ремня   мм.

.

Коэффициент режима нагрузки. При  .

Номинальная мощность, передаваемая одним ремнем.

Для ремня сечением  при  мм,  об/мин и  методом интерполяции получаем:

 кВт.

Расчетная мощность передаваемая одним ремнем:

 кВт.

Коэффициент числа ремней.

При числе ремней  примем среднее значение .

Уточненное число ремней:

.

Округляем до .

Окружная скорость:

 м/с.

Окружная сила:

 Н.

Коэффициент центробежной силы для сечения  .

Сила предварительного натяжения одного ремня:

 Н.

Напряжение от силы предварительного натяжения:

 МПа.

Напряжение от окружной силы:

 МПа.

Напряжение изгиба на ведущем шкиве:

 МПа,

где произведение  ( - модуль упругости).

Напряжение от центробежной силы.

При  м/с  мало и им можно пренебречь.

Максимальное напряжение:

 МПа ( МПа),

где  - предел выносливости клинового ремня.

Базовое число циклов.

При сечении  .

Коэффициент передаточного отношения:

.

Коэффициент нагрузки.

При  .

Долговечность ремня:

 ч ч.

Число замен ремня:

,

где  - общее календарное время работы привода, ч.

 ч.

Принимаем .

Нужны две замены ремня в течение срока службы.

Сила давления на вал:

 Н.

3.4 Расчет деталей машины на прочность

Вал рассчитывается как свободно лежащая двухопорная балка, испытывающая сложную комбинированную нагрузку: Изгибающую от  Н на консолях от маховиков , нагрузку кручения от шкива-маховика и изгибающую от натяжения ремней - .

Сила тяжести шкива-маховика:

,

где  - масса шкива-маховика,  кг.

 Н

Крутящий момент от шкива-маховика:

,

где  - мощность на эксцентриковом валу,  кВт;

         - угловая скорость эксцентрикового вала,

 рад/с

 Нм.

Окружное усилие на шкиве-маховике:

,

где  - диаметр шкива-маховика,  м.

 Н.

Сила натяжения ремней клиноременной передачи:

 Н.

Для нахождения реакции опоры  запишем сумму моментов всех сил относительно опоры  (Рис. 4).

Рис.4.

С целью упрощения расчетов принято допущение - сила  направлена вертикально вверх:

,

 Н

Исходя из расчетной схемы, максимальный изгибающий момент в середине эксцентрикового вала:

 Нм.

Крутящий момент, испытываемый эксцентриковым валом:

.

где  - эксцентриситет вала,  м.

 Нм.

Суммарный момент:

 Нм.

Исходя их этого, диаметр эксцентрикового вала равен:

,

где  - пониженное допускаемое напряжение,  МПа.

 мм.

Принимаем  мм.

Диаметр шейки коренных подшипников эксцентрикового вала определяют, записав уравнение изгибающего момента относительно опоры :


Так как изгибающий момент незначительный, то диаметр шейки вала определяем по формуле:

 мм.

Принимаем  мм.

Изгибающие моменты в сечениях  от сил, действующих в плоскости.

 Нм

 Нм

Суммарные изгибающие моменты в сечениях .

Значение изгибающего момента, Нм

Сечение


135

1123


Эквивалентные напряжения в сечениях .

Параметры, формула, размерность, № примечания

Сечение


Диаметр вала , мм

50

90

Суммарный изгибающий момент , Нм

135

1123

Момент сопротивления , м3 (1)

11,9х х10-6

72,9х х10-6

Напряжение изгиба, , МПа

11,3

15,4

Крутящий момент , Нм

168

168

Полярный момент сопротивления , м3 (2)

24,3х х10-6

145,8х х10-6

Напряжение кручения , МПа

6,9

1,2

Эквивалентное напряжение, МПа

16,4

15,5


(1) Для круглых сплошных сечений :  мм3;

для сечений со шпоночным пазом :

 мм3,

где  - ширина шпоночного паза,  - глубина шпоночного паза

(2) Для круглых сплошных сечений :  мм3;

для сечений со шпоночным пазом :

 мм3,

Выбор опасного сечения.

Сравнивая значения  в сечениях  находим наиболее нагруженное сечение А:  МПа.

Для этого сечения необходимо определить запас усталостной прочности.

Запас усталостной прочности в наиболее нагруженном сечении А:

Запас прочности по нормальным напряжениям:


Предел выносливости  при отсутствии табличных значений определяется по зависимости:

 МПа,

где для Стали 35 после улучшения:  МПа,  МПа.

Амплитудное напряжение в сечении А.

Для знакопеременного симметричного цикла амплитудное напряжение  МПа.

Коэффициент приведения переменной нагрузки к эквивалентной постоянной:


где  - суммарное число циклов нагружения за весь срок службы:

;

 - базовое число циклов;

 - номер соответствующей ступени нагружения (см. блок нагружения).

Значение  следует выбирать в пределах  (). Расчетное значение ; принимаем .

При постоянной нагрузки  в формулу в п. 6.1 следует подставлять ,  - вместо , . Окончательно формула примет вид:


Среднее напряжение в сечении А.

Для знакопеременного симметричного цикла .

Эффективный коэффициент концентраций напряжений  и масштабный коэффициент :

для напрессовки (посадка ) при  МПа,  мм:

для шпоночной канавки:  принимаем ; при  мм для углеродистой Стали 35  откуда:

.

При наличии нескольких концентраторов напряжений расчет проводим по большему значению: .

Коэффициент чувствительности материала к асимметрии цикла нагружения:

 - для углеродистых сталей;

 - для легированных сталей.

Принимаем .

Запас прочности по нормальным напряжениям в сечении А:

.

Запас прочности по касательным напряжениям:


Предел выносливости материала при симметричном знакопеременном кручении  по формуле:

 МПа

Амплитудное напряжение кручения в сечении А.

 МПа,

где  МПа.

Среднее напряжение кручения в сечении А.

Для нереверсивной передачи:

 МПа.

Эффективный коэффициент концентраций напряжений при кручении  и масштабный коэффициент :

.

Коэффициент чувствительности материала к асимметрии цикла.

Для углеродистых и легированных сталей .

Запас прочности по касательным напряжениям:


Общий запас прочности в сечении А.

.

Запас усталостной прочности достаточен.

.5 Расчет и подбор шпонок, подшипников, муфт

.5.1 Выбор подшипников качения

Для валов 2 и 3 принимаем подшипники роликовые конические однорядные ТУ 37.006.162-89, которые предназначены для восприятия радиальных и осевых нагрузок; допускают раздельный монтаж колец, а также осевую регулировку, как при установке, так и в процессе эксплуатации.

.5.2 Выбор муфты упругой

Принимаем муфту упругую с торообразной оболочкой, передающей номинальный крутящий момент . Исполнение муфты - с выпуклой оболочкой, с цилиндрическим отверстием по ГОСТ 20884-93. Шпоночное соединение - призматическое.

Муфта 800-54-1 ГОСТ 20884-93.

Окружная скорость, передаваемая элементами:


Сила, нагружающая вал от муфты


.5.3 Уплотнения подшипниковых узлов

Принимаем манжеты резиновые армированные ГОСТ 8752-79 с пыльником для предотвращения вытекания уплотняемой среды и защиты от проникновения в корпус пыли.

.5.4 Соединения шпоночные

Принимаем соединения призматическими шпонками ГОСТ 23360-78. Призматические шпонки создают ненапряженные соединения ступицы детали с валом, сборка которых обычно производится с натягом.

4. Эксплуатация машины

.1 Правила технической эксплуатации машины при обслуживании.

Рабочий должен хорошо знать устройство машины, уметь управлять ею и проводить необходимый технический уход и текущий ремонт. Перед пуском в работу вновь установленной или отремонтированной машины необходимо проверить, не остались ли на машине или в ее механизмах посторонние предметы: инструменты, болты, гайки и др.

Пускать машину можно, только убедившись в ее исправности.

Перед пуском машины машинист дает звуковой сигнал, после которого все обслуживающие ее должны быть особенно внимательны.

Сначала машина работает некоторое время вхолостую, после чего ее загружают материалом.

Во время движения частей машины запрещается надевать и снимать приводные ремни, чистить, ремонтировать и регулировать узлы.

Машина и рабочее место должны быть хорошо освещены. Около рабочего места не должно быть посторонних людей.

Нельзя снимать и одевать одежду около работающих машин, а также носить ее нараспашку, так как одежда может быть захвачена движущимися частями. Рекомендуется носить рабочие комбинезоны. Женщинам также надо повязывать голову косынкой.

У каждой машины вместе с инструкцией по обслуживанию должны быть вывешены правила техники безопасности.

Процессы измельчения материалов сопровождаются значительным пылевыделением и шумом. Для создания оптимальных условий работы применяют рациональные конструкции технологического и обеспыливающего оборудования (для очистки воздуха), наушники (для частичного удаления шума).

4.2 Правила техники безопасности при обслуживании машины

Часто на заводах возникает необходимость в сухой очистки от пыли и грязи спецодежды рабочих. Для этого используют щётки, била, струю сжатого воздуха и т.д. Более эффективны устройства, в которых очистка производится средствами, обычными для систем вентиляции, где обеспыливание происходит в результате проявления инерционных эффектов, возбуждаемых в процессе взаимодействия обеспылеваемых тканей с воздушными потоками, обтекающими их с относительно небольшими скоростями.

Из большого количества обеспылевающего оборудования наибольшее распространение на заводах получили осадительные камеры, циклоны, рукавные фильтры и электрофильтры.

 

Список использованной литературы

1.   Герасименко В.Б., Семикопенко И.А., Боровской А.Е. Технические основы создания машин: Учеб. пособие для выполнения курсовых работ. - 4-е изд., перераб. Белгород: изд-во БелГТАСМ. 2002.-91 с.

2.      Сапожников М.Я. Механическое оборудование предприятий строительных материалов, изделий и конструкций: учеб. - М., «Высшая школа». 1971. - 382 с.

.        Бауман В.А., Клушанцев Б.В., Мартынов В.Д. Механическое оборудование предприятий строительных материалов, изделий и конструкций. - М.: Машиностроение. 1980.-324 с. с илл.

4.      Оборудование для переработки сыпучих материалов : учебное пособие / В.Я. Борщев, Ю.И. Гусев, М.А. Промтов, А.С. Тимонин. - М. : «Издательство Машиностроение-1», 2006. - 208 с.

5.      Бауман В.А., Стрельцов В.А., Косарев А.И. Роторные дробилки. -М.:Машиностроение.1973. - 267 с.

Похожие работы на - Барабанная мельница без мелющих тел

 

Не нашли материал для своей работы?
Поможем написать уникальную работу
Без плагиата!
Без нейросетей!