Аппараты для заморозки мелкоштучных изделий
Содержание
Введение
Литературный обзор
Обоснование выбора режима
холодильной обработки
Обоснование выбора конструкции
аппарата
Описание устройства и принципа
действия аппарата
Определение расчётных
технологических параметров
Расчёт конструктивных и габаритных
размеров
Тепловой расчёт аппарата
Определение рабочих характеристик
аппарата
Заключение
Список литературы
Введение
Широкое применение холода во всех отраслях
пищевой промышленности позволяет обеспечить ритмичность производства,
рациональнее использовать основные фонды, сохранять качество пищевых продуктов.
Одной из важнейших задач народного хозяйства является обеспечение
круглосуточного бесперебойного снабжения населения высококачественными
продовольственными продуктами в широком ассортименте.
Природно-климатические условия республики
обусловливают сезонность производства продуктов животного и растительного
происхождения, сохранение пищевой и биологической ценности которых в течение
длительного периода возможно только с помощью консервирования. Выбор того или
иного способа консервирования зависит от свойств продукта, его ценности в конце
процесса хранения и эффективности затрат на хранение.
Холодильное консервирование - один из
эффективных способов обработки и хранения продуктов высокого качества. Наиболее
распространенным и экономичным является охлаждение и хранение продовольственных
продуктов в охлажденном состоянии, позволяющая наиболее полно сохранить
присущие им потребительские свойства. Однако срок хранения охлажденных
продуктов ограничен, что не позволяет создать достаточные запасы и обеспечить
непрерывное снабжение населения.
Для увеличения продолжительности хранения
продукты замораживают, что существенно тормозит скорость протекания процессов,
влияющих на качество. Замораживание и хранение в замороженном виде изменяет
начальное качество продуктов, но позволяет сохранить их ценные питательные
свойства.
Искусственный холод получают двумя способами.
Первый основан на аккумулировании естественного холода, второй - на
существующей в природе закономерности, выражаемой вторым законом термодинамики.
Первый способ, относящийся к области ледяного или льдосоляного охлаждения,
основан на том, что колебания температуры окружающей среды в природных условиях
создают возможность сохранять или аккумулировать естественный холод в
сравнительно ограниченном пространстве. Наиболее распространенным телом,
сохраняющим естественный холод, является водный лед. Его заготавливают зимой,
чтобы в теплое время года использовать для охлаждения. Охлаждающий эффект
водного льда, например, при нулевой температуре равен теплоте его плавления и
составляет 336,0 кДж/кг. Применяя смесь водного льда с солью, например, с
хлористым кальцием, можно получить температуру до минус 55,0 °С.
Второй способ составляет основу машинного
охлаждения. Согласно второму закону термодинамики для получения холода
необходимо затратить внешнюю работу. При этом теплота отводится от охлаждаемого
источника и подводится к источнику окружающей среды. Охлаждаемый источник
называют также источником теплоты низкой температуры
Диапазон температур, достигаемых с помощью
холодильных машин, достаточно широк: от положительных значений температур,
приближающихся к температуре источника окружающей среды, до температуры предела
искусственного охлаждения, близкой к абсолютному нулю (минус 273,15°С).
Область так называемых умеренных температур
охлаждения (умеренного холода) охватывает диапазон температур от положительных
их значений до отрицательной температуры, соответствующей примерно минус 160
°С. В народном хозяйстве основном используется область низких и умеренных
температур.
Развитие холодильной технологии как
самостоятельной области знаний началось одновременно с применением холода.
Сейчас невозможно найти отрасли народного хозяйства, где не применяется холод
или его производные.
В курсовой работе необходимо будет провести
литературный обзор, изучить возможные способы замораживания фруктов и
разработать хладоновый скороморозильный аппарат для заморозки клубники с
исходными данными:
tнач = 12 0С;
tкон = - 18 0С;
производительность 0,75 т/ч
1 Литературный обзор
заморозка
скороморозильный аппарат
В 30-е годы произошло событие, по существу
означавшее переворот в холодильной технике, поскольку широкому ее применению
серьезно мешали неблагоприятные свойства использованных холодильных агентов:
запах, токсичность, пожаро- и взрывоопасность.
В 1928 году Томас Мидглей со своими сотрудниками
Хенном и Макнари в холодильной лаборатории в Дэйтоне (Огайо, США) синтезировал
несколько новых холодильных агентов. Лучший, по мнению исследователей, из этих
агентов CC12F2
был продемонстрирован на заседании Американского химического общества в
Атланте. Мидглей струей этого хладагента погасил горевшую свечу. Зал
зааплодировал, поскольку все поняли, что новый хладагент негорюч, к тому же без
запаха. В 1929 году фирма «Дженерал Моторс» профинансировала строительство
первой экспериментальной установки для производства этого соединения -
дихлорфторметана. В 1930 году дочерняя фирма Дюпона «Кинетик Кемиклс
Инкорпорейтед» построила пилотную установку и изготовила первые коммерческие
образцы холодильного агента, названного «дихлордифторметан-кинетик № 12». В
дальнейшем «Кинетик Кемиклс» дал этому хладагенту другое торговое название -
фреон, в частности для дихлордифторметана - фреон 12. Этим названием до сих пор
пользуются в литературе для обозначения группы синтетических хладагентов -
галогенопроизводных метана, этана, пропана и бутана, хотя есть и другие
торговые марки, например хладон (Россия), дженетрон, изотрон, арктон, фриджен,
калтрон и др. Первая публикация о свойствах фреона 12 появилась 13 марта 1931
года в журнале «Ind.
Eng. Chem»
(1931, v. 23, № 3) -«The thermodymanic Properties of dichlorodiftuoromethane
(R12): The Equation of state of Superheated Vapoun».
В процессе поиска холодильных агентов Т. Мидглей
проанализировал таблицу Менделеева и выделил восемь химических элементов,
которые, по его мнению, подходили для синтеза рабочих веществ, пригодных для
холодильной техники. Это были: углерод, хлор, водород, бром, азот, кислород,
сера и фтор. Остальные элементы образуют твердые либо нестабильные, токсичные
или инертные соединения. В ходе развития этого направления в 30-е годы на рынке
появились фреоны 11,113 и 114, а с 1935 года - фреон 22. Фреоны 500 и 502
появились в 50-х годах и уже представляли азеотропные смеси фреонов,
соответственно 12, 152а, 22.
Серьезную конкуренцию фреонам составлял только
аммиак, кстати, серьезно потесненный со своих первоначальных позиций.
-е годы отмечены необычайно широким применением
фреонов в других отраслях промышленности, особенно в электронной (для
производства персональных компьютеров начали широко применять фреон 113), в
системах пожаротушения (вне конкуренции оказались бромированные фреоны), в
машиностроении (для очистки деталей и промывки промышленных систем, в производстве
теплоизоляции фреон 11 оказался бесспорным фаворитом), в косметике и
парфюмерии, в медицине в качестве аэрозолей. Чтобы представить масштабы
подобного использования фреонов, отметим, что из 340 тыс. т. фреона 12,
произведенного в 1976 году, только 27 тыс. т пошло на нужды холодильной
техники. В некоторых публикациях отмечалось, что 75 % производимых фреонов шло
на перезаправку соответствующих систем. /1/
К 80-м годам аммиак окончательно был вытеснен из
морского рефрижераторного флота и других транспортных систем. К 1988 году
производство фреонов в мире достигло 1 млн. 300 тыс. т., из которых 40 %
приходилось на долю США; 95 % этого производства составляли фреоны 11,12,22,
113 и 115.
Триумфальное шествие фреонов закончилось в 80-х
годах. Сказались их собственные достоинства, в частности, высокая химическая
стабильность. Как известно, основные компоненты атмосферы Земли - кислород,
азот и небольшое количество инертных и других газов. Однако атмосфера содержит
также озон, что исключительно важно для существования жизни на Земле, а фреоны
разрушают озонный слой Земли. По этой причине было принято решение заменить
озоноопасные фреоны на безопасные.
Встал неотложный вопрос о замене в холодильной
технике фреонов 11, 12,22, 113 и 115.В первую очередь предстояло решить, какой
холодильный агент использовать в новых холодильных системах, и еще более
сложную проблему: чем заменить ОРВ в существующих холодильных установках. О
масштабе только второй задачи говорит такой факт: в мире сотни миллионов
домашних холодильников (это главным образом фреон 12), десятки миллионов
коммерческих систем в супермаркетах, больницах, аптеках, ресторанах,
гостиницах, бытовые кондиционеры (это в основном фреон 22), десятки миллионов
автомобильных кондиционеров (фреон 12), сотни тысяч транспортных рефрижераторов
(фреон 22) и т. д. Возможные последствия подобных преобразований действительно
катастрофичны. Только в СНГ единовременно в домашних холодильниках и
морозильниках хранится почти 1 млн. т. скоропортящихся продуктов. В США три четверти
потребляемой пищи зависит от технологического оборудования, использующего
холод. Объем производства мороженого в мире - более 10 млн. т. в год,
быстрозамороженных продуктов - более 30 млн. т., а продукции рыбной
промышленности, приближается к 100 млн. т. Емкости холодильников в мире
обеспечивают хранение более 50 млн. т. пищевых продуктов, что является
жизненным фактором питания уже населения всей Земли.
Созданы «переходные» холодильные агенты,
способные заменить ОРВ в существующих холодильных установках. Подобные
холодильные агенты стали называть «сервисными». Термин ретрофит, появившийся в
современной холодильной технике, стал обозначать процедуру замены
озоноразрушающего холодильного агента на холодильный агент, менее опасный или
даже безопасный для озонового слоя в действующем оборудовании по специальной
технологии. С 1991 года компания «Дюпон» стала производить холодильный агент
торговая марка СУВА 134а, озоноразрушающая способность которого равна нулю.
Этот холодильный агент предназначался как альтернатива фреону 12 в новом
холодильном оборудовании. Замена фреона 12 на СУВА 134а в существующем
оборудовании связана с удалением и тщательной очисткой системы от следов фреона
12 и даже минерального масла. Альтернативу фреону 22 подобрать не удалось. Синтезированный
озонобезопасный СУВА 125 для замены фреона 22 серьезно уступал ему по многим
показателям эффективности.
Большинство пищевых продуктов в процессе
хранения может подвергаться нежелательным изменениям. Чаще всего они вызываются
микроорганизмами, под влиянием которых происходит распад сложных химических
веществ. В результате появляются новые, более простые по составу вещества,
обладающие неприятным вкусом и запахом. Консервируя пищевые продукты, можно
прекратить или замедлить деятельность микроорганизмов, а также разрушить
ферментную систему и таким образом предотвратить нежелательные изменения
продуктов. Существует много методов консервирования. Выбор того или иного
способа зависит от вида и свойства сырья, от назначения готового продукта. /1/
В настоящее время в нашей стране и за рубежом
для замораживания продуктов питания используются следующие основные способы:
• конвективный (в интенсивном потоке холодного
воздуха);
• контактный (путем непосредственного контакта
продукта с охлаждающей средой и путем контакта с плитами, охлаждаемыми
хладагентом);
• криогенный (с использованием жидкого азота,
жидкого воздуха, жидкой или твердой углекислоты и др.).
Независимо от их типа и назначения они должны
отвечать следующим требованиям:
• большая скорость замораживания при условии
равномерной теплоотдачи по всей поверхности продукта;
• хладоноситель, непосредственно соприкасающийся
с продуктом, должен быть безвредным для продукта и обслуживающего персонала, не
должен вызывать в продуктах неблагоприятных изменений и коррозии металлических
узлов аппарата, находящихся в контакте с хладоносителем;
• универсальность оборудования (замораживания
разных видов продуктов);
• соблюдение нормативных санитарно-гигиенических
условий;
• возможность применения оборудования в непрерывной
поточной линии.
В связи с тем, что плоды, ягоды и овощи -
скоропортящаяся продукция, качество необходимо определять сразу после отбора
пробы. Вначале проверяют чистоту плодов и овощей, затем выделяют дефектную
часть и устанавливают ее массу. После этого определяют другие показатели
(размер, форму, сортность).
В отдельных случаях определение качества
усложняется тем, что в помологическом описании сортов измерения даны в одних
величинах, а в стандартах - в других. /2/
Форма плодов многообразна: продолговатая,
округлая, репчатая, яйцевидная, коническая, цилиндрическая, косая. При одной и
той же ширине, но разной высоте масса изменяется. Поэтому в стандартах даны
допуски по наибольшему поперечному диаметру для плодов круглой и овальной форм.
Легко определить показатели качества, выражаемые
в конкретных величинах: миллиметрах, граммах, содержание сахаров, кислот и
других веществ в процентах по отношению к общей массе и т. д. Многие показатели
устанавливают органолептически: вкус, запах, сочность, цвет, консистенция,
степень зрелости; скрытые дефекты мякоти и т. д. Здесь могут быть и
субъективные мнения, поэтому для оценки качества продукции необходимо создавать
комиссию с включением в ее состав специально подготовленных лиц.
Качество плодов и овощей, продолжительность их
хранения во многом зависят от правильного выбора степени зрелости. В данном
вопросе существуют определенные трудности, связанные с терминологией. У плодов
и овощей, предназначенных для потребления в свежем виде сразу после съема или
после хранения, различают съемную и потребительскую зрелость, а для переработки
- техническую.
Существуют такие понятия, как невызревшие и
перезревшие плоды. Первые после съема не могут приобрести внешний вид,
консистенцию и вкус, свойственные плодам данного помологического сорта. Вторые
полностью теряют признаки потребительской зрелости (мякоть мучнистая, часто
потемневшая, непригодна к потреблению).
Сорта плодов и овощей характеризуются
определенной лежкостью. Часто под лежкостью подразумевают продолжительность их
хранения от наступления съемной зрелости до заметного ухудшения вкусовых
качеств или загнивания. Рекомендуется снимать продукцию с хранения по внешним
признакам ухудшения качества, а также когда общие потери от физиологических и
микробиологических заболеваний достигают 10 %.
В большинстве случаев качество продукции
начинает ухудшаться несколько раньше, чем проявляются внешние признаки и
заметно ухудшается вкус. Плоды и овощи ценят за наличие в них в первую очередь
витаминов и биологически активных веществ. И по их изменению необходимо
ориентироваться при решении вопроса о снятии продукции с хранения.
Иногда из-за нарушений разработанных норм
внесения минеральных удобрений в плодах и особенно овощах накапливается большое
количество нитратов, продукты становятся вредными для здоровья человека.
Минздравом утверждены максимально допустимые уровни (МДУ) содержания пестицидов
в пищевых продуктах. Термин «максимально допустимые уровни» введен взамен
термина «допустимое остаточное количество» (ДОК) в соответствии с международной
терминологией.
Особое внимание уделяют определению безвредности
пищи, связанной не только с применением химических препаратов, но и с
накоплением в продуктах микотоксинов - ядовитых веществ, образующихся в
процессе обмена у микроорганизмов. Большую опасность представляют микотоксины
некоторых видов плесневых грибов, отличающихся выраженной токсичностью,
мутагенными и канцерогенными свойствами. Известно более 250 видов различных
плесневых грибов, образующих около 100 токсических веществ. /3/
Особое внимание обращают на наличие в плодах,
овощах и особенно в продуктах переработки тяжелых металлов (меди, олова и др.).
Они могут накапливаться при обработке растений от вредителей и болезней
бордоской жидкостью, хлорокисью меди и другими препаратами. Тяжелые металлы
могут попасть в консервы при применении оборудования из меди или металлической
тары с нарушенным защитным покрытием. В связи с этим в стандартах на продукты
питания предусмотрены допуски по - остаточному количеству тяжелых металлов.
Меры предотвращения накопления тяжелых металлов
в плодах, овощах и продуктах их переработки следующие: соблюдение правил борьбы
с болезнями и вредителями, тщательная мойка сырья с применением разрешенных
моющих средств, контроль технологического оборудования и санитарного состояния
перерабатывающих предприятий.
Также известны ряд показателей качества плодов,
ягод и овощей, которые необходимо контролировать при обработке, хранении и
сборе плодов, ягод и овощей. /3/
Морозильные аппараты применяют для быстрого замораживания
мелкоштучных либо измельченных пищевых продуктов, поэтому часто называют
скороморозильными. Различают морозильные аппараты следующих основных типов:
· морозильные аппараты с интенсивным движением
воздуха (воздушные);
· аппараты контактного замораживания;
· аппараты бесконтактного
замораживания.
Аппараты для замораживания продуктов можно
классифицировать по принципу действия на непрерывные и цикличные. К непрерывным
относятся конвейерные аппараты, к цикличным - тележечные туннели и плиточные
аппараты.
В свою очередь, конвейерные аппараты делятся по
виду конвейера на ленточные, люлечные, спиральные и флюидизационные.
Основными критериями выбора аппарата является
удовлетворение ряду технических требований и технико-экономическая
эффективность его применения. Выбор аппарата зависит от свойств замораживаемого
продукта, требуемой производительности, условий размещения оборудования.
Наиболее прост в применении и эксплуатации
тележечный аппарат типа ТСТ (рисунок 1). Он применяется для быстрого замораживания
в потоке холодного воздуха пельменей, мясных полуфабрикатов, вареников,
пирогов, блинчиков, сосисок в вакуумной упаковке, пиццы, теста, рыбы, и рыбного
филе, частей птицы на подложках, закалки мороженого. Обычно аппарат выбирают
для небольших количеств продукта. Он не требует значительных затрат и
достаточно универсален.
Преимущества:
· возможность замораживания разных видов продукции
на разных уровнях тележки и на различных тележках;
· отсутствие опрокидывания продукта при движении
по морозильной камере;
· простота конструкции аппарата;
· длительная (от 6 до 48ч.) работа
оттайки.
· Общие особенности конвейерных
аппаратов:
· возможность механизированной
выкладки продукта;
· возможность увеличения длины входной
части конвейерных аппаратов с целью обеспечения ручной выкладки продукта без
его деформации;
· применение дополнительных приемных и
отводящих транспортеров с независимыми приводами и блоками управления и
регулирования скорости их движения;
· оптимальное распределение воздушных
потоков в морозильной камере, способствующее быстрому замораживанию продукта;
· возможность многократной сборки и
разборки морозильной камеры.
Рисунок 1 - Тележечный аппарат типа ТСТ /4/
Наряду с этими общими для всех аппаратов
характеристиками каждый тип аппаратов имеет еще и специфические преимущества.
Ленточный типа АСТЛ (рисунок 2) для быстрого
замораживания в потоке холодного воздуха: пельменей, вареников, пирогов,
блинчиков, котлет и гамбургеров, мясных и рыбных полуфабрикатов, теста, булочек.
Производительность - 300, 600, 900 кг/ч.
Рисунок 2 - Ленточный типа АСТЛ /4/
Особенности этих аппаратов:
· время нахождения продукта в скороморозильном
аппарате при «шоковой заморозке» существенно меньше, чем в тележечной системе;
· суточная производительность аппарата
выше;
· возможность изменения времени
пребывания продукта в морозильной камере за счет изменения скорости движения
ленты;
· широкий спектр производительности.
Люлечный типа АСПЛ (рисунок 3) - для быстрого
замораживания в потоке холодного воздуха: пельменей, мясных полуфабрикатов,
вареников, пирогов, блинчиков, сосисок в вакуумной упаковке, пиццы, теста,
рыбы, и рыбного филе, частей птицы на подложках, закалки мороженого.
Производительность - 250, 400, 750, 1000 кг/ч.
Особенности этих аппаратов:
· возможность изменения параметров работы за счет
изменения числа секций и люлек;
· возможность замораживания различных
видов продукции и закалки мороженого путем изменения количества и конфигурации
люлек (корзин);
· возможность изменения времени
пребывания продукта в морозильной камере за счет изменения скорости движения
люлек;
· широкий спектр производительности;
· длительная (от 6 до 48 ч.) работа
без оттайки.
Рисунок 3 - Люлечный типа АСПЛ /4/
Спиральный типа АСС (рисунок 4) для быстрого
замораживания в потоке холодного воздуха: пельменей, мясных полуфабрикатов,
вареников, пирогов, блинчиков, сосисок в вакуумной упаковке, пиццы, теста,
рыбы, и рыбного филе, частей птицы на подложках. Производительность - 500,
1000, 1500 кг/ч.
Особенности этих аппаратов:
· замораживание любого вида продукции;
· отсутствие опрокидывания продукта
(спиральная лента);
· оптимизация распределения воздушного
потока в морозильной камере, что обеспечивает максимальную скорость
замораживания продукта;
· малая занимаемая производственная
площадь;
· широкий спектр производительности.
Флюидизационный типа АСФ (рисунок 5) - для
быстрого замораживания в потоке холодного воздуха: ягод, плодов, нарезных
овощей и грибов, овощных смесей. Производительность - 500, 1000, 1500кг/ч.
Рисунок 4 - Спиральный типа АСС /4/
Рисунок 5 - Флюидизационный типа АСФ /4/
Особенности этих аппаратов:
· возможность замораживания мелких и крупных
(резаные овощи и фрукты) продуктов в псевдоожиженном слое;
· отсутствие смерзания продукта;
· отсутствие примерзания продукта к
ленте;
· широкий спектр производительности.
Плиточные аппараты (рисунок 6) нашли широкое
применение для заморозки морепродуктов, овощей, мясопродуктов, фруктовой мякоти
и концентратов, готовых блюд.
Рисунок 6 - Плиточные аппараты /4/
Особенности этих аппаратов:
· контакт с плитами, внутри которых испаряется
хладоагент, наиболее экономичен благодаря эффективной передаче тепла;
· замороженная продукция в ровных
блоках легко укладывается и упаковывается.
Замораживание плодов может производиться в
скороморозильных аппаратах туннельного и конвейерного типа.
В контактных скороморозильных аппаратах, как
подсказывает название, охлаждаемый продукт непосредственно контактирует с
хладоносителем (погружение либо орошение). По типу носителя контактное
оборудование может быть криогенным, углекислотным, фреоновым.
В качестве хладагента для криогенных устройств
шоковой заморозки используется жидкий азот. Криогенные аппараты конструктивно
просты, компактны, обеспечивают высокую интенсивность замораживания. Но такой
способ заморозки подходит не для всех продуктов, так как может вызвать
разрушение их структуры.
Углекислотные скороморозильные аппараты часто
используют для обработки кулинарных изделий. Поток углекислоты в грузовом
отсеке в газообразном и твердом виде обдувает продукт. Углекислотные установки
достаточно просты и надежны, имеют небольшую металлоемкость.
Фреоновое оборудование шоковой заморозки
предусматривает контакт продукта с жидким фреоном, прошедшим особую очистку.
При охлаждении продукта фреон испаряется, затем вновь переходит в жидкую форму
в конденсаторе.
При выборе того или иного скороморозильного
аппарата нужно учитывать объем и вид продукции, технологически обоснованное
время заморозки, финансовые возможности /3/.
Обоснование и выбор режима холодильной обработки
При замораживании вода превращается в лед, в
результате чего создаются неблагоприятные осмотические условия и резко
сокращается скорость биохимических реакций в плодах и овощах. Замораживание
приводит к повышению концентрации растворенных веществ вследствие миграции
влаги из микробной клетки во внешнюю среду на первой стадии замораживания и к
внутриклеточной кристаллизации воды на последующих стадиях, а также к нарушению
согласованности биохимических реакций за счет различий в степени изменения их
скоростей. По этим причинам возможны повреждения мембранных структур клетки
из-за изменения состояния белково-липидных комплексов и механического
разрушения оболочки микробной клетки кристаллами льда. Устойчивость микробной
клетки замораживанию зависит от вида и рода микроорганизмов, стадии их развития,
скорости и температуры замораживания, состава среды обитания. Наиболее высокая
степень отмирания многих микроорганизмов происходит при температурах минус 4°С ÷
минус
6°С. Однако в этих условиях сохраняют свою активность некоторые психрофильные
микроорганизмы, для прекращения жизнедеятельности которых необходимы более
низкие температуры. Полностью прекращается рост микроорганизмов, в том числе и
психрофильных, при температурах минус 10°С÷ минус
12°С. Поэтому в международной холодильной практике температура минус 12°С
является верхним пределом температуры замораживания. При определении условий и
режимов замораживания и хранения плодов и овощей исходят из задачи не только
предотвращения размножения микроорганизмов, но и предупреждения существенных
изменений пищевой ценности и свойств продуктов. /5/
Особенности состояния плодов и овощей при
замораживании определяются фазовым переходом воды в твердое состояние и
повышением концентрации растворенных в жидкой фазе веществ. Процесс
кристаллообразования приводит к изменению физических характеристик плодов и
овощей и сопровождается изменениями их физико-химических, биохимических и
морфологических свойств. Размер, форма и распределение кристаллов льда в
структуре плодов и овощей зависят от их свойств и условий замораживания.
Состояние мембран и клеточных оболочек, их проницаемость, ионная, молярная
концентрация растворенных веществ отдельных структурных образований
растительных тканей, степень гидратации основных компонентов предопределяют
особенности распределения льда в системе, размер и форму кристаллов
Более низкая концентрация растворенных веществ в
межклеточном пространстве обусловливает разницу в значениях криоскопических
температур структурных элементов, поэтому кристаллы льда в первую очередь
формируются в межклеточной жидкости. При понижении температуры ниже точки
замерзания водяной пар в крупных межклетниках начинает конденсироваться в виде
капелек влаги на прилегающих клеточных стенках. Эта вода и превращается в
первые микроскопические кристаллики льда, которые распространяются по
межклетникам, обволакивая стенки клеток. Кристаллики бывают в виде линз или
разветвленных кристаллов, разрастающихся между клетками эпидермиса и паренхимы.
Процесс этот сопровождается повышением осмотического давления за счет роста
концентрации растворенных в жидкости солей, что в свою очередь обусловливает
миграцию влаги из клеток. Далее рост кристалликов происходит за счет воды,
содержащейся в клетках, что объясняется разностью между давлениями пара внутри
клетки и вне ее.
При понижении температуры в клетках сначала
наступает состояние переохлаждения, а затем в них спонтанно возникают центры
кристаллизации, приводящие к образованию внутриклеточного льда
Структура и качество пищевых продуктов при
замораживании значительно зависят от скорости замораживания.
Скорость замораживания, Vзам,
см/ч, определяется как отношение пути проходимого фронтом кристаллообразования
от поверхности продукта в его глубину, ко времени прохождения. Скорость
замораживания пищевых продуктов изменяется в пределах от 0,1 до 100 см/ч, в
связи с чем замораживание бывает:
· медленное (Vзам
= 0,1÷0,5
см/ч);
· ускоренное (Vзам
= 0,5÷З
см/ч);
· быстрое (Vзам
= 3÷10
см/ч);
· сверхбыстрое (Vзам
= 10÷100
см/ч).
Медленное замораживание обычно применяют для
продуктов, сложенных навалом или в подвешенном состоянии в помещениях с
интенсивной циркуляцией воздуха, ускоренное - для продуктов в упаковке в
воздушных и плиточных скороморозильных аппаратах, быстрое - для отдельных
продуктов небольших размеров во взвешенном состоянии, сверхбыстрое - в
криогенных жидкостях методами орошения или погружения.
Высокая скорость замораживания способствует
образованию мелких, равномерно распределенных кристаллов льда, при медленном
замораживании образуются крупные кристаллы. Считается, что размер кристаллов
напрямую связан со степенью повреждения тканевых структур, и наибольшие
повреждения имеют место при медленном замораживании. Поэтому замораживание
продуктов стараются производить как можно быстрее.
Скорость замораживания зависит, главным образом,
от толщины продукта, температуры охлаждающей среды, влажности, коэффициента
теплоотдачи от поверхности продукта к охлаждающей среде./6/
Температура. Понижение температуры сдерживает
течение биохимических процессов в продукции, а также ограничивает развитие
фитопатогенных микроорганизмов. Поэтому строительство хранилищ с искусственным
охлаждением - один из главных путей решения проблемы длительного хранения
плодов и овощей.
Понижение температуры среды влияет на скорость
замораживания практически пропорционально. При снижении температуры существенно
сокращается продолжительность процесса замораживания, что уменьшает усушку
продукта в процессе замораживания. На выбор температуры замораживания влияют и
условия дальнейшего хранения продукта. Выявлено, что при длительном хранении
понижение температуры хранения сокращает усушку продуктов примерно в 2,5 раза
при понижении температуры на каждые 10°С, но приделы понижения температуры
ограничены. Так, невозможно допустить подмораживания продукции, гак как большая
часть плодов и овощей не выдерживает его даже в легкой степени; структура
тканей при этом нарушается, клетки деформируются и разрываются образующимися
кристаллами льда, т. е. сочные ткани становятся мертвыми. После оттаивания
подмороженных плодов и овощей из них вытекает сок, и они легко поражаются
фитопатогенными микроорганизмами. Это обусловливает фактор снижения температуры
воздуха в камерах замораживания продуктов перед их закладкой на хранение.
Однако снижение температуры влечет увеличение затрат на производство холода.
Интенсификация процесса замораживания часто
достигается уменьшением толщины продукта. Приближенно можно считать, что при
прочих равных условиях скорость замораживания в воздухе обратно пропорциональна
толщине продукта, а в жидкой среде - квадрату толщины продукта. Поэтому обычно
замораживают продукты блочно-фасованные. /5/
Коэффициент теплоотдачи оказывает большое
влияние на скорость замораживания при толщине продукта до 10÷12
см.
При большей толщине увеличение коэффициента теплоотдачи слабо интенсифицирует
процесс. Следовательно, интенсифицировать процесс замораживания следует, но
лишь в определенных пределах. К тому же, в ряде исследований отмечается
значительное механическое разрушение материала при сверхбыстром замораживании.
Это свидетельствует о том, что наряду с внешними условиями замораживания на
структурные изменения пищевых продуктов влияют и другие факторы. К ухудшению
качества замороженной продукции может привести использование низкотемпературных
хладоносителей. Например, при замораживании мяса в жидком азоте возникает
множество микротрещин. Это происходит вследствие того, что при таком
сверхбыстром замораживании, когда температура на поверхности продукта
становится ниже криоскопической, центральные слои продукта находятся еще в
состоянии фазового перехода. В результате, при замерзании происходит увеличение
объема центральных слоев, что приводит к возрастанию внутреннего давления в
продукте, которое не может выдержать плотный ледовый внешний слой, и происходит
разрыв продукта. Из этого следует, что увеличивать скорость замораживания
следует с учетом вида продукта, его поведения при замораживании, с учетом
последующего хранения, а также технических возможностей и экономичности.
В связи с вышеперечисленным, и с экономической
точки зрения в камерах замораживания пищевых продуктов используются температуры
минус 20°С ÷ минус 40°С.
Наряду с внешними условиями замораживания
существенное влияние на размер кристаллов льда и характер их распределения
между структурными элементами оказывают состав и свойства плодов и овощей.
Существенное влияние на характер кристаллизации
оказывает степень зрелости плодов. В недозрелых плодах содержится значительное
количество свободной воды и происходит в основном внутриклеточная
кристаллизация, приводящая к гибели плодов. При созревании последних происходит
преобразование протопектина в пектин, который обладает высокими гидрофильными
свойствами. Он связывает значительное количество воды и способствует
образованию гелеобразной структуры, что положительно сказывается на обратимости
процесса замораживания.
Замороженные плоды и овощи приобретают новые
товарные свойства: твердость (вызвана превращением воды в лед), плотность,
интенсивность окраски и др., значительно изменяются тепловые свойства. При
понижении температуры плодов и овощей уменьшается кинетическая энергия молекул,
повышается вязкость внутриклеточной жидкости, уменьшаются растворимость газов и
диффузия веществ, что снижает скорость химических реакций.
Вместе с тем в жидкой фазе повышается
концентрация электролитов, агрессивных по отношению к белкам, прежде всего
ферментам, что ускоряет отдельные ферментативные реакции либо изменяет их
направленность. Замораживание приводит к разрыву водородных связей, что в
совокупности с повышением ионной силы внутриклеточных растворов способствует
разрушению липопротеиновых комплексов. При замораживании повреждаются
ферментные системы дыхательной цепи и окислительного фосфорилирования
митохондрий, организм теряет основные жизненные функции, т.е. дыхание и
способность к генерации энергии. Инвертаза проявляет свою активность в широком
диапазоне рН (3,0÷7,5), поэтому
изменение кислотности среды при замораживании существенно не сказывается на ее
активности. Активируемые инвертазой реакции обусловливают накопление сахаров в
замороженных плодах и овощах.
Сохранение активности пектолитических ферментов
способствует повышению гидрофильных свойств коллоидов и уменьшению степени
повреждения клеток. В зависимости от вида продукта они оказывают различное
действие: в ткани сливы эти ферменты теряют активность и замороженный продукт
имеет плотную консистенцию, в яблоках же их активность приводит к размягчению
ткани. Каталаза и пероксидаза катализируют дегидрирование фенолов, аминов,
флавонов и аминокислот. Их активность ухудшает качество плодов и овощей,
способствует появлению у некоторых из них постороннего привкуса.
В замороженных плодах и овощах изменения
витаминов зависят от их химической структуры, вида и строения ткани. Наиболее
устойчивы к замораживанию - тиамин, рибофлавин, пантотеновая кислота,
провитамин - каротин.
Условия хранения замороженных плодов и овощей
должны обеспечить высокий уровень пищевой ценности при минимальных потерях
массы. Важное значение при этом имеют исходное качество поступающего на
замораживание продукта, степень его измельчения, условия предварительной
обработки.
Показателем потерь плодов и овощей при хранении
является понижение содержания в них витаминов, и в первую очередь аскорбиновой
кислоты. Снижение интенсивности реакций, ответственных за разрушение витаминов,
достигается понижением температуры хранения и использованием упаковочных
материалов с низкой газопроницаемостью. /6/
Для своей установки мы принимаем хладагент R22
с температурой кипения минус 43 °С и хладагент R134a
с температурой кипения минус 26 °С. Потому, что данные хладагенты больше других
подходят для заморозки плодов оващей.
3 Обоснование и выбор конструкции аппарата
При выборе морозильного аппарата в зависимости
от потребности каждого предприятия следует учитывать следующие факторы:
· пригодность методов для замораживания сырья
данного вида или группы пищевых продуктов;
· возможность включения аппарата в
производственную линию;
· возможность варьирования
производительности аппарата, возможность её приспособления к колебаниям
производительности линии;
· потребность в рабочей силе и
требования относительно квалификации обслуживающего персонала;
· возможность автоматизации работы
аппарата;
· занимаемая производственная площадь;
· стоимость изготовления, монтажа,
пуска и эксплуатации устройства;
· возможность закупки аппарата, а
также комплектации запасными частями;
· прогнозирование объема почасовой,
суточной и годовой производительности устройства;
· ассортимент продукции.
Эксплуатационные расходы морозильного аппарата
нельзя рассматривать в отрыве от других производственных расходов, в частности
от стоимости сырья, которая обычно составляет самую существенную статью
расходов и даже небольшое повышение качества (а следовательно, и цены) или же
ограничение потерь продукта (например, усушки) позволяет получить столь высокую
прибыль, что расходы на закупку и внедрение новых даже дорогостоящих аппаратов
очень быстро окупаются.
Особенно важна проблема максимального
использования морозильного аппарата в течение года. Амортизационные отчисления
составляют существенную статью расходов на замораживание. Аппарат изнашивается
независимо от того эксплуатируется он или нет, и даже более того, во время,
простоя при повышенной температуре внутри помещения износ больше, чем при
эксплуатации. Поэтому насущной задачей организаторов производства является
максимальное продление срока пребывания аппарата в рабочем состоянии,
расширение ассортимента, особенно после летнего периода. Важным вопросом
является универсальность аппарата. Эти проблемы различно решаются в отдельных
странах в зависимости от принятой системы производства. /7/
Другой проблемой является приспособление
аппаратов такого типа к характеру производства. Если производство организовано
в виде непрерывной линии, целесообразно было бы в данном случае применить
установку непрерывного действия. В то же время в случае отсутствия непрерывно
действующей технологической линии, применение туннельных морозильных аппаратов
непрерывного действия нецелесообразно. Более оправданным было бы в данном
случае применение туннельного аппарата с передвижными тележками.
На строящихся в настоящее время новых крупных
предприятиях производительностью 20÷40
т. в сутки рекомендуют применять ленточные морозильные аппараты непрерывного
действия. /8/
При расчетах стоимости эксплуатации аппарата
имеют в виду не только производственную установку, но и машинное отделение
холодильника, причем не только стоимость эксплуатации, но и стоимость
изготовления и монтажа. Аппараты зарубежных фирм часто специально не
комплектуют полностью, чтобы в максимальной степени снизить их массу и цену. В
связи с этим возникает необходимость в монтаже большого количества
компрессоров, а также существенно повышаются эксплуатационные расходы.
Одновременно предъявляют высокие требования к соблюдению температуры испарения
хладагента. До настоящего времени не проведен тщательный анализ
эксплуатационных расходов морозильных аппаратов различных типов. Ниже приведены
примеры таких расчетов, проведенных в ГДР Плачеком и Кунисом. Авторы исходили
из следующих предположений, изложенных в таблице 1 /2/:
Таблица 1 - Анализ эксплуатационных расходов
|
Амортизационные
отчисления, %
|
по
строительной части
|
1,3
|
|
по
механической части
|
6,3
|
|
Отчисления
на капиталовложения, %
|
по
строительной части
|
0,5
|
|
по
механической части
|
3,5
|
|
Эксплуатационные
расходы
|
энергия,
марок/кВт∙ч
|
0,085
|
|
вода,
марок/м
|
0,45
|
|
жидкий
азот, марок/кг
|
0,30
|
|
Стоимость
рабочей силы, марок/ч
|
производственные
рабочие
|
2,7
|
|
технический
персонал
|
3,2
|
|
Продолжительность
работы аппарата, ч/смену
|
|
7
|
|
Количество
рабочих дней в году
|
|
250
|
|
Температура
сырья, °С
|
|
20
|
|
Температура
продукта, °С
|
|
-20
|
|
Расход
холода на единицу продукции, кДж/кг
|
|
419
|
В вышеприведенной калькуляции во внимание
приняты затраты труда на замораживание (обслуживание холодильных аппаратов и
морозильника, загрузка и разгрузка продукта, транспортировка в морозильник и из
морозильника). В то же время во внимание не принята предварительная обработка
сырья, которая по существу не имеет непосредственной связи с процессом
замораживания.
Было исследован аппарат для замораживания в
среде жидкого фреона - цикл замораживания 1÷10
мин, расход фреона 0,01÷ 0,02 кг/кг
продукта. Ниже приведены характерные технические показатели и ориентировочные
эксплуатационные расходы морозильного аппарата, полученные на основе вышеуказанных
исследований и дополненные данными из различных источников и собственных
наблюдений авторов/8/.
Стоимость эксплуатации аппарата существенно
возрастет по мере уменьшения степени использования его в течение года. При 50÷100%-ном
использовании аппарата расходы на эксплуатацию приблизительно постоянны. В то
же время эти расходы возрастают при использовании ниже 40% вследствие
чрезмерного увеличения долевой части капитальных вложений на изготовление и
монтаж установки. При использовании ниже 20% эта долевая часть настолько
велика, что стоимость эксплуатации становится совершенно незначительной и более
выгодным оказывается применение дорогих в эксплуатации, но более дешевых при
закупке аппаратов. Технические и эксплуатационные характеристики аппаратов приведены
соответственно в таблицах 2 и 3.
Таблица 2 - Технические параметры при применении
аппарата для замораживания в среде жидкого фреона /9/
|
Площадь,
м2
|
15
|
|
Средняя
масса установки, т
|
6÷10
|
|
Потребление
энергии при замораживании клубники, кВт-ч/т
|
3÷5
|
|
Цикл
замораживания, мин
|
1÷10
|
|
Температура
испарения хладагента, °С
|
-
40 ÷ - 45
|
|
Средний
расход холода брутто, ккал/кг
|
110
|
|
Усушка
при замораживании, %
|
<
0,25
|
Таблица 3 - Характеристика эксплуатационных
расходов при применении аппарата для замораживания в среде жидкого фреона /9/:
|
Постоянные
расходы, %
|
3,6
|
|
Обслуживание,
технический уход, %
|
6,6
|
|
Расходы
на работу установки, %
|
57,4
|
|
Энергия,
вода, %
|
8,8
|
|
Затраты
рабочей силы, %
|
6,6
|
|
Другие
расходы, %
|
4,6
|
|
Стоимость
установки, $
|
50000÷80000
|
В курсовой работе необходимо разработать
хладоновый аппарат для заморозки ягод клубники, которые представляют собой
неупакованные мелкие плоды. Все особенности таких аппаратов рассмотрим в пункте
4.
4 Описание устройства и принципа действия
аппарата
Замораживание в жидком фреоне основано на
непосредственном контакте пищевых продуктов с фреоном - 134а. После многолетних
экспериментов, дополненных клиническими исследованиями на животных, фреон-134а
был разрешен для использования в производственных условиях американской службы
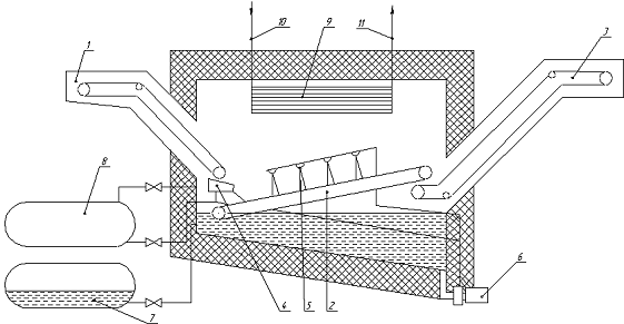
здравоохранения. На рисунке 7 представлена конструкция и принцип действия
наиболее популярного аппарата (фирмы «Дю Понт» - «Фрикоскандия») для
замораживания в среде жидкого фреона.
- транспортер для подачи сырья; 2 - лента с
душевой установкой; 3 - транспортер для выгрузки готового продукта; 4 - ванна
для предварительного подмораживания; 5 - душевая установка; 6 - насос для
подачи фреона; 7 - сборник жидкого фреона; 8 - сборник для удаления жидкого
фреона; 9 - испаритель; 10 - вход в испаритель; 11 - выход из испарителя
Рисунок 7 - Фреоновый морозильный аппарат для
замораживания клубники в среде жидкого фреона
Продукт с производственной линии падает на
транспортер, который переносит его в аппарат, а затем сбрасывает на лоток
предварительного охлаждения. Через этот лоток протекает сильный поток жидкого
фреона с температурой минус 26°С, который переносит продукт на транспортер.
При контакте с теплым продуктом хладагент быстро
испаряется и интенсивно отнимает тепло у продукта. Благодаря этому на продукте
в течение 3÷5 с образуется
глазурь, которая предотвращает его примерзание к сетке и взаимное слипание
частиц продукта во время дальнейшего процесса.
На транспортере происходит основной процесс
замораживания. Смонтированные над этим транспортером форсунки распыляют жидкий
фреон, направляя его на передвигающийся продукт и полностью замораживая
последний. Замороженный продукт падает на наклонный транспортер, который
выгружает его из аппарата. Здесь происходит конечная фаза замораживания -
испарение остатков хладагента с поверхности продукта, в результате чего его
температура снижается до заданного уровня (минус 20° С и ниже). При этом
получают чистый продукт без примесей фреона.
Процесс замораживания в среде жидкого фреона
основан на использовании теплоты испарения хладагента (в данном случае фреона
-134а). Особенность замораживания жидким фреоном хладагент после обработки
возвращается и направляется снова в систему циркуляции. С этой целью снаружи
изолированного корпуса смонтирован испаритель обычной холодильной системы
(аммиачной или фреоновой), работающий при температуре испарения ниже минус 43°
С. Испаритель играет роль конденсатора паров фреона, которые после испарения в
момент соприкосновения с продуктом заполняют все внутреннее пространство
туннеля. Температура насыщения этих паров достигает минус 26° С, а,
следовательно, пары, соприкасаясь с более холодной стенкой испарителя,
интенсивно конденсируются и стекают на лоток, а затем в сборник, откуда
засасываются насосом и подаются к форсункам душевой установки.
Таким образом, фреон может многократно
циркулировать в системе, причем энергетические затраты на этот процесс примерно
равноценны расходам энергии в обычной холодильной установке. Несмотря на
возврат хладагента в циркуляционную систему возникают неизбежные его потери,
которые являются главной статьей эксплуатационных расходов при использовании
аппаратуры для замораживания в среде жидкого фреона. Усилия конструкторов и
эксплуатационников направлены на ограничение этих потерь, источники которых
следующие: проникновение частиц фреона в атмосферу через щели в корпусе
аппарата, удаление неиспарившегося агента с поверхности замороженного продукта
и удаление агента из аппаратов в период простоя производства, обслуживания и ремонта.
Диффузионная утечка частиц фреона происходит в
основном через крышку главной камеры аппарата, где помещен испаритель
конденсирующей аппаратуры. Эта крышка не может быть герметичной, так как она
имеет вентиляционные отверстия, дающие возможность свободному притоку и оттоку
воздуха. Камера аппарата «дышит». Это происходит потому, что уровень паров
фреона в аппарате не постоянен, а снижается или повышается в зависимости от
загрузки аппарата. Чем больше нагрузка, тем выше уровень паров. Оставшееся свободное
пространство над паром заполняет воздух. Уровень паров не должен превышать
определенной максимальной высоты (должен быть не более 0,9 высоты испарителя;
оставшаяся 0,1 часть должна улавливать фреон, диффундирующие из паровой зоны).
Вторым важным фактором, ограничивающим диффузию,
является температура кипения агента внутри испарителя, которая не может быть
выше минус 43° С. Следующий источник потерь хладагента - испарение с
поверхности замороженного продукта. Эти потери находятся в зависимости от интенсивности
душевой обработки хладагентом во время процесса замораживания. Душевая
обработка должна быть достаточно сильной, чтобы заморозить продукт, но не
настолько интенсивной, чтобы продукт, попадающий на конвейер для выгрузки из
аппарата, имел бы еще достаточный запас внутренней энергии для испарения
остатков жидкости с его поверхности. Необходимо соблюдать следующий принцип:
чем больше размеры продукта, тем интенсивнее душевая обработка. Для малины
достаточно предварительное замораживание в ванне и душ с одним рядом сопел, для
филе рыбы необходим душ с включением всех рядов сопел, для клубники - половина.
Другой источник потерь хладагента -
производственные простои и выгрузка замороженного продукта из аппарата. Во
время коротких производственных перерывов холодильная установка должна работать
при нагрузке, равной 10% номинальной производительности, поддерживая
температуру внутри аппарата на соответствующем низком уровне. Обычно для этой
цели устанавливают специальный небольшой агрегат низкой производительности. При
больших простоях, обычно используемых для очистки и профилактики оборудования,
жидкий фреон перекачивают насосом в эвакуационный сборник. Газообразная фракция
(около 30 кг) остается и прибавляется к производственным потерям.
Следует отметить, что аппараты для замораживания
в жидком фреоне требуют исключительно квалифицированного обслуживания, а также
эффективной организации производства без перерывов и простоев, вызванных
отсутствием сырья или хладагента. При этих условиях потери фреона удерживаются
на уровне 2÷3%
производительности морозильного аппарата (20÷30
кг на 1000 кг продукта). В противном случае потери достигают 6% и более.
В качестве хладагента используют фреон-134а,
специально приготовленный для непосредственного контакта с пищевыми продуктами.
Степень чистоты 99,97%. Обладатель патента - концерн «Дю Понт» поставляет агент
непосредственно из США в специальных возвратных контейнерах по 1000 кг. Фреон
по отношению к пищевым продуктам химически инертен; пищевые жиры не
растворяются во фреоне, он не изменяет вкуса и запаха продуктов. Существенно
также то, что фреон не растворяется в воде; благодаря этому усушка при
замораживании практически отсутствует.
Установки для замораживания в среде жидкого
фреона особенно выгодно применять для замораживания хрупких и нежных продуктов,
таких, как вишня, клубника, малина, жареные креветки и т. п. При этом структура
продукта не влияет на производительность установки. Кроме этого, очень высокие
скорости замораживания позволяют в наибольшей степени сохранить исходные
свойства продуктов. Продукты, чувствительные к структурным изменениям при
замораживании, сохраняют после размораживания специфические оттенки вкуса и
запаха; изменение формы и потери сока - минимальны.
Существенные преимущества системы замораживания
в среде жидкого фреона - это прежде всего экономия производственных площадей
(около 30÷50% в сравнении с
флюидизационными туннелями), легкость монтажа, обслуживания и очистки, а также
возможность включения в непрерывные технологические линии с различной
производительностью и широким ассортиментом. Стоимость замораживания в системе
с жидким фреоном в 2 раза выше, чем при применении обычных методов, однако в 2÷3
раза ниже, чем при замораживании в среде жидкого азота. /9/
Определение расчётных технологических параметров
Расчёт будем проводить согласно /10, с.98-105/
При замораживании вишни в аппарате с жидким
хладоном процесс отвода теплоты от продукта можно рассматривать состоящим из
двух периодов. В первом периоде происходит охлаждение продукта до криоскопической
температуры, а во втором - его замораживание.
Рассчитаем продолжительность охлаждения продукта
(клубники) в первом периоде. Продолжительность процесса охлаждения определяется
действительным значением числа Фурье, зависящим в свою очередь от числа Био и
относительной безразмерной разности температур θ.
Число Био находят из зависимости
(48) /10, с. 27/. Коэффициент теплоотдачи от площади поверхности замораживаемой
клубники к кипящему R134a
, Вт/(м2∙К)
определяют по уравнению:
(1)
где А - постоянная, зависящая от
плотности теплового потока и вида холодильного агента;
- разность температур, °C;
(2)
где
- средняя температура поверхности
клубники за период охлаждения,
- температура кипения R134а в
аппарате, °C;
Средняя температура поверхности клубники за
период:
(3)
=
где t1 -
начальная температура продукта, °C;
tкр -
температура начала замерзания соков продукта, °C ; tкр= - 0,85°C /10 с.157/
Принимая температуру кипения R134a в аппарате
= -26°С,
получим:
t = 5,575-(-26) = 31,575°C (4)
Тогда при А= 0,75 (для R134a) /10
с.157/:
(5)
Число Био:
(6)

где
- коэффициент теплопроводности
охлажденной клубники, Вт/(м .К);
= 0,48 Вт/(м .К) /10 с.161/
Rv - радиус сферической
части продукта, м; Rv
=0,0095 м /10 с.161/
Безразмерная разность температур при охлаждении
клубники в хладоне:
(7)

При
= 0,66 и Bi = 236,5
число Fo<<0,01,
а поэтому продолжительностью охлаждения клубники в первом периоде можно
пренебречь ввиду ее чрезвычайной малости.
Таким образом, продолжительность
холодильной обработки замораживаемой в жидком кипящем хладоне клубники
определяется длительностью процесса замораживания, и ее можно найти из
зависимости (11). Величина коэффициента теплоотдачи от площади поверхности
замораживаемой клубники к кипящему хладону, зависит от величины среднего
удельного теплового потока от продукта к кипящему холодильному агенту
. В свою
очередь значение среднего удельного теплового потока зависит от
продолжительности замораживания: qср=f(
). Такие
задачи решаются методом последовательного приближения.
Средняя температура поверхности
продукта при замораживании клубники
, °C:
(8)
где t2 - конечная
температура продукта, °C;

(9)
Коэффициент теплоотдачи от площади
поверхности клубники к кипящему жидкому R134a находят из
зависимости (1):
(10)
Продолжительность замораживания клубники:
(11)
где
- теплопроводность продукта,
; /14,с.161/
- плотность продукта,
; /1,с.155/
Удельное количество теплоты, отводимой от 1 кг
продукта при его замораживании, составит /9, с.61/:
q3 =C0 . (t1 - tkp) + L∙W∙
+C3(tkp - t2) (12)
где С0 - теплоемкость охлаждаемого
продукта,
; С0=3850
; /10,с.157/
W -
относительное содержание воды в продукте, W=0,899;
/10,с.157/
С3 - теплоемкость замороженного
продукта,
; С3=1750
; /10,
с.157/
- доля вымороженной воды.
, (13)
где t2 - конечная
температура продукта, °C;
q3 = 3850∙(12+0,85)+335000.0,899.0,886+1750∙(-0,85-(-18))=346317
Объем одной клубники
, см3:
(14)

Поверхность
, м2, одной
клубники:
(15)

Масса одной клубники
, кг:
(16)

где
- объём одной клубники, см3.
- плотность продукта.
Площадь поверхности 1 кг клубники
,
:
(17)

Средний удельный тепловой поток
,
:
(18)

где q3 - удельный
тепловой поток замороженного продукта,
;
Тогда уточненное значение
коэффициента теплоотдачи от площади поверхности клубники к кипящему R134a находят из
зависимости (1):
(19)
Уточненная продолжительность
замораживания клубники
,с :
(20)
Вместимость морозильного аппарата G, рассчитывают
по формуле /10, с.31/:
(21)

где
- производительность морозильного
аппарата, кг/с.
Расчёт конструктивных и габаритных размеров
Расчёт будем проводить согласно /10, с.98-105/
При определении габаритных размеров
морозильного аппарата примем высоту насыпного слоя клубники на ленте конвейера
Н0 = 100мм, а порозность слоя
= 0,5 /10,с.98/. Тогда объем
активной зоны аппарата
, м3:
(22)

где
- насыпная плотность клубники,
/10, с.100/
Площадь поверхности активной зоны
аппарата в плане
, м2:
(23)

Ширину лент конвейера Вл принимаем
равной 0,9м, тогда ее длина
, м:
(24)
=
С учетом угла наклона конвейера
, м:
(25)
Длина аппарата
, м:
(26)

где DБ - диаметр
барабана конвейера, м (Dб= 0,19м);
- зазор между барабаном и торцевой
стенкой аппарата, м (
= 0,12 м);
- толщина стенки аппарата с
изоляцией, м (
= 0,15м).
Ширина аппарата
, м:
(27)

здесь
- зазор между лентой и боковой
стенкой аппарата, м (
=0,02м).
В связи с тем, что расчет
конденсатора-испарителя пока не произведен, высоту аппарата НА ориентировочно
примем равной 2 м.
Тепловой расчёт аппарата
Расчёт будем проводить согласно /10,
с.98-105/
Теплопритоки в аппарат
, Вт:
(28)
где
- теплопритоки через наружное
ограждение аппарата, Вт;
- теплоприток от замораживаемого
продукта, Вт;
- теплопритоки в аппарат, Вт;
Теплопритоки в аппарат находят, полагая, что в
аппаратах для замораживания продуктов в жидком хладоне Q4=0.
Теплопритоки через наружное ограждение аппарата:
(29)
где
- коэффициент теплопередачи
ограждения, Вт/(м2·К);
- площадь поверхности ограждения,
м2;
- разность между температурами вне
камеры и внутри охлаждаемого помещения,
;
Теплоприток через ограждения аппарата
рассчитывают при коэффициенте теплопередачи Кн =0,4Вт/(м2.К) /10, с.18/ и
температуре наружного воздуха tн
= 20°С :
(30)
Теплоприток от замораживаемого
продукта
, Вт находят
из зависимости:
(31)

Тогда теплопритоки в аппарат:

Скорость движения конвейера
, м/с
определяют по формуле:
(32)

В состав морозильного аппарата для
замораживания пищевых продуктов в жидком хладоне входит конденсатор-испаритель,
расчет которого нужно провести. Полагаем, что конструкция
конденсатора-испарителя змеевикового типа. Конденсатор-испаритель обслуживается
одноступенчатой холодильной установкой, работающей на R22.
Изображение регенеративного цикла холодильной машины в диаграмме h - lg P показано на
рисунке 8. Температура кипения жидкого R22 в трубках
конденсатора-испарителя t0 = - 43°C, а
температура конденсации tК =30°C. Параметры
узловых точек цикла приведены в таблице 1 согласно приложению 16 /10/.
Рисунок 8 - Изображение
регенеративного цикла холодильной машины в диаграмме lg-P для R22
Таблица 1 - Параметры узловых точек
цикла
|
Параметры
|
Номера
точек
|
|
1
|
2
|
3
|
4
|
5
|
6
|
|
t,°C
|
-10
|
115
|
28
|
28
|
-43
|
-40
|
|
Р,
кПа
|
88,2
|
1176
|
1176
|
1176
|
88,2
|
88,2
|
|
h, Дж/кг
|
706000
|
785000
|
534000
|
516000
|
516000
|
688000
|
|
, м
/кг0,28----0,24
|
|
|
|
|
|
|
Массовое количество R22,
проходящего через конденсатор-испаритель
,кг/с:
(33)

где h5, h6 -
энтальпии соответственно в точке 5 и 6 цикла, Дж/кг.
Число секций в конденсаторе-испарителе
ZC примем
равным 6, а диаметр трубок, из которых изготовлены секции, dH = 22 x 2
мм.
Тогда массовое количество R22 в одной
секции
, кг/с:
(34)

Скорость движения пара хладона на
выходе из секции
, м/с:
(35)

где dВН
- внутренний диаметр трубки конденсатора-испарителя, мм (dВН=18мм).
При расчете площади теплопередающей поверхности
конденсатора-испарителя используют графо-аналитический метод. Площадь
теплопередающей поверхности конденсатора-испарителя находят из зависимости:
(36)
здесь qF - удельный
теплосъем с 1 м2 площади поверхности конденсатора-испарителя, Вт/м2.
Численная величина удельного
теплосъема зависит от значений коэффициентов теплоотдачи кипящего R22 и
конденсирующегося R134a, а также от
разности температур между ними.
Коэффициент теплоотдачи при кипении R22
определяют из уравнения:
(37)
где f(Р) -
коэффициент, численное значение которого при t0 = минус
43°C составляет
/10, с.
102/.
Находим численное значение:
(38)
Для определения коэффициента
теплоотдачи при конденсации R134a на
горизонтальных трубках конденсатора-испарителя воспользуемся формулой Нуссельта
/10, с. 102/ вида:
(39)
Численные значения теплофизических
констант R134a приведены
для температуры t0 = минус 43°C:
где
- плотность жидкого R134a, кг/м3 (
=1426,3
кг/м ) /3/;
- динамическая вязкость R134a, Па·с (
= 0,000211
Па.с) /3/;
- теплопроводность парообразного R134a, Вт/(м.К)(
=0,142
Вт/(м.К))/3/;
rа- удельная
теплота парообразования R134a, Дж/кг (га
= 227900Дж/кг) /3/.
- разность температур между
температурой кипения R134a и
температурой стенки трубы на которой происходит конденсация, °C;
здесь tСТ -
температура стенки трубки, на которой происходит конденсация R134a, °C.
Находим численное значение:
(40)
Пренебрегая термическим
сопротивлением стальной трубки и относя коэффициент теплоотдачи
к ее
наружному диаметру, можно записать:
Тогда значение удельного теплового
потока при кипении определяется уравнением:
(41)
а значение удельного теплового
потока при конденсации:
(42)
Значения удельных тепловых потоков,
вычисленные по уравнениям (41) и (41) при различных значениях
t', приведены
ниже.
Таблица 2 - Расчет удельных тепловых
потоков qF
|
tст, 0C
|
-28
|
-28,5
|
-29
|
-29,5
|
-30
|
-30,5
|
-31
|
-31,5
|
-32
|
-32,5
|
-33
|
|
|
1514,51413,51312,51211,51110,510
|
|
|
|
|
|
|
|
|
|
|
|
|
|
Qкип,Вт/м2
|
81073,58
|
74485,41
|
68229,36
|
62299,65
|
56690,41
|
51395,63
|
46409,22
|
41724,95
|
37336,44
|
33237,2
|
29420,58
|
|
|
11,522,533,544,555,56
|
|
|
|
|
|
|
|
|
|
|
|
|
|
Qкон,Вт/м2
|
5298,2
|
7181,196
|
8910,475
|
10533,76
|
12077,28
|
13557,49
|
14985,57
|
16369,59
|
17715,6
|
19028,32
|
20311,49
|
|
|
tст, 0C
|
-33,5
|
-34
|
-34,5
|
-35
|
-35,5
|
-36
|
-36,5
|
-37
|
-37,5
|
-38
|
-38,5
|
|
9,598,587,576,565,554,5
|
|
|
|
|
|
|
|
|
|
|
|
|
Qкип,Вт/м2
|
25879,76
|
22607,76
|
19597,4
|
16841,32
|
14331,92
|
12061,36
|
10021,54
|
8204,069
|
6600,212
|
5200,872
|
3996,524
|
|
6,577,588,599,51010,51111,5
|
|
|
|
|
|
|
|
|
|
|
|
|
Qкон,Вт/м2
|
21568,17
|
22800,89
|
24011,78
|
25202,63
|
26375
|
27530,25
|
28669,56
|
29793,97
|
30904,4
|
32001,69
|
33086,57
|
|
|
|
|
|
|
|
|
|
|
|
|
|
|
|
|
|
|
|
|
|
|
|
|
|
tст, 0C
|
-39
|
-39,5
|
-40
|
-40,5
|
-41
|
-41,5
|
-42
|
|
4
|
3,5
|
3
|
2,5
|
2
|
1,5
|
1
|
|
|
Qкип,Вт/м2
|
2977,153
|
2132,167
|
1450,288
|
919,393
|
526,2913
|
256,3772
|
93,03603
|
|
12
|
12,5
|
13
|
13,5
|
14
|
14,5
|
15
|
|
|
Qкон,Вт/м2
|
34159,72
|
35221,74
|
36273,2
|
37314,59
|
38346,38
|
39369
|
40382,83
|
На рисунке 9 показано графическое определение
величины удельного теплосъема с 1м2 теплопередающей площади поверхности конденсатора-испарителя
и температуры стенки трубки построением уравнений (40) и (41) в системе
координат tст - qF
по данным вычислений.
Рисунок 9 - Графическое определение величины
удельного теплосъема с 1м2 теплопередающей площади поверхности
конденсатора-испарителя qf
и температуры стенки трубки tcт
Согласно графику qF
= 22700 Вт/м2, тогда теплопередающая площадь поверхности
конденсатора-испарителя по формуле 35:
(43)
Определение рабочих характеристик
аппарата
Расчёт будем проводить согласно /10,
с.98-105/
Длина труб конденсатора-испарителя
, м:
(44)

Длина труб в одной секции
, м:
(45)

Принимая шаг труб в секции по
вертикали S1 = 50 мм, а
по горизонтали S2=80 мм, а также полагая длину
отрезка трубы 1ТР=3000 мм (несколько меньше длины ленты конвейера), найдем
число труб в конденсаторе-испарителе по горизонтали
, шт:
(46)

Габаритные размеры
конденсатора-испарителя следующие:
Высота:
(47)

Ширина:
(48)
= (4-1) 0,08 = 0,24 м.
Уточненная высота аппарата:
(49)
где
- толщина стенки аппарата;
- зазор
между испарителем и стенкой аппарата (
=265 мм);
- высота
испарителя (
=465мм);
- расстояние
от испарителя до оси барабана(
=780мм);
- расстояние
от оси барабана до нижней стенки аппарата(
=1515мм);
При определении массового количества
R134a,
необходимого для заполнения морозильного аппарата, полагаем, что аппарат
заполняется жидким R134a так, чтобы
его уровень не превышал оси барабана конвейера. Объем части аппарата,
заполняемой хладоном (пока без учета его конструктивных элементов),
рассчитывают по формуле:
(50)
Находим численные значения
внутренних размеров аппарата, определяющих объем его заполнения:
(51)

(52)

(53)

Тогда:
Объем аппарата, занимаемый
замораживаемым продуктом:
(54)

где
- насыпная плотность клубники, кг/м3
(
=620 кг/м3)
(см.
приложение 1)/10/;
- вместимость морозильного аппарата,
кг (формула 21).
Примем объем конструктивных
элементов аппарата Vкон, находящихся под уровнем жидкого
хладона, в размере 5% от
,тогда:
Vкон=0,05 .
0,222=0,0111 м3. (55)
Количество жидкого хладона на
поверхности конденсатора-испарителя также примем в размере 5% от
, т. е.:
Vпов=0,05 .
0,222=0,0111 м3 (56)
Тогда объем жидкого холодильного
агента в аппарате Vх, м3:
Vх =
-
- Vкон + Vпов (57)
Vх =1,4-
0,222 - 0,111 + 0,0111 = 0,978 м3
Массовое количество необходимого для
заполнения морозильного аппарата R134a
, кг:
(58)

здесь
- удельный объем жидкого R134a, м3/кг (при
t0 = -26°С
=0,7264∙10-3
м3/кг) /11/.
Объем, описываемый поршнем
компрессора морозильного аппарата
,
:
(59)

где V1 - удельный
объем пара холодильного агента, всасываемого компрессором, м3/кг (для R22 V1 = 0,28
м3/кг);
- коэффициент подачи (при отношении
) /11/.
Заключение
В ходе курсовой работы были
рассмотрены различные типы аппаратов для заморозки мелкоштучных изделий.
Проведен литературный обзор типовых аппаратов для заморозки, обоснован выбор
конструкции, режим и принцип действия аппарата. Проведен расчет основных
параметров аппарата, по которым в дальнейшем начерчена принципиальная схема
хладонового скороморозильного аппарата.
Технические характеристики аппарата:
Продолжительность замораживания
вишни:
=597,97 с.
Вместимость морозильного аппарата: G=165,64 кг.
Площадь поверхности активной зоны
аппарата в плане: Fa=3,68м2.
Длина аппарата: La=5,4 м.
Ширина аппарата: Ва=1,25 м.
Высота аппарата: На =1,4 м
Теплопритоки в аппарат: Q0=96600 Вт.
Теплопередающая площадь поверхности
конденсатора-испарителя:
Fk=4,26 м2.
Массовый расход R22,
проходящего через конденсатор-испаритель: Gа=0,562 кг/c.
Длина труб конденсатора-испарителя: Lmp=61,6м.
Высота конденсатора-испарителя: hк=0,25м.
Ширина конденсатора-испарителя: bк=0,24м.
Объём аппарата: Van=1,3м3.
Объем аппарата, занимаемый
замораживаемым продуктом: Vnp=0,222 м3.
Объем жидкого холодильного агента в
аппарате: Vx=0,978 м3.
Массовое количество необходимого для
заполнения морозильного аппарата R134a: Gх=1346 кг,
Объем, описываемый поршнем
компрессора морозильного аппарата:
Vк=0,44 м3/с.
Данный аппарат полностью обеспечит
производственную мощность равную 0,75 т/ч для заморозки клубники.
Список использованной литературы:
Цветков
О.Б. Холодильные агенты. Монография: Учебник для ВУЗов / Е.П. Широков. - СПб;
2004. - 203 с.
2 Быков
А.В. Применение холода в пищевой промышленности: справочник. -М: Пищевая
промышленность, 1979. -175 с.
Скрипников
Ю.Г. Прогрессивная технология хранения и переработки овощей: учебное пособие
для повышения квалификации. -М: Пищевая промышленность, 1989. - 159с.
4 Алис
- Холодильное оборудование [Электронный ресурс] / Холодильное оборудование. -
Киев, 2009. - Режим доступа: <http://www.alis.org.ua/> - Дата доступа:
02.12.2012.
5 Руцкий
А.В. Холодильная технология обработки и хранения продовольственных продуктов. -
Минск: Вышэйшая школа, 1991. - 194с.
6 Требушенко
Е.И. Хранение фруктов в промышленных холодильниках: учебное пособие. -М:
Пищевая промышленность, 1968. - 95с.
Постольски
Я.В. Замораживание пищевых продуктов. Монография: учебное пособие для повышения
квалификации. - М: Пищевая промышленность, 1978 - 607с.
8 Носикова
В.В. Основы холодильной технологии пищевых продуктов: конспект лекций для
студентов специальности «Низкотемпературная техника», ч.1 / под ред.
Т.Л.Бажанова. - Могилёв: Могилевский государственный университет
продовольствия, 2007. - 112 с.
Голянд
М.М. Холодильное технологическое оборудование / Б.Н. Малеванный. - М: Пищевая
промышленность, 1977. - 289 с.
10 Голянд
М.М. Сборник примеров расчётов и лабораторных работ по курсу " Холодильное
оборудование": учебное пособие / Б.Н. Малеванный. - М: Лёгкая
промышленность, 1981. - 164 с.