Пошук несправностей та ремонт моніторів LCD-типів
зміст
1. Пошук несправностей та ремонт моніторів LCD-типів
1.1 Призначення та будова моніторів TFT типів
1.2 Причини виникнення несправностей у моніторах
.3 Принцип побудови та основні види несправностей
РК-моніторів і методика їх ремонту
.4 Несправності сучасних TFT моніторів і методи їх
діагностики
.5 Ремонт блоку живлення LCD монітора
. Прилади для налаштування моніторів
.1 Типові несправності моніторів та способи їх
усунення
.2 Використання тестера навантаження для виявлення
несправностей моніторів
.3 Використання осцилографа при тестуванні моніторів
3. Охорона праці
Висновок
Список використаної літератури
Вступ
З розвитком комп’ютерної техніки розвиваються і його
комплектуючі, з’являються нові технології та вдосконалюються старі. Так одним
із компонентів ПК залишається монітор. За період розвитку вони зазнали значних
змін: від застарілих моніторів на основі електронно-промереневої трубки до
теперішніх плазмових. Проте головним монітором, що закріпився у використанні,
залишається рідкокристалічний.
Рідкокристалічний дисплей - це електронний пристрій
візуального відображення інформації, принцип дії якого ґрунтується на явищі
електричного переходу Фредерікса в рідких кристалах. Дисплей складається з
довільної кількості кольорових або монохроматичних точок (пікселів), і джерела
світла або відбивача (рефлектора). Рідкокристалічні дисплеї мають низьке
енергоспоживавання, тому вони знайшли широке застосування, як в кишенькових
пристроях (годинниках, мобільних телефонах, кишенькових комп'ютерах), так і в
комп'ютерних моніторах, телевізорах тощо.
При ремонті моніторів, особливо сучасних, нерідко
зустрічаються несправності, пошук і усунення яких викликає певні труднощі не
тільки у радіоаматорів, але і у майстрів. Значна їх частина пов'язана з
дефектами рядкової розгортки. Річ у тому, що щонайменше відхилення в режимах
роботи вузлів рядкової розгортки таких моніторів викликає блокування як її
процесорів, так і блоку живлення.
1. Пошук несправностей та ремонт моніторів lcd-типів
1.1 Призначення та будова моніторів
TFT типів
Рідкокристалічний дисплей (англ. liquid crystal display (LCD)
- це електронний пристрій візуального відображення інформації (дисплей),
принцип дії якого ґрунтується на явищі електричного переходу Фредерікса в
рідких кристалах. Дисплей складається з довільної кількості кольорових або
монохромних точок (пікселів), і джерела світла або відбивача (рефлектора).
Кожна з кольорових точок
рідкокристалічного дисплея складається з кількох комірок (як правило, з трьох),
попереду яких встановлюються світлові фільтри (найчастіше - червоний, синій і
зелений). Тобто колір певної точки і її яскравість визначається інтенсивностями
світіння комірок, з яких вона складається.
Керування кожною рідкокристалічною
коміркою здійснюється з допомогою напруги, яку подає на комірку один з
транзисторів тонкої підкладки (TFT - абревіатура англійського виразу «Thin Film
Transistors»).
Рідкокристалічні дисплеї мають низьке
енергоспоживавання, тому вони знайшли широке застосування, як в кишенькових
пристроях (годинниках, мобільних телефонах, кишенькових комп'ютерах), так і в
комп'ютерних моніторах, телевізорах тощо.
Рідкокристалічний монітор, чи
LCD-монітор (Liquid Crystal Display) містить такі самі компоненти, що й
CRT-монітор, однак формують пікселі зображення не пучки електронів, а рідкі
кристали. Ці речовини названі так тому, що вони зазвичай знаходяться в рідкому
стані, але при цьому мають властивості кристалічних тіл. Фактично це рідини, що
мають анізотропію (неоднорідність в різних напрямах) властивостей (зокрема,
оптичних), пов'язаних з упорядкованістю орієнтації молекул. Під впливом
електрики молекули рідких кристалів, що мають довгасту форму, можуть змінювати
свою орієнтацію і внаслідок цього змінювати властивості світлового променя, що
проходить крізь них. Уперше застосували рідкі кристали в чорно-білих (точніше,
у чорно-сірих) дисплеях для калькуляторів та годинників, а потім - у моніторах
для портативних комп'ютерів. Натепер LCD-монітори дедалі більше використовують
і в настільних комп'ютерах.
Рис.1.1. LCD-монітор: 1 - склана
пластина; 2 - фільтр-поляризатор; 3 - рідкі кристали; 4 - горизонтальний
електрод; 5 - джерело світла; 6 - вертикальний електрод
Екран LCD-монітора являє собою масив
малих сегментів (пікселів), використовуваних для формування зображення.
LCD-монітор має кілька шарів (рис. 1.3). Ключову функцію деяких LCD-моніторів
виконують дві плоскі панелі, зроблені з позбавленого від натрію і дуже чистого
скляного матеріалу, названого субстратом чи підкладкою, що містить між собою
тонкий шар рідких кристалів. Тому LCD-монітори, а також плазмові монітори,
часто називають плоскопанельними моніторами (flatpanel monitors).
Борозенки-електроди на кожній панелі
розміщено паралельно (але перпендикулярно між двома панелями). Рідкі кристали в
комірках, утворених панелями, можуть за допомогою електродів змінювати свою
орієнтацію; такі комірки названо закругленими нематичними (twisted nematic)
(від грецьк. nema - голка). Рідкокристалічна панель освітлюється джерелом
світла (залежно від місцезнаходження джерела рідкокристалічні панелі працюють
на відображення чи на проходження світла).
Змінювання інтенсивності світлового
потоку від чорного до білого, що проходить крізь LCD-монітор, досягається
використанням явища поляризації світла.
Оскільки джерело світла дає
неполяризоване випромінювання, перший (внутрішній) фільтр-поляризатор пропускає
світло тільки в одному напрямі поляризації. Напрям поляризації другого
зовнішнього фільтра-поляризатора повернено на 90° відносно напряму поляризації
першого фільтра.
Рис. 1.2. Проходження світла через
LCD-монітор: а - якщо до електродів прикладена напруга; б - якщо немає напруги
Коли до електродів якого-небудь
пікселя прикладено напругу (рис. 1.4, а), спіраль рідких кристалів розправляється
і не змінює напряму поляризації світла, що проходить уздовж неї. У цьому разі
світло затримується зовнішнім поляризаційним фільтром, і піксель має чорний
колір. Якщо зняти напругу (рис. 1.4, б), спіраль закрутиться так, що кристали,
які знаходяться на її кінцях, ляжуть у борозенки. Світло, пронизавши внутрішній
поляризаційний фільтр, проходить уздовж спіралі, змінює свою поляризацію на 90°
і тому пропускається зовнішнім фільтром, тобто формується світлий (білий)
піксель. Змінюючи напругу, можна одержати сірі відтінки.
Для виведення кольорового зображення
світло має виникати в задній частині LCD-монітора, щоб можна було спостерігати
зображення високої якості, навіть якщо навколишнє середовище не є світлим.
Колір створюється використанням трьох фільтрів (червоного, зеленого і синього),
що виділяють з джерела випромінювання білого світла три основні компоненти.
Щоб вивести кольорове зображення,
можна поставити на шляху променів кілька фільтрів, однак це призведе до
ослаблення випромінювання. Найчастіше використовують таку властивість
рідкокристалічної комірки: зі змінюванням напруженості електричного поля кут
повороту площини поляризації випромінювання змінюється по-різному для
компонентів світла з різною довжиною хвилі. Отже, випромінювання заданої довжини
хвилі світла може відбиватися (чи поглинатися), тобто створювати заданий колір.
Технологія функціонування
LCD-моніторів не може забезпечити швидку зміну даних на екрані. Зображення
формується рядок за рядком послідовним підведенням керувальної напруги до
окремих комірок, що робить їх прозорими. Через досить велику електричну ємність
комірок напруга на них не може змінюватися досить швидко, тому картинка
відновлюється повільно. Крім того, зображення не відображається плавно і
мерехтить на екрані. Мала швидкість змінювання прозорості кристалів не дозволяє
правильно відображати рухомі зображення. Монітори такої технології формування
зображень назвали моніторами з пасивною матрицею {passive matrix). Незважаючи
на застосування технологій поліпшення контрастності зображення через збільшення
кута повороту площини поляризації світла в кристалах з 90° до 270° (у
технології Super Twisted Nematic), ці монітори тепер майже не випускають.
Для моніторів з активною матрицею
(active matrix) використовують окремі керувальні елементи (транзистори) для
кожної комірки екрана, що компенсують вплив ємності комірок і дозволяють значно
зменшувати час змінювання їх прозорості. Оскільки транзистори, розміщені на
задній частині панелі, мають пропускати світло, їх реалізовано в пластикових
плівках за технологією TFT (Thin Film Transistor - тонкоплівковий транзистор).
Іноді монітори з використанням технології TFT називають TFT-моніторами.
1.2 Причини виникнення несправностей у моніторах
Несправності в моніторах виникають, як і в інших виробах
електронної техніки з наступних причин:
. Неякісне виготовлення. Наслідком неякісного виготовлення є,
як правило, порушення технології пайки, зборки, недоробки на стадії
проектування, застосування неякісних елементів або некоректна заміна елементів
на аналоги (у процесі комплектації) Несправності з цих причин виявляються
звичайно в перші місяці експлуатації. Частка таких моніторів з усіх надійшли в
ремонт досить велика і досягає 30%
. Порушення правил експлуатації монітора. Монітор надходить
до користувача у більшості випадків в комплекті з комп'ютером. При установці
комплексу на робочому столі і при першому включенні його, як правило,
користувач звертає основну увагу на його зручне розташування і поспішає
ознайомитися з його можливостями і програмним забезпеченням, часто забуваючи
хоча б заглянути в технічні описи, де завжди є рекомендації з використання
монітора.
Необхідно також дотримуватися правил підключення монітора до
ланцюгів харчування. Всі під'єднання сигнальних кабелів і рознімання харчування
повинні вироблятися при відключеному живленні і положеннях вимикачів на
моніторах і комп'ютері "ВИКЛ".
Часто причиною несправності монітора буває підключення до
неякісної мережі електроживлення тобто використання розеток з поганим
контактом, так як багато монітори не витримують послідовного провалля і появи
знову напруги харчування в мережі з інтервалом 0.5 - 1 сек. До цієї категорії
можна також віднести несправності через механічні ушкодження з вини користувача
. Природне старіння електронних компонентів. Ця причина є
загальною для всіх виробів електронної техніки, що працюють в умовах, що
відповідають проектним (зазначених у технічній специфікації). Старінню
піддаються друковані плати і припой, особливо в місцях підвищеної температури.
Як правило, час напрацювання на відмову для монітора складає більше 10000
годин, що відповідає 3-5 рокам роботи.
. Ремонт некваліфікованим персоналом. Мається ще одна причина
виникнення несправностей в моніторах - це неграмотно виконаний ремонт, коли в
процесі ремонту некваліфікованим персоналом виробляється заміна елементів
шляхом підбору аналогів або вводяться зміни в принципову схему. Некоректно
виконана робота може привести надалі до додаткових несправностей в моніторах,
що сильно утруднить його остаточний ремонт.
1.3 Принцип побудови та основні види несправностей
РК-моніторів і методика їх ремонту
Основними елементами РК-монітора є:
. РК-матриця;
. Пристрій керування (УУ);
. Інтерфейс зв'язку з ПК;
. Блок живлення (БП);
. Вузол обробки відеосигналу;
. Лампи підсвічування;
Робота РК-моніторів заснована на явищі поляризації світлового
потоку. Кристали поляроїд здатні пропускати тільки ту складову світла, вектор
електромагнітної індукції якої лежить у площині, паралельній оптичній площині
поляроїда. Для решти світлового потоку поляроїд буде непрозорим. Таким чином
поляроїд як би "просіває" світло, даний ефект називається
поляризацією світла.
Рис. 1.3. Будову та принцип роботи осередку (TN) РК-монітора
Рис. 1.4. Пристрій рідкокристалічної матриці
Пристрій рідкокристалічної матриці
Рідкокристалічна матриця складається з декількох шарів - це,
• три рідкокристалічних шару, до яких підходить матриця
• провідників;
• зовнішній захисний шар;
• внутрішній ветоотражающій.
По краях світлоповертального шару (зазвичай зверху і знизу)
розташовані дві газорозрядні лампи зразок ртутних ламп денного освітлення,
тільки з «холодним» катодом (Cold Cathode Lamp) монітора есто спіралі
розжарювання, і світіння в них ініціюється іонізацією газу від високої напруги.
Рис. 1.5. Принципова схема РК-монітора
Блок живлення і DC/AC-перетворювач для живлення ламп
підсвічування
Блок живлення забезпечує елементи РК-монітора напругою
необхідної величини. БП будується за схемою БП з перетворенням частоти
DC/AC-перетворювач (інвертор), формує з постійної напруги 12 В, що надходить
від блоку живлення через роз'єм змінну напругу 700 В струмом навантаження
порядку 10 ... 12 мА і частотою близько 50 кГц для харчування двох ламп
підсвічування LCD-панелі.
Система управління і синхронізації
Система управління монітором побудована на основі
мікроконтролера, незалежній пам'яті і кнопок передньої панелі. Мікроконтролер
містить 1024 байти ОЗУ і 64 Кбайт ПЗУ типу Flash. Рис. 1.4. Принципова схема
РК-монітора.
1.4 Несправності сучасних TFT моніторів і методи їх
діагностики
Найбільш поширені причини несправностей
Симптомами окислення/порушення контакту зазвичай є періодичне
мерехтіння ламп, вимикання однієї з них, реакція на вібрацію або легке
постукування по корпусу.
. Перегрів елементів
Симптомами несправності найбільш часто є відключення відразу
двох ламп після деякого часу роботи (або навпаки - включення ламп через кілька
хвилин роботи монітора). Зазвичай несправність виявляється на двох лампах
одночасно, так як у них є спільні елементи: високовольтний трансформатор і
транзистор, розташовані на платі інвертора.
. Неякісне паяння (мікротріщини, економія припою, не відмитий
активний флюс).
Якщо є місця непропаев, мікротріщини, поганий контакт, то при
прогріві плати в процесі роботи одні матеріали розширюються сильніше, інші -
слабше, і контакт або з'являється, або зникає.
Типові несправності сучасних TFT моніторів і методи їх діагностики:
• Вихід з ладу інвертора лампи підсвічування. Основна ознака
несправності - темний екран монітора. Якщо монітор помістити під настільну
лампу, то на відсвіт буде видно блякле зображення.
• Вихід з ладу лампи підсвічування. Зовні проявляється так само,
як і при несправності інвертора. Причина появи несправності - обмежений термін
служби ламп або експлуатація монітора з встановленим великим рівнем яскравості.
• Блок живлення. Ті ж несправності і їх причини, що і в CRT
моніторів.
• Вихід з ладу системної плати. У цій несправності можуть
бути самі різні прояви: зміна розмірів зображення, його масштаб, що не
піддається регулюванню, тремтіння зображення і пр.
• Механічні ушкодження матриці, попадання всередину пристрою
води або інших рідин і сторонніх предметів. Наслідки від таких впливів можуть
бути самими різними, аж до повної неремонтопридатності обладнання.
Особливість ремонту визначається наявністю в ЖК-моніторах:
• високої напруги,
• чутливих до статики елементів,
• крихкість конструкції РК-панелі, яка легко пошкоджується.
При включенні монітора мережевий індикатор не світиться,
монітор не працює
Рис. 1.6. Порядок розбирання розбирання РК-монітора
Вольтметром перевіряють наявність живлячих напруг. Якщо
напруга відсутня або воно значно менше норми, перевіряють справність БЖ. У БП в
першу чергу перевіряють елементи фільтра та запобіжник. Якщо вони справні
перевіряють елементи ключа інвертора.
Якщо одну з напруг відсутнє або його пульсації перевищують
10%. перевіряють зовнішні елементи мікросхем ШІМ і самі мікросхеми (заміною).
1.5 Ремонт блоку живлення LCD монітора
Блоки живлення LCD (РК) монітора ламаються часто. Щоб надійно
його полагодити, необхідно обґрунтовано і коректно вказати на несправні
компоненти пристрою, а потім скласти план по їх придбання та заміни.
Типи блоків живлення
Джерела живлення в ЖК моніторах бувають двох видів: внутрішні
і зовнішні. Перші розміщуються в корпусі монітора і з'єднуються з мережевим
кабелем за допомогою зовнішнього роз'єму 220В. Недоліком такої конструкції є
наявність імпульсного перетворювача високої потужності всередині монітора, що
може негативно впливати на його роботу.
При наявності зовнішнього джерела живлення монітор
поставляється разом із зовнішнім мережним адаптером, який теж по суті являє
собою імпульсний перетворювач. Подібний пристрій більш надійно, оскільки
дозволяє виключити з монітора силовий каскад.
Для обох варіантів конструкції монітора можливо кількість шин
від однієї до трьох, з напругою +3.3 В, +5 В, +12 В. Перший показник
призначається для напруги живлення цифрових мікросхем, другий використовується
як чергової напруги, третій - для живлення інвертора ламп задньої підсвічування
і драйверів LCD панелі. Для зовнішнього блоку живлення всі три варіанти
формуються з однієї-єдиної вхідний шини 12-24В за допомогою перетворювачів
постійного струму.
Діагностика ушкоджень блоку живлення РК монітора
Коли блок живлення виходить з ладу, то діагностику ушкоджень
необхідно виконувати в строгій черговості, щоб не погіршити поломку. Виробляти
будь-який ремонт можна тільки після попередньої діагностики всього пристрою.
У більшості досвідчених технічних фахівців існують свої
методики діагностики, відпрацьовані на практиці роками. Але навіть
професіоналам вкрай бажано дотримуватися певних правил, щоб звести до мінімуму
ймовірність помилки при діагностиці.
Основні правила при ремонті блоків живлення
Перед тим, як приступити до лагодження джерела живлення,
необхідно, по-перше, переконатися у справності шнура і наявності напруги в
мережі. Для цього найчастіше достатньо мати під рукою звичайний тестер. Потім
варто оглянути деталі пристрою візуально для виявлення зовнішніх пошкоджень
радіоелементів: резисторів, дроселів, трансформаторів, транзисторів, варістора,
запобіжником. Звертати увагу тут варто буквально на все: на колір корпусу і
радіоелементів, наявність слідів кіптяви, відколи, тріщини, наявність сторонніх
предметів.
Несправність запобіжника зі скляним корпусом визначається
візуально по відсутності проводить жала, по металевому нальоту на склі, по
руйнуванню скляного корпусу.
Наступний, не менш важливий етап - визначення типу блоку
живлення і схеми технічних рішень. На цьому етапі необхідно, в тому числі,
визначити елементну базу і тип мікросхем транзисторів і вже після цього почати
перевірку елементів.
У разі перегоряння запобіжника обов'язково треба перевірити
струмовий резистор, терморезистор, варістор, ключовий транзистор, конденсатор
вихідного фільтра і діоди випрямного моста. Особливу увагу необхідно звернути
на справність ШІМ-контролера (керуючої мікросхеми) блоку живлення.
Після того, як всі дефектні елементи виявлені, важливо
зробити висновок про можливість їх заміни на аналогічні: підбір варто
здійснювати за допомогою довідників і технічної інформації на радіоелементи.
Особливо обережно необхідно міняти діоди, конденсатори, дроселі, ключові
транзистори. При установці на радіатор ключового транзистора або потужної
гібридної мікросхеми встановлювана деталь повинна бути ізольована слюдяними
прокладками, теплопровідної гумою або теплопроводящую пасту. Після запаювання
транзистора необхідно ще раз використати тестер, щоб упевнитися у відсутності
контакту з радіатором. Якщо необхідна заміна запобіжника, то важливо пам'ятати,
що сила струму його спрацьовування складає близько 3А: більша кількість ампер
може призвести тільки до великих поломок.
Коли всі елементи будуть замінені на справні, не зайвим буде
здійснити пробний запуск джерела живлення: як правило, це роблять за допомогою
звичайної електролампи на + 12В і + 24В потужністю 10-60Вт. Контроль рівня
вихідних напруг перед включенням здійснюється за допомогою вольтметра. Також
перед включенням замість мережевого запобіжника можна поставити електролампу на
220В потужністю 100-150Вт: при включенні пристрою вона повинна світитися, але не
дуже яскраво. Занадто яскраве світло свідчить про надмірне споживання
потужності, що може призвести до короткого замикання.
При тестовому включенні блоку живлення важливо дотримуватися
правил техніки безпеки: постійно перебувати в захисних окулярах на випадок
виходу з ладу електролітичних конденсаторів, звертати увагу на звуки (свист,
клацання) і запахи (дим, гар), які свідчать про неліквідованих несправності.
При поломці запобіжників нерідко спостерігаються іскри і спалаху. Якщо ж
проблеми все-таки виникли, то найважливіше забезпечити можливість миттєвого
відключення стенду з перевіряється джерелом живлення від електромережі.
монітор тестер осцилограф ремонт
2. Прилади для налаштування моніторів
.1 Типові несправності моніторів та способи їх усунення
При ремонті моніторів, особливо сучасних, нерідко
зустрічаються несправності, пошук і усунення яких викликає певні труднощі не
тільки у радіоаматорів, але і у майстрів. Значна їх частина пов'язана з
дефектами рядкової розгортки. Річ у тому, що щонайменше відхилення в режимах
роботи вузлів рядкової розгортки таких моніторів викликає блокування як її
процесорів, так і блоку живлення, а отже, виникають труднощі з їх запуском для
традиційної перевірки.
Вирішити в більшості випадків виникаючі проблеми дозволяє так
зване тестування навантаження вихідного каскаду рядкової розгортки. Пропонована
перевірка може не тільки істотно скоротити час пошуку несправності, але і, що
саме головне, чітко відповісти на питання, несправний цей каскад чи ні.
Тестування проводять при вимкненому моніторі. Воно виявляє більшість дефектів
рядкових трансформаторів і систем, що відхиляють. Цей метод тестування можна
використовувати для перевірки блоків розгортки комп'ютерних моніторів і
імпульсних джерел живлення з відповідною зміною параметрів сигналу тестуючого
пристрою - тестера навантаження.
Суть методу тестування навантаження полягає в тому, що на
вихідний каскад рядкової розгортки подають малу напругу живлення (близько 15
В), істотно меншу номінального і замінюючого джерело живлення апарату. Імпульси
на виході підключеного до нього тестера, слідуючи з частотою, наприклад, 15625
Гц, імітують роботу транзистора вихідного каскаду. При цьому в рядковому
трансформаторі і відхиляючій котушці виробляються коливання, що досить точно
відображають його роботу, тільки амплітуда струмів та напруги приблизно в 10
разів менше робочої амплітуди.
Використовуючи такий тестер, а також міліамперметр і
осцилограф, перевіряють роботу вихідного каскаду. Практика показує, що вказану
перевірку при пошуку несправностей в ланцюгах рядкової розгортки доцільно
проводити завжди.
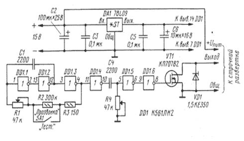
Рис. 2.1 Принципова схема тестера навантаження
Принципова схема тестера навантаження представлена на рис.
2.1. Його польовий транзистор VT1 грає роль силового ключа, що підключається в
необхідній полярності до транзистора вихідного каскаду рядкової розгортки. На
затвор польового транзистора поступають імпульси із генератора, зібраного на
мікросхемі DD1. Тривалість імпульсів регулюють змінним резистором R4, а частоту
проходження - змінним резистором R1. Тумблер SA1 призначений для перемикання
режимів перевірки: «Тест» або «Прозвонка».
У режимі тестування частоту генератора виставляють рівній
робочій частоті імпульсного перетворювача досліджуваного пристрою. Для рядкової
розгортки телевізора вона рівна 15625 Гц, а для монітора VGA може бути 31,5 кГц
або вище. У режимі «Прозвонка» частота генератора - близько 1 кГц. Тривалість
імпульсів і частоту для телевізора вибирають так, щоб час відкритого стану польового
транзистора був рівний 50, а закритого стану - 14 мкс.
Польовий транзистор зашунтований захисним діодом VD1, що
підвищує надійність тестера. Він є швидкодіючим пороговим обмежувачем напруги
350 В, що захищає транзистор від високовольтних викидів при тестуванні. Можна,
звичайно, відмовитися від його використання, але тоді це понизить надійність
приладу.
Рис. 2.2 Друкарська плата тестера
Конструктивно тестер виконаний у вигляді плати з окремим
блоком живлення. Тестер зібраний на друкарській платі з односторонньо
фольгованого склотекстоліту, креслення якого представлене на рис. 2.2.
У пристрої застосовані змінні резистори Сп4-1 або будь-які
інші, відповідні по габаритах, постійні резистори МЛТ, ОМЛТ, С2-ззн і подібні.
Конденсатори С2, С6 - будь-які оксидні з мінімальним струмом витоки, останні -
К10-17 або Км. Конденсатор С5 припаюють між виводами живлення мікросхеми DD1
або з боку друкарських провідників, або з боку деталей, розташувавши його над
нею. Як вихідні виводи («Вихід» і «Загальний») використані гнучкі контакти від
роз'ємів завдовжки 15...20 мм.
Налагодження зводиться до установки міток частоти і
тривалості імпульсів, відповідних режимам тестування, на шкалах змінних
резисторів.
Тестер навантаження «навішують» на плату досліджуваного
пристрою - припаюють два гнучкі виводи («Вихід» і «Загальний») плати до точок
паяння колектора і емітера вихідного транзистора тестованого рядкового
розгортки так, як видно на 1-ій с. обкладинки. При цьому потрібно не забути
подати напругу живлення (+Uпит = 15 В) на її вихідний каскад.
2.2 Використання тестера навантаження для виявлення
несправностей моніторів
Перейдемо до самої перевірки рядкової розгортки. Спочатку
перевіряють (омметром) транзистор вихідного каскаду на пробій. Якщо він
пробитий, то перед початком тестування його слід випаяти. У справному стані
транзистор не впливає на свідчення приладів.
Підключивши тестер (по схемі на Рис. 2.3), вимірюють струм,
споживаний вихідним каскадом. Якщо міліамперметр покаже значення в межах
10...70 мА, то це нормально для більшості вихідних каскадів. Менше 10 мА
значення указує на наявність обриву в ланцюгах, а більше 70 мА (особливо більше
100 мА) - на підвищене споживання струму вихідним каскадом, рядковим
трансформатором або іншими ланцюгами, що навантажують джерело основного
живлення апарату. При цьому включення телевізора, якщо не розібратися в причині
явища, швидше за все, може викликати або спрацьовування захисту блоку живлення,
або вихід з ладу вихідного транзистора. У такому разі необхідно з'ясувати чому
збільшився споживаний струм.
Знижене споживання пов'язане зазвичай з обривами в елементах
і ланцюгах вихідного каскаду або споживачах енергії, що перетворюється рядковим
трансформатором, наприклад, в кадровій розгортці. При підвищеному споживанні
потрібно спочатку визначити, яким струмом воно викликане - змінним або
постійним. Для цього їх вимірюють в двох режимах: змінний - при роботі
підключеного тестера, постійний - при вимкненому (закритому) стані його
вихідного транзистора. Отримати другий режим можна самими різними способами.
Наприклад, просто відпаяти вивід "Вихід" від рядкової розгортки.
Проте для тієї ж мети можна встановити движок резистора R4 в крайнє верхнє (по
схемі) положення або передбачити вимикач, що замикає накоротко цей резистор.
Для того, щоб знайти короткі замикання або витоки у вторинних
ланцюгах ТВС, при вимірюваннях випрямленої напруги можна використовувати
вольтметр постійного струму. Слід пам'ятати, що тестер навантаження тільки
імітує роботу вихідного каскаду рядкової розгортки при напрузі живлення, значно
меншій номінального. При цьому вся вторинна випрямлена і імпульсна напруга
матиме значення, приблизно на порядок менші номінальних.
Якщо вимірювана імпульсна або постійна напруга істотно нижча,
то потрібно перевірити елементи в ланцюгах: конденсатор фільтру або випрямний
діод, а також мікросхему кадрової розгортки (якщо вона харчується від ТВС).
Проте орієнтуватися тільки на споживання струму для ухвалення
остаточного рішення про несправність або справність рядкової розгортки не
можна. Точніше, низьке споживання струму не завжди свідчить про справність
рядкової розгортки. Так, виявлений ряд дефектів, коли при тестуванні споживаний
струм залишається в межах норми. Наприклад, в телевізорі SONY- KV-2170 при замиканні
обмотки діодно-каскадного рядкового трансформатора (ТДКС) на напругу 24 В
(живлення кадрової розгортки) споживаний струм з 18 мА зростає всього до 26 мА,
а замикання накальної обмотки на тому ж ТДКС викликає підвищення струму до 130
мА. Ймовірно, це пояснюється різним розташуванням котушок на магнітопроводі
ТДКС і різними індуктивними зв'язками з основною обмоткою. Крім того,
наприклад, в телевізорі PHILIPS - 21PT136A споживаний струм рядкової розгортки
був рівний 74 мА, а відключення всіх навантажень понизило його лише до 70 мА.
Це знову ж таки не дозволило однозначно судити про стан каскаду.
Точніше зробити висновок про несправність дозволяє
осцилограма імпульсів зворотного ходу на колекторі ключового транзистора.
Осцилографом можна також зміряти тривалість цих імпульсів, яка залежить від
роботи ланцюгів вихідного каскаду, в основному рядкового трансформатора,
конденсаторів зворотного ходу, що відхиляє котушки і прохідних конденсаторів в
ланцюзі котушки, що відхиляє. Тривалість імпульсу указує на те, чи є в ланцюгах
рядкового трансформатора і котушки, що відхиляє, потрібне узгодження за часом і
чи досягнутий резонанс.

Рис. 2.3 Осцилограма імпульсів зворотного ходу
При справній рядковій розгортці спостерігаються імпульси
правильної форми без паразитних резонансів і сплесків, як на рис. 2.3,а. Якщо
їх тривалість знаходиться в межах 11,3... 15,9 мкс, можна з упевненістю
сказати, що вихідний каскад формує нормальні імпульси зворотного ходу.
Пробиті діоди, міжвиткові замикання обов'язково спотворюють
осцилограму. При замиканні в ланцюгах навантаження осцилограма має вигляд, як
на рис. 2.3, б. При пробої випрямних діодів осцилограма виглядає так, як на
рис. 2.3, в або г.
Коли результати тестування навантаження покажуть наявність
неполадок у вихідному каскаді рядкової розгортки, ремонтникові, звичайно,
захочеться перевірити його компоненти, включаючи рядковий трансформатор і
котушку, що відхиляє. Але якщо виявляється лише невелике відхилення від норми
по навантаженню і по тривалості імпульсів, то з цими основними компонентами,
швидше за все, все гаразд. У такому разі немає чого витрачати час на їх
тестування. Краще продовжити вимірювання при включеному телевізорі і знайти
джерело несправності. Так буде значно швидше.
Слід застерегти від торкання руками елементів розгортки при
тестуванні, оскільки при роботі тестера навантаження на колекторі вихідного
транзистора, виводах рядкового трансформатора і помножувача виникає все ж таки
досить висока напруга.
Існують несправності, при яких тривалість імпульсів може бути
на межі допустимих значень або навіть змінюватися. Це може свідчити або про
слабке шунтування обмоток трансформатора, або про обрив який-небудь з
навантажень.
Перевірка розглянутим способом може надати велику допомогу
при заміні рядкових трансформаторів і систем, що відхиляють, коли не вдається
знайти оригінальну деталь і доводиться задовольнятися аналогами.
Методом тестування навантаження можна виявити такі рідкісні
несправності, як мерехтливі замикання. Вони пов'язані в основному з дефектами
елементів, які виявляються епізодично. Один з таких дефектів - перетирання
ізоляції витків перегрітих, погано натягнутих або незакріплених по
технологічних вимогах обмоток імпульсних трансформаторів. Нерівномірний нагрів
обмоток і їх розширення, з урахуванням вібрації в магнітному полі, створюють
умови для локального руйнування ізоляції і виникнення мерехтливих міжвиткових
замикань. Тоді силові транзистори виходять з ладу як би раптово і безпричинно.
Тепер перейдемо до перевірки індуктивних елементів тестером
навантаження в режимі "Прозвонка", про який було згадано спочатку.
Існує багато методик резонансних перевірок трансформаторів з
використанням генераторів ЗЧ. Достовірність таких способів перевірки така, що,
намагаючись перевірити трансформатор, досліджуючи форму синусоїди або
резонансну частоту обмотки, доводиться часто тільки жалкувати про марно згаяний
час.
Адже резонансна частота трансформатора залежить від числа
витків, діаметру дроту, властивостей матеріалу магнито-провода, ширини зазору.
Багато років тому методом замикання частини витків котушки магнітної антени
(аналогічно і в трансформаторі) резонанс зміщували вище по частоті без
особливого збитку для роботи в резонансі. Тому витковые замикання не
позначаються на відсутності резонансу, а тільки підвищують його частоту,
знижуючи добротність. Форма синусоїди на обмотці із замкнутими витками може
навіть не спотворюватися. А може спостерігатися і декілька резонансів.
У утвореному ємкістю конденсатора і індуктивністю обмотки
трансформатора паралельному коливальному контурі виникають затухаючі через
декілька циклів коливання (говорять: "контур дзвенить"). Швидкість
загасання залежить від добротності котушки. Якщо є короткозамкнутий виток, то
коливання продовжуватимуться не більше трьох періодів. При справній котушці
контур продзвонить 10 і більше разів.
Прозвонку рядкового трансформатора можна виконати, навіть не
випаюючи його з плати. Необхідно тільки відключити ланцюг живлення рядкової
розгортки. Якщо трансформатор, що перевіряється, справний, то на екрані
осцилографа з'явиться осцилограма, зображена на рис. 2.4. Якщо ж коливання
затухають значно швидше, то необхідно по черзі відключати ланцюги навантажень
вторинних обмоток, поки не з'являться тривалі коливання. У іншому випадку
необхідно випаяти трансформатор з плати і остаточно переконатися в результатах
обстеження. Слід мати на увазі, що навіть із-за одного замкнутого витка всі
котушки в трансформаторі дзвеніти не будуть.
Рис. 2.4 Коливальний контур
І нарешті, необхідно трохи сказати про перевірку ТДКС.
Особливості їх перевірки пов'язані з тим, що помножувач високої напруги
змонтований в трансформаторі разом з обмотками. Високовольтні діоди помножувача
можуть бути пробиті, обірвані, мати витік, внаслідок чого анодна і фокусуюча
напруга може бути занижені або бути відсутнім зовсім, а тестування навантаження
каскаду не дозволяє чітко розмежувати поле пошуку несправності (обмотка,
магнітопровід або помножувач). Адже існують способи відновлення ТДКС, якщо у
нього пробитий високовольтний конденсатор, що фільтрує. Та і підібрати і
замінити магнітопровід від іншого трансформатора не представляє особливої
трудності.
Подавши на первинну обмотку ТДКС імпульси, аналогічні
імпульсам вихідного каскаду рядкової розгортки, можна провести динамічне
тестування, перевірити, як випрямляються і множаться вхідні імпульси.
Несправний діод, обмотка або магнітопровід рядкового трансформатора приведуть
до зниження вихідної напруги ТДКС. Динамічне тестування виконують тим же
тестером, що і тестування навантаження. Слідує лише так відрегулювати напругу
живлення, яке подається на первинну обмотку трансформатора, щоб напруга
імпульсів на стоці ключового транзистора тестера була рівною приблизно 25 В.
Вимірюють вихідну напругу на аноді кінескопа щодо аквадагу. Вона повинна бути
більше 600 В.
2.3 Використання осцилографа при тестуванні моніторів
Осцилограф (рис. 2.5) має звичайну для приладів подібного
класу структурну схему. Вона містить канал вертикального відхилення (КВВ),
канал горизонтального відхилення (КГВ), калібратор, електронно-променевий
індикатор з високовольтним джерелом живлення і низьковольтне джерело живлення.
КВВ складається з вхідного дільника, попереднього
підсилювача, лінії затримки і підсилювача. Він призначений для посилення
сигналу в частотному діапазоні 0...10 Мгц до рівня, необхідного для отримання
заданого коефіцієнта відхилення по вертикалі (10 мВ/под... 5 В/под з кроком
1-2-5), з мінімальними амплітудно-частотними і фазочастотними спотвореннями.
КГВ включає підсилювач синхронізації, тригер синхронізації,
схему запуску, генератор розгортки, схему блокування і підсилювач розгортки.
Він призначений для забезпечення лінійного відхилення із заданим коефіцієнтом
розгортки від 0,1 мкс/под до 50 мс/под з кроком 1-2-5.
Калібратор виробляє сигнал для калібрування приладу по
амплітуді і часу.
Вузол електронно-променевого індикатора складається з
електронно-променевої трубки (ЕПТ), схеми живлення ЕПТ і схеми підсвітки.
Низьковольтне джерело призначене для живлення всіх
функціональних пристроїв напругою +24 В і ±12 В.
Рис. 2.5 Осцилограф
При виготовленні і ремонті
радіоелектронної апаратури встановлюються різні радіоелементи. Щоб переконатися
в їх справності, проводиться попередній (вхідний) контроль, який можна
здійснювати за допомогою приставки до будь осцилографу. Принципова схема
приставки зображена на рис.2.6.
Приставка до осцилограф дозволяє
перевіряти практично всі елементи, що встановлюються у радіоелектронні пристрої
побутової апаратури: від резисторів до керованих вентилів (тиристорів), а також
дає можливість оцінити якість потенціометрів, котушок індуктивності, справність
перемикачів, реле, трансформаторів і т. д.
Таким чином, один осцилограф може
замінити майже всю вимірювальну лабораторію вхідного контролю. Необхідно мати
на увазі, що осцилограф служить не тільки для спостережень різних процесів,
пов’язаних із зміною форми напруги.
Рис. 2.6 Принципова електрична схема
приставки до осцилограф
Рис. 2.7 З’єднання приставки з
осцилографом
Приставка збирається в металевому або
пластмасовому корпусі розмірами 50 X 75 X 100 мм з використанням
малогабаритного трансформатора, понижуючого напругу з 220 до 6,3 В. Потужність
трансформатора невелика (20 мВт), а споживаний струм не перевищує 2-3 мА.
Робота з приставкою. Виводи приставки
1, 2, 3 з’єднують з відповідними виводами осцилографа (рис. 2.7) та переводять
в режим роботи із зовнішньою синхронізацією або з розгорткою від зовнішнього
джерела. Підключають приставку до мережі. На екрані з’явиться горизонтальна
лінія (якщо виводи 1 і 2 не замкнуті). Потім натискають кнопку КН1, лінія на
екрані осцилографа повинна при цьому відхилитися на деякий кут. Ручками
«Посилення по горизонталі», «Посилення по вертикалі» і «Установка по вертикалі»
домагаються того, щоб лінія розташовувалася в центрі екрану під кутом 45 до
горизонтальної осі. Довжина зображення повинна дорівнювати половині діаметра
екрану (рис. 2.8).
Досліджуваний елемент завжди
підключають до виводів приставки 3 та 2. Вертикальна лінія на екрані (рис. 2.8)
свідчить про коротке замикання, горизонтальна - про обрив в ланцюзі або в
елементі. Характер зображення на екрані осцилографа визначається залежністю
опору випробуваного елемента від величини і полярності підводиться до нього
синусоїдальної напруги.
Напівпровідникові діоди. Полярність
включення і вид кривих на екрані показані на рис. 2.8, а, б. При зворотному
включенні діода виходить крива, зображена на рис. 2.8, в. Так можна визначити
висновки анода і катода діодів, у яких стерта маркування.
Якщо вершина кута на екрані округлена
або одна з його сторін багато більше іншої, або напрямок прямих сильно
відрізняється від горизонтального і вертикального, то діод повинен бути
забракований.
Рис. 2.8 Осцилограми, отримані при
перевірці електрорадіоелементів
Тунельні діоди. Спосіб включення
показаний на рис.2.8, тобто Характеристика справного діода зображена на малюнку
(крива 1). Іноді, збільшуючи посилення по горизонталі, вдається отримати
картину, показану на малюнку (крива 2), яка являє собою типову характеристику
тунельного діода. Перед перевіркою інших деталей ручку «Посилення по
горизонталі» необхідно перевести в положення, знайдене під час калібрування.
Керовані вентилі (тиристори) (рис.
2.8, ж). Вид Ірольтамперной характеристики для справного елемента (з
відключеним керуючим виводом-УЕ) показаний на рис. 2.8, ж, 1. Коли керуючий
електрод з’єднують із затиском 2, тиристор відкривається і промінь малює на
екрані криву, схожу на характеристику дабичного діода, включеного в провідному
напрямку (рис. 2.8, ж, 2),
Транзистори. Підключення їх до
приставці показано на рис 2.8, з. Якщо виводи емітера і колектора поміняти
місцями, малюнок на екрані не зміниться (база залишається не підключеної).
Промінь на екрані прокреслити горизонтальну лінію, вона може бути злегка
зігнута. Потім приєднують базу до затискача 2 і отримують характеристику,
зображену на Ррис. 2.8, з (1 - для транзистора типу р-п-р, 2 - для «типу
п-р-п). Це ще один спосіб визначення висновків електродів невідомих
транзисторів. При перемиканні виведення бази на зажим 3 ^ першому осцилограма,
зображена на Рис. 2.8, з, буде відповідати транзистору п-р-п.
Якщо при випробуваннях транзисторів
на екрані не з’явиться характеристика у вигляді букви L, це означає, що в ланцюзі
електродів транзистора є обрив. Коли один з відрізків осцилограми (Букви L)
зігнутий, це означає, що несправний один з р-п переходів транзистора.
Вигин вертикальної лінії свідчить про
великому опорі в прямому напрямку, нахил горизонтальної лінії - про малий
Зворотному опорі переходу (великий зворотний струм колектора). Відхилення
сторін кута від горизонталі і вертикалі вказує на погану якість переходів.
Зазвичай у могутніх транзисторів
(навіть у найкращих) завжди спостерігається великий зворотний струм колектора.
Тому спочатку треба випробувати кілька справних потужних транзисторів і потім
вже по ІНМ, як за еталонами, перевіряти інші. Явища, що вказують на коротке
замикання або обрив в транзисторі, однакові для всіх типів транзисторів.
3. Охорона праці та гігієна користувача ЕОМ
Широке промислове та побутове використання ПК актуалізувало
питання охорони праці їхніх користувачів. Найбільш повним нормативним
документом щодо забезпечення охорони праці користувачів ПК є "Державні
санітарні норми і правила роботи з візуальними дисплейними терміналами (ВДТ)
електронно-обчислювальних машин".
Відповідно до встановлених гігієнічно-санітарних вимог
роботодавець зобов'язаний забезпечити в приміщеннях з ВДТ оптимальні параметри
виробничого середовища (табл. 1).
Таблиця 1
|
Пора року
|
Категорія робіт
|
Температура повітря, С, не більше
|
Відносна вологість повітря, %
|
Швидкість руху повітря, м/с
|
|
Холодна
|
Легка - 1 а
|
22...24
|
40...60
|
0,1
|
|
Легка - 1 б
|
21...23
|
40...60
|
0,1
|
|
Тепла
|
Легка - 1 а
|
23...25
|
40...60
|
0,1
|
|
Легка - 1 б
|
22...24
|
40...60
|
0,2
|
Норми мікроклімату для приміщень з ВТД
Природне освітлення в приміщеннях з ВДТ має здійснюватися через вікна,
орієнтовані переважно на північ або північний схід і забезпечувати коефіцієнт
природної освітленості не нижче ніж 1,5 %. Для захисту від прямих сонячних
променів, які створюють прямі та відбиті відблиски з поверхні екранів ПК і
клавіатури повинні бути передбачені сонцезахисні пристрої, вікна повинні мати
жалюзі або штори.
Основні вимоги до виробничого приміщення для експлуатації ВДТ
- воно не може бути розміщено у підвалах та цокольних поверхах;
- площа на одне робоче місце в такому приміщенні повинна становити
не менше 6,0м2, а об'єм не менше 20,0 м3;
воно повинно мати природне та штучне освітлення відповідно до
СНіПП-4-79;
- щоденно проводити вологе прибирання;
Поруч з приміщенням для роботи з ВДТ мають бути обладнані:
- побутова кімната для відпочинку під час роботи;
- кімната психологічного розвантаження.
Штучне освітлення в приміщеннях з робочим місцем, обладнаним ВДТ, має
здійснюватись системою загального рівномірного освітлення. Як джерело штучного
освітлення мають застосовуватись люмінесцентні лампи ЛБ.
Вимоги до освітлення приміщень та робочих місць під час роботи з ВДТ:
- освітленість на робочому місці повинна відповідати характеру зорової
роботи, який визначається трьома параметрами: об'єктом розрізнення - найменшим
розміром об'єкта, що розглядається на моніторі ПК; фоном, який характеризується
коефіцієнтом відбиття; контрастом об'єкта і фону;
- необхідно забезпечити достатньо рівномірне розподілення
яскравості на робочій поверхні монітора, а також в межах навколишнього
простору;
на робочій поверхні повинні бути відсутні різкі тіні;
в полі зору не повинно бути відблисків (підвищеної яскравості
поверхонь, які світяться та викликають осліплення);
величина освітленості повинна бути постійною під час роботи;
слід обирати оптимальну спрямованість світлового потоку і
необхідний склад світла.
Застосування світильників без розсіювачів та екрануючих гратів
заборонено.
Гігієнічні норми до організації і обладнання робочих місць з ВДТ. При
розташуванні елементів робочого місця користувача ВДТ слід враховувати:
- робочу позу користувача;
- простір для розміщення користувача;
можливість огляду елементів робочого місця;
можливість ведення захистів;
розміщення документації і матеріалів, які використовуються
користувачем.
Конструкція робочого місця користувача ВДТ має забезпечити підтримання
оптимальної робочої пози. Робочі місця з ВДТ слід так розташувати відносно
вікон, щоб природне світло падало збоку, переважно зліва.
Робочі місця з ВДТ повинні бути розташовані від стіни з вікнами на відстані
не менше 1,5м, від інших стін - на відстані 1 м, відстань між собою - не менше
ніж 1,5 м.
Для забезпечення точного та швидкого зчитування інформації в зоні
найкращого бачення площина екрана монітора повинна бути перпендикулярною
нормальній лінії зору. При цьому повинна бути передбачена можливість
переміщення монітора навколо вертикальної осі в межах ±30° (справа наліво) та
нахилу вперед до 85° і назад до 105° з фіксацією в цьому положенні.
Клавіатура повинна бути розташована так, щоб на ній було зручно працювати
двома руками. Клавіатуру слід розміщати на поверхні столу на відстані 100...300
мм від краю. Кут нахилу клавіатури до столу повинен бути в межах від 5 до 15°,
зап'ястя на долонях рук повинні розташовуватись горизонтально до площини столу.
Принтер повинен бути розміщений у зручному для користувача положенні,
так, що максимальна відстань від користувача до клавіш управління принтером не
перевищувала довжину витягнутої руки користувача.
Конструкція робочого стола повинна забезпечувати можливість оптимального
розміщення на робочій поверхні обладнання, що використовується, з врахуванням
його кількості та конструктивних особливостей (розмір монітора, клавіатури,
принтера, ПК та ін.) і документів, а також враховувати характер роботи, що
виконується.
Вимоги до режимів праці і відпочинку при роботі з ВДТ. Під час роботи з
ВДТ для збереження здоров'я працівників, запобігання профзахворюванням і
підтримки працездатності встановлюються внутрішньо змінні регламентовані
перерви для відпочинку.
Тривалість регламентованих перерв під час роботи з ЕОМ за 8-годинної
денної робочої зміни залежно від характеру праці: 15 хвилин через кожну годину
роботи - для розробників програм зі застосуванням ЕОМ; 15 хвилин через кожні
дві години - операторів із застосуванням ЕОМ; 10 хвилин після кожної години
роботи за ВДТ для операторів комп'ютерного набору.
У випадках, коли виробничі обставини не дозволяють стосовувати
регламентовані перерви, тривалість безперервної роботи з ВДТ не повинна
перевищувати 4 годин.
Для зниження нервово-емоційного напруження, втомленості зорового
аналізатора, для поліпшення мозкового кровообігу і запобігання втомі доцільно
деякі перерви використовувати для виконання комплексу вправ, які передбачені
ДСанПіН 3.3.2.007-98, в тому числі і для сеансів психологічного розвантаження у
кімнаті з відповідним інтер'єром та кольоровим оформленням.
Висновок
Рідкокристалічний дисплей (англ. liquid crystal display (LCD)
- це електронний пристрій візуального відображення інформації (дисплей),
принцип дії якого ґрунтується на явищі електричного переходу Фредерікса в
рідких кристалах. Несправності в моніторах виникають, як і в інших виробах
електронної техніки з наступних причин:
. Неякісне виготовлення.
. Порушення правил експлуатації монітора.
. Природне старіння електронних компонентів.
. Ремонт некваліфікованим персоналом.
Типові несправності сучасних TFT моніторів і методи їх
діагностики:
• Вихід з ладу інвертора лампи підсвічування. Основна ознака
несправності - темний екран монітора. Якщо монітор помістити під настільну
лампу, то на відсвіт буде видно блякле зображення.
• Вихід з ладу лампи підсвічування. Зовні проявляється так
само, як і при несправності інвертора. Причина появи несправності - обмежений
термін служби ламп або експлуатація монітора з встановленим великим рівнем
яскравості.
• Блок живлення. Ті ж несправності і їх причини, що і в CRT
моніторів.
• Вихід з ладу системної плати. У цій несправності можуть
бути самі різні прояви: зміна розмірів зображення, його масштаб, що не
піддається регулюванню, тремтіння зображення і пр.
• Механічні ушкодження матриці, попадання всередину пристрою
води або інших рідин і сторонніх предметів. Наслідки від таких впливів можуть
бути самими різними, аж до повної неремонтопридатності обладнання.
• Використовуючи такий тестер, а також міліамперметр і
осцилограф, перевіряють роботу вихідного каскаду. Практика показує, що вказану
перевірку при пошуку несправностей в ланцюгах рядкової розгортки доцільно
проводити завжди.
Список використаної літератури
1. Батин Н.В. Основы информационных технологий/ Н.В.
Батин. Ї Минск: Институт подготовки научных кадров Нац. акад. наук Беларуси,
2008. Ї 235с.
2. Мураховский В.И. Устройство
компьютера. - М.: ACT-пресс книга, 2005. - 640с.
3. Рикалюк Р.Є., Злобін Г.Г.
Архітектура та апаратне забезпечення ПЕОМ. - К.: Каравела, 2005. - 280 с.
4. Тюнин Н.А. ЖК Мониторы - М.: Солон-Р, 2002
5. Мюллер, Скотт. Модернізація і
ремонт ПК, 16-е изд.: - М.: Издательский дом «Вильямс», 2006. с. 677 - 723.
. Глушаков С.В. «Персональний
комп'ютер» 2007. - Видавництво «АСТ» Солон-Р, 2002