Большой азимутальный телескоп

  • Вид работы:
    Реферат
  • Предмет:
    Авиация и космонавтика
  • Язык:
    Русский
    ,
    Формат файла:
    MS Word
    704,02 Кб
  • Опубликовано:
    2015-01-20
Вы можете узнать стоимость помощи в написании студенческой работы.
Помощь в написании работы, которую точно примут!

Большой азимутальный телескоп

МИНИСТЕРСТВО ОБРАЗОВАНИЯ И НАУКИ РОССИЙСКОЙ ФЕДЕРАЦИИ ФЕДЕРАЛЬНОЕ ГОСУДАРСТВЕННОЕ БЮДЖЕТНОЕ ОБРАЗОВАТЕЛЬНОЕ

УЧРЕЖДЕНИЕ ВЫСШЕГО ПРОФЕССИОНАЛЬНОГО ОБРАЗОВАНИЯ

«СИБИРСКИЙ ГОСУДАРСТВЕННЫЙ УНИВЕРСИТЕТГЕОСИСТЕМ И ТЕХНОЛОГИЙ»

(ФГБОУ ВПО «СГУГиТ»)

Институт оптики и оптических технологий

Кафедра Наносистем и оптотехники

 

 

 

 

ОЭП в технологических процессах

РЕФЕРАТ

«Большой азимутальный телескоп»

 

 

 

Выполнил: ст. Буряков М.К.

гр. 3ОТ-с

 

 

 

 

 

 

Новосибирск 2015

Содержание

Введение

. Краткий обзор некоторых телескопов

. Выбор конкретного телескопа для анализа

. Модернизация телескопа БТА

. Некоторые характеристики телескопа БТА

. Схема конструкции шестиметрового телескопа БТА на альт-азимутальной монтировке

. Построение примерной структурной схемы телескопа БТА

Список литературы

Введение

Основной объем знаний о Вселенной человечество почерпнуло, используя оптические инструменты - телескопы. Уже первый телескоп, изобретенный Галилеем в 1610 году, позволил сделать великие астрономические открытия. Следующие столетия астрономическая техника непрерывно совершенствовалась. Современный уровень оптической астрономии определяется данными, полученными с помощью инструментов, в сотни раз превышающими по размерам первые телескопы.

Необходимость построения таких телескопов определяют задачи, требующие предельной чувствительности инструментов для регистрации излучения от самых слабых космических объектов. К таким задачам относятся:

·   происхождение Вселенной;

·        механизмы образования и эволюции звезд, галактик и планетных систем;

·        физические свойства материи в экстремальных астрофизических условиях;

·   астрофизические аспекты зарождения и существования жизни во Вселенной.

Чтобы получить максимум информации об астрономическом объекте, современный телескоп должен иметь большую поверхность собирающей оптики и высокую эффективность приемников излучения. Кроме того, помехи при наблюдениях должны быть минимальны.

В настоящее время эффективность приемников в оптическом диапазоне, понимаемая как доля регистрируемых квантов от общего числа пришедших на чувствительную поверхность, приближается к теоретическому пределу (100%), и дальнейшие пути совершенствования связаны с увеличением формата приемников, ускорением обработки сигнала и т.д.

Помехи при наблюдениях - весьма серьезная проблема. Помимо помех природного характера (например, облачность, пылевые образования в атмосфере) угрозу существованию оптической астрономии как наблюдательной науки представляет нарастающая засветка от населенных пунктов, промышленных центров, коммуникаций, техногенное загрязнение атмосферы. Современные обсерватории строят, естественно, в местах с благоприятным астроклиматом. Таких мест на земном шаре очень мало, не более десятка. К сожалению, на территории России мест с очень хорошим астроклиматом нет.

Единственным перспективным направлением развития высокоэффективной астрономической техники остается увеличение размеров собирающих поверхностей инструментов.

телескоп азимутальный зеркало

1.     
Краткий обзор некоторых телескопов

Большой Южно-Африканский Телескоп SALT [1]

В 1970-х гг. главные обсерватории ЮАР были объединены в Южно-Африканскую Астрономическую Обсерваторию. Штаб-квартира находится в г. Кейптауне. Основные инструменты - четыре телескопа (1.9-м, 1.0-м, 0.75-м и 0.5-м) - расположены в 370 км от города в глубине страны, на холме, возвышающемся на сухом плато Кару (Karoo).

В 1948 г. в ЮАР построили 1,9-м телескоп, это был самый большой инструмент в Южном полушарии. В 90-х гг. прошлого века научные круги и правительство ЮАР решили, что южно-африканская астрономия не может оставаться конкурентоспособной в XXI столетии без современного большого телескопа. Первоначально рассматривался проект 4-м телескопа, подобного ESO NTT (New Technology Telescope - Телескоп Новой Технологии) или более современному, WIYN, - на обсерватории Китт-Пик. Однако, в конце концов выбрана концепция большого телескопа - аналога установленного на обсерватории Мак-Дональд (США) телескопа Хобби-Эберли (Hobby-Eberly Telescope - HET). Проект получил название - Большой Южно-Африканский Телескоп, в оригинале - Southern African Large Telescope (SALT).

Рисунок 1 -конструкция телескопа (SALT) БЮАТ

Большой Южно-Африканский Телескоп (Southern Afriсan Lаrge Telescope - SАLT). Видны сегментированное главное зеркало (1), конструкции следящей системы (2) и инструментальный отсек (3).

Рисунок 2 - Башня телескопа (SALT) БЮАТ

На переднем плане видна специальная юстировочная башня для обеспечения согласования сегментов главного зеркала. Фото автора.

Стоимость проекта для телескопа такого класса весьма низка - всего 20 млн. долларов США. Причем стоимость самого телескопа составляет лишь половину этой суммы, остальное - затраты на башню и инфраструктуру. Еще в 10 млн. долларов, по современной оценке, обойдется обслуживание инструмента в течение 10 лет. Столь низкая стоимость обусловлена и упрощенной конструкцией, и тем, что он создается как аналог уже разработанного.

Хобби-Эберли Телескоп (HET) Мак-Дональдской обсерватории на горе Фолкс (Техас, США). По его аналогу создается Большой Южно-Африканский Телескоп (SALT).[1]

Рисунок 3 - Хобби-Эберли Телескоп (НЕТ)

SALТ (соответственно и HET) радикально отличаются от предыдущих проектов больших оптических (инфракрасных) телескопов. Оптическая ось SALT установлена под фиксированным углом 35° к зенитныму направлению, причем телескоп способен поворачиваться по азимуту на полный круг. В течение сеанса наблюдений инструмент остается стационарным, а следящая система, расположенная в его верхней части, обеспечивает сопровождение объекта на участке 12° по кругу высот. Таким образом, телескоп позволяет наблюдать объекты в кольце шириной 12° в области неба, отстоящей от зенита на 29 - 41°. Угол между осью телескопа и зенитным направлением можно менять (не чаще чем раз в несколько лет), изучая разные области неба.

Диаметр главного зеркала - 11 м. Однако его максимальная область, используемая для построения изображений или спектроскопии, соответствует 9,2-м зеркалу. Оно состоит из 91 шестиугольного сегмента, каждый диаметром 1 м. Все сегменты имеют сферическую поверхность, что резко удешевляет их производство. Кстати, заготовки сегментов сделаны на Лыткаринском заводе оптического стекла, первичную обработку выполняли там же, окончательную полировку проводит (на момент написания статьи еще не закончена) фирма Кодак. Корректор Грегори убирающий сферическую аберрацию, эффективен в области 4?. Свет может по оптическим волокнам передаваться к спектрографам различных разрешений в термостатируемых помещениях. Возможно также установить легкий инструмент в прямом фокусе.

Телескоп Хобби-Эберли, а значит и SALT, разработаны, по существу, как спектроскопические инструменты для длин волн в интервале 0.35-2.0 мкм. SALT наиболее конкурентоспособен с научной точки зрения при наблюдении астрономических объектов, равномерно распределенных по небу или располагающихся в группах размером несколько угловых минут. Поскольку работа телескопа будет осуществляться в пакетном режиме (queue-scheduled), особенно эффективны исследования переменности в течение суток и более. Спектр задач для такого телескопа очень широк: исследования химического состава и эволюции Млечного Пути и близлежащих галактик, изучение объектов с большим красным смещением, эволюция газа в галактиках, кинематика газа, звезд и планетарных туманностей в удаленных галактиках, поиск и изучение оптических объектов, отождествляемых с рентгеновскими источниками. Телескоп SALT расположен на вершине, где уже размещены телескопы Южно-Африканской Обсерватории, приблизительно в 18 км к востоку от поселка Сазерленд (Sutherland) на высоте 1758 м. Его координаты - 20°49' восточной долготы и 32°23' южной широты. Строительство башни и инфраструктуры уже закончено. Дорога автомобилем из Кейптауна занимает приблизительно 4 часа. Сазерленд расположен далеко от всех главных городов, поэтому здесь очень ясное и темное небо. Статистические исследования результатов предварительных наблюдений, которые проводились более 10 лет, показывают, что доля фотометрических ночей превышает 50%, а спектроскопических составляет в среднем 75%. Поскольку этот большой телескоп прежде всего оптимизирован для спектроскопии, 75% - вполне приемлемый показатель.

Среднее атмосферное качество изображения, измеренное Дифференциальным Монитором Движения Изображения (DIMM), составило 0.9". Эта система, размещается немного выше 1 м над уровнем почвы. Отметим, что оптическое качество изображения SALT-0.6". Этого достаточно для работ по спектроскопии.

Англо-австралийский телескоп (ААТ).[1]


Рисунок 4 - Англо-австралийский телескоп (ААТ)

Купол Англо-австралийский телескопа (ААТ). Вид на Национальный Парк Уоррумбангл.

По современным меркам - это небольшой телескоп. Я внёс его в этот список только, чтобы заполнить пробел в приведённой выше карте телескопов, поэтому упомяну о нём бегло.

Диаметр главного зеркала - 3,9 м. Начало наблюдений - 1975 г. Расположен в Австралии, в штате Новый Южный Уэльс, в Национальном Парке Уоррумбангл (Warrumbungle). А точнее, на горе Сайдинг-Спринг (высота 1165 м) на территории обсерватории «Сайдинг-Спринг», которая принадлежит «Австралийской Астрономической Обсерватории» (ААО).

С помощью этого инструмента в основном проводится обзорное фотографирование южного полушария неба, поиски околоземных объектов, исследования газовых потоков вокруг Чёрных дыр, поиск старейших звёзд млечного пути и т.д.

Телескоп Хейла.[1]

Рисунок 5 - Купол телескопа Хейла ночью

Диаметр главного зеркала - 5,08 м. Расположен в «Маунт-Паломарской Астрономической Обсерватории» на горе Паломар (высота 1700 метров) около 200 км. от города Пасадена (США, Калифорния).

Его строительство началось в 1936 году, но из-за Второй Мировой войны работы затянулись до 1948 года. На протяжении более 20 лет, до появления в 1976 г. БТА-6, он оставался самым большим телескопом в мире.

Рисунок 6 - Труба телескопа Хейла.

Немного истории. Своему появлению этот телескоп обязан настоящему фанату астрономии по имени Джордж Эллери Хейл, который практически всю свою жизнь занимался созданием больших (для того времени) телескопов. В 1908 г. на горе Вильсон (Калифорния) он установил 1,5 метровый телескоп, в 1917 г. там же он построил уже 2,5 метровый телескоп, который оставался крупнейшим в мире до 1948 г. Но он задался целью построить ещё в 2 раза более крупный телескоп. В 1928 г. он получил для осуществления своего проекта 6 млн. долл. из Финансового Фонда Рокфеллера. Изготовление главного зеркала было доверено фирме Corning Glass Works, которая использовала для этого новое стекло Pyrex с улучшенными характеристиками. Строительство обсерватории началось в 1936 году, но из-за Второй Мировой войны работы затянулись до 1948 года. Сам Джордж Хейл умер в 1938 году, не дожив 10 лет до того как телескоп, названный его именем увидел «первый свет».

Этот инструмент и по сей день активно используется учёными для изучения вселенной, конечно, в модернизированном виде - его снабдили современным оптическим и инфракрасным сенсором и системой адаптивной оптики, которая значительно уменьшает искажения света звёзд, вносимые движениями земной атмосферы.[1]

2.      Выбор конкретного телескопа для анализа

Большой телескоп азимутальный.[1]

Около 30 лет назад в СССР построен и введен в эксплуатацию 6-м телескоп БТА (Большой телескоп азимутальный). Долгие годы он оставался крупнейшим в мире и, естественно, был гордостью отечественной науки. БТА продемонстрировал ряд оригинальных технических решений (например, альт-азимутальную установку с компьютерным ведением), ставших впоследствии мировым техническим эталоном. БТА по-прежнему мощный инструмент (особенно для спектроскопических исследований), но в начале XXI в. он уже оказался лишь во втором десятке крупных телескопов мира. Кроме того, постепенная деградация зеркала (сейчас его качество ухудшилось на 30% по сравнению с первоначальным) выводит его из числа эффективных инструментов.

Рисунок 7 - Большой телескоп азимутальный

С распадом СССР БТА остался практически единственным крупным инструментом, доступным для российских исследователей. Все наблюдательные базы с телескопами умеренного размера на Кавказе и в Средней Азии существенно потеряли свою значимость как регулярные обсерватории в силу ряда геополитических и экономических причин. Сейчас начаты работы по восстановлению связей и структур, но исторические перспективы этого процесса туманны, и в любом случае потребуется много лет только для частичного восстановления утраченного.

Разумеется, развитие парка крупных телескопов в мире предоставляет возможность российским наблюдателям для работы в так называемом гостевом режиме. Выбор такого пассивного пути неизменно означал бы, что российская астрономия будет всегда играть только второстепенные (зависимые) роли, а отсутствие базы для отечественных технологических разработок приведет к углублению отставания, и не только в астрономии. Выход очевиден - коренная модернизация БТА, а также полноценное участие в международных проектах.

Стоимость крупных астрономических инструментов как правило, исчисляется десятками и даже сотнями миллионов долларов. Такие проекты, за исключением нескольких национальных проектов, осуществляемых богатейшими странами мира, могут реализовываться только на основе международной кооперации.

Возможности кооперации в строительстве телескопов 10-м класса появились в конце прошлого века, но отсутствие финансирования, а точнее государственного интереса к развитию отечественной науки, привело к тому, что они были потеряны. Несколько лет назад Россия получила предложение стать партнером в строительстве крупного астрофизического инструмента - Большого Канарского Телескопа (GTC) и еще более финансово привлекательного проекта SALT. К сожалению, эти телескопы строятся без участия России.

3.      Модернизация телескопа БТА

В 2007 году было принято решение кардинально отреставрировать и модернизировать БТА-6.[2]

Рисунок 8 - Реставрация главного зеркала телескопа БТА-6. Лыткаринский завод оптического стекла

Главное зеркало было снято и отправлено на завод в Лыткарино, а вместо него временно установлено запасное (которое впоследствии тоже будет отреставрировано).

За прошедшие десятилетия технология шагнула далеко вперёд и теперь ЛЗОС (Лыткаринский завод оптического стекла) может из старого изношенного зеркала создать практически идеальное, в три (!) раза превосходящее старое по оптическим характеристикам. Кризис затруднил финансирование работ, поэтому на момент написания статьи (2012) новое зеркало ещё не готово. Предположительно это случится в середине 2013 года.

С новым зеркалом, а так же с уже используемыми на БТА-6 современными оптическими приёмниками (ПЗС-матрицы, охлаждаемые жидким азотом для уменьшения собственных шумов), этот телескоп должен войти в десятку лучших по своим характеристикам телескопов мира. Скорее всего ненадолго, так как время как всегда идёт вперёд…

Развитие обработки изображений от телевизионных камер на оптических телескопах идет по двум основным направлениям:

·              передача аналоговых сигналов в специализированный сервер для их оцифровки и обработки;

·              оцифровка изображений контроллерами телекамер с передачей цифровых сигналов для дальнейшей обработки и архивизации.

В качестве первого подхода к созданию цифровой видеосети БТА, нами был принят простой и доступный вариант с оцифровкой аналоговых телевизионных сигналов контроллерами фирмы "Videoscan" и использованием стандартного компьютера в качестве центрального видеосервера.

Наблюдательная аппаратура на БТА устанавливается в 3-х фокусах: в первичном фокусе (ПФ) и вторичных фокусах (Н1 и Н2). От аппаратной БТА, с учетом линий связи, эти фокусы удалены, в среднем, на расстояние 150 - 200м. Эти характеристики телескопа определили структуру и технические параметры видеосети.

Видеосеть БТА представляет собой телевизионный комплекс, в котором сигналы от всех телекамер поступают в видеосервер для дальнейшей оцифровки, компьютерного контроля и обработки изображений наблюдаемых объектов.

В состав цифрового телевизионного комплекса входят:

·              телекамеры поля и щелей спектрографов в фокусах Н1 и Н2;

·              телекамеры поля и щелей спектрографов в ПФ;

·              телекамеры для получения прямых снимков в ПФ;

·              внешние телекамеры обзора неба над БТА;

·              видеокамера контроля телескопа в подкупольном пространстве БТА;

·              контроллеры VS56/VS60;

·              видеосервер на базе персонального компьютера;

·              устройства управления телевизионными камерами;

·              интерфейс наблюдений;

·              программное обеспечение

Большой телескоп азимутальный (БТА) с диаметром зеркала 6 м является крупнейшим в Евразии оптическим телескопом. Специальная астрофизическая обсерватория РАН обеспечивает непрерывную работу телескопа по заявкам как российских, так и зарубежных ученых в режиме коллективного доступа. Необходимая для астрофизических наблюдений научная аппаратура разрабатывается и изготавливается силами сотрудников обсерватории. Телескоп установлен у подножия горы Пастухова на высоте 2070 м над уровнем моря.

. Некоторые характеристики телескопа БТА

Таблица 1 - Характеристики телескопа БТА

Диаметр главного зеркала

6.05 м

Фокусное расстояние

24 м

Фокусное расстояние системы не подвижного фокуса с линзовой удлиняющей системой

349.4 м

Рабочая (собирающая) поверхность зеркала

25.1 кв.м

Спектральный диапазон

0.3-10 мкм

Угловое разрешение

0.6"

Разрешение в режиме работы спекл-интерферометра

0.02"

Масса главного зеркала

42 тонны

Масса телескопа

850 тонн

Высота телескопа

42 м

Высота башни

53 м


Таблица 2 - Оптические системы, испульзуемые в БТА


* - Расшифровка наименования системы:

- фокус главного зеркала,

- двухлинзовый корректор аберраций в системе первичного фокуса,

- вторичное гиперболоидное зеркало системы вторичного фокуса,

- фокальные плоскости систем вторичного фокуса,

- линзовая укорачивающая система,

- линзовая удлиняющая система,

- оптическая система с интерференционно-поляризационными фильтрами

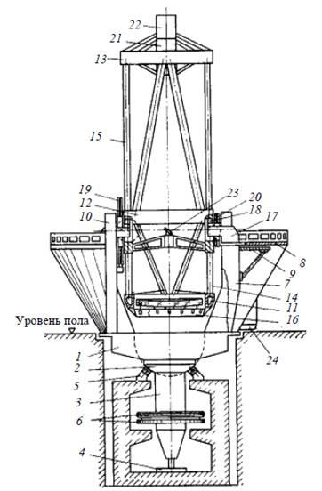
5. Схема конструкции шестиметрового телескопа БТА на альт-азимутальной монтировке

Рисунок 9 - Схема конструкции Телескопа БТА: 1 - платформа,2 - сферическое кольцо, 3 - ось, 4 - радиальный подшипник,5 - опора жидкостного трения, 6 - блок колес, 7 - стойка, 8 - рабочие балконы,9 - кронштейн балкона, 10 - лифт, 11 - нижнее кольцо,12 - „средник“,13 - верхнее кольцо, 14 - нижняя штанга, 15 - верхняя штанга,16 - оправа главного зеркала с разгрузочным устройством, 17 - консольные балки,18 - гидростатические подушки, 19 - червячная шестерня, 20 - кабельный барабан,21 - стакан первичного фокуса, 22 - кабина наблюдателя, 23 - зеркало неподвижного фокуса, 24 - основной звездный спектрограф.

6. Построение примерной структурной схемы телескопа БТА

Рисунок 10 - Спектрограф

. телекамеры поля и щелей спектрографов в фокусах Н1 и Н2

2. телекамеры поля и щелей спектрографов в ПФ;

. телекамеры для получения прямых снимков в ПФ;

. внешние телекамеры обзора неба над БТА;

5. видеокамера контроля телескопа в подкупольном пространстве БТА

Список литературы

1. Самые крупные в мире телескопы

. К 110-летию СПбГУ ИТМО

. БТА СОА РАН: НПК ВИДЕОСКАН

Похожие работы на - Большой азимутальный телескоп

 

Не нашли материал для своей работы?
Поможем написать уникальную работу
Без плагиата!
Без нейросетей!