Огнетушащие вещества и их свойства. Назначение, устройство и принцип действия пенных огнетушителей

  • Вид работы:
    Реферат
  • Предмет:
    Безопасность жизнедеятельности
  • Язык:
    Русский
    ,
    Формат файла:
    MS Word
    225,38 Кб
  • Опубликовано:
    2015-03-12
Вы можете узнать стоимость помощи в написании студенческой работы.
Помощь в написании работы, которую точно примут!

Огнетушащие вещества и их свойства. Назначение, устройство и принцип действия пенных огнетушителей

Федеральное государственное бюджетное образовательное учреждение высшего профессионального образования

РОССИЙСКАЯ АКАДЕМИЯ

НАРОДНОГО ХОЗЯЙСТВА и ГОСУДАРСТВЕННОЙ СЛУЖБЫ

при ПРЕЗИДЕНТЕ РОССИЙСКОЙ ФЕДЕРАЦИИ

ЧЕЛЯБИНСКИЙ ФИЛИАЛ

Кафедра экономики и менеджмента




Реферат

Огнетушащие вещества и их свойства.

Назначение, устройство и принцип действия пенных огнетушителей



Диндибериной Юлии Олеговны

Студентки 4 курса, группы Мо-41-11

Руководитель:

Рудакова Т.И. к.т.н., доц.

.


Челябинск

г

Оглавление

Введение

Глава 1. Огнетушащие вещества

Понятие пожара

Вода, как огнетушащее вещество

Пены

Огнетушащие порошки       

Галоны

Подручные огнетушащие вещества

Глава 2. Пенные огнетушители

Назначение пенных огнетушителей

Устройство и принцип работы пенных огнетушителей

Заключение

Библиографический список


Введение

В данный момент существует множество различных средств пожаротушения, с различными характеристиками и способами применения. В связи с этим я считаю, что каждый пожарный должен знать классификацию этих веществ и область их применения. Это обусловлено тем, что от правильного выбора огнетушащего вещества напрямую будет зависеть скорость и эффективность тушения пожара или возгорания, а также жизнь и здоровье личного состава принимающего участие в ликвидации ЧС. Немало важным является знание того как правильно скомбинировать подачу того или иного огнетушащего вещества и его количество необходимое для достижения максимального эффекта.

Актуальность проблемы рассматриваемой темы заключается в том, что пожары являются одним из распространенных и опасных бедствий на планете. Ежегодно в пожарах гибнут и получают увечье десятки тысяч человек, на миллиарды долларов сгорает ценностей.

Ежедневно мы получаем от СМИ сведения о пожарах со всех континентов. Огромные массивы леса и населенные пункты выгорают в Азии, в Европе, в Америке, в Америке и в Африке. А поэтому проблема борьбы с пожарами является мировой проблемой.

Можно с уверенностью сказать, что сейчас в России пожаров в 10 раз больше, чем 100 лет назад. Ежегодно их происходит около 300 тысяч. Относительный уровень потерь в России самый высокий среди высокоразвитых стран мира. Он превышает сопоставимые показатели потерь Японии - в 3,5 раза, Великобритании - в 4,5 раза, США - в 3 раза.

На территории России ежедневно происходит в среднем около 600 пожаров, в которых погибают 55 человек; уничтожается около 200 строений. В городах происходят 70% всех возгораний.

Цель данной работы - проанализировать существующие на данный момент огнетушащие вещества, их характеристики и способы применения в ходе тушения пожаров возникших на различных объектах и при определенных условиях характерных для того или иного пожара.

Для достижения цели необходимо решить ряд задач:

Дать понятие, что такое пожар, огнетушащее вещество;

Охарактеризовать огнетушащие вещества;

Указать способы применения огнетушащих веществ.

Глава 1. Огнетушащие вещества

Понятие пожара

Что же собой представляет пожар, как социальное явление? Это неконтролируемые горения, причиняющие материальный ущерб, вред жизни и здоровье граждан, интересам общества и государства.

Обычно пожары возникают на пожароопасных объектах (ПОО). К ПОО следует относить такие объекты, на которых имеются легковоспламеняющиеся или горючие вещества или жидкости. К легковоспламеняющимся веществам или жидкостям относятся вещества или жидкости, имеющие температуру воспламенения ниже 48оС; к горючим - свыше 45оС.

Пожары классифицируются по следующим признакам: по месту возникновения, по причине возникновения, по виду пожаров по интенсивности горения и др.

Статистика нам дает такую картину распределения возникновения пожаров:

в результате хозяйственной деятельности аборигенов - 64,8%;

работа лесозаготовителей, экспедиций и др. организаций дает 8,8% пожаров;

сельскохозяйственные палы - 7,3%;

молнии - 16%;

поджоги и неустановленные причины - 3,1%.

Пожаротушение - процесс воздействия сил и средств, а также использование методов и приемов для ликвидации пожара.

При тушении пожара обычно используют следующие огнетушащие вещества:

Жидкости: распыленная вода; пена.

Газы: углекислый газ; галоны 12В1, 13В1.

Огнетушащие порошки: фосфат аммония; бикарбонат натрия; бикарбонат калия; хлорид калия.

В Российской Федерации с 1 мая 2009 года основная классификация установлена «Техническим регламентом о требованиях пожарной безопасности». Статья 8 Регламента определяет классы пожаров:

Класс пожара

Характеристики горящих материалов и веществ

Огнетушащие составы

А

Горение твердых горючих материалов, кроме металлов(дерево, уголь, бумага)

Вода и другие средства

В

Горение жидкостей и плавящихся материалов

Распыленная вода, пена, порошки

С

Горение газов

Газовые составы, порошки, вода для охлаждения

Горение металлов и их сплавов(Na,Mg,Al)

Порошки при их спокойной подаче на горящую поверхность

Е

Горение оборудования, находящегося под напряжением

Порошки, углекислый газ, хладоны, АОС

Таблица 1. Классификация пожаров и способы их тушения

Далее приведем краткую характеристику различных огнегасящих веществ и способы их применения.

Вода

Вода - это, главным образом, охлаждающее вещество. Она поглощает теплоту и охлаждает горящие материалы эффективнее любого другого из обычно применяющихся огнетушащих веществ. Вода наиболее эффективна для поглощения теплоты при температуре до 100°С. При температуре 100°Свода продолжает поглощать теплоту, превращаясь в пар, и отводит поглощенную теплоту от горящего материала. Это быстро снижает его температуру до значения ниже температуры его воспламенения, в результате чего пожар прекращается.

Вода имеет важный вторичный эффект: превращаясь в пар, она расширяется при этом в 1700 раз. Возникшее большое облако пара окружает пожар, вытесняя воздух, в котором содержится кислород, необходимый для поддержания процесса горения. Таким образом, кроме охлаждающей способности, вода обладает эффектом объемного тушения.

Вода является широко применяемым средством пожаротушения ,это обусловлено следующими достоинствами воды:

дешевизна и доступность;

относительно высокая удельная теплоемкость;

химическая инертность к большинству веществ и материалов.

Пена

Пена - это скопление пузырьков, которое способствует ликвидации пожара, главным образом, за счет эффекта поверхностного тушения. Пузырьки возникают при смешивании воды с пенообразователем. Пена легче самого легкого воспламеняющегося нефтепродукта, поэтому при подаче на горящий нефтепродукт она остается на его поверхности.

Огнетушащий эффект пены. Пена используется для создания слоя на поверхности воспламеняющихся жидкостей, включая нефтепродукты. Слой пены не дает возможности воспламеняющимся парам выходить за пределы поверхности, а кислороду проникать к горючему веществу. Вода, которая содержится в пенном растворе, имеет также и охлаждающий эффект, что позволяет успешно применять пену для тушения пожаров класса A.

Идеальная пена должна течь достаточно свободно и быстро покрывать поверхность, прочно соединяясь с ней для создания и поддержания паронепроницаемого слоя, и сохранять количество воды, необходимое для обеспечения прочного слоя в течение продолжительного времени. При быстрой потере воды пена высыхает и разрушается под воздействием высокой температуры, образующейся при пожаре. Пена должна быть достаточно легкой, чтобы плавать на поверхности воспламеняющихся жидкостей, и вместе с тем достаточно тяжелой, чтобы ее не сносило ветром.

Качество пены обычно определяется:

временем разрушения 25% ее объема,

относительным расширением

способностью выдерживать тепло (сопротивлением обратному удару пламени).

На эти качества влияют химический состав пенообразователя, температура и давление воды, эффективность пенообразующего устройства.

Пена, быстро теряющая воду, практически представляет собой жидкость. Она свободно обтекает препятствия и быстро распространяется.

При правильном использовании, пена - эффективное огнетушащее вещество. Тем не менее, существуют определенные ограничения в ее применении.

Поскольку пена представляет собой водный раствор, она проводит электричество, поэтому ее нельзя подавать на электрооборудование, находящееся под напряжением.

Пену, так же как и воду, нельзя применять для тушения горючих металлов.

Многие типы пены нельзя употреблять с огнетушащими порошками. Исключение из этого правила составляет "легкая вода", которая может использоваться с огнетушащим порошком.

Пена не годится для тушения пожаров, связанных с горением газов и криогенных жидкостей. Но высокократная пена применяется при тушении растекающихся криогенных жидкостей для быстрого подогрева паров и уменьшения опасностей, сопутствующих такому растеканию.

Если пена подается на горящие жидкости, температура которых превышает 100°С (например, асфальта), то вода, содержащаяся в пене, может вызвать их вспучивание, разбрызгивание и вскипание.

Запаса пенообразователя должно хватать для покрытия пеной всей поверхности горящего материала. Кроме того, его должно быть достаточно для замены той пены, которая выгорает, и заполнения разрывов, образующихся на ее поверхности.

Несмотря на существующие ограничения в применении, пена очень эффективна при борьбе с пожарами классов A и B.

Пена - очень эффективное огнетушащее вещество, которое, кроме того, обладает и охлаждающим эффектом.

Пена создает паровой барьер, препятствующий выходу воспламеняющихся паров наружу. Поверхность цистерны может быть покрыта пеной для защиты ее от пожара в соседней цистерне.

Пена может быть использована для тушения пожаров класса А в связи с наличием в ней воды. Особенно эффективна "легкая вода".

Пена - эффективное огнетушащее вещество для покрытия растекающихся нефтепродуктов. Если нефтепродукт вытекает, нужно попытаться закрыть клапан и таким образом прервать поток. Если это невозможно сделать, надо преградить путь потоку при помощи пены, которую следует подавать в район пожара для его тушения и затем для создания защитного слоя, покрывающего просачивающуюся жидкость.

Пена - наиболее эффективное огнетушащее вещество для тушения пожаров в больших емкостях с воспламеняющимися жидкостями.

Для получения пены может использоваться пресная или забортная, жесткая или мягкая ввода.

Пена не склонна к быстрому разрушению, при правильной подаче она тушит пожар постепенно.

Пена удерживается на месте, покрывает горящую поверхность и поглощает теплоту, содержащуюся в тех материалах, которые могут вызвать повторное возгорание.

Пена обеспечивает экономный расход воды и не вызывает перегрузки судовых пожарных насосов.

Пенообразователи имеют небольшой вес, системы пенотушения не требуют много места.

Огнетушащие порошки

Огнетушащие вещества в виде порошка делятся на огнетушащие порошки общего назначения и огнетушащие порошки специального назначения, которые используются только для тушения пожаров горючих металлов.

В настоящее время применяются пять типов огнетушащих порошков общего назначения. Аналогично другим огнетушащим средам огнетушащие порошки могут использоваться в стационарных системах и в переносных, а также стационарных огнетушителях.

Бикарбонат натрия. Это один из основных огнетушащих порошков. Он находит широкое применение в связи с тем, что является самым экономичным из всех существующих. Он особенно эффективен при тушении пожаров животных жиров и растительных масел, поскольку вызывает химические изменения в этих веществах, превращая их в невоспламеняющееся мыло. При использовании бикарбоната натрия всегда нужно помнить о возможности обратного выброса пламени на поверхность горящего масла.

Бикарбонат калия. Этот огнетушащий порошок первоначально был разработан для использования в сдвоенных системах с "легкой водой", но в настоящее время он, как правило, используется самостоятельно. Было установлено, что он очень эффективен при тушении пожаров жидкого топлива. Применение бикарбоната калия позволяет успешно предотвращать обратный выброс пламени. Этот порошок стоит дороже бикарбоната натрия.

Хлорид калия. Это огнетушащий порошок, который совместим с пеной на протеиновой основе. Его огнетушащие качества примерно равноценны качествам бикарбоната калия, единственный недостаток заключается в том, что после его применения для тушения пожаров возможно появление коррозии.

Смесь мочевины и бикарбоната калия. Этот порошок, разработанный в Англии и состоящий из мочевины и бикарбоната калия, является наиболее эффективным из всех испытанных огнетушащих порошков. Однако он не нашел широкого применения, ввиду высокой стоимости.

Фосфат аммония. Этот порошок является универсальным, поскольку может успешно применяться при тушении пожаров классов A, B и C. Соли аммония разрывают цепную реакцию пламенного горения. Фосфат превращается при повышении температуры, вызванной пожаром, в метафосфорную кислоту - стекловидное плавкое вещество. Кислота покрывает твердые поверхности огнезадерживающим слоем, поэтому это огнетушащее вещество может применяться для тушения пожаров, связанных с горением обычных горючих материалов, таких как древесина и бумага, а также пожаров воспламеняющихся нефтепродуктов, газов и электрооборудования. Но что касается пожаров, очаги которых расположены на значительной глубине, то этот порошок позволяет только взять пожар под контроль, но не обеспечивает полного тушения.

Для окончательной ликвидации такого пожара требуется тушение водой. Вообще всегда следует помнить о целесообразности иметь под рукой раскатанный пожарный рукав, которым можно воспользоваться в качестве дополнительного средства при использовании порошкового огнетушителя.

Ограничения в применении огнетушащих порошков

Выпуск большого количества огнетушащего порошка может оказать вредное влияние на находящихся поблизости людей. Образующееся непрозрачное облако может значительно ухудшить видимость и затруднить дыхание.

Как и другие огнетушащие среды, не содержащие воды, огнетушащие порошки не тушат пожаров, связанных с горением материалов, в состав которых входит кислород.

Огнетушащий порошок может оставить изолирующий слой на электронном или телефонном оборудовании, влияющий на работу этого оборудования.

При тушении горючих металлов, таких как магний, калий, натрий и их сплавы, порошок общего назначения не дает огнетушащего эффекта, а в некоторых случаях может вызвать бурную химическую реакцию.

В местах, где имеется влага, огнетушащий порошок может вызвать коррозию или деформацию поверхности, на которой он осаждается.

Безопасность

Огнетушащие порошки считаются нетоксичными, но при вдыхании они могут вызвать раздражение дыхательных путей. Поэтому, так же как и в случае углекислотного тушения, в помещениях, которые могут заполняться огнетушащим порошком, необходимо предусмотреть предварительные сигналы. Кроме того, если личному составу принимающему участие в тушении пожара нужно войти в помещение, куда был подан порошок, до окончания проветривания, они должны обязательно воспользоваться дыхательными аппаратами и сигнальными тросами.

Применение огнетушащих порошков очень эффективно для тушения пожаров газа. Воспламенившиеся газы нужно тушить тогда, когда будет перекрыт источник газа.

Галоны

Галоны состоят из углеводорода и одного или нескольких галогенов: фтора, хлора, брома и йода. В России применяют два галона: бромтрифторметан (известный как хладон 13В1) и бромхлор-дифтор-метан (хладон 12В1).

Галоны 13В1 и 12В1 подаются в зону горения в виде газа. Большинство специалистов считает, что галоны прерывают цепную реакцию. Но точно неизвестно, замедляют ли они цепную реакцию, прерывают ее течение или вызывают какую-то другую реакцию.

Галон 13В1 хранится и перевозится в жидком состоянии под давлением. При выпуске в защищаемое помещение он испаряется, превращаясь в бесцветный газ, не имеющий запаха, и подается в зону горения под тем же давлением, под которым хранится. Галон 13В1 не проводит электричества.

Галон 12В1 также бесцветен, но имеет слабый сладковатый запах. Этот галон хранится и перевозится в жидком состоянии и поддерживается под давлением газообразного азота, которое необходимо для обеспечения надлежащей подачи его в зону пожара, так как давление паров галона 12В1 слишком мало для этого. Он не проводит электричества.

Применение галонов

Огнетушащие качества галонов 12В1 и 13В1 позволяют использовать их для тушения различных пожаров, в том числе:

пожаров электрооборудования;

пожаров в помещениях, в которых возможно горение воспламеняющихся масел и консистентных смазок;

пожаров класса A, связанных с горением твердых горючих веществ, однако если очаг пожара находится глубоко внизу, для тушения пожара может потребоваться смачивание водой;

Для тушения пожаров, связанных с горением электронно-вычислительных машин и постов управления, рекомендуется использовать галон 13В1. Применять в этих случаях галон 12В1 не следует.

Существуют некоторые ограничения употребления галонов. Они непригодны для тушения веществ, содержащих кислород, горючих металлов и гидридов.

Безопасность

Вдыхание галонов 13В1 и 12В1 может вызвать головокружение и нарушение координации движений. Эти газы способны ухудшить видимость в зоне их применения. При температуре выше 500°С газы обоих галонов разлагаются. Обычно пары при температуре ниже указанной не считаются очень токсичными, но разложившиеся газы могут быть очень опасными, что зависит от их концентрации, температуры и количества.

Галон 12В1 не рекомендуется применять для заполнения ограниченных помещений. Если галон 13В1 используется для заполнения помещений, в которых могут находиться люди, должен быть предусмотрен предупредительный сигнал, услышав который необходимо немедленно покинуть помещение. При употреблении огнетушителя с галоном 13В1 все люди, непосредственно не занятые работой с огнетушителем, должны тотчас же покинуть район пожара. После использования огнетушителя человек, работавший с ним, должен по возможности быстро уйти. В помещение нельзя входить до тех пор, пока оно не будет тщательно провентилировано. Если нужно остаться в помещении, куда был подан галон 13В1, или войти в него, следует воспользоваться дыхательным аппаратом и сигнальным тросом

Подручные огнетушащие вещества

Песок, опилки, пар

Песок, используемый для тушения пожара, не обладает такой эффективностью, которой отличаются современные огнетушащие вещества.

Песок дает возможность ликвидировать пожары масел, создавая эффект объемного тушения и покрывая поверхность горящего вещества. Однако, если толщина горящего масла составляет примерно 25 мм и в распоряжении людей, ведущих борьбу с пожаром, не будет достаточного количества песка для покрытия всего горящего масла, песок осядет под поверхностью масла и ликвидировать пожар не удастся. При правильном применении песок может быть использован в качестве преграды на пути растекающегося масла или для покрытия его.

Песок следует подавать на пожар с помощью совка или лопаты. Его и без того незначительная эффективность может быть еще более снижена при неумелой подаче. После ликвидации пожара возникает проблема уборки песка. Кроме указанных недостатков, следует упомянуть об абразивных свойствах песка при попадании его в механизмы и другое оборудование.

Трудно потушить при помощи песка пожар, связанный с горением горючих металлов, так как при очень высокой температуре, сопровождающей такие пожары, песок выделяет кислород. Присутствие воды в песке будет способствовать усилению пожара или вызывать взрыв пара. Песок может быть использован только в качестве преграды на пути растекающегося расплавленного металла, а для тушения такого пожара следует воспользоваться порошком специального назначения.

Опилки

Иногда для тушения небольших пожаров используются опилки, пропитанные содой. Как и песок, они подаются на пожар совком с небольшого расстояния. Недостатки опилок как огнетушащей среды те же, что и песка. Более эффективной заменой опилок является огнетушитель, пригодный для тушения пожаров класса B, по тем же причинам, которые были приведены для песка.

Пар

Пар - это объемная огнетушащая среда, препятствующая поступлению воздуха к пожару и снижающая концентрацию кислорода в воздухе вокруг пожара. Пока пар заполняет объем, повторного возгорания не произойдет. Но он имеет ряд недостатков, особенно по сравнению с другими огнетушащими средами.

Пар обладает слабой теплопоглощающей способностью, вследствие чего его охлаждающий эффект очень невелик. Кроме того, при прекращении подачи пар начинает конденсироваться. Его объем значительно уменьшается, и горючие пары и воздух тотчас начинают поступать к огню, вытесняя пар. В этот момент, если пожар не был полностью потушен, вполне вероятно повторное возгорание. Температура самого пара достаточно высока для воспламенения многих жидких горючих веществ. И, наконец, пар представляет опасность для людей, так как содержащаяся в нем теплота может вызвать тяжелые ожоги.

Глава 2. Пенные огнетушители

Назначение пенных огнетушителей

Пенные огнетушители предназначены для тушения пожаров и загораний твердых веществ и материалов, ЛВЖ и ГЖ, кроме щелочных металлов и веществ, горение которых происходит без доступа воздуха, а также электроустановок под напряжением.

По виду огнетушащего вещества пенные огнетушители классифицируются:

химические пенные (ОХП);

воздушно-пенные (ОВП);

Промышленность выпускает три вида ручных химических пенных огнетушителей: ОХП-10, ОП-М, ОП-9ММ. Химические пенные огнетушители предназначены для тушения пожаров химической пеной, которая образуется в результате взаимодействия щелочной и кислотной частей зарядов.

Категорически запрещается применять огнетушитель для тушения пожаров электроустановок, находящихся под напряжением, а также щелочных металлов. Огнетушитель рекомендуется использовать на стационарных объектах народного хозяйства при температуре окружающего воздуха от +5до +45 °С. пожар огнетушитель пена тушение

Воздушно-пенные огнетушители предназначены для тушения загораний различных веществ и материалов, кроме щелочных металлов и веществ, горящих без доступа воздуха, а также электроустановок, находящихся под напряжением. В качестве заряда применяют, как правило, 6%-й водный раствор пенообразователя ПО-1.

Устройство и принцип работы пенных огнетушителей

Чтобы привести в действие химический пенный огнетушитель, поднимают вверх рукоятку, открывающую клапан кислотного стакана, и опрокидывают огнетушитель вниз головкой. Вытекающая из стакана кислотная часть заряда смешивается со щелочной, залитой в корпус огнетушителя, и между ними происходит реакция с образованием углекислого газа, заполняющего пузырьки пены.

Углекислотный газ создает давление 1,4 МПа (14 кг/см2) внутри корпуса, которое выталкивает пену из огнетушителя в виде струи. Ввиду того, что в корпусах химических пенных огнетушителей создается сравнительно высокое давление, перед работой необходимо прочистить спрыск шпилькой, подвешенной к ручке огнетушителя.

Химический густопенный морской огнетушитель ОП-М предназначен для тушения загораний на судах, в портовых сооружениях и на складах. Химический пенный огнетушитель ОП-9ММ предназначен для тушения загораний и пожаров всех горючих материалов, а так же электроустановок, находящихся под напряжением.

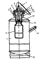
Рис. 1. Схема химического пенного огнетушителя ОХП-10: 1 - корпус огнетушителя; 2 - кислотный стакан; 3 - предохранительная мембрана; 4 - спрыск; 5 - крышка огнетушителя; 6 - шток; 7 - рукоятка; 3 и 9 - резиновые прокладки; 10 - пружина; 11 - горловина; 12 - верх огнетушителя; 13 - резиновый клапан; 14 - боковая ручка; 15 - днище.

Рис.2. Огнетушитель воздушно-пенный ОВП-10: I - стальной корпус; 2 - рукоятка для переноса; 3 - баллончик для выталкивающего газа; 4 - воздушно-пенный насадок с распылителем; 5 - пусковой механизм; 6 - крышка корпуса огнетушителя; 7 - сифонная трубка насадка.

Различают два вида воздушно-пенных огнетушителей (рис. 2, 3): ручные (ОВП-5 и ОВП-10) и стационарные (ОВПУ-250 и ОВП-100). Для приведения в действие огнетушителя необходимо нажать на пусковой рычаг. При этом пломба срывается, и щиток прокалывает мембрану баллона. Выходящая из баллончика через ниппель углекислота создает в корпусе огнетушителя давление, под действием которого раствор по сифонной трубке поступает через распылитель в насадку. В насадке раствор смешивается с воздухом и образуется воздушно-механическая пена.

Огнетушитель не может быть применен для тушения веществ, горение которых происходит без доступа воздуха (хлопок, пироксилин и т.п.), горящих металлов (щелочных натрий и т.п. и легких магний и т.п.). Запрещается использовать для тушения электроустановок, находящихся под напряжением. Огнетушитель применяют при температуре окружающего воздуха от +3 до +50 С.

Рис. 3. Огнетушитель воздушно-пенный стационарный ОВПУ-250: 1 - стальной корпус на опорах; 2 - пусковой баллон; 3 - пеногенератор; 4 - катушка со шлангом; 5 - предохранительный клапан; 6 - патрубок для заливки раствора пенообразователя; 7 - сифонная трубка пеногенератора; 8 - сливной патрубок; 9 - трубка контроля раствора пенообразователя.

Заключение

Целью данного реферата было проанализировать существующие на данный момент огнетушащие вещества, их характеристики и способы применения в ходе тушения пожаров возникших на различных объектах и при определенных условиях характерных для того или иного пожара. И в ходе работы было выявлено, что основными огнетушащими веществами являются: вода, порошки, пены, галлоны, песок, опилки, пар. У каждого из перечисленных веществ есть свои преимущества и недостатки в использовании при тушении пожаров, во многом это зависит от типов пожаров, классификация которых также была приведена в работе.

Библиографический список

ГОСТ 28130-89 Пожарная техника. Огнетушители. Установки пожаротушения и пожарной сигнализации.

Миронов С.К., Латук В.Н. Первичные средства пожаротушения. Дрофа, 2008

Теребнев В.В. Справочник руководителя тушения пожара. Возможности пожарных подразделений. Москва. "Пожаротехника" 2004 г.

Учебное пособие. Безопасность жизнедеятельности. ЯЗРИ ПВО. 2002.

Юдахин А.В. Методическое пособие. Вопросы организации БВС в процессе повседневной деятельности в частях ВВС. 2001.

Похожие работы на - Огнетушащие вещества и их свойства. Назначение, устройство и принцип действия пенных огнетушителей

 

Не нашли материал для своей работы?
Поможем написать уникальную работу
Без плагиата!
Без нейросетей!