Меры и средства защиты при проведении электрогазосварочных работ

  • Вид работы:
    Курсовая работа (т)
  • Предмет:
    Безопасность жизнедеятельности
  • Язык:
    Русский
    ,
    Формат файла:
    MS Word
    1,41 Мб
  • Опубликовано:
    2015-03-28
Вы можете узнать стоимость помощи в написании студенческой работы.
Помощь в написании работы, которую точно примут!

Меры и средства защиты при проведении электрогазосварочных работ

Федеральное агентство по образованию

Государственное образовательное учреждение высшего профессионального образования

Нижегородский государственный технический университет

им. Р.Е. Алексеева







Пояснительная записка

к курсовому проекту по дисциплине

«Производственная безопасность»

на тему

«Меры и средства защиты при проведении электрогазосварочных работ»

Руководитель

Г. В. Пачурин

Студент

Жафяров И. А.



Нижний Новгород 2013 г.

Введение

Актуальность исследования. Как известно, роль металла в жизни человека переоценить трудно. Металл характеризуется высокой твердостью, долговечностью и технологичностью в обработке. Он способен выдерживать такие нагрузки, которые выводят из строя большинство других материалов. Поэтому обработка металлов, их резка и сварка интересуют человечество очень давно. Сварка позволила создать принципиально новые конструкции машин, внести коренные изменения в технологические процессы, связанные с обработкой металлов. Сварка в среде защитных газов позволила выполнять эту операцию с металлами, которые обычным способом сваривать невозможно. Автоматизация процессов сварки резко повысила производительность труда и качество сварных соединений.

Однако ручная сварка не собирается сдавать свои позиции, особенно в строительных и ремонтно-строительных работах, а также в условиях малых мастерских. Возросший интерес к сварке объясняется появлением различных малых и больших фирм, в мастерских которых выполняют достаточно значительный объем сварочных работ.

Цель работы - изучение мер и средств обеспечения безопасности при проведении электрогазосварочных работ.

Основные задачи работы:

·   выявление опасных факторов при проведении электрогазосварочных работ;

·   определение основных мер и средств безопасности при проведении электрогазосварочных работ.

Предметом исследования являются меры безопасности и средства защиты при проведении электрогазосварочных работ.

В качестве объекта исследования приняты процессы, сопровождающиеся опасными факторами, протекающие проведение электрогазосварочных работ.

. Общие сведения о технологическом процессе и производственно оборудовании

Под сваркой понимают образование искусственных условий для получения неразъемных деталей посредством создания межатомных связей между их поверхностями при помощи общего или местного нагрева, пластического деформирования или этих двух действий одновременно. Для этого элементарные частицы свариваемых деталей сближаются между собой настолько, что между ними начинают действовать межатомные связи, сопровождающиеся сложными физическими и химическими процессами и обеспечивающие механическую прочность соединения.

Основные физические процессы, лежащие в основе различных способов сварки, заключаются:

в местном расплавлении материала свариваемых заготовок (деталей) и последующем сплавлении, кристаллизации расплавленного металла с образованием общих для соединяемых заготовок кристаллических решеток;

в создании условий, благоприятных для адгезии (схватывания) поверхностей свариваемых заготовок путем очищения контактируемых поверхностей от оксидов, загрязнений, нагрева и совместного пластического деформирования;

в создании условий, благоприятных для взаимной диффузии атомов в поверхностных слоях контактирующих материалов, находящихся в твердом состоянии;

в объединении частей молекулярных цепей при сварке пластмасс.

Сваркой соединяют однородные и разнородные металлы и их сплавы, металлы с некоторыми неметаллическими материалами (керамикой, графитом, стеклом и др.), а также пластмассы.

Существует свыше 60 различных способов сварки, отличающихся друг от друга способами нагрева заготовок, источниками энергии, наличием или отсутствием расплавления материала свариваемых заготовок, применением присадочных материалов или плавящихся электродов, совместного пластического деформирования, диффузии и т. д.

Классифицируют различные способы сварки по большому числу признаков.

С учетом природы физических процессов, обеспечивающих получение неразъемных соединений, различные способы сварки принято подразделять на 2 основные группы: термические (или способы сварки плавлением) и термомеханические, сочетающие применение нагрева заготовок с механическим воздействием (давлением).

Термомеханическая сварка основана на сближении свариваемых поверхностей до образования межатомных связей путем схватывания (адгезии) или путем диффузии. Для возникновения адгезионных связей необходимы высокие давления, повышенные гомологические температуры, а также отсутствие оксидных пленок, наличие чистых поверхностей контактирующих металлов (материалов). Поскольку для такого сближения контактируемых поверхностей и создания высоких давлений необходимы большие удельные силы, в месте адгезионного соединения поверхностей свариваемых заготовок обычно происходит пластическая деформация.

Для легкоплавких пластичных металлов (алюминия, меди, кадмия, свинца, золота, серебра, цинка) благоприятные для схватывания условия могут достигаться при пластической деформации уже при комнатной температуре окружающей среды. Поэтому сварку деталей из этих материалов зачастую выполняют без предварительного нагрева заготовок. Такой способ получения неразъемных соединений местной пластической деформацией без предварительного нагрева заготовок называют холодной сваркой (рис. 1) или механической сваркой [12].

Высокопрочные и тугоплавкие металлы, в том числе и стали, требуют для создания благоприятных для схватывания условий предварительного подогрева заготовок непосредственно перед их пластическим деформированием (осаживанием). Такие способы получения неразъемных соединений относят к термомеханической сварке.

При сварке взрывом благоприятные для схватывания свариваемых поверхностей условия создаются с помощью энергии направленного взрыва.

Одна из соединяемых заготовок (4) кладется на жесткое основание, а другая (3) располагается к ней на минимальном расстоянии  под углом (рис.2) [12].

Рис. 1. Схема холодной сварки: 1 - свариваемые заготовки4 2 - зачищенные поверхности свариваемых заготовок; 3 - поверхности пуансонов; 4 - пуансоны; 5 - выступы пуансонов

Рис. 2. Принципиальная схема сварки взрывом

На заготовку 3 наносится слой взрывчатого вещества 2 толщиной H и с краю заготовки 3, отстоящего от заготовки 4 на наименьшем расстоянии , устанавливают детонатор 1 [12]. При срабатывании детонатора детонация взрывчатого вещества сообщает пластине 3 импульс тепловой и кинетической энергии со скоростью несколько тысяч метров в секунду. Край пластины 3 ударяется о заготовку 4. Соударение пластин вызывает нагрев и пластическое течение металла в поверхностных слоях заготовок, создавая условия, благоприятные для схватывания поверхностей. Вследствие этого часть пластины 3 приваривается к пластине 4, а участок пластины непосредственно перед приваренной частью изгибается под углом . По мере сгорания взрывчатого вещества деформированный участок перемещается ко второму краю заготовки 4 [11].

Продолжительность сварки взрывом не превышает нескольких микросекунд. Под влиянием больших скоростей деформации происходит значительное повышение предела текучести материала заготовок в деформированной области. Поэтому прочность соединений, полученных сваркой взрывом, оказывается выше прочности соединяемых материалов.

Диффузионная сварка также относится к классу термомеханических способов сварки, но она основана на принципиально другом физическом явлении: диффузии. Диффузия представляет собой взаимное проникновение вещества свариваемых заготовок, обусловленное тепловым движением ионов, атомов, молекул и различной концентрацией химических элементов. Перенос вещества посредством диффузии происходит в направлении убывания концентрации диффундирующих элементов.

Свариваемые заготовки 3 (рис. 3) [12] предварительно нагревают, например индуктором ТВЧ 4, питаемым по проводам 6 от высокочастотного генератора. Создание вакуума осуществляется с помощью отсоса воздуха по трубопроводу 5 вакуумным насосом. Нагрев контактных поверхностей заготовок примерно до температуры рекристаллизации более легкоплавкого металла вызывает испарение адсорбированных и масляных пленок и способствует очищению контактируемых поверхностей и резко повышает скорость диффузионных процессов. Заготовки сжимаются под небольшим давлением (от 1 до 20 МПа) под действием груза 1 и выдерживаются в течение некоторого времени (обычно от 5 до 20 минут), достаточного для протекания диффузии.

Отсутствие припоев, электродов, флюсов позволяет получить качественное и чистое соединение без изменения физико-механических свойств. Диффузионная сварка связана с использованием сложной и дорогой аппаратуры и применяется в космической и авиационной промышленности, для сварки ответственных деталей вакуумных приборов, инструментов и др.

Основные способы термомеханической сварки: электрическая контактная, трением, ультразвуковая.

Электрическая контактная сварка осуществляется с помощью нагрева свариваемых заготовок в месте контакта и пластической деформации контактируемых поверхностей, в ходе которой формируется сварное соединение.

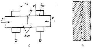
Электрическую контактную сварку классифицируют по типу сварного соединения и по роду тока. По типу сварного соединения электрическая контактная сварка может быть стыковой (рис.4.) [12], точечной или шовной. По роду тока различают электрическую контактную сварку переменным током, импульсами постоянного тока, аккумулированной энергией.

Рис. 3. Схема диффузионной сварки: 1 - груз; 2 - охлаждение вакуумной камеры; 3 - заготовки; 4 - нагревательное устройство; 5 - трубопровод к вакуумному насосу; 6 - провод к высокочастотному генератору

Рис. 4. Схема контактной сварки (а) и физического контакта свариваемых деталей

В зависимости от температуры нагревания стыка различают электрическую контактную стыковую сварку сопротивлением или оплавлением.

К термическому классу относятся способы сварки, осуществляемые плавлением с использованием тепловой энергии (дуговая, плазменная, электрошлаковая, электронно-лучевая, лазерная, газовая и др.).

Различают способы сварки неплавящимся (вольфрамовым или угольным) или плавящимся (металлическим) электродом, расплавлением только основного металла 3 либо с применением присадочного металла 4 или металла плавящегося электрода, дугой, горящей между электродом и заготовкой, между двумя неплавящимися электродами (косвенной дугой), трехфазной дугой, горящей между двумя электродами и заготовкой (рис. 5).

Рис. 5. Схемы дуговой сварки

По степени автоматизации различают ручную сварку, полуавтоматическую и автоматическую. В зависимости от источников получения тепловой энергии термическую сварку подразделяют на дуговую, электрошлаковую, плазменную, газовую. В зависимости от степени защиты различают сварку незащищенной дугой, сварку под флюсом, в атмосфере защитных газов, в вакууме. По материалу и функциональному назначению электродов различают сварку плавящимся и неплавящимся электродом. По роду применяемого электрического тока: на постоянном или переменном токе, при непрерывной подаче тока или импульсами тока, в зависимости от знаков электрического заряда на электродах при постоянном токе: при прямой и обратной полярности. В зависимости от формы сварного соединения: стыковую, точечную, шовную сварку [5].

Сварку плавлением выполняют сварочной проволокой, плавящимися и неплавящимися электродами, электродами со специальным покрытием. При этом для защиты сварочной ванны используют различные флюсы и защитные газы. Правильный выбор сварочных материалов становится залогом качественной сварки.

В качестве электродного материала для сварочных работ используют несколько десятков марок и диаметров стальной проволоки, каждая из которых предназначена для определенного вида работ. Для низкоуглеродистых, легированных и высоколегированных сталей существуют свои виды проволоки, отличающиеся по химическому составу. Чтобы правильно ориентироваться в этом разнообразии, надо научиться различать маркировку проволоки.

Ответственные конструкции, к сварке которых предъявляют повышенные требования, варят порошковыми проволоками со специально подобранным составом, соответствующим свариваемому металлу.

Маркируется порошковая проволока индексом «ПП», после чего проставляют буквенный и цифровой символы, указывающие ее тип. К примеру, для сварки без дополнительной защиты используют порошковые проволоки типа ПП-АН1, ПП-АНЗ, ПП- 2ДСК. Для сварки в среде углекислого газа используют проволоку ПП-АН9 и ПП-АН10.

Использование порошковой проволоки способствует увеличению глубины проплавления металла и снижению выгорания легирующих элементов из сварочной ванны. Для сварки под слоем флюса больших поверхностей иногда применяют порошковую ленту, которая отличается от проволоки своей формой. Электроды для ручной дуговой сварки изготавливают в виде стержней, выполненных из холоднотянутой калиброванной сварочной проволоки, на которую методом опрессовки под давлением наносят слой защитного покрытия. Роль покрытия заключается в металлургической обработке сварочной ванны, защите ее от атмосферного воздействия и обеспечении более устойчивого горения дуги. Для обеспечения устойчивого горения дуги в покрытия вводят вещества, содержащие элементы с низким потенциалом ионизации (соли щелочных металлов). С целью повышения производительности сварки в покрытия добавляют железный порошок, содержание которого может достигать до 60% массы покрытия.

Выпускаемые промышленным способом электроды в зависимости от допустимого пространственного положения сварки могут делиться на четыре группы:

электроды, которыми можно варить во всех положениях шва;

электроды, предназначенные для всех положений, кроме вертикального сверху вниз;

для нижнего, горизонтального на вертикальной плоскости и вертикального снизу вверх;

Неплавящиеся электроды применяют для возбуждения и поддержания сварочной дуги, но сами они сварочную ванну не наполняют.

Графитовые электроды имеют высокую электропроводность, стойкие против окисления при значительных положительных температурах.

Вольфрамовые электроды могут быть изготовлены из чистого вольфрама или с добавлением активизирующих присадок, которые обеспечивают более устойчивое горение дуги, повышают стойкость электрода при увеличенной плотности тока.

Флюсы для дуговой сварки используют для защиты от вредных воздействий атмосферных газов и металлургической обработки сварочной ванны. Их введение обеспечивает хорошее качество шва за счет поддержания устойчивого процесса сварки, формирования химического состава, механических свойств сварных соединений и легкой отделяемое™ шлаковой корки от поверхности. К основным требованиям, предъявляемым к сварочным флюсам, относят:

1.      температура плавления флюсов должна быть ниже температуры плавления основного и присадочного металла;

2.      флюсы не должны оказывать вредного воздействия на металл во время сварки, а также после ее окончания;

3.      плотность флюсов должна быть меньше плотности свариваемых металлов;

4.      в расплавленном состоянии флюсы должны хорошо растекаться по поверхности металла и активно реагировать с образовавшимися, окислами ванны;

5.      образовавшиеся при сварке шлаки должны легко отделяться от поверхности наплавленного металла [13].

Сварку низкоуглеродистых сталей выполняют преимущественно низкоуглеродистой сварочной проволокой в сочетании с высоко кремнистым марганцевым флюсом.

Защитные газы, используемые для снижения вредного воздействия окружающей среды, могут применяться как в чистом виде, так и смесями. В своей основе это инертные газы, к которым относятся аргон и гелий. Инертные газы химически не взаимодействуют с металлом и не растворяются в нем. Их применяют преимущественно для сварки химически активных металлов (титан, алюминий, магний и т.д.). Кроме инертных газов для защиты сварочной ванны могут применять активные газы, к которым относят углекислый газ и азот. Аргон представляет собой бесцветный, негорючий неядовитый газ, который тяжелее воздуха и не образует е ним взрывчатых смесей. Он хорошо обеспечивает защиту сварочной ванны, не вступая ни в какую реакцию. Поставляется в баллонах вместимостью 40 л под давлением. Гелий - значительно легче воздуха, а, следовательно и аргона, поэтому расход гелия при сварке увеличивается в 1,5-2 раза. По своим качествам гелий не уступает аргону, а в некоторых случаях и превосходит его. Азот - активный газ без цвета, запаха и вкуса. Азот, соединяясь с металлами, образует нитриды, снижающие механические свойства металла. Его используют для сварки меди и ее сплавов, по отношению к которым азот является инертным Газом. Водород - горючий взрывоопасный газ, не имеющий цвета, запаха и вкуса. Смесь аргона и водорода значительно улучшает процесс формирования шва, повышает чистоту его поверхности, увеличивает глубину проплавления. Кислород - газ, активно поддерживающий горение и не имеющий цвета, запаха и вкуса. Его используют для газопламенной сварки металлов. Углекислый газ (двуокись углерода) - является активным защитным газом со слабым запахом и резко выраженными окислительными свойствами. Для сварки применяют сварочный углекислый газ чистотой 99,5%. Смесь аргона и кислорода при сварке стали хорошо сказывается на металлургических процессах и технологических характеристиках. Кроме перечисленных в сварочных процессах применяют еще целый ряд смесей, которые, как показывает практика, зачастую обладают лучшими технологическими свойствами, чем отдельные защитные газы.

. Анализ опасных и вредных производственных факторов

Сварка относится к работам с повышенной опасностью, что влечет за собой ряд требований, выполнение которых обязательно.

Опасными и вредными факторами при сварке могут быть: факторы производственной среды - физические (повышенная температура поверхностей оборудования, материалов, воздуха на рабочем месте, повышенные уровни электромагнитных полей, производственного шума, локальной и общей вибрации, ультрафиолетового излучения и др.) и химические (вредные вещества - ингредиенты сварочных аэрозолей, а также органические растворители, используемые для предварительного обезжиривания свариваемых деталей);

психофизиологические факторы трудового процесса - длительное нахождение в вынужденной рабочей позе, монотонность работы, частые наклоны корпуса, значительные статические нагрузки на руку и плечевой пояс и др.;

эргономические характеристики инструмента сварщика, наплавщика, резчика и рабочих мест - масса оборудования, удерживаемого в руках, усилия на органах управления, их размещение в зонах досягаемости моторного поля, высота рабочей поверхности и др.

Под вредным производственным фактором подразумевается фактор, воздействие которого на работающего в определенных условиях может привести к заболеванию или стойкому снижению работоспособности. Опасным принято считать производственный фактор, воздействие которого в определенных условиях может привести к травме или другому внезапному ухудшению здоровья (острому отравлению оксидами углерода, цинка, меди, озоном; поражению роговицы и слизистых оболочек глаз ультрафиолетовым излучением дуги, искрами и брызгами расплавленного металла, термическому ожогу кожных покровов и др.) [20].

В условиях производства на работающих, как правило, воздействует одновременно ряд факторов производственной среды и трудового процесса. Их различные сочетания, а также интенсивность зависят от следующего: вида, способа сварки, наплавки, резки и др.; степени механизации и автоматизации производственного процесса; оснащенности используемого оборудования и рабочего места соответствующими средствами локализации вредностей в источнике их образования (отсосы сварочного аэрозоля, встроенные в сварочное оборудование, наличие местной вытяжной вентиляции, экраны для защиты от излучений дуги, глушители шума и др.); оснащенности работающих средствами индивидуальной защиты (СИЗ). Перечни основных вредных и опасных производственных факторов (табл. 1), сопутствующих процессам дуговой, ЭШС, контактной сварки, плазменной обработки материалов (сварке, резке, наплавке, напылению и др.), включены в качестве справочных приложений в ГОСТ 12.3.003 - 86.

Воздействие сварочных аэрозолей (СА). По уровням воздействия на работающих, медицинским и социальным последствиям (развитию профессиональных заболеваний, интоксикации металлами и сварочными газами и др.), а также по недостаточной защищенности (в связи с санитарным несовершенством многих видов и способов сварки, сварочного оборудования и применяемых электродных и присадочных материалов) в числе вредных производственных факторов ведущая роль принадлежит сварочным аэрозолям. Твердая составляющая СА (ТССА) - мельчайшие частицы сконденсировавшихся паров металлов, а также других веществ, входящих в состав сварочных и присадочных материалов, а также основного металла. Дисперсионная среда - газовая составляющая СА (ГССА) - это смеси газов, образующихся при термической диссоциации газошлакообразующих компонентов этих материалов (HF, SiF4, СО2) или за счет фотохимического действия ультрафиолетового излучения дуги на молекулы газов воздуха (NO, NО2, О3).

Частицы аэрозоля могут иметь размеры 0,01...0,6 мкм и более. Они неоднородны по строению. Биологическое действие может усиливаться выделяющимися газами ТССА. На открытых участках цехов концентрации ТССА и, соответственно, ее отдельных токсичных ингредиентов в зоне дыхания, как правило, может составлять несколько миллиграммов в 1 м воздуха, а при сварке внутри емкостей могут возрастать до десятков и сотен миллиграммов в 1 м3.

Сварка конструкций из высокопрочных сталей электродами, проволоками сплошного сечения и порошковыми проволоками сопровождается образованием и выделением в воздух рабочей зоны соединений трех- и шестивалентного хрома, никеля и других веществ. Среди механизированных способов сварки сталей общего назначения наиболее распространена сварка проволокой сплошного сечения в защитной среде СО2 или в смесях СО2 с аргоном, кислородом. Наличие в составе проволоки марганца приводит к выделению его в составе ТССА. Диссоциация С02 в зоне дуги способствует интенсивному образованию СО.

При сварке под флюсом дуга закрыта слоем флюса и в воздух рабочей зоны выделяется гораздо меньше ТССА (2..4 мг/м3), исключается воздействие излучений оптического диапазона на работающих. К числу ведущих вредных факторов при этом виде сварки следует отнести повышенное выделение в воздух рабочей зоны HF и SiF4 (до 1...2 мг/м3), а также высокодисперсной пыли флюса (до 25...30 мг/м3), особенно, когда его засыпают вручную.

Особенность процессов дуговой сварки цветных металлов - применение защитных газов, что существенно усиливает интенсивность излучения в ультрафиолетовой и видимой областях спектра. Ионизируя азот и кислород воздуха, УФ-лучи способствуют образованию больших количеств озона (О3) и оксидов азота. При сварке неплавящимся (вольфрамовым электродом) уровень запыленности на рабочих местах, как правило, невысокий. Процессы механизированной и автоматической сварки цветных металлов плавящимся электродом сопровождаются возрастанием выделений СА. Даже при незначительных пылевыделениях выполнение работ внутри замкнутых объемов может сопровождаться существенным накоплением ТССА и токсичных ГССА в воздушной среде.

Состав СА при процессах плазменной и микроплазменной сварки и резки металлов определяется в основном составом свариваемого или разрезаемого металла. Массовые концентрации ТССА могут достигать в воздухе рабочей зоны десятков и сотен миллиграммов на 1 м3.

При процессах контактной стыковой сварки металлов массовые концентрации оксида углерода в воздухе рабочей зоны на рабочих местах операторов машин контактной стыковой сварки с предварительным оплавлением достигают 40 мг/м3 и более, диоксида азота 7...8 мг/м3, ТССА до 30 мг/м3 и зависят от характера технологического процесса, количества свариваемых изделий в смену, длительности сварки, наличия на поверхности свариваемых деталей консервирующих смазок и др.

При процессах контактной точечной, роликовой, шовной сварки уровни образования вредных веществ, как правило, гораздо меньшие. Однако при интенсивной сварке содержание вредных веществ в воздухе рабочей зоны может превышать установленные предельно допустимые концентрации (ПДК).

Наплавочные процессы с использованием электродов и порошковых проволок характеризуются выделением в воздухе рабочей зоны соединений марганца, хрома, никеля, фторидов и др., в основном характерных для ручной дуговой и полуавтоматической сварки металлов [18].

Поскольку сварочные материалы, а также процессы дуговой, плазменной, газоплазменной сварки и другие - это источники образования вредных химических веществ, для решения вопросов о внедрении их в производство, осуществления контроля воздушной среды при выполнении сварочных и наплавочных работ необходима их предварительная санитарно-гигиеническая оценка. Один из ее этапов - определение удельных выделений ТССА и ГССА, которые служат также исходными данными для расчетов местной и общеобменной вентиляции в сборочно-сварочных цехах. Проведение таких исследований регламентировано. Удельные выделения ТССА и ГССА выражают в граммах на 1 кг расходуемого сварочного либо наплавочного материала, а интенсивность образования вредных веществ - в миллиграммах за 1 мин сварки (наплавки, резки).

При выполнении сварки, наплавки, резки, напыления и других родственных процессов основным критерием оценки соответствия воздушной среды в рабочей зоне современным санитарно-гигиеническим требованиям и нормам является содержание наиболее характерных и опасных химических веществ (как правило, вредных веществ 1 - 2 классов опасности по ГОСТ 12.1.005-88) в зоне дыхания - под наголовной маской или щитком сварщика. Для характеристики общего (фонового) уровня загрязнения воздуха в цехах и на участках проведения этих работ пробы воздуха отбирают также на расстоянии не менее 2 м от конкретного рабочего места [14].

Оптическое излучение, спектр которого включает инфракрасное, видимое и ультрафиолетовое излучения, имеет место при всех способах дуговой и плазменной сварки (за исключением сварки под флюсом и ЭШС).

При дуговой сварке внутри емкостей и объемных конструкций большое значение приобретает отраженное излучение, увеличивающее облучаемые поверхности одежды и тела. В ряде случаев дополнительные вредные факторы - это длительный контакт отдельных участков тела с охлажденным или нагретым металлом, особенно когда технологической необходимостью диктуется выполнение сварки в положении лежа или стоя на коленях.

ИК-облученность работающих (100... 2450 Вт/м2) зависит от силы тока и напряжения на дуге, объема сварочной ванны, массы прогреваемого металла [9]. Суммарная спектральная плотность УФ-облучения при дуговых и плазменных способах сварки различных металлов составляет на расстоянии 1 м от зоны сварки 0,4... 162 Вт/м2. При этом доля коротковолнового излучения в этой области спектра возрастает при увеличении силы тока, применении в качестве защитных газов аргона, смесей его с кислородом и С02 [4]. Допустимые уровни УФ- и ИК-излучения работающих регламентированы.

Статические нагрузки на руки и плечевой пояс при ручной дуговой и механизированной сварке металлов, обусловлены необходимостью удержания ручного инструмента. В зависимости от характера выполняемых работ сварщики могут находиться в напряженной рабочей позе в течение 40...80% продолжительности смены. При сварке внутри емкостей малого объема в связи с поддержанием тела в неудобной, порой вынужденной позе, статические нагрузки могут резко возрастать. Нагрузки увеличиваются также при росте интенсивности и скорости сварки. Эргономическими исследованиями труда сварщиков, занятых на сборке и сварке кузовов автомобилей, показано, что физические усилия, связанные с необходимостью подъема и перемещения деталей, манипуляций ручными клещами для контактной точечной сварки, могут достигать 60.. .280 Н при допустимой нагрузке 40 Н.

Критерии оценки тяжести и напряженности труда регламентированы. Для работ по сварке, наплавке и резке, относящихся ко II-III классам по степени тяжести и напряженности, должны быть разработаны рациональные внутрисменные режимы труда и отдыха.

Производственный шум, возникающий при процессах плазменной сварки и резки металлов, а в ряде случаев при контактной стыковой сварке деталей большого сечения, может оказывать отрицательное воздействие. При работе плазменных горелок шум возникает вследствие прохождения плазмы с большими скоростями через сопло плазмотрона. Уровень шума зависит от типа плазмотрона, природы плазмообразующего газа, режимов и других параметров сварки. Интегральный уровень звукового и ультразвукового давления может достигать 120...130 дБ [1]. Такие уровни звукового давления способны приводить к выраженному отрицательному и даже травмирующему воздействию на органы слуха, центральную нервную систему, вызывать резкое снижение работоспособности.

Контроль и оценку уровней шума проводят в соответствии с санитарными нормами, а также методическими указаниями по проведению измерений и оценке шумов.

Магнитные поля промышленной частоты (МППЧ) возникают при работе машин контактной сварки. Исследования условий труда сварщиков, обслуживающих машины, предназначенные для автоматической стыковой сварки ободьев автомобильно-транспортных колес с максимальным сечением 2500 мм2, показали, что напряженность МППЧ на рабочих местах достигает нескольких тысяч ампер на 1 м. Основные их источники - электроды и свариваемые детали сложной конструкции. Магнитные поля носят импульсно-прерывистый характер (2,2...28 с) при силе сварочного тока 7...16кА. Эквивалентный уровень шума возле сварочных машин достигает 92... 104 дБ А и превышает предельно допустимые величины на 7... 19 дБ А [6, 8].

Контроль и оценка уровней электромагнитных полей (ЭМП) должны выполняться в соответствии с ГОСТ 12.1.002-84, ГОСТ 12.1.006-84 и методическими указаниями по санитарной оценке основных параметров магнитных полей.

. Меры и средства защиты

Для обеспечения защиты от воздействия вредных факторов в сварочном производстве используют различные средства, которые по характеру их применения подразделяются на средства коллективной защиты (СКЗ) и индивидуальной защиты (СИЗ). При этом СКЗ классифицируют по признаку опасных и вредных факторов, а СИЗ - в зависимости от защищаемых органов.

Средства коллективной защиты. Основное значение среди средств коллективной защиты от сварочных аэрозолей имеет вентиляция. Наиболее кардинальный и результативный путь, позволяющий резко повысить санитарно-гигиеническую и энергетическую эффективность систем вентиляции в сварочном производстве, - это широкое внедрение местных вытяжных устройств [7]. Местные вытяжные устройства с коэффициентом улавливания Т = 0,75...0,80 позволяют наряду с существенным улучшением состояния воздушной среды в зоне дыхания сварщика в 3 - 4 раза сократить необходимый воздухообмен и тем самым резко уменьшить расходы топлива на нагрев приточного воздуха, подаваемого в сварочные цехи.

Если раньше местные отсосы разрабатывались главным образом применительно к стационарным рабочим постам, то в настоящее время перспективным явлением является создание вытяжных устройств для нестационарных рабочих мест сварки.

Наиболее универсальный тип вытяжных устройств, предназначенных для удаления аэрозоля в условиях ручной и полуавтоматической сварки на стационарных и нестационарных рабочих местах, - это подъемно-поворотные устройства. Они состоят из воздухоприемной воронки, гибкого шланга диаметром 140...160 мм и шарнирно-рычажного механизма, обеспечивающего фиксацию воздухоприемника в любом пространственном положении (рис. 6).

Использование консолей телескопических устройств и шарниров позволяет обслуживать одним воздухоприемником рабочую зону в радиусе до 8 м от места крепления.

Скорость отсасывания загрязненного воздуха, как правило, составляет 800... 1200 м3/ч, что обеспечивает эффективное улавливание сварочных аэрозолей как из зоны сварочной дуги, так и от нагретой поверхности (с площади радиусом до 200 мм) без дополнительного перемещения воздухоприемника, установленного на высоте 0,3...0,4м от зоны сварки. Подъемно-поворотные устройства легко перемещаются, устанавливаются в необходимом положении и могут быть подключены к централизованной вытяжной сети, индивидуальному вентилятору или к фильтровентиляционному агрегату (ФВА), обеспечивающему разрежение 0,15... 0,20 кПа [10].

Рис.6. Подъемно-поворотные вытяжные устройства

При ручной сварке в труднодоступных местах, например в отсеках кораблей, внутри емкостей, применяют малогабаритные воздухоприемные устройства. Они состоят из воздухоприемника воронкообразного, щелевого или другого типа, закрепляемого на расстоянии 50... 150мм от места сварки магнитными или пневматическими держателями, и шланга диаметром 38...50 мм для соединения воздухоприемника с централизованной вытяжной системой или ФВА, создающими разрежение до 10 кПа.

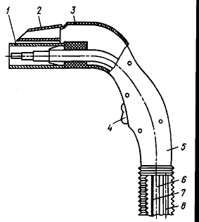
Местные отсосы, встроенные в горелки полуавтоматов для сварки в СO2, применяют при сварке в труднодоступных местах, при процессах сварки коротких швов или прихваток на изделиях, конструкция которых не позволяет использовать другие типы отсосов (рис. 7). Достоинство горелок с отсосом заключается в том, что они обеспечивают постоянное улавливание сварочных аэрозолей. У сварщика нет необходимости перемещать воздухоприемник. В то же время эти конструкции имеют и ряд недостатков: снижение эффективности отсоса при сварке вертикальных или потолочных швов; улавливание сварочных аэрозолей только из зоны сварочной дуги; увеличение расхода защитного газа; дополнительная нагрузка на руку при удержании горелки. Эффективно применение горелок со встроенными отсосами [10].

Фильтровентиляционные агрегаты удаляют СА, очищают воздух и возвращают его очищенным в цех. В качестве фильтрующего элемента в ФВА применяют ткани (кирзу, лавсан, базальтовое волокно), нетканые материалы (ионообменные, ткань Петрянова), электро- и бумажные (картонные) фильтры.

Рис.7. Принципиальная схема местного отсоса, встроенного в горелку сварочного полуавтомата: 1 - сопло для подачи защитного газа; 2 - отсасывающий патрубок; 3 - регулятор объема отсасываемого воздуха; 4- кнопка микропереключателя; 5 - рукоятка; 6 - трубка для подачи защитного газа; 7 - электрический кабель; 8- воздухоотсасывающий шланг

Для повышения эффективности очистки в ряде конструкций предусматривается двух- или трехступенчатая очистка воздуха от пыли. Ведутся работы по очистке удаляемого воздуха от ГССА путем применения ионообменных материалов, насадок с активированным углем и др. Разработаны ФВА с очисткой воздуха в регенерируемых тканевых фильтрах и в фильтрах из нетканых материалов.

Системы общеобменной вентиляции сварочных цехов предназначены для разбавления неуловленных местными отсосами вредных веществ, выделяющихся в процессе сварки. Традиционно в сварочных цехах предпочтительной являлась раздача воздуха горизонтальными компактными струями в верхнюю или среднюю зону с омыванием рабочей зоны обратным потоком. Достоинство этого способа - возможность раздачи воздуха без загромождения пространства цеха системой воздуховодов.

Вместе с тем, сосредоточенная подача воздуха приводит к его интенсивному перемешиванию во всем объеме помещения и соответственно выравниванию концентраций сварочных аэрозолей по высоте цеха. С целью повышения эффективности общеобменной вентиляции рекомендуется раздача воздуха наклонными струями в направлении рабочей зоны, при этом коэффициент воздухообмена KL = 1,05. Кроме того, применяется подача приточного воздуха непосредственно в рабочую зону с малыми скоростями через крупногабаритные воздухораздающие поверхности. При выпуске воздуха в рабочую зону приточная струя развивается без активного вовлечения в циркуляцию загрязненного воздуха из верхней зоны помещения и, «затапливая» рабочую зону, вытесняет отработанный воздух в верхнюю зону. Подобный способ раздачи позволяет значительно повысить эффективность использования приточного воздуха.

На основании анализа исследований местной и общеобменной вентиляции созданы методические указания по проектированию вентиляции сборочно-сварочных цехов [7].

Средства индивидуальной защиты используют, когда безопасность не достигается применением средств коллективной защиты. Применение СИЗ создает определенные неудобства и может вести к снижению работоспособности. Поэтому они должны оцениваться не только по защитным, но и физиологическим показателям. Для обеспечения нормальных условий труда СИЗ должны соответствовать требованиям эргономики и технической эстетики. Для удобства и безопасности работы сварщиков применяют такие приспособления, как люльки, подмостки, подъемные площадки, экраны, подстилки и др.

К СИЗ в сварочном производстве относят защитные щитки и очки, специальную одежду и обувь, рукавицы или перчатки и др. [12].

Защитные щитки электросварщика предназначены для надежной защиты глаз, кожного покрова головы и шеи от излучения и брызг расплавленного металла, а также для частичной защиты органов дыхания от прямого попадания сварочного аэрозоля. Наголовный щиток не должен излишне ограничивать углов зрения, наклона и поворота головы, а также создавать чрезмерное сосредоточенное давление на отдельные участки кожного покрова в местах соприкосновения элементов крепления с головой. Когда наголовный щиток опущен или откинут, положение центра тяжести щитка и масса не должны создавать повышенных дополнительных нагрузок на мышцы шеи при наклонах и поворотах головы.

Таблица 1. Малогабаритные фильтровентиляционные агрегаты (ФВА)

Характеристика

«МФА-1»

«Метелица»

«Бриз-П»

«Мрия-1»

«Мрия-2»

Интенсивность воздухообмена, м3/ч

80

80

100

80

Фильтрующий материал

Лавсан, арт. 200

Кирза трехслойная, арт. 68888

Лавсан в магнитном поле

ЦМ-А2НУО ФПП-15

ЦМ-А2Н/0 ФПП-15

Площадь фильтрующей поверхности, м2

0,65

0,55

0,6

-

99

Степень очистки, %

97

97

99

99

99

Побудитель

Эжектор

Эжектор

Эжектор

Эжектор

Вентилятор с электродвигателем, 0,7 кВт

Рабочее давление сжатого воздуха, кПа

400

400

400

400

-

Создаваемое разрежение, кПа

25

25

25

20

20

Масса, кг

25

25

20

12

12


Щитки (табл. 3) могут иметь различное исполнение по способу использования (с наголовным креплением или с ручкой), по размерам и креплению светофильтра и т.п.

Таблица 2. Характеристика щитков сварщика

Щиток

Модель

Размер светофильтра

Масса без стекол, кг

Размеры, мм

Наголовный

НН-С701У1

52 х 102

0,45

315 х 204 х 165

Наголовный с увеличенным светофильтром

ННО-С-701У1

90 х 102

0,45

315 х 204 х 165

Ручной

РН-С-701У1

52 х 102

0,38

315 х 240 х 165

Наголовный, монтируемый на защитной каске

ЩЭК-С-701У1

52 х 102

0,45

315 х 240 х 165

НПП-С-702У1

52 х 102

0,60

315 х 240 х 190

Ручной с увеличенным светофильтром

РНО-С-701У1

90 х 102

0,40

315 х 240 х 165


Для защиты головы при сварке на строительно-монтажных площадках используют щиток модели ЩЭУ-1, который легко монтируется на защитную каску «Дружба» или «Строитель». При работе в различных климатических условиях для защиты головы от пониженных температур используют подшлемник под защитную каску.

Наголовный щиток НПП-С-702У1 представляет собой конструкцию с откидывающимся светофильтром и предназначен для сварки в стесненных условиях, а также в тех случаях, когда используют средства защиты органов дыхания - респираторы. Рамка для светофильтра, покровного стекла и защитного стекла состоит из двух частей. Покровное стекло и светофильтр перемещаются, а защитное стекло неподвижно. При проведении сварочных работ щиток не обязательно откидывать назад. При зачистке швов от шлака достаточно поднять или опустить часть рамки, оснащенную светофильтром и покровным стеклом.

Защитные очки предназначены для защиты глаз при газовой сварке, ацетиленовой резке, при выполнении вспомогательных работ (ГОСТ Р 12.4.013-97). Для вспомогательных рабочих при электросварке в цехах и на открытых площадках рекомендуются защитные открытые очки типа 02-76 со светофильтрами В-1 или В-2 или двойные откидные очки типа ОД-2-72 с неподвижными очковыми стеклами из бесцветного оргстекла и откидным стеклодержателем со светофильтрами В-1 или В-2 [3].

Специальная защитная одежда в соответствии с ГОСТ 12.4.103-83 классифицируется по защитным свойствам от воздействия механического, температурного излучения, электрического тока, различных полей и др. В сварочном производстве спецодежда предназначена для защиты тела от опасных и вредных факторов, а также неблагоприятных метеорологических факторов окружающей среды. В состав спецодежды сварщика входят костюм (летний или зимний), брезентовые рукавицы, специальная обувь и головной убор под каску [19].

Детали летнего костюма, подвергающиеся наиболее интенсивному воздействию брызг расплавленного металла, изготовляют из льняных и полульняных тканей повышенной прочности и с огнестойкой пропиткой. Для сварщиков, работающих на открытом воздухе зимой, разработана зимняя спецодежда, включающая верхний костюм (куртку и брюки), пристегивающуюся утепляющую подкладку и утепленное белье. Верхний костюм изготовлен из плащевой ткани с хорошими теплозащитными свойствами, на которую в местах повышенного износа нашиты защитные накладки.

Для защиты тела от УФ-излучения при аргонодуговой и плазменной сварке и резке применяют спецодежду, изготовленную из полульняной ткани с огнестойкой пропиткой и защитных накладок из термостойкой фенилоновой ткани.

В холодный период года при температуре ниже -25°С и скорости ветра 5...7 м/с очень трудно обеспечить нормальное тепловое состояние организма, особенно при работе малой подвижности.

При увеличении толщины материала спецодежды затруднено выполнение точных движений и принятие удобной рабочей позы. Одно из направлений создания нормальных условий труда - использование спецодежды (и обуви) с электроподогревом.

Защитная обувь предназначена для защиты ног от ожогов, травм, переохлаждения или перегрева. Она не должна иметь открытой шнуровки, через которую возможно попадание брызг металла, и металлических гвоздей в подошве, создающих опасность поражения электрическим током.

Рукавицы защищают руки от ожогов брызгами металла и от излучения сварочной дуги [17].

Предохранительный пояс обеспечивает безопасность и удобство монтажника-сварщика при работе на монтаже, ремонте вышек или других пространственных металлоконструкций. Предохранительный пояс для работы на высоте состоит из ремня, страхового орала и карабина. Для обеспечения безопасности работы в различных емкостях, в цистернах и подземных колодцах предназначен специальный предохранительный пояс.

Для защиты органов дыхания (ОД) используют СИЗ ОД, к которым относятся респираторы. При высокой концентрации вредных веществ и недостаточном содержании кислорода в воздухе (сварка в замкнутом пространстве небольшого объема), когда фильтрующие СИЗ ОД типа респираторов не могут обеспечить требуемую защиту, примеряют изолирующие дыхательные аппараты, либо подачу чистого воздуха в зону дыхания.

Для защиты органов дыхания от сварочной пыли и содержащихся в ней вредных веществ с концентрацией, превышающей ПДК не более чем в 10 раз, рекомендуется использовать фильтрующие респираторы «КАМА-40», при превышении ПДК от 10 до 100 раз - противоаэрозольные, серии ППР или «КАМА-200», «Снежок К-М». Для защиты органов дыхания дополнительно от фтористого водорода пригодны фильтрующий респиратор «Снежок-ГП-В», модели пылегазозащитных респираторов серии ГПР.

Контроль концентрации вредных веществ в воздухе рабочей зоны при выполнении сварочных работ осуществляют в соответствии с действующими санитарными нормативами для ПДК, микроклиматических условий и др.

. Техника безопасности и охрана труда при выполнении сварочных работ

Порядок допуска рабочих сварочных профессий к выполнению отдельных видов сварочных работ, медицинские меры профилактики общей и профессиональной заболеваемости (медосмотры, диспансеризация, спецпитание и др.) регламентируются нормативными документами, а выполнение сварочных работ на высоте, в замкнутых объемах, при низких или высоких температурах окружающей среды - специальными требованиями.

Безопасность выполнения работ в сварочном производстве во многом зависит от организации рабочего места [2]. Рабочее место сварщика, с одной стороны, - это оснащенная необходимыми техническими средствами подсистема человек - машина в структуре сварочного производства, с другой, - часть производственной площади участка, цеха или монтажной площадки, на которой один сварщик или бригада выполняют операции по изготовлению сварных конструкций.

Основная задача организации рабочего места, а также его обслуживания - обеспечить условия бесперебойной высококачественной работы сварщика при оптимальной физической нагрузке и нервном напряжении, а также при условиях труда, безопасных как для сварщика, так и для лиц, находящихся вблизи него.

Организовать рабочее место и труд сварщика - это значит оснастить его сварочным инструментом, приспособлениями, СИЗ, оргтехоснасткой и др., разместить эти элементы в пространстве в соответствии с требованиями эргономики и обеспечить бесперебойное обслуживание, включающее обслуживание сварщика, средств труда (сварочного оборудования и оснастки), предметов труда (заготовок, узлов, сварочных материалов) и рабочей среды (помещения, воздушной среды). Наиболее прогрессивный метод организации рабочих мест - применение типовых проектов, разработанных для определенного типа производства и способов сварки, с учетом конструктивно-технологических особенностей свариваемых конструкций.

От организации рабочего места в большой степени зависят опасные и вредные психофизиологические производственные факторы: физические (статические и динамические) и нервно-психические (перенапряжение анализаторов, монотонность труда), умственные и эмоциональные перегрузки.

Известно, что при ручной сварке, выполняя рабочие движения с небольшой скоростью при напряженной рабочей позе и непрерывном наблюдении за зоной сварки, сварщик испытывает в основном длительные статические нагрузки. Статические нагрузки при сварке зависят от массы инструмента (электрододержателя, шланга с горелкой), защитного щитка и жесткости спецодежды, а также рабочей позы сварщика. Рабочая поза - координированное положение частей тела сварщика при работе в различных положениях (стоя, сидя и лежа) - определяется расположением зоны сварки в пространстве, а также конструктивными особенностями СИЗ, инструмента, спецодежды, сварочной и организационной оснастки. Общее для всех рабочих поз сварщиков - вынужденное положение тела и длительное статическое напряжение мышц: локальное (мышцы руки, удерживающие инструмент) и региональное (мышцы, поддерживающие рабочую позу).

Пространственную планировку рабочего места, под которой понимают взаимное пространственное расположение сварочного узла, сварочного оборудования, технологической оснастки и сварщика в процессе труда, выполняют с учетом антропометрических и биомеханических показателей сварщика, а также характеристик его зрения при обеспечении минимальной протяженности переходов, минимальной напряженности рабочей позы и максимальной безопасности условий труда.

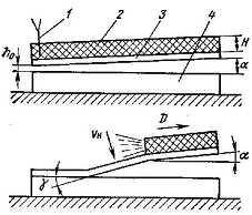
Для снижения утомления сварщика зону сварки необходимо располагать в пределах оптимальной рабочей зоны (рис. 8). Это обеспечивает достаточно четкую видимость сварочной ванны, требуемую точность движений, наименьшее напряжение мышц рабочей руки и рабочую позу без чрезмерно утомительных статических нагрузок. На стационарных рабочих местах необходимое положение зоны сварки достигается поворотом и установкой свариваемого узла при помощи приспособлений, кантователей или позиционеров. Высота расположения зоны сварки должна учитывать рост сварщика Н.

Рис. 8. Размеры и пространственные положения оптимальной рабочей зоны (ОРЗ) при ручной сварке сидя (а) и стоя (б): 1 - ОРЗ сварщика низкого роста (158,5 см и менее); 2 - зона антропометрического безразличия; 3 - ОРЗ сварщика высокого роста (177,5 см и более)

Основные параметры стационарного рабочего места - это высота d зоны сварки от пола и глубина с ее расположения от края стола, а также высота а сидения и высота b подставки для ног при сварке сидя. Размеры рабочего места выбирают с учетом роста сварщика. Чтобы удобно было работать на одном рабочем месте сварщикам различного роста, высоты d и е принимают удобными для сварщиков высокого роста, а глубину с - для сварщиков низкого роста. Для удобства работы сварщики низкого роста должны применять подставку под ноги. Высоту b ее и сиденья выбирают по графику.

На рабочем месте для работы стоя необходимо предусмотреть пространство для стоп ног в случае подхода к столу или оборудованию вплотную. Высота и глубина этого пространства должна быть не менее 150 мм. Такой же глубины должно быть пространство для колен, чтобы они не упирались в стол при наклоне туловища вперед и изгибе ног.

. Пожарная безопасность при сварочных работах

Наиболее частые причины пожаров и загораний при проведении огневых работ - это: попадание брызг расплавленного металла, пламени горелки, резака или электродных огарков на воспламеняющиеся материалы и конструкции; нагрев трудносгораемых конструкций и коммуникаций сварочного оборудования до температуры воспламенения этих материалов; наличие в воздухе помещения горючих газов, взвесей, пыли; паров легковоспламеняющихся и горючих жидкостей.

Сварка и резка сопровождаются образованием брызг расплавленного металла, которые, например, при сварке на высоте 10 м над уровнем поля разлетаются на 8... 12 м, а при резке - на 10...14 м. Брызги могут разлетаться на расстояние до 16 м за счет многократного рикошета.

Расстояния от зоны сварки и резки, в пределах которых не должны находиться горючие материалы, приведены в табл.

флюс защитный газ сварщик

Таблица3. Минимальные расстояния от зоны сварки и резки до горючих материалов, м

Все точки сварки надуровнем пола

При сварке

При резке

0

5

6

2

6

8

5

8

10

7

10

12

10

12

14


Температура разлетающихся брызг превышает 1700°С, поэтому они способны воспламенить любой горючий материал. Из-за малых размеров брызг теплосодержание их невелико, но такие материалы, как марля, вата, пакля, обтирочная ветошь за время существования брызг (3...5 с) начинают тлеть и могут воспламениться.

Для уменьшения радиуса разлета брызг жидкого металла, а также защиты горючих конструкций и материалов место сварки необходимо ограждать экранами или брезентовыми занавесками (ширмами). На рабочем месте нельзя хранить легковоспламеняющиеся и горючие жидкости и материалы. На рабочем месте не должно быть ветоши, промасленного обтирочного материала или других горючих отходов, а спецодежда и рукавицы сварщика не должны иметь следов масел и других горючих жидкостей. В пожаровзрывоопасных местах сварочные работы можно проводить только после тщательной уборки взрыво- и пожароопасной продукции, очистки аппаратуры и помещений от взрывоопасной пыли и веществ.

При проведении временных сварочных работ на высоте необходимо защищать от воспламенения нижележащие этажи, площадки, очищая их от горючих материалов и строительных отходов. Отверстия, через которые могут проникать искры, необходимо заделывать негорючими материалами. Если у мест проведения сварочных работ находятся воспламеняющиеся конструкции, то они должны быть надежно защищены от возгорания металлическими экранами или политы водой. Огарки электродов необходимо складывать в специальный металлический ящик, установленный на рабочем месте. Недопустимо выбивание огарка из электрододержателя электродом или ударом о свариваемую конструкцию.

Для предупреждения загорания при сварке и резке необходимо тщательно готовить место проведения работ, особенно, если они осуществляются временно, обращая особое внимание на сварочную цепь. Для составления сварочной цепи необходимо применять кабели с неповрежденной изоляцией и механически прочными соединениями. Сварочные кабели допускается соединять только опрессованием, сваркой, пайкой, а также специальными соединительными муфтами. Сварочный кабель к свариваемой конструкции присоединяется выводами заземления, а к источнику сварочного тока - концевыми соединителями. Элементы, необходимые для сварочной цепи и безопасного выполнения сварочных работ, входят в наборы инструментов сварщика КИ-3101У1 и ЭННИ-300.

Сварочные кабели должны располагаться от кислородных трубопроводов на расстоянии не менее чем 0,5 м, а от ацетиленовых или других горючих газов - не менее 1 м. Расстояние можно сократить в 2 раза при заключении трубопровода в защитную металлическую трубу.

Обратным проводом от изделия к источнику тока могут служить стальные шины любого профиля, сварочные столы, стеллажи и сама свариваемая конструкция. Сочетание обратного провода и площадь контактов между его элементами должны обеспечивать безопасное по нагреву и без искрения прохождение сварочного тока. Соединение элементов, образующих обратный провод, необходимо выполнять болтами или зажимами. При проведении сварочных работ в пожароопасных помещениях обратный провод должен быть изолирован не хуже, чем прямой провод, присоединяемый к электрододержателю. Запрещается использовать в качестве обратного провода трубы центрального отопления, различные трубопроводы, сети заземления, металлические конструкции зданий и коммуникаций, так как в местах присоединения обратного провода, часто расположенных у воспламеняющихся конструкций, возникает перегрев, что может привести к возникновению пожара.

Наиболее пожароопасны рабочие места для временного выполнения сварочных и других огневых работ. Эти места определяются письменным разрешением по установленной форме, выдаваемым только на одну рабочую смену. При проведении одних и тех же работ в течение нескольких смен или дней разрешение продлевается на каждую следующую смену после осмотра места работ. Особо оформляется разрешение на временные сварочные работы в выходные и праздничные дни. При этом администрация должна организовать контроль за выполнением работ.

К сварочным работам допускаются лица, имеющие квалификацию электро- или газосварщика в соответствии с нормативными документами.

К выполнению сварочных работ можно приступать только после подготовки средств пожаротушения, очистки рабочего места от воспламеняющихся материалов, защиты сгораемых конструкций и т.д. После окончания работ необходимо осмотреть рабочее место, полить водой воспламеняющиеся конструкции и устранить все причины, которые могут привести к возникновению пожара.

После окончания сварочных работ на временных рабочих местах руководитель, ответственный за пожарную безопасность, должен обеспечить проверку места сварки в течение 3...5ч после окончания работ, обращая особое внимание на прилегающие горючие конструкции, соединения и нижерасположенные помещения, а также на возможность распространения огня по пустотам, каналам, коммуникациям и т.п.

Место выполнения сварочных работ должно быть обеспечено средствами пожаротушения в зависимости от количества, свойств и пожарной опасности горючих материалов и оборудования. На постоянных рабочих местах сварщиков должны находиться: ящик с песком и лопатой, кошма, огнетушители (пенные или углекислотные). В случае пожара используют внутренние пожарные краны.

При горении электрооборудования и изоляции проводов для тушения применяют углекислотные, бромэтиловые и порошковые огнетушители, песок или кошму.

Для тушения пожаров в начальной стадии их развития применяют воздушно-пенные, химические пенные, углекислотные, аэрозольные и порошковые огнетушители. Промышленность выпускает воздушно-пенные огнетушители ручные ОВП-5 и ОВП-10 и стационарные ОВП-100 и ОВПУ-250. Большое распространение получают порошковые огнетушители ОПС-10 и ОПС-100.

Основными техническими причинами электротравматизма при сварочных работах являются: неудовлетворительное состояние производственного оборудования, электросварочной аппаратуры; отсутствие ограждений; дефекты в установке подключающих щитков (распределительных силовых шкафов, пусковых ящиков или щитков с рубильником и предохранителями); неисправность или отсутствие заземления, изоляции электропроводки; неправильная прокладка проводов к сварочному оборудованию и т.д.

Поэтому электрооборудование сварочных цехов должно соответствовать правилам устройства электроустановок, а его эксплуатация - правилам технической эксплуатации электроустановок потребителей и техники безопасности при эксплуатации электроустановок потребителей, а также указаниям инструкции завода-изготовителя сварочных установок [16].

При электротравмах и ожогах необходимо немедленно известными приемами оказывать первую доврачебную помощь.

. Мероприятия по защите окружающей среды

Проблема защиты атмосферного воздуха от загрязнений вредными веществами является одной из важнейших и требует скорейшего разрешения. Как показали многочисленные расчеты выбросов, сварочные цехи представляют собой в этом отношении существенную опасность. Так, оценка экологической опасности сварочного производства завода, в котором работает 140 постов полуавтоматической сварки с использованием проволоки Св-08Г2С (часовой расход проволоки на один пост составляет 3,8 кг) показала, что наблюдается превышение предельно допустимой концентрации (ПДК) на границе санитарно-защитной зоны по оксиду железа в 2,2 раза при размерах санитарно-защитной зоны 50 м. Применение проволоки с большим содержанием вредных веществ (например, Св-08Г6Х16Н25М6) создает концентрации в приземном слое на границе санитарно-защитной зоны, превышающие ПДК: по марганцу в 2,81 раза; по оксиду хрома в 9,24 раза; по оксиду никеля в 27,4 раза.

В связи с этим остро встал вопрос о необходимости разработки устройств для очистки воздуха, выбрасываемого из сварочных цехов в атмосферу, от сварочного аэрозоля и в первую очередь от его твердой составляющей. При достаточно высокой степени очистки возможно частично или полностью воздух возвращать в цех, т.е. осуществлять его рециркуляцию.

В последнее время разрабатывают и внедряют для очистки воздуха от ТССА двухзонные электрофильтры, которые позволяют улавливать частицы с высоким удельным электрическим сопротивлением, сократить энергозатраты за счет более полного использования энергии коронного разряда и этим повысить эффективность улавливания высокодисперсных частиц. Напряжение, при котором происходит коронный разряд (8...15кВ вместо 40...50 кВ в однозонных фильтрах), способствует уменьшению концентрации образующихся при коронном разряде вредных газов: озона и оксидов азота. Двухзонные электрофильтры выгодно отличаются от тканых фильтров небольшим гидравлическим сопротивлением (10...20 Па), практически не изменяющимся в процессе эксплуатации. Коэффициент очистки - 87... 93 %.

Тканевые фильтры, как правило, имеют более высокий, чем электрофильтры, коэффициент очистки (98...99%). Недостатки тканевых фильтров - сравнительно большое сопротивление (1... 1,2 кПа при воздушной нагрузке 100...120 м3/(ч м2)), изменяющееся в процессе работы, и, кроме того, весьма затрудненная регенерация фильтрующего элемента.

Заключение

Сварка относится к работам С повышенной опасностью, что влечет за собой ряд требований, выполнение которых обязательно. Основными опасными факторами при сварочных работах являются:

1. опасность поражения электрическим током при выполнении сварочных работ дуговой сваркой;

2. ожоги кожного покрова и органов зрения излучаемой энергией электрической дуги и брызгами расплавленного металла;

3. отрицательное воздействие на организм человека газов, паров и пыли, выделяющихся в процессе сварочных работ;

4. механический травматизм в процессе сборочных работ и подготовки деталей к сварке;

5. взрывоопасность баллонов с горючим газом и ацетиленовых генераторов;

6. пожарная опасность при всех огневых работах;

7. радиационное поражение при радиационном методе контроля сварных соединений;

8. при монтажных работах появляется опасность, связанная с работой на высоте.

Поэтому к сварочным работам допускаются только лица, достигшие 18-летнего возраста и прошедшие специальную подготовку и медицинское обследование. Именно эти факторы вызывают профессиональные заболевания и травматические повреждения. Другие вредности: газы, шум, электромагнитные поля, имеют меньшее значение и обычно не служат причиной профессиональных заболеваний. Поэтому необходимо уделить должное внимание основным поражающим факторам. При принятии мер по снижению воздействия опасных факторов снижается категория тяжести труда. И пока основным действующим лицом процесса будет человек, процесс сварки будет характеризоваться как тяжелый труд.

Список литературы

1. Алексеева И.С. Норкин Ю.И. Гигиена и безопасность труда при сварочных и плазменных работах в судостроении. Д.: Судостроение, 1984. 109 с.

2. Бектобеков Г.В., Борисова Н.Н., Короткое В.И. Справочная книга по охране труда в машиностроении / под общ. ред. О.Н. Русакова. JL: Машиностроение, 1989. 541 с.

3. Гаевая Л.А. Средства индивидуальной защиты глаз и лица на производстве. М.: Машиностроение, 1980. 280 с.

4. Гвоздейко Л.А., Кузина А.С. Гигиеническая оценка измерения сварочной дуги в условиях современного производства // Гигиена труда и профзаболевания. 1982. № 5. С. 31-34.

5. Горбань Л.Н. Современное состояние контроля за содержанием вредных веществ в воздухе рабочей зоны при сварочных работах // 1991. № 2. С. 37-40.

6. Горбань Л.H., Евтушенко Г.И. и др. Гигиена труда в машиностроительной промышленности. Сварочные работы: Руководство по гигиене труда / под ред. Н.Ф. Измерова. М.: Медицина, 1987. Т. 2. С. 202-211.

7. Гримитлин М.И., Тимофеева О.Н. Вентиляция и отопление цехов машиностроительных заводов. М.: Машиностроение, 1978. - 272 с.

8. Евтушенко Г.И., Карамышев В.Б. и др. Гигиеническая оценка условий труда рабочих, обслуживающих стыковые машины контактной электросварки // гигиена труда. Киев: Здоровье, 1983. Вып. 19. С. 9-12.

9. Кузина А.С. Характеристика ультрафиолетовой составляющей излучения сварочной дуги при некоторых видах сварки // Гигиена труда. 1983. Вып. 19. С. 29-83.

10.Левченко О.Г., Метлицкий В.А. Новые средства защиты от сварочных аэрозолей. Киев: Экотехнология, 2009. 46 с.

11.Правила пожарной безопасности при проведении сварочных и других огневых работ на объектах народного хозяйства. М.: Стройиздат, 1981. 64 с.

12.Равлусевич Р.А., Глебов А.З., Кольдерцев И.С. Инструмент и средства защиты электросварщиков. М.: Машиностроение, 1984. 96 с.

13.РафаП.И. Пожарная безопасность при огневых работах. М.: Стройиздат, 1984. 77 с.

14.Румянцев С.В. Радиационная дефектоскопия. М.: Атомиздат, 1988.

15.Симонов В.И., Шибанов Н.М., Яшин B.C. Спецодежда, спецобувь и другие средства индивидуальной защиты для строителей. М.: Стройиздат, 1984. 104 с.

16.Сокол РЛ., Руднев А.А. Безопасность сварочных работ при монтаже оборудования электростанций. М.: Энергоатомиздат, 1986. 64 с.

17.Средства индивидуальной защиты работающих на производстве: Каталог- справочник / под общей ред. В.Н. Ардасенова. М.: Профиздат, 1988. 176 с.

18.Троицкий В.А., Радько В.П., Демидко В.Г. Неразрушающий контроль качества сварных конструкций. Киев: Техника, 1986. 158 с.

19.Чубарова З.С. Методы оценки качества специальной одежды. М.: Легпромбытиз- дат, 1988. 160 с.

Шестопал А.Н., Васильев Ю.С., Тарасенко О.В. Справочник по сварке и склеиванию пластмасс, 2-е изд., перераб. и доп. Киев: Техника, 2010. 199 с.

Похожие работы на - Меры и средства защиты при проведении электрогазосварочных работ

 

Не нашли материал для своей работы?
Поможем написать уникальную работу
Без плагиата!
Без нейросетей!