Контроль запыленности воздуха рабочей зоны. Тепловая и лучистая энергия. Методы борьбы с вибрацией
Федеральное
агентство железнодорожного транспорта
Дальневосточный
- государственный университет путей сообщения
Сахалинский
институт железнодорожного транспорта
ФГБОУ ВПО
Кафедра
«Безопасность жизнедеятельности»
Контрольная
работа
По
дисциплине «Безопасность жизнедеятельности»
Студента 4 курса
Шифр: КТ 12 НТК-(БТ) ПМ-034
Южно -
Сахалинск 2014
1. Методы определения загазованности и
запыленности производственных помещений. Схемы установок, необходимые расчетные
формулы
.1 Методы определения концентрации пыли в
воздухе рабочей зоны
Для контроля запыленности воздуха рабочей зоны
могут быть использованы различные методы (фильтрационные, седиментационные,
электрические). Перспективными являются новые методы измерения концентрации
пыли с использованием лазерной техники. Самыми распространенными методами
определения содержания пыли являются весовой (гравиметрический), счетный,
фотоэлектрический и электрический. Весовой метод заключается в улавливании пыли
фильтрами (АФА-В-10, АФА-В-20) из определенного объема запыленного воздуха,
определении привеса фильтра и вычислении весовой концентрации пыли в мг/м3.
Счетный метод основан на осаждении пыли из
определенного объема воздуха с помощь прибора-кониметра и последующем
определении под микроскопом формы, размера и количества пылинок в 1 см3
воздуха. Электрический метод основан на определении концентрации пыли путем
осаждения её в электрическом поле высокого напряжения и последующем счете
частиц под микроскопом. Фотоэлектрический метод основан на принципе измерения
ослабления монохроматического параллельного пучка световых лучей, проходящего
через слой запыленного воздуха, с помощью фотоэлемента и гальванометра. На
рабочих местах концентрацию пыли необходимо измерять в зоне дыхания или в
случае невозможности такого отбора с максимальным приближением к ней
воздухоприемного отверстия пылеотборника или пылемера, но не далее 1 - 1,5 м,
на высоте 1,5 м от пола.
Если рабочее место не фиксировано, измерение
концентрации пыли проводят в точках рабочей зоны, в которых работающий
находится более 50% смены. Зона дыхания - пространство в радиусе до 50 см от
лица работающего. Длительность измерения максимально разовых концентраций
должна составлять 30 мин. При уровнях запыленности более 10 ПДК допускается
отбор нескольких последовательных (не менее трех) разовых проб через равные
промежутки времени. При применении пылемеров в течение 30 минут следует
проводить не менее трех измерений через равные промежутки времени. Измерения
максимально разовых концентраций должны производиться в периоды выполнения
основных пылеобразующих операций. При кратковременной (менее 30 мин), но
периодической операции отбор проб воздуха следует производить и при ее
повторении таким образом, чтобы суммарная (общая) длительность достигала 30 мин.
Периодичность контроля среднесменных концентраций устанавливают по согласованию
с ЦГСЭН, как правило, она соответствует периодичности медицинского осмотра.
.2 Методы определения концентрации вредных
веществ в воздухе рабочей зоны
В производственных помещениях необходим
постоянный контроль за содержанием вредных веществ в воздухе рабочей зоны.
Анализ воздушной среды для определения содержания вредных газов, паров в
воздухе проводится различными методами: экспресс - метод -
линейно-колористический, индикационный; лабораторным методом -
колориметрический, спектрофотометрический, кондуктометрический,
хроматографический, акустический. Широкое применение получил экспресс-метод как
наиболее простой. Этот метод дает возможность на месте определить степень загрязнения
воздуха, например, для срочного выяснения причин несчастного случая, решения
вопроса о срочном ремонте аппарата, в котором протекает химический процесс, и
т.д.
Для этого используются универсальные
газоанализаторы (УГ), аспираторы типа АМ-5, АМ-0059, насос-пробоотборник НП-3М.
Воздух через насос забирается, просасывается через трубочку с индикаторным
порошком, и по цвету судят о присутствии того или иного загрязнителя,
концентрацию определяют по длине окрашенного столбика, сравнивая с
градуированной шкалой. Для каждого вредного вещества существует свой
индикаторный порошок. По результатам анализа можно судить о качестве воздушной
среды, эффективности вентиляции и герметизации производственного оборудования.
Лабораторный метод - забираются пробы воздуха в
любом месте, затем на стационарном лабораторном оборудовании проводится анализ
проб. Контроль воздуха осуществляют при характерных производственных условиях -
ведении производственного процесса в соответствии с технологическим процессом.
Контроль содержания вредных веществ в воздухе рабочей зоны проводится путем
сравнения измеренных среднесменных и максимальных концентраций с их предельно
допустимыми значениями - максимально разовыми (ПДКм) и среднесменными (ПДКсс)
нормативами [6].
Отбор проб воздуха проводят в зоне дыхания
работника либо с максимальным приближением к ней воздухозаборного устройства
(на высоте 1,5 м от пола рабочей площадки при работе стоя и 1 м - при работе
сидя). Если рабочее место не постоянное, отбор проб проводят в точках рабочей зоны,
в которых работник находится в течение смены [3].
Устройства для отбора проб могут размещаться в
фиксированных точках рабочей зоны (стационарный метод) либо закрепляться
непосредственно на одежде работника (персональный мониторинг). Аппаратура и приборы,
используемые при исследованиях, подлежат поверке в установленном порядке.
Контроль воздушной среды на участках, характеризующихся постоянством
технологического процесса, значительным количеством идентичного оборудования
или аналогичных рабочих мест, осуществляется выборочно на отдельных рабочих
местах (но не менее 20 %), расположенных в центре и по периферии помещения.
Периодичность контроля устанавливается в
зависимости от класса опасности вредного вещества: для I класса - не реже 1
раза в 10 дней, II класса - не реже 1 раза в месяц, III и IV классов - не реже
1 раза в квартал [5]. В зависимости от конкретных условий производства
периодичность контроля может быть изменена по согласованию с органами
государственного санитарного надзора. При установленном соответствии содержания
вредных веществ III, IV классов опасности уровню ПДК допускается проводить
контроль не реже 1 раза в год.
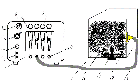
Определение запыленности воздуха весовым методом
с помощью аспиратора модели 822
.3 Методика определения запыленности воздуха
Все необходимые данные и результаты измерений
запыленности вносят в форму № 8 «Запыленность воздуха».
Графа 1 - название отдела, фонда, № помещения,
место отбора пробы. Для достоверной оценки запыленности воздуха необходимо
отбирать в разных точках хранилища 5-15 проб.
Графа 2 - номера фильтров (фильтры нумеруют на
бумажных держателях). Фильтры АФА-ВП-10 перед взвешиванием помещают на 0,5-1 ч
около весов, чтобы температура и влажность фильтров сравнялась с температурой и
влажностью воздуха в футляре весов. Фильтры аккуратно отсоединяют от бумажной
подложки и помещают в бумажные держатели.
Графа 3 - продолжительность отбора пробы (ф),
мин.
Графа 4 - скорость воздуха (н), л/мин.
Длительность прокачивания воздуха через один
фильтр определяется двумя факторами :
точностью весового метода, поэтому количество
пыли на фильтре должно быть не менее 1-2 мг;
пылеемкостью применяемого фильтра: например, для
АФА-ВП-10 количество собранной пыли на фильтре должно быть не более 25 мг.
Поэтому количество прокачиваемого воздуха
зависит от степени запыленности помещения и определяется опытным путем.
Графа 5 - объем воздуха, прошедшего через фильтр
(V), л, рассчитанный по формуле:
= н Ч ф .73
После отбора проб опытные и контрольные фильтры
в течение 0,5-1 ч должны выдерживаться в одинаковых условиях температуры и
влажности воздуха.
Графа 6 - конечные массы контрольных и опытных
фильтров после прокачивания воздуха.
Графа 7 - начальные массы контрольных фильтров и
фильтров для отбора проб (опытных), которые взвешивают на весах с точностью
±0,0001 г или ±0,00001 г.
Графа 8 - результаты расчета изменения массы
контрольных и опытных фильтров ∆МХ по формуле:
∆ МХ = Мкон - Мнач,
где ∆ МХ - изменение массы фильтра,
Мкон - масса фильтра после отбора проб воздуха,
Мнач - начальная масса фильтра.
Графа 9 - среднее значение изменения массы
контрольных тампонов ∆Мконтр (с учетом знака "+" или
"-" ), определенное по формуле:
∆ Мконтр = У∆ МК/N ,
где N - количество контрольных фильтров,
∆ МК - изменение массы каждого
контрольного фильтра.
Значение ∆Мконтр показывает, какое
количество влаги поглотили или отдали чистые фильтры относительно их
первоначального веса.
Массу пыли, осевшую на фильтре Мпыли, с учетом
изменения массы контрольных фильтров ∆Мконтр вычисляют по формулам:
если ∆ Мконтр > 0, то Мпыли = ∆ М
- ∆ Мконтр;
если ∆ Мконтр < 0, то Мпыли = ∆ М
+ ∆ Мконтр,
где ∆ Мконтр - модуль значения изменения
массы контрольных фильтров.
Графа 9 - количество пыли, осевшее на фильтре,
Мпыли, г.
Графа 10 - запыленность воздуха, С, мг/м3,
рассчитанная по формуле:
С = Мпыли Ч 106/ V ,
где V - объем воздуха, прошедшего через фильтр,
106 - коэффициент для перевода запыленности из г/л в мг/м3 (единицы измерения,
предусмотренные ГОСТ 7.50-2002)
2. Особенности действия лучистой теплоты на
организм человека. Мероприятия позволяющие компенсировать действие на
работающего
.1 Тепловая и лучистая энергия
Внутренняя тепловая и лучистая
энергия играют значительную роль в создании микроклиматических условий на
рабочих местах и в помещениях.
Теплопередача может происходить
путем конвекции, теплопроводности и излучения. Передача тепла осуществляется:
при конвекции - движущейся
средой: водой, паром, газом и т. п.;
при теплопроводности - от одной
части твердого тела к другим;
при излучении - интенсивными
инфракрасными лучами, которые непосредственно не нагревают воздух, но при
поглощении которых твердые тела нагреваются.
Чаще всего нагревание
(охлаждение) тел происходит посредством всех трех или двух видов теплопередачи.
Для теплообмена при излучении
не требуется непосредственного соприкосновения тел, и среда, через которую идут
лучи, практически на них не воздействует. Действие тепла при этом сказывается
не только на облучаемом участке тела, но и на всем организме. Излучение может
вызвать у человека тепловые ожоги всех трех степеней.
Ожоги - очень опасный вид
травм, так как они вызывают нарушения различных жизненных функций.
По характеру и интенсивности
воздействия на организм человека энергию при излучении подразделяют на три
категории:- энергия, исходящая от тел, нагретых до 500 °C, с преобладающим
тепловым воздействием;- энергия, излучаемая телами, нагретыми до 3000 °C, с
преобладающим световым воздействием;- энергия тел, нагретых более 3000 °C, в
которой преобладают ультрафиолетовые лучи, вызывающие заболевание глаз и ожоги.
Для защиты человека от
теплового излучения используют различного рода экраны, защитную спецодежду.
Радикальное средство защиты - устранение источника излучений. Экраны
изготавливают из материалов с высокой отражательной способностью
(никелированные, хромированные, полированные, с зеркальными покрытиями) и
устанавливают перпендикулярно направлению излучения.
В качестве индивидуальных
средств защиты используют очки (одинарные и двойные) со светофильтрами,
брезентовые и суконные костюмы, щитки, маски, пасты от действия солнечной
радиации.
.2 Радиоактивное излучение
Несмотря на то, что работа с
радиоактивными веществами и источниками ионизирующих излучений в высших
педагогических учебных заведениях ограничена, а в школах запрещена, в некоторых
лабораторных работах для студентов по физике, радиотехнике, технологии металлов
(гамма-дефектоскопия), рентгеновских установках и в некоторых других случаях
они применяются. Это определяет необходимость рассмотрения способов защиты от
образующихся при этом вредных факторов.
В зависимости от возможного
воздействия их на человека работы с радиоактивными веществами делятся на
следующие группы:
работы с открытыми
радиоактивными веществами, при которых возможно загрязнение тела и атмосферы;
работы с закрытыми
радиоактивными изотопами, когда возможно только внешнее облучение;
работа с материалами, в которых
растворены радиоактивные изотопы.
Наиболее тяжелое последствие,
вызванное действием ионизирующей радиации, - лучевая болезнь, при которой
происходит нарушение функций всех органов и систем. Различают острую форму
болезни (однократное облучение в несколько сотен радиан), молниеносную -
(результат облучения дозой в несколько тысяч радиан) и хроническую,
развивающуюся при длительном облучении организма в малых дозах. Лучевая болезнь
возникает только в случае облучения дозами, превышающими допустимые. Поэтому
большое значение имеет профилактическая работа.
К работе с радиоактивными
веществами не допускаются лица моложе 18 лет и беременные женщины. Работающие с
радиоактивными веществами должны проходить периодический инструктаж и
медицинское обследование. Все помещения, оборудование, транспорт, приборы,
предназначенные для работы и перемещения радиоактивных веществ, имеют знак
радиационной опасности - желтый круг, на фоне которого нанесены три красных
лепестка и внутренний красный круг. Во всех помещениях, где проводят работы с
радиоактивными веществами, должен проводиться дозиметрический контроль с целью
заблаговременного предупреждения работающих об опасности. Периодичность и виды
дозиметрических измерений устанавливает санитарно-эпидемиологическая станция
(СЭС); данные контроля регистрируют в особом журнале. Работающих обеспечивают
специальной одеждой (халат, шапочка, обувь, резиновые перчатки). Для защиты органов
дыхания необходимо применять специальные респираторы с принудительной подачей
чистого воздуха.
Помещения, в которых работают с
радиоактивными веществами, размещают отдельно. Их оборудуют специальными мерами
защиты и установками контроля. Шкафы, камеры, боксы и другие помещения, где
используют радиоактивные вещества, должны иметь вентиляцию и очистные
устройства перед выбросом в атмосферу, а также быть удобными для мойки и
уборки. Все источники радиации изолируют стационарными и нестационарными защитными
устройствами из свинца, свинцового стекла, бетона, стали и т. д. Защитные
свойства материалов характеризуются свинцовым эквивалентом - толщиной свинца в
миллиметрах, эквивалентной по защите слою данного материала. Для хранения и
перевозки радиоизотопов используют ампулохранилища и контейнеры - приборы, в
которых защитный экран представляет собой свинцовую заливку, а корпус сделан из
чугуна. В рабочее время радиоактивные изотопы размещают в хранилищах, сейфах,
оборудованных радиационной защитой и вентиляцией. Запас радиоактивных веществ в
лаборатории не должен превышать ожидаемого суточного расхода.
Нормы радиационной безопасности
(НРБ) устанавливают предельно допустимую дозу (ПДД) внешнего и внутреннего
облучения в зависимости от группы критических органов и категории облучаемых
лиц. В любом случае доза, накопленная в возрасте до 30 лет, не должна превышать
12 ПДД.
запыленность виброизоляция зануление
лучистый
3. Активная и пассивная виброизоляция. Расчет
Снижения вибраций машин, механизмов и
оборудования добиваются либо воздействием на источник вибрации, либо
воздействием на всю колебательную систему.
Характерной особенностью современных машин
является сложность взаимосвязей между их элементами и большие скорости
перемещения подвижных частей. Поэтому машины являются сложными системами со
многими степенями свободы; машины генерируют в системе ряд резонансных частот.
Указанные особенности чрезмерно усложняют аналитическое описание вибраций таких
систем.
Источниками возникновения вибрации являются
устройства, в которых появляются силы Rк, возбуждающие колебания.
Это, как правило, силы, действующие в зазорах сопрягающихся деталей.
Закономерность их изменения и величина зависят от характера нагрузки,
приложенной к рабочим органам, от вида движения элементов системы (вращательное
и возвратно-поступательное), от тщательности балансировки вращающихся деталей и
от величины зазоров в сопряжениях.
Из этого вытекают и методы борьбы с вибрацией в
источнике ее возникновения. Нужно добиваться равномерности нагрузки, действующей
на рабочие органы; заменять, где возможно, кривошипные механизмы на
равномерно-вращающиеся; наиболее эффективны в этом случае механизмы с
гидроприводом.
Эффективным методом борьбы с вибрацией в
источнике ее образования является повышение класса точности обработки и чистоты
поверхности сопрягающихся деталей.
Вибрация насосов, вентиляторов, компрессоров,
двигателей возникает чаще всего из-за недостаточной уравновешенности
вращающихся элементов. Плохое крепление деталей у таких машин, а также их износ
в процессе эксплуатации резко увеличивает вибрацию.
Редукторы с глобоидным, шевронным, двушевронным
и конхоидальным зацеплением шестерен вибрируют значительно меньше, чем
редукторы с прямозубыми шестернями.
Ликвидация резонансных колебаний системы
существенно ослабляет их вибрацию. Достигается это путем отстройки собственных
частот колебаний системы и ее отдельных элементов от частоты вынужденной силы.
Собственную частоту колебаний системы и ее
элементов можно определить расчетным путем по известному значению массы m и
упругости q системы. В случаях, когда упругость q неизвестна или ее трудно
определить, собственную частоту системы определяют экспериментально. Для этого
записывают вибрацию на осциллограмму при отсутствии возбуждающей силы и с ее
помощью определяют собственную частоту колебаний системы.
Нужно стремиться отстроить собственную частоту
колебаний системы от частоты колебаний вынуждающей силы в процессе
проектирования машины, когда есть возможность изменить резонансный режим работы
машины.
В условиях эксплуатации устранения резонансных
режимов добиваются изменением массы или жесткости системы.
Уменьшения вибрации за счет увеличения активных
потерь добиваются путем превращения энергии механических колебаний системы в
другие виды энергии, чаще в тепловую. Процесс перевода одного вида энергии в
другой в этом случае называется вибродемпфированием. Осуществляется он за счет
использования поверхностного трения, применения конструктивных материалов с
большим внутренним трением, нанесения слоя упруговязких материалов на элементы
конструкции, подвергающиеся деформациям в процессе вибрации, или путем перевода
колебательной энергии в энергию электромагнитного колебания.
Чаще всего для уменьшения вредного воздействия
виброизоляции как способ вибрационной защиты, заключающийся в уменьшении
передачи вибрации от источника возбуждения к защищаемому объекту при помощи
устройств, помещенных между ними.
Различают пассивную виброизоляцию, не
использующую дополнительный источник энергии, и активную, использующую такой
источник.
Эффективность виброизоляции оценивается
коэффициентом эффективности вибрационной защиты Kэф, который
представляет собой отношение значения одного из параметров вибрации защищаемого
объекта до введения виброзащиты к значению этой же величины после ее введения.
В системах, генерирующих наиболее простые
гармонические колебания, виброзащита оператора считается достаточной, когда
отношение частоты возбуждения щ к частоте собственных колебаний щ0
(щ/щ0 > 1,41), то Kэф > 1. При частоте возбуждения
щ = 1,41щ0 колебания передаются без изменения (Kэф = 1).
Если щ/щ0 < 1,41, то система увеличивает колебания (Kэф
< 1).
Так, если учесть, что собственная частота
колебаний большинства внутренних органов человека составляет щ0 =
5…9 Гц, то виброзащита тракториста при бороновании поля поперек пахоты, когда
остов трактора имеет гармонические колебания, будет обеспечена, если на его
сиденье (принимая щ0 = 7) будут генерироваться колебания с частотой
щ = 1,41·7 Гц, т.е. щ > 9,87 Гц.
Для защиты рук от вибрации используют различные
виброзащитные рукоятки. От высокочастотных колебаний эффективно защищает
рукоятка из эластичного материала на воздушной подушке.
Для оценки виброопасности рабочего места,
передающего на оператора местную или общую вибрацию, используют специальные приборы:
НВА-1; ИШВ-1; виброизмерительный комплект типа 3501 датской фирмы «Брюль и
Къер»; виброизмерительную аппаратуру фирмы RFT (ГДР) и др.
Между источником вибрации и ее приемником,
являющимся одновременно объектов защиты, устанавливают упругодемпфирующее
устройство - виброизолятор - с малым коэффициентом передачи (рис. 6.32, а).
Схематично система «источник вибраций - защитное устройство - приемник»
показана на рис. 6.32, б. При возбуждении системы защитное устройство,
расположенное между источником и приемником, воздействует на них с реакциями FR
и FR'. Ниже будут рассматриваться безынерционные устройства, у
которых реакции FR и FR' равны.
Различают два вида возбуждения: силовое и
кинетическое, при этом соответственно большую массу имеет приемник и его считают
неподвижным или источник, и закон его движения считают заданным.
При силовом гармоническом возбуждении силой Ft
= Fmejщt цель защиты обычно состоит в уменьшении
амплитуды силы FR, передаваемой на приемник. Импеданс виброизолятора
определяется формулой (1)
zR = G/щ (з - j). (1)
Импеданс вибросистемы
= zМ + zR = G/щ [з + j (щ2/щ02
- 1)]. (2)
Поток энергии на входе в ЗУ определяется
усредненной за цикл мощностью вынужденной силы:
W+ = 1/2Re(Ft*·v)
= 1/2Re(Ft*·v) = 1/2(zv·v*) = = 1/2zv2m.
(3)
Поток энергии на выходе из защитного устройства
определяется усредненной за цикл мощностью реакции защитного устройства:
W~
= 1/2Re(FR·v*)
= 1/2(zRv·v*)
= 1/2zRv2m.
(4)
Отношение мощностей W+
/ W~
называют силовым коэффициентом защиты kF = z/zR. Из
соотношений Ft·=
zv·и FR·=
zRv·видно, что
он при определенных условиях равен отношению амплитуды вынуждающей силы к
амплитуде силы, переданной на приемник.
При кинетическом возбуждении цель защиты обычно
заключается в уменьшении передаваемого смещения. Степень реализации этой цели
характеризуют динамическим коэффициентом защиты kX равным отношению
амплитуды смещения источника к амплитуде смещения приемника. Можно показать,
что kX = z/zR.
В общем случае энергетический коэффициент защиты
можно выразить в виде kW = kF·kX.
По формуле (5) эффективность виброизоляции
e = 101gkW = 201g|z/zR|.
(5)
В области высоких частот импеданс z
≈
zM (см.выше) и
эффективность виброизоляции равна e ≈ 401gщ/щ0 - 101g(1 + з2).
В частности, если демпфирующее сопротивление мало влияет на движение системы,
то величиной з можно пренебречь. Тогда e = 401gщ/щ0, т.е. в области
высоких частот почти вся энергия затрачивается на движение массы; поток
энергии, передаваемой на приемник, обратно пропорционален квадрату частоты
возбуждения, и эффективность виброизоляции тем выше, чем больше частота щ.
В области низких частот z
≈
zG и эффективность
виброизоляции e ≈ - 101g(1 + з2), т.е отрицательна или равна
нулю.
В общем случае из выражения (5) следует, что
эффективность виброизоляции
= 101g[з2 + (щ2/щ20
- 1)2] - 101g(1 + з2).
Если потери в защитном устройстве отсутствуют (з
= 0), то эффективность
= 201g(щ2/щ20 -
1).
Из последнего выражения видно, что цель
виброизоляции (e > 0) обеспечивается в частотном диапазоне: щ>√2 щ0.
На рис. 6.33 представлена зависимость коэффициента передачи ф от отношения
частоты вынуждающей силы к собственной частоте вибросистемы при разных
значениях отношения импеданса демпфирующего элемента к его критическому
значению, т.е. при разных D = S/Sкр.
В качестве виброизоляторов используют упругие
материалы и прежде всего металлические пружины, резину, пробку, войлок. Выбор
того или иного материала обычно определяется величиной требуемого статического
прогиба и условиями, в которых виброизолятор будет работать (например,
температурой, химической агрессивностью рабочей среды и т.д.). Зависимость
между статическим прогибом и собственной частотой для некоторых материалов
показана на рис. 6.34.
Резина имеет малую плотность, хорошо крепится к
деталям, ей легко придать любую форму и она обычно используется для
визроизоляции машин малой и средней массы (ДВС, электродвигателей и др.). В
виброизоляторах резина работает на сдвиг и (или) сжатие. Жесткость резиновой
подушки, работающей на сжатие, зависит от ее размеров и конструктивных
особенностей, направленных на предотвращение распучивания резины в стороны при
действии нагрузки.
Металлические пружины применяют обычно тогда,
когда требуется большой статический прогиб или когда рабочие условия (например,
температура, агрессивность среды) делают невозможным применение резины.
Конструктивно пружинные виброизоляторы можно выполнить для работы практически
на любой частоте. Однако металлические пружины имеют тот недостаток, что будучи
спроектированы на низкую частоту (например, 15 Гц для ДВС), они пропускают более
высокие частоты.
Большое применение находят конические дисковые
пружины (рис. 6,35, а). Изменяя отношение h/t, получают необходимый прогиб.
Конструктивно отдельные дисковые пружины можно соединять параллельно (рис.
6.35, б) или последовательно (рис. 6.35, в). При параллельном соединении
нагрузка при заданном прогибе возрастает пропорционально числу дисков, при
последовательном - прогиб при заданной нагрузке увеличивается пропорционально
их числу. Отношение диаметров 2R/B в большинстве случае выбирают равным
1,5…3,5.
Пробку используют при нагрузке 50…150 кПа,
отвечающей рекомендованному диапазону упругости. Обычно установку сначала
устанавливают на бетонные блоки и уже последние отделяют от фундамента с
помощью нескольких слоев пробковой плитки толщиной 2…15 см. Увеличение толщины
будет понижать частоту, выше которой виброизоляция эффективна, но при большой
толщине возникает проблема устойчивости. Поэтому пробку не применяют в области
низких частот. Нефть, вода, умеренные температуры оказывают незначительный
эффект на рабочие характеристики пробки, но с течением времени от нагрузки
пробка сжимается.
Войлок толщиной 1…2,5 см, занимающий площадь 5%
общей площади основания машины, весьма распространенный изолирующий материал.
Он имеет относительно большой коэффициент потерь (з ≈ 0,13) и поэтому
эффективен на резонансных частотах. Обычно войлок применяют в частотном
диапазоне свыше 40 Гц.
4. Зануление. Устройство, принцип действия,
область применения
Назначение, принцип действия,
область применения. Зануление
<#"785242.files/image007.gif">
Рис. 4.1. Принципиальная схема зануления в
системе TN - S : 1 - корпус электроустановки (электродвигатель, трансформатор и
т. п.); 2 - аппараты защиты от токов КЗ (предохранители): R0 -
сопротивление заземления нейтрали обмотки источника тока; RП -
сопротивление повторного заземления нулевого защитного проводника; Iк
- ток КЗ; Iн - часть тока КЗ, протекающего через нулевой защитный
проводник; Iз - часть тока КЗ, протекающего через землю - корпус
электроустановки (электродвигатель, трансформатор и т. п.); 2 - аппараты защиты
от токов КЗ (предохранители): R0 - сопротивление заземления нейтрали
обмотки источника тока; RП - сопротивление повторного заземления
нулевого защитного проводника; Iк - ток КЗ; Iн - часть
тока КЗ, протекающего через нулевой защитный проводник; Iз - часть
тока КЗ, протекающего через землю - корпус электроустановки (электродвигатель,
трансформатор и т. п.); 2 - аппараты защиты от токов КЗ (предохранители): R0
- сопротивление заземления нейтрали обмотки источника тока; RП -
сопротивление повторного заземления нулевого защитного проводника; Iк
- ток КЗ; Iн- часть тока КЗ, протекающего через нулевой защитный
проводник; Iз - часть тока КЗ, протекающего через землю
. Рассчитать площадь световых проемов в цехе для
обеспечения нормированного коэффициента естественного освещения. Помещение по
задачам зрительной работы относится к 1 й группе. Для ЕО принять боковое
расположение световых проемов
Исходные данные:
.Размеры помещения: l=19м,
B=8м, h=3,9м
. Разряд зрительной работы: 4
. Пункт расположения цеха: Чита
.Коэффициенты отражения поверхностей помещения:
потолка r 1 = 0,6; стен r 2 = 0,4; пола r 3=0,1.
Расстояние между механическим цехом депо и
противостоящим зданием Р = 20 м, а высота расположения карниза противостоящего
здания над подоконником механического цеха Нзд = 10 м. В цехе
запроектировано боковое освещение из листового двойного стекла, переплеты для
окон - деревянные одинарные.
Решение:
Расчет площади световых проемов при боковом
освещении производится по формуле
(1)
где So - площадь световых проемов при
боковом освещении; EN - нормированное значение коэффициента
естественного освещения (КЕО); Sп - площадь пола помещения; Кз
- коэффициент запаса; h о - световая характеристика окон; Кзд
- коэффициент, учитывающий затенение окон противостоящими зданиями; t о -
общий коэффициент светопропускания, определяемый по формуле (2); r1
- коэффициент, учитывающий повышение КЕО при боковом освещении благодаря свету,
отраженному от поверхностей помещения и подстилающего слоя, прилегающего к
зданию.
Общий коэффициент светопропускания определяется
по формуле
(2)
где t 1 - коэффициент
светопропускания материала; t 2 - коэффициент, учитывающий потери
света в переплетах светопроема; t 3 - коэффициент, учитывающий
потери света в несущих конструкциях (при боковом освещении t 3 = 1);
t 4 - коэффициент, учитывающий потери света в солнцезащитных
устройствах.
По условиям задачи определяем:
· нормированное значение КЕО; N -
номер группы района для Читинской области - 2; l н = 3%
· коэффициент, учитывающий особенности
светового климата mN = 0,9
По этим данным определяем:
· нормированное значение КЕО
;
· площадь пола
,
м2;
· коэффициент запаса Кз =
1,6 [2, табл. 3];
· световая характеристика h 0 =
10,5 [3, табл. 26].

;
· коэффициент, учитывающий затенение
окон противостоящими зданиями Кзд = 1,1 [3, табл. 27],
· коэффициенты t 1 = 0,8; t
2 = 0,75; t 3 = 1; t 4 = 1 (солнцезащитные
средства отсутствуют [3, табл. 28]),
;
· коэффициент r1 по [3,
табл. 30]. Для рассматриваемого случая он составляет 1,3,
м2;
м2;
;
м2.
Общая площадь световых проемов цеха должна быть
не менее 31 м2.
6. Рассчитать амортизаторы под вентиляционную
установку и установить эффективность виброизоляции
Исходные данные:
. Масса изолир. установки (Эл.двиг вентиляция,
ж.-б. плита, Р, кг): 350кг
. Число оборотов вала Эл. Двигателя n,
об/мин. : 1000 об/мин
. Расчетная амплитуда вертикальных колебаний
установки, dz : 0,0030 dz
Решение:
Расчетная схема установки:
Рис.1. Амортизаторная установка
Принимаем соотношение вынужденных и собственных
колебаний равным 4;
Допустимое напряжение на кручение [t ] = 4,2
103
кгс/см2;
Модуль сдвига s = 8
105 кгс/см2;
Индекс пружины с = 4,
Коэффициент Кр = 1,4.
Определяем частоту вынужденных колебаний, Гц,
так как f/fo = 4, частота собственных
колебаний, Гц,
Необходимый статический прогиб Х ст = 14.
Находим суммарную жесткость виброизоляторов,
Н/см,
где m - масса фундамента с установкой, Н,
Н/см.
Жесткость одной пружины, Н/см,
Определяем динамическую нагрузку, Н, на одну
пружину в рабочем режиме изолируемого устройства:
,
Н.
Расчетная нагрузка на одну пружину:
,
где Vo - среднеквадратичная
виброскорость рабочего места (Vo = 0,002 м/с), V -
среднеквадратичная виброскорость основания виброплощадки (V = 0,09 м/с);
Диаметр проволоки, см, цилиндрических винтовых
пружин определяем по формуле
Определяем число витков пружины
.
Таблица 1 Полное число витков пружин
|
при
i < 7
|
iп
= i + 1,5
|
|
|
при
i > 7
|
iп
= i + 2,5
|
iп=
13 + 2,5 = 15,5.
|
Высота пружины, см,
,
см.
Коэффициент передачи определяем по формуле (3.4)
.
Эффективность виброизоляции, дБ,
,
Вибрация установки дБ не превысит техническую
норму согласно ГОСТ 12.1.012-90.
Список использованной литературы
1. Авартьянов М.В. Основы
безопасности жизнедеятельности человека: учебник для ВУЗов. - М.: Инфра-М,
2003.
. Безопасность жизнедеятельности:
методические указания и курс лекции / сост.: д-р химич. Наук, профессор Г.Н.
Доленко, ст. преподаватель Н.Н. Симакова. - Новосибирск: СибУПК, 2003.
. СНиП 23-05-95 «Естественное и
искусственное освещение».
. Пчелинцев В.А., Коптев Д.В. Охрана
труда на железнодорожном транспорте. - М.: Высшая школа, 1991.