Вентиляция и пневматический транспорт на льнозаводах

  • Вид работы:
    Контрольная работа
  • Предмет:
    Безопасность жизнедеятельности
  • Язык:
    Русский
    ,
    Формат файла:
    MS Word
    466,95 Кб
  • Опубликовано:
    2015-07-20
Вы можете узнать стоимость помощи в написании студенческой работы.
Помощь в написании работы, которую точно примут!

Вентиляция и пневматический транспорт на льнозаводах















Вентиляция и пневматический транспорт на льнозаводах

План

Общие положения вентиляции и пневматического транспорта на льнозаводе

Устройство вентиляции и пневматического транспорта. Основные элементы вентиляционных установок

Пылеудаление в цехах


Общие положения вентиляции и пневматического транспорта на льнозаводе

На льнозаводах применяются системы естественного проветривания, общеобменной приточно-вытяжной вентиляции, аспирации и пневматического транспорта.

Количество воздуха Ко, подаваемого в помещение или удаляемого из него в час, отнесенное к внутренней кубатуре этого помещения (кратность воздухообмена), определяется по формуле

Ко = L/Vп

где L - воздухообмен, м3/ч; Vm - внутренний объем помещения, м3.

Кратность обмена воздуха в помещении по притоку обозначается знаком плюс (+)» а по вытяжке минус (-). Общая часовая кратность воздухообмена всегда будет равна большей из этих двух величин.

Не рекомендуется для льнозаводов принимать кратность воздухообмена более 15.

Воздухообмен в производственных помещениях следует определять для всех трех расчетных периодов года - теплового, холодного и переходного по приложению 11 СНиП П-33- 95. Для каждого периода года при проектировании вентиляционных систем следует принимать большую из величин воздухоподачи, полученных:

для цехов тепловой мочки и сушки льна - по расчету на ассимиляцию избытков явного тепла, влаги и полного тепла. Расчет воздухообмена на разбавление вредных газов и аэрозолей кислот в этих цехах проводится при достаточном обосновании;

для цехов сухой обработки льна, помещений сортировки и прессования, помещений волокноотделнтельных машин - по расчету количества выделяющейся пыли. Валовые тепло-, влаго- и пылевыделения в производственных помещениях определяют с учетом коэффициента одновременности работы типологического оборудования и его режима.

Для всех типов систем вентиляции, аспирации и пневматического транспорта, применяемых на льнозаводах (рис. 1-5), следует предусматривать заземление металлических воздухопроводов, для чего необходимо соединять вентиляционное оборудование и арматуру в непрерывную электрическую цепь и присоединять к заземляющим устройствам. Непрерывность цепи обеспечивается тщательной зачисткой не менее двух болтов в каждом фланцевом соединении и прокладкой луженых шайб над головками и гайками болтов с зачисткой мест соприкосновения. Каждую систему, соединенную в непрерывную электрическую цепь, присоединяют к заземляющему контуру не менее чем в двух местах.

Системы аспирации и пневмотранспорта для заводов первичной обработки льна следует проектировать, как правило, универсальными, т. е. коллекторными.

Воздухопроводы систем необходимо прокладывать в техническом этаже; там же рекомендуется устанавливать и вентиляторы систем.

При проектировании и расчете систем аспирации и пневмотранспорта, кроме общепринятых в отраслевых нормативных документах исходных данных, включаются следующие условия и ограничения: площадь сечения сборных участков должна быть не менее сечения исходных участков; диаметры (сечения) воздухопроводов при расчете должны быть нормализованы; гидравлическая неувязка в отдельных ответвлениях сети не должна превышать 10% (СНиП 11-33-95, п. 4Л81); при технико-экономическом обосновании допускается объединение в общей сети систем аспирации и пневмотранспорта.

Рис. 1. Схема всасывающей пневматической установки для подачи снопов тресты в производственный корпус:

-загрузочные воронки; 2 - воздухопровод; 3- клапаны; 4 - разгрузитель; 5-вентилятор; 6 - сырьевой тамбур

Рис. 2. Схема пневматической установки для транспортирования длинного и короткого волокна из производственного корпуса в склад готовой продукции: 1 - лоток; 2 - воздухопровод; 3 - лабаз; 4 - герметичная дверь; 5 - вентилятор

Рис. 3. Схема нагнетательной пневматической установки для подачи короткого волокна из производственного корпуса в склад готовой продукции: 1.-вентилятор; 2 - загрузочная воронка; 3- воздухопровод; 4 - разгрузитель; 5 - вентилятор; 6 - тканевый фильтр


Рис. 4. Схема пневматического транспортирования отходов трепания от мяльно-трепального агрегата: 1- бункер под второй секцией; 2 - бункер в пространстве между секциями; 3 - бункер под первой секцией; 4 - бункер на запуске; 5 - коллектор; 6 - уловитель тяжелых предметов; 7 - вентилятор; 8 - противопожарный шибер; 9 - разгрузитель отходов; 10 - трясильная машина

Рис. 5. Схема аспирационной системы:

- стол сортировки волокна; 2 - воздухопроводы; 3 - вентилятор; 4 - фильтр

Основные производственные вредные выделения

При работе технологического оборудования заводов первичной обработки льна выделяются пыль, тепло, влага, пары кислот и газы.

Основным производственным вредным выделением льнозаводов считается мелкая (т. е. размером менее 100 мкм в диаметре) пыль, загрязняющая воздух рабочей зоны. Эта пыль представляет собой смесь, состоящую из органических частиц и минеральных (12-74%) остатков с примесью (до 57%) кварца. Пыль с более низким содержанием минеральных остатков (до 30%) выделяется в рабочей зоне на операциях с готовыми продуктами. Органическая (растительная) пыль состоит преимущественно из частиц, размер которых не превышает 10 мкм (80-95%). Частицы этого размера имеют тенденцию следовать потоку воздуха. В спокойном воздухе частицы пыли размером 0,1-10 мкм оседают медленно, более крупные пылинки размером от 10 мкм и более оседают быстро; а пылинки менее 0,1 мкм почти не оседают.

Устройство вентиляции и пневматического транспорта

Назначение приточной вентиляции - довести метеорологические условия и чистоту воздушной среды в помещениях до требований санитарных норм. При выборе схемы приточной вентиляции цехов льнозаводов необходимо учитывать величину избытков тепла, характер и количество пылевыделений, планировку цехов, расположение рабочих мест, а также экономические возможности.

Воздух для систем приточной вентиляции должен забираться снаружи здания из наименее загрязненных зон.

Вентиляция сырьевого тамбура. В сырьевом тамбуре в холодный и переходный периоды года рекомендуется применять воздушное отопление. В этом случае целесообразно использовать отопительные агрегаты АПВС-50-30 или им подобные.

Для предотвращения проникновения холодного воздуха в помещение через ворота рекомендуется устраивать воздушную тепловую завесу. В теплый период года приток воздуха в помещение осуществляется через открытые фрамуги в окнах.

Удаление воздуха из сырьевого тамбура при наличии системы пневматического транспортирования снопов производится по схеме: вентилятор пневмоустановки размещается в этом же помещении и предназначен для отсоса запыленного воздуха как от участка подачи снопов, так и из-под перфорированной ленты конвейера.

Вентиляция участка сортировки сырья. При хранении сырья в скирдах и стогах сноповую сортировку (раскладку снопов по соответствующим признакам) ведут в сырьевом тамбуре. Сортировка производственным способом (вязка производственных снопов} проводится в отдельных помещениях (участках сортировки сырья), оснащенных общеобменной вентиляцией с воздушным отоплением (рис. 6).

Сортировочные столы, форма и размеры которых различны (прямоугольники, П-образные, Г-образные или конвейерного типа), могут быть покрыты перфорированными листами или иметь щелевые отверстия (между покрывными рейками). Они оснащаются нижним отсосом для удаления земли, костры и сора в количестве 900 м3/ч воздуха на одно рабочее место.

Необходимый температурный режим на рабочих местах в холодный период года поддерживается притоком нагретого воздуха в рабочую зону через пристенные воздухораспределители. В теплый период года приток воздуха в помещение осуществляется через открытые фрамуги в окнах.

Рис. 6. Схема удаления воздуха из сырьевого тамбура (участка сортировки):

- сырьевой тамбур; 2 - тройник-разгрузитель; 3 - клапанная коробка;

- перфорированная лента конвейера; 5 - бункер; 6 - вентилятор

Вентиляция цеха тепловой мочки и сушки льна. При подсчете количества влаги, выделяющейся в помещении тепловой мочки льна, необходимо учитывать: коэффициент прорыва влаги из укрытий мочильных камер (принимается обычно 0,2-0,25); испарение влаги с пола и щитов, закрывающих мочильные камеры. Практически считается, что жидкостью смочено до 50% поверхности пола и щитов. При проектировании вентиляции принимается, что испарение жидкости с поверхности мочильных камер происходит за счет тепла самой жидкости, а с пола и щитов - за счет тепла воздуха помещения. Все резервуары с мочильной жидкостью должны быть укрыты съемными крышками для уменьшения выделения (испарения) влаги.

Вентиляцию в цехах промышленного приготовления тресты рассчитывают на удаление избыточного тепла и влаги. Она состоит из общеобменной вытяжки и подачи в рабочую зону приточного воздуха.

Подача приточного воздуха осуществляется через узкие щели в воздухопроводах, расположенных у потолка, или специальными спусками по стенам и колоннам против рабочих проходов с рас­положением приточных отверстий на высоте 1,5-1,8 м от пола. В тех случаях, когда пребывание людей в цехе приготовления тресты кратковременное или размеры помещения позволяют обеспечить допустимую нормами скорость воздуха в рабочей зоне, может быть применена сосредоточенная подача приточного воздуха.

Общеобменная вытяжка осуществляется обычно вытяжными шахтами, которые размещают в наиболее высоких местах помещения. Для создании в этих помещениях некоторого разрежения воздуха вытяжку рекомендуется оснащать механическим побуждением.

Для поглощения излишков влаги желательно в помещениях тепловой мочки иметь паровое отопление. В некоторых случаях, чтобы предотвратить конденсацию влаги на потолке, может потребоваться устройство для подачи в верхнюю зону подогретого воздуха. Для предотвращения попадания холодного наружного воздуха при открывании наружных дверей помещение цеха мочки рекомендуется отделять стеной от помещения для хранения тресты, а дверные проемы для прохода транспорта оборудовать тепловыми воздушными завесами.

Помещение сушильных машин должно быть изолировано от участка тепловой мочки и оборудовано приточно-вытяжной вентиляцией. Для вытяжных воздухопроводов от сушильных машин применяется оцинкованная сталь.

Аспирация отжимно-промывной машины. Для предотвращения испарения воды от промывной ванны, а также локализации других вредных выделений машина, включая питающий и выпускной конвейеры, должна быть оборудована вентиляционным укрытием. В боковых стенках укрытия над промывной ванной необходимо предусмотреть остекленные дверцы. Над отжимными вальцами устанавливают воздухоприемники, обеспечивающие удобство обслуживания вальцов. Расход воздуха от машины, оборудованной укрытием, например, по схеме рис. 158, принимается 2200 м3/ч от зонта на входе тресты в машину и 2800 м3/ч - на выходе.

Конвейеры для перемещения влажного или влажного и нагретого льноматериала от отжимно-промывной машины до сушильной машины должны быть оборудованы зонтами.

Аспирация сушильной машины. Работа сушильных машин на линиях получения длинного и короткого волокна сопровождается выделением в рабочую зону тепла, влаги и пыли. Для сокращения поступлений тепла в помещение камера сушильной машины должна иметь тепловую изоляцию, отверстия в ограждении машины для входа и выхода волокнистого материала должны быть оборудованы уплотняющими устройствами, препятствующими проникновению горячего воздуха, а воздухопроводы системы удаления отработанного агента сушки должны быть хорошо герметизированы и тепло-изолированы. Со стороны загрузки и выгрузки волокнистого материала машина должна иметь укрытия с воздухоприемниками для локализации и удаления вредных выделений или вытяжные зонты.

У выгрузных отверстий сушильных машин могут быть сделаны укрытия с верхним (50%) и нижним (50%) отсосами воздуха.

Конвейеры для перемещения высушенного нагретого волокнистого материала должны иметь укрытия со встроенными патрубками для отсоса воздуха.

Вентиляция цеха сухой обработки льна. Воздухообмен в цехах сухой обработки льна рекомендуется рассчитывать на разбавление выделяющейся при работе технологического оборудования пыли по схеме рис. 7. В общем количестве воздуха, подаваемого в цех сухой обработки, его минимальное количество определяют исходя из компенсации объемного расхода удаляемого воздуха системами аспирации и пневмотранспорта, а также количества воздуха необходимого для поддержания в цехе (при блокировании с помещениями тепловой мочки и сушки) некоторого подпора (избыточного давления приблизительно 5%).

Рис. 7. Схема работы общеобменной вентиляции цеха сухой обработки льна:

- приточный воздухопровод; 2 - агрегатная линия; 3 - перегородки; 4 - бункера; 5 - аспирационное устройство; 6 - коллектор

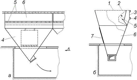
Обеспыливание раскладочного стола. Раскладочный стол должен быть оснащен нижним отсосом. Поверхность стола должна быть гладкой и иметь перфорацию. В местах многократного соприкосновения рук работницы с поверхностью стола (в границах оперативной зоны) перфорацию не делают или выполняют круглыми отверстиями диаметром 8 мм. На остальной поверхности размер отверстий может быть выбран в пределах 15-30 мм Края всех отверстий на рабочей поверхности стола должны быть скруглены В нижней части стола устраивают бункера для удаления пыли, костры и отходов в систему пневмотранспорта (рис. 8). Бункера должны плотно прилегать к нижней части перфорированной поверхности стола. Живое сечение перфорированной поверхности стола рассчитывается исходя из средней скорости воздуха в отверстиях 0,6-0,8 м/с. Для удаления легких фракций пыли могут быть дополнительно устроены боковые отсосы, создающие направленный воздушный поток в сторону от рабочих мест.

Рис. 8. Схема обеспыливания раскладочного стола:

- перфорированная поверхность; 2 - поверхность без перфорации; 3 - открытый проем для сброса отходов; 4 - бункер; 5 - деревянная планка; 6 - самозакрывающаяся Г- образная стенка; 7 - ревизия

Обеспыливание конвейерного стола. Оснащение конвейерного стола зонтами неэффективно. Вентиляция стола должна быть организована по аналогии с раскладочным столом (рис. 9). Обратные ветви колкового конвейера должны быть защищены от засорения (кострой, отходами), например, желобообразными козырьками. Поверхность стола над ведомым и ведущим барабанами конвейера выполняется съемной. Дверцы люков должны плотно без зазоров прилегать к стенкам бункера.

Рис. 9. Схема обеспыливания конвейерного стола:

- перфорированная поверхность; 2 - поверхность без перфорирования; 3- колковый конвейер; 4 - бункер; 5- деревянная планка; 6 - люки

Обеспыливание мяльной машины. Вследствие вращения мяльных вальцов, подобных в аэродинамическом отношении рабочему колесу радиального вентилятора, выше и ниже мяльного поля образуются потоки воздуха. Эти потоки направлены против движения материала, в связи с чем, зона повышенного давления наводится на входе сырья в машину. Чтобы предотвратить поступление пыли и частиц костры в рабочую зону, машина должна быть оборудована вентиляционным укрытием с верхним и нижним воздухоприемниками на входе волокнистого материала в машину и бункерами под мяльными вальцами. Воздухоприемники и бункера присоединяют к системе пневмотранспорта. Устройство для удаления костры и пыли от мяльной машины показано на рис. 10. Для удаления костры, выделяющейся из сырца, между мяльной и трепальной машинами устанавливают костроприемник, который при пневматическом удалении отходов трепания включается в эту систему.

Рис. 10. Схема аспирации мяльной машины:

- мяльные вальцы; 2 - воздухоприемники; 3 - система пневмотранспорта; 4 - бункера; 5 - крышки из легкого материала

Аспирация и пневмотранспорт трепальной машины. Трепальная машина должна быть оборудована герметичным вентиляционным укрытием. Вследствие высоких окружных скоростей, развиваемых рабочими органами машины, под укрытием возникает избыточное динамическое давление воздуха. При наличии неплотностей в укрытии запыленный воздух может поступать в помещение. Чтобы этого не происходило, машина должна находиться под разрежением, причем разрежение воздуха на внутренней поверхности стенок укрытия должно быть не менее динамического давления, создаваемого рабочими органами.

В вентиляционном укрытии должны быть предусмотрены воз-духоприемник на входе в машину, от каждой секции и межсекционного пространства, от места съема длинного волокна. На рис. 11 показано устройство для обеспыливания места съема длинного волокна. Участок ограждения транспортирующего ремня выполняется гладким и перфорированным круглыми отверстиями диаметром 4 мм. Живое сечение перфорированной поверхности рассчитывается исходя из средней скорости воздуха в отверстиях (1,2- 2,5 м/с). Над щелью для выхода волокна может быть дополнительно установлен щелевой воздухоприемник. В нижней части укрытия, под каждой секцией и межсекционным пространством, должны предусматриваться бункера.

Рис. 11. Схема обеспыливания выпускной части мяльно-трепального агрегата:

- ограждение ремня; 2- перфорированный участок ограждения; 3 - плоский бункер с фланцами; 4 - щель для выхода волокна; 5 - ограждение шкива главного конвейера

Аспирация и пневмотранспорт трясильной машины. Машина должна быть оборудована вентиляционным укрытием с патрубком для приема отходов трепания и воздухоприемникои над верхней частью трясильного поля. Под трясильным полем должен быть предусмотрен бункер. Бункер и встроенный в укрытие воздухоприемник соединяют соответственно с системами пневмотранспорта и аспирации. В одной из стенок бункера должен размещаться плот и о закрывающийся люк.

Повышенная запыленность воздуха в рабочей зоне трясильных машин объясняется главным образом несовершенством схемы подачи в машину отходов трепания через циклон: отделенные от воздуха в циклонах отходы трепания вместе со значительным количеством минеральной пыли подаются на игольчатое поле трясильной машины и вновь распыляются, попадая в больших количествах в помещение. Для создания нормальных санитарно-гигиенических условий в рабочей зоне трясильной машины необходимо изменить схему подачи в нее отходов трепания, предусмотрев отделение от отходов трепания растительной и минеральной пыли. Один из вариантов бесциклонной подачи отходов трепания в трясильную машину показан на рис. 12. Количество воздуха, проходящего по отсасывающему воздухопроводу, принимается на 10-15% выше, чем по воздухопроводу подачи отходов. Коэффициент живого сечения вращающегося диска принимается 0,45-0,65; частота вращения 0,05-0,16 с-1.

Отходы трепания в машину могут подаваться через специальный отделитель. Количество подаваемого в отделитель воздуха равно 16-18 тыс. м'/ч. Количество отсасываемого от отделителя воздуха принимается на 15-25% больше подаваемого. Процентное отношение объема воздуха, отсасываемого через боковые патрубки и костроотсос, составляет соответственно 70 и 30.

Рис. 12. Схема обеспыливания трясильной машины:

- вентиляционное укрытие; 2 - патрубок; 3 - воздухопровод; 4 - дисковый отделитель; 5 - отсасывающий воздухопровод; 6 - волокноприемный патрубок; 7 - бункер

Обеспыливание куделеприготовительной машины (агрегата). Колковые барабаны и вытяжные вальцы толкового питателя, мяльная часть машины, питающие валики, трепальные и отбойные барабаны трепальной части, верхнее гребенное поле и планчатый конвейер трясильной части должны иметь вентиляционные укрытия. Машина должна быть оборудована бункерами, установленными под колковым питателем, включая часть питающего конвейера, а также под мяльной, трепальной и трясильной частями. На машине предусматриваются: воздухоприемник (боковой отсос) у конвейера колкового питателя; верхний и нижний воздухоприемники на входе волокнистого материала и мяльную часть; воздухоприемники на входе в трепальную часть и на выходе волокна из трясильной части. Все воздухоприемники должны иметь отводы для присоединения к системе пневмотранспорта.

Особенности обеспыливания агрегатов. Внутренние поверхности и входные края встроенных в машины средств аспирации и пневмотранспорта для удаления пыли, костры, отходов и т. п. должны быть не окрашенными, гладкими, без вмятин, заусенцев и уступов.

В зависимости от расположения оборудования, костроотсосы мялъно-трепалыюго и куделеприготовительного агрегатов могут быть объединены в одну установку или выполнены самостоятельными для каждого агрегата. Самостоятельные аспирационные установки обслуживают места загрузки и выгрузки льноматериала у сушильных машин, столы сортировки длинного и короткого волокна, прессы для длинного и короткого волокна. Как правило, самостоятельно выполняется установка для пневматического транспортирования отходов трепания от трепальной машины.

Необходимо стремиться к тому, чтобы сборные магистрали воздухопроводов систем аспирации и пневмотранспорта были наиболее короткими. Для этого вентиляторы следует располагать по возможности в центре магистрали, а не в конце ее. Надо также иметь в виду, что установки с меньшим количеством воздухоприемников работают более надежно.

Вентиляция помещения сортировки волокна

Сортировку волокна необходимо проводить в изолированном от производственных цехов помещении оборудованном приточно-вытяжной вентиляцией. В этом же помещении может быть установлено при соответствующем обосновании оборудование для прессования волокна в кипы.

Приточная вентиляция в помещении должна одновременно выполнять роль воздушного отопления. Однако температура приточного воздуха не должна быть выше 50° С. Для предотвращения шума вентиляционно-отопительную установку следует размещать вне помещения сортировки волокна (в пристройке).

Удаление воздуха из помещения осуществляется аспирационными системами от столов сортировки длинного волокна и прессов и пневмотранспортными системами от столов сортировки короткого волокна.

Обеспыливание столов сортировки длинного и короткого волокна. Скорость отсасывания воздуха в зоне сортировки длинного волокна и формирования кулитки (у поверхности стола выше металлической сетки) принимается 0,7-0,9 м/с. Металлическую сетку необходимо очищать от волокон не реже 2 раз в смену.

Поверхность стола для сортировки короткого волокна перфорируется круглыми отверстиями диаметром 6 мм. Края всех отверстий должны быть скруглены. Живое сечение перфорированной поверхности стола рассчитывается исходя из средней скорости воздуха в отверстиях (0,8-1 м/с). Люки для приема сора и отходов следует размещать в противоположных углах стола.

Аспирация прессов. Выделение пыли в воздух рабочей зоны происходит вследствие эжекционного взаимодействия потока материала с воздухом, вытеснения воздуха из камеры пресса поступающим в нее материалом при загрузке и вытеснения воздуха из сокращающегося объема камеры при прессовании. С целью поддержания требуемой чистоты воздуха в помещении прессы для длинного и копоткого волокна должны быть оборудованы соответствующими воздухоприемниками для удаления пыли в систему аспирации. Пресс для короткого волокна дополнительно (борудуется накопительным бункером, обеспечивающим самотечную подачу волокна в приемную воронку.

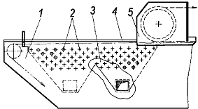
Вентиляция склада готовой продукции. Склад готовой продукции может быть расположен в отдельно построенном здании или; помещении производственного корпуса. В нем могут быть установлены прессы для прессования волокна в кипы. Склад готовой продукции должен быть оборудован естественной или механической вентиляцией. Удаление воздуха из склада производится системами аспирации от прессового оборудования и лабазов, а также вытяжными шахтами с дефлекторами. Примерная схема обеспыливания стола сортировки короткого волокна представлена рис. 13.

Рис. 13. Схема обеспыливания стола сортировки короткого волокна:

- полированная доска; 2 - перфорированный  лист; 3 - крышка люка для сора и отходов (люки размещают в противоположных углах стола); 4 - противовес; 5 - бункер; 6 - ревизия

вентиляция льнозавод вредный пылеудаление

В холодный и переходный периоды года приток воздуха в помещение склада осуществляется отдельной системой воздушного отопления, а в теплый период года - через открытые фрамуги в окнах. Параметры приточного воздуха в складе выбирают в зависимости от теплового баланса помещения и объема непрессованного волокна.

Вентиляция помещения волокноотделительных машин. Волокнотделительная машина должна быть оборудована герметичным кожухом с патрубками для приема костры с волокном и раздельного вывода волокна и костры. Патрубки вывода волокна и костры должны иметь приспособления для присоединения через воронку к •ответствующим системам пневмотранспорта. Волокноотделительная машина устанавливается в помещении или на открытом воздухе (под навесом). Удаляемый из помещения воздух восполняется наружным, поступающим через открытые фрамуги в окнах. Организованный приток воздуха в помещение не устраивается.

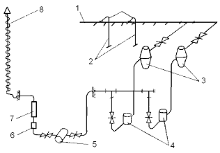
Централизованная пылеуборка. Для уборки цеха сухой обработки льна и фильтровальных камер может быть смонтирована стационарная централизованная система вакуумной пылеуборки, состоящая из побудителя тяги, например газодувки 1А24-30-2А, фильтров I и II ступеней соответственно для сбора отходов и очистки воздуха, разветвленной сети трубопроводов из стальных бесшовных труб, гибких шлангов и насадок (рис. 14). Расход воздуха на одно сопло принимается 300 м3/ч. Допускается одновременная работа не более двух сопел. Уборка пола и оборудования проводится не реже 1 раза в смену. Уборку стен, строительных конструкции и светильников следует проводить не реже 1 раза в неделю. Побудитель тяги оборудуется съемным звукоизолирующим кожухом.

Для уборки и пневматического транспортирования подмети на льнозаводах могут быть выполнены системы, содержащие приемные герметично закрывающиеся воронки напольного типа, воздухопроводы, вентиляторы высокого давления, рукавные фильтры. Воронки располагаются в безопасных для обслуживания местах. Расход воздуха на воронку рекомендуется принимать приблизительно 2000 м3/ч.

Рис. 14. Схема централизованной пылеуборки:

- магистральный трубопровод; 2 - опуски со штуцерами; 3 - фильтр первой ступени; 4 - фильтр второй ступени; 5 - газодувка; 6 -  маслоотделитель; 7 - глушитель шума; 8 - выхлопная труба с изоляцией

Похожие работы на - Вентиляция и пневматический транспорт на льнозаводах

 

Не нашли материал для своей работы?
Поможем написать уникальную работу
Без плагиата!
Без нейросетей!