Разработка, реализация и внедрение системы диспетчерского контроля состояния котельной

  • Вид работы:
    Дипломная (ВКР)
  • Предмет:
    Информационное обеспечение, программирование
  • Язык:
    Русский
    ,
    Формат файла:
    MS Word
    822,82 Кб
  • Опубликовано:
    2015-03-03
Вы можете узнать стоимость помощи в написании студенческой работы.
Помощь в написании работы, которую точно примут!

Разработка, реализация и внедрение системы диспетчерского контроля состояния котельной

Введение

На сегодняшний день практически невозможно найти отрасль промышленности, в которой не существовало бы потребности в автоматизации технологических процессов. Автоматизированная система контроля и управления технологическими процессами (АСУ ТП) - это совокупность аппаратно-программных средств, осуществляющих контроль и управление производственными и технологическими процессами; поддерживающих обратную связь и активно воздействующих на ход процесса при отклонении его от заданных параметров; обеспечивающих регулирование и оптимизацию управляемого процесса.

Одним из основных преимуществ использования на производстве АСУ ТП является существенное снижение, а в некоторых случаях и полное исключение влияния на управляемый процесс человеческого фактора, сокращение численности персонала, минимизация расходов сырья, повышение качества производимого продукта, и, в конечном счете, существенное повышение эффективности производства.

Основные функции систем АСУ ТП: контроль и управление, обмен данными, обработка, накопление и хранение информации, формирование сигналов тревоги, построение графиков и отчетов.

Внедрение АСУ ТП получает широкое распространение в различных секторах отечественной экономики, таких как нефтяная и газовая промышленность, химия и нефтехимия, металлургия, энергетика. В последнее время АСУ ТП начинают проникать в такие сферы, как управление дорожным движением, медицина, машиностроение, жилищно-коммунальное хозяйство. Отдельное направление их применения составляет военная и космическая техника, где системы автоматизации используются в качестве встроенных средств контроля и управления. [1]

На западном рынке системы промышленной автоматизации получили широкое распространение в середине 70-х годов, когда компьютерные технологии вышли на уровень, сделавший оправданным их массовое использование в производстве. В нашей стране формирование сектора АСУ ТП началось в конце 80-х - начале 90-х годов.

Несмотря на то, что современные компьютерные технологии позволяют решать практически любые задачи автоматизации, многие небольшие предприятия до сих пор работают на том же оборудовании, что и 15-20 лет назад. Это обусловлено тем, что переход на новый уровень автоматизации требует значительных материальных вложений в закупку оборудования, переподготовку персонала, разработку и реализацию программных средств автоматизации. На тех предприятиях, где износ имеющегося оборудования близок к ста процентам и закупка нового оборудования неизбежна, представляется целесообразным полностью обновить не только материально-технологическую базу, но и сами принципы организации производственного процесса.

Сегодня на рынке программного обеспечения представлено большое количество пакетов программного обеспечения, предназначенных для решения задач автоматизации (SCADA-системы). Однако применение этих систем на небольших объектах управления чаще всего экономически не обосновано. Поэтому имеется потребность в разработке недорогих, узкоспециализированных программных комплексов автоматизации.

Целью данной дипломной работы является разработка, реализация и внедрение системы диспетчерского контроля состояния котельной.

 

1.
Системное проектирование


Системный подход к проектированию программных продуктов состоит в том, что на каждом этапе жизненного цикла программного обеспечения разработчик на основании системного анализа вариантов решения выбирает наилучший с точки зрения получения максимального частного критерия. При этом предполагается, что если на каждом этапе производства программного продукта будет достигнут наивысший критерий качества, то и в целом ПО будет обладать наивысшим значением показателя качества.

1.1                         Анализ технического задания


1.1.1        Назначение программного обеспечения

Система диспетчерского контроля состояния технологического процесса «NordVision» предназначена для автоматизации контроля за параметрами технологического процесса и обеспечения оперативного персонала всей необходимой информацией для принятия решений по управлению технологическим процессом.

Система обеспечивает выполнение следующих функций:

. опрос измерительных приборов и преобразование полученных сигналов в соответствии с заданной конфигурацией;

. отображение значений технологических параметров на мнемосхеме и на графиках в режиме реального времени;

. генерация сообщений о возникновении аварийных ситуаций и неполадок в работе оборудования;

. сохранение истории значений технологических параметров и истории аварийных сообщений в базе данных;

. генерация отчетов и отображение истории изменения значений технологических параметров в виде графиков.

1.1.2       
Спецификация программного обеспечения

АРМ «NordVision» предназначен для диспетчера котельной. Программа будет поддерживать выполнение следующих функций:

·   Сбор информации с исполнительных механизмов;

·        Архивирование собранной информации;

·        Формирование графиков;

·        Вывод состояния котлоагрегата на экран;

1.1.3        Цель проекта

Целью данного дипломного проекта является разработка удобного и надежного программного обеспечения для операторов котельной. Под созданием программного обеспечения подразумевается обеспечение определенных характеристик, выдвинутых в качестве требований.

1.1.4        Анализ требований

Чтобы определить, как можно решить поставленную задачу необходимо четко представлять требования, предъявляемые к решаемой задаче. Требования к исходному программному продукту могут быть представлены в виде двух основных групп:

1.  социальные требования;

2.       экономические требования.

Рассмотрим каждую из этих категорий подробно и применительно к поставленной задаче.

Социальные требования

Создание автоматизированной системы позволит сократить уменьшить трудозатраты и количество ошибок при обработке информации. В социальном плане это должно привести к снижению количества случаев аварийных ситуаций из-за более оперативного реагирования на изменение информации.

Экономические требования

В экономическом плане создание программного продукта «NordVision» должно уменьшить трудозатраты на обслуживание котельной.

Технические требования

Технические требования являются наиболее значимые при разработке программного обеспечения. Ведь это тот инструмент, с помощью которого будет реализована поставленная задача и выполнены поставленные цели.

Технические требования, предъявляемые к программному продукту, следующие:

·   программный продукт должен функционировать под управлением операционных систем Microsoft Windows XP/Vista/7 на компьютерах с процессором Intel i3;

·        объем оперативной памяти 4 Gb;

·        жёсткий диск 300 Gb;

·        монитор iiYama 24’’;

·        программный продукт должен использовать в качестве СУБД PostgreSQL.

Требование к пользовательскому интерфейсу

Управление программным обеспечением должно быть наиболее простым и интуитивно понятным пользователю. Следует избегать чрезмерной вложенности меню или выбора управляющих форм.

1.2  Выбор и расчет характеристик качества программного продукта


1.2.1        Выбор показателей эффективности

Оценка качества программного обеспечения производится с позиций пользователя, разработчика и руководителя проекта. В качестве требований к программным системам можно выделить следующие [6]:

·   функциональная емкость;

·        удобство;

·        надежность;

·        техническая эффективность;

·        адаптивность;

·        сопровождаемость;

·        универсальность;

·        стоимость;

·        переносимость.

Теперь остановимся на каждом из этих показателей подробнее.

·        Функциональная емкость:

Данный показатель характеризует степень удовлетворения потребностей пользователя в смысле возможности решения конкретных задач, стоящих перед ним, т.е. это набор атрибутов, определяющий назначение, номенклатуру, основные, необходимые и достаточные функции ПО, указанные в техническом задании заказчика или потенциального пользователя.

-   Детализируется на следующие характеристики:

-        пригодность для применения (соответствие назначению);

-        точность;

-        способность взаимодействовать со средой;

-        соответствие нормам;

-        безопасность (резервное копирование данных, защита от взлома данных и др.)

·        Удобство:

Практика показывает, что конечный пользователь, не имеющий специальной подготовки в области программирования, просто не будет использовать программную систему, если эта система оказывается неудобной для него. Удобство использования ПО характеризуются следующими частными показателями:

удобство пользовательского интерфейса (удобство расположения и представления часто используемых элементов экрана, способов ввода данных и др.);

-   простота освоения (трудовые и временные затраты на освоение средств);

-        адаптируемость к конкретным требованиям пользователя;

-        количество информации, предъявляемой системой, которое необходимо переработать пользователю;

-        количество действий, предпринимаемых пользователем при работе с системой;

-        допустимое время реакции системы на действия пользователя;

-        простота использования.

·        Надежность:

Под надежностью понимают, прежде всего, обеспечение достаточно низкой вероятности отказа в процессе функционирования в реальном времени. Можно выделить два основных аспекта надежности:

-   отсутствие в готовой программе ошибок проектирования и программирования;

-        защищенность программы от непредусмотренных условий эксплуатации.

В процессе опытной эксплуатации невозможно выявить все ошибки, например, непредусмотренное сочетание данных. В связи с этим в промышленной эксплуатации проявляются не выявленные ошибки, и разработчик вынужден модифицировать ПО для их исправления, добавляя или изменяя некоторые функции.

Другой аспект надежности заключается в степени защищенности ПП от:

-   непредусмотренных действий пользователя;

-        недопустимых сочетаний исходных данных;

-        влияние операционного окружения.

Надежная программа не реагирует на нажатие неразрешенных клавиш; ненадежная - может завершиться аварийно, поставив пользователя в трудное положение. Не совершая неправильных действий, пользователь, тем не менее, может ввести недопустимое сочетание исходных данных, приводящих к аварийному завершению программы. Надежная программа должна выполнять соответствующие проверки и не допускать вычислений с этими данными, предупреждая пользователя о невозможности выполнения его требований и возвращаясь в исходное состояние.

Сюда же следует отнести устойчивость программы при попытках несанкционированного доступа, а также вирусоустойчивость.

·        Техническая эффективность:

Этот показатель характеризует объемы требующихся для программы ресурсов вычислительной системы, таких как:

-   объем оперативной памяти;

-        объем внешней памяти;

-        время работы процессора;

-        привлекаемые компоненты операционной системы.

Практически все эти показатели могут получить числовую оценку. Однако, далее не всегда справедливо утверждение: чем меньше, тем лучше. Ведь его можно легко довести до абсурда, например, сказав, что лучше всего такой ПП, который требует ноль байтов оперативной памяти или ноль секунд процессорного времени.

Тем не менее, верно следующее: из двух программ с функциональными одинаковыми свойствами лучше та, которая потребляет меньше ресурсов.

Таким образом, эффективность ПО следует рассматривать по следующим двум характеристикам:

-   быстродействие и время отклика;

-        потребление ресурсов.

Требования к оптимальному размеру внешней и оперативной памяти, типу и производительности процессора, обеспечивающие приемлемый уровень производительности.

·        Адаптивность:

Под адаптивностью программного обеспечения подразумевается возможность его модификации в случае изменения параметров решаемых задач операционного окружения, аппаратурного состава или вообще типа ЭВМ. При изменении характера и параметров решаемых задач, как правило, требуется изменить количественные и структурные параметры программы. Эти изменения можно сделать либо изменяя управляемые параметры программы, если она является параметрической, либо меняя исходный текст.

Мощным методом адаптации программного обеспечения является генерация - процесс сборки и настройки рабочей версии ПО из заведомо избыточного набора программных модулей. Обычно генерируемые программные системы являются наиболее сложными программными системами, как, например, ОС, СУБД и т.п. Уровень адаптивности таких систем следует считать весьма высоким.

·        Сопровождаемость:

Под этим показателем качества понимают простоту сопровождения программы, т.е. ее обслуживания программистом на различных этапах жизненного цикла программного обеспечения, в основном на этапе его эксплуатации.

Характеризуется следующими показателями:

-   анализируемость (диагностика причин ошибок и сопоставление с исходным кодом);

-        пригодность к изменениям;

-        совместимость обновлений (совместимость новых версий с существующими, включая, например, совместимость по входным или выходным данным);

-        стабильность;

-        тестируемость.

·        Универсальность:

Универсальность ПО характеризуется ограничениями на применение ПО. Эти ограничения могут относиться к типам и элементному составу анализируемых или синтезируемых структур, диапазонам числовых значений внутренних и внешних параметров, перечню выполняемых проектных операций и процедур. Универсальность связана с надёжностью ПО - чем тщательнее и полнее выявлены и оговорены ограничения, тем ниже степень универсальности программы, но выше её надёжность. Поэтому эксплуатация нескольких узкоспециализированных, но надёжных программ предпочтительнее применения одной универсальной программы, если за повышение степени универсальности приходится платить снижением надёжности.

·        Стоимость:

Следует различать два аспекта этого показателя: стоимость приобретения и стоимость эксплуатации (стоимость владения). В этом плане пользователь всегда стоит перед дилеммой: приобрести типовой готовый ПП или заказать индивидуальную разработку.

В первом случае стоимость приобретения сравнительно невелика, однако настройка ПП на класс решаемых задач потребует определенных затрат, в ряде случаев многократно превосходящих начальные. Главной особенностью готовых ПП является то, что с функциональной точки зрения они редко полностью удовлетворяют пользователя.

Созданный по индивидуальному заказу ПП как правило заметно дороже готового, но полнее отвечает требованиям пользователя. В этом случае стоимость его приобретения значительно выше, но стоимость настройки и эксплуатации существенно ниже, чем в первом варианте.

·        Переносимость:

Понимается возможность модификации ПО в случае изменения параметров решаемых задач, операционного окружения, аппаратурного состава или вообще типа ЭВМ. При изменении характера и параметров решаемых задач, как правило, требуется изменить количественные и структурные параметры программы, т.е. изменить ее исходный текст. Если же программа не снабжена исходными текстами или мощным средством по внесению изменений в параметры программы без затрагивания исходных текстов, переносимость (адаптируемость), близка к нулю.

Данный показатель качества ПО характеризуют следующие частные показатели:

-   адаптируемость;

-        совместимость с версиями операционных систем (возможность работы в среде различных версий одной и той же ОС);

-        структурированность;

-        заменяемость;

-        легкость инсталляции;

-        соответствие нормам по переносимости и инсталляции;

-        внедряемость.

1.2.2        Выбор метода оценки эффективности программного продукта

В настоящее время системный анализ содержит уже широкий спектр разнообразных методов, которые можно объединить в следующие группы: эвристическое программирование, методы аналогий, аналитические методы и имитационное моделирование.

§ Методы эвристического программирования основаны на принципах анализа деятельности человека. Среди методов этой группы значительную роль играют такие как метод экспертных оценок, метод мозговой атаки и обмена мнениями и другие, использующие ту или иную форму обобщения совокупности и индивидуальных представлений некоторой группы специалистов (экспертов) по исследуемой проблеме. Достоинством этого метода является простота и доступность. Основной же недостаток заключается в том, что чаще всего не удается определить уровень достоверности экспертизы.

§  Методы аналогий включают, прежде всего, так называемые бионические аспекты. В этом случае биологическую систему рассматривают, как прототип системотехнического комплекса, что позволяет использовать опыт, накопленный живой природой в процессе длительной эволюции.

§  Метод имитационного моделирования занимается процессом формирования модели реальной системы и проведением на этой модели экспериментов с целью выявления свойств системы и путей её совершенствования или эффективного использования. Но разработка хорошей имитационной модели часто обходится очень дорого и требует значительных затрат времени большой группы высококвалифицированных специалистов, что в данном случае не приемлемо.

§  Аналитические методы, используемые в системном анализе, весьма разнообразны. Используются практически все математические схемы исследования операций и методы теории принятия решений. Аналитический метод, основываясь на целях и критериях предпочтения, полученных в результате экспертного оценивания, позволяет, используя математический аппарат теории принятия решений при многих критериях предпочтения и замещения в условиях неопределённости, решить поставленную задачу.

Учитывая вышеприведенные достоинства и недостатки каждого метода, целесообразно дать оценку эффективности проекта с помощью метода экспертной оценки, а также использовать метод аналогий.

Метод экспертной оценки, будет использоваться в качестве помощи при определении важности целей, показателей эффективности, критериев и предпочтений. Основная идея этого метода состоит в том, чтобы использовать интеллект специалистов, их способность искать и находить решения слабо формализованных задач.

Метод аналогий позволит использовать лучшие характеристики прототипа.

Для того чтобы функционирование программы осуществлялось наиболее эффективно, требуется спроектировать те характеристики и с учетом тех факторов, которые обеспечат приемлемое совершенство программы. Для этого сформируем обобщенный показатель эффективности программы, составив группу экспертов.

1.2.3        Реализуемые требования

На основании анализа технического задания, спецификации и назначения разрабатываемого программного обеспечения, выберем для реализации следующие требования:

· удобство;

·        надежность.

1.2.4        Предварительное ранжирование

Для ранжирования характеристик экспертам было предложено оценить значимость критериев показателей эффективности, описанных в пункте 2.2.3, и выставить им оценки. При этом каждый эксперт индивидуально осуществляет расстановку показателей по рангам с первого, предоставляющегося наиболее важным, до последнего, который, по мнению эксперта, наименее значим [6].

Среднее значение ранга по данным всех экспертов рассчитаем по формуле:

(2.1)

где cij - ранг i-го показателя, назначенный j-м экспертом,- количество экспертов.

Средне квадратичное отклонение i-го показателя места от его среднего значения zi рассчитаем по формуле:

(2.2)

Далее осуществим выставление предварительных рангов по всем показателям по схеме:

1.  если некоторое значение zi является наименьшим из всех остальных:

2.         z1, … , zi-1, zi+1, … , zn

.         то ему назначается предварительный ранг ri = 1 и заносят в графу bx таблиц 2.1 и 2.2

.         выбирается следующий наименьший по величине ранг zk (k≠i), ему назначается предварительный ранг 2 и заносят в ту же графу той же таблицы;

5.       если некоторые подмножества средних рангов zu, zv и т.д. u≠v отличаются друг от друга не более чем на ∆z:

,(2.3)

то всем им назначаем одинаковые предварительные ранги, как среднее по числу их возможных порядковых мест.

· ∆z = 0,2 - для удобства программного обеспечения;

·        ∆z = 0,16 - для надежности программного обеспечения.

Правильность назначения предварительных рангов проверяем по их сумме, которая должна быть равна

(2.4)

Следующей важной характеристикой является - среднеквадратическое отклонение, позволяющее сформировать доверительный интервал:

(2.5)

Результаты опроса экспертов и расчетов приведены в таблицах 2.1 и 2.2.

Удобство программного обеспечения

Для проведения оценки удобства программного обеспечения при проектировании была проведена экспертиза. Пяти экспертам был предложен список требований к данному показателю качества с предложением ранжировать их по принципу «чем меньше, тем лучше».

Список содержит следующие требования:

1) удобство и интуитивность пользовательского интерфейса;

2)       время, необходимое для обучения и освоения программного средства должно стремиться быть минимальным;

)         допустимое время реакции системы на действия пользователя должно быть соизмеримо с естественной скоростью протекания психофизиологических реакций человека;

)         количество действий, предпринимаемых пользователем при работе с программой должно стремиться быть минимальным;

)         наличие контекстно-зависимой помощи;

)         наличие полной, понятной и удобочитаемой пользовательской документации;

)         требования к уровню знаний, необходимых для работы с системой, ограничиваются ознакомлением работы с клавиатурой ПК;

)         предоставление пользователю на экране монитора только необходимых для его работы сведений и данных.

Таблица 2.1 Результат опроса экспертов

Показатели

Эксперты

Среднее значение

Среднеквадратическое отклонение

Предварительный ранг


1

2

3

4

5




1

1

4

3

2

1

2,2

1,7

1,5

 

2

2

3

2

4

2

2,6

0,8

3

 

3

3

1

2

1

3

2

1

1,5

 

4

4

4

7

8

7

6

3,5

5,5

 

5

8

7

5

4

3

5,4

4,3

4

 

6

5

6

8

6

6

6,2

1,2

5,5

 

7

7

7

5

7

6

6,4

0,8

7

 

8

8

7

8

8

6

7,4

0,8

8

 


Произведем проверку правильности назначения рангов:

=36

из этого следует, что окончательные ранги для удобства программного обеспечения назначены правильно.

Надежность программного обеспечения

Для того чтобы оценить надежность программного обеспечения, была проведена экспертиза. Пяти экспертам предложили список требований к функциональности ПО с предложением ранжировать их по принципу «чем меньше, тем лучше».

Список требований к надежности ПО:

1) Защищенность программного комплекса от непредусмотренных действий пользователя, т.е.:

-    от нажатия непредусмотренных ПК комбинаций клавиш;

-         от ввода недопустимых сочетаний данных (аналогично при корректировке);

          от удаления данных без подтверждения;

          от удаления данных, отсутствие которых может привести к некорректности информации.

2) Отсутствие в готовом программном комплексе ошибок проектирования и программирования;

3)       Защита от несанкционированного доступа;

)         Защищенность программного комплекса от влияния операционного окружения;

)         Защищенность программного комплекса от непредусмотренных условий эксплуатации.

Таблица 2.2. Результат опроса экспертов.

Показатели

Эксперты

Среднее значение

Среднеквадратическое

Предварительный


1

2

3

4

5


отклонение

ранг

1

1

2

3

3

2

2,2

0,7

3

 

2

2

3

1

2

1

1,8

0,7

1

 

3

2

2

3

2

1

2

0,5

2

 

4

4

4

5

4

5

4,4

0,3

4

 

5

5

5

4

5

4

4,6

0,3

5

 


Произведем проверку правильности назначения рангов:


= 15

из этого следует, что окончательные ранги для надежности программного обеспечения назначены правильно.

1.2.5        Определение компетентности экспертов

Оценки экспертов в значительной степени определяются их квалификацией в данной области, то есть компетентностью.

Определение компетентности экспертов выполнятся по коэффициентам ранговой корреляции.

Коэффициент ранговой корреляции рассчитывается по формуле Спирмена:

 (2.6)

где  и

Коэффициент компетентности рассчитывается по формуле:

 (2.7)

Результаты вычислений значения величины di2 , коэффициента ранговой корреляции и коэффициента компетентности сведены в таблицы 2.3 и 2.4.

Таблица 2.3 Удобство программного обеспечения

Эксперты

1

2

3

4

5

6

7

8

ρ j

α j


Значение di2



1

1,44

0,36

1

6,76

1,44

0,36

0,36

0,81

0,19

2

3,24

0,16

1

4

2,56

0,04

0,36

0,16

0,86

0,20

3

0,64

0,36

0

1

0,16

3,24

1,96

0,36

0,91

0,20

4

0,04

1,96

1

4

1,96

0,04

0,36

0,36

0,88

0,20

5

1,44

0,36

1

1

5,76

0,04

0,16

1,96

0,86

0,20


Таблица 2.4 Надежность программного обеспечения

   

Эксперты

1

2

3

4

5

ρ j

α j


Значение di2



1

1,44

0,04

0

0,16

0,16

0,91

0,20

2

0,04

1,44

0

0,16

0,16

0,91

0,20

3

0,64

0,64

1

0,36

0,36

0,85

0,19

4

0,64

0,04

0

0,16

0,16

0,95

0,21

5

0,04

0,64

1

0,36

0,36

0,88

0,20

 

1.2.6        Повторное ранжирование показателей с учетом компетентности экспертов

Повторное ранжирование показателей с учетом компетентности экспертов осуществляется на основе таблиц 2.3 и 2.4, приведенной в пункте 2.2.5, а соответствующие оценки определяются по формулам:

· среднее значение ранга:

 (2.8)

§  средне квадратичное отклонение i-го показателя места от его среднего значения zi* рассчитаем по формуле

 (2.9)

Далее аналогично формированию графы bi - предварительных рангов таблиц 2.1 и 2.2, сформируем графу b*I - окончательных рангов с учетом и если она равна 0,5n(n+1), то значит, что окончательные ранги определены правильно и можно переходить к определению показателя согласия экспертов, что позволит заключить, состоялась или нет экспертиза. При этом используются доверительные интервалы, которые дают представление о степени точности и надежности оценки установленных рангов рассматриваемых величин.

Полученные характеристики занесены в таблицы 2.5. и 2.6.

Таблица 2.5. Удобство программного обеспечения

Показатели

Среднее значение

Среднеквадратичное отклонение

Предварительный ранг

1

2,21

1,35

2

2

2,60

0,64

3

3

1,99

0,80

1

4

6,02

2,79

5,5

5

5,38

3,40

4

6

6,21

0,97

5,5

7

6,39

0,65

7

8

7,40

0,64

8


Произведем проверку правильности назначения рангов:


=36

из этого следует, что окончательные ранги для удобства программного обеспечения назначены правильно.

Таблица 2.6. Надежность программного обеспечения

 

Показатели

Среднее значение

Среднеквадратичное отклонение

Предварительный ранг

1

2,20

0,56

3

 

2

1,81

0,56

1

 

3

2,00

0,39

2

 

4

4,39

0,24

4

 

5

4,61

0,24

5

 


Произведем проверку правильности назначения рангов:


= 15

из этого следует, что окончательные ранги для надежности программного обеспечения назначены правильно.

1.2.7        Оценка значимости показателей

Определение коэффициентов значимости частных показателей осуществляется по формуле: 

  (2.10)

где r*i - окончательный ранг i-го показателя.

Данные для расчетов сведены в таблицы 2.7 и 2.8.

Таблица 2.7. Удобство программного обеспечения

Коэффициенты значимости, g

№ показателя


1

2

3

4

5

6

7

8


0,18

0,12

0,37

0,07

0,09

0,07

0,05

0,05


Таблица 2.8. Надежность программного обеспечения

Коэффициенты значимости, g

№ показателя


1

2

3

4

5


0,15

0,44

0,22

0,11

0,09

 

1.2.8        Степень согласия экспертов

Степень согласованности экспертов определим с помощью коэффициента конкордации Кендалла [3].

 (2.11)

Где

Удобство программного обеспечения

Определим согласованность экспертов для m=5, n=8

Согласованность экспертов хорошая, т.к. . Следовательно, результаты экспертизы можно считать действительными.

Согласно экспертной оценке выберем три самых важных с точки зрения экспертов критерия:

·        удобство и интуитивность пользовательского интерфейса;

·        время, необходимое для обучения и освоения программного средства должно стремиться быть минимальным;

·        допустимое время реакции системы на действия пользователя должно быть соизмеримо с естественной скоростью протекания психофизиологических реакций человека;

Надежность программного обеспечения

Определим согласованность экспертов для m=5, n=5

Согласованность экспертов хорошая, т.к. . Следовательно, результаты экспертизы можно считать действительными.

Согласно экспертной оценке выберем три самых важных с точки зрения экспертов критерия:

·                    Защищенность программного комплекса от непредусмотренных действий пользователя;

·        Отсутствие в готовом программном комплексе ошибок проектирования и программирования;

·        Защита от несанкционированного доступа;

1.2.9    Формирование обобщенного показателя эффективности системы

Системы создается для удовлетворения возникших у общества потребностей. Стремление к возможно более полному удовлетворению этих потребностей и является целевым назначением или целью системы. Степень соответствия системы поставленным перед ней целям называют эффективностью. Эффективность - это понятие, связанное с качеством выполнения объектом своих функций. Сложность и разнообразие функций, выполняемых современными системами, требует учета количества целей, каждая из которых описывается своим критерием. Поэтому многокритериальность - есть естественное свойство такой системы и вопросы повышения эффективности системы не могут быть разрешены кардинальным образом без решения проблемы многокритериальности.

Так как оценка системы по набору показателей очень сложна, нужно произвести свертку вектора показателей  в некоторую функцию  так, что число η может служить оценкой эффективности системы. При этом  называют частным показателем, а функцию u в этом случае называют интегральным показателем эффективности. Наиболее распространенной формой интегрального критерия является мультиаддитивная форма, и такие ее частные случаи, как           аддитивный и мультипликативный критерий, причем аддитивный критерий используется чаще, и его использование предпочтительнее, но только в том случае, если интегральный критерий не содержит частных критериев, имеющих мультипликативное, а не аддитивное влияние на результат в целом.

Поскольку использование таких частных критериев не предусматривается, целесообразным будет оценить варианты с помощью аддитивного интегрального критерия эффективности

,(2.12)

где  - весовые коэффициенты, учитывающие важность частного критерия, они также определяют степень влияния i частного критерия на эффективность системы в целом;  

 - частный критерий.

В качестве частных критериев выберем следующие показатели:

·         Удобство программного обеспечения

·        Надежность программного обеспечения

Показатели оцениваются при помощи бальной шкалы.

Показатели оцениваются при помощи балльной шкалы. Для них установлены пределы 1-2 баллов. Данный список был предложен пяти экспертам с предложением ранжировать их по принципу “чем больше, тем лучше”. Результаты сведены в таблицу 2.9.

Таблица 2.9

Показатели

Эксперты

Среднее значение

Среднеквадратич. отклонение

Предварительный ранг


1

2

3

4

5




Удобство программного обеспечения

1

1

1

2

1

1,2

0,2

1

Надежность программного обеспечения

1

2

1

1

2

1,4

0,3

2


Произведем повторное вычисление с учетом компетентности экспертов. Полученные результаты занесены в таблицу 2.10.

Таблица 2.10

Показатели

Среднее значение

Среднеквадратич. отклонение

Предварительный ранг

Коэфф. значимости

Удобство программного обеспечения

1,15

0,13

1

0,67

Надежность программного обеспечения

1,40

0,24

2

0,33


Произведем нормирование характеристик путем отнесения показателя к его интервалу изменений. Нормирование по диапазону изменений частных показателей, удовлетворяющих принципу “чем больше, тем лучше”, производится по формуле:

 (2.13)

Состав показателей (оцениваются с помощью бальной шкалы) и их значения приведены в таблицу 2.11.

Таблица 2.11.

Показатели

Минимал.

Максимал.

Требуемое значение

Нормированное значение

Удобство программного обеспечения

0

6

5

0,83

Надежность программного обеспечения

0

5

5

1


Таким образом, требуемое значение аддитивного интегрального показателя эффективности вычисляется по формуле:

 (2.14)

и имеет значение: h = 0,67 * 0,83 + 0,33 * 1= 0,88

1.3  Оценка системных показателей


1.3.1        Выбор и расчет характеристик качества программного обеспечения

Выбрав в качестве методики модульное проектирование, произведем оценку исходных данных на основании спецификации [6].

Минимально возможное количество операторов и операндов1* - минимальное число операторов, которое может иметь работоспособная программа1* = 2 ед.2* - минимальное количество операторов, которое может быть в программе в идеале2* = 150 ед.

Число простых или отдельных операторов и операндов1 - число различных операторов, которое предположительно по спецификации может иметь место в программе1 = 200 ед.2 - фактически предполагаемое число простых или отдельных операндов в системе, вычисляется по формуле:

, (2.15)

Подставляя числовые значения, получим: n2 = 1367 ед.

Определение словаря ПО

 - словарь

= 1567 ед.

Длина реализации программы

Длина реализации программы N рассчитывается по формуле:

, (2.16)

= 1529+ 14241 = 15769 бит.

Оценка длины программы

n ≤ N ≤ n1n1 x n2n2, (2.17)

1567 ≤ 15769 ≤ 200200 x 13671367

Объем программы

Максимально возможный объем программы Vmax вычисляется по следующей формуле:

, (2.18)

max = 167375 бит

Минимально возможный объем программы Vmin вычисляется по формуле:

, (2.19)

min = 1102 бит

Средняя характеристика объема программы рассчитывается следующим образом:

, (2.20)

причем действует соотношение

= 7861 бит

≥ 7861 ≥ 1102

Уровень программы

Уровень программы определяет отношение числа строк (или символов) в машинных кодах к той записи, которая получена на языке высокого уровня:

 

g = 0.0066

Уровень программы тем ниже, чем больше в ней простых операторов. Окончательную оценку уровня программы можно получить следующим образом:


где отношения для операторов:

 = 0,01


 = 0,096 (N2 = n2 log2 n2) , следовательно,


 = 0,00096

Определение информационного содержания программы

Произведем квантификацию интеллектуального (информационного) содержания программного обеспечения. Определяется следующим образом:

= 161 ед.

Квантификация процесса программирования

Реализация описанного алгоритма заключается в том, что N-раз выбирается из словаря n элементы;

· Каждый выбор эквивалентен двоичному поиску;

·        Программа порождается выполнением N log n мысленных сравнений;

·        Число мысленных сравнений равно объему программы;

·        Каждое мысленное сравнение содержит в свою очередь ряд мысленных операций Соп, которые определяются сложность программы:  = 152 ед.

·        Общее число элементарных мыслительных операций можно вычислить по формуле:

 = 25428646 ед.

· Время, затрачиваемое на составление программы, определяется следующим образом:

,

где k = 5..25 - количество различений в секунду, которое может реализовать человек k = 15.

При подстановке числовых значений в формулу получим:

t = 613868,2 с = 471 ч.

Уровень языка

Уровень языка определим как  .

l = 7,3 ед.

По полученному значению можно определить, что используемый язык является языком достаточно высокого уровня.

Уровень ошибок

Экспериментально установлено, что уровень появления ошибок соответствует величине bкр = 3000, т.е. на 3000 мыслительных операций приходится 1 ошибка. Тогда количество ошибок в программе можно вычислить следующим образом:

= 849 ошибок

Модульность

Определим необходимое число модулей в программе для минимизации числа ошибок:

 = 19 модулей.

1.4   Концепция проекта


Подведем итог раздела «Системное проектирование», в котором были рассмотрены и выбраны следующие требования к разрабатываемому программному обеспечению:

1)   Программное обеспечение должно удовлетворять следующим показателям качества, согласно международного стандарта:

·   удобство программного обеспечения;

·   надежность программного обеспечения.

Конкретные требования для этих показателей изложены в п. 2.2.3.

1)   Программное обеспечение должно разрабатываться в среде программирования Visual studio 2010. Язык программирования WPF.

2)   В качестве сервера БД должно использоваться СУБД PostgreSQL под управлением операционной системы Windows;

3)   Показатель эффективности, рассчитанный для частных показателей качества согласно методике и коэффициентам, определенным в п. 2.2.11, для разрабатываемого программного обеспечения должен составить не ниже Е = 0,92

 

2.   
Структурное проектирование

 

2.1   Анализ предметной области


АРМ оператора котельной включает в себя:

·      Сбор, обработку и хранение информации о работе оборудования котельной;

·        Вывод информации о текущем состоянии котельной;

·        Построение архивных графиков;

·        Вывод информации об аварийных ситуациях;

2.2   Структура системы АРМ «Nordvision»


Рассмотрев предметную область разрабатываемого ПО «Nordvision», составим структуру системы, которая будет представлена на рисунке 3.1.

Рис. 3.1. Структура движения информации АРМ «NordVision».

2.3  
Инфологическая модель ПО “NordVision”


Описание предметной области, выполненное с использованием естественного языка, математических формул, таблиц, графиков и диаграмм, называют инфологической моделью данных.

Используя описание и анализ предметной области, можно разработать инфологическую модель предметной области по учету обращений граждан в муниципальное образование с целью более подробного изучения всех происходящих процессов и выделения основных объектов и атрибутов для дальнейшего проектирования.

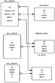
Выделим следующие объектные группы:

Act_values - содержит текущие значения параметров котлоагрегата.

Arc_values - содержит архивные значения параметров котлоагрегата.

Arc_alarms - содержит архив аварийных ситуаций.

Mb_desc - описание переменных типа boolean;

Mi_desc - описание переменных типа integer;

Alarms_desc - описание аварий;

Инфологическая модель разрабатываемого приложения приведена на рисунке 3.2.

Рис. 3.2. Инфологическая модель ПО «Статист».

2.4   
Разработка структуры информационного обеспечения


Для выполнения требований предъявленных в п. 2.2.3, разработаем структуру программного обеспечения.

Разработка структуры информационного обеспечения (ИО) является одним из наиболее ответственных этапов разработки программного обеспечения, состоящая в разработке такой структуры ИО, которая была бы наиболее адекватна поставленным задачам. Удачный выбор такой структуры является залогом быстрого и успешного программирования и включает в себя разработку эффективной структуры хранения данных и программы.

Под эффективной структурой подразумевается уменьшение времени доступа к данным и объемных характеристик базы данных.

Следующим этапом проектирования базы данных является логическое проектирование базы данных.

Логическая модель строится на основании инфологической модели и выполняется на языке описания данных конкретной СУБД. Описывается структура каждой таблицы. Каждому полю таблицы назначается имя, тип и размер. Ниже приведено описание структуры таблиц: act_values (таблица 2.1), arc_values (таблица 2.2), arc_alarms (таблица 2.3) , mb_desc (таблица 2.4), mi_desc(таблица 2.5),alarms_desc(таблица 2.6).

Таблица 2.1 Act_values 

Имя

Тип данных

Не NULL?

Первичный ключ?

По умолчанию

Комментарий

id

Integer

Да

Да

nextval('"DOGOV_ID_seq"'::regclass)


Values_mi

Integer[]

Да

Нет


Массив текущих целочисленных значений

Values_mb

Boolean[]

Да

Нет


Массив текущих состояний

Komm

Boolean[]

Нет

Нет


Массив аварий


Таблица 2.2 Arc_values

Имя

Тип данных

Не NULL?

Первичный ключ?

По умолчанию

Комментарий

Id

integer

Да

Да

nextval('"OBJS_ID_seq"'::regclass)


name

character(9)

Нет

Нет


Код переменной

value

integer

Да

Нет


Значение

dt

Timestamp

Нет

Нет


Дата и время


Таблица 2.3 Arc_alarms

Имя

Тип данных

Не NULL?

Первичный ключ?

По умолчанию

Комментарий

Id

integer

Да

Да

nextval('"OBJS_ID_seq"'::regclass)


name

character(9)

Нет

Нет


Код переменной

value

integer

Да

Нет


Значение

dt

Timestamp

Нет

Нет


Дата и время

n

integer

Нет

Нет




Таблица 2.4 Mb_desc

Имя

Тип данных

Не NULL?

Первичный ключ?

По умолчанию

Комментарий

id

integer

Да

Да

nextval('"sotr_ID_seq"'::regclass)


n

integer

Нет

Нет



desc

character(100)

Нет

Нет


описание

name

character(2)

Нет

Нет




Таблица 2.5 Otch_p

Имя

Тип данных

Не NULL?

Первичный ключ?

По умолчанию

Комментарий

id

integer

Да

Да

nextval('"sotr_ID_seq"'::regclass)


n

integer

Нет

Нет



desc

character(100)

Нет

Нет


описание

name

character(2)

Нет

Нет



offset

integer

Да

Да


смещение


Таблица 2.6 Alarms_desc 

Имя

Тип данных

Не NULL?

Первичный ключ?

По умолчанию

Комментарий

id

integer

Да

Да

nextval('"sotr_ID_seq"'::regclass)


n

integer

Нет

Нет



desc

character(100)

Нет

Нет


описание

name

character(2)

Нет

Нет



 

2.5  Выбор средств разработки приложений


Согласно техническому заданию, программное обеспечение «Статист» должно разрабатываться в интегрированной среде разработки Visual studio 2010, написана на языке c# и использовать СУБД postgree.

2.6  Разработка программного обеспечения


Проектирование программного обеспечения является одним из самых сложных видов интеллектуальной деятельности человека и до сих пор остается во многом искусством, а не наукой.

При проектировании программных продуктов нельзя точно разделить этапы постановки задачи и собственно проектирования, так как в процессе выработки полной и точной формулировки задачи (на этапе разработки технического задания) проводится определенная работа по проектированию ПО.

Но, несмотря на это, можно выделить три основных этапа собственно разработки программного обеспечения:

·      разработка структуры программы;

·        разработка пользовательского интерфейса;

·        разработка собственных или выбор известных алгоритмов.

2.6.1       
Структура программного обеспечения

Прежде чем разработать структуру программного обеспечения необходимо выбрать метод проектирования. Существует несколько методов проектирования программного обеспечения. Основные из них:

·   метод «сверху вниз»;

·   объектно-ориентированный метод.

Метод «сверху вниз» подразумевает под собой проектирование основной программы и набора подпрограмм, реализующих решение подзадач, т.е. этапов решения основной задачи. В результате чего получается структура, состоящая из набора определенным образом связанных программных модулей.

Объектно-ориентированный подход к проектированию ПО построен на объектах и операциях над ними, где объект содержит определенные свойства и выполняемые функции. Под объектом понимается группа подпрограмм с определенным входным и выходным набором данных.

Язык программирования C# поддерживает объектно-ориентированный подход, поэтому воспользуемся одноименным методом.

ПО «NordVision» состоит из двух независимых программ - серверной и клиентской. Серверная часть осуществляет сбор информации с исполнительных устройств и управление ими, сохраниение в БД текущих и архивных значений. Клиентская часть - считывает данные из БД и выводит на экран пользователя данные в графическом формате.

2.6.2        Разработка пользовательского интерфейса

Для выполнения требования удобства ПО, предъявленного в п. 2.2.4.1, необходимо разработать простой и интуитивный пользовательский интерфейс. Экранный интерфейс программы во многом определяет удобство работы пользователя и является одним из важных факторов, влияющих на эффективность его труда. Программа, выполняющая все возложенные на нее функции, обладающая высоким быстродействием может быть полностью непригодной для работы из-за неприемлемого интерфейса с пользователем.

Эстетическое оформление экрана

Важнейшей частью эстетического оформления является правильный выбор цветовой палитры, не раздражающей пользователя, а наоборот вызывающей у него положительную реакцию. При это следует учитывать следующие рекомендации по оформлению экрана:

§ цветовая гамма должна быть;

§  сигнальные сообщения системы, связанные с невозможностью или опасностью выполнения действия, окрашивать в красный цвет;

§  для заполнения общего экранного фона избегать цветов GREEN (зеленый) и MAGENTA (розовый);

§  текст должен легко читаться на фоне, избегать печатать синим или коричневым по черному, зеленым по розовому и т.п.

Разработка экранных форм

Для удобства работы пользователя разработаем экранные формы.

Данные были разбиты на следующие группа (экранные формы):

§ Главный экран;

§  Журнал событий;

§  Архивный график;

§  Управление

Экранные формы приведены в приложении № 1.

2.6.3        Разработка алгоритмов программного обеспечения

Важнейшим шагом для получения эффективной и правильной программы является составление алгоритма, т.е. четко определенной и понятной исполнителю последовательности шагов, приводящих в итоге к решению поставленной задачи. При разработке алгоритма воспользуемся оговоренным выше методом проектирования «сверху вниз», который предусматривает определение задачи в общих чертах, после чего данная задача разбивается на ряд подзадач. Последовательное разбиение задачи на все более мелкие и более простые производится до тех пор, пока элементарная задача не станет реализуемой непосредственно операторами языка программирования.

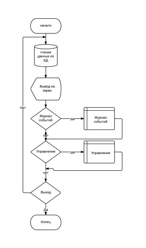
Исходя из рассмотрения структуры ПО «Nordvision», разработаем основные алгоритмы работы программы (некоторые их них представлены ниже). Главный цикл программы представлен на рисунке 3.6

Рис. 3.6. Блок-схема программы.

Рис. 3.7. Блок-схема модуля «Журнал событий».

Рис. 3.8. Блок-схема модуля «графики».

Рис. 3.9. Блок-схема модуля «Сервер связи с исполнительными устройствами».

2.7                         Вывод


В данном разделе дипломного проектирования, посвященного структурному проектированию, были выполнены следующие задачи:

·   проанализирована структура движения входной и выходной информации в ПО «NordVision» (п. 3.2.);

·   для выполнения требования функциональности проведен анализ предметной области (п. 3.1.) и построена инфологическая модель данных (п. 3.3.), разработана структура программного обеспечения (п. 3.4.1);

·   разработана структура информационного обеспечения (п. 3.4), в частности, разработана нормализованная структура базы данных, приведенная к 4НФ (п. 3.4.1), выбрана структура файлов для хранимых данных (п. 3.4.2);

·   для выполнения требования простоты освоения и использования ПО, был разработан пользовательский интерфейс (п. 3.6.2) и разработаны экранные формы (п. 3.6.2.3.);

·   разработаны основные алгоритмы ПО «NordVision» (п. 3.6.3.).

3.      
Логическое проектирование


После того, как была сформирована структура разрабатываемой системы, можно приступить к этапу кодирования. Данный этап обычно является наиболее, простым, а его реализация существенно облегчается при использовании алгоритмических языков высокого уровня и методов структурного проектирования.

3.1                         Организация контекстно-зависимой помощи


Для выполнения требования простоты освоения и использования, предъявленного в пункте 2.1.4.2.1, в проектируемом ПО должна быть организована контекстно-зависимая помощь. Пример выполнения данного требования показан на рисунке 4.1.

Рис. 4.1. Пример контекстно-зависимой помощи.

3.2     Инструкции пользователя

 

3.2.1        Общие сведения

ПО «NordVision» предназначено для автоматизации работы диспетчера котельной.

ПО «NordVision» позволяет повысить эффективность работы диспетчеров за счет своевременной и полной выводимой информации о состоянии котлоагрегата.

3.2.2        Системные требования

Программное обеспечение «NordVision» разработано для персональных компьютеров типа IBM PC и совместимых с ними. Для работы программы необходимо:

персональный компьютер типа IBM PC или совместимый с ним на базе процессора Технические требования, предъявляемые к программному продукту, следующие:

·        программный продукт должен функционировать под управлением операционных систем Microsoft Windows XP/Vista/7/8 с установленным Microsoft .Net Framework 4;

·        Процессор не ниже Intel core2duo

·        объем оперативной памяти 1024 Mb;

·        жёсткий диск 320Gb;

·        монитор iiyama e2407HDS или аналогичный.

3.2.3        Начало работы с программой «NordVision»

При запуске ПО «NordVision» на экран выводится актуальная информация о состоянии котельной в псевдотрехмерном режиме(основной экран) по нажатию кнопки «2D» информация выводится в двухмерном режиме.

3.2.4        Описание журнала событий

При нажатии кнопки «журнал событий» выводится экранная форма журнала событий:

Рис. 4.2

В данной форме присутствуют списки выбора диапазона дат за которые выводятся события, а также кнопка «Выгрузить в EXCEL» по нажатию которой создается файл формата xls.

3.2.5        Описания графиков

При нажатии левой кнопкой мыши по любому из параметров вызывается окно архивных графиков:

Рис. 4.3

Данное окно позволяет просматривать архивные значения в виде графиков.

3.2.6       
Описание экранной формы «Управление»

При нажатии на кнопку «Управление» на экран выводится форма «управление»

Рис. 4.4

Здесь осуществляется удаленное управление котлоагрегатом (пуск, останов. Задание мощности котлоагрегата, задание температуры на выходе котельной)

При выборе вкладки «Управление задвижками»

Осуществляется управление задвижками входной и выходной воды, а также газовой задвижкой

Рис. 4.5

3.3     Тестирование

 

3.3.1        Оценка работоспособности и устойчивости программного обеспечения

Успешное завершение процесса компиляции не означает, что в программе нет ошибок. Убедиться, что программа работает правильно можно только в процессе проверки ее работоспособности, который называется тестирование.

Обычно программа редко сразу начинает работать так, как надо, или работает правильно только на некотором ограниченном наборе исходных данных. Это свидетельствует о том, что в программе есть алгоритмические ошибки. Процесс поиска и устранения ошибок называется отладкой.

При тестировании программного обеспечения «NordVision» в соответствии с предъявленными требованиями технического задания, а также для обеспечения выполнения поставленных требований к программному продукту, были проведены следующие мероприятия по оценки работоспособности и устойчивости системы:

·      Проверка на формирование графиков за период указанный пользователем.

·        Проверка на формирование отчетов за период указанный пользователем.

·        Проверка правильности выводимых данных.

·        Проверка правильности выполнения команд на управление котлоагрегатом

·        Проверка выдачи на экран контекстно-зависимой помощи во всех режимах работы программы.

·        Наличие полной, понятной и удобочитаемой пользовательской документации.

Во всех режимах система работает стабильно и корректно, без каких либо замечаний. Пользовательский интерфейс не вызывает нареканий со стороны заказчика. Наличие контекстно-зависимой помощи, способствует быстрому освоению пользователем данной программы и наименьшей его утомляемости в процессе работы.

Тестирование программного продукта проводилось в отделе АСУиТП ООО «Норд Крафт» в течение трех недель, и все обнаруженные, в течение периода тестирования, недостатки и ошибки были устранены. Несмотря на возможное содержание в программе необнаруженных ошибок, программный продукт в целом соответствует предъявляемым требованиям, и может быть принят в эксплуатацию.

3.3.2        Соответствие параметров готового ПО заявленным

Удобство программного обеспечения

Характеристики этого требования, согласно п. 2.2.10.1. предусматривают:

·   удобство и интуитивность пользовательского интерфейса;

·   наличие контекстно-зависимой помощи;

·   предоставление пользователю на экране монитора только необходимых для его работы сведений и данных.

Характеристика № 1.

Пользовательский интерфейс не вызывает нареканий со стороны заказчика.

Характеристика № 2.

Для выполнения этого требования в программе присутствует контекстно-зависимая помощь, которая способствует быстрому освоению пользователем данной программы и наименьшей его утомляемости в процессе работы.

Характеристика № 3.

На экране пользователю предоставлены только те сведения и данные, которые необходимы пользователю в определенный момент работы.

Учитывая вышесказанное, можно сказать, что показатель «Удобство ПО» согласно бальной шкале, приведенной в таблице 2.11, получает 5,5 баллов.

Надежность программного обеспечения

Характеристики этого требования, согласно п. 2.2.10.2. предусматривают:

·   отсутствие в готовом программном обеспечении ошибок проектирования и программирования;

·   защищенность программного обеспечения от непредусмотренных действие пользователя.

Характеристика № 1.

На том уровне, на котором было проведено тестирование программного обеспечения «NordVision», в нем отсутствуют ошибки проектирования и программирования.

Характеристика № 2.

Для выполнения этого требования в программе предусмотрены предупредительные сообщения.

Учитывая вышесказанное, можно сказать, что показатель «Надежность ПО» согласно бальной шкале, приведенной в таблице 2.11, получает 5 баллов.

Оценки качества программного обеспечения

Все характеристики требований программного обеспечения выполнены (см. п. 4.3.2.1 и п. 4.3.4.2), значит требования функциональной полноты, реализованы.

Теперь, когда были разработаны главное меню, основные алгоритмы, пользовательский интерфейс, проведено тестирование ПО, можно провести его окончательную оценку.

Сведем оценки реализованных требований показателей в таблицу 4.1, рассчитав нормированное значение по формуле 2.11 и весовые коэффициенты соответствующих характеристик.

Таблица 4.1.

Показатели

Оценки

Нормированное значение

Весовые коэффициенты

Удобство программного обеспечения

5,5

0,89

0,67

Надежность программного обеспечения

5

0,33


Таким образом, требуемое значение аддитивного интегрального показателя эффективности вычисляется по формуле:

(4.1)

и имеет значение: h = 0,83 * 0,67 + 0,33 * 1= 0,92

Рассчитанная оценка программного обеспечения разработанной программы позволяет сделать вывод о жизнеспособности разработки.

3.4  
Вывод


В данном разделе дипломного проектирования выполнены следующие задачи:

·  Организована контекстно-зависимая помощь (п. 4.1);

·        Разработана инструкция пользователя (п.4.2);

·        Проведена оценка работоспособности и устойчивости программного обеспечении (п. 4.3.1);

·        Реализовано требование удобства (п. 4.3.2.1) и надежности (4.3.2.2) программного обеспечения;

·        Произведена оценка качества программного обеспечения (п. 4.3.2.3);

·        Исходный текст главного модуля программы приведен в приложении № 3.

 

4.      
Экономическое обоснование проекта


С широкомасштабным внедрением во все сферы человеческой деятельности вычислительной техники вообще и персональных компьютеров в частности постоянно возрастает количество пользователей этой техники, а также круг задач, решаемых с ее помощью. Автоматизация рабочего места оператора котельной необходима для контроля за состоянием котлоагрегата. В любом случае вложения в компьютеризацию при правильном подходе к делу окупают себя многократно.

Развитие использования вычислительной техники для выполнения выше указанных задач в основном подчиняется общим законам развития и распространения вычислительной техники в стране. Повсеместное же распространение персональных компьютеров делает эту задачу более легко решаемой.

4.1                         Технико-экономический анализ существующих АРМ и обоснование необходимости данной разработки


В процессе деятельности диспетчера котельной решаются задачи, связанные с контролем за состоянием оборудования и своевременному принятию контраварийных мер.

4.2 Построение, расчет и оптимизация сетевого графика выполнения дипломного проектирования


В данном разделе будет построена сетевая модель выполнения всего комплекса работ, ее расчет и оптимизация. Методы сетевого планирования и управления имеют следующие преимущества [15]: сокращение сроков работ, их четкая увязка во времени, выявление решающих работ (что позволяет сосредоточить внимание на них), обеспечение тесной организационной связи всего коллектива и подчинения его одному центральному органу.

4.3  Построение и расчет сетевого графика


Исходные данные для расчета и числовые характеристики, определение длительности работ приведены в таблице 5.1.

Таблица 5.1.

№ п/п.

Наименование работы

Конец работы

Длительность работы



начальное событие i

конечное событие j

Наименьшая tijmin

Наибольшая tijmax

Наиболее вероятное tijож

1.

Согласование темы дипломного проекта с руководителем

1

2

1

3

2

2.

Оформление задания на дипломный проект

2

3

1

2

1

3.

Утверждение темы у заведующего кафедрой

3

4

1

2

1

4.

Подбор научно-технической литературы

4

5

3

10

6

5.

Анализ предметной области

5

6

6

25

14

6.

Изучение научно-технической литературы

4

11

14

40

24

7.

Разработка мероприятий по разделу «Безопасность жизнедеятельности»

11

12

3

7

5

8.

Разработка мероприятий по организационно-экономической части дипломного проекта

6

7

2

4

3

9.

Системное проектирование

6

8

1

3

2

10.

Системный анализ

7

13

2

5

3

11.

Разработка технического задания

13

14

4

8

6

12.

Консультация по структурному проектированию

14

15

6

15

10

13.

Разработка структурных схем

15

16

3

7

5

14.

Разработка алгоритмов

16

17

6

8

7

15.

Оптимизация алгоритмов

17

18

1

3

2

16.

Нормализация данных

18

19

25

35

29

17.

Выбор языка программирования

19

20

3

7

5

18.

Написание программы

19

21

2

4

3

19.

Тестирование программы

19

22

4

12

7

20.

Отладка программы

22

23

6

9

7

21.

Разработка программной документации

5

9

4

8

6

22.

Корректировка программы и программной документации по результатам испытаний

5

10

6

10

8

23.

Оформление расчетно-пояснительной записки

23

24

8

12

10

24.

Оформление графического материала (плакатов)

23

25

3

5

4

25.

Обсуждение с руководителем расчетно-пояснительной записки и графического материала

25

26

3

5

4

26.

Исправление и добавление расчетно-пояснительной записки и графического материала

26

27

6

10

8

27.

Сдача дипломного проекта на рецензию и получение его

27

28

4

6

5

28.

Предварительное обсуждение дипломного проекта на кафедре

28

29

1

2

1

29.

Защита дипломного проекта

29

30

1

1

1


Примечание: наиболее вероятное время выполнения работы рассчитано и округлено по формуле

, (5.1)

Исходный сетевой график (макет) с указанием ожидаемой длительности работ - на рисунке 5.1.

В соответствии со временем, отведенным на дипломное проектирование, директивный срок, за который должно быть выполнено проектирование зададим как L = 140 дней.

Рис. 5.1. Исходный сетевой график (макет) с указанием ожидаемой длительности работ.

4.3.1        Расчет основных параметров сети

Нормирование длительности работ.

В исходных данных для каждой работы назначены три временные оценки с размерностью «рабочий день» в виде натуральных чисел:

наименьшая длительность работы , при которой вероятность выполнения работы за время, меньшее наименьшей длительности работы очень мала;

наибольшая длительность работы , при которой вероятность выполнения работы за время, равное наибольшей длительности работы близка к единице;

наиболее вероятная длительность работы , при которой вероятность выполнения работы лежит в пределах (0,35 - 0,65). Она рассчитана по формуле:

, (5.2)

4.3.2        Расчет временных параметров сетевой модели

Основные временные параметры сети:

Продолжительность работы ;

Ранний возможный срок наступления события ;

Поздний допустимый срок наступления события ;

Ранний возможный срок начала работы ;

Поздний допустимый срок начала работы ;

Ранний возможный срок окончания работы ;

Поздний допустимый срок окончания работы ;

Резерв времени события ;

Полный резерв времени работы ;

Длина пути ;

Критический путь;

Длина критического пути ;

Вероятность выполнения работы к директивному сроку .

В сетевом графике индекс i обозначает номер начального события работы, а индекс j - номер ее конечного события.

Поздний допустимый срок наступления события.

Поздний допустимый срок наступления события , где , определяется как разность между длиной критического пути и максимального по продолжительности пути, следующего из этого события в конечное событие n:

, (5.3)

следует отметить, что для событий, лежащих на критическом пути:

.

Наиболее позднее время наступления события имеет смысл вычислять лишь при соблюдении следующих условий:


Оно фиксирует верхнюю календарную границу свершения события, совместимую с длиной критического пути. Вычисления позднего допустимого срока наступления события  принципиально аналогично вычислению возможного раннего срока наступления события. Добавляется лишь вычитание всех ответов из длины критического пути.

Расчет сроков начала и окончания работ.

Ранний возможный срок начала работы  определяется ранним возможным сроком наступления предшествующего этой работе события:


Ранний возможный срок окончания работы определяется суммой раннего возможного срока наступления предшествующего этой работе события и продолжительностью этой работы:

, (5.4)

Поздний допустимый срок начала работы  определяется как разность между поздним допустимым сроком наступления завершающего эту работу события и продолжительностью этой работы:

, (5.5)

Поздний допустимы срок окончания работы  определяется поздним допустимым сроком наступления завершающего ее события:


Необходимо учитывать, что для всех работ, лежащих на критическом пути,

, , так как для всех событий .

Расчет резервов времени.

Резерв времени события  определяется как разность между поздним и ранним сроками наступления события и показывает, на какое предельно допустимое время можно задержать наступление этого события, не увеличивая общего срока окончания всех работ

, (5.6)

Следует отметить, что события критического пути не имеют резервов, так как

, (5.7)

Полный резерв времени  работы определяется как разность между поздними и ранними сроками начала или окончания работы:

, (5.8)

он показывает, на какое максимально допустимое время можно увеличивать продолжительность работы без изменения длины критического пути, .

Состав критического пути.

По схеме сетевой модели со сроками длительности работ (рис. 5.1) находим длины различных путей, исключая заведомо короткие:

L11=1,2,3,4,11,12,13=2+1+1+24+5=33

L12=1,2,3,4,5,6,7,13=2+1+1+6+14+3+3=30

L13=1,2,3,4,5,6,8,13=2+1+1+6+14+2=26

L14=13,14,15,16,17,18,19=10+7+5+7+2+29=61

L15=19,20,22,23=4+7=11

L16=19,22,23=7+7=14

L17=19,21,22,23=3+7=10

L18=23,25,26=4+4=8

L19=22,24,25,26=10+4=12

L20=26,27,28,29,30=8+5+1+1=15

Lкр.= L11 + L14 + L16 + L19 + L20 =33+61+14+12+15=135

Вершины, принадлежащие критическому пути, устанавливаются из условий . Рассчитанные временные параметры событий и работ сведены в таблицы 5.2 и 5.4 соответственно. Сетевой график с учетом этих параметров, а также с указанием количества исполнителей для каждой работы и критический путь приведен на рис. 5.2. Критический путь выделен толстой линией.

Таблица 5.2 Основные временные параметры сетевой модели (по кодам событий)

Номер события I

Ранний возможный срок наступления события tp(i)

Поздний допустимый срок наступления события tП(i)

Резерв времени события R(i)

1

0

0

0

2

2

2

0

3

3

3

0

4

4

7

3

5

4

4

0

6

10

13

3

7

10

101

91

8

10

99

89

9

24

27

3

10

24

31

7

11

27

30

3

12

28

28

13

33

33

0

14

43

43

0

15

50

50

0

16

55

55

0

17

62

62

0

18

64

64

0

19

93

95

2

20

93

97

4

21

93

93

0

22

100

100

0

23

107

107

0

24

107

113

6

25

117

117

0

26

121

121

0

27

129

129

0

28

134

134

0

29

135

135

0


Таблица 5.3 Основные временные параметры сетевой модели (по кодам работ).

№ п/п

Наименование работы

Код работы

Продолжительность работыРанний возможный срок начала работы Ранний возможный срок окончания работыПоздний допустимый срок начала работы Поздний допустимый срок окончания работы Полный резерв времени работы






1

Согласование темы дипломного проекта с руководителем

1-2

2

0

2

0

2

0

2

Оформление задания на дипломный проект

2-3

1

2

3

2

3

0

3

Утверждение темы у заведующего кафедрой

3-4

1

3

4

3

4

0

4

Подбор научно-технической литературы

4-5

6

4

10

7

13

3

5

Анализ предметной области

4-11

24

4

28

4

28

0

6

Изучение научно-технической литературы

5-6

14

10

24

13

27

3

7

Разработка мероприятий по разделу «Безопасность жизнедеятельности»

5-9

6

10

16

101

107

91

8

Разработка мероприятий по организационно-экономической части дипломного проекта

5-10

8

10

18

99

107

89

9

Системное проектирование

6-7

3

24

27

27

30

3

10

Системный анализ

6-8

2

24

26

31

33

7

11

Разработка технического задания

7-13

3

27

30

30

33

3

12

Консультация по структурному проектированию

11-12

5

28

33

28

33

0

13

Разработка структурных схем

13-14

10

33

43

33

43

0

14

Разработка алгоритмов

14-15

7

43

50

43

50

0

15

Оптимизация алгоритмов

15-16

5

50

55

50

55

0

16

Нормализация данных

16-17

7

55

62

55

62

0

17

Выбор языка программирования

17-18

2

62

64

62

64

0

18

Написание программы

18-19

29

64

93

64

93

0

19

Тестирование программы

19-20

5

93

98

95

100

2

20

Отладка программы

19-21

3

93

96

97

100

4

21

Разработка программной документации

19-22

7

93

100

93

100

0

22

Корректировка программы и программной документации по результатам испытаний

22-23

7

100

107

100

107

0

23

Оформление расчетно-пояснительной записки

23-24

10

107

117

107

117

0

24

Оформление графического материала (плакатов)

23-25

4

107

111

113

117

6

25

Обсуждение с руководителем расчетно-пояснительной записки и графического материала

25-26

4

117

121

117

121

0

26

Исправление и добавление расчетно-пояснительной записки и графического материала

26-27

8

121

129

121

129

0

27

Сдача дипломного проекта на рецензию и получение его

27-28

5

129

134

129

134

0

28

Предварительное обсуждение дипломного проекта на кафедре

28-29

1

134

135

134

135

0

29

Защита дипломного проекта

29-30

1

135

136

135

136

0



Условные обозначения на рисунке 5.2.

Рис. 5.2.

4.3.3        Оптимизация сетевого графика по временным параметрам

Если первоначальный вариант сетевого графика не обеспечит соблюдение директивного срока, следует изменить планируемые параметры сетевой модели, т.е. оптимизировать его.

Вычислим коэффициенты напряженности работ. Эти коэффициенты показывают, насколько свободно можно располагать имеющимися резервами времени. Формула для их вычисления имеет вид:

, причем , (5.9)

где  - совпадающая с длиной критического пути величина отрезка пути, проходящего через данную работу.

Кроме того, рассчитаем вероятность свершения конечного события в заданный срок Pk, причем 0,35<Pk<0,65. Если Pk < 0,35, то опасность нарушения срока настолько велика, что необходимо повторное планирование с перераспределением ресурсов. При Pk > 0,65 работы критического пути имеют избыточные ресурсы, что вызывает необходимость повторного расчета сетевого графика.

Дисперсии (мера разброса ожидаемого времени выполнения) работ, лежащих на критическом пути, находится по формуле:

, (5.10)

Коэффициенты напряженности и дисперсии работ, приведены в таблице 5.4.

Таблица 5.4.

Код работы

Наименование работы

Коэффициент напряженности

1-2

Согласование темы дипломного проекта с руководителем

1

0,16

2-3

Оформление задания на дипломный проект

1

0,04

3-4

Утверждение темы у заведующего кафедрой

1

0,04

4-5

Подбор научно-технической литературы

0,9

1,96

4-11

Изучение научно-технической литературы

1

14,44

5-6

Анализ предметной области

0,9

27,04

5-9

Консультация по структурному проектированию

0,11

0,64

5-10

Системное проектирование

0,13

0,16

6-7

Системный анализ

0,9

0,16

6-8

Разработка технического задания

0,76

0,36

7-13

Разработка структурных схем

0,9

0,64

11-12

Разработка алгоритмов

1

3,24

13-14

Оптимизация алгоритмов

1

0,64

14-15

Нормализация данных

1

0,16

15-16

Выбор языка программирования

1

0,16

16-17

Написание программы

1

4

17-18

Тестирование программы

1

0,64

18-19

Отладка программы

1

0,16

19-20

Разработка программной документации

0,71

2,56

19-21

Корректировка программы и программной документации по результатам испытаний

0,43

0,36

19-22

Разработка мероприятий по разделу «Безопасность жизнедеятельности»

1

0,64

22-23

Разработка мероприятий по организационно-экономической части дипломного проекта

1

0,64

23-24

Оформление расчетно-пояснительной записки

1

0,64

23-25

Оформление графического материала (плакатов)

0,4

0,16

25-26

Обсуждение с руководителем расчетно-пояснительной записки и графического материала

1

0,16

26-27

Исправление и добавление расчетно-пояснительной записки и графического материала

1

0,64

27-28

Сдача дипломного проекта на рецензию и получение его

1

0,16

28-29

Предварительное обсуждение дипломного проекта на кафедре

1

0,04

29-30

Защита дипломного проекта

1

0


Введем нормировочную переменную с математическим ожиданием, равным нулю, и дисперсией, равной единице.

, (5.11)

где Z - аргумент функции нормального распределения,

t(Lдир) - директивный срок выполнения проекта (140 дней),

t(Lкр)- протяженность критического пути (136 дней).

Подставив в формулу численные значения переменных, и произведя вычисления, получаем:

Z = (140 - 136) / 8,79 = 0,45 График нормального распределения вероятностей выглядит следующим образом:

Рис. 5.3. График нормального распределения вероятностей.

По графику функции нормального распределения (см. рис. 5.3.) находим вероятность свершения конечного события в заданный срок: Pk≈0,64. Полученное значение Pk удовлетворяет неравенству 0,35<Pk<0,65, т.к. он попадает в заданный промежуток, и, следовательно, оптимизация по временным параметрам не нужна и повторное планирование или повторный расчет сетевого графика производить также нет необходимости.

4.4  Определение себестоимости и расчет оптовой цены разработки

 

4.4.1        Определение себестоимости

Затраты на проведение работы включают в себя:

§   заработную плату участников проводимой работы;

§  затраты на материалы и различные виды энергии;

§  затраты на оборудование;

§  накладные расходы.

Затраты на основную заработную плату исполнителей работы определяются умножением размера месячной зарплаты на число месяцев, отводимых на выполнение данной работы, или на количество фактически затраченного ими времени. Расчет количества исполнителей и фонда заработной платы приведен в таблице 5.5.

Также необходимо рассчитать отчисления:

в пенсионный фонд РФ - 22 %

в Федеральный фонд обязательного медицинского страхования - 5,1 %

в фонд социального страхования - 3,1 %

          от суммы основной и дополнительной заработной платы. Расчет затрат на социальные отчисления приведен в таблице 5.6.

Таблица 5.5. Расчет количества исполнителей и фонда заработной платы

Наименование должности

Число рабочих дней

Месячный оклад

Сумма з/пл факт дней

Число штатных единиц

Сумма з/пл с учётом штата

Итого начислено

Руководитель

4

40 000,00

5161,29

1

5161,29

5161,29

Консультант

7

30 000,00

6774,19

1

6774,19

6774,19

Исполнитель

136

35 000,00

153548,39

1

153548,39

153548,39

 

 

 

 

3

165483,87

165483,87


Таблица 5.6. Расчет затрат на социальные отчисления

Наименование должности

НДФЛ (13%)

К выдаче

Отчисление в ПФ РФ

Отчисление в ФФОМС

Отчисление в ФСС

Итого отчислено

Фонд заработной платы

Руководитель

670,97

4490,32

987,87

229,01

139,20

1356,08

5846,40

Консультант

880,65

5893,55

1296,58

300,57

182,70

1779,85

7673,40

Исполнитель

19961,29

133587,10

29389,16

6812,94

4141,20

40343,30

173930,40

 

21512,90

143970,97

31673,61

7342,52

4463,10

43479,23

187450,20

Затраты на освещение, отопление, водоснабжение и другие нужды рассчитаем на основании расходования электроэнергии, тепловой энергии, воды и стоимости их единиц.

Расход тепловой энергии на отопление определяется по норме расхода тепла (0,00002 Гкал/год на 1 м3 отапливаемого помещения) и длительности отопительного сезона по формуле:

Пот = 0,00002 *24*90*Vпомещ., (5.12)

где V помещ. - объем отапливаемого помещения по внешнему замеру, равный (5*8*3) =120 м3.

На 136 дней расход тепловой энергии составит

Пот = (136/365)* 0,00002 *24*90*120= 1,93 Гкал, (5.13)

Расход воды на хозяйственные нужды (мытье помещений и аппаратуры) вычисляется по формуле:

Wх = Н*Sп*В, (5.14)

где Н - норма расхода воды на 1 м2 площади пола в сутки (0,0015 м3), п - площадь пола (30 м2), В - число дней.

Wх = 0,0015*30*136= 6,12 м3, (5.15)

Расход воды на санитарно-технические нужды рассчитывается:

Wc = H’*Ряв*В, (5.16)

где  Н’ - норма расхода воды в сутки на 1 человека, принимаемая равной 0,1 м2;

Ряв - явочное число работников.c = 0,1*1*136 = 13,6 м3

Расход электроэнергии на освещение может быть определен по формуле:

Qосв = Нэ*Sп*В*Восв, (5.17)

где Нэ - норма расхода электроэнергии на освещение 1 м2 площади, которую принимаем равной 0,03 кВтч/м2; п - площадь освещаемого помещения, равная 30 м2;

Восв - время искусственного освещения в сутки, равное 8 часам.осв = 0,03*30*136*8 = 979,2 кВтч

Расчет количества электроэнергии, потребляемой используемым оборудованием, производится по формуле:

Qоб = П * К * Т, (5.18)

где    П - паспортная мощность электрооборудования, кВт;

К - коэффициент использования мощности оборудования, равный 0,8;

Т - время работы электрооборудования в часах.

Расчет электроэнергии, потребляемой оборудованием, сведем в таблицу 5.7.

Таблица 5.7.

Наименование машины

Паспортная мощность, кВт

Число единиц оборудования

Суммарная потребляемая мощность

Кол-во часов работы

Расход эл/энергии кВтч

IBM PC

0,7

1

0,7

704

492,8

Лазерный принтер

0,2

1

0,2

57

11,4

   ИТОГО:

504,2


Суммарное количество электроэнергии на освещение и работу оборудования:

Qобщ. = Qосв. + Qоб. = 979,2 + 504,2 = 1483,2 (5.19)

Полученные расходы различных видов энергии, а также материалы, необходимые для поддержания процесса создания проекта, свожу в таблицу 5.8.

Таблица 5.8

Наименование материалов и энергии

Ед. изм.

Кол-во израсходов. материала

Плановая цена (руб.)

Суммарная ст-ть (руб.)

Расходные материалы:

Картридж для принтера

шт.

1

1250

1250

Бумага для принтера

пачка

1

130

130

Дискета HD 3,5”

упаковка

1

15

15

CD-RW

шт.

1

6

6

CD-R

шт.

2

1250

1250

ВСЕГО по расходным:

1401

Энергия:

Теплоэнергия

Гкал

1,93

656,57

1267,18

Водоснабжение

м3

6,12

3,8

23,26

Канализация

м3

13,6

1,55

21,08

Электроэнергия

кВТч

1483,4

0,9

1335,06

ВСЕГО по энергии:

2646,58

ИТОГО по затратам на материалы и виды энергии:

4047,58


Амортизацию оборудования рассчитаю исходя из числа дней проекта и годовых норм амортизации оборудования. Расходы на амортизацию сведу в таблицу 5.9.

Таблица 5.9.

Наименование оборудования

Число единиц (шт.)

Стоимость единицы (руб.)

Суммарная стоимость (руб.)

Годовая норма (%)

Сумма амортизации (руб.)

Компьютер

1

21520,00

21520,00

20,00

4304,00

Принтер

1

6725,00

6725,00

20,00

1345,00

ИТОГО:

5649,00


Результаты расчетов свожу в таблицу 5.10 сметы затрат на создание и ввод в эксплуатацию автоматизированного программного обеспечения. Смета рассчитывается по отдельным статьям, отражающим состав текущих затрат. К основным расходам относятся затраты на материалы, энергию и заработную плату, к накладным - все затраты на содержание административно - управленческого персонала, канцелярские и прочие хозяйственные расходы (30-35 % от суммы основной и дополнительной заработной платы).

Таблица 5.10. Смета затрат на создание и ввод в эксплуатацию комплекса.

№ п/п.

Наименование затрат

Сумма, руб.

Удельный вес отдельных статей в общей сумме затрат, %

 

1.

1401,00

0,52

 

2.

Энергетические затраты в т.ч.:

2646,58

0,99

 


 а) электроэнергия

1335,06


 


 б) теплоэнергия

1267,18



 в) водоснабжение

23,26



 г) канализация

21,08


3.

Основная заработная плата в т.ч.:

165483,87

61,68

 


 а) руководителя

5161,29


 


 б) консультанта

6774,19



 В) исполнителей

153548,39


4.

Амортизационные отчисления

5649,00

2,11

 

ИТОГО

175180,45

65,29

 

5.

Отчисления на социальное страхование

43479,23

16,21

 

6.

Накладные расходы (30%)

49645,16

18,50

 

ВСЕГО ЗАТРАТ

268304,84

100.00

 

4.4.2 Расчет оптовой цены разработки

Так как данная система является расширяющей функции существующего программного модуля и предназначена для внутреннего использования, то ее дальнейшее распространение не планируется и расчет оптовой цены разработки производить нецелесообразно.

4.5    Конкурентоспособность разработки


Конкурентоспособность для любой продукции определяется только в результате сравнения с другими товарами. Так как за базу сравнения берется конкретная потребность, возможно сопоставление и неоднородных товаров, поскольку они представляют только различные способы удовлетворения одной и той же потребности.

Данное программное обеспечение разрабатывалось непосредственно для конкретного предприятия и под конкретную структуру базы данных, в точном соответствии с предъявляемыми к нему требованиями, поэтому, учитывая его специфику, данный программный продукт не может быть использован для другой организации, в этом случае его необходимо будет полностью переписать, что естественно потребует немалых денежных и временных затрат.

Рассмотрим свойства продукта, делающие его конкурентоспособным:

·        ПО «NordVision» разработано на современном языке программирования C#;

·        удобный пользовательский интерфейс;

·        постановка задачи разрабатывалась совместно с сотрудниками котельной;

·        для реализации ПО были использованы информационные и программные технологии подходящие для имеющейся на данном предприятии компьютерной технике;

·        полный контроль организации над исходными текстами ПО, что позволяет производить любую модификацию по мере необходимости;

·        относительная дешевизна ПП за счет его разработки силами работников предприятия;

4.6   Социально-экономический эффект от внедрения.


Что касается социального эффекта от внедрения АРМ «NordVision», нельзя не отметить следующие пункты:

·        программа позволяет уменьшить трудозатраты и количество ошибок при обработке информации;

·        программа обеспечивает оперативный работу с котельной.

·        создание данной программы не потребует от пользователей знания языков программирования, также не нужно будет реализовывать конкретную работу в отдельности.

В экономическом плане создание программного обеспечения:

·        уменьшает трудозатраты на обслуживание котельной;

 

4.7    Вывод


В данном разделе настоящего дипломного проекта был проведен технико-экономический анализ, и обоснована необходимость разработки данной темы. Построен и рассчитан сетевой график выполнения дипломной работы, по графику функции нормального распределения была найдена вероятность свершения конечного события в заданный срок (п.5.3.3), после чего был сделан вывод, что оптимизация по временным параметрам не нужна и повторное планирование или повторный расчет сетевого графика производить также нет необходимости.

Была определена себестоимость ПО, конкурентная способность разработанной системы, рассмотрен социально-экономический аспект решения проблемы. В ходе работы над этим разделом было выявлено, что внедрение и использование данного программного продукта экономически эффективно.

5.      
Вопросы безопасности жизнедеятельности


Безопасность жизнедеятельности - БЖД (более распространенный термин - охрана труда) представляет собой систему знаний, направленных на обеспечение безопасности в производственной и непроизводственной среде с учетом влияния человека на среду обитания.

Безопасность человека определяется отсутствием производственных и непроизводственных аварий, стихийных и других природных бедствий, опасных факторов, вызывающих травмы или резкое ухудшение здоровья, вредных факторов, вызывающих заболевания человека и снижающих его работоспособность.

С появлением на рабочих местах персональных вычислительных машин, стало возможным использование целевого программного обеспечения различной направленности, способного в значительной мере облегчить и качественно улучшить деятельность на рабочем месте.

Но кажущая простота работы на ПК обманчива, на что указывают субъективные ощущения работников, в основном в зарубежной литературе, которые, опираясь на многочисленные исследования, констатируют вредность этой работы и наряду со всеми положительными сторонами, внедрение вычислительной техники внесло в нашу жизнь и ряд проблем, требующих особого внимания.

Данный раздел дипломного проекта посвящен рассмотрению следующих вопросов:

§ анализ потенциально опасных и вредных факторов, воздействующих на пользователя;

§  разработка мероприятий производственной санитарии и безопасности труда разработчика и пользователя;

§  расчет освещенности рабочего места пользователя;

§  разработка мероприятий противопожарной безопасности.

5.1  
Анализ потенциально опасных и вредных факторов, воздействующих на разработчика автоматизированной системы и пользователя


При использовании человеком даже самой передовой технологии у него могут возникнуть соответствующие профессиональные заболевания, если, работая, он будет пренебрегать элементарными правилами техники безопасности. В данном разделе дипломного проекта будут рассмотрены опасные и вредные производственные факторы, которые могут стать причиной заболеваний пользователей персональных компьютеров.

При организации условий труда необходимо также учитывать воздействие на работающих опасных и вредных производственных факторов. Опасным называется производственный фактор, воздействие которого на работающего в определенных условиях приводит к травме или другому внезапному резкому ухудшению здоровья. Если же производственный фактор приводит к заболеванию или снижению работоспособности, то его считают вредным.

Типичными ощущениями, которые испытывают к концу рабочего дня работающие на персональных компьютерах, являются: головная боль, резь в глазах, тянущие боли в мышцах шеи, рук, спины и т.д. испытываемые днем за днем, они могут привести к мигреням, частичной потере зрения и другим нежелательным явлениям. По данным Национальной академии наук США, а также по результатам исследований, проведенных учеными ряда международных центров, выявлена определенная связь между работой на компьютерах и такими недомоганиями, как: астенопия (быстрая утомляемость глаз), боли в спине и шее, запястный синдром (болезненное поражение срединного нерва запястья), тендениты (воспалительные процессы в тканях сухожилий), стенокардия и различные стрессовые состояния, сыпь на коже лица, хронические головные боли, головокружение, повышенная возбудимость и депрессивные состояния, снижение концентрации внимания, нарушение сна и немало других, которые не только ведут к снижению трудоспособности, но и подрывают здоровье людей.

В связи с постоянным внедрением новых технологических процессов и интенсификацией существующих, человеку уже никогда не удастся полностью избежать пагубного влияния передовых технологий, но, как и во многих других случаях, сами пользователи персональных компьютеров, по крайней мере, могут свести их к минимуму. Большинство проблем решаются сами собой при правильной организации рабочего места, соблюдении правил техники безопасности и разумном распределении рабочего времени.

В процессе труда на работающего с ПЭВМ оказывают действие следующие опасные и вредные производственные факторы:

Электромагнитные поля (ЭМП).

Основным источником эргономических проблем, связанных с охраной здоровья людей, использующих в своей работе автоматизированные информационные системы на основе персональных компьютеров, являются дисплеи (мониторы), особенно дисплеи с электронно-лучевыми трубками. Они представляют собой источники наиболее вредных излучений, неблагоприятно влияющих на здоровье операторов.

Действие ЭМП проявляется: снижение белковой куагуляции, нарушении регуляции функций организма, угнетении обменных процессов вследствие изменения ферментной активности, ослаблении репродуктивной функции, гиперфункции щитовидной железы, уменьшения лактации у кормящих матерей, гипотонии, изменении проводимости сердечной мышцы, трофических расстройствах, похудении, выпадении волос, ломкости костей.

Отрицательное воздействие ЭМП вызывает обратимые (на ранних стадиях) и необратимые изменения в организме: торможение рефлексов, понижение кровяного давления (гипотония), замедление сокращений сердца (брадикардия), изменение состава крови в сторону увеличения лейкоцитов и уменьшения количества эритроцитов.

Субъективным критерием отрицательного воздействия ЭМП являются: головные боли, повышенная утомляемость, раздражительность, нарушения сна, нарушение рефлекторной деятельности мозга, ухудшение памяти, сердечно-сосудистые расстройства, ухудшение зрения, повышение температуры тела.

Изменения в тканях.

У работающих с дисплеями были установлены случаи нарушения кожного покрова лица, затылка, верхней части груди. Легкое покраснение сопровождается шелушением кожи. Аллергическая реакция исчезала, как только человек на несколько дней расставался с дисплеем. Объясняется это тем, что под действием статических полей экрана монитора ионы и частицы пыли приобретают заряд и устремляются к ближайшему заземленному предмету. Обычно им оказывается лицо пользователя. Результатом может быть непреходящая сыпь. Излучение дисплея вызывает также появление морщин и дряблости кожи.

Электромагнитные поля дисплеев могут инициировать изменения в клетках вплоть до нарушения синтеза ДНК.

Влияние шума.

Шумом называют всякий неблагоприятный действующий на человека звук. Обычно под шумом понимают сочетание звуков различной частоты и интенсивности.

Многочисленными исследованиями установлено, что шум является общебиологическим раздражителем и в определенных условиях может влиять на все органы и системы организма человека. Наиболее изучено влияние шума на слуховой орган человека. Интенсивный шум при ежедневном воздействии приводит к возникновению профессионального заболевания - тугоухости, основным симптомом которого является постепенная потеря слуха на оба уха, первоначально лежащая в области высоких частот (4000 Гц), с последующим распространении на более низкие частоты, определяющие способность воспринимать речь.

Кроме непосредственного воздействия на орган слуха шум влияет на различные отделы головного мозга, изменяя нормальные процессы высшей нервной деятельности. Это так называемое неспецифическое воздействие шума может возникнуть даже раньше, чем изменения в органе слуха. Характерными являются жалобы на повышенную утомляемость, общую слабость, раздражительность, апатию, ослабление памяти потливость и т.д.

Исследованиями последних лет установлено, что под влиянием шума наступают изменения в органе зрения человека (снижается устойчивость ясного видения и острота зрения, изменяется чувствительность к различным цветам и др.) и вестибулярном аппарате; нарушаются функции желудочно-кишечного тракта; повышается внутричерепное давление; происходят нарушения в обменных процессах организма и т.п.

В результате неблагоприятного воздействия шума на работающего человека происходит снижение производительности труда, увеличивается брак в работе, создаются предпосылки к возникновению несчастных случаев. Все это обуславливает большое оздоровительное и экономическое значение мероприятий по борьбе с шумом.

Влияние на опорно-двигательный аппарат.

Из всех недомоганий, обусловленных работой на компьютере, наибольшее внимание привлекает множество мучительных и часто приводящих к нетрудоспособности болезней рук, спины, плеч и шеи, которые связаны с использованием клавиатуры и длительным пребыванием в статической позе. Этот набор болезней, к числу которых относятся и тендевиты, (воспалительные процессы тканей сухожилий), имеет общее название - синдром длительных статических нагрузок (СДСН).

Этот вид заболеваний является наиболее распространенным среди пользователей ПК, так как при работе с компьютером приходится делать тысячи нажатий на клавиши при вводе текста. Пользователи ПК жалуются на болезненные ощущения в руках. Помимо этого, существует прямая связь между работой на компьютере и такими заболеваниями, как боли в спине и шее, запястный синдром. Длительное пребывание в сидячем положении приводит к возникновению напряжения мышц спины и ног. Более половины операторов испытывают неприятные ощущения в поясничном отделе, возникающие несколько раз в неделю или ежедневно.

Однако не только кисти, локти, плечи представляют собой "опасные зоны". Не менее важной причиной возникновения СДСН может быть длительное пребывание в статическом положении при работе с видеотерминалом, которое приводит к сильному перенапряжению мышц спины и нижних конечностей, что вызывает у абсолютного большинства операторов неприятные ощущения в поясничном отделе.

Влияние на орган зрения.

Однако самый большой вред компьютер наносит нашему зрению. Дело в том, что человеческие глаза абсолютно не подготовлены для восприятия компьютерной "картинки". Все окружающие предметы мы видим в отраженном свете. А изображения, возникающие на мониторе, имеют дискретный характер, то есть состоят из миллионов светящихся частичек, которые загораются и потухают через определенные промежутки времени. Поэтому восприятие светящегося монитора становится огромным испытанием для наших глаз.

Существующий компьютерный зрительный синдром стал настоящим бичом всех пользователей. Он появляется у всех, кто регулярно проводит у экрана компьютера более шести часов в день. Симптомы этого заболевания можно поделить на две группы.

В первую - зрительную - включены снижение остроты зрения, замедленная перефокусировка, двоение предметов, быстрое утомление во время чтения.

Вторая группа условно именуется глазной. К ней относятся чувство жжения в глазах, так называемый "песок под веками", боли в области глазниц и лба, боли во время движения глаз, их покраснение. Эта картина знакома большинству "компьютерщиков". И ничего удивительного, ведь все эти болезненные признаки появляются у части пользователей через 2 часа, у большинства - через 4 и у каждого - через 6 часов.

Надо сказать, что появление всех этих неприятных симптомов можно предотвратить. Нужно лишь знать элементарные правила работы с компьютером.

Во-первых, нельзя сидеть близко к экрану. Расстояние от 15-дюймового монитора до глаз не должно быть меньше 60-70 сантиметров, а 17-дюймового - 1,5 метра.

Ни в коем случае нельзя работать с установленными на максимум яркостью и контрастностью. Нужно "подгонять" эти функции под себя. Здесь могут помочь "компьютерные" линзы и очки, специальное покрытие которых повышает контрастность изображения. Эти оптические приспособления позволяют снизить утомляемость глазных мышц и улучшить аккомодацию хрусталика.

Увеличивать контрастность вынуждает слой пыли, поэтому надо ежедневно протирать монитор или влажной тряпкой или специальным химическим раствором.

Переутомление и стрессы.

Сложность трудовой деятельности пользователя ПК, требующая постоянного активного внимания, высокой ответственности за результат, который может привести к крупным потерям технических средств и экономических ресурсов, а в ряде случаев к авариям и гибели людей, вызывает реакцию психического напряжения (стресс).

В состоянии стресса у операторов в начале отмечается повышение работоспособности, общая собранность, более четкие действия, ускоряется двигательная реакция. Однако механизм эмоциональной стимуляции имеет физиологический предел, за которым наступает отрицательный эффект, когда психическое напряжение, достигая максимального уровня, утрачивает свое прямое, выработанное в процессе эволюции назначение - повышение физической и психической активности человека. Такие запредельные формы напряжения ведут к срывам, сопровождаются утомлением человека, и даже переутомлением.

Стрессы являются причиной головокружения, тошноты, депрессии, стенокардии, снижения трудоспособности, легкой возбудимости, невозможности долго концентрировать внимание, хронических головных болей, нарушений сна, отсутствия аппетита.

Изменения в женском организме.

Более серьезные последствия вредных воздействий на организм были получены при обследовании женщин. Оказалось, что для тех, кто проводит за дисплеем не менее 20 часов в неделю, вероятность преждевременного прерывания беременности оказалось на 60% выше, чем для выполняющих аналогичную работу без применения компьютеров. Исследования, проведенные в США, Швеции, Японии, показали, что из числа беременных женщин, работающими за компьютерами, около 30% имели осложнения беременности, около 20% имели выкидыши. Канадские исследователи показали, что для женщин, работающих на компьютере, вероятность нормального протекания беременности уменьшается уже при продолжительности работы более 4 часов в неделю. По данным шведских исследователей у операторов ПК рождаются дети с выраженными пороками в 2,5 раза чаще, чем у других женщин.

Проанализировав вредные факторы и их влияние на человеческий организм, вследствие работы на ПЭВМ, разработаем в следующем пункте ряд мероприятий, обеспечивающих безопасность труда и производственную санитарию.

5.2                         Разработка мероприятий производственной санитарии и безопасности труда разработчика и пользователя


Условия труда пользователя имеют частные и общие характеристики, обусловленные спецификой производства и операторской деятельности.

Основной подход к решению проблемы уменьшения опасных и вредных влияний на организм человека при работе на ПК заключается в реализации рекомендаций, разработанных группой по проблемам охраны здоровья лиц, работающих с дисплеями, созданной при Всемирной организации здравоохранения. Эти рекомендации разбиты на 4 группы:

§ соблюдение ограничений по медицинским показаниям;

§  правильная организация рабочего места оператора;

§  внимательное отношение к характеристикам дисплеев;

§  правильная организация рабочего времени оператора.

Рабочая поза, освещение, мебель, организация работы, а также привычки конкретного пользователя ЭВМ могут оказывать влияние на самочувствие и качество работы. При правильном обустройстве рабочего места можно снизить усталость и дискомфорт, и тем самым уменьшить риск возникновения напряжений, приводящих к болезням.

) Общие организационные мероприятия:

Для обеспечения комфортной и безопасной работы при работе с компьютером рекомендуется следовать следующим основным принципам:

§  Расположение

Необходимо найти удобное для себя положение тела относительно компьютера и оснащения на рабочем месте.

§  Движение

Необходимо спланировать выполнение заданий так, чтобы можно было чаще находиться в движении. Избегать сидения в одной позе целый день.

§  Расслабление

Необходимо создавать позитивные отношения с коллегами на работе, расслабляться и стараться устранять причины возникновения стресса. Не забывать о физической разрядке, расслаблении мускулов, пожимании плечами. Регулярно стараться устранять напряжение и чаще устраивать короткие паузы.

§  Ощущения

Необходимо прислушиваться к своему телу. Быть внимательным к возникновению любого напряжения. Чувству дискомфорта или возможной боли и постараться предпринять что-либо для их устранения.

Следует отметить еще несколько немаловажных факторов:

·        Общее время работы с монитором компьютера по возможности не должно превышать 50% всего рабочего времени пользователя;

·        Стараться не превышать темп работы порядка 10 тысяч нажатий клавиш в час (около 1500 слов);

·        При обычной работе на компьютере через каждые два часа делать 15-ти минутные перерывы, а при интенсивной работе - через каждый час;

·        Желательно, чтобы монитор находился примерно на расстоянии вытянутой руки от оператора, т.е. не ближе 70 см;

·        Необходимо соблюдать ограничения на работу с персональными компьютерами для служащих с заболеваниями опорно-двигательного аппарата, глаз (или нарушениями зрения), кожи, а также для беременных женщин.

) Требования к размещению рабочих мест с видеотерминалами и к техническим характеристикам дисплеев:

·        предпочтительнее использовать дисплеи с высокой разрешающей способностью (разрешением) и удобным размером экрана не менее 14" (36 сантиметров) по диагонали;

·        лучше выбирать видеоадаптеры с высоким разрешением и, по возможности, частотой обновления экранного изображения не менее 70-72 Гц;

·        обязательно ставить на дисплеи экранные, в частности, поляризационные, фильтры, в несколько раз снижающие утомляемость глаз;

·        экран дисплея не должен быть ориентирован в сторону источников света (окон, настольных ламп и т.п.);

·        при размещении рабочего места рядом с окном угол между экраном дисплея и плоскостью окна должен составлять не менее 90 градусов (для исключения бликов), прилегающую часть окна желательно зашторить;

·        не следует располагать дисплей непосредственно под источником освещения или вплотную с ним.

) Освещение помещений и рабочих мест:

·        освещенность рабочего места пользователя рекомендуется поддерживать на уровне 2/3 нормальной освещенности рабочих помещений (рекомендуемый диапазон освещенности 210 - 540 лк);

·        стена или иные поверхности позади дисплея должны быть освещены примерно так же, как экран.

) Снижение уровня электромагнитного излучения:

·        располагать мониторы так, чтобы расстояние до них составляло величину, равную длине вытянутой руки;

·        пользователь не должен находиться ближе 1,2 м от задних или боковых поверхностей соседних терминалов;

·        рекомендуется устанавливать на экран монитора специальные экранизирующие фильтры и экраны.

) Организация и оборудование рабочих мест с видеодисплейными терминалами (ВДТ) и ПЭВМ:

·        Рабочий стол:

§  Конструкция рабочего стола должна обеспечивать оптимальное размещение на рабочей поверхности используемого оборудования с учетом его количества и конструктивных особенностей, характера выполняемой работы. При этом допускается использование рабочих столов различных конструкций, отвечающих современным требованиям эргономики.

§  Высота рабочей поверхности стола для взрослых пользователей должна регулироваться в пределах 680 - 800 мм; при отсутствии такой возможности высота рабочей поверхности стола должна составлять 725 мм.

§  Модульными размерами рабочей поверхности стола для ВДТ и ПЭВМ, на основании которых должны рассчитываться конструктивные размеры, следует считать: ширину 800, 1000, 1200 и 1400 мм, глубину 800 и 1000 мм при нерегулируемой его высоте, равной 725 мм.

§  Рабочий стол должен иметь пространство для ног высотой не менее 600 мм, шириной - не менее 500 мм, глубиной на уровне колен - не менее 450 мм и на уровне вытянутых ног - не менее 650 мм.

·        Кресло:

§  Рабочий стул (кресло) должен быть подъемно - поворотным и регулируемым по высоте и углам наклона сиденья и спинки, а также - расстоянию спинки от переднего края сиденья.

§  Конструкция рабочего стула (кресла) должна обеспечивать:

­  ширину и глубину поверхности сиденья не менее 400 мм;

­    поверхность сиденья с закругленным передним краем;

­    регулировку высоты поверхности сиденья в пределах 400 - 550 мм и углов наклона перед до 15 град. и назад до 5 град.;

­    высоту опорной поверхности спинки 300 +/- 20 мм, ширину - не менее 380 мм и радиус кривизны горизонтальной плоскости - 400 мм;

­    угол наклона спинки в вертикальной плоскости в пределах 0 +/- 30 градусов;

­    регулировку расстояния спинки от переднего края сиденья в пределах 260-400 мм;

­    стационарные или съемные подлокотники длиной не менее 250 мм и шириной 50-70 мм;

­    регулировку подлокотников по высоте над сиденьем в пределах 230 +/- 30 мм и внутреннего расстояния между подлокотниками в пределах 350-500 мм.

·        Клавиатура:

§  Конструкция клавиатуры должна предусматривать:

­  исполнение в виде отдельного устройства с возможностью свободного перемещения;

­    опорное приспособление, позволяющее изменять угол наклона поверхности клавиатуры в пределах от 5 до 15 градусов;

­    высоту среднего ряда клавиш не более 30 мм;

­    расположение часто используемых клавиш в центре, внизу и справа, редко используемых - вверху и слева;

­    выделение цветом, размером, формой и местом расположения функциональных групп клавиш;

­    минимальный размер клавиш - 13 мм, оптимальный - 15 мм;

­    клавиши с углублением в центре и шагом 19 +/- 1 мм;

­    расстояние между клавишами не менее 3 мм;

­    одинаковый ход для всех клавиш с минимальным сопротивлением нажатию 0,25 Н и максимальным - не более 1,5 Н;

­    звуковую обратную связь от включения клавиш с регулировкой уровня звукового сигнала и возможности ее отключения.

·        Видеотерминал:

§  визуальные эргономические параметры ВДТ являются параметрами безопасности, и их неправильный выбор приводит к ухудшению здоровья пользователей;

§  все ВДТ должны иметь гигиенический сертификат, включающий, в том числе оценку визуальных параметров;

§  конструкция ВДТ, его дизайн и совокупность эргономических параметров должны обеспечивать надежное и комфортное считывание отображаемой информации в условиях эксплуатации;

§  конструкция ВДТ должна обеспечивать возможность фронтального наблюдения экрана путем поворота корпуса в горизонтальной плоскости вокруг вертикальной оси в пределах ±30 градусов и в вертикальной плоскости вокруг горизонтальной оси в пределах ±30 градусов с фиксацией в заданном положении;

§  дизайн ВДТ должен предусматривать окраску корпуса в спокойные, мягкие тона с диффузным рассеиванием света;

§  исполнение в виде отдельного устройства с возможностью свободного перемещения.

Помимо безопасности пользователя, необходимо сказать несколько слов и о безопасности компьютера. Прежде всего, нужна его защита по сети питания, для этого применяются так называемые источники бесперебойного питания, поддерживающие напряжение питания в течение некоторого времени при аварийных ситуациях в электрической сети (этого времени обычно бывает достаточно, чтобы сохранить информацию и выключить персональный компьютер), и фильтры-стабилизаторы, защищающие от выбросов и скачков напряжения. Ни в коем случае нельзя загораживать заднюю стенку системного блока или ставить персональный компьютер вплотную к стене - это приводит к «тяжелому» режиму охлаждения системного блока и его перегреву. То же самое относится к дисплею - нельзя класть на него бумаги, книги и вообще все, что может закрыть его вентиляционные отверстия. Не рекомендуется курить в помещении, где установлены персональные компьютеры, поскольку мельчайшие твердые и смолистые частицы дыма могут повредить тонкие электронные компоненты, в первую очередь, головки и механизм накопителей на магнитных дисках. Наконец, такая мелочь, о которой принято забывать каждый день - пыль - и электроника плохо совместимы друг с другом, поэтому нужно чаще протирать основные устройства системы персонального компьютера, закрывать их полиэтиленовыми чехлами по окончании работы и вообще следить за толщиной слоя пыли в рабочем помещении. Наконец, не рекомендуется часто переставлять компоненты системы персональных компьютеров в помещении, в частности, таскать с места на место системный блок (если уж возникает необходимость в этом, то надо, как минимум, «запарковать» головки дискового накопителя, аккуратно отсоединить все кабели и по отдельности перенести процессорный блок, дисплей, принтер и пр.).

Соблюдение перечисленных в этом разделе дипломного проекта элементарных правил позволит сохранить здоровье, как пользователям персональной компьютерной техники, так и ей самой.

5.3  Разработка мероприятий противопожарной безопасности рабочего помещения


Пожары в ВЦ представляют особую опасность, так как сопряжены с большими материальными потерями. Характерная особенность ВЦ - небольшие площади помещений. Как известно, пожар может возникнуть при взаимодействии горючих веществ, окисления и источников зажигания. В помещениях ВЦ присутствуют все три основные фактора, необходимые для возникновения пожара.

Горючими компонентами на ВЦ являются: строительные материалы для акустической и эстетической отделки помещений, перегородки, двери, полы, перфокарты и перфоленты, изоляция кабелей и др.

Пожаром называется неконтролируемое горение вне специального очага, наносящее материальный ущерб. Особенностью пожаров в закрытых помещениях является сравнительно медленное горении в течение первых 30-40 минут из-за недостаточного притока воздуха в зону горения. После разрушения остекления интенсивность пожара резко возрастает. Скорость горения различных веществ колеблется в широких пределах.

Под пожарной безопасностью понимается такое состояние объекта, при котором с большой вероятностью предотвращается возможность возникновения пожара, а в случае его возникновения обеспечивается эффективная защита людей от опасных и вредных факторов пожара и спасение материальных ценностей. Пожарная безопасность производственных объектов обеспечивается разработкой и осуществлением систем предотвращения пожаров и систем пожарной защиты. Для предотвращения пожаров необходимо исключить возникновение источников (импульсов) зажигания.

Источниками зажигания в ВЦ могут быть электронные схемы от ЭВМ, приборы, применяемые для технического обслуживания, устройства электропитания, кондиционирования воздуха, где в результате различных нарушений образуются перегретые элементы, электрические искры и дуги, способные вызвать загорания горючих материалов.

В современных ЭВМ очень высока плотность размещения элементов электронных схем. В непосредственной близости друг от друга располагаются соединительные провода, кабели. При протекании по ним электрического тока выделяется значительное количество теплоты. При этом возможно плавление изоляции. Для отвода избыточной теплоты от ЭВМ служат системы вентиляции и кондиционирования воздуха. При постоянном действии эти системы представляют собой дополнительную пожарную опасность.

Опасна перегрузка электропитающих сетей, что влечет за собой разогрев токоведущих проводников и возгорание электроизоляции, а также примыкающих материалов, способных воспламениться. Ослабленный электрический контакт в месте соединения проводников приводит к возникновению больших переходных сопротивлений и повышенному выделению теплоты.

Для большинства помещений ВЦ установлена категория пожарной опасности Е.

Одной из наиболее важных задач пожарной защиты является защита строительных помещений от разрушений и обеспечение их достаточной прочности в условиях воздействия высоких температур при пожаре. Учитывая высокую стоимость электронного оборудования ВЦ, а также категорию его пожарной опасности, здания для ВЦ и части здания другого назначения, в которых предусмотрено размещение ЭВМ, должны быть 1 и 2 степени огнестойкости.

Для изготовления строительных конструкций используются, как правило, кирпич, железобетон, стекло, металл и другие негорючие материалы. Применение дерева должно быть ограниченно, а в случае использования необходимо пропитывать его огнезащитными составами.

Каждое предприятие должно быть оснащено определенным количеством тех или иных видов пожарной техники в соответствии с принятыми нормами.

На производствах категории Е, к которым относятся вычислительные центры, для обеспечения пожаробезопасности принимаются следующие меры:

применяются стационарные аэрозольные (галоидоуглеводородные) и порошковые установки пожаротушения, в которых все элементы смонтированы и постоянно находятся в готовности к действию. Такие установки подразделяются на автоматические (приводятся в действие и при отсутствии в здании людей) и дистанционные (приводятся в действие людьми);

Для ликвидации небольших загораний используются огнетушители:

воздушно-пенные ОВП-5 и ОВП-10 (давление в корпусе создается сжатым диоксидом углерода);

СО2-огнетушители (углекислотные для тушения электроустановок под напряжением до 10 кВ) типа ОУ-2, ОУ-5, ОУ-8;

порошковые типа ОП-1 «Момент», ОП-2А, ОП10-А и т.д.

Для обнаружения загорания служат пожарные извещатели, реагирующие на дым, свет, температуру или сразу на несколько факторов.

В производственных помещениях ВЦ применяются главным образом углекислотные огнетушители, достоинством которых является высокая эффективность тушения пожара, сохранность электронного оборудования, диэлектрические свойства углекислого газа, что позволяет использовать эти огнетушители даже в том случае, когда сразу не удается обесточить электроустановку.

В соответствии с «Типовыми правилами пожарной безопасности для промышленных предприятий» залы ЭВМ, помещения для внешних запоминающих устройств, подготовки данных, сервисной аппаратуры, архивов, копировально-множительного оборудования и т.п. необходимо оборудовать дымовыми пожарными вещателями. В этих помещениях в начале пожара при горении различных пластмассовых, изоляционных материалов и бумажных изделий выделяется значительное количество дыма и мало теплоты.

Объекты ВЦ кроме АПС необходимо оборудовать установками стационарного автоматического пожаротушения. Наиболее целесообразно применять в ВЦ установки газового тушения пожара, действие которых основано на быстром заполнении помещения огнетушащим газовым веществом с резким снижением содержания в воздухе кислорода.

Кроме того, на руководителей предприятия возлагается ответственность за организацию пожарной охраны объекта и проведение мероприятий, в частности, инструктажа работающих по пожарной безопасности.

программа интерфейс алгоритм качество

Заключение

В процессе разработки программного продукта «NordVision» были учтены требования предъявляемые к программному обеспечению (п.2.2.3).

Рассчитаем полученное в результате дипломного проектирования значение (критерий) эффективности системы для частных показателей качества согласно методике и коэффициентам, определенных в п. 2.2.9.

Для частных показателей качества были получены следующие значения:

Удобство программного обеспечения - 5,5 баллов (п. 4.3.2.1).

Надежность программного обеспечения - 5 баллов (п. 4.3.2.2).

Произведем нормирование коэффициентов путем отнесения показателя к его интервалу изменений (интервал изменений приведен в таблице 2.11). Нормирование по диапазону изменений частного показателя производится по формуле, удовлетворяющих принципу «чем больше, тем лучше»:

,             (7.1)

Нормированные значения показателей приведены в таблице 7.1.

Таблица 7.1.

Показатели

Минимальное

Максимальное

Требуемое значение

Нормированное значение

Удобство программного обеспечения

0

6

5

0,83

Надежность программного обеспечения

0

5

5

1


Определим эффективность системы, по нормированным значениям из таблицы 8.1 и согласующим коэффициентам из таблицы 2.10:

h = 0,5 * 0,83 + 0,5 * 1= 0,92

Поскольку в концепции проекта (п.2.4) было определено, что показатель эффективности, рассчитанный для частных показателей качества согласно методике и коэффициентам, определенным в п. 2.2.9, для разрабатываемого программного комплекса должен составить не ниже критерия h=0,92. Согласно п. 2.3.2.3, можно сделать вывод, что проектирование было выполнено успешно.

Достоинства спроектированного ПО «NordVision», на наш взгляд, заключаются в следующем:

·        с программой может работать даже неопытный пользователь;

·        задача разработана с учетом особенностей работы котельной.

Литература

1. Общие методические указания по дипломному проектированию. - Л.: СЗПИ, 1985.

2. Методические указания по дипломному проектированию для студентов специальности 2201. - СПб.: СЗПИ, 1994.

3. Брук В.М., Николаев В.И. Начала общей теории систем. - Л.: СЗПИ, 1977.

4. Николаев В.И., Брук В.М. Системотехника: методы и приложения. - Л.: Машиностроение, Ленинградское отделение, 1985.

5. Николаев В.И., Серебрянская Л.Л. Теория систем: методы и приложения: Текст лекций. Вып. 2.- Л.: СЗПИ, 1991.

6. Николаев В.И., Фаткиева Р.Р. Системный анализ. Часть 1 Системное проектирование СПб: СЗТУ 2002.

7. Копейкин М.В., Спиридонов В.В., Шумова Е.О. Базы данных. Концепция баз данных.: Уч. пос. - СПб.: СЗТУ, 2004.

8. Копейкин М.В., Спиридонов В.В., Шумова Е.О. Базы данных. Инфологические модели баз данных.: Уч. пос. - СПб.: СЗТУ, 2004.

9. Копейкин М.В., Спиридонов В.В., Шумова Е.О. Базы данных. Основы SQL реляционных баз данных.: Уч. пос. - СПб.: СЗТУ, 2004.

10.Технология разработки программных продуктов: Техническая документация на этапе создания программного изделия. - М.: Гум.-техн. колледж «Метод», 1999.

11.Боуман Д.С., Эмерсон С. Л., Дарновски М. Практическое руководство по SQL, 3-е издание.: Перевод с англ.: уч. Пос. - М.: Издательский дом «Вильямс», 2001.: ил.

12.Организация, планирование и управление предприятием: Методические указания к организационно-экономической части дипломных работ. - СПб.: СЗПИ, 1993.

13.Организация и планирование производства: Управление предприятием: Экономическое обоснование дипломных проектов. - СПб.: СЗПИ, 1993.

14.Гуткин В.И., Безопасность жизнедеятельности при эксплуатации ПК: Уч. пос. - СПб.: СЗТУ, 2004.

15.Гигиенические требования к видеодисплейным терминалам, персональным электронно-вычислительным машинам и организации работы, санитарные правила и нормы от 14 июля 1996 г. № 14, СанПиН 2.2.2.542-96.

16.Основы безопасности жизнедеятельности. - М.: Гум.-техн. колледж «Метод», 1998.

Приложение № 1

Экранные формы



Приложение № 2

Таблица 7.1

Образцы выходных форм

Источник

Авария

Время

Котел 1: Авария УПП первичного воздуха

k1

03.11.2011 16:26:17

Котел 1: Давление пара максимальное

k1

03.11.2011 16:26:17

Котел 1: Авария нет напряжения

k1

03.11.2011 16:26:17

Котел 1: Уровень воды максимальный

k1

03.11.2011 16:26:17

Котел 1: Авария нет напряжения

k1

03.11.2011 16:22:55

Котел 1: Авария УПП первичного воздуха

k1

03.11.2011 16:22:55

Котел 1: Давление пара максимальное

k1

03.11.2011 16:22:55

Котел 1: Уровень воды максимальный

k1

03.11.2011 16:22:55

Деаэратор 2: Ошибка клапана питательной воды

dr

03.11.2011 16:20:41

Деаэратор: Ошибка ПЧ насоса 3

dr

03.11.2011 16:20:41

Деаэратор: Ошибка ПЧ насоса 2

dr

03.11.2011 16:20:41

Деаэратор: Ошибка ПЧ насоса 1

dr

03.11.2011 16:20:41

Деаэратор: Ошибка клапана подогрева

dr

03.11.2011 16:20:41

Деаэартор 2: Ошибка клапана пара в водяное пространство

dr

03.11.2011 16:20:41

Деаэратор 1: Ошибка клапана пара в водяное пространство

dr

03.11.2011 16:20:41

Деаэратор 1: Ошибка клапана пара в паровое пространство

dr

03.11.2011 16:20:41

Деаэратор: Насос 1: Давление минимальное

dr

03.11.2011 16:20:41

Котел 1: Авария нет напряжения

k1

03.11.2011 16:20:37

Котел 1: Авария УПП первичного воздуха

k1

03.11.2011 16:20:37


Приложение № 3

Исходный текст главного модуля ПО «NordVision»

MainWindow.xaml.csSystem;System.Collections.Generic;System.Collections.ObjectModel;System.ComponentModel;System.IO;System.Linq;System.Threading;System.Windows;System.Windows.Controls;System.Windows.Input;System.Windows.Markup;System.Windows.Threading;Npgsql;cherepovec

{

/// <summary>

/// Interaction logic for MainWindow.xaml

/// </summary>partial class MainWindow : Window

{class ObservableCollectionEx<T> : ObservableCollection<T>

{

// Override the event so this class can access itoverride event System.Collections.Specialized.NotifyCollectionChangedEventHandler CollectionChanged;override void OnCollectionChanged(System.Collections.Specialized.NotifyCollectionChangedEventArgs e)

{

// Be nice - use BlockReentrancy like MSDN said(BlockReentrancy())

{.Collections.Specialized.NotifyCollectionChangedEventHandler eventHandler = CollectionChanged;(eventHandler == null);

[] delegates = eventHandler.GetInvocationList();

// Walk thru invocation list(System.Collections.Specialized.NotifyCollectionChangedEventHandler handler in delegates)

{dispatcherObject = handler.Target as DispatcherObject;

// If the subscriber is a DispatcherObject and different thread(dispatcherObject != null && dispatcherObject.CheckAccess() == false)

{

// Invoke handler in the target dispatcher's thread.Dispatcher.Invoke(DispatcherPriority.DataBind, handler, this, e);

}// Execute handler as is(this, e);

}

}

}

}thr1;_timer;running = true;playAlarm = false;[] oldAlarmsK1 = new bool[300];[] oldAlarmsK2 = new bool[300];[] oldAlarmsK3 = new bool[300];[] oldAlarmsTk = new bool[300];[] oldAlarmsDr = new bool[300];NpgsqlConnection conn = new NpgsqlConnection(Properties.Settings.Default.connString);ObservableCollection<int> k1ActMi = new ObservableCollection<int>();ObservableCollection<bool> k1ActMb = new ObservableCollection<bool>();ObservableCollectionEx<alarms> _AlarmsCollection = new ObservableCollectionEx<alarms>();ObservableCollectionEx<alarms> AlarmsCollection

{ get { return _AlarmsCollection; } }Dictionary<string, points> variables = new Dictionary<string, points>();Dictionary<string, showAlarms> showAl = new Dictionary<string, showAlarms>();Dictionary<string, alarms[]> alarmsDescription = new Dictionary<string, alarms[]>();

//void dispatcherTimer_Tick(object sender, EventArgs e)

}m_MediaEnded(object sender, RoutedEventArgs e)

{.Position = TimeSpan.FromSeconds(0);.Play();

}

//Чтение из БД описания аварийvoid addAlarmsDescriptions(string Name)

{[] al = new alarms[300];.Add(Name, new alarms[300]);dr;.Open();command = new NpgsqlCommand("SELECT \"N\", 'name', \"desc\" FROM alarms_desc WHERE name='" + Name + "' ORDER BY \"N\";", conn);

//try

{= command.ExecuteReader();(dr.Read())

{[(int)dr["N"]] = new alarms { alarmSender = Name, alarmDescripton = dr["desc"].ToString() };

}

}[Name] = al;

{(int i = 0; i < 300; i++)[Name].Mb_desc.Add("");= new NpgsqlCommand("SELECT n, description FROM mb_desc WHERE name='" + Name + "' ORDER BY n;", conn);= command.ExecuteReader();(dr.Read())

{[Name].Mb_desc[(int)dr["n"]] = dr["description"].ToString();

}= new NpgsqlCommand("SELECT n, description, _offset FROM mi_desc WHERE name='" + Name + "' ORDER BY n;", conn);= command.ExecuteReader();(int i = 0; i < 300; i++)

{[Name].Mi_offset.Add(1);[Name].Mi_desc.Add("");

}(dr.Read())

{[Name].Mi_offset[(int)dr["n"]] = ((int)dr["_offset"]);[Name].Mi_desc[(int)dr["n"]] = dr["description"].ToString();

}

}(Exception ex)

{.Show(ex.Message);

}.Close();

}

/// <summary> чтение данных из БД

/// Поток чтения данных из БД

/// </summary>

private void thrSqlRead()

{[] actAlarmsK1 = new bool[300];[] actAlarmsK2 = new bool[300];[] actAlarmsK3 = new bool[300];[] actAlarmsDr = new bool[300];[] actAlarmsTk = new bool[300];[] al = new bool[10];[] mi_values = new int[300];[] float_mi_values = new float[1];(running)

{

{.Open();

#region Чтение данных котел 1command = new NpgsqlCommand("SELECT id, values_mi, values_mb, alarms, name FROM act_values WHERE name='k1'", conn);dr = command.ExecuteReader();(dr.Read())

{= ((bool[])dr["alarms"]);_values = ((int[])dr["values_mi"]);["k1"].Mb = ((bool[])dr["values_mb"]).ToList();["k1"].alarms = ((bool[])dr["alarms"]).ToList();

}_mi_values = new float[mi_values.Length];(int i = 0; i < mi_values.Length; i++)_mi_values[i] = (float)mi_values[i] / variables["k1"].Mi_offset[i];["k1"].Mi = float_mi_values.ToList();.Sleep(100);

#endregion

/*

#region Чтение данных котел 2= new NpgsqlCommand("SELECT id, values_mi, values_mb, alarms, name FROM act_values WHERE name='k2'", conn);= command.ExecuteReader();(dr.Read())

{= ((bool[])dr["alarms"]);_values = ((int[])dr["values_mi"]);

// variables["k3"].Mi = ((int[])dr["values_mi"]).ToList();["k2"].Mb = ((bool[])dr["values_mb"]).ToList();["k2"].alarms = ((bool[])dr["alarms"]).ToList();

}_mi_values = new float[mi_values.Length];(int i = 0; i < mi_values.Length; i++)_mi_values[i] = (float)mi_values[i] / variables["k2"].Mi_offset[i];["k2"].Mi = float_mi_values.ToList();.Sleep(100);

#endregion

#region Чтение данных котел 3= new NpgsqlCommand("SELECT id, values_mi, values_mb, alarms, name FROM act_values WHERE name='k3'", conn);= command.ExecuteReader();(dr.Read())

{= ((bool[])dr["alarms"]);_values = ((int[])dr["values_mi"]);

// variables["k3"].Mi = ((int[])dr["values_mi"]).ToList();["k3"].Mb = ((bool[])dr["values_mb"]).ToList();["k3"].alarms = ((bool[])dr["alarms"]).ToList();

}_mi_values = new float[mi_values.Length];(int i = 0; i < mi_values.Length; i++)_mi_values[i] = (float)mi_values[i] / variables["k3"].Mi_offset[i];["k3"].Mi = float_mi_values.ToList();.Sleep(100);

#endregion

#region Чтение данных деаэратор= new NpgsqlCommand("SELECT id, values_mi, values_mb, alarms, name FROM act_values WHERE name='dr'", conn);= command.ExecuteReader();(dr.Read())

{= ((bool[])dr["alarms"]);_values = ((int[])dr["values_mi"]);

// variables["dr"].Mi = ((int[])dr["values_mi"]).ToList();["dr"].Mb = ((bool[])dr["values_mb"]).ToList();["dr"].alarms = ((bool[])dr["alarms"]).ToList();

}_mi_values = new float[mi_values.Length];(int i = 0; i < mi_values.Length; i++)_mi_values[i] = (float)mi_values[i] / variables["dr"].Mi_offset[i];["dr"].Mi = float_mi_values.ToList();

Thread.Sleep(100);

#endregion

#region Чтение данных тепловой контур

command = new NpgsqlCommand("SELECT id, values_mi, values_mb, alarms, name FROM act_values WHERE name='tk'", conn);= command.ExecuteReader();(dr.Read())

{= ((bool[])dr["alarms"]);_values = ((int[])dr["values_mi"]);

// variables["tk"].Mi = ((int[])dr["values_mi"]).ToList();["tk"].Mb = ((bool[])dr["values_mb"]).ToList();["tk"].alarms = ((bool[])dr["alarms"]).ToList();

}_mi_values = new float[mi_values.Length];(int i = 0; i < mi_values.Length; i++)_mi_values[i] = (float)mi_values[i] / variables["tk"].Mi_offset[i];["tk"].Mi = float_mi_values.ToList();.Sleep(100);

#endregion

*/

#region составление списка текущих аварий

// если список аварий изменился - то обновить

if (!actAlarmsK1.SequenceEqual(oldAlarmsK1))

{

_AlarmsCollection.Clear();= actAlarmsK1;(int i = 0; i < actAlarmsK1.Length; i++)

{(actAlarmsK1[i]) _AlarmsCollection.Add(alarmsDescription["k1"][i]);

}(actAlarmsK1.Contains(true) )= true;playAlarm = false;

}(variables["k1"].alarms.Contains(true) ) al[0] = true;al[0] = false;

["al"].alarms = al.ToList();

#endregion

}(Exception ex)

{.Show(ex.ToString(), "Ошибка чтения данных из БД");.Sleep(1000);

}

{.Close();

}

}

}MainWindow()

{();

}void button6_Click(object sender, RoutedEventArgs e)

{= false;

/*connx = new NpgsqlConnection("Server=192.168.1.144;Port=5432;User Id=postgres;Password=57Jrtg63;Database=otradnoe;");.Open();command;(int i = 0; i < 300; i++)

{= new NpgsqlCommand("INSERT INTO mi_desc(n, decription, \"offset\", name) VALUES ("+i.ToString()+" , 'Тепловой контур переменная mi "+i.ToString()+"', 10, 'tk');", connx);

// try

{dr = command.ExecuteNonQuery();

}

}.Close();

*/

// _AlarmsCollection.Add(new alarms { alarmSender = "Vasia", alarmDescripton = DateTime.Now.ToString() });

}

/// <summary> Вызов архивных графиков

/// Вызов wpf chart

/// </summary>

/// <param name="sender"></param>

/// <param name="e"></param>void border37_MouseLeftButtonDown(object sender, MouseButtonEventArgs e)

{wind_OK = true;btn = sender as Border;(Window control in this.OwnedWindows)

{b = control as wpfToolkitChart;

(b != null)

{(b.WindowState == System.Windows.WindowState.Minimized) b.WindowState = System.Windows.WindowState.Normal;(!b.checkSeries(btn.Tag.ToString()))

{.addSeries(btn.Tag.ToString(), "hell");.changeData();

}_OK = false;

}

}(wind_OK)

{wpGr = new wpfToolkitChart();(System.Windows.Forms.Screen.AllScreens.Length > 1)

{.Drawing.Rectangle scr = System.Windows.Forms.Screen.AllScreens[1].WorkingArea;.Left = scr.Left;.Top = scr.Top;.Height = scr.Height / 2;.Width = scr.Width;

}

{.Left = this.Left;.Top = this.Top;.Height = this.Height / 2;.Width = this.Width;

}.Owner = this;.Show();.addSeries(btn.Tag.ToString(), "hello");

}

/*wpGr = new wpfToolkitChart();

.Owner = this;

wpGr.Show();

*/

}

//Закрытие программы останавливаем все потоки

private void Window_Closing(object sender, CancelEventArgs e)

{= false;.Join();

}

/// <summary>

/// Вызов журнала аварий

/// </summary>

/// <param name="sender"></param>

/// <param name="e"></param>void button2_Click(object sender, RoutedEventArgs e)

{wind_OK = true;btn = sender as Border;(Window control in this.OwnedWindows)

{b = control as journal;(b != null)

{(b.WindowState == System.Windows.WindowState.Minimized) b.WindowState = System.Windows.WindowState.Normal;_OK = false;

}

}(wind_OK)

{wpGr = new journal();(System.Windows.Forms.Screen.AllScreens.Length > 1)

{.Drawing.Rectangle scr = System.Windows.Forms.Screen.AllScreens[1].WorkingArea;.Left = scr.Left;.Top = scr.Top;.Height = scr.Height / 2;.Width = scr.Width;

}

{.Left = this.Left;.Top = this.Top;.Height = this.Height / 2;.Width = this.Width;

}.Owner = this;.Show();

}

}

void Window_Loaded(object sender, RoutedEventArgs e)

{.Add("mainAlarm", new showAlarms());.Add("k1", new points());.Add("al", new points());("k1");= new Thread(new ThreadStart(thrSqlRead));

thr1.Name = "sqlRead";

// Запуск нового потока.

for (int i = 0; i < 1000; i++)

{ActMi.Add(0);

}.Start();

_timer = new DispatcherTimer();

_timer.Interval = TimeSpan.FromMilliseconds(1000);

_timer.Tick += new EventHandler(dispatcherTimer_Tick);

_timer.Start();["k1"].MbSave.Add(false);.DataContext = variables;.DataContext = this;.MediaEnded += new RoutedEventHandler(m_MediaEnded);.Position = TimeSpan.FromSeconds(0);

// media.Play();

//Загрузка контролов из внешних файлов

{.Content = externalLoad("controls\\boiler1.xaml");

}(Exception ex)

{.IO.File.AppendAllText("client.log", DateTime.Now.ToString() + "\t : ошибка загрузки boiler_1.xaml - \t " + ex.Message.ToString() + " \r\n");

}

}

/// <summary>

/// Загрузка контролов из внешних файлов

/// </summary>

/// <param name="path">Путь к файлу</param>

/// <returns></returns>DependencyObject externalLoad(string path)

{

// Get the XAML content from an external file.rootElement;(FileStream fs = new FileStream(path, FileMode.Open))

{= (DependencyObject)XamlReader.Load(fs);

//rootElement = (DependencyObject)XamlReader.Load(fs);

}frameworkElement = (FrameworkElement)rootElement;gr = (Grid)frameworkElement.FindName("mGrid");

(Object brd in gr.Children)

{br = brd as Border;(br != null) br.MouseLeftButtonDown += new MouseButtonEventHandler(border37_MouseLeftButtonDown); ;

}rootElement;

}void button3_MouseDown(object sender, MouseButtonEventArgs e)

{.Show("open");

//variables["k1"].MbSave[0] = true;

}void button3_MouseUp(object sender, MouseButtonEventArgs e)

{.Show("close");

}

//Вызов окна управления void button3_Click(object sender, RoutedEventArgs e)

{wind_OK = true;btn = sender as Border;(Window control in this.OwnedWindows)

{b = control as upravlenie;(b != null)

{(b.WindowState == System.Windows.WindowState.Minimized) b.WindowState = System.Windows.WindowState.Normal;_OK = false;

}

}(wind_OK)

{wpGr = new upravlenie(variables["k1"].Mi[36],variables["k1"].Mi[37]);(System.Windows.Forms.Screen.AllScreens.Length > 1)

{.Drawing.Rectangle scr = System.Windows.Forms.Screen.AllScreens[1].WorkingArea;.Left = scr.Left;.Top = scr.Top;

}

{.Left = this.Left;.Top = this.Top;.sPercentsValue.Value = Convert.ToDecimal(variables["k1"].Mi[36]);.sTempValue.Value = Convert.ToDecimal(variables["k1"].Mi[37]);

}.Owner = this;.Show();

}

}void button5_Click(object sender, RoutedEventArgs e)

{

//Загрузка контролов из внешних файлов

{.Content = externalLoad("controls\\boiler2d.xaml");

}(Exception ex)

{.IO.File.AppendAllText("client.log", DateTime.Now.ToString() + "\t : ошибка загрузки boiler2d.xaml - \t " + ex.Message.ToString() + " \r\n");

}

}void button4_Click(object sender, RoutedEventArgs e)

{

//Загрузка контролов из внешних файлов

{.Content = externalLoad("controls\\boiler1.xaml");

}(Exception ex)

{.IO.File.AppendAllText("client.log", DateTime.Now.ToString() + "\t : ошибка загрузки boiler_1.xaml - \t " + ex.Message.ToString() + " \r\n");

}

}

}

}

Похожие работы на - Разработка, реализация и внедрение системы диспетчерского контроля состояния котельной

 

Не нашли материал для своей работы?
Поможем написать уникальную работу
Без плагиата!
Без нейросетей!