Разработка вычислительной системы на типовых компонентах

  • Вид работы:
    Курсовая работа (т)
  • Предмет:
    Информационное обеспечение, программирование
  • Язык:
    Русский
    ,
    Формат файла:
    MS Word
    1,12 Мб
  • Опубликовано:
    2015-07-05
Вы можете узнать стоимость помощи в написании студенческой работы.
Помощь в написании работы, которую точно примут!

Разработка вычислительной системы на типовых компонентах

Введение

патентный игровой вычислительный серверный привод

Вычислительная техника является важнейшим компонентом процесса вычислений и обработки данных.

Компьютер - устройство или система, способное выполнять заданную, чётко определённую изменяемую последовательность операций. Это чаще всего операции численных расчётов и манипулирования данными, однако сюда относятся и операции ввода-вывода. Описание последовательности операций называется программой. В настоящее время компьютер используется во всех сферах деятельности человека. Основные функциональные элементы компьютера построены с помощью электронных приборов, с использованием современной наиболее развитой технологии обработки сигналов, на базе применения достижений электроники.

Целью данной работы является разработка вычислительной системы на основе компонентов представляемыми различными IT-компаниями для рабочей станции.

Для достижения поставленной цели необходимо выполнить следующиезадачи:

подробно изучить аппаратное обеспечение и выбрать наиболее подходящий и оптимальный вариантдля решения поставленной задачи;

изучить виды программного обеспечения, выяснить какими наиболее важными свойствами они обладают.


1. Литературный обзор

Основой компьютеров будущего станут не кремниевые транзисторы, где передача информации осуществляется электронами, а оптические системы. Носителем информации станут фотоны, так как они легче и быстрее электронов. В результате компьютер станет более дешевым и в пять раз мощнее компактных. Но самое главное, что оптоэлектронное исчисление гораздо быстрее, чем то, что применяется сегодня, поэтому компьютер будет намного производительнее.

ПК будет меньше по размерам и иметь мощь современных суперкомпьютеров. ПК станет хранилищем информации, охватывающей все аспекты нашей повседневной жизни, он не будет привязан к электрическим сетям. Этот ПК будет защищен от воров благодаря биометрическому сканеру, который будет узнавать своего владельца по отпечатку пальца

Основным способом общения с компьютером будет голосовой. Настольный компьютер превратится в СТОЛ, вернее, последний превратится в гигантский компьютерный экран - интерактивный фотонный дисплей. Клавиатура не понадобится, так как все действия можно будет совершить прикосновением пальца. Но для тех, кто предпочитает клавиатуру, в любой момент на экране может быть создана виртуальная клавиатура и удалена тогда, когда в ней не будет нужды.

Компьютер станет операционной системой дома, и дом начнет реагировать на потребности хозяина, будет знать его предпочтения (приготовить кофе в 7 часов, запустить любимую музыку, записать нужную телепередачу, отрегулировать температуру и влажность)

Жесткий диск будет голографическим и будет походить на CD-ROM или DVD. То есть это будет прозрачная вращающаяся пластинка с записывающим лазером с одной стороны и считывающим лазером с другой; объем хранимой информации на таком диске будет достигать просто астрономических величин - несколько терабайт. При таких объемах можно будет хранить каждую мельчайшую деталь жизни.

Процессор ПК будущего будет функционировать по тем же принципам, что и сегодня. Но вместо электронных микропроцессоров, которые являются и мозгом, и мускулами современного компьютера, процессор будущего будет иметь опто-электронные интегральные схемы (чипы будут использовать кремний там, где требуется переключение, и оптику для коммуникаций). Это даст огромный прирост в быстродействии и эффективности. Сегодняшний компьютер тратит слишком много времени на ожидание данных для обработки. Мгновенная оптическая связь и память, работающая так же быстро, как и процессор, обеспечат непрерывный поток данных процессору для обработки. При передаче данных со скоростью, не ограниченной больше электронной передачей, можно будет достигнуть частот порядка 100 ГГц, то есть в 100 раз быстрее, чем сегодня.

Процессор будущего может быть шестигранником, окруженным со всех сторон быстрым кэшем так, чтобы требуемые данные могли быть выбраны из ближайшей части кэша. Именно таким образом и будет достигнута производительность сегодняшних супер-ЭВМ.

При применении оптической связи в компьютерных технологиях будет получен тот самый эффект, который наблюдали в 1980 г., когда компьютеры на базе 80286 имели память, работающую на частоте процессора. Скорость шины памяти - та скорость, с которой происходит обмен данными между процессором и памятью, - была равна частоте процессора (всего 8 МГц). Процессор получал данные так же быстро, как мог их обработать, в результате процессор меньше находился в режиме ожидания данных.

Средний компьютер сегодня имеет процессор 1000 МГц и шину 133 МГц. Несмотря на различные технологические подвиги, процессор все еще тратит две трети времени на ожидание данных.

Оптоэлектроника решит эту проблему. Придолжным образом разработанной шине оптической памяти скорость выборки данных из памяти будет снова приравнена к частоте процессора.

Конечно, это потребует более быстрой обработки данных в памяти и, соответственно, другой, более быстрой, архитектуры памяти, которая, к счастью, уже есть или в скором времени будет. Большой кэш сверхбыстрой энергонезависимой магнитной RAM (память с произвольным доступом) будет содержать данные, срочно требующиеся процессору.

Для нового быстрого кэша придется избавиться от неэффективности сегодняшней синхронной динамической памяти, нуждающейся в постоянном обновлении. Неэффективность кэша сегодня такова, что две трети времени уходит на процессы обновления (таким образом, его реальная производительность в три раза меньше).

Полупроводниковая технология будущего будет основана не на кремниевой памяти, а на магнитной памяти в молекулярном масштабе. Так как мельчайшие элементы будут намагничены для представления нулей и размагничены для представления единиц, информация может быть легко и быстро обновлена простым электрическим сигналом. Весь процесс будет гораздо быстрее того, что мы имеем сегодня, и будет вполне реально удовлетворять требования процессора, работающего на частоте 100 ГГц.

Основная память компьютера будет вполне оптической, фактически голографической. Голографическая память имеет трехмерную природу, и можно эшелонировать любое количество плоскостей памяти в прямоугольное твердое тело. Объем чипа в 256 ГБ легко достижим.

Компьютер будущего будет практически независим от источников электропитания. Одно из самых больших преимуществ фотонных цепей - крайне малое энергопотребление. Небольшая, но длинная, подобная стержню литиевая батарея, изогнутая в тороид и установленная в компьютер, будет функционировать пару недель. А подзарядить ее можно будет так же легко, как сегодня подзарядить сотовый телефон.

Размер экрана не будет играть никакой роли в компьютерах будущего. Он может быль большим, как ваш рабочий стол, или маленьким. Большие варианты компьютерных экранов будут основаны на жидких кристаллах, возбуждаемых фотонным способом, которые будут иметь гораздо более низкое энергопотребление, чем сегодняшние LCD-мониторы. Цвета будут яркими, а изображения - точными (возможны плазменные дисплеи). Фактически сегодняшняя концепция «разрешающей способности» будет в значительно степени атрофирована.

 


2. Патентный обзор

2.1 Условия поиска патентного обзора


Классы МПК, по которым произведен поиск:

)     G06F 15/00 Цифровые компьютеры вообще (конструктивные элементы G06F 1/00 - G06F 13/00); оборудование для обработки данных вообще

Ключевые слова для поиска: процессор, видеокарта, ОЗУ, материнская плата, суперкомпьютер, система охлаждения, система отвода тепла.

База данных, по которым проведен поиск: БД ФГУ ФИПС «Полные тексты российских изобретений».

В таблице 1 приведена информация о найденных патентах.

1 Изобретение относится к вычислительной технике. Технический результат заключается в повышении надежности, отказоустойчивости и сбое устойчивости оперативного запоминающего устройства (ОЗУ).

Ячейка памяти статического ОЗУ содержит три последовательно соединенных КМОП инвертора, включенных между шиной питания и шиной земли; первый проходной ключ, состоящий из двух последовательно соединенных адресных транзисторов, затворы которых соединены с адресной шиной записи и адресной шиной выбора столбца; второй проходной ключ в виде адресного транзистора, затвор которого соединен с адресной шиной считывания; схему подтверждения записанных данных, состоящую из двух параллельно соединенных комплементарных проходных ключей, один из которых соединен с прямым и инверсным входами адресной шины записи, а другой - с прямым и инверсным входами адресной шины выбора столбца; причем вход первого КМОП инвертора соединен через первый проходной ключ с первой разрядной шиной, выход первого КМОП инвертора соединен с входом второго КМОП инвертора; выход второго КМОП инвертора соединен с входом третьего инвертора и через схему подтверждения записанных данных с входом первого КМОП инвертора; выход третьего КМОП инвертора соединен через второй проходной ключ со второй разрядной шиной.

2 Изобретение относится к области вычислительной техники, а именно к области цифровой обработки сигналов. Технический результат - снижение энергопотребления на единицу производительности и повышение производительности процессора. Гетерогенный процессор содержит: универсальный процессор с портом, блок ввода / вывода с портом, контроллер оперативной памяти с портом, блок ускоренного выполнения алгоритмов цифровой обработки сигналов с портом, состоящий из контроллера прямого доступа к памяти, блока памяти программ и блока управления вычислительными секциями, каждая из которых состоит из блока регистрового файла с портами, соединенного с портом блока управления вычислительными секциями, блока локального ОЗУ и блока арифметико-логического устройства, состоящего из блоков входных регистров, блоков выходных регистров, блоков умножителей и блоков сумматоров, установленных в количестве, достаточном для выполнения операции B±C×D каждый такт, где B, C и D - комплексные числа, действительные и мнимые, части которых являются 32-разрядными числами с плавающей запятой, а процессор снабжен блоком буферной памяти с портами.

Рисунок 1 - Гетерогенный процессор

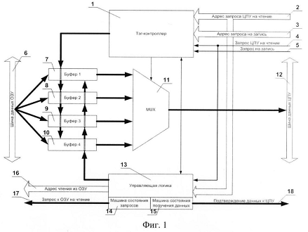
Изобретение относится к вычислительной технике. Технический результат заключается в повышении производительности подсистемы памяти, заключающейся в уменьшении задержек получения запрошенных ЦПУ данных, повышении гибкости применения и увеличении пропускной способности шины данных ОЗУ. Устройство буферизации потоков данных, пересылаемых между двумя интерфейсами, представляющими собой шины данных ОЗУ и ЦПУ соответственно, содержащее буфер, выполненный на памяти или регистрах и накапливающий данные для их передачи по запросу со второго интерфейса без обращения за ними в первый, причем устройство содержит дополнительные буферы, тэг-контроллер и выходной мультиплексор, причем тэг-контроллер связан с мультиплексором, буфером, выполненным на памяти или регистрах, и дополнительными буферами для отслеживания актуальности хранящихся в них данных, а входы буферов устройства подключены к ОЗУ.

Рисунок 2 - Устройство буферизации потоков данных


Таблица 1 - Информация о патентах

№ патента

Название изобретения

Авторы

Патентообладатель/ Заявитель(и)

Год приоритета

1

Патент на изобретение №2507611

Ячейка памяти статического оперативного запоминающего устройства

Фёдоров Роман Александрович (RU), Малашевич Наталья Иосифовна (RU)

федеральное государственное бюджетное учреждение «Научно-производственный комплекс «Технологический центр «МИЭТ» (RU)

2014

2

Полезная модель № 2513759 2279708 

Гетерогенный процессор

Осипенко Павел Николаевич (RU), Новожилов Евгений Авенирович (RU), Кушниренко Анатолий Георгиевич (RU), Райко Глеб Олегович (RU)

Федеральное государственное бюджетное учреждение науки Российской академии наук Научно-исследовательский институт системных исследований РАН (НИИСИ РАН) (RU)

2014

3

Патент на изобретение № 2475817

Устройство буферизации потоков данных, считываемых из ОЗУ

Аряшев Сергей Иванович (RU), Корниленко Александр Владимирович (RU), Николина Наталья Владимировна (RU)

Учреждение Российской академии наук Научно-исследовательский институт системных исследований РАН (НИИСИ РАН) (RU)

2013



3. Компоненты вычислительной системы

 

.1 Рабочая станция и факторы выбора


При выборе вычислительной системы (ВС) важно определить, для решения каких задач она предназначена. В соответствии с этим выбором в дальнейшем осуществим поиск компонентов ВС.

В данной курсовой работе выполним подбор компонентов и сборку рабочей станции.

Существуют достаточно устойчивые признаки конфигураций рабочих станций, предназначенных для осуществления определённого круга задач, что позволяет подразделить их на отдельные профессиональные подклассы:

мультимедиа, компьютерная графика, обработка изображений, видео, звука, разработка компьютерных игр;

различные инженерные, архитектурные (в том числе градостроительные) и иные САПР, ГИС, полевая работа и геодезия:

научные и инженерно-технические вычисления.;

Каждый такой подкласс может иметь присущие ему особенности и уникальные компоненты: большой размер видеомонитора (главного видеомонитора) и / или несколько мониторов, быстродействующая видеокарта, большой объём накопителей данных и прочее.

Рабочая станция(платформа) может быть как запредельно дорогой так и вполне дешевой. Во всех рабочих станциях (за редким исключением) используется оперативная память с кодом коррекции ошибок (ECC), которая стоит заметно дороже обычной «оперативки» того же форм-фактора. Принципиальное отличие между ними заключается в том, что «обычная» компьютерная DRAM может выявлять ошибки, вызванные различными объёктивными и субъективными факторами, но не может их исправлять, а поскольку для важных расчётов такое поведение недопустимо, в микросхемы ECC добавлен модуль выявления и исправления ошибок.

Номенклатура видов компьютеров в настоящее время огромна: машины различаются по назначению, мощности, размерам, используемой элементной базе, совместимости, устойчивости по отношению к воздействию неблагоприятных условий и т.д. Для наших целей наиболее интересно сгруппировать компьютеры по производительности, габаритным характеристикам (размеры, вес) и по назначению. Заметим сразу, что классификация в известной мере условна, так как границы между группами размыты и очень подвижны во времени: развитие этой отрасли науки и техники столь стремительно, что, например, сегодняшние микро-компьютеры не уступают по мощности мини-компьютерам пятилетней давности.

3.2 Платформа для рабочей станции


В таблице 2 приведены виды платформ для рабочей станции типа Silverstone Fortress.

Рисунок 3 - Платформа Silverstone Fortress

Таблица 2 - Виды платформ типа Silver

Наименование

Описание

Цена, руб.

SilverStone Frtress FT02B-W USB 3.0

Без блока питания. Отсек 5,25» - 5, внутренний отсек 3,5» - 5, внутренний отсек 2,5» - 1. Кнопки: Power, Reset. Индикаторы: Power, HDD. Слоты расширения: 7, тип видеокарт - до 309 мм. Тип материнских плат: SSI CEB, ATX, mATX. На верхней панели порты: USB 3.0 и аудио. Система охлаждения: три нагнетающих вентилятора 180 мм снизу, один вытяжной вентилятор 120 мм сверху. Дополнительно: ориентация системной платы повернута на 90°, возможность подключения в «горячем режиме» жесткого диска. Материал: цельная несущая рама из алюминия 4,5 мм, стальной корпус 0,8 мм. Габариты: 212х497х616 мм. Вес нетто: 15.3 кг. Примерный вес брутто 18,70 кг.

73 132

SilverStone CROWN CW03B-MT Black

Без блока питания. Отсек 5,25» - 2, внешний отсек 3,5» - 1, внутренний отсек 3,5» - 6. Кнопки: Power, Reset. Индикаторы: Power, IDE. Слоты расширения: 7. Тип материнских плат: ATX, mATX. Система охлаждения: два вытяжных вентилятора 80 мм на задней панели, два нагнетающих вентилятора 80 мм на нижней панели. Дополнительно: LCD дисплей 7» touch screen, разрешение 1920x1200, видеовход D-Sub VGA, пульт ДУ. Материал: алюминий, опорная конструкция из оцинкованной стали. Габариты: 430х184х436 мм. Вес нетто: 8,0 кг.

33840

SuperMicroSuperServer 8046B-6RF

Без блока питания. Отсек 5,25» - 4, внутренний отсек 3,5» - 9. Кнопки: Power, Reset. Индикаторы: Power, HDD. Слоты расширения: 10. Тип материнских плат: Mini ITX, Micro ITX, ATX, E-ATX, XL-ATX, HPTX. На передней панели порты: 4xUSB 2.0, 2xUSB 3.0, микрофон и аудио. Система охлаждения: 140 мм вентилятор на задней панели, три 120 мм вентилятора на передней панели, три посадочных места для трех 140 мм вентиляторов на верхней панели, четыре посадочных места для 120 мм вентиляторов на боковой панели. Дополнительно: максимальная высота процессорного кулера 195 мм, максимальная длина видеокарты 550 мм, окно на боковой стенке. Материал корпуса: сталь 0.9 мм, пластик, алюминий. Габариты: 252x692x650 мм.

45560

 

.3 Процессор


Модель: i7-4960X. Гнездо процессора: Socket-2011. Ядро: Ivy Bridge-E. Число ядер: 6. Частота ядра: 3.60 ГГц. Технология производства: 22 нм. Кэш L3: 15 МБ. Тепловая мощность: 130 Вт. Комплектность: поставляется в варианте OEM. Примерный вес брутто 0,20 кг. Экстремальные возможности! Максимальная производительность, позволяющая справляться со сложнейшими задачами, современными играми и многое другое.

Рисунок 2 - Процессор типа i7-4960X

Новое семейство i7 включает 5 моделей, некоторые из которых предлагают заметные улучшения по сравнению с предшествующими I. Так, максимальное количество вычислительных ядер увеличено с восьми до двенадцати, а предельный объём L3-кеша вырос с 20 до 30 Мбайт. Помимо этого стала больше и тактовая частота, которая для сегодняшних новинок может достигать 3,5 ГГц в номинале или 4,0 ГГц в турбо-режиме. При этом тепловые пакеты новых i7-4960X стали даже ниже благодаря современному 22-нм производственному процессу и новым энергосберегающим технологиям.

В таблице 3 приведены процессоры для рабочей станции.

Таблица 3 - Виды процессоров

Наименование

Описание

Цена, руб.

Intel Core i7 Extreme 4960X/ 3.60 GHz OEM

Модель: i7-4960X. Гнездо процессора: Socket-2011. Ядро: Ivy Bridge-E. Число ядер: 6. Частота ядра: 3.60 ГГц. Технология производства: 22 нм. Кэш L3: 15 МБ. Тепловая мощность: 130 Вт. Комплектность: поставляется в варианте OEM. Примерный вес брутто 0,20 кг.

38 816

3970X/ 3.50 GHz OEM

Модель: i7-3970X. Гнездо процессора: Socket-2011. Ядро: Sandy Bridge-E. Число ядер: 6. Частота ядра: 3.50 ГГц. Технология производства: 32 нм. Кэш L3: 15 МБ. Напряжение питания ядра: 0.6-1.35 В. Тепловая мощность: 150 Вт. Комплектность: поставляется в варианте OEM.

35 450

Intel i7-3960X

Модель: i7-3960X. Гнездо процессора: Socket-2011. Ядро: Sandy Bridge-E. Число ядер: 6. Частота ядра: 3.30 ГГц. Технология производства: 32 нм. Кэш L3: 15 МБ. Напряжение питания ядра: 0.6-1.35 В. Тепловая мощность: 130 Вт. Комплектность: поставляется в варианте BOX (без радиатора и вентилятора). Примерный вес брутто 0,40 кг.

45 659


3.4 Серверные модули памяти

 

Информация о серверных модулях памяти

CL: CAS Latency, CAS - это количество тактов от момента запроса данных до их считывания с модуля памяти. Одна из важнейших характеристик модуля памяти, определяющая ее быстродействие. Чем меньше значение CL, тем быстрее работает память.

Буферизованная (Registered): наличие на модуле памяти специальных регистров (буфера), которые относительно быстро сохраняют поступившие данные и снижают нагрузку на систему синхронизации, освобождая контроллер памяти. Наличие буфера между контроллером и чипами памяти приводит к образованию дополнительной задержки в один такт при выполнении операций, т.е. более высокая надежность достигается за счет незначительного падения быстродействия. Модули памяти с регистрами имеют высокую стоимость и используются в основном в серверах. Следует иметь в виду, что буферизованная (RDIMM) и небуферизованная (UDIMM) память несовместимы, т.е. не могут одновременно использоваться в одной системе.

Количество контактов (от 144 до 244): количество контактных площадок, расположенных на модуле памяти. Количество контактов в слоте для оперативной памяти на материнской плате должно совпадать с количеством контактов на модуле. Следует также иметь в виду, что помимо одинакового количества контактов должны совпадать и «ключи» (специальные вырезы на модуле, препятствующие неправильной установке).

Поддержка ECC: поддержка ErrorCheckingandCorrection - алгоритма, позволяющего не только выявлять, но и исправлять случайные ошибки (не более одного бита в байте), возникающие в процессе передачи данных. Технологию ECC поддерживают некоторые материнские платы для рабочих станций и практически все серверные. Модули памяти с ECC имеют более высокую стоимость, чем не поддерживающие этот алгоритм.

Объем одного модуля (от 0.03125 до 32.0 Гб): суммарный объем памяти системы рассчитывается путем сложения объемов памяти установленных модулей. Для работы в интернете и офисных программах достаточно 2 Гб. Для комфортной работы графических редакторов и современных игр необходимо минимум 4 Гб оперативной памяти.

Тактовая частота: максимальная частота системного генератора, по которой синхронизируются процессы приема и передачи данных. Для памяти типа DDR, DDR2 и DDR3 указывается удвоенное значение тактовой частоты, т.к. за один такт производится две операции с данными. Чем выше тактовая частота, тем больше операций совершается в единицу времени, что позволяет более стабильно и быстро работать компьютерным играм и другим приложениям. При прочих одинаковых характеристиках память с более высокой тактовой частотой имеет более высокую стоимость.SDRAM - следующее поколение после DDR2 SDRAM, она использует ту же технологию «удвоения частоты». Основные отличия от DDR2 - способность работать на более высокой частоте, и меньшее энергопотребление. В модулях DDR3 используются «ключи» (ориентирующие прорези), отличающиеся от «ключей» DDR2, что делает их несовместимыми со старыми слотами.

В таблице 4 приведены серверные модули памяти для игровой станции.

Таблица 4 - Серверные модули памяти

Наименование

Описание

Цена, руб.

PC12800 8GB Hynix Hynix-1 CL11

Стандарт: 240-контактный модуль памяти SDRAM DDR3 РС12800. Частота: 1600 МГц. Пропускная способность: 12800 МБ/с. CL 11. Напряжение питания: 1.5 В.

6 213

PC12800 8GB Kingston KVR16N11/8 CL11

Стандарт: 240-контактный модуль памяти SDRAM DDR3 РС12800. Частота: 1600 МГц. Пропускная способность: 12800 МБ/с. CL 11. Напряжение питания: 1.5 В.

6 333

PC12800 8GB Kingston HyperX 2X4096 KHX1600C9D3P1K2/8G CL9

Стандарт: 240-контактный модуль памяти SDRAM DDR3 РС12800. Частота: 1600 МГц. Пропускная способность: 12800 МБ/с. CL 9-9-9. Напряжение питания: 1.5 В. Поставляется в варианте KIT. Система охлаждения: радиатор.

6866


3.5 Графический видеоускоритель NVIDIA GTX Titan


Благодаря сплаву технологий самого быстрого в мире суперкомпьютера и игровых возможностей архитектуры NVIDIA® Kepler™ графический процессор GeForce® GTX TITAN - это революция в области игровой производительности ПК. Видеокарта GeForce GTX TITAN объединяет в себе экстраординарную мощность, усовершенствованные возможности управления и революционные температурные и акустические характеристики, чтобы представить совершенно новый класс суперпроизводительных видеокарт.

Благодаря точным элементам управления эта принципиально новая технология позволяет геймерам максимально увеличить производительность ПК. Технология GPU Boost 2.0 отслеживает работу видеокарты, еще лучше управляя температурой GPU, повышением тактовой частоты процессора и напряжением, чтобы добиться максимальной производительности GPU. Сглаживание выравнивает зубчатые границы изображения, но может быть очень требовательным к частоте смены кадров. FXAA - это новая технология сглаживания, которая обеспечивает прекрасные плавные линии при минимальном влиянии на производительность. Благодаря GPU на базе архитектуры Kepler ты можешь включить FXAA в сотнях играх через Панель управления NVIDIA.

Второй режим, TXAA, - это внутриигровая опция, которая объединяет сглаживание MSAA, временную фильтрацию и постобработку для еще более высокой четкости изображения.

Ничто не отвлекает так, как дрожание кадров и разрывы изображения. Первое происходит, когда частота смены кадров низкая, второе - когда она слишком высокая. Технология Adaptive V-Sync - прекрасный способ обработки кадров. При высокой частоте смены кадров V-sync включается для устранения разрывов изображения, при низкой - отключается, чтобы свести дрожание до минимума. Это позволяет не отвлекаться, поэтому ты можешь продолжить игру.

Таблица 5 - Графические видеоускорители

Наименование

Описание

Цена, руб.

NVIDIA GeForce GTX Titan 12288M Gigabyte GTX TITAN Z GV-NTITANZD5-12GD-B

Модель: GV-NTITANZD5-12GD-B. Процессор: GeForce GTX Titan Z. Частота ядра: 706 МГц. Частота памяти: 7000 МГц. Разрядность шины памяти: 2x384 бит. Тип памяти: GDDR5. RAMDAC: 400 MГц. Максимальное цифровое разрешение: 4096x2160. Максимальное vga разрешение: 2048x1536. Интерфейс шины: PCI Express 3.0 16x, SLI. Охлаждение: Вентилятор+радиатор. Поддержка API DirectX 11.2, OpenGL 4.4, CUDA, PhysX. Интерфейс: Dual DVI, DisplayPort, HDMI. Поддержка ОС Windows 8/7/Vista.

108 042

NVIDIA GeForce GTX 770 2048M Gigabyte GTX770 GV-N770OC-2GD

Модель: GV-N770OC-2GD. Процессор: GeForce GTX 770. Частота ядра: 1137 МГц. Частота памяти: 7010 МГц. Разрядность шины памяти: 256 бит. Число потоковых ядер процессора: 1536. Тип памяти: GDDR5. RAMDAC: 400 MГц. Интерфейс шины: PCI Express 3.0 16x. Максимальное цифровое разрешение: 2560x1600. Максимальное VGA разрешение: 2048x1536. Охлаждение: радиатор + вентилятор. Поддержка API DirectX 11.1, OpenGL 4.3, 3D Vision, CUDA, PhysX. Интерфейс: 2xDVI, DisplayPort, HDMI. Поддержка ОС Windows 8/7.

121 063

NVIDIA GeForce GTX 780 3072M ASUS GTX780-DC2OC-3GD5

207 049


3.6 SSD накопитель


Твердотельный накопитель (англ. solid-statedrive, SSD) - компьютерное немеханическое запоминающее устройство на основе микросхем памяти. Кроме них, SSD содержит управляющий контроллер.

Недостатки:

главный недостаток NAND SSD - ограниченное количество циклов перезаписи. Обычная (MLC, Multi-levelcell, многоуровневые ячейки памяти) флеш-память позволяет записывать данные примерно 10 000 раз. Более дорогостоящие виды памяти (SLC, Single-levelcell, одноуровневые ячейки памяти) - около 100 000 раз. Для борьбы с неравномерным износом применяются схемы балансирования нагрузки. Контроллер хранит информацию о том, сколько раз какие блоки перезаписывались и при необходимости «меняет их местами». Данный недостаток отсутствует у RAM SSD, а также у относительно новой технологии FRAM, где ресурс хоть и ограничен, но практически недостижим в реальной жизни числом циклов перезаписи (до 40 лет в режиме непрерывного чтения / записи);

подпроблема совместимости SSD накопителей с устаревшими и даже многими актуальными версиями ОС семейства MicrosoftWindows, которые не учитывают специфику SSD накопителей и дополнительно изнашивают их. Использование операционными системами механизма свопинга (подкачки) на SSD также, с большой вероятностью, уменьшает срок эксплуатации накопителя;

цена гигабайта SSD-накопителей существенно выше цены гигабайта HDD. К тому же, стоимость SSD прямо пропорциональна их ёмкости, в то время как стоимость традиционных жёстких дисков зависит не только от количества пластин и медленнее растёт при увеличении объёма накопителя;

применение в SSD-накопителях команды TRIM делает невозможным восстановление удалённой информации recovery-утилитами. С другой стороны, это может быть и преимуществом. К примеру: если на диске хранится конфиденциальная информация которую в экстренной ситуации можно быстро удалить без возможности восстановления;

невозможность восстановить информацию при перепаде напряжения. Так как контроллер и носитель информации в SSD находятся на одной плате, то при превышении или перепаде напряжения чаще всего сгорает весь SSD носитель, с безвозвратной гибелью информации. Напротив, в жёстких дисках чаще сгорает только плата контроллера, что делает возможным восстановление информации с приемлемой трудоёмкостью. Вообще, если произошёл аппаратный отказ SSD из-за выхода из строя чипа контроллера или флеш-памяти, это делает процесс восстановления информации практически неосуществимым.

Преимущества:

отсутствие движущихся частей, отсюда:

полное отсутствие шума (уровень шума - 0 дБ);

Высокая механическая стойкость (порядка 1500 g);

стабильность времени считывания файлов вне зависимости от их расположения или фрагментации; более того, секторы, идущие подряд с точки зрения операционной системы, из-за выравнивания износа (wearleveling) будут расположены в случайном порядке;

высокая скорость чтения / записи, нередко превосходящая пропускную способность интерфейса жёсткого диска (SAS/SATA II 3 Gb/s, SAS/SATA III 6,5Gb/s, SCSI, FibreChannel и т.д.) и ещё более высокая скорость нелинейного чтения / записи относительно недорогих распространенных жёстких дисков. Но, отметим, что некоторые жёсткие диски по скорости случайной и последовательной записи намного быстрее SSD;

IOPS выше в десятки тысяч раз, чем у жёсткого диска;

низкое энергопотребление;

широкий диапазон рабочих температур;

большой модернизационный потенциал, как у самих накопителей, так и у технологий их производства;

отсутствие магнитных дисков, отсюда:

намного меньшая чувствительность к внешним электромагнитным полям;

В таблице 6 приведены твердотельные накопители для рабочей станции.

Таблица 6 - Твердотельные накопители

Наименование

Описание

Цена

SSD 2.5» SATA 240GB Intel 530 SSDSC2BW240A4K5

Энергонезависимое устройство хранения цифровых данных. Формат носителя: SolidStateDisk. Скорость передачи данных: чтение до 540 МБ/с, запись до 490 МБ/с. Пропускная способность интерфейса: 6 Гбит/с. Интерфейс: SATAIII. Форм-фактор: 2.5». Вес: 78 г.

7 706

SSD 2.5» SATA 480GBIntel 520 SSDSC2CW480A310

Энергонезависимое устройство хранения цифровых данных. Формат носителя: SolidStateDisk. Скорость передачи данных: чтение до 550 МБ/с, запись до 520 МБ/с. Пропускная способность интерфейса: 6 Гбит/с. Интерфейс: SATAIII. Форм-фактор: 2.5». Вес: 78 г

17 623

SSD 2.5» SATA 256GB Plextor PX-256M5S

Энергонезависимое устройство хранения цифровых данных. Формат носителя: SolidStateDisk. Буфер: 512 МБ. Скорость передачи данных: чтение до 520 МБ/с, запись до 390 МБ/с. Пропускная способность интерфейса: 6 Гбит/с. Интерфейс: SATAIII. Энергопотребление: 2,8Вт. Форм-фактор: 2.5».

6 224


3.7 Оптический привод

rayDisc, BD (англ. blueray - синий луч и disc - диск; написание blu вместо blue - намеренное) - формат оптического носителя, используемый для записи с повышенной плотностью и хранения цифровых данных, включая видео высокой чёткости.

В технологии Blu-ray для чтения и записи используется сине-фиолетовый лазер с длиной волны 405 нм. Обычные DVD и CD используют красный и инфракрасный лазеры с длиной волны 650 нм и 780 нм соответственно (635 нм для DVD-R forAuthoring).Такое уменьшение позволило сузить дорожку вдвое по сравнению с обычным DVD-диском (до 0,32 мкм) и увеличить плотность записи данных. Более короткая длина волны сине-фиолетового лазера позволяет хранить больше информации на 12-сантиметровых дисках того же размера, что и у CD/DVD. Эффективный «размер пятна», на котором лазер может сфокусироваться, ограничен дифракцией и зависит от длины волны света и числовой апертуры линзы, используемой для его фокусировки. Уменьшение длины волны, использование числовой апертуры (0,85, в сравнении с 0,6 для DVD), высококачественной двухлинзовой системы, а также уменьшение толщины защитного слоя в шесть раз (0,1 мм вместо 0,6 мм) предоставило возможность проведения более качественного и корректного течения операций чтения / записи. Это позволило записывать информацию в меньшие точки на диске, а значит, хранить больше информации в физической области диска, а также увеличить скорость считывания до 432 Мбит/с.

Таблица 7 - Оптические приводы

Наименование

Описание

Цена

BD-RW Black ASUS BW-16D1HT OEM

Время доступа BD (SL/DL)/DVD/CD: 180/160/150 мс. Скорость чтения BD-R: 12X, BD-RE: 8X, BD-ROM: 12X, BD-R(DL): 8X, BD-RE(DL): 6X, BD-ROM(DL): 8X, BD-R (TL/QL): 6X, BD-RE(TL): 4X, DVD+R: 16X, DVD-R: 16X, DVD+RW: 12X, DVD-RW: 12X, DVD-ROM: 16X, DVD+R(DL): 12X, DVD-R(DL): 12X, DVD-ROM(DL): 12X, DVD-RAM: 5X, CD-R: 48X, CD-RW: 40X, CD-ROM: 48X. Скорость записи BD-R: 16X, BD-R(DL): 12X, BD-R (TL/QL): 6X, BD-R(LTH): 6X, BD-RE: 2X, BD-RE(DL): 2X, BD-RE(TL): 2X, DVD+R: 16X, DVD-R: 16X, DVD+RW: 8X, DVD-RW: 6X, DVD+R(DL): 8X, DVD-R (DL): 8X, DVD-RAM: 5X, CD-R: 48X, CD-RW: 24X. Диаметры дисков: 12cm/8cm. Дополнительно: поддержка дисков BDXL. Интерфейс: SATA. Габариты: 146x41x170 мм.

3 358

BD-RW Black Pioneer BDR-S09XLT

Время доступа в режиме чтения BD/DVD/CD/: 180/170/160 мс. Скорость чтения: BD-ROM/DVD/CD: 12x/16x/40x. Скорость записи BD-REDL/BD-RE/BD-RDL/BD-R/DVD-RAM/DVD+RW/DVD+RDL/CD-R: 15х/14х/8х/16х/16х/8х/8х/40x. Буфер: 4 МБ. Дополнительно: поддержка дисков BDXL. Интерфейс: SATA. Габариты: 148x42x180 мм. Вес: 740 г.

3 069

BD-DVDRW Black Pioneer BDR-209DBK OEM

Скорость чтения Blu-ray/DVD/CD: 8х/16х/24х. Скорость записи BD-RE DL/BD-RE/ BD-R DL/DVD+R DL/ DVD-R DL/DVD+RW/DVD-RW/DVD+R/DVD-R/CD-RW/CD-R: 2х/2х/14х/8х/8x/8x/6x/16x/16x/24x/40x. Буфер: 4 Мб. Интерфейс: SATA. Габариты: 148x42.3x180 мм. Вес: 740 г. Поставляется в технологической упаковке.

2 964

 

.8 Блок питания


Вторичный источник электропитания, предназначенный для снабжения узлов компьютера электрической энергией постоянного тока, путём преобразования сетевого напряжения до требуемых значений.

В некоторой степени блок питания также:

выполняет функции стабилизации и защиты от незначительных помех питающего напряжения;

участвует в охлаждении компонентов персонального компьютера.


Рисунок 3 - Блок питания 1250W Chieftec GPM-1250C

Таблица 8 - Блоки питания

Наименование

Описание

Цена

1250W Chieftec GPM-1250C

Блок питания с пониженным уровнем шума совместим с Intel, AMD. Мощность блока: 1250 Вт. Стандарт: ATX, Active PFC. Система охлаждения: Fan 140 мм. Габариты: 87x150x200 мм. Примерный вес брутто 3,00 кг.

26 238

1200W Corsair AX1200i

Блок питания с пониженным уровнем шума совместим с Intel, AMD. Мощность блока: 1200 Вт. Стандарт: ATX, Active PFC. Система охлаждения: Ultra quiet fan 140 мм. Габариты: 150х200х86 мм.

35 537

750W Chieftec APS-750CB

Блок питания с пониженным уровнем шума совместим с Intel, AMD. Мощность: 750 Вт. Стандарт: ATX, Active PFC. Вентилятор: 140 мм. Габариты: 155x150x87 мм. Вес брутто: 3,2 кг.

49 089



4. Рабочая станция


Рабочие станции (РС) 21 века демонстрируют высочайшую производительность, еще несколько лет назад считавшуюся недостижимой в таких областях как вычислительная гидродинамика (ВГД), анализ данных, автоматизация проектирования электронных устройств (EDA), наука о материалах, молекулярная динамика, численный анализ, физика, квантовая химия, сейсмическая разведка, вычислительная структурная механика, визуализация и докинг, прогнозирование погодных и климатических явлений. РС используются во всех сферах видеоиндустрии; там, где требуется огромный объём сложных вычислений, обработка большого количества данных в реальном времени.

С помощью видео карты NVIDIA GeForce GTX Titan Black можно работать на огромном 4К мониторе или на нескольких мониторах с разрешением 25 х 15 благодаря высокой скорости вычислений с двойной точностью и 6 ГБ памяти. Или включите технологию 3-way NVIDIA SLI®, чтобы работать на самом экстремальном ПК на планете.Black - это видеокарта высокого класса, созданная для профессионалов которые ищут отличный баланс впечатляющей производительности, элегантного дизайна и революционных технологий. Видеокарта работает быстрее, чем любой другой GPU, также она имеет поддержку дисплеев с технологией NVIDIA G-SYNC™.

Рабочие платформы с такими характеристиками обычно используются только в сфере профессионального моделирования и программирования.

В таблице 9 приведена конфигурация рабочей станции, количество элементов и их стоимость.

Таблица 9 - Конфигурация рабочей станции

Наименование

Количество

Стоимость, руб.

Платформ для игровой станции типа Silverstone Fortress

1

73 132

Процессор типа i7-4960X

1

45 659

Память DDR3 ECC Reg PC12800 16GB Kingston KVR16R11D4/16 CL11

4

99 408

Видеокарта NVIDIA GeForce GTX Titan

1

108 042

SSD накопители SSD 2.5» SATA 240GB Intel 530 SSDSC2BW240A4K5

1

7 706

SSD накопители SSD 2.5» SATA 480GB Intel 520 SSDSC2CW480A310

1

52 869

Дисковод BD-RW Black ASUS BW-16D1HT OEM

1

3 358

Блок питания 1250W Chieftec GPM-1250C

1

49 089




Заключение


Профессиональный высокопроизводительный суперкомпьютер. Построен с использованием шестиядерного 22 нм (ядро Ivyy Bridge-E) процессора Intel Core i7 Extreme 4960X, работающего на частоте - 3.40GHz. Процессор имеет 12МБ кэш третьего уровня и поддерживает 64-разрядные приложения. В основе компьютера - материнская плата с набором микросхем Intel Extreme. Высочайшую производительность в вычислительных задачах обеспечивают: вычислительный процессор NVIDIA GeForce GTX Titan 12288M Gigabyte GTX TITAN Z -12GD-B (2496 ядер CUDA, 5GB GDDR5, пропускная способность памяти 208 ГБит/c, имеющий производительность в 1.17 Тфлоп в операциях с двойной точностью и 3.52 Тфлоп в операциях с одинарной точностью) и 64GB памяти DDR3 с четырехканальной архитектурой и пропускной способностью 12800 MB/sec. Дисковый массив RAID 1 (зеркало) емкостью 3TB гарантирует сохранность данных. Система укомплектована универсальным устройством BD-RW, которое воспроизводит и записывает Blu-Ray, DVD и CD-диски. Встроенная гигабитная сетевая карта позволяет подключать суперкомпьютер в локальную сеть. Оснащен устройством считывания с цифровых карт памяти. На быстродействующий SSD накопитель Intel серии 520 объемом в 180ГБ установлена 64-разрядная операционная система Microsoft Windows 8 Professional.


Литература


1 Ватаманюк, А.И. Собираем компьютер своими руками: Учебное пособие / А.И. Ватаманюк - СПб.: Питер, 2008. - 349 с.

Голицына, Н.В. Информационные системы: Учебное пособие / О.Л. Голицына, Н.В. Максимов, И.И. Попов. - 2-e изд. - М.: Форум: НИЦ ИНФРА-М, 2014. - 448 с

Компьютеры Meijin [Электронный ресурс]. - Режим доступа: http://www.meijin.ru. - (дата обращения: 05.06.2014)

Леонтьев, В.П. Новейшая энциклопедия компьютера: Учебное пособие / В.П. Леонтьев - М.: Олма Медиа Групп, 2011. - 960 с.

Лехин, С.Н. Схемотехника ЭВМ: Учебное пособие / С.Н. Лехин - СПб.: БХВ-Петербург, 2010. - 665 с.

Максимов, Н.В. Архитектура ЭВМ и вычислительные системы: Компьютерная литература / Н.В. Максимов, Т.Л. Партыка, И.И. Попов - 5-е изд., - М.: Форум: НИЦ ИНФРА-М, 2013. - 512 с

Ревич, Ю.В. 1001 совет по обустройству компьютера: Компьютерная литература / Ю.В. Ревич. - СПб.: БХВ-Петербург, 2012. - 384 с.

Свободная энциклопедия [Электронный ресурс]. - Режим доступа: http://ru.wikipedia.org. - (дата обращения: 05.06.2014)

Соломенчук, В.Г. Железо ПК 2010: Компьютерная литература / В.Г. Соломенчук, П.В. Соломенчук - СПб.: БХВ-Петербург, 2010. - 439 с.

Скотт, М. Модернизация и ремонт ПК: Учебное пособие / М. Скотт - 19 изд. - М.: «Вильямс», 2010. - 1072 с.

Степаненко, О.С. Сборка компьютера: Учебное пособие / О.С. Степаненко. - М.: Диалектика, 2009. - 544 с.

Похожие работы на - Разработка вычислительной системы на типовых компонентах

 

Не нашли материал для своей работы?
Поможем написать уникальную работу
Без плагиата!
Без нейросетей!