Измерение прогиба балки в MathCAD
Содержание
Введение
Раздел 1.Теоретическая часть
.1 Система MathCAD
.2 Понятие математической модели и
моделирования
.3 Web-технологии
Раздел 2.Создание математической
модели
.1 Постановка задачи
.2 Математическая модель
.3 Структурный анализ задачи в MathCAD
Заключение
Литература
Приложение А
Приложение Б
Введение
Появление компьютера и его дальнейшее развитие
привело к значительному ускорению производства , автоматизации многих сложных
процессов. Текущий период характерен бурным развитием вычислительной техники; в
частности, мощность парка ЭВМ возрастает на порядки в течение нескольких лет.
Это обстоятельство сопровождается усиленным применением ЭВМ и численных методов
для решения резко расширяющегося круга задач. В результате происходит быстрое изменение
взглядов на весь комплекс вопросов, связанных с применением ЭВМ, и требований к
численным методам решения задач. Эффект от применения ЭВМ и численных методов
достигается как в результате решения отдельных трудных задач, так и за счёт
расширения круга пользователей ЭВМ путём предоставления им больших удобств. Для
последней цели важно составление стандартных программ решения типичных
математических задач.
Эффективным является использование ЭВМ при
выполнении проектных расчетов и при вычерчивании проектной документации. При
этом уменьшается количество требуемых документов, упрощается их форма,
ускоряется процесс размножения документов. Передача рутинных, утомительных
работ для выполнения на ЭВМ в процессе проектирования снижает возможность
появления субъективных ошибок, вызванных невнимательностью или утомлением
конструктора. При необходимости на ЭВМ можно несколько раз повторить расчеты
или другие действия с целью проверки полученных результатов. В конечном счете
все это должно приводить к уменьшению материальных затрат и снижению
трудоемкости проектирования.
Вычислительная мощь компьютера позволяет
использовать его как средство автоматизации научной работы. Для решения сложных
расчётных задач используют программы, написанные специально. В то же время, в научной
работе встречается широкий спектр задач ограниченной сложности, для решения
которых можно использовать универсальные средства.
К такого рода задачам относятся, например,
следующие:
Подготовка научно-технических документов,
содержащих текст и формулы, записанные в привычной для специалистов форме;
Вычисление результатов математических операций,
в которых участвуют числовые константы, переменные и размерные физические
величины;
Операции с векторами и матрицами;
Решение уравнений и систем уравнений (неравенств);
Статистические расчёты и анализ данных;
Построение двумерных и трёхмерных графиков;
Тождественные преобразования выражений (в том
числе упрощение), аналитическое решение уравнений и систем;
Дифференцирование и интегрирование,
аналитическое и численное;
Решение дифференциальных уравнений;
Проведение серий расчётов с разными значениями
начальных условий и других параметров.
К универсальным программам, пригодным для
решения таких задач, относятся, например, программа MathCad.
Это автоматизированная система, позволяющая динамически обрабатывать данные в
числовом и аналитическом (формульном) виде. Программа MathCad
сочетает в себе возможности проведения расчётов и подготовки форматированных
научных и технических документов.
Научно-технические документы обычно содержат
формулы, результаты расчётов в виде таблиц данных или графиков, текстовые
комментарии или описания, другие иллюстрации. В программе MathCad
им соответствуют два вида объектов: формулы и текстовые блоки. Формулы
вычисляются с использованием числовых констант, переменных, функций
(стандартных и определенных пользователем), а также общепринятых обозначений
математических операций. Введенные в документ MathCad
формулы автоматически приводятся к стандартной научно-технической форме записи.
Графики, которые автоматически строятся на основе результатов расчётов, также
рассматриваются как формулы. Комментарии, описания и иллюстрации размещается в
текстовых блоках, которые игнорируются при проведении расчётов.
Раздел 1: Теоретическая часть
.1 Понятие математической модели и моделирования
Математическое моделирование основано на том
факте, что различные изучаемые явления могут иметь одинаковое математическое
описание. Хорошо известным примером служит описание одними и теми же
уравнениями электрического колебательного контура и пружинного маятника.
Математическая модель концентрирует в себе записанную в форме мате
математических соотношений совокупность наших знаний, представлений и гипотез о
соответствующем объекте или явлении (с.7). Поскольку знания эти никогда не
бывают абсолютными, а в гипотезах иногда намеренно не учитывают некоторые
эффекты (например, влияние силы трения в механике, потери на тепло в
электротехнике и т. п.), модель лишь приближенно описывает поведение реальной
системы.
Основное назначение модели - сделать возможными
некоторые выводы о поведении реальной системы [ с.8]. Наблюдения над реальной
системой (натурные эксперименты) в лучшем случае могут дать материал лишь для
проверки той или иной гипотезы, той или иной модели, поскольку они представляют
собой источник информации ограниченного объема о прошлом этой системы. Модель
допускает значительно более широкие исследования, результаты которых дают нам
информацию для прогнозирования поведения системы, характера ее траектории.
Правда, чтобы обеспечить эти и другие возможности, приходится решать проблему
соответствия (адекватности) модели и системы, т. е. проводить дополнительное
исследование согласованности результатов моделирования с реальной ситуацией.
Математические модели строят на основе законов и
закономерностей, выявленных фундаментальными науками: физикой, химией,
экономикой, биологией и т. д. В конечном счете, ту или иную математическую
модель выбирают на основе критерия практики, понимаемого в широком смысле.
.2 Общие сведения о системе MathCad
MATHCAD -
универсальный математический пакет, предназначенный для выполнения инженерных и
научных расчетов. Основное преимущество пакета - естественный математический
язык, на котором формируются решаемые задачи.
Объединение текстового редактора с возможностью
использования общепринятого математического языка позволяет пользователю
получить готовый итоговый документ. Пакет обладает широкими графическими
возможностями, расширяемыми от версии к версии. Практическое применение пакета
существенно повышает эффективность интеллектуального труда.
От других продуктов аналогичного назначения,
например, Maple & Theorist (компании
Waterloo Maple Software) и
Mathematica (компании
Wolf Research), MATHCAD (компании Mathsoft)
отличается ориентация на создание высококачественных документов (докладов,
отчетов, статей) в режиме WYSIWYG (What You
See Is What You Get). Это означает, что, внося изменения,
пользователь немедленно видит их результаты и в любой момент может распечатать
документ во всем блеске. Работа с пакетом за экраном компьютера практически
совпадает с работой на бумаге с одной лишь разницей - она более эффективна.
Преимущества MATHCAD состоит в том, что он не только позволяет провести
необходимые расчеты, но и оформить свою работу с помощью графиков, рисунков,
таблиц и математических формул. А эта часть работы является наиболее рутинной и
малотворческой, к тому же она и времяемкая и малоприятная.
Первая версия пакета MATHCAD появилась в 1986г.,
вторая (2.01) - в 1987г. Пакет постоянно совершенствуется. В настоящее время
существуют версии MATHCAD, работающие под Windows. В августе 1995г. вышла
последняя, известная на сегодняшний день, шестая 32-битная версия MATHCAD`a под
Windows. Вышла она в двух вариантах: MATHCAD 6.0 SE (Standard Edition) и версия
для профессионального пользователя - MATHCAD PLUS 6.0.
Интерфейс MathCad
Интерфейс более дружествен, по сравнению с
Mathematica или Maple.
Текст, формулы и графики можно свободно
сочетать, передвигая их как выделенные штриховой рамкой объекты, и помещать их
в произвольной точки экрана; при изменении хотя бы в одном из объектов
последовательно пересчитываются все остальные данные.
Все процедуры: возведения в степень, извлечения
корня, взятия модуля, интеграла, операции присваивания и многие другие вынесены
в пиктограммы. С клавиатуры они набираются интуитивно понятным способом.
Рассмотрим на примере некоторые из них, они
понятны любому, кто хоть чуть-чуть знаком с математикой, не говоря уже об
инженерах.
Возможности работы с текстом. В MATHCAD`e можно
не только совмещать текст и формулы, но и устанавливать метки табуляции,
центрировать и выравнивать напечатанное, а также для наглядности выделять
фрагменты текста и проверять орфографию. Также можно экспортировать содержимое
рабочей области в Word в формате RTF.
В версии 6.0 есть так называемые QuickSheets -
интерактивные средства автоматизации выбранных пользователем операций им в
соответствие «горячих» клавиш. QuickSheets является полноценным рабочим
пространством с собственными функциональными возможностями.
Также в версии 6.0 появилась анимация; описанные
с помощью формул изображения какого-либо объекта могут быть представлены в
динамике в отдельном окне. При этом созданный «мультфильм» можно сохранить в
Windows - совместимых AVI - файлах.
В пакете широко используются встроенные функции.
К основным встроенным функциям относятся тригонометрические и обратные,
гиперболические и обратные, экспоненциальные и логарифмические, статистические,
Фурье, Бесселя, комплексных переменных. Всего в MATHCAD версии 6.0 - 222
встроенных функций. Такой широкий набор функций позволяет решать задачи
практически из любой области.
Построение графиков.
Пакет MATHCAD предоставляет широкие графические
возможности. Кроме того, здесь можно использовать чертежи и рисунки, полученные
в других графических системах.
Нажатием буквально одной кнопки можно задать
шаблон для генерации двумерного графика, причем в одних и тех же осях может
быть несколько графиков одновременно. В MATHCAD`e представлены следующие виды
графиков: декартовый (X-Y plot), полярный (Polar plot), поверхности (Surface
plot), карта линий уровня (Contour plot), векторное поле (Vector Field plot),
трехмерный точечный (3D Scatter plot), трехмерная столбчатая диаграмма (3D Bar
Chart). Все графики являются стандартными объектами MATHCAD`a: их можно
редактировать, а при пересчете исходных данных они автоматически
перерисовываются. Кроме того, в средствах ‘объемной’ визуализации данных
существуют возможность композиции задних планов. Существуют большое количество
опций для работы с осями, а также возможность импортировать графические
изображения.
Кроме работы с десятичными числами существуют
возможность работы с восьми - и шестнадцатеричными числами. Так же есть набор
процедур для возможности функционирования не только над числами, векторами или
матрицами, но и над более сложными объектами, таких как деревья, списки или
наборы. При вычислениях в символах, так называемая символьная математика (или
аналитические преобразования), существуют три группы инструментов:
. Команды символьной математики из меню
(Symbolic);
. Режим непрерывных символьных преобразований
(Life Symbolics);
. Оптимизация численных вкладок через символьные
преобразования (Optimize).
Они позволяют вычислять неопределенные
интегралы, интегрировать по переменой, дифференцировать по переменой, упрощать
и разлагать по степеням и на множители выражения, находить полиномиальные
коэффициенты, решать относительно переменой, разлагать в ряд, матричные
преобразования, преобразования Фурье, Лапласа и Z, находить пределы и т.д. Вывод
числового значения возможен с точностью до 4000 знаков.
Но в символьной математике пакета MATHCAD
существует один недостаток.
Она оперирует некоторыми встроенными функциями,
которых в самом пакете MATHCAD нет, либо они там есть, но называются по-другому.
Это объясняется тем, что символьный процессор вместе с некоторыми функциями был
приобретен у фирмы MAPLE. В пакете MAPLE V в вычисления возможны 500000 знаков
(профессиональная версия). Поэтому нередко в MATHCAD`e при символьных
преобразованиях, ответ получается настолько громоздким, что не вмещается в
рамки экрана и по разрешению пользователя заносится в Буфер Обмена Clipboard.
Для удобства статистических расчетов в MATHCAD включены 16 наборов типовых
распределений в MATHCAD PLUS и 7 в базовой версии, которые можно использовать
при анализе, моделировании и проверке статистических гипотез (к примеру, можно
смоделировать развитие эпидемии или финансовой пирамиды).
1.3 Web-технологии
Термин Web-сервер (Web-узел) имеет несколько
трактовок. С одной стороны, это набор документов, связанных гиперссылками (при
этом у Web-сервера имеется основная страница, через которую за один или
несколько шагов доступны все остальные), с другой стороны, термин Web-сервер
может означать компьютер, на котором размещен набор документов, доступный через
локальную или глобальную сеть. Наконец, последнее значение этого термина -
программное обеспечение, предназначенное для доступа к набору документов через
локальную или глобальную сеть. Везде в данной главе, где это особо не оговорено,
мы будем использовать первое значение термина Web-сервер.страница (или страница
Интернет, или документ в формате HTML) - это текстовый документ, содержащий
специальные команды. При открытии Web-страницы в простом текстовом редакторе
(например, "Блокнот" (Notepad)) вы увидите и-менно эти команды.
Однако будучи открытой с помощью программы просмотра Интернета, такой как
Internet Explorer, Mosaic или Netscape, Web-страница может отображать текст,
графику, гиперссылки на другие документы, а также элементы управления. Секрет
состоит в том, что программа просмотра Web-страниц содержит интерпретатор
команд языка HTML, содержащихся в файле Web-страницы.
Язык HTML (Hypertext Markup Language) является
системой разметки документов для их дальнейшей публикации в сети World Wide
Web. Документы, подготовленные в формате HTML, включают рисунки со ссылками и
команды форматирования. Для просмотра этих документов используется средство
просмотра Web-страниц (например, программа Internet Explorer).
Гиперссылка - это текст, выделенный цветом или
подчеркиванием, или графическое изображение, при щелчке по которому
осуществляется переход к файлу, определенному месту в файле, странице HTML в
World Wide Web или странице HTML во внутренней сети (интранет). Гиперссылки
могут также указывать на Gopher, Telnet, группы новостей (newsgroup) и узлы
FTP. При переходе между страницами с помощью гиперссылок создается и
сохраняется хронология просмотра всех страниц. Средства просмотра Web-страниц,
подобные Internet Explorer, имеют на панелях инструментов кнопки перемещения,
которые позволяют двигаться вперед или назад от одной просмотренной страницы к
другой.
В ответ на растущую популярность сети Интернет
корпорация Microsoft быстро разработала удобное и надежное средство навигации
по ресурсам Интернета - Internet Explorer. В последних версиях своей
операционной системы Windows компания Microsoft продвигает это приложение,
предлагая его использовать даже для работы с документами на локальном
компьютере, вместо приложения Проводник, чтобы работа с локальными и удаленными
ресурсами выглядела для пользователя единообразно - с помощью универсального
навигационного приложения.
Раздел 2. Создание математической модели
.1 Постановка задачи

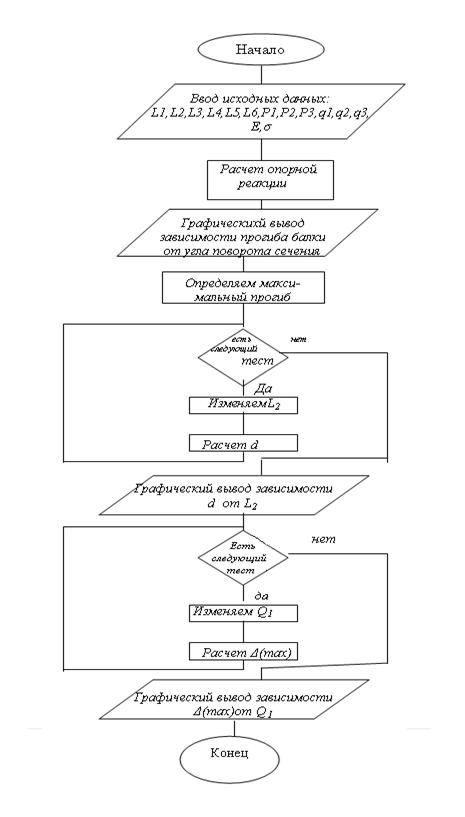
Рассчитываем опорную реакцию:
Исследуем влияние заданных сил и распределенных
нагрузок на изгибающий момент участков:
Строим эпюры поперечной силы Q
и изгибающего момента М:
2.3 Блок схема
Построив эпюры поперечной силы Q
и изгибающего момента M
рассчитываем прочность балки:
Находим экстремальное значение изгибающего
момента c помощью Given
и Minerr.
Определяем размеры сечения балки (осевой момент
сопротивления сечения, минимальный диаметр балки и минимальный момент инерции)
по формулам:
Определяем перемещение балки с помощью интеграла
Мора:
mathcad математический
моделирование символьный
где 1- реакция в точке А от единичной нагрузки
приложенной в точке xx;
2- момент реакции в точке А от единичного момента приложенного в точке xx.
Далее исследуем прогиб балки и угол поворота
сечения:
- прогиб балки
- угол поворота сечения
Строим графики максимального прогиба и угла
поворота сечения:
Изменяя значения L1
исследуем зависимость диаметра балки от L1:
Строим график:
Изменяя длину Q3
исследуем зависимость максимального прогиба балки от Q3:
Строим график:
Зависимость макс. прогиба балки от
Q3
Заключение
Мой курсовой проект состоит из двух
разделов. Первый раздел, в котором были изложены теоретические сведения,
содержит три подраздела о понятие математической модели и моделирования,
системе MathCAD и Web-технологии.
Второй раздел содержит постановку задачи, исходные данные и обобщенную
графическую схему с пояснениями и был произведен анализ полученных результатов.
В процессе выполнения данной
курсовой работы был изучен: принцип математического моделирования, его
особенности и назначения. На практике было рассмотрена реализация
математической модели при помощи системы компьютерной математики MathCAD. В ходе работы
был сделан вывод, что реализация математических моделей при помощи средств
компьютерной математики существенно расширяет возможности инженерного
исследования и конструкторского проектирования.
Компьютерное моделирование
существенно снижает экономические затраты и значительно экономит время, что
безусловно выгодно с точки зрения экономики.
Список использованных источников
1
Токочаков В.И. Решение систем алгебраических уравнений в среде MathCAD”.
М/к 2453. Гомель ГГТУ 2000г.
Дьяконов
В.П. МathCAD 2001- М.:
“Ск Пресс , 2001 г
3
Трохова Т.А. Основные приемы работы в системе MathCAD
версии 6.0. М/к 2286. Гомель ГГТУ 1998г.
4
Бохвалов Н.С. «Численные методы» “Наука” Москва 1973г.
Гусак
А.А. «Элементы методов вычислений» “БГУ им. В.И. Ленина” Минск 1982г
Симонович
С.В. «Информатика» “Питер” Москва 2006г.