Производство звукопоглощающих и звукоизоляционных материалов
Содержание
Введение
1. Технологическая часть
1.1 Характеристика и номенклатура продукции
1.2 Сырьё и полуфабрикаты
.3 Технология производства
1.4 Режим работы цеха и производственная программа
.5 Подбор оборудования и тепловых установок
.6 Контроль производства
2. Техника безопасности, охрана труда и окружающей среды
3. Технико-экономическая часть
Список использованной литературы
Введение
Теплоизоляционные материалы - разновидность строительных материалов,
характеризующихся малой теплопроводностью. Разность температур в средах,
разделенных ограждением, приводит к переходу тепла от нагретой к холодной
среде. Цель теплоизоляции - ограничить количество передаваемого тепла. Любое
ограждение оказывает некоторое сопротивление переходу тепла. Однако для
достижения значительного теплосопротивления необходимо либо делать ограждения
большей толщины, что экономически нецелесообразно, либо применять
теплоизоляционные материалы, позволяющие значительно уменьшить толщину
ограждения.
Малая теплопроводность этих материалов объясняется наличием большого
числа пор, заполненных воздухом, который в неподвижном состоянии является
плохим проводником тепла. Таким образом, отличительная особенность строения
теплоизоляционных материалов - высокая пористость.
Для нашего времени характерно постоянное воздействие шумов высоких
уровней на человека, как на производстве, так и в быту; вместе с тем
индустриальные методы строительства с применением облегченных конструкций
усложняют возможность устранения шума.
Шум вредно действует на организм человека. Степень физиологического
воздействия зависит от интенсивности шума, его частотного диапазона и
длительности действия. Проблема зашиты человека от шума должна решаться
совместно технологами и конструкторами, так как для ее решения необходимо не
только наличие акустических материалов, но и правильное их применение. Создание
акустических материалов, и конструкций требует знания законов распространения
звука.
Акустические материалы и изделия, различаясь по целевому назначению,
должны удовлетворять следующим общим требованиям: обладать достаточной
механической прочностью и долговечностью, сохранять акустические свойства в
течение всего периода эксплуатации, быть несгораемыми или трудносгораемыми, не
выделять токсичных веществ и неприятных запахов быть био- и влагостойкими.
К звукопоглощающим материалам (помимо требований общих для всех
акустических материалов) предъявляются следующие требования: эффективность
поглощения звука в заданном диапазоне частот, декоративность, гигиеничность.
Эффективность поглощения звука, как уже указывалось, характеризуется
коэффициентом поглощения звука. Звукопоглощающие материалы и изделия должны
иметь следующий коэффициент звукопоглощения, намеренный при непосредственном
размещении материала или изделия на жестком основании: в частотной полосе 125 -
500 Гц - не ниже 0,2; в частотной полосе 500 - 2000 Гц - не ниже 0,4; в
частотной полосе 2000 - 8000 Гц - не ниже 0,6.
Основной задачей текущего момента и на перспективу является вовлечение в
сферу производства максимально возможных объемов побочных продуктов других
отраслей и промышленных отходов, образующихся в весьма большом количестве, при
добыче и сжигании углей, выплавке черных и цветных металлов, производстве и
применении стекол, переработке нефти, производстве удобрений, добыче и
переработке руды и нерудных полезных ископаемых и т. п.
Акустические материалы подразделяют на:
а) звукопоглощающие, предназначенные для применения в конструкциях
звукопоглощающих облицовок внутренних поверхностей помещений и для отдельных
звукопоглотителей;
б) звукоизолирующие, предназначенные для применения в качестве прокладок
под плавающими полами и в многослойных ограждающих конструкциях с целью
улучшения изоляции ограждений от ударного и воздушного звуков;
в) вибропоглощающие, предназначенные для ослабления изгибных колебаний,
распространяющихся по жёстким конструкциям (преимущественно тонким) с целью
снижения излучаемого ими звука.
В данном курсовом проекте рассматриваются звукопоглощающие и
звукоизоляционные материалы, так как многие теплоизоляционные материалы
обладают звукопоглощающими, а некоторые и звукоизоляционными свойствами.
Функциональные свойства акустических материалов определяются их
назначением и областью применения. Звукопоглощающие материалы, предназначенные
для гашения воздушных шумов и регулирования акустических характеристик
помещений, должны обладать высокой звукопоглощающей способностью, которую
оценивают по коэффициенту звукопоглощения.
1. Технологическая часть
1.1 Характеристика и номенклатура продукции
1. Плиты должны быть прямоугольной формы. Отклонения от
прямоугольности не должны быть более 0.6 мм.
2. Отклонения от плоскости лицевой поверхности (кривизна) не должно
быть более 0.5 мм.
. Плиты изготавливают с фаской и без фаски.
. Номинальные размеры плит, мм:
длина……………………300, 250
ширина………………….300, 250
толщина……………………….20
. Предельные отклонения номинальных размеров плит не должны
превышать, мм:
по длине и ширине …………±0.4
по толщине…………………..±0.3
по ширине паза……………...±0.2
по глубине паза……………...±1.0
по расстоянию от лицевой грани до верхней поверхности паза для плит:
с фаской……………………...±0.5
без фаски…………………….±0.2
. По физико-механическим показателям плиты должны соответствовать
требованиям, указанным в таблице 1.
Таблица 1- Физико-механическим показателям плиты.
|
Наименование показателей
|
Значение
|
|
Плотность, кг/м3
|
350-450
|
|
Предел прочности при изгибе, МПа, не менее
|
0.9
|
|
Твёрдость, МПа, не менее
|
1.0
|
|
Структурная прочность, %, не более
|
30
|
|
Массовая доля влаги, %, не более
|
1.5
|
|
Массовая доля сорбционной влаги, %, не более
|
4.5
|
7. Плиты в конструкции на жёстком основании по звукопоглощающим
свойствам должны соответствовать классам СВ-21, СВ-22 или СВ-12.
8. Лицевая поверхность плит должна быть равномерно окрашена
полимермеловой краской в белый или другие цвета.
. Не допускается на лицевой поверхности плит наличия пятен от
масел, битума, мазута.
. Фактура лицевой поверхности плит должна быть пористой: мелкой,
средней, крупной. Рисунок фактуры лицевой поверхности может быть трещиноватый,
бороздчатый, рифлёный и др.(рис.1)
2
3
4
Рис.1 Схемы фактур лицевой поверхности плит. 1-борозчатая структура;
2-трещиноватая мелкая; 3-трещиноватая средняя; 4-трещиноватая крупная
11. Фактура, рисунок фактуры и цвет лицевой поверхности плит должны
соответствовать образцам-эталонам.
12. На лицевой поверхности плит не допускаются сколы углов и рёбер, а
также раковины, превышающие размером фактурные. Раковины и фактурные трещины на
рёбрах, прилегающих к лицевой поверхности, не должны быть более 5 мм длиной и
шириной и более 4 мм глубиной.
1.2 Сырьё и полуфабрикаты
Согласно требованиям ТУ 21 БССР 241-89 принимаем следующие компоненты для
производства минераловатных акустических плит:
Минеральная вата. Для производства акустических материалов производится
фильерно-дутьевым способом и должна обладать следующими свойствами: диаметр
волокна 5-7 мк, длина волокон не менее 20мм, модуль кислотности минеральной
ваты 1,6, поверхность волокна должна быть гидрофильной, содержание корольков не
более 5%, плотность ваты 75кг/м3. В минеральной вате для
производства акустических плит содержание гидрофобно-пластифицирующих добавок
должно быть снижено на 50% по отношению к минеральной вате, использующейся при
производстве теплоизоляционных материалов. Выполнение этих требований
обеспечивает получение материалов с высокими акустическими и физико-механическими
свойствами.
Связующие. Должно обладать следующими свойствами: низкий объёмный вес,
высокими прочностными характеристиками, водостойкостью, огнестойкостью. Этим
требованиям отвечает связующие на основе кукурузного крахмала. Наилучшими
свойствами обладают плиты, изготовленные на 4%-ном крахмальном клейстере, они
имеют лучшие показатели звукопоглощения в области средних и высоких частот,
имеют пониженное сопротивление продуванию постоянного потока воздуха, что
благоприятно сказывается на их звукопоглощающих свойствах. Оптимальная
концентрация раствора клеящего вещества, равная 4%, и определён ориентировочный
расход связующего раствора - 300-350%.
Наполнитель. Наполнители не должны понижать вязкость связующего. В
качестве наполнителя используется каолин. Он при введении в раствор повышает
вязкость связующего, превращает его в студнеобразное состояние. Такое поведение
связующего не препятствует пропитке минераловатных гранул. Введение 3-6%
каолина является оптимальным. Снижение количества наполнителя приводит к
уменьшению сопротивления продуванию с некоторым увеличением значений
коэффициентов звукопоглощения.
Добавки. В качестве добавок в связующие вводятся парафин (1-2%) и борная
кислота. Введение парафина повышает водостойкость изделий. Борная кислота
одновременно является антисептиком и антипиреном.
Таблица 2 - Состав сырьевой
смеси
|
Наименование компонентов
|
Содержание, вес/ч
|
Расход компонентов, кг
|
|
|
на 1м2
|
на 1 м3
|
|
Минеральная вата
|
100
|
12…14
|
600…700
|
|
Крахмал
|
12…14
|
1.5…2.0
|
75…100
|
|
Каолин
|
14…20
|
2.0…2.4
|
100…120
|
|
Борная кислота
|
0.5…0.8
|
0.06…0.09
|
3.0…4.5
|
|
Парафин
|
1.6
|
0.18…0.2
|
9.0…10.0
|
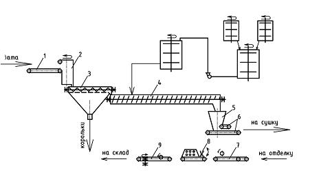
.3 Технология производства
Рис. Технологическая схема производства декоративно-акустических плит
Акмигран: 1- конвейер; 2 - гранулятор; 3 - шнек; 4 - смеситель непрерывного
действия; 5 - бункер гидромассы; 6 - формующие конвейеры; 7 - шлифовальный
станок; 8 - камера окраски и сушки; 9 - калибровочный станок.
Грануляция минеральной ваты осуществляется методом разрыва ваты на клочки
с последующей закаткой в гранулы. При разрыве ваты на клочки используют
вертикальный гранулятор. Гранулятор представляет собой цилиндр с конусообразным
расширением в верхней части. На центральном валу гранулятора расположены ножи и
лопасти для разрыва и закатки минеральной ваты. Гранулятор имеет отверстие для
загрузки минеральной ваты в верхней части и щель для выхода гранул в нижней
части. Получение гранул осуществляется следующим образом: минеральная вата
подается в верхнюю часть корпуса трубного гранулятора, где разрывается на
отдельные куски ножом.
Скребок сбрасывает их в цилиндрическую часть корпуса, где они
перемещаются по спирали вдоль стенок и закатываются в гранулы. Регулирование
степени закатывания гранул осуществляется давлением на нижние гранулы
вышележащими слоями размельченной минеральной ваты, то есть изменением скорости
загрузки и выхода гранул.
При грануляции часть корольков отделяется через частично перфорированные
стенки и дно в сборный бункер для корольков. Гранулированный материал через
щель с регулируемой задвижкой попадает на механическое сито, где происходит
дополнительный отсев корольков.
Грануляция минеральной ваты в вертикальном трубном грануляторе имеет ряд
особенностей, выгодно отличающих этот способ от существующих, в число которых
входят:
1. грануляция ваты с различным диаметром волокна и различной
жёсткостью;
2. получение гранул различной плотности и размеров, что достигается
совместной регулировкой скорости подачи материала и размером выходного
отверстия;
. отсутствие устройство для предварительного распушения или рубки
на куски минерального ковра.
Гранулятор может обрабатывать минеральную вату двух видов - комовую и в
плитах.
Изменение величины и плотности гранул позволяет регулировать
физико-механические и акустические свойства изделий. Использование гранул
обеспечивает получение структуры с двумодальной пористостью: мелкие поры -
внутри минераловатных гранул, крупные поры - между гранулами. Применяют
гранулированную минеральную вату с размерами гранул 5... 12 мм, насыпной
плотностью 100... 150 кг/м3.
Наличие корольков в декоративно-акустических материалах в небольших
количествах допустимо и не приносит вреда, но их чрезмерное количество
утяжеляет изделия, при шлифовке плит портится инструмент и фактурная
поверхность.
Нет необходимости удаления корольков из гранул, а наличие гранул в виде
неокатанных комочков позволяет быстрее и качественнее осуществить их пропитку
связующим.
Исходя из этого в промышленной установке для отсева корольков применено
механическое сито, которое позволяет отделить излишнее количество корольков, сохранив
при этом фракционный состав гранул. Механическое сито устанавливается
непосредственно у выходной щели гранулятора. Оно состоит из металлической рамы
с сеткой(величина ячейки 2.5-3 мм) и привода, встряхивающего сита с частотой до
100 кол/мин.
Приготовление крахмального связующего включает следующие технологические
операции: получение суспензии крахмала в холодной воде; приготовление
крахмально-каолиновой суспензии; варку крахмально-каолинового связующего при
температуре 85... 90°С; последовательное введение добавок, улучшающих
эксплуатационные свойства изделий. Эти добавки вводят в виде эмульсий (парафин)
или растворов (борная кислота) при постоянном перемешивании связующего. Подвод
теплоты осуществляется от электрических нагревателей. Непрерывность процесса и
надежность в работе такого устройства позволяют отказаться от громоздких баков,
предназначенных для периодической заварки крахмала.
Приготовление формовочной массы заключается в насыщении гранул
минеральной ваты связующим раствором. Длительность процесса определяется,
главным образом, тремя факторами: характеристикой гранул, свойствами
связующего, способом перемешивания. Основными требованиями к формовочной массе
является обеспечение после формования и сушки высоких физико-механических и
акустических свойств готовых изделий. Это может быть обеспечено в том случае,
если гранулы равномерно и в достаточных количествах пропитаны связующим
раствором и масса обладает необходимой по условиям формования пластичностью и
удерживает связующее без его отделения. Значительное влияние на выполнение этих
условий оказывают фракционный состав и плотность гранул минеральной ваты,
концентрация связующего и продолжительность перемешивания. Степень насыщения
гранул связующим раствором определяется, прежде всего, временем пребывания
гранул в смесителе. На основании экспериментальных работ было установлено, что
время насыщения гранул (с γнас= 130-150 кг/м3 при
толщине волокна 6-8 мк и условной вязкости связующего раствора 60-80 сек) при
использовании механических смесителей сокращается до 1 мин, а также за счет
концентрации крахмального клейстера. Обычно влажность формовочной массы
колеблется в пределах 230... 250%. Для приготовления формовочной массы
применяют чаще всего лопастные смесители непрерывного действия которые позволяют
регулировать все вышеперечисленные условия.
Для регулирования скорости движения материала предусмотрено не жёсткое
закрепление лопастей на валу, что позволяет устанавливать их под заданным
углом.
Принудительное перемешивание и возможность регулирования времени
пребывания гранул в смесителе обеспечивает получение однородной, и хорошо
пропитанной связующим раствором формовочной массы.
Процесс формования заключается и равномерном распределении массы по
объему формы и получении материала необходимой плотности. Дополнительным
требованием к формованию плит Акмигран является получение трещиноватой
фактурной поверхности на сыром материале. Такую поверхность может обеспечить
устройство состоящие из бункера с подачей и формованием массы системой
ленточных транспортёров. Выбор этого устройства обуславливается его широкими
возможностями регулирования параметров формования: скорость подачи формовочной
массы, разности скоростей формующих транспортёров, величины удельного давления
и его распределения по площади формования. Регулирование подачи массы
осуществляется изменением ширины щели между подающим транспортером 2 и
формующим транспортёром 4, а регулирование плотности формуемого материала
осуществляется изменением зазора между транспортерами 3 и 4 регулировочными винтами.
Они же позволяют изменять величину давления по площади формования, что также
обеспечивает регулирование интенсивности и глубины разрывов на поверхности
изделий.
Сушка заготовок на крахмальном связующем заключается в переводе
коллоидных растворов крахмала в твёрдое состояние с удаление излишнего
количества воды. Сушка происходит в сушильных камерах с конвективным обогревом
материала до остаточной влажности 1%. Длительность сушки в зависимости от
исходной влажности заготовок колеблется в пределах 16-24 часов, максимальная
температура теплоносителя -160-1700С.
Конвективный способ сушки позволяет избежать неприятные явления,
сопровождающие сушку, уменьшить процент брака. К таким явлениям относится
коробление плит при отклонениях от режимов сушки. Также коробление плит можно
устранить при применении поддонов с перфорированным дном и сплошными бортиками.
Диаметр перфорации составляет 5 мм и шаг10 мм. Применение сплошных бортиков
позволяет предотвратить испарение влаги через торцы изделий.
Высушенные заготовки акклиматизируют в цехе в течение 20-24 часов, для
снятия напряжений, возникающих во время сушки.
Основными отделочными операциями являются шлифовка, покраска, получение
фактуры, разрезка заготовок на заданные размеры.
Шлифовка изделий позволяет в допустимых пределах исправить многие дефекты
формования и сушки (неровная укладка массы, искривление, коробление). Наряду с
этим шлифовка придает законченный вид фактурной поверхности изделия,
обеспечивает одинаковую толщину по всей площади плиты и т.д.
Основное требование к шлифовальному станку - обеспечить заданную толщину
изделий с ровной лицевой и тыльной поверхностью. С этой целью была принята
система двухсторонней шлифовки, при которой поступательное движение изделия
позволяет получить калиброванную плиту.
Недостатком является быстрый износ шлифующего материала, что при
дальнейшей работе приводит к отклонениям по толщине изделий. Особенно быстрый
износ наступает при повышенном содержании корольков в изделиях.
После шлифовки происходит обрезка кромок, раскрой заготовок на плиты,
образование монтажного паза, снятие фасок.
Одним ив наиболее сложных отделочных процессов при производстве
декоративно-акустических материалов является покраска. Характер покраски
определяет внешний вид изделия, его акустические свойства, влияет на прочность
и долговечность.
Способ нанесения краски на плиты определяется, глазным образом, видом
фактуры и вязкостью красящею состава. Безвоздушное распыление является наиболее
надежным в работе даже при использовании красок с высокой вязкостью (50-80
сек). При этом большое количество мелких пор остается открытыми.
Работа устройства по безвоздушному распылению сводится к следующему.
Форсунки, расположенные на коромысле, совершают качательные движения в
плоскости, параллельной плите. В результате этого поверхность плиты равномерно
покрывается тонким слоем краски.
Сразу наносится половина краски, изделие подсушивается, затем проводится
вторичная покраска и снова сушка.
Наиболее приемлемым способом сушки плит после окраски является сушка
инфракрасными газовыми горелками, и газовоздушной смесью, с температурой
теплоносителя 90-100°С. В течение 10 мин сушка покрашенных плит заканчивается
полностью.
Плиты упаковываются в ящики из гофрированного картона. Плиты должны быть
уложены плашмя в две стопы. Между плитами прокладывают обёрточную бумагу, между
стопами плит картон. При упаковке плит размерами 250×250×20 и 300×250×20 мм между двумя основными стопами,
уложенными плашмя, дополнительно укладывают стопу плит на ребро.
Программа выпуска продукции цеха по заданию составляет 100 тыс.м2/год.
Фонд рабочего времени линии с плавильным агрегатом (вагранкой)
составляет:
Т= Nдн∙Nсм∙Тсм∙Кв
где Nдн - количество рабочих дней в году;
Nсм
- количество смен
в сутки;
Тсм - продолжительность смены;
Кв - коэффициент использования оборудования по времени,
0,8-0,97.
Т = 260∙2∙8∙0.9 = 3744 ч/год
Результаты расчётов сведены в таблицу 3.
Таблица 3 - Результаты
расчётов.
|
Наименование отделения
|
Рабочих суток в году
|
Рабочих смен в году
|
Длительность смены в часах
|
Коэффициент использования оборудования
|
Годовой фонд работы оборудования, час
|
|
Плиты Акмигран
|
260
|
520
|
8
|
0.9
|
3744
|
Таблица 4 - Программа
выпуска продукции
|
Наименование изделия
|
Единица измерения,
|
Выпуск изделий
|
|
|
в год
|
в сутки
|
в смену
|
в час
|
|
Плиты Акмигран
|
м2
|
100000
|
385
|
192
|
24
|
|
кг
|
800000
|
3077
|
1539
|
192
|
Определим производительность отдельных участков и переделов по формуле:
Пр = Пп·100/(100-Б),
где Пр и Пп - соответственно производительность рассчитываемого и предыдущего
передела или участка;
Б - брак, отходы и потери, % (для производства ТИМ допускается 3%).
Отделение шлифовки плит. Производительность шлифовального станка
принимаем Пп = 24 м2/ч или 192 кг/ч (принято по паспорту
агрегата).
Пр = 24·100 / (100-3) = 24,75 м2/ч
Формование: учтём, что до тепловой обработки формовочная масса увеличена
в 2,3 раза за счёт испарения воды и переведём в кг:
Пр = 455,3∙100/(100-3) = 469 кг/ч
Приготовление связующего:
из условия что: крахмала 4% (18,8 кг на 469 кг формующей смеси)
каолина 3% (14,08 кг на 469 кг формующей смеси)
парафин 1% (4,72 кг на 469 кг формующей смеси)
борная кислота 0,5% (2,32 кг на 469 кг формующей смеси)
получаем ≈ 40 кг/ч необходимо связующего для получения 469 кг
формующей смеси
Пр = 40∙100/(100-3) = 41,24 кг/ч
Приготовление формующей смеси:
Пр = 469∙100/(100-3) = 483,5 кг/ч
Грануляция:
Пр = (483,5 - 41,24)·100/(100-3)·2,3 = 198 кг/ч
Таблица 5
|
Наименование продукции, сырья, передела
|
Единица измерения
|
Производительность передела в
|
|
|
год
|
сутки
|
смену
|
час
|
|
Грануляция
|
кг
|
3168
|
1584
|
198
|
|
Приготовление связующего
|
кг
|
171600
|
660
|
330
|
41,24
|
|
Приготовление формующей смеси
|
кг
|
2011360
|
7736
|
3868
|
483,5
|
|
Формование
|
кг
|
1951040
|
7504
|
3752
|
469
|
|
Шлифовка
|
м2
|
102960
|
396
|
198
|
24,75
|
.5 Подбор оборудования и тепловых установок
Требуемое количество машин рассчитывается по формуле:
где: Пт - требуемая часовая производительность по данному
переделу;
П - часовая производительность выбранной машины;
Кн=0,8-0,9 - нормативный коэффициент используемого
оборудования по времени.
Количество вертикальных грануляторов:
Принимаем
один вертикальный гранулятор.
Количество
смесителей для приготовления связующего:
Принимаем
один смеситель.
Количество
смесителей для приготовления формующей смеси:
Принимаем
один смеситель.
Количество
формующих устройств:
Принимаем
одно формующие устройство.
Количество
шлифовальных станков:
Принимаем
один шлифовальный станок.
Количество
сушильных камер выбирается из соображения, что одна камера заполняется за одну
смену, сушка происходить в течении 16 часов и заканчивается к началу работы
следующего дня. Т.к. смены две, то и камеры выбирается две.
Справочные
характеристики выбранного оборудования:
Характеристика
гранулятора.
Габариты:
диаметр………………….…500
мм
высота…………….………..1500
мм
Количество
оборотов вала ……....350 об/мин
Производительность…………..….4-6
кг/мин
Мощность
двигателя…………..….2 кВт
Характеристики
смесителя.
Габариты:
длина………………………………….………...3500
мм
диаметр
лотка…………………………………..300 мм
Количество оборотов вала ……………………….…...50 об/мин
Производительность (по формовочной массе)……...10-15 кг/мин
Мощность привода………………………………….….1.7 кВт
Основные показатели формующего устройства.
Ширина ленты………………....……800 мм
Скорость формования………….…..3.2-4.8 м/мин
Производительность………………..70-100 м2/час
Мощность привода………………….3.2 кВт

Характеристика шлифовального станка:
Скорость подачи………………….…………1,2-2,5 м/мин
Отклонения по толщине изделий………….0,5 мм
Производительность.…..……………..…….24-50 м2/час
Мощность приводов………………………...1кВт (2 шт.)
минераловатный акустический плита
2. Технико-экономическая часть
Для определения выработки продукции на одного списочного рабочего
рассчитывается состав работающих. Расчёт ведётся на уровне цеха, т.е.
учитывается только цеховой персонал, производственные и вспомогательные рабочие
Численный состав рабочих приведён в таблице 6.
Таблица 6 - Численный
состав рабочих.
|
№
|
Наименование профессий или работ
|
Число работающих
|
|
|
1 смена
|
2 смена
|
3 смена
|
Всего
|
|
1
|
Производственные рабочие: Оператор гранулятора Оператор
смесителя Оператор формовочной машины Оператор отделочного конвейера Оператор
сушильной камеры Итого:
|
1 1 1 1 1 5
|
1 1 1 1 1 5
|
- - - - 1 1
|
2 2 2 2 3 11
|
|
2
|
Вспомогательные рабочие: Слесарь Электрик Итого:
|
2 2 4
|
2 2 4
|
- 1 1
|
4 5 9
|
|
3
|
Цеховой персонал: Начальник цеха Мастер Механик Лаборант
Уборщица Итого:
|
1 1 1 2 1 6
|
- 1 1 1 - 3
|
- - - - - -
|
1 2 2 3 1 9
|
|
Всего по цеху
|
15
|
12
|
2
|
29
|
Списочное число работающих определяется приближённо по формуле:
,
где Nя - явочная численность рабочих,
Кп - коэффициент подсмены:
Nдн - количество рабочих дней в году для
цеха,
- годовой фонд рабочего времени одного рабочего, дней
Съём продукции с 1м2 производственной площади характеризует
уровень использования производственных площадей и вычисляется по формуле:
где Пг - годовая производительность цеха;
Sцех - площадь производственного здания.
Выработка
продукции на одного списочного рабочего определяется:
3. Техника безопасности, охрана труда и окружающей среды
В соответствии с «Правилами техники безопасности и производственной
санитарии в промышленности строительных материалов» к самостоятельной работе с
оборудованием не моложе 18 лет прошедшие:
медицинское освидетельствование и признанные годными к работе по
профессии;
вводный инструктаж по ТБ и производственной санитарии;
инструктаж на рабочем месте.
Перед началом работы оборудования необходимо проверить исправность систем
заземления. Муфты привода, цепи и звездочки механизма перемещения оборудования
должны быть ограждены. Включать оборудование разрешается только после звукового
сигнала и удаления людей из зоны перемещения. Рельсы путей должны быть
заземлены.
Пуск конвейера допускается только после включения всех автоблокировочных
устройств, после удаления людей на расстояние не менее 1 м от его конструкции.
Люки технологических приемников для обслуживания агрегатов конвейера должны
быть постоянно закрыты. Нахождение людей на движущемся конвейере запрещается.
Пожарная защита обеспечивается комплексом организационных мероприятий и
технических средств, направленных на предотвращение пожара, воздействия на
людей опасных факторов пожара и ограничение материального ущерба от него.
Ответственность за пожарную безопасность предприятия возлагается на
администрацию предприятия, которая назначает должностных лиц, ответственных за
пожарную безопасность цехов и участков.
Список использованной литературы
1. ТУ 21 БССР 241-89. Плиты звукопоглощающие из минеральной
ваты на крахмальном связующем.
. Румянцев Б.М. Опыт производства декоративно-акустических
минераловатных плит Акмигран. Обзор. М.:1972. - 82 с.
. Юхневский П.И. Методические указания к курсовому проекту по
курсу «Основы технологии стеновых, отделочных и изоляционных материалов».- М.:
БГПА, 1992 - 22с.
. Горлов Ю.П. Технология теплоизоляционных и акустических
материалов и изделий. М.: Высшая школа, 1989. - 384 с.