Проектирование заливочного отделения изготовления центробежных валков
Министерство образования и науки РФ
Федеральное государственное бюджетное
образовательное
Учреждение высшего профессионального
образования
«Магнитогорский государственный
технический университет
им Г.И. Носова.
Кафедра электрометаллургии и
литейного производства
КУРСОВОЙ ПРОЕКТ
РАСЧЕТНО-ПОЯСНИТЕЛЬНАЯ ЗАПИСКА
По дисциплине «Проектирование новых и
реконструкция действующих литейных цехов»
на тему: Проектирование заливочного
отделения изготовления центробежных валков
ЗАДАНИЕ
Спроектировать участок центробежного литья производства отливок валков
мощностью 10000 тонн отливок в год.
РЕФЕРАТ
В курсовом проекте произведен расчет цеха центробежного литья мощностью
10000 т отливок в год. Пояснительная записка состоит из 35 страниц, 13 таблиц,
8 рисунков.
Ключевые слова:, формовочная смесь, отливка, кокиль, номенклатура,
производственная программа, дуговая печь, шихта, ковш, сталь, отливка.
Цель данной работы: спроектировать цех центробежного литья мощностью
10000 тонн / год.
СОДЕРЖАНИ
центробежный валки литье
ЗАДАНИЕ
РЕФЕРАТ
ВВЕДЕНИЕ
. ПРОИЗВОДСТВЕННАЯ ПРОГРАММА
. ФОНДЫ ВРЕМЕНИ РАБОТЫ ОБОРУДОВАНИЯ
. ПРОЕКТИРОВАНИЕ ПЛАВИЛЬНОГО ОТДЕЛЕНИЯ
.1 Расчет потребности цеха в жидком металле
.2 Выбор плавильного агрегата
.3 Расчет потребности в шихтовых материалах
.4 Выбор вместимости ковша и расчет их парка для внутренней
части валков
.5 Выбор вместимости ковша и расчет их парка для изготовления
оболочки валков
. ВЫБОР КОКИЛЯ ДЛЯ ИЗГОТОВЛЕНИЯ ЦЕНТРОБЕЖНЫХ ВАЛКОВ
. ВЫБОР ЦЕНТРОБЕЖНОЙ МАШИНЫ
.1 Классификация центробежных машин
. ОБРАБОТКА ВАЛКОВ
СПИСОК ИСПОЛЬЗОВАННЫХ ИСТОЧНИКОВ
ВВЕДЕНИЕ
Центробежное литьё - процесс формообразования и кристаллизации отливки во
вращающейся литейной форме - изложнице. Этот способ применяют в настоящее время
преимущественно для изготовления отливок, представляющих собой тела вращения
(втулки, трубы, шестерни, биметаллические втулки и т.п.), хотя можно
изготавливать и фасонные отливки из всех литейных сплавов. Уникальные отливки
бывают массой до 45 тонн.
Толщины стенок могут составлять от нескольких миллиметров до 350 мм и
более. Жидкий металл заливается во вращающуюся изложницу, в которой металл
кристаллизуется и остаётся до концы кристаллизации. Центробежные силы
возникающие при вращении изложницы прижимают расплавленный металл к поверхности
изложницы, в результате чего происходит его уплотнение и удаление из него
газовых и шлаковых включений.
Машины с вертикальной осью вращения применяются для отливок у которых
диаметр больше высоты: венцы зубчатых колёс, втулки подшипников, крыльчатки насосов.
К преимуществу центробежного литья можно отнести возможность получения
биметаллических отливок: ступица стальная, венец бронзовый. Производительность
центробежного литья высокая: 50 труб d=500; l=6м в час.
Центробежным литьём отливаются любые сплавы не склонные к ликвации.
Характеристика отливок: максимальная масса 200 тонн, максимальная длина 10 м,
минимальная толщина стенки 4 мм, класс размерной точности 6-15, квалитет 13-14,
степень точности поверхности 4-14, шероховатость по Ra=4-40 мкм, минимально.
Рассмотрим ряд преимуществ и недостатков данного способа литья.
Таблица 1-Преимущества и недостатки центробежного литья
|
Преимущества
|
Недостатки
|
|
Высокая плотность металла и
отсутствие раковин, возможность изготовления единичных отливок без создания
моделей и оснасток, высокая износостойкость за счет кристаллической решетки
центробежной отливки
|
Наличие усадочной
пористости, неметаллических включений на внутренних поверхностях отливки,
возможность появления дефектов в виде трещин и газовых пузырей
|
На практике используют различные виды центробежного литья, которые
классифицируют по различным признакам:
По расположению отливки относительно оси вращения:
.1 центр тяжести отливки находится на оси вращения;
Рисунок 1 - Отливка с центром тяжести на оси вращения
.2 отливка находится в стороне от оси вращения
По конфигурации отливки:
.1 полые цилиндры
.2 ассиметричные тела.
По расположению оси вращения:
.1 вертикальная
Рисунок 2-Отливка с вертикальной осью вращения
.2 горизонтальная
Рисунок 3 -Отливка с горизонтальной осью вращения
.3 наклонная
По скорости вращения:
.1 постоянная
.2 переменная
1. ПРОИЗВОДСТВЕННАЯ ПРОГРАММА
В зависимости от характера производства программа может быть точной,
приведенной или условной. По точной программе проектируют цеха крупносерийного
и массового производства с устойчивой и ограниченной номенклатурой деталей на
основе технологических карт на все отливки. По приведенной программе - цеха
серийного производства на основе технологических карт для типовых отливок -
представителей разных групп по массе. По условной программе - цеха
мелкосерийного и единичного производства и единичного производства на основе
типовых технологических процессов. Т.к. в нашем случае серийное производство,
следовательно, производственную программу составим приведенную. Заданную
номенклатуру необходимо разбить на массовые группы. Производственная программа
приведена в таблице 1.1
Таблица 2 - Производственная программа
|
№ Отливки
|
Отливка
|
Материал
|
Масса 1 шт. отливки (т)
|
Кол-во штук в год
|
Масса т/год
|
% к общему весу литья
|
|
1
|
Валок
|
6ХВ2С
|
17,990
|
180
|
3238,2
|
31,63
|
|
2
|
Валок
|
6ХВ2С
|
17,990
|
180
|
3238,2
|
31,63
|
|
3
|
Валок
|
6ХВ2С
|
20,900
|
180
|
3762
|
36,74
|
|
Итого
|
|
|
|
|
10238,4
|
100
|
|
|
|
|
|
|
|
|
Химический состав сплава марки 6ХВ2С представлен в таблице 3.
Таблица 3-Химический состав сплава марки 6ХВ2С
|
Марка стали
|
С, %
|
Si,%
|
Mn,%
|
Ni,%
|
S, %
|
P, %
|
Cr,%
|
Mo,%
|
W,%
|
Cu,%
|
Fe,%
|
|
6ХВ2С
|
0,55-0,65
|
0,5-0,8
|
0,15-0,4
|
До 0,35
|
До 0,03
|
До 0,03
|
1-1,3
|
До 0,3
|
2,2-2,7
|
До 0,3
|
93
|
2. ФОНДЫ ВРЕМЕНИ РАБОТЫ ОБОРУДОВАНИЯ
Примем график работы двухбригадный двухсменный 4а-П с продолжительностью
смены 8 часов (без работы в праздничные дни и выходные).
При проектировании применяют три вида годовых фондов времени работы
оборудования:
.календарный фонд Фк = 365·24 = 8760 ч;
.номинальный фонд (Фн). Является временем, в течении которого может
выполняться работа по принятому режиму, без учета неизбежных потерь.
.действительный фонд времени (Фд). Определяется путем исключения из
номинального фонда неизбежных потерь времени для нормального организованного
производства.
Для определения действительного фонда времени работы оборудования из
номинального фонда исключают время пребывания оборудования в плановых ремонтах,
установленное нормами системы планово-предупредительных ремонтов (ППР). Простои
оборудования, вызванные недостатками в организации производства по внешним
причинам, при определении Фд не учитывают [1].
Действительный фонд времени работы оборудования определим по формуле:
Фд = (К-В-П)·n·t·(100-Пр)/100,
где К - календарное число дней в году (К=365),
В - число выходных дней в году (В=105),
П - число праздничных дней в году (П=12),- число смен (n = 2),
t - продолжительность смены(t = 8часов),
Пр - процент простоя оборудования (Пр = 12% ).
Фд = (365-105-12)·2·8·(100-12)/100 = 3492 ч.
3. ПРОЕКТИРОВАНИЕ ПЛАВИЛЬНОГО ОТДЕЛЕНИЯ
При проектировании плавильного отделения литейного цеха перед
проектировщиками стоят важные и сложные задачи выбора технологического
процесса плавки металла или сплава, обеспечивающего заданную производительность
цеха как по количеству, так и по качеству металла. При этом чрезвычайно важным,
особенно в настоящее время, является экономическое обоснование целесообразности
выбора технологического процесса плавки, который наряду с качеством металла
позволяет получить его низкую стоимость и использовать в процессе дешевые
недефицитные шихтовые материалы и энергоносители.
При проектировании плавильных отделений необходимо решить следующие
вопросы: выбрать типы плавильных агрегатов, раздаточных и заливочных ковшей;
определить производительность одной плавильной печи и емкость ковшей;
рассчитать количество плавильных агрегатов и ковшей; выбрать способ
транспортировки шихты и ее загрузки в плавильные печи и рассчитать транспортные
средства; выбрать способ транспортировки жидкого металла к заливочному участку
и рассчитать транспортные средства.
Выбранная технология плавки должна иметь широкий диапазон воздействия на
процесс с целью получения металла заданного химического состава, тоесть должна
позволять проводить рафинирование, легирование, модифицирование расплава.
Плавильные агрегаты, используемые в различных цехах центробежного литья,
и технологии выплавки, в них применяемые. Существенно отличаются по
возможностям воздействия на процесс, как по металлургическим, так и тепловым
параметрам. Поэтому выбор технологического процесса должен учитывать эти
обстоятельства в зависимости от номенклатуры и качества получаемых отливок.
3.1Расчет потребности цеха в жидком металле
Расчет потребности жидкого металла приведен в таблице 4
Таблица 4 - Определение потребности в жидком металле
|
Марка сплава
|
Годные отливки
|
Прибыли и литники
|
Брак
|
Сливы и всплески
|
Всего жидкого металла
|
|
|
%
|
т/год
|
%
|
т/год
|
%
|
т/год
|
%
|
т/год
|
%
|
т/год
|
|
6ХВ2С
|
90
|
3238,2
|
10
|
359,8
|
2
|
71,96
|
1
|
35,38
|
103
|
3705,3
|
|
6ХВ2С
|
90
|
3238,2
|
10
|
359,8
|
2
|
71,96
|
1
|
35,38
|
103
|
3705,3
|
|
6ХВ2С
|
90
|
3762
|
10
|
418
|
2
|
83,6
|
1
|
41,8
|
103
|
4305,4
|
|
Всего
|
9
|
10238,4
|
|
1137,6
|
|
227,52
|
|
112,56
|
|
11716
|
|
|
|
|
|
|
|
|
|
|
|
|
|
|
|
3.2 Выбор плавильного агрегата
В современных цехах центробежного литья используются различные способы
выплавки стали преимущественно - монопроцессы. Наибольшее количество стали для
цехов центробежного литья выплавляется в электрических печах - дуговых садкой
от 1,5 до 25 т, индукционных тигельных садкой 0,06-6,0 т, плазменных емкостью
0,16-1,6 т, печах сопротивления - переплавных печах для получения
электрошлакового литья.
При проектировании сталелитейных цехов различной производительности
приходится выбирать наиболее рациональный способ выплавки стали ,обеспечивающий
необходимый перегрев металла заданного химического состава и качественной
отливки.
Исходя из того ,что мы должны получить сталь марки 6ХВ2С, имея
производительность 10000 тонн/год ,будем вести плавку в 2 печах, в связи с тем
,что оболочка валка изготавливается из стали марки 6ХВ2С, соответственно плавку
будем вести в электродуговой печи ДСП-6.
Для заполнения внутренней части валка используем чугун с шаровидным
графитом ВЧ60-2, химический состав которого представлен в таблице 5
Таблица 5-Химический состав чугуна марки ВЧ60-2
|
Марка чугуна по ГОСТ
7293-54)
|
С, %
|
Si, %
|
Mn, %
|
P, %
|
S, %
|
Cr, %
|
Mg, %
|
|
ВЧ60-2
|
3,1
|
1,4-1,8
|
0,3-0,8
|
0,12
|
0,02
|
0,10
|
0,4-0,8
|
Чугун ,марки ВЧ60-2 будем плавить в двух индукционных печах, ёмкостью 10
тонн.
Часовая потребность отделения в жидком металле устанавливается по
формуле:
’= Вг • Кн / Фд ,' = 11716• 1,1 / 3492 = 3,69 т/ч.
где Q’ - часовая потребность (производительность) плавильного отделения,
т/ч;
Вг - потребное годовое количество стали для цеха, т/г ;
Кн - коэффициент неравномерности потребления металла, Кн = 1,10 - 1,25;
Фд - действительный годовой фонд времени работы печи, ч.
Устанавливаем 1 печь ДСП-6 для плавки стали марки 6ХВ2С, из этой стали
будет заливаться оболочка валков. Технические характеристики печи ДСП-6
представлены в таблице 6.
Таблица 6 - Технические характеристики устанавливаемой печи
|
Тип печи
|
Вместимость печи, тонн
|
Мощность печи по
трансформатору, кВ·А
|
Диаметр элекрода, мм
|
Производительность печи,
т/ч
|
|
ДСП-6
|
6
|
5000
|
300
|
2.1
|
Оболочка берется в диапазоне 30-100 мм, примем оболочку валков равной 60
мм, длина оболочки равна 3 м. Производим расчет потребности металла в год для
формирования оболочки для каждого из валков. Воспользуемся формулой для нахождения
объема цилиндра:
,
где
V’- объем цилиндра,
;
h-высота
заливаемой оболочки , м;
=3,14.
Производим
расчет по трём валкам и находим сколько необходимо стали в год для формирования
оболочек всех трёх валков, таблица 7
Таблица
7 -Расчет количества металла для формирования оболочки
|
№ Валка
|
Диаметр готового валка, м
|
Длина оболочки,м
|
Потребность металла в т/год
|
|
1
|
867
|
3
|
1000
|
|
2
|
877
|
3
|
1050
|
|
3
|
895
|
3
|
1100
|
|
Итого
|
|
|
3150
|
Из таблицы 7 видно, что в год нам понадобится 3150 тонн стали марки 6ХВ2С
для заливки оболочек валков.
Внутренняя часть валка будет заливаться чугуном с шаровидным графитом
марки ВЧ60-2.Плавку будем производить в двух индукционных печах ёмкостью 10
тонн каждая. Для транспортировки жидкого чугуна будем использовать один
стопорный ковш ёмкостью 20 тонн. Технические характеристики индукционных печей
представлены в таблице 8.
Таблица 8 -Технические характеристики индукционной печи
|
Тип плавильной печи
|
Вместимость,т
|
Мощность печи по
трансформатору,кВт
|
Частота тока,Гц
|
Расчетная скорость плавки,
т/ч
|
|
ИТЧ-10
|
10
|
2500
|
50
|
2,4
|
В связи с тем , что максимальный вес отливки без литниково - питающей
системы равен двадцать одной тонне ,то внутренняя часть валка составит не менее
17 тонн, тогда производственная мощность отделения в жидком металле равна:
N = 
,
N = 
= 6,1
т/ч.
где
N-производственная мощность;
q - паспортная
производительность печи, т/ч;
Кн-
- коэффициент неравномерности печи.
Индукционные
печи имеют достаточно высокий КПД, особенно при перегреве и доводки чугуна.
Высокий КПД достигается в процессе расплавления шихты достигается за счет
частичного опорожнения печи, так называемая плавка с «болотом»,когда из печи
сливается примерно одна треть жидкого металла, а на оставшуюся жидкую ванну
присаживают твердую завалку.
При проектировании плавильного отделения всегда необходимо
предусматривать резервные мощности с учетом дальнейшего развития цеха.
Анализ убедительно показал, что лучшие технико-экономические показатели
процесса имеют печи большей садки и, следовательно, они являются экономичными.
Уменьшение обслуживающего персонала, а так же затраты на эксплуатацию, по
сравнению с печами малой вместимостью [2].
3.3 Расчет потребности участка в шихтовых материалах
Потребность цеха в металлошихте будет больше, чем потребность в жидком
металле на величину угара сплава и величину безвозвратных потерь, которые имеют
место в процессе плавки и выпуска металла из печи. Угар металла зависит от
многих факторов: типа применяемого плавильного агрегата, вида получаемого
сплава, характера используемой шихты, ее загрязненности, окисленности,
развитости поверхности, атмосферы печи, удельной нагрузки на под и других.
Безвозвратные потери при выпуске и плавке сравнительно невелики и зависят
от технологии плавки и метода выпуска ее. Сюда входят потери металла со
скачиваемым шлаком и корольками в конечном шлаке, потери в виде брызг и насыпей
на ковше.
По результатам таблицы 4 видно, что в цехе будет образовываться 1477,6
т/год возврата, что нужно учитывать при шихтовке плавки в плавильном агрегате.
Возврат идет в завалку печи, что снижает потребность в свежих материалах.
Средний угар шихты при плавке стали в электродуговых печах составляет 4 %.
Общая потребность в металлозавалке будет определяться по формуле:
G=GЖ.Ме+GУг.Ме-GВозв.
где GЖ.Ме - потребность цеха в жидком
металле, г/год;
GУг.Ме
- количество угоревшего металла (GУг.Ме
составляет 4 % от GЖ.Ме);
GВозв
- возврат, т/год.
G =
11716+ 468,6 -1477,6 = 10707 т/год.
3.4 Выбор вместимости ковша и расчет их парка для внутренней части валков
Нормальная организация работ в плавильном отделении невозможна без
оптимального количества разливочных ковшей, служащих для приема плавки,
кратковременного хранения, перемещения и заливки расплава.
Для перемещения ковша должно быть запроектировано соответствующее
грузоподъемное и транспортное оборудование, кран-балками или мостовыми кранами
соответствующей грузоподъемности.
Вместимость заливочного ковша определяется, в первую очередь,
максимальной металлоемкостью формы и может быть равна или кратна ей [2].
Принимаем стопорный ковш емкостью 20 тонн.
Число ковшей, необходимых для обеспечения металлом данного потока,
определяем по выражению:
,
где
- число ковшей определённой металлоёмкости,
находящихся одновременно в работе, шт.;
-
потребность в металле для заполнения готовых форм из такого ковша, кг/ч;
- время
оборота (цикла) работающего ковша, ч;
-
металлоёмкость ковша, используемая на заполнение литейных форм, кг;
-
коэффициент неравномерности потребления металла под заливку.
Потребность в жидком металле составляет по рассчитанному ранее значению
6,1 т/ч.. Время цикла составляет 1 час. Металлоёмкость ковша примем равной 6 т.
Коэффициент неравномерности примем равным 1,4. Таким образом, число ковшей
равно
шт.
Число
ковшей, постоянно находящихся в ремонте в течение года, устанавливается по
формуле:
,
где
- число ковшей постоянно находящихся в ремонте в
течение года, шт.;
- число
ковшей, находящихся одновременно в работе, шт;
- общая
длительность ремонтного цикла ковша, ч;
- число
ремонтов ковша в год, шт;
-
коэффициент неравномерности поступления ковшей в ремонт;
- фонд
рабочего времени ремонтных рабочих, ч.
Число ковшей, находящихся одновременно в работе, равно 1. Общую
длительность ремонтного цикла ковшей примем равной 8 часам. Число ремонтов в
год примем равное 12. Коэффициент неравномерности примем равным 1,4. Кроме
того, необходимо иметь резервные ковши на случай аварийного выхода их из строя.
Число резервных ковшей не должно быть меньше двух, а при большом числе
одновременно работающих ковшей составлять 15-20 % от их числа.
Фр=(365-105-12)·1·8·(100-12)/100 = 1746 ч.
Таким образом, число постоянно находящихся в ремонте равно
шт.
Таким образом, в ремонте постоянно находится 1 ковш.
Таблица 9 - Расчет парка ковшей
|
Сплав
|
Вместимость тонн
|
Оборот ковша, ч
|
Число, работающих ковшей в
смену, шт.
|
Стойкость футеровки,
количество разливок
|
Длительность ремонтного
цикла, ч.
|
Число ковшей, шт.
|
|
|
|
|
|
|
в ремонте
|
в резерве
|
общее
|
|
Сталь
|
20
|
1
|
1
|
35
|
8
|
1
|
1
|
4
|
3.5 Выбор вместимости ковша и расчет их парка для изготовления оболочки
валков
Нормальная организация работ в плавильном отделении невозможна без
оптимального количества разливочных ковшей, служащих для приема плавки,
кратковременного хранения, перемещения и заливки расплава.
Для перемещения ковша должно быть запроектировано соответствующее
грузоподъемное и транспортное оборудование, кран-балками или мостовыми кранами
соответствующей грузоподъемности.
Вместимость заливочного ковша определяется, в первую очередь,
максимальной металлоемкостью формы и может быть равна или кратна ей [2].
Принимаем стопорные ковши емкостью 25 тонн.
,
где
- число ковшей определённой металлоёмкости,
находящихся одновременно в работе, шт.;
-
потребность в металле для заполнения готовых форм из такого ковша, кг/ч;
- время
оборота (цикла) работающего ковша, ч;
-
металлоёмкость ковша, используемая на заполнение литейных форм, кг;
-
коэффициент неравномерности потребления металла под заливку.
Потребность в жидком металле составляет по рассчитанному ранее значению
6,1 т/ч. Время цикла составляет 1 час. Металлоёмкость ковша примем равной 6 т.
Коэффициент неравномерности примем равным 1,4. Таким образом, число ковшей
равно
шт.
Число
ковшей, постоянно находящихся в ремонте в течение года, устанавливается по
формуле:
,
где
- число ковшей постоянно находящихся в ремонте в
течение года, шт.;
- число
ковшей, находящихся одновременно в работе, шт;
- общая
длительность ремонтного цикла ковша, ч;
- число
ремонтов ковша в год, шт;
-
коэффициент неравномерности поступления ковшей в ремонт;
- фонд
рабочего времени ремонтных рабочих, ч.
Число ковшей, находящихся одновременно в работе, равно 1. Общую
длительность ремонтного цикла ковшей примем равной 8 часам. Число ремонтов в
год примем равное 12. Коэффициент неравномерности примем равным 1,4. Кроме
того, необходимо иметь резервные ковши на случай аварийного выхода их из строя.
Число резервных ковшей не должно быть меньше двух, а при большом числе
одновременно работающих ковшей составлять 15-20 % от их числа.
Фр=(365-105-12)·1·8·(100-12)/100 = 1746 ч.
Таким образом, число постоянно находящихся в ремонте равно
шт.
Таким образом, в ремонте постоянно находится 1 ковш.
Таблица 9 - Расчет парка ковшей
|
Сплав
|
Вместимость, тонн
|
Оборот ковша, ч
|
Число, работающих ковшей в
смену, шт.
|
Стойкость футеровки,
количество разливок
|
Длительность ремонтного
цикла, ч.
|
Число ковшей, шт.
|
|
|
|
|
|
|
в ремонте
|
в резерве
|
общее
|
|
Сталь
|
6
|
1
|
1
|
35
|
8
|
1
|
1
|
4
|
Так как был выбран стопорный ковш ёмкостью 6 тонн и весом 2,5 тонны для
ДСП-6 печи и ковш ёмкостью 20 тонн для индукционных печей, то соответственно
выбираем мостовой кран для транспортировки ковша и другого груза,
грузоподъемностью 50 тонн.
4. ВЫБОР КОКИЛЯ ДЛЯ ИЗГОТОВЛЕНИЯ ЦЕНТРОБЕЖНЫХ ВАЛКОВ
Процесс отливки прокатных валков является одним из самых сложных в
литейном производстве. Отливка прокатного валка является весьма дорогостоящей,
поэтому изготовление формы, составление шихты, ведение плавки, заливка и
охлаждение формы требуют тщательной подготовки и строгого соблюдения
технологических инструкций.
Имеет значение выбор температуры заливки. Рекомендуется несколько
перегревать сталь. Жидкотекучесть при перегреве возрастает, и металл лучше
заполняет форму. Обычно температура заливки составляет для крупных валков (16 -
22 т) 1240 - 1260 оС, для мелких валков (до 3 т) - 1260 - 1300 оС.
Достаточная выдержка отливки в форме является важнейшим фактором
повышения срока службы валков. Преждевременное извлечение валков из формы
приводит к ускоренному охлаждению поверхности, что повышает уровень внутренних
напряжений. Скорость охлаждения зависит от массы валка, типа формы, температуры
заливаемого чугуна и других технологических факторов. Как правило, охлаждение
отливок до комнатной температуры не производят и извлекают их из формы при
температуре 100 - 150 оС. Практикой работы литейных цехов установлены
оптимальные сроки выдержки валков в форме, которые для мелкосортных валков
массой около 3 т составляют 8 - 12 час. Кокили являются наиболее ответственной
частью форм при производстве чугунных валков. Качество отливаемых валков в
значительной степени зависит от качества кокилей. Качество кокилей определяется
химическим составом и структурой стали, из которой они изготовляются,
плотностью, чистотой отливки и точностью механической обработки.
По условиям эксплуатации кокили могут быть с некоторым приближением
приравнены к изложницам для сталеплавильного производства. Химический состав и
структура кокилей мало отличаются от изложниц. Чем крупнее кокили, тем меньше
их стойкость. Мелкие кокили, так же как и мелкие изложницы, обладают самой
высокой стойкостью и выдерживают 100 - 200 плавок, в то время как крупные - от
10 до 30 плавок. В отличие от изложниц в кокилях обрабатывают внутренние
полости и по мере появления сетки разгара их подвергают переточкам на другие
размеры. Размеры и конфигурация кокилей определяются размерами и конфигурацией
валков.
При проектировании кокилей необходимо учитывать величину усадки заготовки
валков и припуск на их обработку.
Толщины стенок кокилей для мелких и средних валков колеблются в пределах
120-180 мм и для крупных - 180-260 мм. Практикой установлено, что при более
тонких стенках кокили быстро растрескиваются.
Кокили для отливки листопрокатных валков делаются цилиндрическими
гладкими (рисунок 5 а ), для сортопрокатных валков - гладкими, а иногда
профилированными (рисунок 5 б). Гладкие кокили делают цельными или секционными,
и те и другие имеют определенные преимущества и недостатки. Также применяют
профилированные кокили для получения валков с литыми отбеленными калибрами.
Рисунок 4 - Формы кокилей для отливки заготовок валков
Сборку форм осуществляют в специальной литейной яме, поверхность которой
футеруют огнеупорным кирпичом. Заливку стали проводят снизу. На рисунке 5
приведены примеры форм в сборе для отливки листопрокатного валка и валка
среднесортного прокатного стана.
Рисунок 5 - Собранные формы листового (а) и сортового (б) валков: 1 -
литниковая труба; 2 - скоба; 3 - кокиль.
Для придания окончательной формы и размеров валкам их подвергают
механической обработке. Перед механической обработкой и после ее завершения
отливки подвергают внешнему осмотру и контролю свойств. Брак при изготовлении
валков является достаточно частым.
Наряду с обычными видами литейных дефектов (трещины, недоливы, засоры,
газовые пузыри и др.). Возникает этот брак при неправильном ведении процесса
плавки и ошибок в проектировании формы.
Таблица 10 -Приблизительная стойкость кокилей
|
Заливаемый сплав
|
Размер отливки
|
Материал кокиля
|
Стойкость кокиля
|
|
6ХВ2С
|
Очень крупные
|
Сталь 15 Л
|
12
|
Таблица 11 - Определение параметров кокиля
|
Материал валка
|
Диаметр валка
|
Длина валка,мм
|
Диаметр кокиля
|
Материал кокиля
|
Стойкость кокиля
|
|
6ХВ2С
|
867
|
5000
|
910
|
Сталь 15 Л
|
12
|
|
6ХВ2С
|
877
|
5000
|
921
|
Сталь 15 Л
|
12
|
|
6ХВ2С
|
895
|
5000
|
940
|
Сталь 15 Л
|
12
|
5. ВЫБОР ЦЕНТРОБЕЖНОЙ МАШИНЫ
Современное машиностроение с каждым годом предъявляет новые требования к
изготовлению деталей из сплавов металлов, к их эксплуатационным свойствам,
геометрическим параметрам, качеству поверхности. Изобретение центробежной
литейной машины причисляется к литейному производству, одним из основных
направлений которого является создание деталей на основе литых валков.
Как известно, в производстве литьем называется технологический процесс
изготовления заготовки или готовой детали. Существует несколько разновидностей
специальных видов литья, однако для изготовления труб различного назначения
(водопроводных, канализационных и т.п.), втулок, гильз, венцов червячных колес,
барабанов для бумагоделательных машин, роторов электродвигателей и многих
других литых заготовок, чаще всего используют метод центробежного литья. Помимо
этого, благодаря современным технологическим схемам и инновационным
разработкам, центробежным методом литья стало возможно получать заготовки
различного фасонного профиля (звездочки, зубчатые колеса, турбинные диски с
лопатками, детали арматуры).
В отличие от всех иных методов литья, когда расплав заливается в
неподвижную форму, центробежное литье представляет собой процесс, в ходе
которого жидкий металл заливается во вращающуюся литейную форму. Под
воздействием центробежной силы расплавленный металл оттесняется к стенкам
формы, равномерно распределяясь там и затвердевая. Так получается прочная,
имеющая хорошую плотность отливка, которая всегда имеет форму тела вращения.
5.1
Классификация центробежных машин
Являясь основным технологическим оборудованием в литейном производстве,
центробежная литейная машина имеет две разновидности - вертикальную и
горизонтальную. Производство втулок, звёздочек, колёс, деталей арматуры и
многого другого базируется на вращении, которое создаётся при помощи
подключения к электросети. Метод литья позаимствован из зубоврачебной и
ювелирной техники, как очень продуктивный - например, при производстве
ювелирных украшений за одну такую заливку можно сделать 50 колец.
Для того чтобы изготовить отливку диаметр которой меньше ее длины (к
таким деталям относятся трубы, гильзы или втулки) используют машину с
горизонтальной или наклонной осью вращения. Вертикальная центробежная машина
используется для литья более сложных заготовок, имеющих внутренние полости.
Также машинки с вертикальной осью вращения применяются для литья деталей, чей
диаметр значительно превышает их высоту (колеса, шестерни и т.п.).
В то же время, у вертикальной центробежной литейной машины может быть
центральная или смещенная ось вращения. В первом случае ось вращения формы и
ось вращения отливки совпадает. Во втором случае изложница вращается
относительно оси, размещенной на определенном расстоянии от рабочей формы.
Горизонтальная центробежная машина производится в нескольких вариантах:
двуопорная, консольная, роликовая. У двуопорной горизонтальной машины форма
закрепляется с обеих сторон. У консольной изложница прикрепляется консольно, то
есть с одной стороны. У роликовой горизонтальной центробежной литейной машины
изложница вращается, опираясь на ролики.
Конструкция центробежной литейной машины предполагает наличие водяной
системы охлаждения, а также частотного преобразователя,
который позволяет изменять и регулировать скорость вращения формы,
которая измеряется количеством оборотов в минуту. Помимо этого литьевые машины
имеют систему управления, состоящую из нескольких элементов. Благодаря этому
технологический процесс максимально упрощается, а потери от брака сокращаются.
По своей сложности все данные приборы можно разделить на:
)однопозиционные(карусельные)машины;
)двухпозиционные;
) многопозиционные (так называемые, карусельные машины).
Различают машины для литья автоматические и полуавтоматы, с многообразием
размеров для отливок, предназначенные для разных сплавов - чугуна, бронзы, меди
и других металлов, мощностью от 7,5 до 250 кВт, габаритных размеров от
2565х1700х1200 до 10500х10300х6080 мм, массой от 3300 до 60000 кг. В каждую
разновидность таких машин можно заливать в час от 5 до 165 заливок.
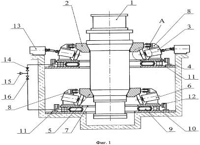
Исходя из вышесказанного , устанавливаем горизонтальную центробежную
машину(рисунок 6)
Рисунок 6-Центробежная машина
Центробежная литейная машина содержит изложницу 1, которая через опорное
кольцо 2 опирается на систему верхних опорных катков 3, жестко установленных на
верхней плите 4, а через опорное кольцо 5 опирается на систему нижних опорных
катков 6, жестко установленных на нижней плите 7. На станинах систем опорных
катков 3 и 6 закреплены центрирующие роликоопоры 8. Под плитами 4 и 7
расположены резинопневматические амортизаторы 9 и резиновые амортизаторы 10.
Амортизаторы 9 и 10 опираются на основание 11, закрепленное на фундаменте. По
периметрам плит 4 и 7 установлены резинометаллические амортизаторы 12, жестко
закрепленные на основании 11. Все катки, системы верхних катков 3 имеют приводы
13. Подача рабочего давления в резинопневматические амортизаторы 9
осуществляется от пневмополости 14, управление - через раздельные системы 15 и
16.
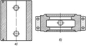
Каждый опорный каток верхних 3 и нижних 6 систем катков (см. фиг.2)
снабжен ступицей 17, запрессованной на консольный вал 18 со шпонкой 19 по
посадочному диаметру dст и зафиксированной на валу 18 кольцевой крышкой 20.
Ролик 21 посажен на вал 18 по посадочному диаметру dр. Задача этого сопряжения
- обеспечить центровку рабочей поверхности ролика относительно его оси
вращения. Оно полностью разгружено от передачи крутящего момента, а также восприятия
основной радиальной нагрузки. Для этих условий сопряжения, запрессовку ролика
21 на вал 18 достаточно выполнить на небольшую глубину, обеспечивающую
надежность центровки и сравнительно небольшое усилие, необходимое для его
снятия с вала 18 отжимными винтами 22, для чего в ролике 21 выполнены, как
минимум, три резьбовых отверстия 23. На ступице 17 и ролике 21 выполнены
фланцевые поверхности. Затяжка фланцевого соединения 24 осуществлена крепежными
узлами 25, каждый из которых включает болт 26 с корончатой гайкой 27 и шплинтом
28, а также пакет тарельчатых пружин 29. Усилие сжатия пружин 29 рассчитано
таким образом, что возникающая при этом сила трения во фланцевом соединении 24
была бы больше максимальной радиальной нагрузки на ролик 21.
6. ОБРАБОТКА ВАЛКОВ
Станки моделей GGTRONIC имеют составную конфигурацию несущей и
направляющей системы, состоящую из 2 (двух) станин :
первая станина для поддержания и направления изделий, включая узлы и
детали шпиндельной бабки, задней бабки и люнетами;
вторая станина для поддержания и обеспечения прямолинейных и качательных
перемещений режущих инструментов.
Например, вторая станина станка модели GG Tronic в модификации
"Triple X" может комплектоваться расточной колонной с фрезерной
радиально-аксиальной головкой, универсальным токарным суппортом, специальным
суппортом для глубокого сверления расточным стеблем.
Станина изделия, несущая бабку изделия и заднюю бабку, изготавливается из
чугуна с двойными стенками и усиленная ребрами жесткости. Конструкция и вес
станины спроектированы и рассчитаны с учетом максимальной нагрузки, принимаемых
от тяжелых и длинных заготовок. Значительные каналы в секциях по всей длине
рассчитаны для облегчения вспомогательного движения и эффективного отвода СОЖ,
пульпы и стружки. Группа направляющих станка закалены, упрочнены и впоследствии
проходят прецизионную обработку в нашем производстве.
В шпиндельной бабке расположена группа привода, включая узлы и детали,
механизмы главного движения, передающие мощность шпинделю. Шпиндельная бабка имеет
собственную автоматическую систему смазки. Шпиндель, установленный в
прецизионных конических роликовых опорах TIMKEN, изготавливается из отпущенной
кованой стали с последующим цементированием и упрочнением NiCrMo, и имеет
посадку с регулируемым зазором.
Конструкция несущей и направляющей группы станков Giana, и в частности
GGTronic изготовлена целиком и полностью из чугуна с внутренними ребрами
жесткости, что позволяет производить операции глубокого растачивания
виброгасящими расточными оправками диаметром 600 мм на глубину свыше 6000 мм
Основные технические характеристики токарного сверлильно-фрезерного
расточного обрабатывающего центра GGTRONIC.
Таблица 12-Характеристика токарного станка
|
Пределы устанавливаемых
заготовок и высота центров, мм
|
960-2260
|
|
Диаметр заготовок,
устанавливаемых на токарный станок, мм
|
1900-4500
|
|
Наибольшая длина точения
заготовок превышает , мм
|
25000
|
|
Предельный вес
устанавливаемых заготовок в центрах, тонн
|
От 20 до 350
|
Таблица 13-Характеристика многоцелевого токарного станка с двумя
станинами
|
Технические характеристики
|
Значения
|
GGtronic2000
|
GGtronic2500
|
GGtronic3000
|
|
Высота центров
|
мм
|
960-1100-1260
|
960-1100-1260
|
1350-1650
|
|
Наибольший диаметр изделия,
устанавливаемого над суппортом
|
мм
|
1900
|
2900-3600-4400
|
5000
|
|
Ширина станины изделия
|
мм
|
1200
|
2120
|
2120
|
|
Ширина инструментальной
станины
|
мм
|
860
|
1490
|
1490
|
|
Диаметр планшайбы
|
мм
|
1000-1200-1500
|
2500-3000
|
2500-3000
|
|
Шпиндельная бабка
|
|
|
|
|
|
Мощность главного двигателя
|
кВт
|
60-71-100
|
100-135
|
100-135-179
|
|
Конец шпинделя
|
ASA
|
15»-20»
|
|
20»-28»
|
|
Диаметр полого шпинделя
|
мм
|
120
|
120
|
120
|
|
Пределы бесступенчатого
регулирования скорости
|
Об/мин
|
1-500 1-710
|
1-500
|
1-350
|
|
Крутящий момент
|
Нм
|
25000
|
56000
|
80000-100000
|
|
Подачи
|
|
|
|
|
|
Продолжительность подачи
суппорта
|
Мм/мин
|
1-12000
|
1-12000
|
1-12000
|
|
Поперечная подача суппорта
|
Мм/мин
|
1-12000
|
1-12000
|
1-12000
|
|
Вес заготовки
|
|
|
|
|
|
Допустимый вес заготовки,
устанавливаемый между центрами без люнета
|
тонн
|
20-25
|
40
|
40-60-80
|
|
Наибольшая длина обточки
|
|
|
|
|
|
Наибольшая длина обточки
|
Превышает 25000 мм
|
|
|
|
|
Наибольшие значения длины
обработки
|
По запросу
|
|
|
|
|
Задняя бабка
|
|
|
|
|
|
Диаметр пиноли
|
мм
|
310
|
370
|
460
|
|
Ход пиноли
|
мм
|
300
|
300
|
200
|
Проанализировав таблицу 13 приходим к выводу , что целесообразно
использовать многоцелевой станок с двумя станинами GGtronic2000(рисунки 7,8)
Рисунок 7 - Многоцелевой станок с двумя станинами GGtronic2000
Рисунок 8- Многоцелевой станок с двумя станинами GGtronic2000
СПИСАОК ИСПОЛЬЗОВАННЫХ ИСТОЧНИКОВ
1 Основы проектирования литейных цехов и заводов / Под ред.
Б.В. Кнорре. -М. : М ашиностроение, 1979. -376 с.
Миляев А.Ф. Проектирование новых и реконструкция действующих
литейных цехов.- Магнитогорск: МГТУ им Г.И. Носова, 2001. -410 с.
Сафронов В.Я. Справочник по литейному оборудованию. - М.:
Машиностроение, 1985, - 320с.
Логинов И.З. Проектирование литейных цехов. - Минск.: Высшая
школа, 2005 , - 320 с.