Основы сопромата
1. Расчет стержня
Исходные данные:
Материал стержня - сталь 50Г
(нормализация)
Коэффициент запаса nт =1,4
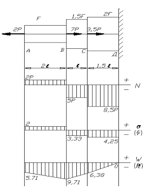
Нагрузка: Р1 = 3,5Р Длина
участков стержня: ℓ1 = 2ℓ
Р2 = 2Р ℓ2
= ℓ
Р3 = 7Р ℓ3
= 1,5ℓ
При расчете принимаем Р = 20кН, ℓ
= 0,3 м
Механические свойства стали 50Г
берем из таблицы 1 приложения 1:
σт = 400 МПа δ = 13%
σв = 660 МПа Е
= 200 ГПа
τт = 230 МПа μ = 0,3
Решение:
1. Построение эпюры нормальных сил.
Делаем произвольное сечение на
участке АВ, отбрасываем правую часть стержня (с заделкой). Для оставшейся части
стержня вводим нормальную силу N1 в полученном сечении.
ΣFz = 0:
N1 = 2P (растяжение)
Аналогичные операции метода сечений
на участке ВС и СД
N2 = 2P - 7Р = - 5Р (сжатие)
N3 = 2P - 7Р - 3,5Р = - 8,5Р (сжатие)
Подставив численные значения,
получим:
N1 = 40кН N2 = - 100кН N3 = - 170кН
На каждом участке откладываем от оси
эпюры полученные значения нормальной силы, проводим горизонтальные линии и
делаем штриховку (рис. 1).
«Правило скачков» выполняется.
. Построение эпюры нормальных
напряжений.
Вычисляем значения нормальных
напряжений на каждом участке стержня:
Участок АВ
Участок ВС
Участок CД
На каждом участке
откладываем от оси эпюры полученные значения напряжений, проводим
горизонтальные линии и делаем штриховку (рис. 1).
. Построение эпюры
осевых перемещений
На каждом участке
стержня выполняются условия Ni
= const, EFi
= const, поэтому функция W(z) является линейной, а ее график представляет наклонную прямую
линию.
Для построения эпюры
перемещений поперечных сечений стержня на каждом участке воспользуемся формулой
в виде:
Определение перемещений
по этой формуле и построение эпюры следует начинать с того участка, где
известно перемещение какого-либо поперечного сечения. В данном случае начинаем
вычисления с участка СД, т.к. в заделке осевое перемещение равно нулю (WД = 0). Для построения эпюры перемещений удобно принять за
положительное направление осевых перемещений такое: от заделки во внутрь
стержня. В данном примере - от сечения Д влево от оси стержня.
Участок СД
;
Участок ВС
;
Участок АВ
;
Откладываем полученные
значения перемещения как ординаты графика W(z) от оси в выбранном масштабе и соединяем прямыми линиями
соответствующие значения на каждом участке (рис. 1).
. Проектировочный расчет
на прочность.
Стержень выполнен из
пластичного материала.
Условие прочности будет
иметь вид:
Из эпюры нормальных
напряжений следует, что
Поскольку по условию
задачи требуется определить значение параметра F,
запишем неравенство в форме:
Подставив численные
значения, получим:
Отсюда:
F1
= F = 3см2
F2
= 1,5F = 1,5 × 3 = 4,5 см2
F3
= 2F =2 × 3 = 6 см2
. Определение величины
удлинения ∆L (или укорочения)
стержня.
В данном случае, при
наличии заделки на одном конце стержня, изменение длины стержня равно
перемещению свободного конца ∆L
= WА
(укорочение)
Подставив численные
значения получим

Рис. 1
Рис. 2
2. Расчет статически
неопределимого стержня
Исходные данные:
Материал стержня - ВТ20
Коэффициент запаса nт =2,5
Нагрузка: Р1 = 1,8Р
Р2 = Р
Площади сечений: F1 = 1,2F
F2 = 2F
F3 = 1,5F
Длина участков стержня: ℓ1
= 1,3ℓ ℓ2 = 1,2ℓ
ℓ3 = 1,5ℓ
При расчете принимаем F = 2cм2, ℓ = 0,3 м
Механические свойства ВТ20 берем из
таблицы 3 приложения 1:
σ0,2 = 840 МПа δ = 11%
σв = 1050 МПа Е
= 105 ГПа
τт = 470 МПа μ = 0,35
Решение:
1. Раскрытие статической
неопределимости.
Стержень статически неопределим, так
как в заделках возникают две реакции
RA и RD, которые не могут быть найдены из одного уравнения равновесия.
Перейдем к схеме статически определимого стержня, удалив заделку А и введя
неизвестную реакцию RA.
Получим выражения для нормальной
силы в поперечных сечениях стержня на каждом участке. Для этого применяем метод
сечений, и для каждой левой отсеченной части стержня составляем уравнение
равновесия.
Участок АВ: N1 = RA
Участок ВС: N2 = RA - 1,8P
Участок СД: N3 = RA - 1,8P - P = RA - 2,8P
Составим дополнительное уравнение
для нахождения реакции RA, используя условие
совместности перемещений в виде:
;
;
;
Откуда:
. Построение эпюры
нормальных сил.
Используя полученное
значение реакции RA,
вычисляем значения нормальных сил:
N1
= RA = 1,45Р2
= RA - 1,8P = 1,45Р
- 1,8Р = -0,35Р3
= RA - 2,8P = 1,45Р
- 2,8Р = - 1,35Р
Используя эти значения,
строим эпюру нормальных сил (рис. 3).
«Правило скачков»
соблюдается.
. Построение эпюры нормальных
напряжений.
Вычисляем значения
напряжений на участках стержня по формуле:

Участок АВ
Участок ВС
Участок CД
На каждом участке
откладываем от оси эпюры полученные значения напряжений, проводим
горизонтальные линии и делаем штриховку (рис. 3).
. Построение эпюры
осевых перемещений.
Для построения эпюры
перемещений поперечных сечений стержня на каждом участке воспользуемся формулой
в виде:
Участок АВ
;
Участок ВС
;
Участок СД
;
Поскольку все вычисления
проводились с округлением до третьей значащей цифры, отличие значения осевого
перемещения от нуля получили в третьем знаке, что закономерно для
приближенного вычисления.
Относительную погрешность
вычисления (в процентах) осевого перемещения можно определить таким образом:
Откладываем полученные
значения перемещения как ординаты графика W(z) от оси в выбранном масштабе и соединяем прямыми линиями
соответствующие значения на каждом участке (рис. 3).
. Расчет на прочность.
Выполняем расчет стержня
на прочность для определения допускаемой нагрузки. Материал стержня пластичный,
поэтому задано только одно значение допускаемого напряжения.
Из эпюры нормальных
напряжений следует, что
Поскольку по условию
задачи требуется определить значение параметра Р, запишем неравенство в форме:
Подставив численные
значения, получим:
Рис. 3
Рис. 4
3. Расчет вала при
кручении
Исходные данные:
Материал - Сталь 45 (н)
Коэффициент запаса nт =4
Передаваемые мощности: N1 = 2,6N0
N2 = 1,5N0
N3 = 3,4N0
N0 = 20 кВт
Диаметры участков: D1 = 1,55d
D2 = 2,1d
Длина участков: ℓ1
= 0,25 ℓ2 = 0,35 м
Частота вращения вала n = 800 об/мин
[φ’] = 1,1º/м
Механические свойства стали 45 (н)
берем из таблицы 1 приложения 1:
σТ = 360 МПа δ = 17%
σв = 610 МПа Е
= 200 ГПа
τт = 210 МПа μ = 0,29
Решение:
1. Построение эпюры крутящих
моментов Мк.
Разбиваем вал на 2 участка - АВ и
ВС, границами которых являются те сечения, где приложены внешние моменты. Для
определения крутящих моментов на каждом участке применяем метод сечений.
Определяем нормальную силу N на каждом участке
N1 = 2,6×20 = 52 кВт
N2 = 1,5×20 = 30 кВт
N3 = 3,4×20 = 68 кВт
Определяем моменты М на каждом
участке
Крутящие моменты Мк
равны:
МК1 = - М1
= - 620 (Н×м)
МК2 = - М1
- М2 = - 620 - 360 = -980 (Н×м)
График функции Мк = const представляет собой прямую, параллельную оси эпюры (рис. 5).
. Построение эпюры
касательных напряжений.
Условие прочности вала:
Определяем максимальные
касательные напряжения на каждом участке вала
Где Wpi - полярный момент
сопротивления сечения на i-том участке вала
Wp1 = 0,2D13
= 0,2 (1,55d)3 = 0,74d32 = 0,2D23
= 0,2 (2,1d)3 = 1,85d3
Отсюда:
Следовательно:
значит
Определяем значения
диаметров для вала
D1
= 1,55d = 1,55×25,1 = 38,9 мм
D2
= 2,1d = 2,1×25,1 = 52,7 мм
Округляем по
стандартному ряду в большую сторону (приложение 2)
D1
= 40 мм = 4 см
D2
= 53 мм = 5,3 см
Определяем
для
выбранных диаметров
Wp1 =
0,2×43 = 12,8см3
Строим эпюры касательных
напряжений (рис. 5).
. Построение эпюры
относительных углов закручивания φ’.
Проведем проверочный
расчет
[φ’] = 1,1º/м = 1,9×10-2
рад/м
На каждом участке вала
определяем относительные углы закручивания
Где G - модуль сдвига материала
Jp
- полярный момент инерции сечения
Записываем выражения для
относительных углов закручивания на каждом участке вала
Строим эпюры
относительных углов закручивания (рис. 5).
. Построение эпюры
угловых перемещений поперечных сечений φ.
За неподвижное принимаем
сечение А (левое)
Строим эпюры угловых
перемещений поперечных сечений (рис. 5).
Рис. 5
4. Расчет консольной
балки
Исходные данные:
Коэффициент запаса: nт =1,8
Р1 = q×ℓ1=2Р/ℓ ×2,2ℓ =4,4Р
М = 2,5Pℓ
ℓ1 = 2,2ℓ
ℓ2 = 2,5ℓ
σТ = 250 МПа
Р = 10кН
ℓ = 0,4 м
Решение:
1. Построение эпюры поперечных сил Q
Балка консольная, поэтому можно не
определять реакции в заделке, но при использовании метода сечений отбрасываем
часть балки с заделкой.
Поперечная сила является постоянной,
поэтому эпюра Q на участке АС ограничена горизонтальной прямой.
Подставив численные значения,
получим:
Строим эпюру поперечных
сил Q (рис. 7)
. Построение эпюры
изгибающих моментов М
Изгибающий момент
является линейной функцией (М=Рℓ), график которой (прямую линию) можно
построить, используя значения момента в концевых сечениях участка балки.
Подставив численные
значения, получим:
Строим эпюру изгибающих
моментов (рис. 7).
. Расчет на прочность
Балка постоянного
сечения, изготовлена из пластичного материала, поэтому условие прочности имеет
вид:
Опасным является сечение
балки вблизи заделки (сечение С), где действует наибольший изгибающий момент
Вычисляем допускаемое
напряжение:
Подбор сечения балки по
сортаменту осуществляем исходя из величины момента сопротивления сечения Wх. Требуемый момент сопротивления сечения получим из условия
прочности:
Для балки двутаврового
сечения из таблицы 1 приложения 3 выбираем профиль №33 с моментом сопротивления
,
ближайшим к требуемому значению.
Для балки, имеющий
сечение в виде двух швеллеров, условие прочности имеет вид:
Откуда получаем такое
условие для требуемого момента сопротивления сечения:
Из таблицы 2 приложения
3 выбираем швеллер №24а с моментом сопротивления
Вычисляем значения
максимальных нормальных напряжений в опасном сечении для двух рассмотренных
вариантов:
Двутавровая балка:
Балка с сечением в виде двух
швеллеров:
Эпюра нормальных
напряжений для опасного сечения двутавровой балки показана на рис. 6. Знаки
нормальных напряжений в сечении определяем исходя из направления изгибающего
момента в этом сечении: поскольку в сечении действует отрицательный момент, в
точках сечения, расположенных выше нейтральной линии х, действуют растягивающие
напряжения, в точках ниже части сечений - сжимающие напряжения.
Аналогично выглядит
эпюра нормальных напряжений для балки с опасным сечением в виде двух швеллеров

Рис. 6
Рис. 7
Рис. 8
5. Расчет двухопорной
балки
Исходные данные:
Р1 = 2Р
М = 2Pℓ
ℓ1 = 3ℓ
ℓ2 = 4ℓ
ℓ3 = 3ℓ
[σ] = 160 МПа
Р = 10кН
ℓ = 0,3 м
Решение:
1. Определение реакций опор.
Балка имеет шарнирно-неподвижную
опору В и шарнирно-подвижную опору Д, в которых возникают вертикальные реакции YВ и YД. Горизонтальная реакция
ХА=0, так как на балку не действуют силы в горизонтальном
направлении. Введем неизвестные реакции опор YВ и YД, направив их вниз. Для
определения реакций составим два уравнения равновесия балки:
Откуда:
Подставив численные
значения, получим:
Выполняем проверку
правильности нахождения реакций:
;
, 0=0
Уравнение выполняется
тождественно. Следовательно, значения реакций найдены верно.
. Построение эпюры
поперечных сил Q
Для построения эпюр
внутренних силовых факторов балку разбиваем на три участка, на каждом из которых
применяем метод сечений.
Подставив численные
значения, получим:
Строим эпюру Q (рис. 10).
. Построение эпюры
изгибающих моментов М
Изгибающий момент
является линейной функцией (М=Рℓ), график которой (прямую линию) можно
построить, используя значения момента в концевых сечениях участка балки.
Подставив численные
значения, получим:
Поскольку все вычисления
проводились с округлением до третьей значащей цифры, отличие значения
изгибающего момента М от нуля получили в третьем знаке, что
закономерно для приближенного вычисления.
Относительную
погрешность вычисления (в процентах) изгибающего момента можно определить таким
образом:
Строим эпюру изгибающих моментов
(рис. 10).
. Расчет на прочность
Балка постоянного сечения,
изготовлена из пластичного материала, поэтому условие прочности имеет вид:
Подбор сечения балки по
сортаменту осуществляем исходя из величины момента сопротивления сечения Wх. Требуемый момент сопротивления сечения получим из условия
прочности:
Таким образом,
минимальное значение момента сопротивления сечения
Рассмотрим определение
размеров поперечного сечения различной формы.
Балка сплошного
кругового сечения (диаметр сечения Dк)
Откуда:
Воспользовавшись
таблицей приложения 2 и учитывая условие
, окончательно принимаем
Площадь полученного
кругового поперечного сечения
Наибольшие нормальные
напряжения в балке сплошного кругового сечения
Балка прямоугольного
сечения (β=h/b=2,8)
Откуда:
Воспользовавшись
таблицей приложения 2 и учитывая условие
, окончательно принимаем
Вычисляем площадь и
момент сопротивления полученного прямоугольного сечения:
Наибольшие нормальные
напряжения в балке прямоугольного сечения:
Два швеллера
Номер швеллера, имеющий
момент сопротивления, наиболее близкий к требуемому
,
определяем по таблице 2 приложения 3 для сортамента прокатной стали. Выбираем
швеллер №12, имеющий момент сопротивления
и площадь сечения
Для двух швеллеров:
Наибольшие нормальные
напряжения в двух швеллерах:
Полученные значения
наибольших нормальных напряжений в балке для всех рассмотренных сечений меньше
допускаемого напряжения.
Эпюры нормальных
напряжений в опасном сечении балки с различной формой поперечного сечения
показаны на рис. 9. В опасном сечении изгибающий момент положительный, что
соответствует положению сжатых волокон сверху от нейтральной линии.
Рис. 9
стержень вал балка эпюра
5. Сравнение площадей поперечных
сечений
|
сечение
|
круг
|
прямоугольник
|
Два швеллера
|
|
Fi, см2
|
70,8
|
44,8
|
26,6
|
|
Fi / Fmin
|
2,66
|
1,68
|
1
|
Наименьшую площадь
сечения имеют два швеллера (
), поэтому два швеллера
обладают наименьшей материалоемкостью по сравнению с равнопрочными балками
другого сечения. (Приведенные в таблице значения отношений Fi / Fmin
показывают выигрыш по массе двух швеллеров). В связи с этим прокатный профиль
является рациональным сечением для балок.
Рациональным является то
сечение, для которого большая часть площади расположена в области максимальных
напряжений, так как в этом случае материал используется наиболее эффективно.
Так, для двух швеллеров основная часть площади сечения находится в полках, где
и действуют максимальные напряжения. Напротив, в балке сплошного круглого
сечения материал используется более нерационально: большая часть площади
сечения расположена вблизи нейтральной линии, где напряжения малы. Балка
прямоугольного сечения всегда будет выгоднее по массе балки сплошного круглого
сечения, хотя материал также распределяется в сечении нерационально.
Рис. 10
Рис. 11