Технология изготовления декоративной косметики
Мурманский
Государственный Технический Университет
Кафедра Менеджмента и Экономики
по предмету: «Основы
современных технологий»
на тему: «Изготовление
декоративной косметики»
|
Выполнил:
|
студент 1 курса, группа НЭ-101
Панов Александр
|
|
Проверила:
|
Корецкая Т.А.
|
2001
Ассортимент средств декоративной
косметики, вырабатываемых промышленностью, разнообразен и включает следующие
виды изделий: губные помады и блеск для губ, тени для век, тушь для ресниц,
лаки для ногтей, маскирующие карандаши, румяна, макияжи и др. По количеству
выпускаемой продукции декоративная косметика занимает одно из ведущих мест в
общем объеме производства косметических средств. Средства по уходу за губами,
особенно губная помада, являются особенно распространенным видом декоративной
косметики. В зависимости от назначения их выпускают гигиенические, для окраски
губ, и специального назначения. Тона разнообразны (более 300) от
светло-морковного до темно-красного с фиолетовым оттенком.
Карандаши губных помад выпускаются в металлических (латунных) или
алюминиевых (анодированных) и пластмассовых пеналах различных конструкций (со
звездочкой, движком, винтовой подачей).
Губные помады должны быть безвредны,
иметь хороший внешний вид, легко наноситься на губы, равномерно их окрашивая,
держаться на губах несколько часов, не крошиться и
не прогоркать. В состав губных помад входят жировая
основа, краситель, растворитель для него, наполнитель и отдушка. Для придания
твердой консистенции и определенной температуры плавления в губные помады
вводят твердые жиры и воски (пчелиный и карнаубский,
церезин), парафин, глицерин, моно-стеарат глицерина, спермацет, а также
высокомолекулярные спирты.
Пчелиный воск (белый или желтый), вводимый в количестве 7— 20 %,
соединяет компоненты губной помады, придает ей твердость (но не жесткость), увеличивает прочность мазка, эластичность, мягкость,
способствует лучшей прилипаемости красителей к
губам. Карнаубский воск. добываемый из листьев бразильской пальмы и имеющий
температуру плавления 84 °С, придает губной помаде
желательную твердость и определенную температуру плавления, но не выше 39 °С.
Температура каплепадения губной помады должна быть
в пределах 50—80 °С.
За рубежом наряду с натуральными восками
широко используются синтетические продукты: неполные эфиры, этилен или пропилен гликоля и предельных жирных кислот
(пальмитиновая, миристиновая, стеариновая) и др.
Озокерит и церезин способны хорошо
связывать жиры и красители, что в сочетании с довольно высокой температурой
плавления и пластичностью делает их незаменимыми компонентами губных помад.
Спермацет придает губной помаде жирность и твердость, хорошо смягчает губы. Высокомолекулярные спирты (цетиловый
спирт) делают мазок губной помады нежным и тонким. Какао-масло придает губной
помаде жирность и блеск.
Моностеарат глицерина является растворителем
красителей эозина и эозиновой кислоты, а также
способствует диспергированию лаковых красителей и
наполнителей. Мазеобразные компоненты губной помады (ланолин и частично гидрированное касторовое масло) придают помаде
пластифицирующие свойства, повышают плотность прилипания мазка к слизистой
оболочке губ. Ланолин хорошо смягчает кожу губ, его вводят от 5 до 20%. Иногда
используется ацетилированный ланолин, который лучше
смешивается с касторовым маслом, чем обычный, и обладает меньшей липкостью.
Свиной жир придает губной помаде мягкость и жирность, улучшает ее вкус.
Касторовое масло, вводимое для растворения эозина (красителя), способствует более равномерному распределению его. Цетиолан может заменить касторовое масло в
производстве губных помад. Вырабатываются простые и трудносмываемые
губные помады.
Простые держатся небольшой промежуток
времени. Они состоят из жировой основы и нерастворимых в воде и жирах красителей.
В трудно-смываемых губных помадах применяются водорастворимые красители: эозин, родамин Ж, родамин С, эритрозин.
В качестве растворителей этих красителей используются, кроме касторового масла, глицерин, диэтилфталат,
полиэтиленгликоли, бутилстеарат,
моностеарат глицерина, пропиленгликольмоноэтиловый
эфир и др.
К губным помадам специального
назначения относятся, например, фотозашитные
(содержащие специальные вещества, защищающие губы от тепловых лучей
ультрафиолетового спектра, вызывающих их высыхание и растрескивание)
и ряд других, в состав которых входят пленкообразующие, противовоспалительные и
биологически активные вещества. За последние годы
на ряде предприятий отрасли внедрены новые автоматизированные и высокомеханизированные установки по производству
губных помад и их розливу, что позволило улучшить
качество губных помад.
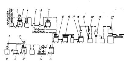
На рис. 26 показана одна из таких технологических схем производства губных
помад. Весь технологический процесс производства состоит из следующих четырех
технологических операций: приготовления жировей основы, пигментной пасты, массы
помады, формовки и фасовки губной помады.
Взвешенные на весах II
красители и наполнители загружают в емкость 12
с мешалкой 9, куда добавляют жидкие компоненты (сорби-танолеат,
парфюмерное масло и т.д.) из емкости 10 насосом 8. Полученную
смесь подвергают вальцеванию на трехвалковой машине 13.
Емкость 15 с профильтрованной
жировой основой и приготовленной пигментной пастой устанавливают под
гомогенизатор 16. Далее готовую массу губной помады насосом 18 через фильтр 20 передают в емкость.
Полуавтоматическая формовка и фасовка
губной помады производятся на линиях фирмы "Антон Олерт"
(ФРГ). Отфильтрованная масса загружается в литьевой
котел 21, а затем дозируется в литьевые
формы. Сформованные карандаши автоматически выталкиваются в пенал. Затем
пеналы с губной помадой подаются на ручную упаковку.
Наряду с полуавтоматическим
производством губных помад на некоторых предприятиях сохраняется еще их выпуск
на ручных конвейерах (см. рис. 25, поз. 23-28).
Отфильтрованная масса загружается в
котел 22 и разливается в металлические формы 23, которые
помещаются на охлаждающий стол 24. После охлаждения формы разбираются и
карандаши губной помады укладываются в
металлические подносы 25, которые передаются на конвейер 26 для фасовки в пенал 27 и упаковки в коробки 28.
Пудра. Она относится к числу изделий
декоративной косметики пользующейся большим спросом у потребителя. Ее
вырабатывают в порошкообразной, жидкой и спрессованной компактной форме. Это ароматизированная тонкодисперсная
однородная смесь минеральных и органических веществ, предназначенная для
улучшения цвета лица, для защиты кожи от вредных влияний среды и впитывания
выделений кожи.
Пудра должна легко впитывать
выделения кожи, чтобы устранить блеск кожи, особенно носа, и оставлять легкий
слой, под которым кожа выглядит матовой, бархатистой. Пудра должна обладать
достаточной кроющей способностью, маскировать дефекты кожи. Для этого в ее сос-
тав вводят окись цинка, двуокись
титана и каолин. Пудра должна плотно прилегать к коже, не осыпаться при
движении воздуха и относительно долго держаться на лице. Решающую роль здесь
играют стеара-ты цинка и магния и отчасти каолин.
Хорошая шелковистость, бархатистость, жирность и легкость пудры достигаются введением
в нее стеа-ратов (5-15 %).
Пудра должна скользить по коже. Для этого в нее добавляют 30—50 % чистого
белого талька.
Широко распространены пудры белого,
розового, желтоватого (рашель), желтовато-розового
цветов, а также цвета загара и персика. Для окрашивания пудры применяют
красители неорганические (сиена, железоокисные
пигменты желтый и красный и др.), органические
(эозин, лак красный ЖБ, краски косметические), минерального и синте -тического происхождения.
Чтобы пудра имела приятный запах, в
нее добавляют соответствующую данному названию отдушку.
Ассортимент отечественной пудры
насчитывает более 30 наименований. По ОСТ
18-249-75 пудра в зависимости от качества подразделяется на 3 группы: экстра,
группы 1 и II. Для получения пудры группы экстра дополнительно
измельчают исходное сырье или всю пудровую массу.
Пудру группы 1 просеивают через сито № 73 (сетка капроновая), группы II - через сито № 61 (сетка капроновая). В
зависимости от назначения и состава пудра групп 1 и II вырабатывается для сухой
и жирной кожи. Пудра группы экстра предназначена для нормальной, сухой и жирной
кожи. Различие между ними заключается в содержании компонентов в рецептурах.[1]
В зависимости от агрегатного
состояния частиц пудру изготовляют россыпью (в коробочках и пакетах), спрессованную компактной мае
-сой в специальной упаковке, кремообразную (в тубах
и банках) и жидкую (во флаконах) следующих цветов: белая, розовая, светлая
рашель, рашель, загар светлый и темный и др.
Процесс приготовления всех видов пудр
(за исключением кремооб-разной и жидкой) сводится в
основном к смешиванию всех ее ингредиентов с последующим
просевом на ситах (имеющих 3600 отверстий на 1 см)
или смешивание и измельчение на соответствующих мельницах, компактной — к
смешиванию и прессованию. Процесс приготовления рассыпной пудры группы экстра с
применением виброизмельчения (фабрика "Новая Заря") (рис. 27) состоит
из операций транспортировки и отвешивания
компонентов, предварительного просеивания, смешивания, измельчения и
транспортировки готовой пудры на фасовку.
В сборник /,
установленный на весах, отвешивают компоненты пудры в соответствии с ее
рецептурой. Посредством аэрозольтранспор-та
2 подготовленная масса подается в приемную воронку 3, затем через
шлюзовой затвор 4 и материалопровод5 - в циклоны 6. В дальнейшем через шлюзовой
затвор 7 масса попадает на вибросито 8 и роторный смеситель 9.
После тщательного перемешивания пудровая масса с
помощью классификатора 12, измельченная на вибромельнице 10 до
величины частиц 6-12 мкм, направляется в приемный
циклон 13. Пылевидные частицы, отсасываемые вентилятором II из
циклона 13, поступают в вибромельницу 10.
Подготовленная масса через бункер 14 направляется на фасовочный автомат 15. Для приготовления компактной пудры
используется аналогичное сырье с добавлением в
качестве связующих агентов декстрина, патоки, геля из крахмала и жировой
добавки (ланолин, гидрированные спирты, спермацет,
пчелиный воск, пентол и косточковое масло).
Технологическая схема приготовления
компактной пудры, заимствованная из зарубежного опыта
(Франция), приведена ка
рис. 28. Сырье со склада подается пневмотранспортом в пять бункеров 7, 2, 3,
4, 5. На весах 15 и 13 в переносных бочках 14 отвешиваются заданные по рецептуре
количества краски и каолина, смешиваются в краскотерке II и хранятся в
бачке 12. В дальнейшем готовая краска по мере надобности из бачка 12
специальным транспортером 16 подается в бункер 17. Дозирование отдушки осуществляется дозатором 18, установленным на шнек-смесителе 19.
Заготовка и дозирование компонентов для компактной и рассыпной пудры
аналогичны. Из бункеров 1-5 компоненты поступают на автоматические весы б,
7, 8, 9, 10, а после взвешивания — в шнек-смеситель 19, куда
поступают краситель и отдушка. Пудровая смесь шнеком 20 подается в бурат27 и после просеивания (грубое классифицирование
частиц по размеру) направляется в передвижной бачок 22. В дальнейшем
технология различная. Приготовленная исходная пудровая масса может поступать в
производство рассыпной и на дальнейшую переработку для приготовления компактной
пудры. В последнем случае пудровая масса и связующие компоненты с помощью
спирального транспортера 23 подаются из бачка 22 в центробежный
смеситель 24, снабженный рубашкой, куда подается холодная вода для
охлаждения. В смеситель подаются также жидкая МаКМЦ
и ком-пактирующие добавки. В нем осуществляется
интенсивное перемешивание и дополнительное измельчение компонентов массы.
Измельченная масса с помощью шлюзового затвора 25 и приемника 31 попадает на классификационную установку,
разделяющую исходную массу пудры на три части:
частицы, размер которых превышает 20^-30 мкм после разделения на сите, возвращаются через
шлюзовой затвор 28 с помощью спирального транспортера 27 в смеситель 24
для дополнительного измельчения;. частицы размером
менее 2 мкм аспирируются и осаждаются в фильтрах 26,
выводятся из схемы для использования в других изделиях (детские присыпки,
тальки и т. д.);
частицы размером от 3 до 20 мкм (оптимальный размер частиц, обладающих хорошей
кроющей способностью и не закупоривающих поры кожи) из бункера 29 спиральным
шнеком 32 подаются в бункера 33, из которых по мере необходимости
попадают на машину 34 для компак-тирования,
осуществляемого в металлические чашечки, поступающие из питателя. На узле
прессования в чашечку запрессовывается пудра, после чего чашечка из машины
выводится на ручной конвейер 35 для сборки пудреницы, укладки и
закрепления чашечек в пудреницах. Во избежание пыления
в цехе вся классификационная установка аспирируется
с помощью вентилятора 30.
Жидкая пудра представляет собой
суспензию обычной пудры в водно-глицериновом растворе с незначительными
добавками спирта, жиро-подобных компонентов (спермацет, стеарин, парфюрмерное масло, мо-ностеарат
глицерина и др.). Эту пудру приготовляют в
аппарате, снабженном мешалкой рамного типа. Полученная суспензия в зависимости
от вязкости фасуется на автоматах розлива жидкостей
или тубонаполни-тельных машинах.
Кремообразная пудра или тональные кремы позволяют
замаскировать незначительные дефекты кожи лица и придают ей здоровый, свежий и
привлекательный вид, а также желаемый оттенок. Эти кремы представляют собой
сложную коллоидную систему - эмульгосуспензию. Чрезвычайно важную роль в таких
системах играют поверхностно-активные вещества, действие их многообразно и
сложно,
В отличие от кремов косметических технология
приготовления тональных кремов включает дополнительную стадию приготовления
суспензии красителей.
Отвешенные на весах 1 жировые компоненты загружаются в передвижную
емкость 3, которая устанавливается под настенной мешалкой 2.
Расплавленную массу из промежуточной емкости 4 перекачивают насосом 5
через фильтр 6 в емкость 7. Одновременно в емкость 15 загружают красители, пленкообразующие
компоненты, расплавленную жировую основу и проводят эмульгирование
массы в гомогенизаторе 16. Готовая маем из сборника 77 через
фильтр 20 насосом 18 подается
в емкость 19 и пропускается через коллоидную мельницу 21. Далее
готовая масса подается в машину для автоматического наполнения и укупорки.
Пигментная паста и жидкий краситель,
отвешенные на весах II, компонент из емкости 10
насосом 8 подаются в емкость 12 с мешалкой 9. Полученную смесь
подвергают вальцеванию на трехвалковой машине 13 и готовую пигментную
пасту добавляют в емкость 14.
Тени для век и средства для наведения
теней под глазам и. Их применяют для оттенка глаз и
придания им "глубины". Тени вырабатываются различных цветов и
оттенков в виде паст, карандашей и в компактном виде. Тени в виде паст и
карандашей состоят из основы (смеси жировых, воскообразных
веществ и нефтепродуктов) и красителей. Технология приготовления изделий в виде
паст и карандашей и аппаратурное оформление процесса производства и фасовки
аналогичны производству губной помады.
Получение теней для век (компактных)
аналогично получению компактной пудры.
Карандаш для бровей. Он предназначен
для подкраски и подчеркивания бровей, а также придания им желаемой формы.
Карандаш представляет собой окрашенную ароматизированную
смесь восков, жиров и красителей. Цвета карандаша — черный, коричневый и синий.
Технология приготовления его аналогична процессу производства и упаковки губных
помад.
Лак и паста для ногтей. Лак для
ногтей — бесцветные или окрашенные растворы нитроцеллюлозы
в органических растворителях -предназначен для придания ногтям блеска и
окраски. Материалом для приготовления лака служит целлулоид, коллоксинин и др. В качестве растворителей применяют
амиловый эфир уксусной кислоты, ацетон,




[1]
В рецептуры пудр для сухой кожи входят компоненты,
повышающие жирность кожи (стеараты и др.). а в
пудры для жирной кожи - компоненты, обеспечивающие
впитывание выделений кожи.