Эксплуатация и принципиальная схема фронта слива железнодорожной станции 'Грузовая'

  • Вид работы:
    Дипломная (ВКР)
  • Предмет:
    Транспорт, грузоперевозки
  • Язык:
    Русский
    ,
    Формат файла:
    MS Word
    1,4 Мб
  • Опубликовано:
    2014-04-23
Вы можете узнать стоимость помощи в написании студенческой работы.
Помощь в написании работы, которую точно примут!

Эксплуатация и принципиальная схема фронта слива железнодорожной станции 'Грузовая'

Введение

Эксплуатация и принципиальная схема фронта слива железнодорожной станции «Грузовая».

Цель выпускной работы является, изучить железнодорожную станцию «Грузовая» и рассмотреть какими способами перевозится нефть, нефтепродукты, а так же какими способами сливают нефть.

Задачами выпускной квалификационной работы являются:

изучить общие характеристики станции «Грузовая»;

рассмотреть способы и средства доставки нефти железнодорожным транспортом;

рассмотреть сливоналивные устройства для железнодорожного транспорта;

разобрать схемы железнодорожных путей нефтебазы.

Грузовая станция играет большую роль в перевозочном процессе. В настоящее время при анализе работы грузовых станций выявляются ряд негативных факторов, такие как, большие простои, которые ведут к снижению перерабатывающей способности. Решение этих задач предусматривается по двум основным направлениям:

во-первых, это повышение эффективности эксплуатационной работы железнодорожной станции;

во-вторых - развитие инфраструктуры железнодорожной станции.

При разработке предложений и мероприятий по изменению технологии работы грузовой станции в основу поставлены следующие задачи:

обеспечение качества процессов и безопасности перевозок;

достижение финансовой устойчивости и эффективности;

сокращение времени переработки и доставки грузов;

увеличение перерабатывающей способности станции;

высвобождение контингента за счет внедрения технических средств.

1. Общая характеристика станции «Грузовая»

.1 Техническая и эксплуатационная характеристика работы станции

Техническая характеристика станции включает:

краткое описание путевого развития с указанием специализации парков и числа путей в них, наличия вытяжных путей, сортировочных устройств, размещения служебно-технических зданий, локомотивного, вагонного и грузового хозяйства, промывочно-пропарочного предприятия, подъездных путей, наличия и размещения постов проверки; количеств и серии маневровых локомотивов, районы и характер их работы; средства связи; специализацию и емкость мест общего пользования, а также подъездных путей с приложением схемы станции в "рыбках";

по подъездным путям налива или слива нефтепродуктов, обслуживаемым локомотивом железной дороги, - характеристику каждого в отдельности фронта налива или слива, вместимость путей и фронт одновременного налива или слива в вагонах, количество и производительность наливных или сливных устройств, средства перемещения вагонов под эстакадой, схему связи с пунктами налива или слива;

по подъездным путям налива или слива нефтепродуктов, обслуживаемым собственными локомотивами предприятия, - описание каждого подъездного пути, содержащее общую характеристику основных грузовых фронтов и их производительность; рабочий парк и серии маневровых локомотивов; схему связи между станцией примыкания и подъездными путями; средства связи при движении поездов.

Эксплуатационная характеристика работы станции содержит: характер и объем грузовой и коммерческой, поездной и маневровой работы; категории поездов и вагонов, подвергающихся обработке на станции согласно плану формирования и графику движения; по пунктам налива и слива указываются размеры налива и слива по каждому пункту в отдельности и по роду нефтегруза, интервалы, размеры подачи под налив и слив цистерн и уборки их, режим работы пункта налива, порядок формирования отправительских и технических маршрутов, равномерность налива и слива по периодам суток и дням недели и др.

1.2 Строительство станции «Грузовая» и подъездных путей к ней

Станция Грузовая - название нефтеперегрузочного железнодорожного подъездного пути не общего пользования, принадлежащего «Востокнефтетрансу» - дочерней компании «Транснефти».

Примыкает к железнодорожной станции Хмыловский на линии Угловая - Мыс Астафьева Дальневосточной железной дороги. Предназначена для выгрузки сырой нефти, прибывающей по железной дороге со станции Сковородино в рамках проекта «Восточная Сибирь - Тихий океан», в «Спецморнефтепорт Козьмино».

Построена в 2009 году «Центральным управлением проектом Восточная Сибирь - Тихий океан» в районе 10-го километра участка Хмыловский - Находка - Восточная. При строительстве станции были увеличены пропускные мощности Находкинского транспортного узла:

возведён путепровод в районе чётной горловины станции Находка;

уложен второй железнодорожный путь на мосту через реку Партизанская;

построен второй главный путь от станции Находка до Хмыловского разъезда, [1].

Инвестором и заказчиком строительства станции выступила «Транснефть». Первый состав был разгружен 22 октября 2009 года, [2].

Станция состоит из двух парков: парка приёма и парка отправления, включающие 5 и 6 электрифицированных путей соответственно. Две железнодорожные эстакады состоят из 4-х путей, вмещают по 36 вагонов каждая. Эстакады рассчитаны на одновременную подачу и слив 144 вагонов, что обеспечивает ежесуточный приём 10-11 составов с нефтью. Эстакады эксплуатирует «Спецморнефтепорт Козьмино». Среднесуточная выгрузка составляет 720 вагонов. От эстакад нефть сначала поступает в резервуары, а затем направляется по 23-километровому подземному трубопроводу, проложенный к нефтебазе в район бухты Козьмино, [3],[4].

Специальный морской нефтеналивной порт «Козьмино» предназначен для приемки нефти по железной дороге на железнодорожную станцию «Грузовая», слива нефти с железнодорожных цистерн на площадке железнодорожных эстакад в районе села Хмыловка, перекачки нефти на нефтебазу в районе посёлка Козьмино, хранения нефти и налива нефти в морские танкеры для дальнейшей транспортировки потребителям.

Компания «Востокнефтетранс» эксплуатирует станцию на правах собственности и аренды. Коллектив «Востокнефтетранса» в полном объеме осуществляет весь цикл обслуживания и эксплуатации железнодорожной и общепроизводственной инфраструктуры, а также полностью обеспечивает процесс управления движением поездов и маневровой работой в пределах принадлежащего ему пути необщего пользования. «РЖД» оказывает услуги по подаче-уборке вагонов со станции примыкания Хмыловский путём пропуска на пути станции Грузовая организованных грузовых поездов с электровозной тягой и применением подталкивания. К эксплуатации непосредственно станции Грузовая и обработке путей железнодорожных эстакад «РЖД» отношения не имеет.

С окончанием строительства нефтепровода «Восточная Сибирь - Тихий океан» в бухте Козьмино, ориентировочно в 2014 году, потребность в перевозке нефти железной дорогой для специализированного порта исчезнет. Станцию предполагается перепрофилировать в контейнерный терминал либо в терминал по перевалке генеральных грузов для порта Восточного. Она также может быть задействована при строительстве «Приморского нефтеперабатывающего завода» под Хмыловкой, [5].

Грузовая станция - раздельный пункт, предназначенный в общем случае для приёма к перевозке, взвешивания, кратковременного хранения, погрузки, выгрузки, сортировки и выдачи грузов, оформления перевозочных документов, приёма, расформирования, формирования и отправления грузовых поездов и передач вагонов, производства маневровой работы по подаче вагонов на грузовые фронты и уборке их, обслуживания подъездных путей и организации транспортно-экспедиционного обслуживания клиентуры.

Крупные Грузовые станции предусматриваются, обычно для обслуживания больших городов при значительном, объёме грузовой работы с учётом рационального использования всех видов транспорта. Передачи короткопробежных перевозок на автомобильный транспорт, ликвидации мало деятельных подъездных путей, концентрации грузовой работы на меньшем числе станций и создания единой транспортной сети для обслуживания города, промышленных и других предприятий. Расположение Грузовой станции должно обеспечивать удобную автодорожную связь с обслуживаемым городом или промышленном предприятии, возможность устройства пересечения железнодорожных путей, соединяющих Грузовую станцию с сортировочной станцией в разных уровнях, удобную передачу вагонов с сортировочной на грузовую станцию. Путевое развитие и размещение основного устройства Грузовой станции, должны обеспечивать:

поточность передвижения вагонов и локомотивов по станции;

сосредоточение сортировочной работы по расформированию, формированию поездов и передач, подборке вагонов на грузовые фронты на одном сортировочном устройстве (если это позволяет заданный объём работы);

применение комплексной механизации и автоматизации погрузочно-выгрузочных работ;

минимальные пробеги автомобильного транспорта;

экономию земель, занимаемых станцией, и наименьшее протяжение инженерной коммуникаций.

На Грузовой станции предусматривается потребное число приемоотправочных путей и сортировочных путей для приёма и отправления поездов с местными вагонами, подборки вагонов по погрузочно-выгрузочным фронтам, а при необходимости, также пути для приёма и отправления транзитных поездов. Сооружаются специальные сортировочные устройства - профилированные вытяжные пути со стрелочными горловинами на уклонах или площадке, а также сортировочные горки малой мощности. При погрузке и выгрузке навалочных и насыпных грузов сооружается весовой путь с вагонными весами. На Грузовой станции, имеющих на грузовых фронтах для погрузки и выгрузки грузов устройства точечного типа, где использование маневрового локомотива нецелесообразно, для перемещения вагонов вдоль грузового фронта используются вагонотолкатели, электрические лебёдки, электрошпили и т. п.

Оформление и обработка поездных документов, сбор комплексной информации о подходе поездов, вагонов и грузов, подготовка данных для оперативного планирования работы на Грузовой станции осуществляются в станционном технологическом центре, размещённом в районе парков путей, поблизости от основного маневрового района. Схема устройства Грузовой станции и место её расположения выбираются на основе технико-экономических расчётов в результате сравнения вариантов с учётом последующего развития, размеров и характера работы, площади отводимой территории, топографических, геологических и прочих местных условий, а при развитии станций - также с учётом наиболее полного использования существующих устройств.

Транспортирование энергоносителей по железной дороге производится в специальных цистернах или в крытых вагонах в таре. Конструктивно цистерна состоит из следующих основных частей (рисунок 1), рамы 7, ходовой части 6, ударнотяговых устройств 5, тормозного оборудования 8, котла 4, внутренней 3 и наружной 10 лестниц, устройств крепления котла к раме 11, горловины 1 и сливного прибора 9, предохранительной арматуры.

Рисунок 1 -Цистерна для перевозки бензина и светлых нефтепродуктов (модель15-1443): 1-горловина, 2-предохранительная арматура, 3-внутренняя лестница, 4-котел, 5-ударнотяговые устройства, 6 - ходовая часть, 7-рама, 8-тормозноеоборудование, 9-сливной прибор, 10-наружная лестница, 11-устройства крепления котла к раме

Рама служит для восприятия тяговых усилий, ударов в автосцепку, а также инерционных сил котла, возникающих при изменении скорости движения цистерны. По типу ходовой части различают 4-х и 8-ми осные цистерны .

На большинстве цистерн устанавливается бессекционный котел, который состоит из цилиндрической части и двух днищ. Котел крепится к раме с помощью специальных болтов, а по краям - четырьмя хомутами с муфтами и натяжными болтами. В верхней части котла цистерн для нефти и нефтепродуктов смонтирован колпак с люком, предназначенный для их загрузки, а в нижней - сливной прибор для их выгрузки. Загрузка и выгрузка сжиженных газов производится через специальные патрубки с вентилями. Предохранительная арматура служит, в основном, для предотвращения разрушения котла цистерн при повышении давления.

Строительство станции Грузовая и подъездных путей к ней было выделено в отдельный проект, заказчиком которого является "Транснефть". Новая станция появилась в районе 10 километра участка Хмыловский - Находка-Восточная, недалеко от бывшего обгонного пункта дороги. Данная станция состоит из двух парков (парк приема и парк отправления), имеется две двусторонние сливные эстакады вместимостью по 72 вагона (36 вагонов с одной стороны, 36 вагонов с другой стороны). Таким образом, в парке приема насчитывается 5 путей, а в парке отправления - 6. Станция может выгружать до 720 цистерн ежесуточно, что делает ее одной из крупнейших в стране специализированных станций по сливу наливных грузов.

.3 Виды Грузовых станций

В зависимости от основного назначения и характера работы различают следующие Грузовые станции:

неспециализированные и специализированные общего пользования;

необщего пользования для обслуживания подъездных путей;

перегрузочные станции;

портовые;

паромные и линейные Грузовые станции.

Неспециализированные Грузовые станции общего пользования предназначаются для переработки тарных, штучных, перевозимых в контейнерах, некоторых навалочных и др. грузов. Эти станции сооружаются в крупных городах для обслуживания населения и предприятий, в первую очередь не имеющих подъездных путей. Грузовые станции общего пользования должны обеспечивать:

круглосуточный приём и отправление поездов;

формирование и расформирование составов с подборкой вагонов по грузовым фронтам;

круглосуточное выполнение грузовых и коммерческих операций;

подготовку вагонов под погрузку;

экипировку маневровых локомотивов.

На некоторых Грузовых станциях может осуществляться также пропуск транзитных грузовых и пасс, поездов. В необходимых случаях выполняется сортировка мелких отправок, прибывающих в сборных вагонах, взвешивание вагонов, экипировка поездов и секций с машинным охлаждением, отцепочный ремонт вагонов, обслуживание подъездных путей. Для производства операций по погрузке, выгрузке и хранению на Грузовых станциях имеется грузовой район. Предусматривается централизованный завоз и вывоз грузов автомобильным транспортом. Грузовые станции общего пользования бывают сквозные и тупиковые. Выбор схемы Грузовой станции зависит:

от объёма выполняемой работы;

имеющейся станционной площадки;

типа станции (сквозная или тупиковая);

типа грузового района (тупиковый или комбинированный);

места расположения подъездных путей к предприятиям, складам и др. Специализированные Грузовые станции общего пользования предназначаются для массовой погрузки или выгрузки однородных грузов (например, угля, руды, минерально-строительных материалов, нефтепродуктов, леса и лесоматериалов, зерна, контейнеров) в пунктах добычи или в крупных городах и промышленных центрах.

Число погрузочно-выгрузочных путей, взаимное расположение устройств, размеры контейнерных площадок зависят от объёма работы, типа контейнеров и средств механизации. Грузовые станции, обслуживающие подъездные пути, сооружаются при наличии большого числа примыкающих предприятий, баз и складов.

На сегодняшний день, согласно техзаданию, завершена реконструкция контактной сети на перегонах Кузнецово - Находка, Находка - Хмыловский. Также окончен монтаж контактной сети. Кроме того, построен второй главный путь на участке Находка - Хмыловский, два дополнительных приемоотправочных пути и пост электрической централизации на разъезде Хмыловский. За счет выполненной надстройки старое здание поста ЭЦ по своим размерам фактически увеличено втрое. В новых помещениях произведен монтаж современного оборудования - микропроцессорной системы централизации стрелок и сигналов.

В районе села Екатериновка, где железная дорога расходится на Находку и порт Восточный, возведена путепроводная развязка в разных уровнях. От нее проложен второй путь до разъезда Хмыловский и построен дополнительный железнодорожный мост через реку Партизанская. При его строительстве на Дальнем Востоке была впервые применена новая конструкция верхнего строения пути. Обычно на таких металлических мостах под шпалы укладываются деревянные поперечные брусья или плиты безбалластного мостового полотна. Здесь же езда будет осуществляться по балласту. На мосту предусмотрено металлическое балластное корыто, которое заполняется щебнем. Содержание такого полотна менее затратно. По мере загрязненности балласта можно использовать щебнеочистительные машины, которые применяются при эксплуатации и содержании пути.

2. Способы и средства доставки нефти железнодорожным транспортом

.1 Перевозка в железнодорожных цистернах

Нефть и нефтепродукты перевозятся в железнодорожных цистернах, грузоподъемность которых 25,50,60,90 и 120 т. (м3). Наибольшее распространение имеют четырехосные цистерны объемом 50 и 60 м3.

Вагоны-цистерны формируют поезда, называемые наливными маршрутами. При маршрутной доставке нефтепродуктов наиболее полно используются железнодорожные цистерны, обеспечивая максимально возможное снижение времени простоя их под сливом и наливом.

Современные типы железнодорожных цистерн оборудуются универсальными сливными приборами диаметром 200 мм, устанавливаемыми в нижней части котла цистерны, что обеспечивает полный слив нефтепродукта.

Цистерны, предназначенные для перевозки высоковязких застывающих нефтепродуктов, оборудуют наружными паровыми рубашками или внутренними устройствами для подогрева. Наличие паровой рубашки способствует уменьшению времени простоя цистерн под сливом и сводит до минимума остатки продукта. Паровая рубашка обеспечивает подогрев пограничного слоя застывшего нефтепродукта, без разогрева остальной его массы при минимальном расходе пара.

Паровую рубашку устанавливают в нижней части котла на расстоянии около 30 мм от стенки цистерны с зазором, в которой поступает пар для разогрева нефтепродукта перед сливом. Пар подается через паровую рубашку сливного прибора, а конденсат отводится через патрубки паровой рубашки цистерны.

Цистерны с внутренними подогревателями обычно снабжены наружной теплоизоляцией (цистерны - термосы) для уменьшения тепловых потерь, когда цистерна находится в пути, а также когда в ней разогревают высоковязкий нефтепродукт перед сливом. Для предохранения теплоизоляции от механических повреждений её защищают снаружи кожухом из кровельного железа. Подача пара во внутренний трубчатый подогреватель и отвод конденсата осуществляется по специальным патрубкам, выведенным наружу.

На нефтебазу цистерны, а также вагоны с тарными и вспомогательными грузами подают к железнодорожной магистрали у ближайшей станции.

.2 Виды цистерн для перевозки нефти и нефтепродуктов

Различают следующие виды цистерн

цистерны специального назначения, в основном предназначены для перевозки высоковязких и высокопарафинистых нефтей и нефтепродуктов;

цистерны с паровой рубашкой, отличаются от обычных тем, что нижняя часть у них снабжена системой парового подогрева с площадью поверхности нагрева около 40 м2;

цистерны-термосы предназначены для перевозки подогретых высоковязких нефтепродуктов, они покрыты тепловой изоляцией, а внутри котла у них установлен стационарный трубчатый подогреватель с поверхностью нагрева 34 м2;

цистерны для сжиженных газов рассчитаны на повышенное давление (для пропана - 2 МПа, для бутана - 8 МПа). Объем котла современных цистерн составляет от 54 до 162 м3, диаметр - до 3,2 м.

В качестве тары при перевозке нефтегрузов в крытых вагонах используются бочки (обычно 200 литровые) и бидоны. В бочках транспортируются светлые нефтепродукты и масла, а в бидонах - смазки.

Достоинствами железнодорожного транспорта являются:

возможность круглогодичного осуществления перевозок;

в одном составе (маршруте) могут одновременно перевозиться различные грузы;

нефть и нефтепродукты могут быть доставлены в любой пункт страны, имеющий железнодорожное сообщение;

скорость доставки грузов по железной дороге примерно в 2 раза выше, чем речным транспортом.

К недостаткам железнодорожного транспорта относятся:

высокая стоимость прокладки железных дорог;

увеличение загрузки существующих железных дорог и как следствие - возможные перебои в перевозке других массовых грузов;

холостой пробег цистерн от потребителей нефтегрузов к их производителям.

.3 Схемы слива из железнодорожных цистерн

Оборудование всех железнодорожных цистерн новыми универсальными сливными приборами создало условие для широкого внедрения на нефтебазах закрытого (герметизированного) нижнего слива не только высоковязких, но и маловязкпх нефтепродуктов (бензин, керосин, дизельное топливо и др.). Разработаны различные конструкции устройств для нижнего слива.

Представлена одна из конструкций устройств нижнего слива (рисунок 2), состоящая из неподвижного патрубка 1 для присоединения к сливному коллектору, отвода 2, шарнирно сочлененного трубопровода 3 и соединительной головки 4. Последняя подключается к патрубку сливного прибора цистерны при помощи захватов. Легкость горизонтального перемещения отдельных звеньев устройства достигается установкой между фланцами шарниров с шариковыми подшипниками. Представлены схемы различных способов нижнего слива исходя в соответствии с приложением 6, схемы различных способов налива нефтепродуктов в цистерны в соответствии с приложением 7.

Выбор каждого из приведенных способов определяется различными физическими свойствами нефтепродуктов, климатическими условиями, требованиями сохранения качества, ускорения слива, удешевления работ, а также топографическими условиями площадки.

Рисунок 2 - Устройство для нижнего слива нефтепродуктов из железнодорожной цистерны: 1 - неподвижный патрубок, 2 - отвод, 3 - шарнирно солнечный трубопровод, 4 - соединительная головка

Некоторая часть нефтепродуктов транспортируется и хранится в мелкой таре. В качестве нефтяной тары применяют стальные и деревянные бочки, барабаны, бидоны, стеклянные бутыли и контейнеры из полимерных материалов. Тару выбирают в зависимости от свойств нефтепродуктов, от дальности перевозок и вида транспорта. Конструкция и материал тары должны обеспечивать сохранение количества и качества нефтепродукта при хранении и транспортировке. Хранение нефтепродуктов в таре осуществляется в специальных хранилищах, степень огнестойкости которых должна быть не ниже II категории при хранении нефтепродуктов с температурой вспышки до 120° С и не ниже III категории при хранении горючих нефтепродуктов.

3. Сливоналивные устройства для железнодорожного транспорта

.1 Сливной прибор

Сливной прибор имеет внутренние и наружный затвор, рассмотрим в приложении 6. Внутренним является клапан 9, наружным - крышка 6 с уплотнительными резиновым кольцом, укрепленная на скобке и прижатая в рабочем состоянии к патрубку корпуса нажимным винтом 4. Для предотвращения самопроизвольного открытия крышка имеет стопорную гайку 5 с рукояткой.

В зависимости от характера проводимых операций подъездные железнодорожные пути разделяются на: основные, предназначенные для слива и налива нефти и нефтепродуктов; вспомогательные - для разгрузки или погрузки тарных грузов и других вспомогательных материалов; обгонные - для маневровых работ.

Сливно-наливные устройства располагают на прямом участке железнодорожного пути, протяженность которого зависит от объема сливно-наливных операций, однако принимается не более максимальной длины одного маршрутного состава железнодорожных цистерн. При двустороннем сливно-наливном устройстве, то есть при расположении их на двух смежных путях, расстоянии между ними принимается по габариту приближения строений к железнодорожным путям. Расстояние от сливно-наливных устройств до других путей, по которым предусматривается движение паровозов, из противопожарных соображений принимается не менее 20 м.

Нефтепродукты всех видов перевозит по железным дорогам в соответствии с «Правилами перевозок грузов». Этими правилами предусмотрен порядок формирования железнодорожных цистерн в маршруты (или партии), условия перевозок нефтегрузов, подачи железнодорожных маршрутов под слив и налив на эстакады, правила сдачи наполненных маршрутов по железной дороге, нормы времени на погрузочно-разгрузочные операции, а также основные требования к технической эксплуатации.

.2 Слив самотеком и герметичный слив вязких нефтепродуктов из цистерн

В практике эксплуатации нефтебаз применяют различные системы слива и налива нефти и нефтепродуктов в железнодорожные цистерны, которые подразделяются на две основные группы.

К первой группе относится принудительный способ слива - налива при помощи насосов. Ко второй группе относится самотечный слив - налив. Слив налив при помощи насосов применяют, когда по условиям рельефа местности расположения резервуаров и схему коммуникации трубопроводов исключается применение самотечного слива, рассмотрим в приложении 4.

В приложении 4 представлена схема самотечно-герметичного слива, осуществляемого через нижний сливной прибор, и самотечно-сифонного слива, осуществляемого через горловину железнодорожной цистерны. В этом случае резервуар располагают на более низких отметках по отношению к железнодорожной цистерне и слив осуществляют за счет гидростатического напора, т.е. разности уровней жидкости в сливаемой и наливаемой емкостях. Эта схема трубопровода от предыдущей отличается лишь отсутствием насоса.

Так же в приложении 4 представлена схема открытого самотечного слива отличается тем, то слив из железнодорожной цистерны осуществляют через сливной прибор по переносным лоткам, откуда нефтепродукт поступает в желоб и далее по отводной трубе в сливной («нулевой») резервуар, из которого он перекачивается в основные резервуары нефтебазы. В связи с тем, что система эта является негерметичной и представляет известную пожарную опасность, её применяют в основном для слива мазута.

Закрытый самотечный слив (приложение 4) проводят также через нижний сливной прибор и герметичное устройство, присоединяемое к закрытому межрельсовому желобу из которого нефтепродукт откачивается насосом в резервуары нефтебазы.

Известны и другие способы слива, например самотечный слив под давлением, когда для ускорения слива в цистерне создается повышенное давление путем подачи сжатого воздуха, пара или инертного газа, а также принудительный слив при помощи погружного насоса, опускаемого внутрь цистерны.

При открытом самотечном сливе высоковязких и высокозастывающих нефтепродуктов используются сливные лотки. Лоток имеет наружную стенку 4 и внутреннюю стенку 3, которые образуют паровую рубашку. При межрельсовом сливе высоковязких нефтепродуктов используются установки нижнего слива СПГ-200 (приложение 5). В нерабочем состоянии присоединительная головка 4 находится внутри обоймы 7. При присоединении к сливному прибору головка 4 поднимается вместе с гофрированным рукавом 8 и патрубком 10, после чего фиксируется с помощью зажимов 5.

.3 Принципиальные схемы исполнения сливного желоба

Принципиальные схемы исполнения сливного желоба приведены в приложении 4. При двустороннем открытом самотечном сливе желоб 6 расположен между путями. При сливе нескольких сортов высоковязких нефтепродуктов он делится на ряд отсеков, от каждого из которых идут трубопровода 3 к «нулевым» резервуарам 1, имеющим фильтр. Вдоль эстакады 4 проходит паропровода 5, от которого отходят пароразводящие трубы 7. При межрельсовом сливе из желоба 6 нефтепродукт попадает в сборный колодец и, пройдя решетку, поступает по сливному желобу 3 в «нулевой» резервуар 1.

В обоих случаях целесообразно применение желобов-коллекторов, снабженных паровой рубашкой: подогретые высоковязкие нефтепродукты не образуют все увеличивающейся корки на стенках коллекторов.

Для герметизированного слива-налива высоковязких нефтепродуктов используют установку АСН-8Б с шарнирно-сочлененным соединением труб, оборудованные пароподогревом и наличием паровой рубашки, с помощью которой можно подогревать сливаемый нефтепродукт и пропаривать внутреннюю полость сливного прибора цистерны в зимнее время, рассмотрим в приложении 5.

Для верхнего слива и налива одиночных цистерн применяется сливоналивные стояки с ручным насосами. Такие стояки устанавливают главным образом на небольших распределительных нефтебазах. Расстояние между отдельными стояками должно быть равным 4 м, что обеспечивает обслуживание цистерн разных типов без переформирования составов.

Слив и налив железнодорожных цистерн стремятся осуществлять в возможно короткое время, чтобы не задерживать подвижной состав. Предельные сроки слива и налива, установленные «Правилами сроки слива и налива, установленные «Правилами перевозок грузов Министерства путей сообщения СССР» для цистерн грузоподъемностью 20 т, составляют 2 ч. Однако при сливе вязких и застывающих нефтей и нефтепродуктов из цистерн, которые требуется разогревать в холодный период года, отводиться дополнительное время на разогрев, т.е. 2-10 ч. Для слива и налива одиночных железнодорожных цистерн (до трех цистерн) сооружают одиночные стояки, а для слива партий и целых маршрутов - односторонние (для 3-6 цистерн) и двусторонние (более 6 цистерн) сливно-наливные эстакады. Железнодорожные эстакады сооружают для нефти, светлых и темных нефтепродуктов и масел, конструктивно различающихся в связи с особенностями слива этих нефтепродуктов. По характеру проводимых операций эстакады бывают сливными, наливными или комбинированными, т.е. когда они предназначены как для слива, так и для налива нефти и нефтепродукта.

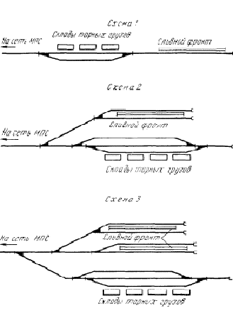
. Схема железнодорожных путей нефтебазы

Для проведения погрузки и разгрузки нефтепродуктов при железнодорожных перевозках на нефтебазах сооружаются специальные подъездные пути. Чаще всего это тупиковые пути, примыкающие к магистрали через станционные пути.

Железнодорожные нефтегрузовые тупики желательно располагать в наиболее высоком (при разгрузке) или низком (при погрузке) участке территории нефтебазы. Железнодорожные пути на территории нефтебазы должны быть прямолинейны и строго горизонтальны во избежание самопроизвольного движения маршрутов при погрузке или разгрузке.

Рисунок 3 - Схема железнодорожных путей нефтебазы

Пути тупиков подразделяются (рисунок 3) на:

рабочие пути, на которых устанавливаются вагоны для погрузки и разгрузки нефтепродуктов;

маневровые пути;

обгонные и сквозные - для вывода составов при пожаре или занятости других путей;

пути обслуживающие разгрузочные площадки и тарные склады.

Железнодорожные цистерны - основной тип вагонов для перевозки нефтепродуктов.

За последние годы вагонный парк железных дорог систематически пополняется цистернами более совершенных конструкций. В настоящее время более 95% парка цистерн имеют грузоподъемность 50 те и более.

До 1957 г все наливные нефтяные грузы перевозились в цистернах общего назначения. Эти цистерны делились на две группы: 1) для перевозки светлых нефтепродуктов (цистерны без сливных приборов); 2) для перевозки темных нефтепродуктов и нефтей (цистерны со сливными приборами).

Технология обработки поездов, прибывающих под налив и слив.

В этом разделе излагается порядок и продолжительность операций по обработке по прибытии составов порожних цистерн и бункерных полувагонов, подлежащих расформированию, составов кольцевых маршрутов из порожних цистерн и груженых с однородным или разнородным нефтегрузом в техническом и коммерческом отношении работниками пунктов технического обслуживания грузовых вагонов и коммерческого осмотра, промывочно-пропарочного предприятия, порядок проверки составов, документов, разметки натурного листа (телеграммы-натурки), доставки перевозочных документов в техническую контору. Здесь же должны быть приведены графики обработки по прибытии составов поездов разных категорий с указанием параллельности и продолжительности операций.

Организация работы по расформированию, формированию составов, наливу и сливу нефтегрузов.

На станциях, оборудованных сортировочными горками, должен быть изложен порядок подготовки составов к роспуску, надвигу, расстановки и организации работы регулировщиков скорости движения вагонов, нормы времени на заезд, надвиг и роспуск состава и другие вопросы в полном соответствии с Типовым технологическим процессом работы сортировочной станции, а также приведены технологические графики работы сортировочной горки в зависимости от уровня механизации, числа горочных локомотивов, путей надвига и др.

Технология обработки составов по отправлению.

В разделе должно быть изложено: порядок предъявления к контролю технического состояния и коммерческому осмотру состава, организация осмотра и ремонта, количество бригад ПТО, групп в каждой бригаде, кто и когда сообщает дежурному по станции о готовности поезда к отправлению, кто производит навешивание сигналов на хвостовой вагон, прицепки поездного локомотива и опробование тормозов, порядок передачи документов локомотивной бригаде. В разделе должен быть приведен график, показывающий параллельность и продолжительность каждой операции, выполняемой по отправлению поездов.

Организация работы технической конторы.

В разделе указываются количество и место расположения технических контор, их оборудование, штат и его размещение по характеру выполняемой работы, организация труда операторов технической конторы по обработке поездов по прибытии и отправлению, порядок и место ведения непрерывного номерного учета наличия и расположения вагонов на путях сортировочного парка, пунктов погрузки-выгрузки, налива и слива нефтегрузов, промывочно-пропарочного предприятия, составления натурных листов, подготовки документов на отправляемые поезда. При этом должен быть подробно изложен порядок, обеспечивающий строгое соблюдение плана формирования, качественное составление натурных листов, подсчеты веса поезда, подборку документов, исключающих возможность разъединения грузов и документов.

Организация работы товарной конторы.

В разделе излагаются последовательность операций по отправлению и прибытии грузов и нормы времени на их выполнение. Указывается порядок взаимодействия товарной конторы с грузовыми пунктами и с технической конторой. При разработке технологии работы товарной конторы необходимо предусмотреть предварительную таксировку грузовых документов, максимальное упрощение операций по приему и выдаче грузов, своевременную информацию грузополучателей о прибытии грузов, широкое применение централизованных расчетов по перевозкам и другие передовые приемы труда.

Организация работы станции в зимних условиях.

В данном разделе должны быть подробно изложены меры по подготовке станционного и грузового хозяйств к работе зимой, технологические приемы по обработке составов и вагонов по прибытии и отправлению в парках станции, выполнению операций по расформированию и формированию поездов, подаче, расстановке и уборке вагонов на грузовых фронтах, организации налива и слива нефтегрузов, очистке и уборке снега со станции и другие мероприятия, обеспечивающие бесперебойную работу станции в сильные морозы и снегопады.

Технология очистки, уборки и вывоза снега должна предусматривать применение механизированных средств, использование опыта передовых коллективов и обеспечивать безопасность движения поездов и технику личной безопасности.

Нормы времени нахождения вагонов на станции.

При разработке технологического процесса должны быть установлены нормы времени нахождения местных вагонов на станции, в том числе под одной грузовой операцией.

На станциях со значительным объемом работы по переработке и пропуску транзитного вагонопотока рассчитываются нормы времени нахождения транзитных вагонов без переработки и с переработкой. Время нахождения местных и транзитных вагонов с переработкой устанавливается с расчленением по основным элементам.

Нормы времени нахождения на станции вагонов устанавливаются на основании объема и характера работы станций, плановых вагонопотоков, плана формирования и графика движения поездов, принятой технологии и действующих норм на обработку поездов и вагонов с учетом путевого развития, технического оснащения, наличия маневровых средств, уровня механизации погрузочно-разгрузочных работ и др.

цистерна желоб нефть подъездной

Заключение

В данной выпускной квалификационной работе, была отображена работа станции Грузовой, в полной мере освещены вопросы путевого развития станции, маневровой и грузовой работы, характеристики и специализация на местах общего пользования и подъездных путях. Были рассмотрены темы, такие как:

строительство станции Грузовая, и её характеристики;

железнодорожные цистерны: виды, перевозка нефти;

сливоналивное устройство: слив вязких нефтепродуктов из цистерн, принцип схемы сливного желоба.

Данная выпускная квалификационная работа позволила расширить, систематизировать и закрепить знания, полученных при изучении станции Грузовой. Станция Грузовая обеспечивает прием и отправление грузовых, пригородных поездов, формирование и расформирование поездов, прибывающих на станцию в переработку, подборку вагонов по фронтам погрузки и выгрузки; подачу и уборку вагонов на места общего пользования и подъездные пути, обслуживаемые локомотивом станции.

Станция Грузовая выполняют следующие операции:

оформление перевозочных документов;

подборку и подачу вагонов предприятиям, имеющим договоры на эксплуатацию пути необщего пользования и подачу уборку вагонов;

прием и выдачу груза клиентам повагонными отправками;

коммерческий осмотр передаточных поездов по прибытию и отправлению;

подачу и уборку вагонов к фронтам погрузки и выгрузки;

Основная работа (погрузка и выгрузка грузов) на станции осуществляется на путях необщего пользования и производится средствами грузоотправителей и грузополучателей.

Список используемых источников

Учебники и учебное пособие

. Беляева В.Я., Нефтегазовое строительство: учеб. пособие для студентов вузов/ и др. Под общ. ред. проф. И.И. Мазура и проф.В.Д. Шапиро. М.: Изд-во ОМЕГА-Л, 2011 - 744с.

. Богданов, Е.А. Основы технической диагностики нефтегазового оборудования : // Е. А. Богданов − М.: Высшая школа, 2010. - 280 с.

. Бородавкин, П.П. Схемы ж/д. эстакад : / П. П. Бородавкин − М.: «Недра», 2011. - 224 с.

. Булкин, П.П. Железнодорожные цистерны : / П. П. Бородавкин − М.: «Недра», 2012. - 304 с.

. Быков, Л.И., Гумеров, Ф.А., Мустафин, А.Г. Защита трубопроводов от коррозии : / Л. И. Быков и др. - М.: «Недра», 2011. - 620 с.

. Бунчук В.А. - Транспорт и хранение нефти, нефтепродуктов и газа. М., «Недра», 2011- 366 с.

. Вайшток С.М., Трубопроводный транспорт нефти / , В.В. Новоселов, А.Д. Прохоров и др. - Т.1 - 2012 - 135 с.

. Варфоломеев В.В., Колодий Л.П. Устройство пути и станции. Учеб. Для техникумов ж.д. транспорта М. Транспорт 2010 - 302 с.

. Голубкин Б.П. Управление грузовой и коммерческой работой, грузоведение.: Уч. пос. - М.: РГОТУПС, 2010 - 215 с.

. Голубкин Б.П. Грузоведение, сохранность и крепление грузов: Курс лекций. - М.: РГОТУПС, 2011 - 141 с.

. Гоманков Ф.С., Технология и организация перевозок на ж.д. транспорте М. Транспорт 2011 - 122 с.

. Гриневич Г.П. Комплексная механизация и автоматизация погрузочно-разгрузочных работ на железнодорожном транспорте. - М.: Транспорт, 2011 - 201 с.

. Давыденко В.Г., Олейник О.А. Справочная книга начальника станции. - М.: Транспорт, 2010 - 191 с.

. Земблинов С.В., Железнодорожные станции и узлы - М.Транспорт, 2011 115 с.

. Зюкин М.В., МПС. Главное управление пути. Инструкция по снегоборьбе на железных дорогах Союза. ЦП/4390. - М.: Транспорт, 2010 - 124 с.

. Козлов А. М., Проектирование железнодорожных станций и узлов: (Справочное и методическое руководство). Под редакцией , К. Г. Гусевой. - М.: Транспорт, 2011 - 592 с.

. Коршак А.А., Коробков Г.Е., Муфтахов Е.М. - Нефтебазы и АЗС: Учебное пособие - Уфа: ДизайнПолиграфСервис, 2010 - 416 с.

. Савченко И.Е., Земблинов С.В. Железнодорожные станции и узлы - М.Транспорт, 2011 - 321 с.

. Шаммазов А. М. Основы нефтегазового дела. Учебник для ВУЗов. Изд. 2-ое, дополненное и исправленное: - Уфа.: ООО «ДизайнПолигроафСервис», 2010 - 544 с.

. Фрог Б.Н., Правила технической эксплуатации железных дорог РФ. МПС РФ. - М.: Транспорт, 2010 - 160 с.

Приложение 1

Системы нижнего слива нефтепродуктов из железнодорожных цистерн

а - открытый межрсльсовый слив; б - открытый слив в боковой коллектор; в - самотечный герметизированный слив: г - принудительный слив; 1 - цистерна; 2 - межрельсовый сливной коллектор; 3 - отводная труба; 4 - приемный резервуар; 5 - переносной лоток; 6 - сливной трубопровод; 7 - сливной коллектор: 8 - насос

Приложение 2

Системы налива нефтепродуктов в железнодорожные цистерны

а - налив самотеком; б - принудительный налив; в - налив через буферный резервуар; г - нижний налив; l - отвод, 2 - наливной коллектор, 3 - подводящий трубопровод, 4 - резервуар, 5 -насос, в-специальное наливное устройство

Приложение 3

Универсальный сливной прибор

-валик, 2 - паровая рубашка,3 - корпус, 4 - резиновое кольцо, 5 - клапан, 6- стойка, 7 - кронштейн, 8 - штанги, 9 - скобы, 10 - прижимной винт

Приложение 4

Схемы слива , налива железнодорожных цистерн

а - схема самотечно-герметичного слива, б - схема открытого самотечного слива, в - схема закрытого самотечного слива

Приложение 5

Рисунок 4 - Установка нижнего слива СПГ - 200: 1 - обратный клапан с противовесом, 2 - уплотнительное кольцо, 3 - крышка, 4 - наружную стенка лотка, 5 - зажим, 6 - перекрытие сливного желоба, 7 - присоединительная головка, 8 - гофрированный рукав, 9 - гибкий корпус, 10 - алюминиевый патрубок, 11 - сливная труба.

Приложение 6

Принципиальные схемы исполнения сливного желоба

а - при двустороннем сливе; б - при межрельсовом сливе; 1 - резервуар, 2 - фильтр, 3 - сливной желоб, 4 - эстакада, 5 - паропровод, 6 - желоб, 7 - пароразводящие трубы

Приложение 7

Принципиальная схема установки АСН - 8Б

- основание, 2 - труба коренная, 3 - шарнир горизонтальный, 4 - пружинное устройство, 5 - труба концевая, 6 - присоединительная головка, 7 - кран - конденсатоотводник, 8 - трехходовый кран, 9 - паровая рубашка, 10 - рукава паропровода, 11 - шарнир вертикальный

Похожие работы на - Эксплуатация и принципиальная схема фронта слива железнодорожной станции 'Грузовая'

 

Не нашли материал для своей работы?
Поможем написать уникальную работу
Без плагиата!
Без нейросетей!