Транспортно-грузовой комплекс для переработки грузов
Содержание
ВВЕДЕНИЕ
.
ВЫБОР ТИПА ТРАНСПОРТНЫХ СРЕДСТВ ДЛЯ ПЕРЕВОЗКИ ЗАДАННЫХ ГРУЗОВ
.
ОПРЕДЕЛЕНИЕ ОБЪЕМОВ РАБОТЫ ТРАНСПОРТНО-ГРУЗОВОГО КОМПЛЕКСА
.1
Расчет суточного грузопотока
.2
Расчет суточного вагонопотока
.
РАЗРАБОТКА ВАРИАНТОВ ТРАНСПОРТНО-ГРУЗОВЫХ КОМПЛЕКСОВ
.1
Выбор схемы ТГК
.2
Технология выполнения погрузочно-разгрузочных работ
.
ОПРЕДЕЛЕНИЕ ОСНОВНЫХ ПАРАМЕТРОВ СКЛАДСКИХ СООРУЖЕНИЙ
.1
Выбор типа склада
.2
Определение площади и геометрических размеров транспортно-грузового комплекса
.
ОПРЕДЕЛЕНИЕ ПОТРЕБНОГО ПАРКА МАШИН
.
ТЕХНИКО-ЭКОНОМИЧЕСКОЕ СРАВНЕНИЕ ВАРИАНТОВ ТРАНСПОРТНО-ГРУЗОВЫХ КОМПЛЕКСОВ
.1
Общий порядок технико-экономического сравнения
.2
Определение капитальных вложений по вариантам
.3
Расчет эксплуатационных расходов по вариантам
.4
Выбор наилучшего варианта
.
СУТОЧНЫЙ ГРАФИК РАБОТЫ СРЕДСТВ МЕХАНИЗАЦИИ ПОГРУЗОЧНО-РАЗГРУЗОЧНЫХ РАБОТ
.
ТЕХНИЧЕСКОЕ ОБСЛУЖИВАНИЕ И РЕМОНТ ПОДЪЕМНО-ТРАНСПОРТНЫХ МАШИН
.
АВТОМАТИЗАЦИЯ ПОГРУЗОЧНО-РАЗГРУЗОЧНЫХ РАБОТ
.
ОСНОВНЫЕ ПОЛОЖЕНИЯ ТЕХНИКИ БЕЗОПАСНОСТИ И ОХРАНЫ ТРУДА ПРИ ВЫПОЛНЕНИИ
ПОГРУЗОЧНО-РАЗГРУЗОЧНЫХ РАБОТ
ЗАКЛЮЧЕНИЕ
СПИСОК
ЛИТЕРАТУРЫ
Введение
В условиях рыночных отношений в экономике
большое значение приобретают не только непосредственно производственные
процессы изготовления продукции производственно-технического назначения и
товаров широкого потребления, но также и процессы распределения произведенной
продукции и товаров в сфере обращения. Кроме этого, сами технологические
процессы производства промышленной продукции включают в себя многочисленные и разнообразные
операции перемещения, перегрузок, складирования, формирования транспортных
партий и т.д., без оптимизации которых невозможно создать и поддерживать
эффективное производство, которое могло бы успешно конкурировать на рынке
товаров, работ и услуг с другими аналогичными промышленными предприятиями.
Именно поэтому в целях оптимизации
погрузочно-разгрузочных работ был осуществлен последовательный переход от
создания и внедрения отдельных машин, оборудования, приборов и технологических
процессов к разработке, производству и массовому использованию
высокоэффективных транспортно-грузовых систем, а также к современным методам
организации труда и управления. транспортный
грузовой подъемный машина
В связи с этим процессе выполнения курсовой
работы мне необходимо будет разработать транспортно-грузовой комплекс для
переработки грузов. Данный процесс включается в себя выбор типа подвижного
состава с приведением его основных технических характеристик; определение
объемов грузо- и вагонопотоков; выбор подходящей схемы ТГК с ее графическим
изображением, а также описание технологии выполнения погрузочно-разгрузочных
работ в соответствии с выбранной схемой; определение основных параметров
складских сооружений таких как площадь, ширина, длина склада и длина фронта; определение
потребного парка машин по каждому виду груза в отдельности; проведение
технико-экономического сравнения двух ТГК для одного и того же груза, но с
применением двух разным подъемно-транспортных машин и выбор лучшего из них,
экономически более выгодного; построение суточного графика работы средств
механизации погрузочно-разгрузочных работ на основе лучшего варианта и графика
технических обслуживаний и ремонта подъемно-транспортных машин; рассмотрение
возможных вариантов автоматизации погрузочно-разгрузочных работ и складских
операций на примере одного вида груза и, наконец, изучение основных положений
техники безопасности и охраны труда при выполнении погрузочно-разгрузочных
работ.
1. Выбор типа транспортных средств для перевозки
заданных грузов
В соответствии с заданием необходимо перевести
следующие грузы: тарно-штучные, тяжеловесные и гравий.
Тарно-штучные грузы следует доставлять в крытых
универсальных вагонах, так как они требуют защиты от атмосферных осадков. Для
их перевозки был выбран четырехосный крытый цельнометаллический вагон с
уширенными дверными проемами модели 11-276.
Таблица 1.1
Технические характеристики крытого вагона модели
11-276
|
Грузоподъемность,
т
|
68
|
|
Масса
тары вагона, т
|
26
|
|
Нагрузка:
статическая осевая, кН (тс) погонная, кН/м (тс/м)
|
230,5
(23,5) 59,97 (6,12)
|
|
Скорость
конструкционная, км/ч
|
120
|
|
База
вагона, мм
|
10000
|
|
Длина,
мм: по осям сцепления автосцепок по концевым балкам рамы
|
15360
14570
|
|
Ширина
максимальная, мм
|
3266
|
|
Высота
от уровня верха головок рельсов, мм: максимальная до уровня пола
|
4688
1286
|
|
Количество
осей, шт.
|
4
|
|
Длина
кузова внутри, мм
|
13844
|
|
Ширина
кузова, мм: внутри по раме
|
2764
2790
|
|
Высота
кузова внутри по боковой стенке, мм
|
2800
|
|
Размеры
в свету, мм: дверного проема дверного проема при одной открытой двери
|
3802х2334
1990х2334
|
|
Объем
кузова, : без крыши
полный с учетом объема крыши
|
104
122
|
|
Количество
загрузочных люков в крыше, шт.
|
4
|
Тяжеловесные грузы перевозятся на открытом
подвижном составе (полувагоны, платформы). Для их перевозки была выбрана
четырехосная платформа с металлическими бортами модели 13-401.
Таблица 1.2
Технические характеристики платформы модели
13-401
|
Грузоподъемность,
т
|
70
|
|
Масса
тары вагона, т
|
21
|
|
Нагрузка:
статическая осевая, кН (тс) погонная, кН/м (тс/м)
|
233,01
(22,73) 61 (6,22)
|
|
Скорость
конструкционная, км/ч
|
120
|
|
База
вагона, мм
|
9720
|
|
Длина,
мм: по осям сцепления автосцепок по концевым балкам рамы
|
14620
13400
|
|
Ширина
максимальная, мм
|
3140
|
|
Высота
от уровня верха головок рельсов, мм: максимальная до уровня пола
|
1810
1310
|
|
Количество
осей, шт.
|
4
|
|
Длина
кузова внутри, мм
|
13300
|
|
Ширина
внутри кузова, мм
|
2770
|
|
Высота
бортов, мм: продольных торцовых
|
500
400
|
|
Размеры
пола с открытыми бортами, мм: длины ширина
|
13400
2870
|
|
Количество
бортов, шт. продольных торцовых
|
8
2
|
|
Площадь,
|
36,8
|
Что касается гравия, то он относится к грузам,
перевозимым навалом, а, следовательно, для его перевозки можно использовать
полувагоны, например, четырехосный полувагон модели 12-515.
Таблица 1.3
Технические характеристики полувагона модели
12-515
|
Грузоподъемность,
т
|
69
|
|
Масса
тары вагона, т
|
21,8
|
|
Нагрузка:
статическая осевая, кН (тс) погонная, кН/м (тс/м)
|
222,5
(22,7) 65,4 (6,54)
|
|
Скорость
конструкционная, км/ч
|
120
|
|
База
вагона, мм
|
8650
|
|
Длина,
мм: по осям сцепления автосцепок по концевым балкам рамы
|
13920
12700
|
|
Ширина
максимальная, мм
|
3134
|
|
Высота
от уровня верха головок рельсов, мм: максимальная до нижней обвязки
|
3482
1416
|
|
Количество
осей, шт.
|
4
|
|
Внутренние
размеры кузова, мм: ширина длина высота
|
2826
12056 2060
|
|
Ширина
дверного проема при открытых дверях, мм
|
2478
|
|
Количество
торцовых дверей, шт.
|
2
|
|
Количество
разгрузочных люков, шт.
|
14
|
|
Размер
разгрузочных люков
|
1327х1540
|
|
Объем
кузова,
|
70,5
|
|
Площадь
пола,
|
34,42
|
2. Определение объемов работы
транспортно-грузового комплекса
.1 Расчет суточного грузопотока
Необходимо определить суточный грузопоток по
прибытии и отправлении для всех грузов, т, по заданным объемам годового
грузопотока согласно формуле:
(1)
где
-
годовой грузопоток, т;
- коэффициент
неравномерности прибытия или отправления грузов. Значения
и
были
определены в соответствии с заданием.
Под грузопотоком понимается количество груза (т,
шт.,
и
т. д.), перемещаемого по заданному направлению или через данный грузовой пункт,
в одну сторону за определенный период времени (ч, сут, мес и т. д.).
Коэффициент неравномерности зависит от рода
груза, ритмичности его производства и поставок, характера производственного
процесса, в котором он участвует.
Подставив значения
в
соответствии с заданием, было получено, что:
для тарно-штучных грузов:
по прибытии
- по отправлении
для тяжеловесных грузов:
по прибытии
- по отправлении
для гравия:
по прибытии
- по отправлении
.2 Расчет суточного вагонопотока
Суточный вагонопоток был определен для всех
заданных грузов отдельно по прибытии и отправлении, исходя из ранее
подсчитанного суточного грузопотока и технической нормы загрузки вагона, за
исключением контейнеров, по формуле:
где
-
техническая норма загрузки вагона, т, была принята в соответствии с выбранным
подвижным составом.
Под технической нормой загрузки понимается
максимальное количество груза, которое может быть погружено в данный тип вагона
с учетом наилучшего использования его вместимости и грузоподъемности.
Для тарно-штучных грузов техническая норма
загрузки в соответствии с заданием равна 45 т, следовательно:
по прибытии
- по отправлении
Для тяжеловесных грузов техническая норма
загрузки была принята по грузоподъемности вагона. В данном случае
использовалась четырехосная платформа модели 13-401, грузоподъемность которой
равна 70 т, следовательно:
по прибытии
- по отправлении
Для навалочных и сыпучих грузов, перевозимых без
тары, суточный вагонопоток был определен по следующей формуле:
(3)
где
-
объемная масса груза (плотность),
-
полный объем кузова,
, был принят в
соответствии с размерами выбранного подвижного состава.
Результат, полученный в знаменателе формулы
(1.3) не должен превышать грузоподъемность вагона
,
т. е. должно выполняться условие
Объемная масса гравия принимается в приделах 1,5
2,0
.
Полный объем кузова четырехосного полувагона модели 12-515, выбранного ранее,
составляет 70,5
, а его
грузоподъемность 69 т. Следовательно:
Так как
следует
пересчитать величину объема кузова, который может быть реально использован под
загрузку - полезный объем
, исходя из
грузоподъемности вагона
и плотности груза
.
Для того чтобы найти
использовалось
следующее равенство:
(4)
Таким образом:
Т. е. из общего объема кузова 70,5
целесообразно будет использовать лишь 46
для
удовлетворения условия
.
Далее стало возможным определение суточного
вагонопотока для гравия:
по прибытии
по отправлении
Все результаты расчетов суточного грузо- и
вагонопотоков по каждому наименованию груза были сведены в таблицу.
Таблица 2
Суточный вагонопоток
|
Род
груза
|
Приб./Отпр.
|
Суточный
грузопоток, т
|
Тип
подвижного состава
|
Техническая
норма загрузки, т
|
Грузо-подъем-ность,
т
|
Суточный
вагонопоток, ед.
|
|
Тарно-штучные
|
Приб.
|
783,56
|
Крытый
вагон модель 11-276
|
45
|
68
|
18
|
|
Отпр.
|
723,29
|
|
|
|
16
|
|
Тяжеловес-
ные грузы
|
Приб.
|
630,14
|
Платформа
модель 13-401
|
70
|
70
|
9
|
|
Отпр.
|
567,12
|
|
|
|
9
|
|
Гравий
|
Приб.
|
693,15
|
Полувагон
модель 12-515
|
69
|
69
|
10
|
|
Отпр.
|
661,64
|
|
|
|
10
|
3. Разработка вариантов транспортно-грузовых
комплексов
3.1 Выбор схемы ТГК
Схема ТГК для тарно-штучных грузов приведена на
рис. 1, для тяжеловесных - на рис. 2, а для навалочных грузов
.2 Технология выполнения погрузочно-разгрузочных
работ
Технология выполнения погрузочно-разгрузочных
работ с тарно-штучными грузами при использовании автопогрузчика
Типовая схема комплексной механизации
погрузочно-разгрузочных работ (ПРР) с тарно-штучными грузами (ТШГ)
предусматривает применение малогабаритных дизельных автопогрузчиков (АП) с
нейтрализацией выхлопных газов, стандартных поддонов и оснащение складов
стеллажами для складирования и хранения мелких отправок.
Рекомендуется следующий порядок выполнения
операций с грузами, принятыми к отправке. Бригадир комплексной механизированной
бригады
(КМБ) получает от приёмосдатчика груза и багажа
указание о выгрузке грузов из автомобилей и о месте их складирования. Вагоны
под погрузку по участкам расставляются по указанию приёмосдатчика с учётом
специализации складов по направлениям, возможности подсчёта количества принятых
мест и наиболее полного использования вместимости склада. Приёмосдатчик груза и
багажа определяет также очерёдность и порядок погрузки груза в вагон и сообщает
комплексно-механизированной бригаде о времени подачи порожних вагонов под
погрузку. Бригада приступает к погрузке после определения приёмосдатчиком
пригодности вагона в коммерческом отношении.
В процессе погрузки комплексно-механизированная
бригада под наблюдением приёмосдатчика груза и багажа обеспечивает правильность
укладки и крепления груза в соответствии с утверждённой схемой погрузки.
При выгрузке ТШГ из вагонов и выдаче их на
автотранспорт порядок выполнения операций должен быть следующим.
К моменту подачи вагонов приёмосдатчик груза и
багажа определяет место для выгрузки грузов, устанавливает очерёдность
разгрузки вагонов и знакомит КМБ с планом предстоящей работы.
После коммерческого осмотра расставленных на
местах выгрузки вагонов приёмосдатчик груза и багажа снимает пломбы и даёт
указание бригадиру КМБ приступить к работе.
Заезд погрузчиков в крытый вагон допускается в
соответствии с требованиями ГОСТа 22235-76 «Вагоны грузовые магистральных
железных дорог колеи 1520 мм. Общие требования по обеспечению сохранности при
производстве погрузочно-разгрузочных и маневровых работ» только с применением
переходных металлических мостиков. Сбрасывание и волочение грузов по полу без
применения защищающих покрытий пола не допускается.
Грузы, поступающие в пакетированном виде на
поддонах и без поддонов, выгружают с помощью АП с нейтрализацией выхлопных
газов, оборудованного вилочным.
Масса транспортного пакета (масса груза с
пакетирующими средствами) должна быть таковой, чтобы нагрузка на пол вагона от
колес погрузчика с пакетом не превышала установленную п.1.3.1 ГОСТ 22235-76.
При поступлении непакетированных грузов в
процессе выгрузки из вагонов грузы укладывают на поддоны, подаваемые
погрузчиком внутрь вагона. Число рабочих, занятых на укладке грузов, зависит от
формы и массы отдельных мест груза.
В процессе выгрузки выполняются указания
приёмосдатчика груза и багажа по укладке груза на складе с соблюдением
требований специальной маркировки. По окончании выгрузки рабочие
комплексно-механизированной бригады очищают кузов вагона, сдают вагоны
приёмосдатчику груза и багажа и после этого закрывают двери.
На складе пакеты устанавливают в стеллажи. Грузы
со склада в автомобиль рабочие комплексно-механизированной бригады начинают
грузить по получение разрешения от приёмосдатчика груза и багажа.
Для погрузки пакетов в кузова автомобилей склады
должны быть оборудованы рампами с П-образными вырезами или ступенчатыми рампами
и специальными удлинёнными переходными мостиками, вводимыми в кузов до его
половины. При наличии ступенчатой или обычной рампы первые пакеты на поддонах
устанавливаются у края кузова и продвигаются в глубину погрузчиком. Крепление
грузов в кузове осуществляет водитель.
Наиболее эффективным и экономным является прямой
вариант работ «вагон-автомобиль», для обеспечения которого должна быть осуществлена
подача автомобилей по графику.
При погрузке (выгрузке) ТШГ в вагоны и
автомобили соблюдаются правила личной и пожарной безопасности, а также условия
выполнения работ, гарантирующие сохранность вагонов и грузов.
На КМБ при переработке ТШГ возлагается
ответственность за сохранность этих грузов при производстве
погрузочно-разгрузочных работ, закрепление грузов в вагонах, установку и снятие
реквизитов, закрывание бортов, дверей и крышек люков подвижного состава.
Технология выполнения погрузочно-разгрузочных
работ с тяжеловесными грузами при использовании двухконсольного козлового крана
На станциях с массовым поступлением тяжеловесных
грузов оборудуются специализированные площадки, оснащённые козловыми кранами со
специализированными грузозахватными приспособлениями (ГЗП) для захвата металла,
железобетонных изделий, балок и т. д.
Надзор за безопасной эксплуатацией на этих
площадках кранов, сменных грузозахватных приспособлений, содержанием их в
исправном состоянии, безопасностью производства работ кранами возлагается на
ответственное лицо из числа инженерно-технических работников механизированной
дистанции погрузочно-разгрузочных работ.
В соответствии с информацией о подаче вагонов с
тяжёловесными грузами приёмосдатчик груза и багажа определяет место на подкрановой
площадке для укладки грузов и знакомит рабочих комплексных бригад с порядком
выполнения работ.
На выгрузке таких грузов из полувагонов и
платформ, как правило, должна быть занята бригада в составе не менее 3 человек
(машинист крана и двое рабочих-стропальщиков). Машинист крана (крановщик) в
зависимости от рода груза подаёт грузовой крюк или траверсу, грузовую раму с
грузовыми крюками или клещевидный захват и т.п. к месту застропки груза.
Стропальщики по приставным лестницам или скоб-трапам полувагона поднимаются на
вагон с двух сторон к штабелю груза и, направляя грузозахватные крюки,
производят застропку груза. Машинисту крана (крановщику) по команде
стропальщика разрешается подъём грузовых захватов после того, как стропальщики
удалятся в безопасную зону. Убедившись в правильности захвата и устойчивости
груза на подъёмном тросе, перед началом операции машинист крана (крановщик)
должен подать звуковой сигнал и затем осуществлять подъём и перемещение груза
на заданный участок склада или в кузов автомобиля.
Выгрузка верхней части груза (трубы и т.д.),
выложенной по контуру суженной части габарита, так называемой «шапки», возможна
в один или несколько приёмов. При выгрузке в один приём застропка «шапки»
осуществляется за скобы полужёсткого стропа или под неё подводятся в двух
торцах чалочные стропы. В последнем случае проволочную увязку снимают после
выгрузки на земле специальными ножницами. При выгрузке в несколько приемов
проволочную увязку снимают непосредственно на полувагоне, но предварительно должны
быть установлены предохранительные стойки. Стойки устанавливают в зазоры между
бортом полувагона и штабелем груза на глубину не менее 0,75 м вплотную к
основным стойкам и закрепляют деревянными клиньями. По высоте предохранительные
стойки должны на 0,3 м превышать верхний уровень «шапки». Затем стропальщики
подводят с одной стороны вспомогательный трос под нужное количество единиц и
надевают концы троса на крюк крана. Далее стропальщики отходят в безопасную
зону и подают команду крановщику о подъёме на высоту не более 0,5 м для
заведения под пачку груза основных чалочных стропов. По команде машинист крана
(крановщик) отпускает груз, стропальщики снимают вспомогательные тросы и
надевают основные стропы.
Проверив правильность застропки, стропальщики
отходят в безопасную зону и дают команду на подъём груза. Груз поднимается на
0,2…0,3 м и проверяется равномерность натяжения стропов и надёжность обвязки,
исключая развал груза при перемещении. При обнаружении неравномерности
натяжения стропов и ненадёжной обвязки груз должен быть опущен.
Груз перемещается на высоте не менее 0,5 м выше
встречающихся на пути предметов под непосредственным наблюдением стропальщиков.
На площадке пачки груза должны быть увязаны в
пакеты и уложены на специально подготовленные прокладки с соблюдением габарита
приближения строений. При укладке в штабель непакетированных грузов груз в
штабеле должен быть разделён горизонтальными прокладками. Для ориентировки
поднятого груза (поворота его на крюке) при укладке на склад или в кузов автомобиля
стропальщик должен пользоваться багром длиной не менее 3 м.
В кузове автомобиля груз увязывают по указанию
водителя автомобиля и приёмосдатчика груза и багажа.
Технология выполнения погрузочно-разгрузочных
работ с навалочными грузами при использовании одноковшового тракторного
погрузчика
При выполнении погрузочно-разгрузочных работ с
навалочными грузами применяется повышенный путь в комплексе с одноковшовым
тракторным погрузчиком для погрузки грузов из штабеля в автомобили, зачистки
габаритов и отвалки грузов в штабеля. Здесь вагоны подаются на повышенный путь
и груз выгружается через нижние люки. При этом рабочие открывают крышки нижних
люков вручную, используя вспомогательные мостики.
Грузы, выгружаемые на повышенных путях, как
правило, обезличиваются, и вагоны с грузами должны подаваться на специально
отведенные для данного рода груза участки у повышенного пути. С этой целью при
подаче вагонов на станции должна быть соответствующая подборка вагонов.
Технология выгрузки навалочных грузов следующая.
Вагоны подают маневровым локомотивом группами на повышенный путь. Затем их
закрепляют башмаками. Вначале поворачивают секторы, затем вручную ударом
молотка освобождают люковую закидку, открывая при этом люки вагона.
Высыпание насыпных грузов в отвал происходит
самотёком, затем тракторным погрузчиком, оборудованным ковшом, груз загружается
в автомобили или перемещается в штабель. Очистка полувагона производится
вручную с применением лопаты со скребком посредством ломов. Как видно, работа
носит тяжёлый характер.
После закрытия крышки разгрузочных люков
фиксируются люковыми закидками, а последние, в свою очередь, секторами. Помимо
этого, крышки разгрузочных люков ещё и увязываются за запорные угольники
отожжёнными проволоками диаметром не менее 4 мм в один оборот с закруткой
концов проволоки в три витка при помощи металлической пластинки (для
проволочных закруток), чтобы на пути передвижения поезда исключить
самопроизвольное их открывание.
4. Определение основных параметров складских
сооружений
.1 Выбор типа склада
По роду перерабатываемых грузов можно выделить
склады для тарно-штучных грузов, контейнеров, сыпучих, наливных, металлов,
лесных, тяжеловесных, скоропортящихся и опасных грузов.
Выбор типа склада осуществляется в соответствии
с заданием для тарно-штучных, тяжеловесных грузов, а также для гравия, который
относится к навалочным грузам.
Так для тарно-штучных грузов был выбран крытый
склад с внутренним расположением одного железнодорожного пути и внешним
автоподъездом.
Что касается тяжеловесных грузов, то для их
хранения была выбрана открытая тяжеловесная площадка с твердым асфальтобетонным
покрытием.
И, наконец, для хранения навалочных грузов, т.
е. гравия, была выбрана открытая навалочная площадка.
.2 Определение площади и геометрических размеров
транспортно-грузового комплекса
Основные параметры склада (площадь, длина,
ширина, высота, размеры площадок, погрузоразгрузочных фронтов) определяются в
зависимости от типа склада, его режима работы, рода груза, суточного
грузопотока, средств механизации и технологии производства работ.
Площадь склада
для
тарно-штучных, тяжеловесных и навалочных грузов была определена методом
удельных нагрузок (на
площади пола).
Расчет был выполнен отдельно по прибытии и по отправлении по формуле:
где
-
коэффициент, учитывающий площадь, необходимую для проходов, проездов, установки
средств механизации, обеспечения противопожарной безопасности, установки весов,
и помещения для приемосдатчиков (для тарно-штучных грузов
,
для тяжеловесных
, для навалочных
);
-
срок хранения груза, как правило, зависит от назначения склада, периодичности
прибытия и отправления грузов, от видов транспорта, сут, (для тарно-штучных
грузов по прибытии 2,0, по отправлении 1,5; для тяжеловесных по прибытии 2,5,
по отправлении 1,0; для навалочных на открытых площадках по прибытии 3,0, по
отправлении 2,5);
- доля груза,
перерабатываемого по «прямому» варианту, была принята в соответствии с
заданием;
- расчетная
нагрузка на
площади склада,
,
(для тарно-штучных грузов
, для тяжеловесных
,
для навалочных на открытых площадках
).
Подставив необходимы данные, были получены
следующие значения площади:
для тарно-штучных грузов:
по прибытии
- по отправлении
для тяжеловесных грузов:
по прибытии
- по отправлении
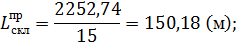
для гравия
по прибытии
- по отправлении
После расчета площади склада необходимо было
определить его ширину и длину. Ширина зависит от рода груза, типа склада,
средств механизации и технологии производства погрузочно-разгрузочных работ.
Стандартная ширина крытого клада
,
м, была принята равной 18 м. Ширина открытых площадок зависит от величины
пролета крана (козлового или мостового), а также вылета стрелы крана,
количества железнодорожных путей, зазоров для безопасной работы. Она была
определена:
Для открытой тяжеловесной площадки при
использовании двухконсольного козлового крана:
(6)
где
-
величина пролета крана;
- габарит
безопасности, т. е. расстояние от оси опоры крана до крайней точки склада, было
принято равным 1 м.
Для тяжеловесных грузов был выбран
двухконсольный козловой кран КК-12,5, имеющий
,
следовательно:
Для открытой навалочной площадки при
использовании тракторного погрузчика ширина склада не должна превышать 20 м.
Ширина склада, таким образом, была принята равной 15 м.
Далее необходимо было определить длину склада
,
м, по формуле:
(7)
Для тарно-штучных грузов:
по прибытии
- по отправлении
Для тяжеловесных грузов:
- по прибытии
- по отправлении
Для гравия:
по прибытии
- по отправлении
Полученную длину склада необходимо было сравнить
с длиной погрузочно-выгрузочного фронта
,
м, при этом нужно было учесть, чтобы все одновременно подаваемые вагоны могли
разместиться вдоль складского сооружения, т. е. должно было соблюдаться
условие:
(8)
Погрузочно-выгрузочным (грузовым) фронтом
называется часть железнодорожного пути транспортно-грузового комплекса,
предназначенная непосредственно для погрузки и выгрузки грузов из транспортных
средств, оснащенная комплексом устройств и погрузочно-разгрузочных машин.
Длина погрузочно-выгрузочного фронта была
определена по формуле:
(9)
где
- длина вагона
принятого типа по осям сцепления автосцепок, м;
-
суточный вагонопоток, ваг;
- число подач к
грузовому фронту, было принято в соответствии с заданием;
-
запас, учитывающий неточность установки вагонов, был принят равным 10 м.
Для тарно-штучных грузов:
по прибытии
;
по отправлении
Для тяжеловесных грузов:
по прибытии
;
по отправлении
Для гравия:
по прибытии
Все результаты расчетов были сведены в следующую
таблицу.
Таблица 4
Размеры складских сооружений
|
Род
груза
|
Приб./Отпр.
|
Суточный
грузо-поток, т
|
Доля
прямого варианта
|
Размеры
склада
|
Длина
фронта, м
|
|
|
|
|
|
площадь,
|
ширина,
м
|
длина,
м
|
|
|
Тарно-штучные
|
Приб.
|
783,56
|
0,2
|
Кры-тый
склад
|
2507,39
|
18
|
139,3
|
79,12
|
|
Отпр.
|
723,29
|
0,1
|
|
1952,88
|
|
108,49
|
91,92
|
|
Тяжело-
весные грузы
|
Приб.
Отпр.
|
630,14
|
0,15
|
Откры-тая
пло-щадка
|
2380,53
|
14
|
170,04
|
53,86
|
|
|
567,12
|
|
|
856,98
|
|
61,21
|
53,86
|
|
Гравий
|
Приб.
Отпр.
|
693,15
|
-
|
Откры-тая
пло-щадка
|
2252,74
|
10
|
225,27
|
56,4
|
|
|
661,64
|
|
|
1791,94
|
|
179,19
|
-
|
5. Определение потребного парка машин
Потребное число ПТМ
,
необходимое для переработки суточного объема грузов, зависит от мощности
грузопотока, а также от нормы выработки, и было рассчитано отдельно по прибытии
и отправлении по формуле:
(10)
где
-
расчетный суточный грузопоток с учетом прямого варианта переработки груза, т;
-
сменная норма выработки, т;
- число смен
работы машин за сутки, было принято в соответствии с заданием;
-
регламентированное время простоя машин в течение года (во всех видах ремонта и
технического обслуживания (ТО), в выходные дни, праздники), сут.
Расчетный грузопоток был вычислен по формуле:
(11)
Для тарно-штучных грузов:
по прибытии
- по отправлении
Для тяжеловесных грузов:
по прибытии
- по отправлении
Для гравия:
по прибытии
- по отправлении
Продолжительность нахождения машин в ремонте
была определена в зависимости от видов ремонта и ТО, их периодичности и
продолжительности по формуле:
(12)
где
,
-
периодичность выполнения технического обслуживания соответственно ТО-1 ТО-2,
сут (для автопогрузчика и тракторного погрузчика
,
,
для козлового крана
,
);
-
периодичность текущего ремонта, мес. (для автопогрузчика и тракторного
погрузчика
, для козлового
крана
);
,
,
-
продолжительность технического обслуживания соответственно ТО-1, ТО-2 и
текущего ремонта, сут. (для автопогрузчика и тракторного погрузчика
,
,
для козлового крана
,
;
для автопогрузчика и козлового крана
,
для тракторного погрузчика
);
-
продолжительность выходных и праздничных дней в течение года, было принято
равным 60 дн.
Для тарно-штучных грузов при использовании
автопогрузчика:
Для тяжеловесных грузов при использовании
двухконсольного козлового крана:
Для гравия при использовании тракторного
погрузчика:
Подставив полученные значения в формулу (11),
было найдено потребное число ПТМ:
для тарно-штучных грузов:
по прибытии
- по отправлении
для тяжеловесных грузов:
по прибытии
- по отправлении
для гравия:
по прибытии
- по отправлении
Учитывая, что сроки простоя транспортных средств
под грузовыми операциями нормированы, необходимо было проверить, обеспечит ли
расчетное число машин своевременную погрузку или выгрузку грузов:
(13)
где
-
количество груза в одной подаче, отдельно по прибытии и отправлении, т;
-
часовая эксплуатационная производительность машины, т/ч;
-
нормированное или расчетное время простоя транспортных средств под
погрузочно-разгрузочными операциями, ч.
Количество груза в одной подаче было определено
по формуле:
(14)
Для тарно-штучных грузов:
по прибытии
- по отправлении
Для тяжеловесных грузов:
по прибытии
- по отправлении
Для гравия:
по прибытии
Продолжительность
была
вычислена по формуле:
(15)
где
-
время, затрачиваемое на подачу и уборку вагонов одной подачи на грузовом
фронте, ч, было принято равным 50÷60 мин;
-
время на обед, прием-сдачу смены, прочие технологические перерывы, было принято
равным 3÷4
ч.
Для тарно-штучных по прибытии:
Для тарно-штучных грузов по отправлении, для тяжеловесных
грузов по прибытии и отправлении и для гравия по прибытии:
Эксплуатационная производительность
-
это количество груза, которое перерабатывает ПТМ за один час с учетом внутрисменных
технологических перерывов (прием-сдача смены, обед, перестановка вагонов,
техническое обслуживание, ремонт и т. д.).
Эксплуатационная производительность была
рассчитана по формуле:
(16)
где
-
техническая производительность ПТМ, т/ч;
-
коэффициент использования ПТМ по времени в течение 1 часа, принятый равным 0,7÷0,8.
Техническая производительность ПТМ
отражает
проектную (паспортную) производительность машины, при ее максимальной загрузке
за один час непрерывной работы при заданных условиях.
Для ПТМ периодического действия (краны,
погрузчики и т. д.), т/ч, техническая производительность была определена по
формуле:
а) для всех грузов, кроме сыпучих:
(17)
где
-
масса груза, перемещаемая рабочим органом машины за один цикл (номинальная
грузоподъемность), т;
- количество
рабочих циклов ПРМ за один час работы.
Количество рабочих циклов ПРМ за один час работы
было найдено по формуле:
(18)
где
-
продолжительность рабочего цикла машины, с (для тарно-штучных грузов при
использовании автопогрузчика
, для тяжеловесных
при использовании козлового крана
,
для навалочных при использовании тракторного погрузчика
);
3600 - количество секунд в часе.
Для тарно-штучных грузов при использовании
автопогрузчика:
Для тяжеловесных грузов при использовании
двухконсольного козлового крана:
Для гравия при использовании тракторного
погрузчика:
Количество груза
,
поднимаемого механизмом за один цикл для тарно-штучных грузов, было принято
равным грузоподъемности автопогрузчика в тоннах. Был выбран малогабаритный
вилочный автопогрузчик модели 2FD10.15 «Тойота», который имеет грузоподъемность
равную 1,5 т. Следовательно, для тарно-штучных грузов:
Для тяжеловесных грузов количество груза в одном
захвате было определено по формуле:
(19)
где
-
грузоподъемность ПТМ, которая была принята, согласно техническим
характеристикам двухконсольного козлового крана модели КК-12,5, равной 12,5 т.
Таким образом:
Следовательно, для тяжеловесных грузов:
б) для навалочных и сыпучих грузов при
выполнении погрузочно-разгрузочных работ ковшами или грейферами
была
определена следующим образом:
(20)
где
-
вместимость грейфера, ковша или другого устройства для кусковых и сыпучих
грузов,
;
-
объемная масса груза (плотность),
;
-
коэффициент заполнения ковша, принятый равным 0,75÷0,9;
при
этом
.
Для гравия при использовании тракторного
погрузчика с вместимостью ковша равной 3,4
:
Далее была рассчитана эксплуатационная
производительность:
для тарно-штучных грузов:
для тяжеловесных грузов:
для гравия:
И, наконец, было найдено потребное число ПТМ
:
для тарно-штучных грузов:
по прибытии
- по отправлении
для тяжеловесных грузов:
по прибытии
- по отправлении
для гравия:
по прибытии
В дальнейших расчетах следовало принимать
потребное число машин
как максимальное
из
и
по
прибытии и отправлении. Следовательно, для тарно-штучных грузов по прибытии и
отправлении
а для тяжеловесных
грузов и гравия по прибытии и отправлении
.
Результаты расчетов в данном разделе были
сведены в таблицу следующего вида.
Таблица 5
Расчет числа ПТМ
|
Род
груза
|
Тип
ПТМ
|
Грузоподъемность
,
т
|
Приб./Отпр.
|
Суточный
грузопоток , т
|
Доля
прямого варианта
|
Расчетный
грузопоток , т
|
Норма
выработки , т/ч
|
Эксплуатационная
производительность , т/ч
|
Число
ПТМ, ед.
|
|
|
|
|
|
|
|
|
|
|
|
|
|
Тарно-штучные
|
Авто-
погрузчик
|
10
|
Приб.
|
783,56
|
0,2
|
1410,41
|
123,4
|
480
|
5
|
1
|
5
|
|
|
|
Отпр.
|
723,29
|
0,1
|
1374,25
|
|
|
5
|
1
|
5
|
|
Тяжело-весные
|
Двух-консольный
козловой кран
|
12,5
|
Приб.
|
630,14
|
0,15
|
1165,76
|
376,5
|
135,07
|
2
|
1
|
2
|
|
|
|
Отпр.
|
567,12
|
|
1049,17
|
|
|
2
|
1
|
2
|
|
Гравий
|
Тракторный
погрузчик
|
7
|
Приб.
|
693,15
|
-
|
1386,3
|
471,7
|
220,32
|
2
|
1
|
2
|
|
|
|
Отпр.
|
661,64
|
|
1323,28
|
|
|
2
|
-
|
2
|
6. Технико-экономическое сравнение вариантов
транспортно-грузовых комплексов
.1 Общий порядок технико-экономического
сравнения
К технико-экономическому сравнению принимаются
варианты ТГК, отличающиеся типами средств для выполнения
погрузочно-разгрузочных работ. В данном случае к сравнению были приняты тарно-штучные
грузы, хранящиеся в крытых сладах, с выполнением погрузочно-разгрузочных работ
при помощи автопогрузчика и электропогрузчика.
После выбора конкурентного по отношению к
первоначальному варианта ТГК были выполнены расчеты параметров складского
хозяйства, а также числа ПТМ в порядке, описанном в разд. 4 и 5 соответственно.
Что касается площади склада, его длины и ширины,
а также длины погрузочно-разгрузочного фронта, то для тарно-штучных грузов с
использованием электропогрузчика она такая же, как и с использованием
автопогрузчика
Значение расчетного грузопотока
для
тарно-штучных грузов с использование электропогрузчика такое же, как и с
использованием автопогрузчика. Таким образом:
Таким образом, эксплуатационная
производительность равна:
И, наконец, было найдено потребное число ПТМ
:
по прибытии
6.2 Определение капитальных вложений по
вариантам
Суммарные капитальные вложения по вариантам
складываются из следующих затрат:
на приобретение и монтаж ПТМ;
строительство складского комплекса;
сооружение железнодорожных, подкрановых путей,
эстакады, автоподъездов;
гараж для погрузчиков;
тяговое обеспечение (тяговая подстанция,
контактная сеть, пункт заправки дизельным топливом, пункт зарядки
аккумуляторов).
Таким образом, капитальные затраты были
определены по формуле:
Таблица 6
Расчет капитальных вложений по вариантам
|
Наименование
измерителя
|
Ед.
измерния
|
Стоимость
измерителя, тыс. руб.
|
Варианты
|
|
|
|
Автопогрузчик
|
Электропогрузчик
|
|
|
|
Коли-чество
|
Общая
стоимость, тыс. руб.
|
Коли-чество
|
Общая
стоимость, тыс. руб.
|
|
Крытый
склад
|
|
107,2
|
1
|
268792,208
|
1
|
268792,208
|
|
Ж/д
путь
|
пог.
м
|
75
|
1
|
6894
|
1
|
6894
|
|
Автопроезд
|
|
21
|
1
|
58506
|
1
|
58506
|
|
Подводка
и монтаж: водоснабжение канализация теплоснабжение
|
пог.
м пог. м пог. м
|
24
19,5 78
|
1
1 1
|
16924,95
|
1
1 1
|
16924,95
|
|
Подводка
электросети
|
пог.
м
|
1,25
|
1
|
174,125
|
2
|
348,25
|
|
Малогабаритный
погрузчик
|
шт.
|
2,8
|
5
|
16,1
|
6
|
13,11
|
|
Итого
|
351307,383
|
351478,518
|
6.3 Расчет эксплуатационных расходов по
вариантам
Эксплуатационные расходы складываются из трех
составляющих:
на содержание механизмов и постоянных устройств
с учетом амортизационных отчислений;
на топливо и электроэнергию;
на заработную плату работников.
В общем виде расчет эксплуатационных расходов
был произведен по формуле:
- при использовании электропогрузчика
Суммарные расходы на электроэнергию
включают
в себя затраты на электроэнергию для питания двигателей ПТМ
и
на освещение грузового пункта:
Для ПТМ с электрическим двигателем
(электропогрузчики, козловые и мостовые краны, конвейеры и т. д.):
При использовании автопогрузчика:
При использовании электропогрузчика:
Расходы на ремонт, техническое обслуживание
погрузочно-разгрузочных машин было принято в размере 8,9% от их стоимости:
(42)
При использовании автопогрузчика:
При использовании электропогрузчика:
Дополнительные расходы на общие и
общехозяйственные нужды:
При использовании автопогрузчика:
При использовании электропогрузчика:

при использовании автопогрузчика
;
- при использовании электропогрузчика
Результаты расчетов были сведены в следующую
таблицу.
Таблица 7
Расчет эксплуатационных затрат по вариантам
|
Статья
эксплуатационных расходов
|
Величина
эксплуатационных затрат, тыс. руб.
|
|
Варианты
|
|
Автопогрузчик
|
Электропогрузчик
|
|
Фонд
заработной платы
|
3240648
|
3918783,6
|
|
Суммарные
расходы на электроэнергию
|
42409509,2
|
40557979,44
|
|
Расходы
на вспомогательные материалы
|
10602377,3
|
10139494,86
|
|
Амортизационные
отчисления
|
187949,45
|
177848,13
|
|
Величина
налога на имущество
|
322
|
262,2
|
|
Расходы
на ремонт
|
1432,9
|
1166,79
|
|
Дополнительные
расходы на общие и общехозяйские нужды
|
79019134,39
|
76629749,03
|
|
Итого
|
135461373,24
|
131425284,05
|
6.4 Выбор наилучшего варианта
Наилучшим был признан вариант с меньшими
приведенными расходами
При использовании автопогрузчика:
При использовании электропогрузчика:
Наименьшие приведенные расходы были получены в
том случае, когда для погрузочно-разгрузочных работ будет использован
электропогрузчик, следовательно, это и есть наилучший вариант.
7. Суточный график работы средств механизации
погрузочно-разгрузочных работ
Суточный график работы средств механизации
погрузочно-разгрузочных работ студент должен разработать для варианта, который
признан лучшим после проведения технико-экономических расчетов, если иное не
оговорено заданием.
Цель построения графика - графическое
изображение технологии погрузки-выгрузки заданного груза.
Построение суточного графика работы средств
механизации погрузочно-разгрузочных работ было выполнено на основе следующих
исходных данных:
На станцию прибывают тарно-штучные грузы.
Суточный грузооборот по прибытии
,
в том числе по прямому варианту перегружается 20 % от общего объема.
Автотранспорт работает с 8 до 16 часов.
Построение графика начинается с определения
количества контейнеров в одной подаче с учетом «прямого» варианта. Для этого
суточный грузопоток по прибытии разделяется на 4 подачи: 784=196+196+196+196.
Соответственно количество тон груза, перегружаемого по «прямому» варианту за
сутки, составит
а в каждой подаче
- 157/4, т. е. 157=39+39+39+40.
Время работ с автотранспортом не рассчитывается,
а принимается условно, исходя из того на сколько заняты ПТМ на выгрузке из
вагонов.
Результаты расчетов были сведены в таблицу.
Таблица 8
Результаты расчетов для построения суточного
графика работы ПТМ
|
Номер
подачи
|
Количество
тонн груза в одной подаче
|
Время
работы ПТМ, ч
|
|
по
«прямому» варианту
|
без
«прямого» варианта
|
всего
|
по
«прямому» варианту
|
без
«прямого» варианта
|
всего
|
|
1
|
39
|
157
|
196
|
0,87
|
3,49
|
4,36
|
|
2
|
39
|
157
|
196
|
0,87
|
3,49
|
4,36
|
|
3
|
39
|
157
|
196
|
0,87
|
3,49
|
4,36
|
|
4
|
40
|
156
|
196
|
0,89
|
3,47
|
4,36
|
|
Всего
|
157
|
627
|
784
|
|
|
|
Для того чтобы рационально организовать
погрузочно-разгрузочные работы, тонны груза по «прямому» варианту были
разделены, т. е. их перегрузка осуществлялась двумя электропогрузчиками. Таким
образом, первый электропогрузчик выгружал по 20 т в течение 4х подач, а второй
- по 19 т, за исключением последней подачи, где им были выгружены 20 т. При
перегрузке из вагонов в склад тонны груза также были разделены, но в данном
случае выгрузку осуществляли 4 электропогрузчика, т. е. третий, четвертый и пятый
электропогрузчики выгружали по 39 т в течение 4х подач, а шестой - 40 т в
течение первых 3х подач и 39 во время четвертой.
8. Техническое обслуживание и ремонт
подъемно-транспортных машин
На железнодорожном транспорте для ПТМ
установлена система планово-предупредительного технического обслуживания и
ремонта (ППР). Она представляет собой комплекс взаимосвязанных средств,
исполнителей и документации технического обслуживания и ремонта, необходимых
для поддержания и восстановления соответствующего качества машин в заданных
условиях эксплуатации.
Все мероприятия, предусмотренные системой ППР,
разделяются на техническое обслуживание и ремонт.
Техническое обслуживание (ТО) представляет собой
комплекс операций по поддержанию работоспособности или исправности машины при
использовании ее по назначению, хранении и транспортировании.
Ремонт - комплекс операций по восстановлению
исправности или работоспособности машины.
В системе планово-предупредительного
технического обслуживания и ремонта приняты следующие определения.
Ремонтный цикл - наименьший повторяющийся
интервал времени или наработки машин с начала эксплуатации до капитального
ремонта, в течение которого осуществляются в определенной последовательности
все виды ТО и ремонта, предусмотренные нормативно-технической документацией.
Периодичность технического обслуживания - время
или наработка между данным видом технического обслуживания и последующим таким
же видом или другим большей сложности.
Предполагается, что ТО-1, ТО-2 и ТР не могут
выполняться в праздничные и выходные дни.
По графику было определено плановое, фактическое
количество всех видов ремонта и технических обслуживаний, а также возможная
экономия средств при совмещении некоторых из них. Эти данные также были
приведены в графике.
. Автоматизация погрузочно- разгрузочных работ и
складских операций
Сущность автоматизации состоит в том, что
производственные процессы, в том числе операции основного технологического
процесса производства и связанные с ними погрузочно-разгрузочные, транспортные
и складские (ПРТС) работы выполняются без участия человека (или с минимальным
участием человека - в зависимости от степени автоматизации операций)
автоматическими машинами и механизмами. В промышленности автоматизируются
основные технологические процессы производства продукции и связанные с ними
ПРТС работы, как часть комплексной технологии производства. В торговле и на
транспорте автоматизируются перегрузочные, комплектовочные, сортировочные
операции, транспортировки и складирование грузов, формирование транспортных
пакетов и т.д.
В данном разделе была рассмотрена автоматизация
погрузочно-разгрузочных работ и складских операций с тяжеловесными грузами.
Тяжеловесные грузы хранят, как правило, на
низких открытых площадках с твердым асфальтобетонным покрытием. Грузы, качество
которых ухудшается под воздействием атмосферных осадков, располагают под
навесом, в крытых складах, в пролетах заводских корпусов.
Для выгрузки тяжеловесных грузов, перевозимых в
крытых вагонах, в крытые склады или под навесы применяют вилочные электро- и
автопогрузчики. Груз должен быть подготовлен к такой выгрузке еще при погрузке
в вагоны (поддоны, прокладки, наличие захватов для вил и т. д.). Если груз не
подготовлен, то применяются сменные захватные приспособления или используется
толкатель, установленный на погрузчике, с помощью которого груз можно
натаскивать на вилы и сталкивать при установке в складе. При выгрузке
тяжеловесных грузов у открытой платформы или площадки используются
автопогрузчики с безблочной крановой стрелой.
Погрузка и выгрузка грузов по откидным и
торцовым бортам и с разворотом на полу платформ допускаются только в случае
использования переходных мостиков и приспособлений, предохраняющих борта и пол
платформы от повреждений. При использовании мостиков на перегрузочных операциях
борта платформ при подаче их к высоким (1100 мм и более) грузовым платформам
(рампам) должны быть опущены, а после вывода с места погрузки-выгрузки подняты
и закреплены. Борта загруженных платформ допускается оставлять в опущенном
состоянии при соответствующем их закреплении.
Растяжки, удерживающие груз от смещения, должны
крепиться за специальные увязочные устройства. Специальные площадки на грузовых
дворах для перевозки и хранения тяжеловесных грузов устраивают рядом с
контейнерными площадками для возможного использования одних и тех же кранов при
перегрузке контейнеров и тяжеловесных грузов. Для перегрузки тяжеловесных
грузов массой, превышающей грузоподъемность одного крана, и при
несистематическом их поступлении применяют спаренные краны, поднимающие грузы
массой не более их общей грузоподъемности. Управлять спаренными кранами может
один машинист.
Пульт автоматического управления спаренными
кранами может быть расположен на любом из кранов, на обоих кранах или вынесен и
установлен стационарно вне кранов. При наличии пультов управления на обоих
кранах управление спаренными кранами возможно с пульта любого крана.
Площадки для тяжеловесных грузов специализируют
по роду грузов, по прибытии и отправлению, направлениям перевозки, по
получателям груза. Тяжеловесные грузы при выгрузке на площадку должны быть
уложены на подкладки толщиной 15-20 мм, а между грузами должны быть проходы
шириной не менее 1 м для осмотра и захвата при перегрузке.
Сборные железобетонные изделия и детали хранят
на деревянных подкладках и прокладках. Толщина прокладок должна быть не меньше
высоты монтажных петель или выступающих частей изделия. При перевозке деталей,
уложенных в несколько ярусов или в штабель, прокладки следует располагать рядом
с местами застропки строго по вертикали (допустимое отклонение не более 10 мм).
В качестве захватных приспособлений для
тяжеловесных грузов на грузовых дворах применяются различного рода стропы,
грейферно-клещевые захваты, электромагниты и траверсы в сочетании со стропами,
рымно-строповые захваты для перегрузки крупногабаритных грузов и тракторов. На
машинах (двигателях) для подъема их предусматриваются рамы или крючковые
захваты с целью накладывания крюков или петель стропов в перегрузке.
На подъездных путях промышленных предприятий
находят применение стреловые поворотные краны на железнодорожном, автомобильном
и пневмоколесном ходу. Они эффективны в тех случаях, когда используются для
погрузки-выгрузки различных грузов и погрузочно-разгрузочные фронты находятся в
разных пунктах. В цехах готовой продукции заводов металлургии, машиностроения,
железобетонных изделий, когда склады примыкают к производственным цехам,
широкое применение получили мостовые краны. Кроме того, на базах и открытых
складах материально-технического снабжения для тяжеловесных грузов применяют
башенные краны-погрузчики.
Продукцию рельсобалочных цехов укладывают
кранами на стеллажи. Погрузочно-разгрузочные работы с рельсами и балками
выполняют, как правило, мостовыми кранами, оборудованными специальными
захватными устройствами. В качестве захватных устройств применяют лапчатые
захваты, траверсы с крюками для захвата проката, увязанного в пачки, или
электромагнитные плиты.
Особенно эффективны краны со специальными
лапчатыми захватами. Их тележки отличаются от тележек обычных мостовых кранов.
Верхняя рама передвигается по рельсам, уложенным на поясах главных ферм
кранового моста. Нижняя рама тележки поворачивается на вертикальной колонке,
прикрепленной к верхней ходовой раме. На поворотной раме находятся две лебедки
для подъема траверсы, снабженной четырьмя консольными лапами, захватывающими
пакет балок или рельсов. Поднятый пакет может быть повернут в горизонтальной
плоскости в любую сторону.
Для перегрузки профильного проката используют
прямоугольные электромагниты, имеющие, в отличие от круглых, равномерное
силовое магнитное поле по всей рабочей поверхности. При небольших высотах
подъема токоподводящий кабель закреплен петлеобразно, иногда используют
установленные на краны подпружиненные вращающиеся барабаны, автоматически обеспечивающие
необходимое натяжение кабеля.
Особенно удобен в работе кран, тележка которого
оборудована траверсой с двумя магнитными плитами и предохранительными
подхватами, удерживающими поднятый пакет от падения в случае перерыва в подаче
электроэнергии. До тех пор, пока траверса с пакетом рельсов или балок поднята,
подхваты остаются замкнутыми. Комбинированные грузозахватные устройства дороже,
чем магнитные или лапчатые, но зато они сочетают в себе преимущества тех и
других.
Ниже на рисунке показана схема электромагнитного
захвата для грузопереработки стальных листов. Подвешиваемый к крюку крана
П-образный корпус имеет гнезда, в которых на цапфах вращается плита с
выступающим бортом. В плиту вмонтированы серийные подъемные электромагниты. На
корпусе смонтирован механизм поворота плиты, связанный с цапфами цепной
передачей.
Электромагнитный захват с предохранительной
опорной плитой:-механизм поворота плиты; 2 - цепная передача; 3 - корпус; 4 -
цапфы;
- плита; 6 - выступающие аорты; 7-
электромагниты.
Для транспортирования листового металла плита
устанавливается в горизонтальное положение и захват опускается на груз. С
притянутым к электромагнитам грузом захват поднимается, и плита переводится в
наклонное положение, так что груз может опираться на плиту и ее борт. Это
исключает падение груза при выключении тока.
Магнитно-грейферные захваты состоят из двух
прямоугольных электромагнитов, подвешенных на траверсе, и грейферных захватов,
управляемых поддерживающими и замыкающими канатами. При выключении тока груз от
падения удерживается грейферными захватами, управляемыми канатами.
Известны и другие конструкции электромагнитных
захватов с предохранительными приспособлениями. Например, для перегрузки труб
большого диаметра служит электромагнитный захват, у которого к траверсе
подвешено несколько электромагнитов и к этой же траверсе при помощи шарнирного
четырехзвенника прикреплены подхватные лапы, управляемые рычажным механизмом.
Он выполнен самотормозящим и при выключении тока груз удерживается на лапах.
Иногда для обеспечения безопасности в случае применения электромагнитных
захватов кран оснащают аккумуляторной батареей, от которой подается
электроэнергия в момент отключения источника основного электропитания.
Листовую сталь грузят траверсами с двумя или
тремя магнитными или обычными захватами. В ряде случаев для погрузки пакетов
тонколистовой стали применяют клещевые захваты.
Открытые и закрытые склады труб, как правило,
оснащают мостовыми и реже козловыми кранами, также снабженными специальными
траверсами с захватами. Трубы малых диаметров захватывают канатными или
ленточными стропами, прикрепленными к траверсе. Для погрузки и штабелирования
труб среднего и большого диаметров удобно применять многокрюковые захваты,
состоящие из продольной траверсы и подвешенных к ней поперечных траверс,
снабженных крюками для захвата труб с торца. Каждую трубу зацепляют двумя
крюками. Для перегрузки тяжелых труб большого диаметра служит захват с
вертикально-поворотными лапами, который состоит из траверсы, навешиваемой на
крюк крана, имеющей горизонтальные опоры. Ими она опирается на поднимаемую
трубу. На торцах траверсы закреплены в направляющих подвижные ползуны. В них
поворачиваются вертикальные стойки с лапами. Ползуны перемещаются штоками
гидротолкателей, а поворот стойки осуществляется кривошипным механизмом,
приводимым гидротолкателями. Наличие ползунов обеспечивает захват труб
различной длины. Насосная установка с электроприводом и распределительные
золотники находятся в центре траверсы. Траверсой управляют с пульта крановой
кабины.
Для перегрузки и хранения длинномерного проката
в крытых складах применяются краны-штабелеры мостового типа и стеллажные.
Мостовой кран-штабелер, управляемый из кабины,
можно эксплуатировать в неотапливаемом закрытом помещении при температуре не
ниже -40° С. Для стеллажного крана-штабелера с автоматическим управлением
допускается температура эксплуатации не ниже +5° С, т. е. необходимо закрытое
отапливаемое помещение.
Длинномерный сортовой прокат при временном
хранении на открытых площадках укладывают в стоечные стеллажи или в специальные
металлические скобы, которые удобны для захвата груза при перегрузке.
Длительное хранение длинномерного металла на открытых складах нецелесообразно,
так как при этом происходит коррозия металла.
На автоматизированных складах прокат обычно
хранят в пакетах и поддонах, дающих возможность улучшить условия хранения и
транспортировку грузов, повысить использование емкости складских помещений и
снизить издержки производства.
Для перегрузки немагнитных материалов
(нержавеющей стали, алюминия и др.) применяют вакуумные захватные устройства.
Ими можно поднимать поштучно листовой стальной металл из штабелей (причем
исключается его намагничивание, как это бывает при использовании
электромагнитов).
Вакуумные грузозахватные устройства в
зависимости от способа создания в камере вакуума разделяются на насосные,
безнасосные и эжекторные. Наибольшее распространение получили вакуумные захваты
с насосами. Такие захваты состоят из камер (присосов), насоса с электрическим
приводом, ресивера и необходимой аппаратуры распределения и управления. Насос с
приводом может быть расположен на раме захватного устройства совместно с
захватными камерами или непосредственно на грузоподъемной машине (погрузчике,
кране).