Система управления подачей топлива тепловоза ЧМЭЗ

  • Вид работы:
    Реферат
  • Предмет:
    Транспорт, грузоперевозки
  • Язык:
    Русский
    ,
    Формат файла:
    MS Word
    1,04 Мб
  • Опубликовано:
    2014-02-27
Вы можете узнать стоимость помощи в написании студенческой работы.
Помощь в написании работы, которую точно примут!

Система управления подачей топлива тепловоза ЧМЭЗ
















Система управления подачей топлива тепловоза ЧМЭЗ

Введение

Сущность изобретения: топливная система тепловоза, работающего на водотопливной и других видах эмульсии, снабжена топливными насосами высокого давления, форсунками, топливным и водяным баками, подкачивающими насосами, гидравлическим делителем потока, электрическим двухходовым переключающим клапаном, электрическим регулирующим дросселем, струйным смесителем, гидравлическим сумматором потока, диспергатором и гидроуправляемыи клапаном.

Изобретение относится к железнодорожному транспорту, а именно к топливной системе тепловоза.

Известна топливная система тепловоза, содержащая топливный бак, подводящий и сливной топливопроводы, топливоподкачивающий насос, фильтры тонкой и грубой очистки топлива, насос высокого давления, форсунку, соединительные трубопроводы, запорную и регулирующую арматуру, в которой к подводящему и сливному трубопроводам подсоединяются переносные рукава от стационарного внешнего бака и смесителя, в котором готовится водотопливная эмульсия.

Недостатком такой топливной системы является низкое качество эмульсирования и, как следствие, низкая эффективность в работе дизеля на водотопливных и других видах эмульсии.

Целью изобретения является повышение эффективности в работе дизеля тепловоза на водотопливных и других эмульсиях.

Для этого топливная система тепловоза, содержащая топливный и водяной баки, подводящий и сливной трубопроводы,топливоподкачивающий и водяной насосы с всасывающими полостями, фильтры грубой и тонкой очистки топлива и воды, установленные на трубопроводах подачи топлива и воды соответственно после топливоподкачивающего и водяного насосов, насосы высокого давления с форсунками, запорные клапаны, диспергатор и соединительные трубопроводы, дополнительно снабжена двухходовым электрическим переключающим клапаном, электрическим регулирующим дросселем, струйным смесителем с двумя входами и выходом, гидравлическим сумматором потока с тремя входами и выходом, перепускными клапанами с переливными выходами, гидроуправляемым клапаном с управляющим входом, гидравлическим делителем потока с входом и двумя выходами, дополнительно установленными в топливопровод между фильтром тонкой очистки топлива и насосами высокого давления.

При этом выход фильтра тонкой очистки топлива соединен с входом гидравлического делителя потока, первый выход гидравлического делителя потока соединен через первый запорный клапан с первым входом гидравлического сумматора потока, выход которого соединен с входом диспергатора. В свою очередь выход диспергатора соединен с входом первого перепускного клапана, а выход перепускного клапана с топливным насосом высокого давления. Второй выход гидравлического делителя потока связан с входом двухходового электрического переключающего клапана, соединенного своим первым выходом с вторым запорным клапаном, соединенным с вторым входом гидравлического сумматора потока. Второй выход двухходового электрического переключающего клапана связан через третий запорный клапан с первым входом струйного смесителя, выход которого подключен через четвертый запорный клапан к третьему входу гидравлического сумматора потока. Второй вход струйного смесителя соединен через электрический регулирующий дроссель, пятый запорный клапан, второй перепускной клапан и фильтр тонкой очистки воды с выходом водяного насоса, а всасывающая полость водяного насоса соединена с водяным баком.

Переливной выход второго перепускного клапана соединен с всасывающей полостью водяного насоса, а вход второго перепускного клапана через гидроуправляемый клапан также соединен с всасывающей полостью водяного насоса. Переливной выход первого перепускного клапана связан через шестой запорный клапан с входом электрического регулирующего дросселя, а также непосредственно с управляющим входом гидроуправляемого клапана, а второй выход двухходового электрического переключающего клапана соединен через третий перепускной клапан с входом гидравлического делителя потока.

Такое выполнение топливной системы дизеля тепловоза позволяет повысить точность дозирования в 2 раза и получать высокоэмульсированные топливные смеси, что повышает эффективность в работе дизеля на водотопливной и других эмульсиях.

ТОПЛИВНАЯ СИСТЕМА ТЕПЛОВОЗА ЧМЭЗ

Топливная система предназначена для хранения, подогрева, очистки и подачи топлива в цилиндры дизеля. В систему входят топливный бак, специальный подогреватель, топливоподкачивающий и ручной насосы, фильтры грубой и тонкой очистки, насосы высокого давления, форсунки, регуляторы и трубопроводы с клапанами и вентилями. СИСТЕМА ПОДАЧИ ТОПЛИВА

При работающем дизеле циркуляцию топлива в системе обеспечивает топливоподкачивающий насос 18 (рис. 1), получающий привод от коленчатого вала дизеля. Насос засасывает топливо из бака 1 через обратный клапан 20 и фильтр грубой очистки 19, а затем нагнетает его через фильтры тонкой очистки 11 в топливный коллектор 8, который соединен шестью перепускными трубками с насосами высокого давления 5. Насосы через форсунки 10 подают топливо под давлением 300 кгс/см2 в цилиндры дизеля.

Давление топлива в коллекторе 8 (2,0 - 2,5 кгс/см2) поддерживается перепускным клапаном 7, установленным на заднем конце коллектора. Параллельно этому клапану подсоединена сливная трубка с вентилем 6, который при работающем дизеле должен быть закрыт. На ремонтах вентиль 6 открывают для слива топлива из коллектора перед снятием топливных насосов высокого давления. При увеличении давления в коллекторе выше установленной нормы избыток топлива сливается перепускным клапаном в бак через трубку 3 и топливоподогреватель 23. Подогрев топлива осуществляется горячей водой, поступающей в топливоподогреватель из основного контура охлаждения дизеля.

Для защиты топливной системы от высокого давления перед фильтрами тонкой очистки 11 поставлен предохранительный клапан 13, отрегулированный на давление 5,3 - 5,5 кгс/см2. При засорении фильтров тонкой очистки клапан открывается и сливает топливо в бак через топливоподогреватель.

 <javascript:openWindow('/pic/techlibrary/f101f.gif','',0,0)>

Рис.1. Топливная система ТЕПЛОВОЗА ЧМЭЗ

- топливный бак; 2, 3 - сливные трубы; 4, 9 - сливные коллекторы; 5 - топливный насос высокого давления; 6 - вентиль; 7 - перепускной клапан; 8 - топливный коллектор; 10 - форсунка; 11 - фильтр тонкой очистки; 12 - тарелка под фильтром; 13 - предохранительный клапан; 14, 20 - обратные клапаны; 15, 16 - краны; 17 - ручной насос; 18 - топливоподкачивающий насос; 19 - фильтр грубой очистки; 21 - всасывающая труба; 22 - грязесборник; 23 -топливоподогреватель.

Чистое топливо от насосов и форсунок, просочившееся через неплотности между деталями, собирается в сливных коллекторах 4 и 9 и по трубе 2 поступает в бак. Концы сливных трубок от форсунок входят в специальные отростки, приваренные к сливному коллектору 9. Для контроля за сливом топлива в отростках сделаны овальные отверстия а. При работающем дизеле должно наблюдаться каплепадение из каждой сливной трубки (течь топлива не допускается). Загрязненное топливо с тарелки 12 под фильтрами 11 и с верхней плиты отсека распределительного вала, на которой установлены топливные насосы 5, стекает по отдельному трубопроводу в грязесборник 22.


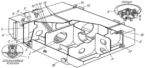
ТОПЛИВНЫЙ БАК

Используется для хранения дизельного топлива в количестве 6000 л. Бак сварен из стальных листов и усилен внутренними стальными перегородками 5, делящими его на восемь отсеков. Для облегчения бака и сообщения отсеков между собой в перегородках сделаны вырезы е. Такая конструкция обеспечивает достаточную жесткость и прочность бака при его небольшой массе.

В местах, усиленных перегородками, к баку приварены двенадцать бонок 13 (по шесть с каждой стороны). В них ввернуты шпильки, используемые для крепления шести стальных плит, с помощью которых бак подвешивают к главной раме тепловоза.

По торцам к баку прикреплены болтами четыре предохранительных захвата 14, предотвращающие его падение на путь в случае излома шпилек. От продольного перемещения бак фиксируется четырьмя упорными угольниками 15, приваренными к баку после его подвешивания. Для транспортировки бака к его торцовым стенкам приварены четыре подвеса 18. Бак заправляют топливом под давлением через две заливочные горловины 8, снабженные фильтрующими сетками д. В эксплуатации горловины закрыты пробками 16. Количество топлива определяют по двум топливомерным стеклам 6, расположенным с обеих сторон бака. Для сообщения полости бака с атмосферой на нем установлен сапун 9, крышка б которого имеет зазор относительно корпуса г.

Рис.2 Топливный бак

, 16, 17 - пробки; 2 - эжекторное устройство; 3 - отстойник; 4 - шариковый клапан; 5 - перегородка; 6 - топливомерное стекло; 7 - грязесборник; 8 - заливочная горловина; 9 - сапун; 10, 11 - всасывающие трубы; 12 - сливная труба; 13 - бонка; 14 - предохранительный захват; 15 - упорный угольник; 18 - подвес

В корпусе сапуна установлен фильтр в, состоящий из четырех кассет, разделенных металлическими прокладками. Кассета представляет собой спираль, выполненную из двух стальных лент, прилегающих друг к другу. Поскольку одна лента гладкая, а другая волнистая, то между ними образуются щели для прохода воздуха. Наличие сапуна не допускает понижения давления воздуха в баке при всасывании топлива топливоподкачивающим насосом, что затрудняло бы его работу. Кроме того, исключается возможность повышения давления топлива в баке сверх атмосферного при экипировке тепловоза. Изготовленный бак испытывают гидравлическим давлением 0,2 - 0,3 кгс/см2.

По торцам бака расположены два отстойника 3, в каждом из которых имеются два отверстия, закрытые пробками 1. В одном из них (со стороны топливомерного стекла) установлен шариковый клапан 4, с помощью которого периодически сливают отстой (грязь и воду). Слив отстоя обязателен перед набором топлива. Вторую пробку в эксплуатации не отвертывают, а используют только на ремонте для промывки бака. При этом дополнительно отворачивают четыре пробки 17 на боковых стенках бака. Внутри бака установлены три наклонные трубы (две всасывающие 10 и 11 и одна сливная). Всасывающая труба 10 через обратный клапан и фильтр грубой очистки (см. рис. 1)соединена с топливоподкачивающим насосом, а труба 11 - с ручным насосом. По трубе 12 топливо сливается в бак после топливоподогревателя. Трубы 10 и 12 соединены эжекторным устройством 2.

Загнутый конец трубы 12, играющий роль сопла, входит в воронкообразный раструб, приваренный к концу трубы 10. Сливаемое в бак подогретое топливо выбрасывается из трубы 12 непосредственно в раструб трубы 10, в котором при работающем дизеле постоянно создается разрежение. Такая конструкция не только облегчает работу топливоподкачивающего насоса, но и обеспечивает достаточно хороший подогрев в холодное время года.

Для слива чистого топлива от обоих сливных коллекторов к баку присоединяют трубу 2 (см. рис. 1). Грязное топливо стекает в грязесборник 7 (см. рис. 2)вместимостью 50 л. Он вварен в бак и сообщается с атмосферой трубкой а. Для слива из грязесборника предусмотрено отверстие с шариковым клапаном, закрытое пробкой.

ТОПЛИВОПОДОГРЕВАТЕЛЬ

Так как бак размещен между тележками тепловоза и не защищен от действия низких температур, то находящееся в нем топливо в холодное время года может застыть. Для прогрева топлива в баке служит Топливоподогреватель (рис. 3), прикрепленный к раме дизеля с правой стороны.

В стальной цилиндрический корпус 13 топливоподогревателя с обеих сторон вварены трубные решетки 5, представляющие собой стальные диски с отверстиями.

Рис.3 Топливоподогреватель

, 12 - штуцеры для подвода и отвода топлива; 2 - болт; 3, 8 - патрубки для подвода и отвода воды; 4, 9 - задняя и передняя крышки; 5 - трубная решетка; 6 - медные трубки; 7 - сегментная перегородка; 10 - уплотнительная прокладка; 11 - патрубок для сливного крана; 13 - корпус

В отверстия трубных решеток вставляют, развальцовывают и припаивают 123 медные трубки 6, на которые предварительно надевают и припаивают три сегментные перегородки 7. К торцам корпуса прикреплены болтами 2 передняя 9 и задняя 4 крышки, соединенные патрубками 3 и 8 с основным контуром циркуляции воды. К передней крышке 9 приварен патрубок 11 для крепления сливного крана. Между крышками и корпусом установлены уплотнительные паронитовые прокладки 10. К корпусу топливоподогревателя снизу приварены штуцеры 1 и 12 для входа и выхода топлива.

Горячая вода, охладив дизель, через патрубок 3 поступает в крышку 4, проходит по трубкам 6 в крышку 9 и через патрубок 8 отводится к всасывающей трубе основного водяного насоса. Поступающее через штуцер 1 топливо омывает трубки 6, отбирая от них тепло, и далее через штуцер 12 сливается в топливный бак. Путь топлива внутри корпуса удлиняется за счет сегментных перегородок 7, что повышает эффективность теплообмена.

ТОПЛИВОПОДКАЧИВАЮЩИЙ НАСОС

Передняя крышка 9 одновременно является корпусом шарикового подшипника 14, на который опирается вал 16 ведущей шестерни 6. Двумя другими опорами вала служат бронзовые втулки 5, запрессованные в расточки крышек. Положение опорно-упорного шарикового подшипника 14 фиксируется стопорными кольцами 11 и 12. Вал 4 ведомой шестерни 1 вращается в двух других бронзовых втулках 2, также запрессованных в крышках. Втулочные подшипники 2 и 5 смазываются топливом, для подвода которого на поверхности крышек сделаны выемки, соединенные с канавками а во втулках. Шестерни 1 и 6 напрессованы на валы 4 и 16. Ведущая шестерня 6 дополнительно фиксируется шпонкой. На переднем конце ведущего вала 16 укреплена при помощи шпонки и корончатой гайки шестерня привода 13 (Z = 26).

Рис.4 Топливоподкачивающий насос

, 6 - ведомая и ведущая шестерни; 2, 5 - втулочные подшипники; 3, 9 - задняя и передняя крышки; 4, 16 - ведомый и ведущий валы; 7 - шпилька; 8 - корпус насоса; 10, 17 - сальники; 11, 12 - стопорные кольца; 13 - шестерня привода; 14 - шариковый подшипник; 15, 18 - фланцы

В расточках передней крышки установлены три сальника. Два сальника 17 препятствуют просачиванию топлива по валу. Сальник 10, дополнительно закрепленный в корпусе стопорным кольцом, не допускает просачивания масла, смазывающего шестерню 13 и подшипник 14. Между сальниками 10 и 17 в передней крышке 9 имеется открытая полость А для вытекания просочившегося топлива или масла. Насос прикреплен к главному масляному насосу дизеля при помощи фланца 15, отлитого за одно целое с передней крышкой 9.

РУЧНОЙ ТОПЛИВОПОДКАЧИВАЮЩИЙ НАСОС

Крыльчатого типа установлен на переднем конце дизеля с правой стороны. Насос состоит из корпуса, крышки, крыла, укрепленного на валу, и перегородки. Корпус 1 насоса (рис. 5а)отлит из чугуна заодно с двумя патрубками и двумя ушками. Патрубки заканчиваются фланцами б, используемыми для подсоединения всасывающей и нагнетательной труб, а в ушках а сделаны отверстия под болты. Внутри корпус имеет коническую расточку под подвижное крыло 6.

Рис.5а Ручной Топливоподкачивающий насос

- корпус; 2 - шплинт; 3, 7 - клапаны крыла; 4 - рукоятка; 5 - вал; 6 - крыло;8,14 - клапаны перегородки; 9 - перегородка; 10 - крышка; 11 - втулка; 12 - гайка; 13, 15 - нагнетательная и всасывающая трубы

Рис.5б Схема работы топливоподкачивающего насоса

Со стороны всасывающего патрубка в корпусе установлена литая латунная фигурная перегородка 9, положение которой относительно корпуса фиксируется цилиндрическим штифтом диаметром 5 мм. В перегородке сделаны два окна г, закрытые двумя пластинчатыми клапанами 8 и 14. Осями поворота клапанов являются шплинты 2, проходящие через отверстия в приливах перегородки 9. Уплотнение перегородки относительно корпуса достигается за счет притирки, а относительно вала 6 - с помощью войлочной прокладки в, установленной в специальном пазу.

Крыло 6 отлито из латуни и имеет два прямоугольных окна, закрытых пластинчатыми клапанами, аналогичными по конструкции и креплению с клапанами перегородки. Крыло укреплено на стальном валу 5, один конец которого входит в гнездо корпуса, а другой проходит через крышку 10. Литая чугунная крышка 10 соединяется с корпусом четырьмя болтами М8. Относительно крышки вал уплотняется сальником из асбестового шнура. Для монтажа сальника в центральном приливе крышки расточено гнездо д. Уложенный в гнездо асбестовый шнур прижимается латунной втулкой 11, положение которой (плотность набивки сальника) регулируется гайкой 12, навернутой на прилив. Под гайку 12 ставят пластмассовое кольцо. Крыльчатый насос приводится в действие рукояткой 4, надетой на квадратный хвостовик вала 5 и закрепленной гайкой. В крышке 10 имеется отверстие е с резьбой, закрытое пробкой. Оно используется для заполнения дизельным маслом камеры насоса между перегородкой 9 и крылом 6, что облегчает процесс всасывания топлива в самом начале работы насоса.

При повороте рукоятки против часовой стрелки (рис. 5б) поворачивается крыло 6, т.е. в камере В создается разрежение. Клапан 14 перегородки автоматически открывается, а клапан 3 крыла закрывается, в результате чего камера В заполняется топливом, поступающим через всасывающую трубу 15. Одновременно другая часть крыла, приближаясь к перегородке 9, увеличивает давление в камере А. При закрытом клапане 8 перегородки открывается клапан 7 крыла, и начинается нагнетание топлива в камеру Б и далее в нагнетательную трубу 13. При обратном ходе крыла разрежение создается в камере А, а нагнетание топлива из камеры В в камеру Б осуществляется через открытый клапан 3 крыла. Полный угол поворота рукоятки (и крыла) составляет примерно 120°. Максимальная подача насоса 22,5 л/мин достигается равномерным качанием рукоятки с частотой 55 ходов в минуту.

ТОПЛИВНЫЕ ФИЛЬТРЫ

Упрощенно фильтр состоит из корпуса, закрытого крышкой, внутри которого находится фильтрующий элемент. Фильтр грубой очистки пластинчато-щелевого типа защищает шестеренчатый топливоподающий насос от попадания в него из топливного бака механических частиц размером более 0,1 мм.

Расположенный в алюминиевом корпусе фильтрующий элемент представляет собой набор стальных рабочих пластин 4 (рис. 6а) толщиной 0,2 мм, между которыми установлены промежуточные пластины (звездочки) 3 толщиной 0,1 мм. Пластины 3 и 4 собраны на стержне 1, на верхнем конце которого укреплена рукоятка 2.

Рис.6 Схема очистки топлива в фильтре грубой (а) и тонкой (б) очистки


Стержень имеет плоский срез, не допускающий проворота пластин и обеспечивающий правильную их сборку (звездочки 3 располагаются так, что своими выступами не закрывают окна в рабочих пластинах). Топливо проходит через щели между рабочими пластинами, образованные звездочками, и далее через окна а отводится к топливоподкачивающему насосу (на рис. 6а выход чистого топлива показан стрелками).

Для очистки фильтра поворачивают по часовой стрелке рукоятку 2. Установленные на стержне рабочие пластины 4 и промежуточные 3 поворачиваются относительно неподвижных ножей 6 толщиной 0,1 мм, которые счищают грязь с поверхностей рабочих пластин. Ножи собраны на квадратном стержне 5, ввернутом в крышку фильтра. Два одинаковых по конструкции фильтра тонкой очистки установлены на нагнетательном трубопроводе перед топливным коллектором (см. рис. 1). Они обеспечивают качественную очистку топлива перед поступлением его к насосам высокого давления и форсункам, улавливая механические частицы размером до 3 - 5 мкм.

Каждый фильтр имеет двухсекционный корпус, отлитый из алюминиевого сплава, в котором установлен фильтрующий элемент. Основанием фильтрующего элемента является стальной цилиндрический сетчатый каркас 9 (рис. 6б), на который надевают войлочные пластины 8. Собранный фильтрующий элемент закрепляют на пустотелой шпильке 7, ввернутой в корпус.

Топливо очищается, проходя через войлочные пластины и сетчатый каркас, а затем по радиальным отверстиям б попадает в пустотелую шпильку и далее по каналам в корпусе и соответствующим трубопроводам отводится в топливный коллектор. Фильтр снабжен переключательной пробкой, позволяющей при необходимости отключить одну из секций. В качестве фильтрующего элемента вместо набора войлочных пластин могут быть использованы бумажные элементы ФЭТО (фильтрующий элемент тонкой очистки).

КЛАПАНЫ ТОПЛИВНОЙ СИСТЕМЫ

Обеспечивают нормальный режим работы топливоподкачивающего и ручного насосов, поддерживают постоянное давление в коллекторе и защищают систему от повышенного давления. Обратные клапаны, используемые в системе, предназначены для перепуска топлива только в одном направлении. Один из них установлен на всасывающей трубе (см. рис. 1) и не позволяет топливу при неработающем дизеле сливаться в бак, что необходимо для нормальной работы шестеренчатого насоса, имеющего небольшую высоту всасывания (0,5 - 0,8 м). Второй обратный клапан стоит на нагнетательной трубе за ручным насосом и не пропускает топливо к ручному насосу при работающем дизеле. Оба клапана одинаковы по конструкции. Внутри литого чугунного корпуса 3 (рис. 7а)имеется перегородка, в которой расточено отверстие, являющееся седлом клапана. К седлу коническим пояском притерт стальной клапан 4, имеющий цилиндрическую форму. На верхнем торце клапана прорезан паз, используемый для притирки клапана к седлу.

Рис.7 Обратный (а) и перепускной (б) клапаны

- пробка; 2, 8 - уплотнительные кольца; 3 - корпус; 4 - клапан; 5 - регулировочный винт; 6 - пружина; 7 - шайба; 9 - колпачковая гайка

Клапан устанавливают в корпус через отверстие с резьбой МЗО, закрываемое пробкой 1, под которую ставят медное уплотнительное кольцо 2. Для подсоединения трубопроводов к клапану на выступах корпуса 3 нарезана резьба М42. Форма перегородки в корпусе позволяет поднять клапан только при определенном направлении движения топлива. При изменении этого направления клапан под действием собственного веса садится на свое седло.

Перепускной клапан установлен на конце коллектора топливных насосов высокого давления(см. рис. 1), а предохранительный - на нагнетательном трубопроводе перед фильтрами тонкой очистки. При повышении давления перед клапаном до заданной величины он открывается и перепускает лишнее топливо через топливоподаватель в бак. Перепускной клапан большую часть рабочего времени открыт, так как топливоподкачивающий насос имеет высокую производительность (2520 л/ч), значительно превышающую потребность дизеля в топливе. Предохранительный клапан обычно закрыт и открывается в случае засорения фильтров тонкой очистки или застывания топлива. По конструкции перепускной и предохранительный клапаны не отличаются друг от друга. В цилиндрической расточке стального корпуса 3 (рис. 7б) установлен стальной клапан 4, имеющий форму стакана. На его наружной поверхности большего диаметра проточены пять лабиринтных канавок в шириной 2 мм, обеспечивающих уплотнение клапана в корпусе.

Для исключения противодавления при просачивании топлива между корпусом и клапаном последний имеет два радиальных отверстия б диаметром 4 мм. Своим коническим пояском под углом 45° клапан притерт к седлу в корпусе и прижат к нему пружиной 6. Другим концом эта пружина упирается в стальную шайбу 7, надетую на регулировочный винт 5, ввернутый в пробку 1. В свою очередь пробка 1 ввернута в корпус клапана. Между ней и корпусом ставят медное уплотнительное кольцо 2.

На выступающий конец винта 5 навернута колпачковая гайка 9, фиксирующая его положение после регулировки затяжки пружины. Под гайку кладут уплотнительное медное кольцо 8. С противоположной стороны в корпусе 3 клапана нарезана резьба М26 для соединения с топливным коллектором (или нагнетательным трубопроводом). Для присоединения сливной трубы корпус клапана имеет выступ а с резьбовым отверстием М26.

УХОД ЗА ТОПЛИВНОЙ СИСТЕМОЙ

При приемке тепловоза проверяют наличие топлива в баке по топливомерному стеклу. Если тепловоз находится на смотровой канаве, то при неработающем дизеле удаляют конденсат вместе с механическими примесями из отстойников и грязесборника топливного бака (набирать топливо можно только после обязательного слива отстоя). При неработающем дизеле периодически проворачивают на 2 - 3 оборота по часовой стрелке рукоятку фильтра грубой очистки 19 (см. рис. 1), очищая его пластины от грязи. Перед пуском дизеля необходимо убедиться, что все насосы высокого давления включены, проверить свободность хода реек и готовность предельного регулятора к работе, для чего рукоятку вала управления рейками оттягивают на себя до упора и отпускают. При небольшом усилии все рейки должны иметь максимальное перемещение. Если рейка какого-либо насоса не перемещается, то можно попытаться "расходить" ее, предварительно смазав дизельным маслом. Насос с заклиненной рейкой отключают.

Проверяют положение вентиля 6, который должен быть закрыт. Это следует делать периодически, так как в эксплуатации имели место случаи самопроизвольного открытия вентиля вследствие вибрации, что вызывало перебои в работе дизеля и даже его остановку из-за недостаточного количества топлива в коллекторе. При осмотре тепловоза обращают внимание на отсутствие течи топлива по пробкам топливного бака.

В связи с отсутствием на тепловозе ЧМЭ3 манометра, показывающего давление в топливном коллекторе, надо перед пуском дизеля после длительной стоянки (например, после ремонта) прокачать топливо ручным насосом 17 и открыв кран 15, убедиться, что в системе нет воздуха (топливо течет сплошной струей). Если удалить попавший в систему воздух полностью не удается, то открывают пробки на крышках фильтров тонкой очистки 11 и корпусах топливных насосов высокого давления 5.

В том случае, когда из-за неисправности регулятора дизеля или засорения его масляного фильтра рейки топливных насосов в период прокачки масла перед пуском не передвигаются (или передвигаются недостаточно), для ускорения и облегчения пуска дизеля необходимо передвинуть рейки вручную, потянув рукоятку вала управления на себя до отказа. Следует иметь в виду, что эту рукоятку надо отпустить сразу же после пуска дизеля, чтобы предотвратить срабатывание предельного регулятора.

В процессе работы дизеля (при остановленном тепловозе) периодически контролируют состояние топливной системы. При этом обращают внимание на каплепадение из сливных трубок форсунок, свободность хода реек насосов и отсутствие течи топлива в трубопроводах. Бесцветный выпуск отработавших газов свидетельствует о нормальной работе топливной аппаратуры.

В заключение стоит привести причины, которые вызывают снижение давления топлива в системе (а следовательно, неустойчивую работу дизеля). Это происходит из-за засорения штуцера, соединяющего всасывающую трубу с топливным баком, а также топливных фильтров грубой и тонкой очистки. Возможны износ сальников топливоподкачивающего насоса 18, а также течь топлива между крышками насоса и его корпусом (эти неисправности можно определить визуально).

топливный бак тепловоз дизель

Список использованной литературы

1.Володин А.И. Локомотивные двигатели внутреннего сгорания.-М.: Транспорт,1978.-239с.

.Кринецкий И.И. Регулирование двигателей внутреннего сгорания. -М. :Машгиз,1979 - 192с.

.Соболь В.Н. Техническая диагностика и улучшение переходных процессов тепловозных дизелей.-НИИинформтяжмаш. Двигатели внутреннего сгорания. - 1973. - №4. -С.48-55.

.Тартаковский Э.Д., Бабанский H.H., Бабанин А.Б. Совершенствование технологии технического обслуживания тепловозов // Электрическая и тепловозная тяга. - 1982. - №1. - С.24-26.

.Шевчук В.Д., Колотий В.П., Жалкин С.Г., Тартаковский Э.Д. и др. Техническая диагностика тепловозов // Электрическая и тепловозная тяга. -1974. №9.-С. 17-18.

Похожие работы на - Система управления подачей топлива тепловоза ЧМЭЗ

 

Не нашли материал для своей работы?
Поможем написать уникальную работу
Без плагиата!
Без нейросетей!