Расчет сцепления автомобиля МАЗ-437040 с двигателем ММЗ-Д-245.30Е2
Федеральное агентство по образованию
Государственное образовательное
учреждение высшего профессионального образования
Уральский федеральный университет
имени первого Президента России Б.Н. Ельцина
Механико-машиностроительный институт
Кафедра «Детали машин»
Секция «Автомобили и тракторы»
РАСЧЕТНО-ГРАФИЧЕСКАЯ РАБОТА №1
«Расчет сцепления автомобиля
МАЗ-437040 с двигателем ММЗ-Д-245.30Е2»
Преподаватель Брюхов К.В.
Студент гр. ММ-401001 Смышляев Р.В.
Екатеринбург 2013г.
Содержание
Исходные
данные
Часть
1. Расчет фрикционных накладок
Часть
2. Расчёт параметров пружин сцепления
Часть
3. Расчёт привода сцепления
Приложение
Библиографический
список
Исходные
данные
Автомобиль МАЗ-437040
Рисунок 1. Внешний вид МАЗ-437040
Технические характеристики автомобиля [2]:
Снаряженная масса 5150 кг
Полная масса 5000 кг
Шины 235/70 R17,5
Сцепление Однодисковое, сухое, с гидравлическим приводом
выключения и центральной диафрагменной пружиной
Коробка передач Механическая, пятиступенчатая, с синхронизаторами
на всех передачах
Передаточные числа коробки передач
I 7,31
II 4,21
III 1,98
IV 1,00
V 0.81
З/Х 6,15
Главная передача
Гипоидная
Передаточное число главной передачи 3.49
Технические характеристики бензинового двигателя ММЗ-Д-245.30Е2[3]:
Расположение и число цилиндров рядное, четыре
Рабочий объем, л
4,75
Мощность, кВт (л.с.) 115 (156)
Частота вращения, об/мин 2200
Максимальный крутящий момент, Нм (кгм) 460 (47)
Частота вращения при макс. крут. моменте об/мин 1500
Часть 1.
Расчет фрикционных накладок
В соответствии с методикой расчёта («Выбор размеров фрикционных
накладок») выбираем следующий режим движения легкового автомобиля (колёсная
формула - 4´2):
трогание с места на второй передаче.
Ход расчёта:
1. Определяем вспомогательные величины и показатели нагруженности
пар трения сцепления.
.1 Общее передаточное число трансмиссии iтр.
(1.1.1)
.
.2
Момент инерции ведомых частей сцепления Ja, кг×м2
. (1.1.2)
где
- полная масса автомобиля, кг;
- радиус
качения колеса, м.
Принимаем
где
Н - высота профиля шины, мм
d - диаметр
обода колеса диска, дюйм
где
- отношение высоты профиля к ее ширине
В
- ширина профиля шины, мм
кг·м2
.3
Момент сопротивления движению
, Н×м.
. (1.1.3)
где
- полный вес автомобиля, Н.
g - ускорение
свободного падения, м/с
-
коэффициент дорожного сопротивления
Принимаем
значение
Н·м
.4
Расчётная угловая скорость вращения коленчатого вала двигателя ωрасч , рад/с.
рад/с
.5
Работа буксования сцепления
, кДж.
кДж.
.6
Мощность буксования сцепления
, кВт.
(1.1.5)
кВт.
Сведём
полученные значения вспомогательных величин в таблицу для удобства их
использования при дальнейших расчётах.
Таблица
1 - Значения вспомогательных величин
|
Наименование величины
|
Обозначение
|
Значение
|
Единица измерения
|
|
Общее передаточное число
трансмиссии
|
14,7-
|
|
|
|
Момент инерции ведомых
частей сцепления
|
6,75
|
|
|
|
Момент дорожного
сопротивления
|
85,6
|
|
|
|
Расчётная угловая скорость
коленчатого вала двигателя
|
172,7
|
|
|
|
Работа буксования сцепления
|
299,5кДж
|
|
|
|
Мощность буксования
сцепления
|
57,2кВт
|
|
|
. Принимаем число ведомых дисков сцепления i.
На основании сцепления прототипа принимаем i=1.
. Выбор значения коэффициента запаса сцепления β.
Согласно ГОСТ 1786-80 коэффициент запаса фрикционных муфт сцепления
рекомендуют брать, в зависимости от типа машин, в пределах:
Грузовые автомобили β=1,5-2,2[5]
Принимаем β=1,85.
4.
Определение статического момента трения сцепления
, Н×м.
. (1.4.1)
Н·м
.
Выбор расчётного коэффициента трения,
.
На
стадии проектирования сцепления примем
.
.
Определение коэффициента диаметров накладок диска
.
, (1.6.1)
где
- внутренний диаметр накладки, мм;
-
наружный диаметр накладки, мм.
На
стадии проектирования сцепления примем
.
.
Задание допустимых значений удельных показателей нагруженности пар трения
сцепления
.
Определяем
искомые коэффициенты, значения которых приведены в таблице ниже.
Таблица
2 - Допустимые значения удельных показателей нагруженности пар трения сцепления
|
Коэффициент
|
Значение
|
Единица измерения
|
|
0,2МПа
|
|
|
|
0,724
|
|
|
|
140
|
|
|
|
350
|
|
|
|
110
|
|
|
8.
Определение наружного диаметра накладки, обеспечивающего допустимое давление
на фрикционные накладки
, м.
. (1.8.1)
см.
.
Определение минимально необходимых значений общей поверхности трения ведомого
диска, обеспечивающих допустимые значения удельных показателей нагруженности
пар трения сцепления (
-
)
,
,
,
, см2.
,
(1.9.1)
, (1.9.2)
,
(1.9.3)
.
(1.9.4)
см2 .
см2.
см2 .
см2 .
.
Определение максимального значения общей поверхности трения ведомого диска,
обеспечивающего допустимые значения всех четырёх коэффициентов
.
(1.10.1)
Принимаем
см2.
.
Определение наружного диаметра накладки, исходя из максимального значения общей
поверхности трения ведомого диска
, м.
(1.11.1)
см
.
Определение наружного
, м, и внутреннего
, м,
диаметров накладки, исходя из вычисленных
и
.
Принимаем
см.
Из
формулы находим:
см.
.
Определение размеров наружного и внутреннего диаметра накладки согласно ГОСТ
1786-95.
По
таблице находим ближайшие к вычисленным значениям диаметров накладки размеры,
мм:
а)
б)
Пересчитываем
значения параметров накладок, исходя из вариантов их размеров. Расчёты оформим
в таблицу.
Таблица
3 - Параметры накладок
|
Параметр
|
Формула
|
Вариант размеров
|
|
|
а) б)
|
|
|
Наименование
|
Обозначение
|
|
Значение
|
|
1
|
2
|
3
|
4
|
5
|
|
Площадь накладки ведомого
диска
|
 483,1
см2526,9 см2
|
|
|
|
|
Площадь общей поверхности
трения
|
 1014,5
см21053,8 см2
|
|
|
|
|
Средний радиус накладок
|
 13,5
см14,2 см
|
|
|
|
|
Суммарная сила сжатия всех
пружин
|
 10,5
кН10 кН
|
|
|
|
|
Давление на фрикционные
накладки
|
 0,217
МПа0,188 МПа
|
|
|
|
|
Коэффициент момента
двигателя
|
 0,453 0,437
|
|
|
|
|
Коэффициент мощности
двигателя
|
 113,4 109,1
|
|
|
|
|
Удельная работа буксования
|
 295,2 284,2
|
|
|
|
|
Удельная мощность
буксования
|
 56,5 54,3
|
|
|
|
14.
В варианте «а» значение
превышает допустимое значение
Исходя
из этого, следует выбрать значение
.
Контроль выбранного диаметра DН с учётом максимально допустимой частоты вращения
ведомого диска.
Сравнивая максимально допустимую частоту вращения ведомого диска для
выбранного наружного диаметра накладки nе max = 4500мин-1 с частотой вращения
коленчатого вала двигателя при максимальной мощности nе N =2200 мин-1,
убеждаемся в достаточной прочности накладки при действии центробежных сил.
Часть 2. Расчет параметров пружин сцепления
накладка сцепление трение педаль
Согласно техническим данным завода-изготовителя в конструкции сцепления
автомобиля МАЗ-437040 применяется диафрагменная пружина. Поэтому все вычисления
будем проводить в соответствии с методикой расчёта тарельчатых (диафрагменных)
пружин [6].
Ход расчёта.
Исходные данные: Рном=10 кН; i=1; D1=325 мм; d1=185 мм.
. Сила, создаваемая пружиной при включенном положении сцепления,
Р1=Рном+Р0, (2.1.1)
где Р0 - суммарная сила отжимных пружин сцепления; можно принять Р0 =
(0,05…0,08)Рном.
Р0 = 0,65·Рном.
Р1 = Рном+0,65·Рном = 10+0,65·Рном = 10,65 кН.
. Рабочий ход hp
пружины
Hp=(2Δн+ω)i, (2.2.1)
где Δн - зазор для новых накладок между поверхностями
трения при полностью выключенном сцеплении, Δн=0,75…1,0 мм;
ω - осевая деформация ведомого диска,
равная 1…1,5 мм.
hp=(2·0,85+1,25)·1=2,95 мм.
. Ход пружины h0,
соответствующий допустимому суммарному линейному износу фрикционных пар. Обычно
принимают равным 4…8 мм.
Примем h0=6 мм.
. В существующих конструкциях диафрагменных пружин имеют место
следующие соотношения: D ≥ 2,5d’; D = (1,15…1,5)d; H
= (1,6…2,2)δ; D
= (75…100)δ; α = 10…150; n = 8…20 [5]- число лепестков пружины.
Рассчитываем параметры пружины. Для этого принимаем наружный диаметр
пружины равным наружному диаметру фрикционных накладок= Dн = 325 мм, тогда
δ = D / (75…100) = 325 / (75…100) = 3,25…4,3 = 4 мм;
H = (1,6…2,2)δ = (1,6…2,2) 4 = 6,4…8,8 = 8 мм;
ϒ = 13;= D / (1,15…1,5)
= 325 / (1,15…1,5) = 283…217 = 250 мм;’ ≤ D / 2,5 = 325 / 2,5 ≤ 130
мм.
. Выбрав размеры
пружины в указанных пределах, рассчитаем и построим характеристику пружины,
т.е. зависимость силы Р, действующей на нажимной диск, от перемещения λ этого диска:
, (2.5.1)
где
Е = 2·105 МПа;
μ = 0,26;
k1 = d/D;
k2 = Dc/D;
k1 = 250/325=0,769;= 250+(325-250)/5 = 265 мм
k2 = 250/325 =
0,815.
Рисунок
2. Зависимость нажимного усилия от деформации пружины
Значения
силы Р при различных λ
занесены в таблицу :
Таблица
4 - Значение силы Р в зависимости от деформации λ
|
λ,
мм
|
1
|
2
|
3
|
4
|
5
|
6
|
7
|
8
|
9
|
10
|
11
|
|
Р, кН
|
8,61
|
13,92
|
16,51
|
17,03
|
16,06
|
14,24
|
12,18
|
10,48
|
9,76
|
10,64
|
13,73
|
. Вычисляем вспомогательные величины:
(2.6.1)
.
(2.6.2)
.
7. Вычисляем напряжение в сечении основания лепестка:
(2.7.1)
где
Рmax - максимальная сила Р.
Рmax =
17,025 кН.
Полученное
напряжение
МПа меньше допускаемого напряжения в диафрагменных
пружинах , которое составляет
=
700-800МПа для материалов, из которых изготавливают пружины(сталь 65Г, 85Г,
60С2), следовательно, данная пружина работоспособна.
Часть 3.
Расчет привода сцепления [6]
На автомобиле МАЗ-437040 установлено сцепление с гидравлическим приводом.
Ход расчёта.
1. Определяем ход нажимного диска при выключении сцепления hр, мм.
р =
(2Δн +
ω) zд = (2 ・ 0,85 + 1,25) ・ 1 = 2,95 мм
где, Δн = 0,85мм - необходимый зазор для новых накладок между
поверхностями трения при полностью выключенном сцеплении;
ω = 1,25 мм - осевая деформация ведомого
диска.
2. Задаем
величину зазора между концами рычагов сцепления и подшипником выключения
сцепления
, мм.
=2…4 мм.
Примем
= 3 мм.
3. Определяем передаточное число привода uпр и ход педали Sп, мм.
(3.3.1)
где a1, a2, b1, b2, c1, c2 -
геометрические размеры привода сцепления, мм;- диаметр главного цилиндра
сцепления, мм;
d2 - диаметр рабочего цилиндра сцепления, мм;
(обычно d2/d1
≈ 1,0).
(3.3.2)
мм.
Согласно ГОСТ 21398-75
допускаемый ход педали при выключении сцепления для грузового автомобилей
должен находиться в пределах 150-180 мм. Полученный ход педали не превышает
допускаемое значение.
4. Определяем максимальное усилие на педаль Рп мах, Н.
,
(3.4.1)
где
Рмах - максимальная сила, действующая на нажимной диск, Н;
- КПД
привода, примем
= 0,9.
Н.
По
ГОСТ Р 52280-2004 допускаемое усилие на педаль при выключении сцепления [Рп] =
147 Н - для легковых и грузовых автомобилей с усилителем и [Рп] = 245 Н - для
грузовых автомобилей без усилителя. Если Рп мах > [Pп], необходимо ставить
усилитель.
5. Определяем параметры пневмоусилителя
.1. Вычисляем необходимую силу на штоке пневмоусилителя Рш, Н.
(3.5.1)
где
- КПД механизма сцепления, примем
=0,9.
.2.
Определяем максимальную допустимую силу, передаваемую на шток через
гидросистему [PГ], Н.
; (3.5.2)
В данном
случае РГ = 147 Н.
.
.3.
Рассчитываем максимальную необходимую силу, развиваемую в цилиндре
пневмоусилителя и передаваемую на шток РЦ max, Н.
, (3.5.3)
где
Рвоз - максимальная сила, развиваемая пружиной возврата пневмоусилителя, Н.
.
5.3. Определяем диаметр цилиндра пневмоусилителя d3, мм.
, (3.5.4)
где
рw- давление в ресивере (обычно рw =
0,65…0,75 МПа).
.
Проектный
расчёт элементов сцепления на базе автомобиля-прототипа МАЗ-437040 с дизельным
двигателем ММЗ-Д-245.30Е2 завершён. Сведём все наиболее характерные параметры в
таблицу.
Таблица
5. - Параметры элементов сцепления
|
Наименование величины
|
Обозначение
|
Значение
|
Единица измерения
|
|
Диаметры фрикционных
накладок
|
325мм
|
|
|
|
185
|
|
|
|
Суммарная сила сжатия всех
накладок
|
10Н
|
|
|
|
Передаточное число
гидропривода
|
38,4-
|
|
|
|
Длина хода педали сцепления
|
170мм
|
|
|
|
Диаметр цилиндра
пневмоусилителя
|
41мм
|
|
|
Приложение
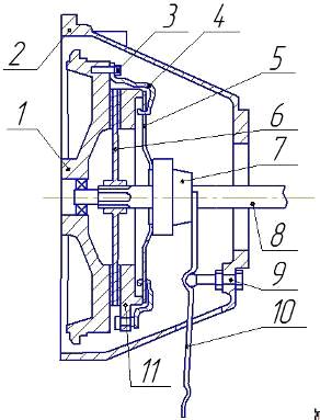
Рисунок №1. Сцепление в сборе с пружиной
- картер сцепления; 2 - маховик; 3 - ведомый диск сцепления; 4,5 -
опорные кольца; 6 - нажимной диск; 7 - пружина нажимная диафрагменная; 8 -
подшипник выключения сцепления; 9 -поролоновые кольца; 10 - муфта выключения
сцепления; 11 - шаровая опора; 12 - кожух; 13 - вилка выключения сцепления; 14
- толкатель рабочего цилиндра; 15 - пластины соединительные; 16 - рабочий
цилиндр
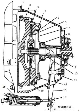
Рисунок 2. Эскиз сцепления
- маховик; 2 - картер сцепления; 3 - болт крепления кожуха сцепления; 4 -
кожух сцепления ведущий диск; 5 - диафрагменная пружина болт крепления пружины;
6 - ведомый диск; 7 - муфта; 8 - вал; 9 - шаровая опора; 10 - вилка; 11 -
ведущий диск
Рисунок 3. Диафрагменная пружина
Рисунок №4. Эскиз диафрагменной пружины
Рисунок №5. Гидравлический привод с пневмоусилителем
- педаль; 2 - главный цилиндр; 3 - нижний упор; 4 - кронштейн; 5 -
компенсационный бачок; 6 - сервопружина; 7 - рычаг; 8 - толкатель поршня
главного цилиндра; 9 - эксцентриковый палец; 10 - верхний упор; 11 - отжимная
пружина; 12 - трубка подачи жидкости; 13 - трубка подвода воздуха; 14 - клапан
выпуска воздуха; 15 - сферическая регулировочная гайка; 16 - толкатель поршня
пневмогидроусилителя; 17 - защитный чехол; 18 - пневмогидроусилитель; I - сжатый воздух
Рисунок 6. Эскиз привода сцепления
- педаль сцепления, 2 - расширительный бачок гидропривода выключения
сцепления, 3 - главный цилиндр гидропривода выключения сцепления, 4 -
трубопровод гидропривода выключения сцепления, 5 - пневмо- гидроусилитель, 6 -
шток поршня пневмогидроусилителя; 7 - вилка выключения сцепления, 8 - подшипник
выключения сцепления с муфтой, 9 - нажимной диск, 10 - трубка подвода воздуха.
a1, a2, b1, b2, c1, c2 -размеры для расчёта привода сцепления;
d1-диаметр
главного цилиндра;
d2-диаметр
рабочего цилиндра;
d3-диаметр
цилиндра пневмоусилителя;

-
давление в ресивере
Рисунок
№7. Пневмогидроусилитель привода сцепления
1
- сферическая гайка; 2 - контргайка; 3 - толкатель поршня выключения сцепления;
4 - защитный чехол; 5 - поршень выключения сцепления; 6 - корпус следящего
поршня; 7, 21, 24, 26 - манжеты; 8 - перепускной клапан; 9 - предохранительный
клапан; 10 - мембрана следящего устройства; 11 - седло мембраны; 12 - пробка;
13 - возвратная пружина; 14 - крышка подвода воздуха; 15 - стержень клапанов;
16 - впускной клапан; 17 - выпускной клапан; 18 - пружина мембраны; 19 -
передний корпус; 20 - пневматический поршень; 22 - пружина поршня; 23 - корпус
уплотнения поршня; 25 - крышка подвода воздуха; 27 - задний корпус; I - подвод
тормозной жидкости; II - подвод воздуха
Библиографический
список.
1. Багин Ю.И. Автомобили. Конструкция и элементы расчета
шасси: Учебное пособие/Ю.И. Багин, А.В. Ильин. Екатеринбург: УГТУ-УПИ, 2008.
354 с.
. Кальмансон Л.Д. и др. Автомобили ГАЗ-31105. Руководство по
ремонту, эксплуатации и обслуживанию. М.: РусьАвтокнига, 2005. 256 с., илл.
. Сайт http://www.mmz.ru/ - Миасский машиностроительный завод.
. Сайт http://www. car-exotic.com / - информация об
автомобилях отечественно и иностранного производства.
. Острецов А.В., Красавин П.А., Воронин
В.В. Автомобильные сцепления: Учебное пособие по дисциплинам
«Конструкция автомобиля и трактора» и «Конструирование и расчет автомобиля» для
студентов вузов, обучающихся по специальности 190201 «Автомобиле - и
тракторостроение». - М.: МГТУ «МАМИ», 2011. - 99 с.
. Проектирование полноприводных колесных машин: В 2 т. Т. 2.
Учебник для вузов / Б.А. Афанасьев, Б.Н. Белоусов, Л.Ф. Жеглов, и др.; Под обш.
ред. А.А. Полунгяна. - М.: Иэд-во МГТУ им. Н.Э. Баумана, 2000. - 640 с.