Разработка способа ремонта крышки подшипника ведущего вала автомобиля Камаз 5410

  • Вид работы:
    Курсовая работа (т)
  • Предмет:
    Транспорт, грузоперевозки
  • Язык:
    Русский
    ,
    Формат файла:
    MS Word
    110,13 Кб
  • Опубликовано:
    2014-02-26
Вы можете узнать стоимость помощи в написании студенческой работы.
Помощь в написании работы, которую точно примут!

Разработка способа ремонта крышки подшипника ведущего вала автомобиля Камаз 5410

Государственное образовательное учреждение

Среднего профессионального образования

Самарский политехнический колледж








Курсовая работа

На тему: Разработать способ ремонта крышки подшипника ведущего вала автомобиля Камаз 5410


Третьякова Алексея Викторовича

Группа А-4







План

1.1 Введение

.2 Назначение крышки подшипника ведущего вала

.3 Состав и структура основных производственных фондов

.4 Рентабельность и ее значение

. Расчетная часть

.1 Составление технической карты капитального ремонта крышки подшипников ведущего вала

.2 Состав бригады

.3 Составление сводной таблицы фонда заработной платы

.4 Расход материалов на капитальный ремонт крышки подшипника ведущего вала

.5 Определение накладных расходов

.6 Составление сметы затрат по капитальному ремонту крышки подшипника ведущего вала

. Технико - экономические показатели

Выводы

ремонт подшипник вал затрата

1.1 Введение

Существует всего несколько видов ремонта автомобиля, каждый из которых производится в определенных случаях. Разбираясь в терминах и понимая нюансы, вы сможете на равных общаться как с продвинутыми автовладельцами, так и с механиками на СТО.

Диагностика - это проверка технического состояния и остаточного ресурса отдельных узлов, либо автомобиля в целом. Применяется в основном для оценки технического состояния автомобиля, для выявления неисправностей на ранней стадии, либо для выявления причины уже возникшей поломки.

Слесарный ремонт - это все работы по устранению неисправностей, выявленных в процессе диагностики или технического обслуживания. Сюда же относятся работы по устранению неполадок возникших в процессе эксплуатации машины. Различают текущий и капитальный ремонт.

Работы по электрике и электронике автомобилей. Сюда относятся, например, установка сигнализации, ремонт проводки, замена лампы в фаре и т.д. Многие из этих работ требуют более высокой квалификации и специальной подготовки, по этому проводит их, чаще всего, отдельный сотрудник, называемый автоэлектриком.

Кузовной ремонт. Необходимость в нем возникает обычно, реже, а суммы, как правило, намного больше. Кузовной ремонт может понадобиться в случае ДТП или наезда на препятствие, а так же по причине естественного износа кузова. В процессе эксплуатации кузов подвергается достаточно агрессивному воздействию окружающей среды - летящие камни, зимние дорожные реагенты, солнечные лучи, кислотные дожди, автомойка и т.д. Поэтому сколы, трещины, вмятины и ржавчина - нормальные спутники любой машины, которая используется по назначению, а не стоит в гараже.

Так же существует несколько видов обслуживания:

техническое обслуживание (ТО-1, ТО-2);

сезонное техническое обслуживание (СО);

ежедневное техническое обслуживание (ЕО);

Техническое обслуживание (ТО) - включает следующие виды работ: уборочно-моечные, контрольно-диагностические, крепежные, смазочные, заправочные, регулировочные, электротехническое и другие работы, выполняемые, как правило, без разборки агрегатов и снятия с автомобиля отдельных узлов и механизмов. Если при техническом обслуживании нельзя убедиться в полной исправности отдельных узлов, то их следует снимать с автомобиля для контроля на специальных стендах и приборах.

Сезонное обслуживание проводится для подготовки автомобиля к эксплуатации в холодное и теплое время года, т. е. 2 раза в год. Его необходимость объясняется просто: для нормальной работы трущихся поверхностей нужны одинаковые условия независимо от температуры окружающей среды.

Работы, входящие в СО:

промывают систему охлаждения;

проверяют работу пускового подогревателя, жалюзи, системы отопления и вентиляции, состояние цилиндровой группы;

промывают систему смазки двигателя;

заменяют масла и смазки во всех агрегатах.

При подготовке автомобиля к зимней эксплуатации:

проверяют приборы электрооборудования;

промывают карбюратор и топливный бак;

утепляют и подготавливают аккумуляторную батарею.

Ежедневное обслуживание (ЕО) - это проведение контрольного осмотра (в первую очередь по узлам, механизмам и системам, влияющим на безопасность движения), уборочно-моечных операций (проводимых по потребности, с учетом санитарных и эстетических требований и условий эксплуатации) и дозаправочных работ (при необходимости доливка масла в двигатель, охлаждающей жидкости, подкачка шин и т. д.)

.2 Назначение крышки подшипника ведущего вала

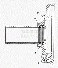
Крышки подшипников служат для предотвращения попадания пыли и грязи внутрь корпуса и в подшипниковые узлы и для передачи на корпус осевых усилий. Крышки могут быть глухими 17, 18, 19 и сквозными 20, 21. В последних проточены отверстия для прохода валов и специальные кольцевые канавки для уплотнения. Крышки могут быть закладные и привертные.

Крышка подшипника ведущего (первичного) вала, изготовленная из ковкого чугуна КЧ 35-10, подлежит восстановлению при следующих дефектах:

обломы и трещины на трубе;

износ отверстия с маслосгонной канавкой;

износ отверстия под сальник;

износ отверстий под болты крепления к картеру коробки передач;

износ торцовой поверхности фланца под стопорное кольцо подшипника ведущего вала.

1



Манжета с пружиной в сборе


3



Манжета с пружиной в сборе


7



Крышка заднего подшипника первичного вала


9



Заглушка чашечная 8


1.3 Состав и структура основных производственных фондов

Понятие, сущность, значение и их классификация

Имея ясное представление о каждом элементе основных фондов в производственном процессе, о их физическом и моральном износе, о факторах, которые влияют на использование основных фондов, можно выявить методы, при помощи которых повышается эффективность использования основных фондов и производственных мощностей предприятия, обеспечивающая снижение издержек производства и, конечно, рост производительности труда.

Основные фонды промышленного предприятия (объединения) представляют собой совокупность материально-вещественных ценностей, созданных общественным трудом, длительно участвующих в процессе производства в неизменной натуральной форме и переносящие свою стоимость на изготовленную продукцию по частям по мере износа.

Основные фонды принято делить на две большие группы: основные производственные фонды и основные непроизводственные фонды.

Основные производственные фонды предприятия - это средства труда, которые участвуют во многих производственных циклах, сохраняя при этом свою натуральную форму, а их стоимость переносится на изготовляемый продукт частями по мере их износа. К ним относятся промышленные здания и сооружения, силовое и производственное оборудование, передаточные устройства, различные виды производственного транспорта, инвентарь производственный и хозяйственный, нематериальные активы (патенты и ноу-хау), внутрихозяйственные дороги, земельные участки и т.д., то есть основные фонды, функционирующие в сфере производства и прямо или косвенно участвующие в создании продукции предприятия. Другими словами, основные производственные фонды - часть средств производства, которая многократно участвует в производственном процессе, переносит свою стоимость на готовый продукт частями по мере износа, сохраняет свою натуральную форму в течение всего срока службы.

Основные непроизводственные фонды - это находящиеся в ведении предприятий длительно существующие объекты непроизводственного назначения, ни прямо, ни косвенно не участвующие в создании продукции предприятия, а используемые в непроизводственной сфере (в жилищно-коммунальном хозяйстве, торговле, общественном питании, здравоохранении и т.д.).

Производственная структура основных фондов и ее динамика являются показателями технического уровня предприятия и оказывают большое влияние на эффективность затрат на основные фонды. Чем выше в составе основных фондов доля орудий труда: машин, оборудования, приборов, то есть чем больше активная часть основных фондов, тем больше продукции может быть произведено на каждый рубль основных фондов (в общем случае).

Удельный вес активной части ОПФ в общем объеме определяется как отношение среднегодовой величины активной части ОПФ к среднегодовой величине ОПФ, исчисленной в совокупности по всем группам основных фондов. Для перевода этого отношения в проценты его необходимо умножить на 100.

) Отрасль производства, к которой относится предприятие. Например, рабочие машины и оборудование занимают наибольший удельный вес в составе основных производственных фондов предприятий таких отраслей, как машиностроение (36%), легкая промышленность (40%).

) Уровень концентрации, специализации и кооперирования производства. Чем выше этот уровень, тем выше степень его механизации и больше удельный вес в составе основных фондов рабочих машин и оборудования.

) Географическое размещение предприятий и климатические условия. От этого зависит тип (а, следовательно, и стоимость) зданий и сооружений.

) Общий уровень индустриального развития страны и технического оснащения промышленности. С повышением этого уровня в составе основных производственных фондов предприятий возрастает удельный вес наиболее активной части основных фондов - рабочих машин и оборудования - и понижается удельный вес зданий, то есть пассивной части основных фондов.

Согласно существующей классификации основные фонды промышленности по своему составу в зависимости от целевого назначения и выполняемых функций подразделяются на следующие виды:

здания,

сооружения,

передаточные устройства,

машины и оборудование, в том числе:

силовые

рабочие

измерительные и регулирующие предметы

вычислительная техника

прочие

транспортные средства,

инструменты,

производственный инвентарь и принадлежности,

прочие основные фонды (рабочий скот, многолетние насаждения).

Каждая группа состоит из множества разнообразных средств труда. В группе здания выделяют три подгруппы: производственные здания, непроизводственные здания и жилье. Сооружения делятся на подземные, нефтяные и газовые скважины, горные выработки. К передаточным устройствам относят трубопроводы и водопроводы. Силовые машины это турбины, электродвигатели. Рабочие машины и оборудование подразделяются в зависимости от отраслей использования. Инструменты и инвентарь учитываются в составе основных фондов только в том случае, если они служат больше одного года и стоят больше 1 млн. руб.( если меньше - то это уже малоценные и быстроизнашивающиеся предметы и включаются в состав оборотных фондов).

Здание и сооружения производственного назначения, передаточные устройства, машины и оборудование, транспортные средства формируют основные фонды производственного назначения.

Соотношение отдельных групп основных фондов в их общем объеме представляет собой видовую (производственную) структуру основных фондов. В зависимости от непосредственного участия в производственном процессе производственные основные фонды подразделяются на: активные (обслуживают решающие участки производства и характеризуют производственные возможности предприятия) и пассивные (здания, сооружения, инвентарь, обеспечивающие нормальное функционирование активных элементов основных фондов).

В основном, масса производственных основных фондов в промышленности сосредоточена в активной части.

Видовая структура основных фондов различна в отраслях промышленности. Например, доля зданий в общей стоимости основных фондов наиболее велика в пищевой промышленности (44%), сооружений - в топливной промышленности(17%), передаточных устройств - в электроэнергетике (32%), машин и оборудования - на предприятиях машиностроительного комплекса (45% и свыше ).Состав и структура основных фондов зависят от особенностей специализации отрасли, технологии и организации производства, технической оснащенности. Структура основных фондов может быть различна по отраслям промышленности и внутри отдельной отрасли в связи с теми же причинами.

Оценка основных фондов

Планирование, учет, контроль и анализ использования и воспроизводства основных фондов производится:

) в натуральных показателях;

) в денежном (стоимостном) выражении.

В натуральных показателях основные фонды учитываются для:

) определения их технического состава и состояния;

) определения производственной мощности предприятий;

) составления балансов оборудования;

) обеспечения развития технической базы предприятий посредством капитального строительства и установки нового оборудования.

Исходными данными для учета и планирования основных фондов в натуральном выражении служат данные инвентаризации, периодически проводимой на предприятиях.

Оценка основных фондов в стоимостном выражении необходима для:

) сводного учета, анализа и планирования использования и воспроизводства основных фондов, изучения общей динамики основных фондов;

) определения износа основных фондов и начисления их амортизации;

) определения себестоимости продукции и рентабельности производства.

В настоящее время существует несколько методов стоимостной оценки основных фондов:

) по полной первоначальной стоимости;

) по первоначальной стоимости с учетом износа;

) по полной восстановительной стоимости;

) по восстановительной стоимости с учетом износа.

Под восстановительной стоимостью понимается стоимость воспроизводства основных фондов в условиях конкретного года стоимостной оценки. Она, как правило, меньше первоначальной стоимости в связи с повышением производительности труда и снижением цен на аналогичные объекты. Очевидно, что восстановительная стоимость одних и тех же основных фондов в разные годы различна.

Кроме названных видов стоимостной оценки основных фондов в практике планирования и учета различают также балансовую, остаточную и ликвидационные стоимости.

Балансовая стоимость (ФБ) - это такая стоимость основных фондов, по которой они числятся на балансе предприятия (полная первоначальная или полная восстановительная).

Остаточная стоимость (ФО) - это балансовая стоимость за вычетом суммы износа основных фондов.

Ликвидационная стоимость (ФЛ) - денежные средства, вырученные при ликвидации основных фондов за вычетом расходов по ликвидации.

Стоит отметить, что в международной практике оценки основных фондов наиболее широкое распространение получили Американские и Европейские профессиональные стандарты.

Американские стандарты оценки, подготовленные фондом оценки США, распространяются на более широкий спектр видов имущественных прав, чем Европейские. Однако мне представляется, что Европейские стандарты - «Руководящие установки по оценке капитальных активов», подготовленные и опубликованные Европейской группой оценщиков фиксированных активов, - более подходят для российских экспертов-оценщиков, специализирующихся на оценке основных фондов предприятий, поскольку они более детально регламентируют процесс оценки недвижимости, машин и оборудования

Основные фонды предприятий в денежном выражении

Основные фонды предприятий, учитываемые в денежном выражении, представляют собой основные средства. Денежная оценка основных фондов отражается в учете по первоначальной, восстановительной, полной и остаточной стоимости.

. В повседневной практике О.Ф. учитываются и планируются по первоначальной стоимости. Она представляет собой стоимость приобретения или создания О.Ф.Машины и оборудование принимаются на баланс предприятия по цене их приобретения, включающую оптовую цену данного вида труда, расходы на доставку и другие заготовительные расходы, затраты на монтаж и установку. Первоначальная стоимость зданий, сооружений и передаточных устройств представляет собой сметную стоимость их создания, включающую стоимость строительно- монтажных работ и всех других затрат, связанных с проведением работ по введению этого объекта в действие. Все расходы, связанные с созданием О.Ф. осуществляются в действующих ценах.

С течением времени О.Ф. на балансе предприятия учитываются по смешенной оценке, т.е. по текущим ценам и тарифам года их создания или приобретения действие О.Ф.

Оценка основных фондов по первоначальной стоимости нужна для определения суммы основных средств, закрепленные за данным предприятием. На основе первоначальной стоимости рассчитываются амортизация, а также показатели использования фондов.

.Восстановительная стоимость выражает стоимость воспроизводства О.Ф. на момент их переоценки, то есть она отражает затраты на приобретение и создание средств труда в ценах, тарифах и др., действующих в период их переоценки их воспроизводства с учетом

Для определения восстановительной стоимости регулярно производятся переоценки основных фондов с помощью двух основных методов:

) путем индексации их балансовой стоимости,

) путем прямого пересчета балансовой стоимости применительно к ценам, складывающимся на 1 января очередного года.

С их помощью можно достигнуть единообразной оценки основных фондов промышленности в соответствии с современной стоимостью их восстановления, что позволяет точнее установить оптовые цены на средства производства, и кредитования капитальных вложений.

. Полная стоимость основных средств (балансовая стоимость) рассчитывается без учета той стоимости, которая по частям переносится на готовую продукцию.

. Остаточная стоимость представляет собой разницу между первоначальной стоимостью и начисленным износом (стоимость О.Ф. не перенесены на готовый продукт).

Она позволяет судить о степени изношенности средств труда, планировать обновление и ремонт О.Ф. Есть два вида остаточной стоимости:

) она определяется по первоначальной стоимости, определяемой по мере начисления амортизации,

) по восстановительной стоимости, определяемой экспертным путем в процессе переоценки средств труда.

.4 Рентабельность и ее значение

Рентабельность - относительный показатель экономической эффективности. Рентабельность комплексно отражает степень эффективности использования материальных, трудовых и денежных и др. ресурсов. Коэффициент рентабельности рассчитывается как отношение прибыли к активам или потокам, её формирующим.

Наверное, излишне напоминать, сколь большое значение для инвесторов (кредиторов) имеет прибыльность предприятия - объекта их вложений. Поэтому данный раздел анализа, наряду с оценкой финансовой обеспеченности, есть необходимый аспект анализа, а иногда и достаточный для того, чтобы заверить кредиторов в том, что их инвестиционные доходы будут непременно высокими. Или наоборот. Но в любом случае, чтобы сделать те или иные выводы, бывает достаточно анализа финансовой обеспеченности <http://buhlabaz.ru/analiz/otsenka-finansovoj-obespechennosti.html> и анализа рентабельности.

Показатели рентабельности дают представление о прибыли на вложенный капитал, отражая уровень прибыльности тех или иных вложений.

Можно выделить три группы показателей рентабельности (прибыльности):

рентабельность инвестиций

рентабельность производства

рентабельность продаж

Строго говоря, рентабельность активов - это тоже рентабельность инвестиций. Участники предприятия инвестируют свои средства в предприятие, предприятие инвестирует эти средства в активы, активы инвестируются в производство (оборот), каждый оборот приносит прибыль - инвестиционный доход. Другое дело, что внутренние инвестиции инвестициями называть не принято, так сложилась традиция. В ином случаерентабельность активов следовало бы называть рентабельностью внутренних инвестиций, а то, что сейчас называется рентабельностью инвестиций - рентабельностью внешних инвестиций. А все вместе называлось бы, соответственно, - рентабельностью инвестиций. Тем не менее, придется принять устоявшуюся точку зрения, т. е. под рентабельностью инвестиций понимать прибыльность только внешних инвестиций - вложений, сделанных в предприятие его учредителями и/или участниками. Соответственно, под инвестиционным доходом - только доходы от внешних инвестиций: дивиденды, проценты и т.п. Доходы, полученные в результате обычной (в том числе операционной) деятельности принято называть операционными (или шире - обычными) доходами

2. Расчетная часть

.1 Определение трудоёмкости ремонта крышки подшипника ведущего вала

Для выполнения работ “ремонт КПП” составляем нормативную карту трудоемкости в часах. Трудоёмкость берем по фактически израсходованному времени:

Определение трудоемкости работ

Состав работ

Норма времени, час

1. Снятие боковой крышки с механизма переключения. 2. Снятин крышки подшипника первичного вала. 3. Очистка, мойка 4. Дефектовка  5.Установка крышки подшипника первичного вала 6. установка боковой крышки на механизм переключени

0,20 0,10 0,20 0,40 0,20 0,30

 Всего

2.00


Время на отдых берем 2% от затраченного времени, что составляет:

Т.отд.= Т.зат.*2/100 = 2.00*2/100 = 0.04ч.

Общая сумма затрат времени составляет:

Т.норм.= Т.осн. + Т.отд. = 2.00 + 0.04 = 2,04 мин.

В состав бригады берем фактические данные:

Состав ремонтной бригады

Состав бригады

Количество человек

Разряд

Трудоемкость

Тарифная ставка, руб.

Условия труда

Слесарь

1

4

2.04

130

Н.У.Т

Всего

1


2.04

130


 

.2 Определение численности ремонтного состава.

Все данные расчета по заработной плате сводим в таблицу:

Данные расчета заработанной платы

Профессия

Разряд

Число рабочих

Норма времени, ч.

Тарифная ставка

Фонд по тарифу руб.

Премия

Основной фонд заработной платы, руб.

Дополнительный фонд заработной платы, руб.

Полный фонд заработной платы, руб.

Отчисление в социальное страхование

Слесарь

4

1

2.04

130

530.4

159.1

689.5

68.95

758.45

227.5

Всего


1

2.04

130

530.4

159.1

689.5

68.95

758.45


.3 Расчет фонда заработной платы ремонтных рабочих и начисление ЕСН

Для расчета фонда заработной платы необходимы следующие данные:

численность рабочих;

нормы времени;

часовая тарифная ставка.

Оплата ведется по сдельно-премиальной системе. Закладываем размер премии 40% за качественно выполненную работу в срок, от тарифного фонда.

Фонд заработной платы состоит из основного фонда заработной платы - за проработанное время, и из дополнительного фонда заработной платы- за неотработанное время (отпуск, выполнение государственных и общественных обязанностей, ученические дни.)

Ф.т.=Ф.осн.+Ф.доп.

Определяем среднюю тарифную ставку Тст.ср.

 Тст.ср =

Σ Тст.


Ч

Где Σ Тст - сумма тарифных ставок

Ч - численность рабочих

Основной фонд заработной платы состоит из фонда по тарифу и премиального фонда.

Определим фонд по тарифу:

Ф.т.= Т.ст.*Ч*Т.норм. = 130*2*2,04 = 530.4руб. Где:

Ф.т.- фонд по тарифу;

Т.ст.- тарифная ставка рабочего;

Ч- число рабочих;

Т.норм.- время выполнения работы.

Премиальный фонд заработной платы считается по формуле:

Ф.п.= Ф.т.*%прем/100 = 530.4*0,3 = 159.1 руб., где

Ф.п.- премиальный фонд;

%прем. =30%.

Определяем основной фонд заработной платы:

Ф.осн.= Ф.т.+Ф.прем. = 530.4 + 159.1 = 689.5 руб.

Дополнительный фонд заработной платы условно берем 10% от основного фонда заработной платы:

Ф.доп. = Ф.осн.*10%/100 = 689.5*10/100 = 68.95 руб.

Полный фонд заработной платы рассчитываем по формуле:

Ф.полн.= Ф.осн. + Ф.доп. = 689.5 + 68.95 =758.45 руб.

Отчисление на социальное страхование ”Единый социальный налог” составляет 30% от полного фонда заработной платы:

Е.С.Н. = 758.45*30/100 = 227.5 руб.

.4 Определение, расчет материальных затрат и транспортных расходов

Экономический расчет капитального ремонта коробки переключения передач ВАЗ-2170 сводится к определению затрат, запасных частей и применяемого оборудования.

Расчет начинается с определения стоимости материальных затрат, которые включает все израсходованные материалы, запасные части, оборудование.

Расчет стоимости материальных затрат

 Рыночные цены      

Наименование

Кол -во

Цена, руб.

Сумма, руб.


Крышка подшипника первичного вала Прокладка Манжета с пружиной в сборе Подшипник

1 1 2 1

1015-00 10-00 30-00 130.00

1015-00 10-00 60-00 130-00


Всего


1185-00

1215-00


На все материальные затраты рассчитываются транспортные расходы (Тр.) которые составляют 15% от всех материальных затрат:

Т.р.= Зм*15% = 1215*15/100 =182.25 руб.

Где:

Т.р.- транспортные расходы;

З.м.- затраты на материалы запасные части и оборудование.

2.5 Определение, расчет накладных расходов

К накладным расходам относятся затраты связанные с организацией управления, технологической подготовкой производства и его обслуживание (цеховые, общезаводские расходы)

Накладные расходы (содержание здания, амортизация, отоплении, заработная плата обслуживающего и управленческого персонала) берутся условно в размере 30% от прямых затрат:

З.п.= Ф.полн. + З.м. = 758.45 + 1215 = 1973.45 руб.

Н.Р.= 1973.45*30/100 = 592 руб.

.6 Составление плановой калькуляции, ремонт крышки подшипника ведущего вала

Смета расходов

Наименование статей

Сумма, руб.

1. Материалы и запчасти 2. Транспортные расходы  3. Зарплата основная 4. Зарплата дополнительная 5. Отчисление в фонд социального страхования 6. Накладные расходы

1215-00 182-25 758-45 68-95 227-50 592-00

Сметная стоимость ремонта

3044.15



3. Технико - экономические показатели

Наименование статейСумма, руб.


1.Число ремонтных рабочих (чел.) 2.Трудоемкость работ (час) 3.Материалы и запчасти 4. Транспортные расходы  5. Зарплата основная 6. Зарплата дополнительная 7. Отчисление в фонд социального страхования 8. Накладные расходы

 

Выводы:

Таким образом, ремонт крышки подшипника ведущего вала составляет

.15 руб. Наибольший удельный вес принадлежит материальным затратам 1215 - 40% от общих затрат.

Для уменьшения затрат на ремонт необходимо разработать мероприятия по экономии материала, ресурсов, использовать б/у материалы.

Также следует изучить ценообразование на рынке запасных частей автомобиля, в целях приобретения их по наименьшей цене.

Похожие работы на - Разработка способа ремонта крышки подшипника ведущего вала автомобиля Камаз 5410

 

Не нашли материал для своей работы?
Поможем написать уникальную работу
Без плагиата!
Без нейросетей!