Одноковшовый экскаватор с рабочим оборудованием прямая лопата на базе пневмоколесного трактора тягового класса 1,4

  • Вид работы:
    Курсовая работа (т)
  • Предмет:
    Транспорт, грузоперевозки
  • Язык:
    Русский
    ,
    Формат файла:
    MS Word
    1,61 Мб
  • Опубликовано:
    2014-04-02
Вы можете узнать стоимость помощи в написании студенческой работы.
Помощь в написании работы, которую точно примут!

Одноковшовый экскаватор с рабочим оборудованием прямая лопата на базе пневмоколесного трактора тягового класса 1,4

Введение

Одноковшовый экскаватор-это землеройная самоходная машина циклического действия, предназначенная для разработки, перемещения и погрузки грунта. Рабочим органом которого является ковш различных объемов, закрепленный на рукояти. В данном случае на Рис.1 представлен одноковшовый экскаватор на гусеничном ходу: HITACHI ZAXIS 230.

Рис. 1 - Одноковшовый экскаватор

Одноковшовый экскаватор является наиболее распространенным типом землеройных машин. Простота, надежность и впечатляющая универсальность позволяют ему играть главную роль практически на любом строящемся объекте. Применяется при строительстве, добыче полезных ископаемых и т.д. Существует два основных типа экскаватора по направлению зубьев ковша - прямая и обратная лопата. Благодаря этому одноковшовые экскаваторы могут разрабатывать грунты как ниже, так и выше уровня стоянки. Их используются для разработки любых, в том числе самых крепких и неоднородных, грунтов с крупными твёрдыми включениями.

Рабочий процесс одноковшового экскаватора состоит из четырех последовательных операций: наполнения ковша, перемещения к месту разгрузки, разгрузка и возврат в исходную позицию. Продолжительность рабочего цикла в зависимости от мощности и типа экскаватора и условий работы колеблется от 12 до 60 сек.

Классификация одноковшовых экскаваторов производится по типу шасси, возможности поворота рабочего оборудования относительно опорной поверхности, типу рабочего оборудования и типу привода.

Назначение одноковшовых экскаваторов.

По назначению одноковшовые экскаваторы делят на строительные - для выполнения земляных работ, погрузки и разгрузки сыпучих материалов;

строительно-карьерные - для выполнения работ по назначению строительных экскаваторов, а также для разработки карьеров строительных материалов и добычи полезных ископаемых открытым способом; карьерные- для работы в карьерах; вскрышные - для снятия верхнего слоя грунта или горной породы перед карьерной разработкой; туннельные и шахтные-для работы под землей при строительстве подземных сооружений и разработке полезных ископаемых.

Классификация одноковшовых экскаваторов

По возможности поворота рабочего оборудования относительно опорной поверхности.

Полноповоротные - рабочее оборудование, приводы, кабина машиниста и двигатель устанавливаются на поворотной платформе, которая устанавливается на шасси посредством опорно-поворотного устройства, и может поворачиваться относительно него в любую сторону на любой угол. Части гидросистемы шасси и поворотной платформы полноповоротных экскаваторов соединены с применением коллектора, что позволяет производить неограниченное количество полных оборотов в одну сторону.

Неполноповоротные - рабочее оборудование закрепляется на шасси с помощью поворотной колонки. Поворот рабочего оборудования осуществляется на угол 45-90 градусов от начального положения. Двигатель, механизмы, кабина машиниста размещены на неповоротном шасси. В настоящее время примером является экскаваторы, навешиваемые на трактора.

По шасси.

Пневмоколесные - экскаваторы имеют собственное специальное шасси, опирающееся на колёса с пневматическими шинами. Выполняются чаще всего полноповоротными.

Гусеничные - экскаваторы имеют собственное специальное шасси с гусеничным движителем. Выполняются полноповоротными. Обладают высокой проходимостью и малым удельным давлением на грунт при большой массе. Могут работать на слабых и переувлажнённых грунтах, в том числе на торфоразработках. К месте работ доставляются тягачами на прицепах.

На спецшасси автомобильного типа - в качестве базового шасси используется грузовой автомобиль, чаще всего повышенной проходимости. Обладает высокой скоростью перемещения. Применяется в случаях, когда требуется высокая мобильность. Рабочее оборудование - преимущественно - обратная лопата. Для привода может использоваться как двигатель базового автомобиля, так и отдельный двигатель, установленный на поворотной платформе.

На шасси трактора - в качестве базового шасси используется трактор, чаще всего колёсный. Неполноповоротное экскаваторное оборудование устанавливается сзади (реже сбоку) трактора, на специальной раме. Характерный объём ковша - 0,2-0,5 м³. Применяются для выполнения небольших землеройных или погрузочных работ. Конструкция рабочего оборудования позволяет оперативно переставлять ковш для работы прямой или обратной лопатой. Ковш может заменяться грейфером, грузовыми вилами или крюком. Для привода используется двигатель базового трактора. Привод рабочего оборудования гидравлический. Благодаря относительно высокой скорости хода могут оперативно прибывать к месту выполнения работ, расположенных на расстоянии 20-30 км от места базирования. Трактор с навешенным экскаваторным оборудованием может использоваться также для выполнения транспортных и бульдозерных работ.

По типу двигателя.

Экскаваторы с двигателем внутреннего сгорания - экскаватор с собственным двигателем, чаще всего дизельным. Самый распространенный вид.

Экскаваторы электрические - используются электрические двигатели для привода рабочего оборудования, они получают энергию от внешней сети или от дизель-электрического агрегата

По типу привода рабочего оборудования.

Механический канатный привод - к рабочим органом тяговое усилие передается с помощью канатов, движимых лебедками. По средствам механических передач привод лебедки осуществляется от двигателя экскаватора.

Электрический привод - к рабочим органом тяговое усилие передается по средствам канатов или цепей, движимых лебедками. В свою очередь привод лебедок осуществляется электрическим двигателем.

Гидравлический привод - усилие на элементы рабочего оборудования осуществляется с помощью гидроцилиндров и гидродвигателей. Гидравлические экскаваторы очень распространены в настоящее время.

Обзор и анализ существующих конструкций.

Экскаватор ЭО-2621 предназначен для механизации земляных работ в грунтах I - IV категорий и выполнения погрузочных работ. Экскаватор оснащен одновременно ковшом обратной лопаты и отвалом. В зависимости от монтажа обратная лопата может работать как прямая. В моем случае экскаватор оснащен прямой лопатой.

Рис. 2 - ЭО-2621

Экскаватор может работать в умеренном климате при температурах от -40 до + 40 0С. Работать экскаватором в мерзлых грунтах и грунтах выше IV категории можно только после предварительного рыхления грунта. Конструкция экскаватора предусматривает возможность работы со сменными видами рабочего оборудования. При любых видах работ жесткий бульдозерный отвал не демонтируется, т.к. кроме прямого своего предназначения одновременно обеспечивает устойчивость, являясь своего рода противовесом, при передвижении и в эксплуатации. Положительной особенностью является маневренность ЭО-2621, а небольшие габаритные размеры позволяют работать на небольших площадках.

Экскаватором можно выполнять следующие работы:

прямой лопатой - разрабатывать мелкие забои, возводить насыпи, производить погрузку;

отвалом - выполнять легкие планировочные и зачистные работы;

грузоподъемным устройством - выполнять монтажные и погрузочно-разгрузочные работы.

Работа прямой лопатой.

Прямая лопата конструктивно приспособлена для выемки породы выше уровня стоянки экскаватора. Жесткое крепление ковша позволяет работать как в отвал, так и с погрузкой в транспортное средство. Однако сравнительно небольшие размеры: делают целесообразным использование прямой лопаты в первую очередь для погрузки породы в транспортное средство. Рабочие размеры экскаваторов рассматриваемого типа определяются емкостью ковша, длиной стрелы и рукояти, а также углом наклона стрелы. Основным и рабочими размерами экскаватора, оборудованного прямой лопатой (Рис.3), являются:

Радиус копания - горизонтальное расстояние от оси вращения экскаватора до зубьев ковша при копании; различают радиус копания на уровне стоянки, или радиус планировочной площадки, и наибольший радиус копания при максимально выдвинутой рукояти.

Высота копания - вертикальное расстояние от уровня стоянки экскаватора до зубьев ковша при копании (наибольшая высота копания соответствует максимально поднятой рукояти).

Радиус выгрузки - горизонтальное расстояние от оси вращения экскаватора до середины ковша при разгрузке; различают радиус выгрузки при наибольшей высоте выгрузке и наибольший радиус выгрузки.

Высота выгрузки - вертикальное расстояние от уровня стоянки экскаватора до нижней кромки открытого днища ковша в процессе выгрузки (наибольшая высота выгрузки соответствует максимально поднятому ковшу).

Глубина копания - расстояние от уровня стоянки экскаватора до зубьев ковша при копании ниже уровня стоянки.

Рис. 3 - Рабочие размеры экскаватора

Технические характеристики ЭО-2621: [2]

Базовое шасси экскаватора ЭО-2621: МТЗ - 82.

Габаритные размеры: 7800×2500×3900 мм.

Эксплуатационная масса ЭО-2621: 6600 кг.

Номинальная емкость ковша экскаватора: 0,28 м³

Наибольшая глубина копания: 4,15 м.

Наибольший радиус копания: 5,3 м.

Наибольшая высота выгрузки: 3,2 м.

Ширина отвала: 2,3 м.

Величина заглубления: 50 мм.

Модель двигателя экскаватора - Д-243.

Тип двигателя - 4-цилиндровый, дизельный, четырехтактный с непосредственным впрыском топлива.

Мощность двигателя ЭО-2621: 82 л.с.

Трансмиссия - механическая.

Скорости: вперед 0-32 км/ч; назад 0-25 км/ч.

Дополнительное оборудование для ЭО-2621:

Экскаватор ЭО-2621 может быть оборудован:

грейфером, гидромолотом, ковшами: специальным, узким, профильным;

зубом-рыхлителем.

Двигатель.

Дизельный двигатель Д-243 является базовой моделью. Их модификации отличаются от базовой модели регулировкой по мощности, комплектностью, системой пуска, конструкцией некоторых деталей.

В зависимости от назначения двигатели Д-243 могут комплектоваться дополнительными сборочными единицами: пневмокомпрессором, шестеренным насосом усилителя рулевого управления с приводом, дисками муфты сцепления в сборе.

При установке на трактор МТЗ дизель Д-243 должен быть доукомплектован водяным и масляным радиаторами, приборами электрооборудования, а также контрольными приборами. Дизель Д-243 представляет собой 4-х тактный поршневой четырехцилиндровый двигатель внутреннего сгорания с рядным вертикальным расположение цилиндров, непосредственным впрыском дизельного топлива и воспламенением от сжатия. Без турбонаддува.

Рис. 4 - Двигатель Д-243

Техническая характеристика двигателя.

четырехтактный, без турбонаддува

Число и расположение цилиндров:

4, рядное, вертикальное

Рабочий объем, л:

4,75

Диаметр цилиндра и ход поршня, мм:

110/125

Степень сжатия:

16

Максимальное среднее эффективное давление, МПа:

0,684

Мощность, кВт (л.с.):

60 (82)

Частота вращения, об/мин:

2200

Максимальный крутящий момент, Н·м (кг·м):

258 (26,3)

Гидросистема.

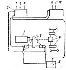
Рис. 5 - Принципиальная гидросхема экскаватора ЭО-2621: 1-двигатель, 2- коробка передач, 3-шестеренные насосы, 4-механизм передвижения, 5-гидробак, 6-гидрораспределители, 7-гидроцилиндр отвала, 8-гидроцилиндр ковша, 9-гидроцилиндр опор, 10-гидроцилиндр днища ковша, 11-гидроцилиндр рукояти, 12-гидроцилиндр стрелы

Рис. 6 - Кинематическая схема экскаватора ЭО-2621

Сравнение моделей.

В данном разделе моей работы я хотел бы сравнить свой экскаватор ЭО-2621 с более универсальным ЭО-4111Б.

ЭО-4111Б представляет собой полноповоротную машину с одномоторным двигателем и гибкой системой подвески рабочего оборудования. Представлен на Рис.7.

Рис. 7 - ЭО-4111Б

Назначение: производство земляных работ в грунтах I - IV категорий и разрыхленных скальных и мерзлых грунтах, для погрузки и разгрузки грузов и сыпучих материалов, а также для забивки свай. Основными видами сменного рабочего оборудования таких экскаваторов являются прямая и обратная лопаты, драглайн, грейфер и кран. Кроме указанных видов экскаваторы оснащаются также оборудованием для погружения свай и шпунта, планировки и зачистки площадок и откосов, засыпки траншей, корчевания пней, рыхления мерзлых и скальных грунтов, взламывания дорожных покрытий, разрушения старых фундаментов зданий и стен и т. п.

Технические характеристики ЭО-4111Б.

Тип ходового устройства: гусеничный

Габаритные размеры: 4610×2880×3280 мм

Эксплуатационная масса ЭО-2621: 21250 кг.

Номинальная емкость ковша экскаватора: 0,65 м³

Наибольшая глубина копания:1,5 м

Наибольший радиус копания: 7,8 м

Наибольшая высота выгрузки: 5,8 м

Модель двигателя экскаватора - Д-108-1

Тип двигателя - дизельный

Мощность двигателя ЭО-4111Б: 55-60 л.с.

Два этих экскаватора имеют явные отличия и сходства. Преимущество ЭО-2621 в наличие отвала, т.к. с помощью него можно производить разгрузочно-погрузочные и другие работы. Но зато у ЭО-4111Б большая проходимость, производительность и надежность, и что не менее важно большее количество выполняемых операция.

Тяговый расчет экскаватора

Целью тягового расчета является определение необходимых тяговых усилий для преодоления различного рода сопротивлений. Расчет максимальной мощности данной машины, расчет мощности затрачиваемой на передвижение.

В общем случае тяговое усилие, необходимое для движения машины выражается формулой:


где - сила сопротивления движению на прямолинейном участке;

 - коэффициент сопротивления движению;

сила тяжести экскаватора c оборудованием (по прототипу)

 - сопротивление сил инерции, возникающие при трогании экскаватора c места.

 - сила сопротивления при движении на подъем с углом .


Мощность двигателя, необходимая для передвижения


где  - скорость передвижения экскаватора по площадке.

Мощность двигателя:


Рн - номинальная сила тяги на крюке, Н ;- масса трактора, кг;- коэффициент сопротивления качению;н1 - номинальная скорость движения на первой основной передаче, км/ч;

 - механический КПД трансмиссии, определяемый по эмпирической формуле;э - коэффициент эксплуатационной нагрузки двигателя;= 9,81 м/с2 - ускорение свободного падения тел.

Мощность двигателя совпадает с прототипом.

Вывод: Максимальная мощность соответствует прототипу, тяговое усилие выполняется. Машина будет двигаться без пробуксовки как по горизонтальной плоскости, так и под углом 20 градусов.

Статический расчет экскаватора

Целью этого пункта является расчет устойчивости экскаватора в определенных условиях. В данном случае приняты условия: оборудование в рабочем положении.

Восстанавливающий момент определим по выражению:


 - сила тяжести трактора

 - сила давления ветра, действующая на подветренную площадь экскаватора S = 5,4 .

 - распределенная ветровая нагрузка.


Опрокидывающий момент определим по выражению

 - условие устойчивости выполняется.

В этом пункте определяем теоретическую производительность, для того что бы определить максимальную рабочую скорость, и техническую производительность. [4]

Птеор=q

Техническая производительность: [4]

П(м3/ч), n==200, Тц=

вместимость ковша, n-число циклов за час работы, Тц -продолжительность одного рабочего цикла.

Коэффициент наполнения ковша kн

Группа грунта

Тип привода


механический

гидравлический

1

0.9

0.9

2

0.8

0.85

3

0.7

0.8

4

0.65

0.74


Коэффициент разгрузки kраз

Тип поворота

Средний угол поворота, град


20

40

60

80

100

120

140

механический

1,15

1,05

1,0

1,02

1,1

1,2

1,35

гидравлический

1,15

1,05

1,0

1,05

1,08

1,15

1,35


Определяем сменную эксплуатационную производительность экскаватора: [3]

Пэ = Кв м3 /смену,

Кв - коэффициент использования экскаватора по времени;

Кв= 8.

Вывод: По полученным данным видно сколько кубоментров экскаватор разрабатывает в смену, т.к. в моем экскаваторе ковш по объему лишь 0,2 м3, то производительность немного упала.

Прочностной расчет рабочего оборудования

Отчет по анализу напряжений

Цель: Определение максимальных напряжений действующих на рабочее оборудование экскаватора. Для этого мы воспользовались программой AutodeskInventorPro 2013.

Физические параметры

Материал

По умолчанию

Плотность

1 г/см^3

Масса

23,1331 кг

Площадь

2350830 мм^2

Объем

23133100 мм^3

Центр масс

x=-149,933 мм y=-370,447 мм z=325 мм


Примечание: физические значения могут отличаться от физических значений, используемых в АМКЭ, описанных ниже.

Общая цель и параметры:

Цель проектирования

Одноточечный

Тип моделирования

Статический анализ

Дата последнего изменения

20.12.2012, 15:33

Обнаружить и устранить моды жесткого тела

Нет


Дополнительные параметры:

Средний размер элемента (дробное значение от диаметра модели)

0,1

Минимальный размер элемента (дробное значение от среднего размера)

0,2

Коэффициент разнородности

1,5

Макс. угол поворота

60 град

Создать изогнутые элементы сетки

Да


Материал(-ы)

Имя

Легированная сталь

Общие

Массовая плотность

7,85 г/см^3


Предел текучести

250 MПа


Окончательный предел прочности растяжения

0 MПа

Напряжение

Модуль Юнга

205 ГПа


Коэффициент Пуассона

0,3 бр


Модуль упругости при сдвиге

78,8462 ГПа

Тепловое напряжение

Коэффициент расширения

0,000012 бр/C


Теплопроводность

44,5 Вт/( м К )


Удельная теплоемкость

475 Дж/( кг C )

Имена деталей

Деталь1


Рабочие условия

Сила:1

Тип нагрузки

Сила

Вектор X

0,000 Н

Вектор Y

-5000,000 Н

Вектор Z

0,000 Н


Выбранные грани

Рис. 8

Зависимость фиксации:1

Выбранные грани

Рис. 9

Результаты

Сила и момент реакции в зависимостях

Имя зависимости

Сила реакции

Реактивный момент


Величина

Компонент (X,Y,Z)

Компонент (X,Y,Z)

Зависимость фиксации:1

5000 Н

0 Н

2458,06 Н м

0 Н м



5000 Н


0 Н м



0 Н


-2458,06 Н м


Результат

Имя

Минимальная

Максимальная

Объем

23133100 мм^3

Масса

181,595 кг

Напряжение по Мизесу

0,0000526247 MПа

8,22265 MПа

1-ое основное напряжение

-1,59249 MПа

6,39242 MПа

3-е основное напряжение

-7,86265 MПа

1,55874 MПа

Смещение

0 мм

0,229191 мм

Коэфф. запаса прочности

15 бр

15 бр

Напряжение XX

-4,70273 MПа

4,80026 MПа

Напряжение XY

-2,34129 MПа

3,01707 MПа

Напряжение XZ

-4,28317 MПа

4,29263 MПа

Напряжение YY

-3,10991 MПа

3,71022 MПа

Напряжение YZ

-1,24593 MПа

1,24879 MПа

Напряжение ZZ

-7,86142 MПа

5,64026 MПа

Смещение по оси X

-0,0207563 мм

0,0183596 мм

Смещение по оси Y

-0,228255 мм

0,0000770673 мм

Смещение по оси Z

-0,0684615 мм

0,0684607 мм

Эквивалентная деформация

0,000000000267202 бр

0,0000353861 бр

1-ая основная деформация

-0,000000000111518 бр

0,0000290007 бр

3-я основная деформация

-0,0000393368 бр

-0,000000000141795 бр

Деформация XX

0,0000215207 бр

Деформация XY

-0,0000148472 бр

0,0000191327 бр

Деформация XZ

-0,0000271616 бр

0,0000272215 бр

Деформация YY

-0,000011967 бр

0,0000112152 бр

Деформация YZ

-0,000007901 бр

0,00000791917 бр

Деформация ZZ

-0,000039329 бр

0,0000289107 бр


Напряжение по Мизесу

Рис .10

1-ое основное напряжение.

Рис. 11

3-е основное напряжение

Рис. 12

Смещение

Рис. 13

Коэфф. запаса прочности

Рис. 14

Напряжение XX

Рис .15

Напряжение XY

Рис. 16

Напряжение XZ

Рис. 17

Напряжение YY

Рис. 18

Напряжение YZ

Рис. 19

Напряжение ZZ

Рис. 20

Смещение по оси X

Рис. 21

Смещение по оси Y

Рис. 22

Смещение по оси Z

Рис. 23

Эквивалентная деформация

Рис. 24

-ая основная деформация

Рис. 25

-я основная деформация

Рис. 26

Деформация XX

Рис. 27


Рис. 28

Деформация XZ

Рис. 29

Деформация YY

Рис. 30

Деформация YZ

Рис. 31

Деформация ZZ

Рис. 32

В ходе работы мы рассчитали тяговый расчет, статический расчет, баланс мощности, определили нужный гидроцилиндр, определили производительность и провели прочностной расчет. По полученным данный рассчитываемый трактор - ЭТЦ-165 максимально получился похожим на прототип, вследствие чего можно сделать вывод, что расчеты были произведены верно. По результатам прочностного расчета можно видеть, что деталь выдержит те нагрузки, которые будут приходится на нее в результате работы.

экскаватор схема расчет

Техника безопасности при работе на экскаваторе

Машинист экскаватора может быть допущен к работе только на той машине, по которой прошел обучение. В удостоверении, выданном машинисту экскаватора, должно быть указано, на какой марке экскаватора он допущен к работе.

Машинист экскаватора должен:

знать инструкцию по технике безопасности для машиниста экскаватора, а также инструкцию завода изготовителя данного экскаватора по монтажу и эксплуатации машины;

знать устройство экскаватора, устройство и назначение его механизмов и приборов безопасности;

владеть навыками, нужными для управления механизмами экскаватора и ухода за ними; перед тем как перейти к самостоятельному управлению экскаватором, машинист, окончивший курс обучения, не менее 1 месяца должен проработать на экскаваторе под руководством опытного машиниста и ознакомиться со всеми условиями, в которых работает данный экскаватор, а также необходимыми мерами предосторожности;

если экскаватор работает с крановым или грейферным оборудованием, знать факторы, влияющие на устойчивость экскаватора, и причины потери устойчивости;

знать ассортимент и назначение горючего и смазочных материалов, применяемых для данного экскаватора;

при комплексной механизации производственного процесса знать правила безопасной работы на всех машинах, участвующих в комплексе. Это необходимо потому, что машинист экскаватора отвечает за соблюдение правил техники безопасности всеми рабочими, обслуживающими экскаватор.

Машинист экскаватора и весь персонал, обслуживающий механизмы, участвующие в комплексе, должны пройти вводный инструктаж и инструктаж на рабочем месте по технике безопасности, который следует повторять не реже 1 раза в 3 месяца и при каждом переходе этих рабочих на новое место работы или при изменении условий их труда.

Машинист экскаватора и весь обслуживающий персонал машины должны быть обеспечены, спецодеждой и защитными средствами согласно действующим нормам и обязательно применять их во время работы. Без соответствующих спецодежды и защитных средств обслуживающий персонал экскаватора к работе не допускается.

Машинисты одноковшовых экскаваторов, работающих с оборудованием, па которое распространяются Правила устройства и безопасной эксплуатации грузоподъемных кранов (крюком или грейфером), в тех случаях, когда стрела, а также крюк или грейфер подвешены па канате, должны быть обучены и аттестованы квалификационной комиссией с обязательным участием представителя местного органа Госгортехнадзора.

У всех машинистов экскаваторов, их помощников, слесарей, электромонтеров, стропальщиков (при работе экскаваторов с крановым оборудованием) следует периодически не реже одного раза в 12 месяцев, а также при нарушении правил техники безопасности проверять знание этих правил. Все виды инструктажа и проверки знаний по технике безопасности следует оформлять соответствующими документами-журналами проведения инструктажа, протоколами и т. п. [5]

Список использованной литературы

1. Строительные машины для механизации мелиоративных работ. Учебник под редакцией Сурикова В.В.

2. <http://www.uresurs.ru/dorozhno-stroitelnaja-tekhnika/ehskavator-eho-2621/>

.http://edu.dvgups.ru/METDOC/EKMEN/ETR/EK_PRED/METOD/SUMENKOVA/WEBUMK/frame/2.htm

.http://edu.dvgups.ru/METDOC/ITS/STRPRO/TMAGSTR/METOD/ZEM_RAB/Kech_zem4.htm

. http://exkavator.ru/articles/user/~id=7607

Похожие работы на - Одноковшовый экскаватор с рабочим оборудованием прямая лопата на базе пневмоколесного трактора тягового класса 1,4

 

Не нашли материал для своей работы?
Поможем написать уникальную работу
Без плагиата!
Без нейросетей!