Получение нанокомпозитного материала из графена и полианилина, протонированного в присутствии полимерных сульфокислот

  • Вид работы:
    Курсовая работа (т)
  • Предмет:
    Химия
  • Язык:
    Русский
    ,
    Формат файла:
    MS Word
    2,28 Мб
  • Опубликовано:
    2014-01-11
Вы можете узнать стоимость помощи в написании студенческой работы.
Помощь в написании работы, которую точно примут!

Получение нанокомпозитного материала из графена и полианилина, протонированного в присутствии полимерных сульфокислот

Введение

полианилин высокомолекулярный полупроводник

Полианилин (ПАНИ) - представитель класса органических высокомолекулярных полупроводников - электропроводящих полимеров. Макромолекулы ПАНИ формируют систему полисопряжения в результате строгого чередования бензольных колец и атомов азота, находящихся в основной полимерной цепи.

ПАНИ с промышленной точки зрения обладает рядом достоинств над другими полимерами. Он устойчив в окружающей среде, возможно получение водорастворимого полимера, который получается одностадийным способом, используя недорогие материалы.

В 70-е годы XX века была показана возможность применения ПАНИ в качестве активного материала химических источников тока (ХИТ). ПАНИ может работать и как анод, и как катод: модельный аккумулятор состоял из двух таблеток сульфата эмеральдина, погруженных в водный раствор серной кислоты. Характеристики этого устройства оказались очень низкими, но это был первый ХИТ на основе проводящего полимера [1].

ПАНИ получают как прямым окислением анилина, используя соответствующие химические окислители, так и электрохимическим окислением на различных инертных электродных материалах. В последнее время полимеризацию анилина проводят в присутствии полимерных сульфокислот с равномерным распределением сульфокислотных групп вдоль цепи макромолекул. В результате полимеризации анилина в присутствии полисульфокислот формируется интерполимерный комплекс ПАНИ с соответствующей кислотой. Структура и свойства получаемого полимера зависят от используемой матрицы. Получаемые интерполимерные комплексы ПАНИ и соответствующих поликислот растворимы в воде и водно-органических смесях, имеют хорошие пленкообразующие свойства. При матричном химическом синтезе ПАНИ в присутствии полимерных сульфокислот система остается фазово-однородной на всех стадиях превращений. Это позволяет регистрировать спектры оптического поглощения реакционного раствора в процессе синтеза.

Цель настоящей работы - получение нанокомпозитного материала из графена и полианилина, протонированного в присутствии полимерных сульфокислот и исследование их электрических свойств.

1. Литературный обзор

.1 Методы получения полианилина и его свойства

Впервые ПАНИ был получен Рунге в 1834 г. В 1862 г. Летоби [2] обнаружил, что при анодном окислении анилина на платиновом электроде в водных растворах серной кислоты образуется пленка темно-зеленого цвета. Через 50 лет была дана современная классификация ПАНИ в различных степенях окисления [3], а немного позже были сделаны попытки проанализировать продукты окисления анилина [4]. За этим последовало исследование Ниетски, который пытался использовать их для окраски хлопка [5]. Первыми работами русских ученых считаются работы Хомутова и Горбачева [1], где изучаются различные механизмы электродных реакций.

ПАНИ обычно получают электрохимическим или химическим окислением анилина. Схема полимеризации анилина [6] представлена на следующем рисунке:

Рис.

.2 Электронное строение и спектральные свойства полианилина

Уже в первых работах по синтезу ПАНИ было показано, что химический состав и структура ПАНИ определяются степенью окисления и уровнем протонирования полимера. Впервые его номенклатура была предложена в 1910 г. [3]. Представленные ниже пограничные состояния относятся к основным формам и не являются единственными для описания всех возможных структур макромолекул. Лейкоэмеральдин (полностью восстановленная форма ПАНИ):

Рис.

Аморфное вещество, бледно-желтое в протонированной форме. На воздухе в присутствии влаги медленно окисляется до протоэмеральдина.

Протоэмеральдин:

Рис.

Фиолетовое вещество, образующее желто-зеленые соли.

Эмеральдин:

Рис.

Темно-синие вещество, образующее зеленые стабильные соли. Основание эмеральдина медленно окисляется на воздухе до основания нигранилина. Нигранилин:

Рис.

Темно-синее вещество, образующее синие соли. Основание стабильно, а соли очень неустойчивы.

Пернигранилин (полностью окисленная форма ПАНИ):

Рис.

Фиолетовое вещество, образующее фиолетовые соли. Основание и соли очень неустойчивы, быстро подвергаются разложению до хиноидного состояния с одновременным образованием продуктов разложения.

Анализ спектров оптического поглощения показывает, что существуют четыре различные формы ПАНИ [7]: аминная форма, поглощающая на длине волны 320-350 нм, локализованная катион-радикальная форма с поглощением ~450 нм, делокализованные катион-радикалы с максимумом поглощения ~800 нм и полностью окисленная хиноидная форма с поглощением ~650 нм.

При изменении потенциала, подаваемого на электрод, окраска ПАНИ изменяется от желтой к зеленой, а затем до сине-зеленой. С увеличением потенциала происходит уменьшение максимума полосы ~320 нм и рост максимума полосы ~450 нм, максимум поглощения на полосе ~320 нм приписывают π-π* переходу ароматических (бензоидных) структур в лейкоформе ПАНИ. Из рассмотрения структуры ПАНИ ясно, что под этим названием объединяется целое семейство соединений - продуктов полимеризации анилина с различным электронным строением. Из приведенных структур видно, что окисление ПАНИ приводит к увеличению доли хинондииминных фрагментов (б) и, соответственно, к снижению доли фенилендиаминных фрагментов (а) [1]:

Рис.

В работе [6] авторы выделяют следующие формы, в которых может существовать ПАНИ.

Основание:

,

Рис.

биполярон:

,

Рис.

два полярона:

.

Рис.

Основная форма ПАНИ содержит бензоидные и хиноидные кольца в соотношении 3:1, диамагнитна и является изолятором; проводимость появляется после ее протонирования (допирования). Протонирование приводит к возникновению положительно заряженных парамагнитных поляронов и диамагнитных биполяронов. Два полярона могут рекомбинировать с образованием одного биполярона. Проводимость в ПАНИ может осуществляться в результате движений как поляронов, так и биполяронов. Аналогичную молекулярную структуру ПАНИ, установленную методами спектрального и элементного анализа, приводят авторы работы [8].

Процесс допирования является основным отличием проводящих полимеров от всех других полимеров. В результате допирования органические полимеры, изоляторы или полупроводники, имеющие относительно низкие проводимости (10-10 - 10-5 См/см), превращаются в полимеры с высокой («металлической») проводимостью (1 - 104 См/см). Контролируемое добавление химических допантов приводит к изменениям в электронных, электрических, магнитных, структурных и оптических свойствах полимера. Допирование может быть выполнено как химически, так и электрохимически.

Допирование ПАНИ приводит к обратимому изменению оптических, электронных и структурных свойств полимера. Существует и вторичное допирование, в результате которого измененные свойства ПАНИ сохраняются даже при полном удалении второго допанта, в качестве которого могут использоваться хлороформ, муравьиная кислота, ксилол и т.д. Для тонких пленок ПАНИ, допированых камфорсульфоновой кислотой и политых из раствора в m-крезоле, в ИК-спектрах наблюдается поглощение в области 1000-2400 нм, которое связывают с увеличением делокализации электронов в поляроне, способствующей разворачиванию полимерной цепи. Авторы [9] отмечают важность подбора комбинации первичный/вторичный допант для получения ПАНИ с высокой проводимостью.

1.3 Химический метод получения полианилина

Химический метод получения ПАНИ - это окисление анилина в водных растворах кислот с образованием темно-зеленого осадка солевой формы полимера. В качестве окислителя чаще всего используют персульфат аммония, возможно использование хлоратов натрия и калия, перекиси водорода, бихромата калия и др. Авторы работы [8] показали, что использование персульфата аммония приводит к образованию полимера высокой молекулярной массы, имеющего высокую проводимость. Окисление анилина проводится в кислой среде, например, серной или соляной кислотах, при pH = 0-2 [10,12]. Иногда в реакционную систему добавляют щелочь или соли аммония в качестве буфера для увеличения выхода ПАНИ и улучшения его свойств.

Авторы работ [8,13] показали, что для получения ПАНИ с высокой молекулярной массой полимеризацию надо проводить при низких температурах (-5 - +5 ˚С) при эквимолярном соотношении анилин/окислитель. Они выделяют следующие параметры, влияющие на молекулярную массу получаемого ПАНИ: температура реакции, рН среды, время реакции, молярное соотношение анилина и окислителя.

Полимеризация анилина в присутствии полимерной сульфокислоты делает проводящий полимер водорастворимым. Авторами работы [14] описан метод получения водорастворимого проводящего полимера без заместителей с использованием гидрофильного олигомера этиленоксида, содержащего сульфатные и фосфатные группы (СЭО и ФЭО, соответственно). При допировании ПАНИ как СЭО, так и ФЭО полимер растворялся в воде при достижении содержания олигоэтиленоксида 20 %. Электропроводность уменьшалась от 10 до 10-4 См/см при изменении содержания этиленоксида от 1 до 30 %. Высокое содержание допанта, по мнению авторов, вызывало образование изолирующего слоя из длинноцепных гидрофильных групп олигоэтиленоксида, что приводило к снижению электропроводности.

Также в процессе химической полимеризации следует учитывать влияние гидролиза. Гидролиз отрицательно влияет на свойства получаемого продукта, выход полимера падает и это приводит к уменьшению молекулярной массы ПАНИ и ухудшению его электрохромных свойств. Наибольшее влияние гидролиз имеет в слабо кислых (рН>4) и сильно кислых средах (рН<1,5). Для подавления гидролиза в этих условиях, полимеризация ведется при более низких температурах (-5 - 0 °С) [13]. Из этого был сделан вывод, что при 1,5<pH<4 влияние гидролиза незначительно и полимеризация с высоким выходом идет в широком диапазоне температур. Так как рН среды уменьшается во время полимеризации анилина, при таком синтезе следует использовать кислоты средней силы (2<pK<4) для того, чтобы поддержать приблизительно постоянную величину рН на начальной стадии реакции.

1.4 Электрохимический метод получения полианилина

Наиболее распространенным методом получения ПАНИ является электрохимический. Его преимуществами являются образование более чистого продукта, возможность контроля и управления процессом различными физическими методами.

Анодное окисление анилина проводят на инертном электродном материале. Наибольшее распространение получили платиновые электроды, хотя в ряде работ использовали медные [15], хром-золотые [16] и углеродные (графитовые) электроды [4]. Для проведения оптических измерений в процессе синтеза применяют оптически прозрачные электроды, которые представляют собой покрытия из проводящих слоев оксидов индия или олова, либо платины или золота, нанесенных на кварцевую подложку или стекло, [18]. Состав подложки влияет на кинетику процесса полимеризации, разница в скорости синтеза для различных электродов определяется морфологией слоя на границе полимер-электрод. Есть работы, в которых электрохимический синтез ПАНИ ведут на поверхности неблагородных металлов, покрытых оксидной пленкой, используя каталитическое действие анионов переходных металлов [19,20].

Электроокисление анилина проводят на аноде в 0,1-2,0 М водных растворах неорганических кислот в потенциостатическом, гальваностатическом и режиме циклирования потенциала. Считается, что циклирование потенциала приводит к образованию более гомогенного полимера. Значения потенциала составляют от -0,2 до 0,7-1,2 В относительно насыщенного каломельного электрода. Кроме водных растворов неорганических кислот, электрохимический синтез ПАНИ можно проводить в нейтральных водных средах, в безводной эвтектической смеси HF и NH3 [21], органических апротонных растворителях [22].

1.5 Матричный синтез полианилина

Уникальная химическая стабильность и стабильность на воздухе является преимуществом ПАНИ по сравнению с другими проводящими полимерами. Однако образующийся полимер не растворим в воде, обладает плохими пленкообразующими свойствами и низкой адгезией к подложке, поэтому труден для использования в исследовательских целях и в промышленном производстве. Исходя из этого, в настоящее время особый интерес у исследователей вызывает модификация ПАНИ полимерными кислотами разной природы с образованием интерполимерных комплексов различного строения. Этот, так называемый, матричный синтез приводит к появлению у полимера как новых свойств (например, водорастворимости), так и улучшению уже имеющихся (проводимость, способность к пленкообразованию).

1.6 Получение нанокомпозитов на основе полианилина

В настоящее время проводятся исследования в области получения гибридных нанокомпозитов на основе ПАНИ с неорганическими наполнителями [26]. Известно, что наноматериалы часто проявляют свойства, которые сильно отличаются от характеристик массивных материалов, причем обнаруживается возможность целенаправленного изменения этих свойств. Гибридные материалы объединяют органический и неорганический компоненты и сочетают в себе их свойства.

В работе [9] рассмотрено влияние способа получения гибридных нанокомпозитов типа гость-хозяин на основе ПАНИ на их строение, электропроводность, электрохимические характеристики и электронное состояние. Было показано, что уровень электропроводности нанокомпозитов существенно превышает характеристики индивидуальных оксидов переходных металлов. Преимущества описанных материалов состоят в стабилизирующем воздействии ПАНИ на электрохимическое функционирование электродов, в которых используются оксиды переходных металлов, и в повышенной, по сравнению с индивидуальными оксидами, стабильности циклирования.

Различия в строении нанокомпозитов обусловливают различные области применения. Одним из методов были получены гибридные материалы с высоким уровнем электропроводности. Они могут найти применение в электрокатализе и, вероятно, в области защиты материалов от коррозии. Основной областью применения композитных материалов, полученных другим способом, могут стать литиевые источники тока. И хотя перспективы их использования в источниках тока пока не реализованы, уже известно, что гибридные нанокомпозиты, в которых наночастицы оксидов различных переходных металлов помещены в матрицу электропроводящих сопряженных полимеров, могут иметь стабильно высокие емкостные характеристики.

Целью работы [24] являлась разработка тонкого и гибкого суперконденсатора с использованием композита из ПАНИ и многостенных углеродных нанотрубок. В качестве добавочного компонента использовался гель поливинилового спирта (ПВС) с фосфорной кислотой. Электроактивным материалом электродов симметричного суперконденсатора являлся композит ПАНИ - функционализированные многостенные углеродные нанотрубки (ПАНИ - фМУНТ), полученные химическим методом полимеризации анилина на поверхности фМУНТ путем окисления мономера (анилина) персульфатом аммония в кислой среде. Емкость полученного композитного материала состоит из емкости двойного электрического слоя и псевдоемкости электропроводящего полимера, что позволяет изготавливать источники энергии с малым удельным весом, и обеспечивающие при этом большой запас энергии и мощности, обладающие гибкостью.

1.7 Нанокомпозит полианилин - оксид графена

В работе [7] был представлен легкий метод конструирования иерархических нанокомпозитов путем соединения нанотрубок одномерного проводящего ПАНИ с двухмерными нанолистами оксида графена. Массив полианилиновых нанотрубок наносился вертикально на подложку оксида графена и регулировался заданным соотношением анилина к оксиду графена. Результаты проверки трансимиссионной спектроскопией, сканированием электронным микроскопом и рядом других методов показали, что почти вся поверхность подложки из оксида графена была покрыта тонким гладким слоем ПАНИ, а в некоторых областях отчетливо наблюдались образовавшиеся полианилиновые нанотрубки.

Полученный материал обладает более высокой электрохимической емкостью и лучшей стабильностью, чем каждый из компонентов в качестве электродных материалов по отдельности, что позволяет ему найти применение в химических и биологических сенсорах, а также в гибких наноэлектронных устройствах.

1.8 История открытия графена

Рис.

На рисунке представлена идеальная кристаллическая структура графена, которая представляет собой гексагональную кристаллическую решётку.

По оценкам графен обладает большой механической <#"731667.files/image012.gif">

Рис.

и поли-(4,4’-(2,2’-дисульфокислота)-дифенилен-изо-фталамид) (изо-ПАСК):

Рис.

в соотношении 1:2[анилин]:[г-экв. сульфогруппа].

Водорастворимый полиамид изо-ПАСК представляет собой остаток изофталевой кислоты. Исходя из данных, полученных в [30] с помощью методов визкозиметрии и дифференциальной сканирующей калориметрии был сделан вывод, что макромолекулы с изофталевым компонентом в водном растворе находятся в конформации сильно вытянутого заряженного клубка и их гидродинамическое поведение характерно для жесткоцепных полиэлектролитов. Введение соли и увеличение концентрации полимера усиливает эффект агрегации макромолекул.

Изо-ПАСК - лабораторный образец, синтезированные в Na+-форме в ЗАО «Полимерсинтез» (г. Владимир). Перевод в Н+-форму проводили, используя ионообменную колонку с катионитом КУ-2-8чС (ГОСТ 13505-68). Полученные характеристики раствора представлены в следующей таблице.

Табл. 2.1. Характеристика полученного раствора полисульфокислоты

Полимер

[H+], мг-экв/мл

Концентрация, г/мл

Степень обмена Na+ на H+, г-экв. %

изо-ПАСК

0,022

0,0066

80,6


В качестве гибкоцепных полимерных матриц была выбрана ПАМПСК. Эта поликислота характеризуются равномерным распределением сульфокислотных групп вдоль цепи макромолекулы, которые способны принимать свёрнутую конформацию в присутствии сильных электролитов.

ПАМПСК (Mw= 2106, 15% водный раствор, «Aldrich») использовался без предварительной очистки. Кислоты растворяли до нужной концентрации за несколько дней до синтеза.

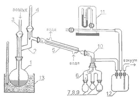
Анилин, марки «хч», перегоняли под вакуумом в атмосфере инертного газа (азота), на установке, изображенной на рисунке 2.1. Отбирали фракцию при температуре 82-84 0С (20 мм рт. ст.), использовали свежеперегнанный продукт. nD20 = 1,583.

Рис. 2.1. Установка для вакуумной перегонки: 1 - колба, 2 - насадка Кляйзена, 3 - капилляр, 4 - ртутный термометр, 5 - холодильник, 6 - паук, 7-9 - приемники, 10 - аллонж, 11 - ртутный манометр, 12 - буферная емкость.

В качестве окислителя применяли персульфат аммония (ПСА) марки «хч» без дополнительной очистки.

Графен получен в ИФХ Украинской Академии Наук механо-химическим способом. Использовалась дисперсия полуокисленного графена в воде.

2.2 Методика синтеза

Матричный химический синтез ПАНИ в присутствии полимерных сульфокислот (ПАМПСК и изо-ПАСК) проводили при комнатной (~20 0С) температуре. Вначале к водному раствору полимерной кислоты добавляли анилин и раствор перемешивали в течение 1-2 часов. Значения рН реакционных растворов представлены в табл. 2.2. Реагенты смешивали в соотношении 1 моль анилина на 2 г-экв сульфокислотных групп поликислоты и 1 моль окислителя при концентрации анилина 3 и 6 мМ. Полимеризация начиналась после добавления ПСА в раствор поликислоты и анилина. В течение 1 минуты проводилось интенсивное перемешивание системы, затем часть раствора переносилась в 1 мм кварцевую кювету для спектральных измерений. Реакцию считали законченной при окрашивании раствора в темно-зеленый цвет. Оптические спектры поглощения реакционных растворов в процессе синтеза регистрировались на диодном сканирующем спектрофотометре «Avantes 2048» и на спектрофотометре «Shimadzu UV 3101 PC» в спектральном диапазоне 300-3000 нм.

Табл. 2.2. Значения pH реакционных растворов.

Кислота

pH раствор кислоты

pH после добавления анилина

ПАМПСК

2,33

2,91

ПАМПСК+графен

3,97

4,38


После окончания полимеризации интерполимерные комплексы ПАНИ с поликислотами очищали от олигомеров ПАНИ, остатков окислителя и анилина с помощью диализа.

В очищенные комплексы ПАНИ добавляли водную дисперсию графена, с концентрацией 0,12 мг/мл. После этого растворы помещали в ультразвуковую ванну «Сапфир» объемом 1,3 мл для диспергирования в течение 10 минут.

Для получения тонких пленок полимеров на стеклянные подложки наносили необходимое количество полученных растворов. После этого образцы сушили в термошкафу при 75 0С.

Для измерения проводимости на полученные образцы методом термического вакуумного напыления с помощью вакуумного поста ВУП-2К наносили алюминиевые электроды. Проводимость измеряли с помощью четырехзондового метода (рис. 2.2), используя «Keithly 236» и «Keithly 2601» (комбинация приборов, управляемых компьютерной программой). Толщину плёнок определяли с помощью интерферометра «МИИ-4 ЛОМО».

Рис. 2.2. Схема 4-зондового метода измерения проводимости пленок проводящих полимеров: 1 - электрод, 2 - слой полимера, 3 - стекло.

Формула для расчета удельной проводимости:

σ = (I / U) × (a / l × d),

где а = 0,66 мм - расстояние между двумя электродами; l = 15 мм - длина электродов; d, нм - толщина пленки; I, А - значение тока; U, В - значение напряжения.

3. Результаты и их обсуждение

При проведении матричного химического синтеза ПАНИ в присутствии водорастворимых полимерных сульфокислот, в отличие от обычного химического синтеза в присутствии мономерных неорганических кислот система на всех стадиях превращения остается фазово-однородной. Это позволяет регистрировать спектры электронного поглощения реакционного раствора в процессе синтеза.

На рис. 3.1. показано, что в случае синтеза ПАНИ в присутствии гибкоцепной кислоты ПАМПСК на начальной стадии полимеризации анилина наблюдается рост полос поглощения при 350 и 600 нм, связанный с накоплением в системе аминной и хинониминной форм. На второй стадии наблюдается быстрый сдвиг максимума поглощения в длинноволновую область около 750 нм, обусловленный образованием локализованных поляронов, с одновременным ростом поглощения около 430 нм, связанный с появлением в системе локализованных катион-радикалов.

На рис. 3.2 представлены электронные спектры поглощения в процессе синтеза интерполимерного комплекса ПАНИ-ПАМПСК в присутствии графена. Следует отметить, что характер изменения спектров в присутствии ПАМПСК и ПАМПСК-графена являются схожими.

Рис. 3.1. Изменение электронных спектров поглощения в процессе синтеза интерполимерного комплекса ПАНИ-ПАМПСК без графена.

Рис. 3.2. Изменение электронных спектров поглощения в процессе синтеза интерполимерного комплекса ПАНИ-ПАМПСК в присутствии графена.

На рисунке 3.3. представлены кинетические кривые изменения оптического поглощения в процессе синтеза интерполимерных комплексов с графеном (0.03 мг/мл) и без графена, полученного при одинаковых концентрациях реагентов. Видно, что интенсивность поглощения интерполимерного комплекса ПАНИ-ПАМПСК с графеном ниже, чем интенсивность поглощения раствора ПАНИ-ПАМПСК без графена. Следует отметить, что скорость полимеризации ПАНИ в присутствии графена немного выше, чем в его отсутствие.

Рис. 3.3. Кинетика изменения оптического поглощения (D) в процессе синтеза комплексов с графеном и без графена на характерных длинах волн.

На рисунке 3.4 представлены спектры оптического поглощения растворов комплексов ПАНИ-ПАМПСК с графеном и без графена после диализа. Для комплекса ПАНИ-ПАМПСК с графеном наблюдается небольшой рост поглощения в области 250-270 нм, что свидетельствует о присутствии графена в растворе ПАНИ. Следует также отметить, что введение в систему графена до синтеза не сказывается на форме результирующих спектров интерполимерных комплексов ПАНИ-ПАМПСК, представленных на рисунке 3.4. Видно, что после диализа раствора ПАНИ-ПАМПСК, полученного в присутствии графена поглощение в области 250-270 нм уменьшается, что свидетельствует о том, что частицы графена «вымываются» из раствора во время диализа, либо остаются на диализной пленке.

Рис. 3.4. Результирующие спектры интерполимерных комплексов ПАНИ-ПАМПСК после синтеза и диализа.

Результаты измерения проводимости плёнок ПАНИ, сформированных из его растворов, представлены в таблице 3.1. Видно, что при добавлении графена в реакционную смесь для полимеризации анилина в присутствии ПАМПСК проводимость полученного нанокомпозита возросла приблизительно в 15,5 раз по сравнению с комплексом ПАНИ, полученным без графена.

После диализа полученного нанокомпозита ПАНИ-ПАМПСК с графеном проводимость его уменьшилась в два раза. По-видимому, частицы графена либо «вымываются» из раствора диализом, либо остаются на диализной пленке.

В случае введения графена (0,03 мг/мл) в готовый (очищенный) комплекс ПАНИ-ПАМПСК проводимость увеличивается в 11,5 раз по сравнению с проводимостью комплекса ПАНИ-ПАМПСК без введения графена.

Табл. 3.1. Проводимость интерполимерных комплексов ПАНИ и ПАНИ-графен (1% вес.).

Измеряемый комплекс

Толщина пленки, нм

Сопротивление, Ом

σ, См/см

431,1

2,02×105

4,6×10-3

Графен

1345,5

8,79×103

7,3×10-2

Графен + диализ

687,0

7,03×103

3,6×10-2

Диализ + графен

800,5

1,03×104

5,3×10-2


На рисунках 3.5 и 3.6 показано изменение электронных спектров поглощения раствора во время синтеза ПАНИ в присутствии изо-ПАСК и кинетические кривые поглощения реакционного раствора на характерных длинах волн, соответственно. Видно, что синтез в присутствии кислоты изо-ПАСК проходит медленнее, чем в присутствии ПАМПСК. Форма спектров также отличается от спектров ПАНИ-ПАМПСК. В случае комплекса ПАНИ-изо-ПАСК наблюдается более интенсивное поглощение в ближней ИК-области спектра. Таким образом, структура поликислоты влияет на структуру получаемых комплексов ПАНИ.

Рис. 3.5. Изменение электронных спектров поглощения растворов ПАНИ при синтезе в присутствии изо-ПАСК.

Рис. 3.6. Кинетика изменения оптического поглощения (D) в процессе синтеза ПАНИ в присутствии изо-ПАСК на характерных длинах волн.

В полученный после диализа раствор был введен графен в весовом соотношении 3% к комплексу ПАНИ. Из таблицы 3.2 видно, что введение графена в небольших концентрациях в комплекс ПАНИ-изо-ПАСК не приводит к значительному изменению его проводимости.

Табл. 3.2. Проводимость интерполимерного комплекса ПАНИ-изо-ПАСК.

Измеряемый комплекс

Толщина пленки, нм

Сопротивление, Ом

σ, См/см

В присутствии графена

114,4

5,35×107

7,2×10-5

Без графена

148,2

4,49×107

6,73×10-5


Выводы

.Синтезирован полианилин при протонировании анилина полимерными сульфокислотами и показано, что кинетика полимеризации анилина и электронная структура зависят от природы полимерной сульфокислоты.

.Показано, что графен не влияет на процесс полимеризации анилина.

.Показано, что электропроводность композиций графен-полианилин зависит от природы поликислоты, протонирующей полианилин. Графен увеличивает электропроводность ПАНИ, протонированного ПАМПСК, и не влияет на электропроводность при протонировании изо-ПАСК.

Список литературы

1. Хомутов Н.Е., Горбачев С.В.// Изв. АН СССР, 1953, с.579-585.

. Letheby H.// J. Chem. Soc., 1862, V.15, p.161.

. Green A.G., Woodhead A.E.// J. Chem. Soc., 1910, V.97, p.2388.

4. Fritzsche J.// J. Prakt. Chem., 1940, V.20, p.453; 1943, V. 28, p.198.

. Nietski R.// Ber., 1878, V.11, p.1093.

6. Гусева М.А., Исакова А.А., Грибкова О.Л.,Тверской В.А., Иванов В.Ф., Ванников А.В., Федотов Ю.А.// Высокомолек. соед., 2007, Т.49, №1, с.9-17.

7. Xu J., Wang K., Zu S., Han B., and Wei Z.// ACSNano 2010; V.4(9), p.5019 - 5026.

8. Cao Y., Andreatta A., Heeger A.J.// Polymer,1989, V.30, №12, p.2305-2311.

. Stilwell D.E., Park S.M.// J. Elecrochem. Soc., 1989, V.136, №2, p.427.

. Sariciftci N.S., Kuzmany H.// Synth. Met., 1987, V.18, p.353.

. Wallace P. R.// Phys. Rev. 1947, p.622

. Kogan Y.L., Davidova G.I., Gedrovich G.V.// Synth. Met., 1991, V.42, p.887.

. Gospodinova N., Mokreva P., Terlemeryan L.// Polymer, 1994, V.35, №14, p.3102.

. Sun Z.C., Wang X.H., J.X.Zhang// Synth. Met., 1999, V.102, p.1224.

. Mendoli G., Munari M.T., Folonari C.// Elecroanal. Chem., 1981, V.124, p.237.

. Paul E.W., Ricco A.J., Wrighton M.S.// J. Phys. Chem., 1981, V.89, p.1441.

. Bard A.J.// J. Electrochem. Soc., 1985, V.132, p.353.

. Zhang D., Hwang J., Yang S.// Synth. Met., 1989, V.29, №4, p.251-256.

19. Абаляева В.В., Ефимов О.Н.// Электрохимия, 1996, Т.32, N.6, с.728-735.

. Абаляева В.В., Куликов А.В., Ефимов О.Н.// Высокомолек. соед., сер. А, 1997, Т.39, с.216-221.

. Novoselov K. S. et al.// Science 2004, p.666

22. Breitenbach M., Hecker K.N.// J. Elecroanal. Chem., 1971, V.29, p.308.

. Матнишян А.А., Ахназарян Т.Л., Абагян Г.В., Бадалян Г.Р., Петросян С.И., Кравцова В.Д.// Физика твердого тела, 2011, т. 53, №8, с.1640-1644.

24. Панкратов Д.В., Шумакович Г.П., Горшков К.В., Зейфман Ю.С., Горбачева М.А., Васильева И.С., Морозова О. В., Липкин А.В. //Современные проблемы науки и образования, 2012, №4, с.8.

25. Stankovich S. et al.// Nature, 2006, p. 442

26. Novoselov, K. S. et al.// PNAS 2005, p. 102

27. Elena Bekyarova, Mikhail E. Itkis, Jared L. McWilliams, Mark A. Hamon, and Robert C. Haddon J.// Am. Chem. Soc. <http://ru.science.wikia.com/wiki/J._Am._Chem._Soc.?action=edit&redlink=1>, 2006, p. 7720 - 7721;

. Bunch J. S. et al. // Nano Lett. V.5, 2005, p. 287

. Berger C. et al.// Science 2006, p.1191

31. Иванов В.Ф., Грибкова О.Л., Чеберяко К.В., Некрасов А.А., Тверской В.А., Ванников А.В.// Электрохимия, 2004, т. 40, № 3, с. 339-345.

32. Yoo J.E., Bucholz T.L., Jung S., Loo Y.-L. // J. of Materials Chemistry, 2008, v. 18, № 26, p. 3129-3135.

. Gospodinova N., Dorey S., Ivanova A., Zhekova H., Tadjer A. // Int. J. Polym. .Anal. Charact., 2007, v. 12, p. 251-271.

. Handbook of Conducting Polymers. Third Edition. Conjugated Polymers. Processing And Applications, Skotheim TA and Reynolds JR (Eds.) (2007) Taylor & Francis Group. London-New York.

Похожие работы на - Получение нанокомпозитного материала из графена и полианилина, протонированного в присутствии полимерных сульфокислот

 

Не нашли материал для своей работы?
Поможем написать уникальную работу
Без плагиата!
Без нейросетей!