Замки эпохи бронзы
Замки эпохи бронзы
Анна Лаврус, Александр Лаврус
С развитием общества и
ростом количества добытого метала, в употреблении все чаще стали появляться
металлические изделия и орудия. Первыми были изделия из самородной меди,
которая встречается в виде достаточно больших самородков, а затем медь стали
выплавлять из руд. Температура плавления позволяет восстановить металлическую
медь из руды, поместив последнюю в горшок и нагрев на костре. Кто и где первым
начал сплавлять медь и олово неизвестно. Полученный сплав – бронза, превосходно
льется в форму и прочнее чем медь.
Ученые «Лаборатории
первобытной техники» Ленинградского института археологии АНСССР проводили
сравнительный анализ эффективности различного инструмента: сосну диаметром 25см
каменным топором свалили за 75 минут, а медным за 25. Медным ножом строгать в
10 раз быстрее, чем каменным, медным сверлом просверлить дерево в 22 раза
быстрее, а преимущество медных пил составляет 15...20 раз.
Классический пример эпохи
бронзы – Древняя Греция – первый высокоразвитый центр на территории Европы.
Как герои Гомера
потрясали бронзовыми мечами, так и во времена Перикла бронза была основным
металлом. Помимо оружия, широкое распространение получают бронзовые орудия труда
и бытовые изделия из бронзы. Греция богата медными рудами, а кузнеца здесь
называли «chalkeus» – мастер по меди и бронзе (рис.1).
Рис.1. Изображения на
греческой керамике: а) рудокопов; б) кузнецов
Это не означает, что
греки не знали железа, которое они называли «сидерос». Железные кайла, клинья и
кувалды применялись при добыче руд. Позднее, греческие архитекторы применяли
железные дюбели для крепления отдельных деталей мраморных колонн при
строительстве храма Артемиды в Магнезии, работы Гермогена (около 200г. до
н.э.). Одна из греческих легенд гласит, что секрет неуязвимости Ахилла был в
его железных доспехах.
Первоначально греки
использовали металлы как деньги. Отсюда название драхма – дословно «горсть», с
зажатыми шестью стержнями.
«...пышнокудрые дети
ахейцев
Все покупали, платя кто
железом, кто яркою медью,
Кто же бычачьими шкурами,
кто и самими быками
Или рабами – людьми».
«Илиада». Гомер.
Ценности хранили под
замком. В «Одиссее», описано, как Пенелопа открывала кладовку, где хранился лук
Одиссея:
«Мягкоотдутлой рукой
искусно выгнутый медный
Ключ с рукоятью из кости
слоновой доставши, царица
В дальнюю ту кладовую
пошла (и рабыни за нею)
Где Одиссеев все
драгоценности были хранимы:
С скважины снявши
замочной ее покрывавшую кожу,
Ключ свой царица вложила
в замок; отодвинув задвижку,
дверь отперла...»
Судя по описанию Гомера,
замки в городском доме Одиссея были многочисленны. Например, упоминается
ключница Евринома, которая выдавала пищу из кладовых. Старая кормилица Одиссея
Евриклея также имела ключи:
«Кликнул усердную няню
его Евриклею, сказал ей:
Слушай, тебе повелел
Телемах, чтоб рабыни немедля
Заперли в женские комнаты
двери на ключ...
Ты же Филойтий, возьми
ворота на свое попеченье
Крепко запри их на ключ и
ремнем затяни их задвижку».
Выполняя распоряжение,
Филойтий:
«Вышел во двор,
обнесенный оградой, и запер ворота;
Был там в сенях
корабельный пеньковый канат; им связал он
Крепко затвор у ворот...»
Следовательно, замки были
на воротах, кладовках, спальне хозяев и даже дверях спален служанок. Какова
конструкция замка из отрывка непонятно, но ясно, что в основе горизонтальный
засов.
Но вернемся к «Одиссее».
В другом месте читаем:
«Вышла из спальни;
серебряной ручкой дверь затворила,
Крепко задвижку ремнем
затянула...»
В этом отрывке описаны
манипуляции с Античным замком, который по преданию изобрел Феодор с острова
Самос. Этот факт отмечен римским историком Плинием Старшим (23/24 – 79г.г.),
упоминавшем его, как талантливого скульптора, в «Naturalis historia».
Конструкция Античного
замка представляла собой горизонтальный засов с двумя различными системами
привода для запирания и отпирания рис.2.

Запирание производилось
снаружи с помощью ременной (веревочной) тяги, пропущенной через нижнее
отверстие в дверном полотне. После этого, для большей надежности, веревку
завязывали узлом.
Отпирание (возврат
засова) производился с помощью S-образного ключа. Ключ просовывали через
относительно большое верхнее отверстие (замочную скважину) и хозяин, нащупав
выступ на засове, толкал его. Поскольку дверь должна была запираться плотно, то
ключ, был большого размера, достаточно толстым и изготавливался из бронзы.
Самым древним из
сохранившихся ключей этого типа является ключ 6в. до н.э. от храма Артемиды в
Лузах (Аркадия) длинной около 50см., который сейчас находиться в «Музее изящных
искусств» в г.Бостон, США. Встречались ключи длиной до 75см. Такие ключи носили
на плече.
В Риме по сей день два
здания запираются античными замками: один в Пантеоне, в церкви св.Космы и
Дамиана, другой – в храме Максенция.
Естественно, носить такой
груз достаточно обременительно. Мастера стремились уменьшить его вес, и на
рубеже 5...6вв. до н.э. греческим мастерам это удалось – был изобретен
Лакедемонский замок-желудь (Лакедемония – область в Греции неподалеку от
г.Спарта).
Рис. 3. Устройство
Лакедемонского замка-желудя
В таком замке (см. рис.3)
засов блокировался С-образными колодками, с головками в форме желудя, которые
размещали в пазах внутри направляющей. Колодки отводились в сторону ключом, чем
разблокировали засов. Важно, что ключ совершал вращательное движение.
Количество колодок, их размер и шаг между ними определяли секретность замка.
В замке такой системы
также разделены функции разблокирования и перемещения засова. Как и в случае
«Египетского» замка, при использовании таких замков необходимо не только
вставить и повернуть ключ одной рукой, но и отвести ригель. Не зависимо от
того, снаружи или изнутри крепили замок, это можно было сделать только с
помощью обеих рук.
Показанная на рисунке
конструкция замка – цельнодеревянная, поэтому достоверных находок не
сохранилось, но Иоханес Ирмшер в «Lexicon der antike» считает, что ключ такого
замка имел бронзовые вставки – обоймы, которые как шляпки желудей надевались на
головки блокирующих колодок.
Описания Гомера относятся
к дому царя, а история Греции в первую очередь – история городов-полисов. В
качестве примера приведем крупный и густонаселенный древнегреческий город
Афины. Во время Фемистокла он имел площадь в 550 акров и был равен среднему
месопотамскому городу. Кульминацией расцвета Афин были 40...30-е годы V века до
н.э. Население достигало 180тыс. человек. Это был по тем временам большой
город, насчитывающий болеет 10тыс. домов. Основное количество зданий были
глинобитными, по конструкции похожими на восточные дома, с небольшим окошками и
крышами террасами, где летом спали рис.4а. В таких домах была одна большая
комната – «мегатрон».
Рис.4. Постройки Греции:
а) изображения дома на греческой вазе; б) сокровищница афинян в Дельфах; в)
Парфенон в Афинах
Каменными были
общественные здания и храмы, которые были не только местом для молитв, но и
местом, где хранили ценности и архивы. Здесь же хранили каменные плиты с
высеченными на них текстами законов. Наказание за посягательство на имущество в
храме было жестоким: вспомните судьбу Эзопа. Поэтому Афиняне имели свою
сокровищницу в Дельфах – святом для всех греков месте рис.4б.
Греческая культура дала
миру новые, необычайно изящные типы храмовых построек рис.4в. Для их возведения
было необходимо перекрывать большие проемы, и греки изобрели «армированный
мрамор» – в мраморной заготовке долбили отверстие, куда затем помещали
металлический стержень – арматуру. Такое новшество дало возможность перекрывать
балками даже шестиметровые проемы.
Именно в городах-полисах
возникла потребность в замках. Жизнь грека-горожанина была тесно связана с
общественной. В нерабочее время она протекала на акрополе, стадионе, термах или
под портиками храмов. Жилище было скорее пристанищем на ночь, местом для
питания и хранения вещей.
Другое дело, для женщин.
В период полисов в Греции уже установился патриархат, и положение женщин стало
зависимым от мужчин. Женщины не имели права не только участвовать в управлении
государством, но даже просто присутствовать на собраниях и стадионах. Эту
сторону жизни древних греков отразил в одной из сцен в своей комедии
древнегреческий комедиограф Аристофан (около 446...385г. до н.э.) в комедии
«Женщины на празднике Фесмории» (Гинекей [гр. gynaikeien] – женская половина в
древнегреческом доме):
«...ныне дверь гинекея
сторожит печать, наложенная мужем и засов. Но мало этого: любовникам на страх
заводит муж молосских псов. И можно было и это простить. Но вот чего не в силах
мы снести. Бывало, прежде мы хозяйничали сами, могли из кладовой брать
потихоньку и муки, иль масла, иль вина... теперь и этого нельзя. Ключи с
секретами мужья уж носят, проклятые лаконские ключи о трех зубцах...».
Какой тип замка имел в
виду Аристофан сказать сложно. Некоторые исследователи отождествляют лаконский
ключ с представленным на рис.5а. К сожалению, при этом не даны описания самих
замков.
Можно предположить, что
эти замки имели игольчатые задержки, являлись модификацией Египетского замка и
прототипами римских замков на два движения, которые будут описаны позже.
Рис.5. Лаконский замок:
а) ключ; б) принцип действия замка
В литературе встречаются
также ссылки на ключ-серп. Название определила форма – ключ напоминает
современный серп. Но у исследователей нет однозначного мнения, к какому механизму
следует их относить.
Первый вариант: в основе
конструкции поворотный засов рис.6а. Особенностью такой конструкции следует
признать необходимость дверной накладки с отверстием для ключа. Помимо того,
что зауженное отверстие препятствовало вскрытию, накладка играла роль точки
опоры для ключа и предохраняла древесину от износа. Секретность замка основана
на малой толщине канала ключа и совпадении кривизны ключа и канала.
Замки такого этого типа
использовали долгий период. На рис.6б показан цельнометаллический замок такой
конструкции. Форма наружной накладки и укрепленной на ней ручки дают
возможность датировать его концом XVIIIв.
Следует обратить внимание
на изменение формы рукоятки ключа-серпа. На рис.6а она мощная и круглая, так
как для поднятия тяжелого засова требовались большие усилия. На рис.6б рукоятка
ключа выполнена в виде небольшой плоской площадки, поскольку для открывания
требовалось малое усилие. Достаточно было установить ключ и нажать на него
одним пальцем.
Запирание замка
осуществлялось автоматически, под действием силы тяжести.
Рис.6. Замок с ключом-серпом
и поворотным засовом: а) схема работы; б) цельнометаллический замок
Второй вариант замка с
ключом-серпом показан на рис.7. В основе конструкции – горизонтальный засов.
Ключ просовывали в отверстие над засовом и его загнутым «клювом» нащупывали
отверстие на боковой поверхности засова. После этого ключом совершали
колебательные движения. Если для открывания одного движения было мало, ключ
переставляли в соседнее отверстие. Запирание замка осуществлялось в обратном
порядке.
Рис.7. Замок с
ключом-серпом и сдвижным засовом: а) принцип работы; б) ключ
Среди замков-засовов
следует отметить замок, изображенный на рис.8. Зауженная замочная скважина в
нем была расположена над выступающими зубцами засова, а ключ производил
колебательные движения. Ключом и запирали и отпирали замок. Но для операций с
таким замком использовать S-образный ключ с параллельными плечами не удобно –
изгиб рукоятки ключа не удобен для приложения больших усилий (косточки пальцев
будут тереться о дверь).
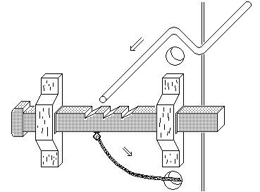
Рис.8. Замок-засов: а)
Г-образный ключ; б) современный замок
Для замков такого типа
применяли Г-образные ключи. На рис.8а показан найденный в Греции железный ключ.
Такие ключи изготавливались цельными, но они могли иметь на конце подвижный
(шарнирно закрепленный) сегмент (подробнее эта система будет описана в главе
«Замки восточных славян»). Длина такого элемента должна была совпадать с
расстоянием от замочной скважины до выступов на засове, что определяло
секретность конструкции. Как видно на рисунке, в расклепанной рукояти ключа
выполнены два отверстия. Это говорит о том, что на рукояти были укреплены две
накладки. Зная высокие требования греков к красоте, можно предположить, что это
были пластины из кости или ценного дерева украшенные резьбой.
До наших дней такие замки
используют в разных странах, преимущественно в сельской местности.
Представленный на рис.8б замок охраняет вход в церковь румынского села Леуд
(Leud). Деревянная церковь построена в 1717г. после последнего татарского
нашествия на этот регион.
Список литературы
Для подготовки данной
работы были использованы материалы с сайта http://www.n-t.org/