Выбор линейных размеров 4-осной цистерны для перевозки сжиженных газов

  • Вид работы:
    Дипломная (ВКР)
  • Предмет:
    Транспорт, грузоперевозки
  • Язык:
    Русский
    ,
    Формат файла:
    MS Word
    3,06 Мб
  • Опубликовано:
    2013-12-07
Вы можете узнать стоимость помощи в написании студенческой работы.
Помощь в написании работы, которую точно примут!

Выбор линейных размеров 4-осной цистерны для перевозки сжиженных газов

Введение

Вагонный парк, являясь массовым и одним из важнейших технических средств, выполняет основное назначение железнодорожного транспорта -перевозку разнообразных грузов и пассажиров. Грузовые перевозки -ключевой вид деятельности вагонного хозяйства.

Развитие химии, промышленности по производству минеральных удобрений, атомной энергетики и ряда других отраслей вызывают постоянный рост перевозок взрывчатых веществ, пожаро- и взрывоопасных, токсичных и радиационных грузов, перевозка которых возможна только при строжайшем соблюдении всеми участками транспортного процесса специальных условий обеспечения безопасности при подготовке грузов к перевозке, упаковке, погрузке, транспортировке и выгрузке. В связи с этим назрела острая необходимость унификации требований к используемым для этих целей транспортным средствам. Особое внимание должно уделяться вопросам надёжности конструкций цистерн, так как нарушение герметичности котлов и утечка содержимого груза может привести к тяжелым последствиям. Эксплуатационные качества цистерн необходимо закладывать в процессе проектирования путем выбора основных оптимальных параметров, определяющих эффективность конструкции, с последующими прочностными расчетами элементов конструкции вагона.

1. Требования по эксплуатации и техническому обслуживанию вагона-цистерны

1.1    Требования по безопасной эксплуатации вагона-цистерны

1.      Запрещается держать цистерну присоединенной к коммуникациям, когда налив и слив её не производится. В случае длительного перерыва при сливе или наливе сжиженного газа шланги от цистерны должны быть отсоединены.

2.      Подтягивание и отвинчивание резьбовых и фланцевых соединений цистерны и коммуникаций, хомутов шлангов, находящихся под избыточным давлением, запрещается. Нельзя применять ударный инструмент при навинчивании и отвинчивании гаек.

3. Курить на расстоянии менее 100м от цистерны строго воспрещается. Вести какие-либо посторонние работы у цистерны не разрешается.

4. Все работы по мелкому ремонту элементов не дегазированной цистерны производятся не искрящим инструментом, а рабочая часть инструментов и приспособлений из черного металла должна обильно смазываться тавотом, солидолом или другой смазкой. Применение электродрелей и других электрических инструментов, дающих искрение, а также производство сварочных работ запрещается.

5.      В нерабочем состоянии вентили цистерны должны быть закрыты и заглушены. В случае необходимости, замена сальниковой набивки вентилей наполненной цистерны может быть выполнена при полностью закрытом вентиле и снятых заглушках.

6.      Во время налива и слива сжиженного газа запрещается производить какие-либо огневые работы на расстоянии ближе 100м от вагона.

Со стороны железнодорожного пути на подъездных путях и дорогах на участке налива или слива должны быть выставлены сигналы размеров 400х500м с надписью «Стоп, проезд запрещен, производится налив (слив) цистерны». Кроме того, подъездные железнодорожные пути должны быть ограждены сигналами в соответствие с «Инструкцией по сигнализации».

7.      При авариях, которые могут привести к значительной утечке газа из цистерны или присоединяющих коммуникаций, необходимо немедленно потушить все источники открытого огня, удалить людей из зоны возможного загазовывания, выставить посты, запрещающие допуск людей и транспорта в загазованную зону, создать, где это возможно, водяную завесу, принять меры по ликвидации утечки. Об аварии необходимо сообщить администрации железной дороги и завода-поставщика.

При возникновении огня вблизи вагона-цистерны необходимо немедленно вызывать пожарную команду, принять меры по ликвидации пожара и вывозу цистерны в безопасное место. Если вагон вывезти невозможно, её необходимо поливать водой. При загорании сжиженного газа применяют различные средства пожаротушения:

а) огнетушители - пенные, углекислотные, порошковые;

б) воду в виде компактных и распыленных струй, водяной пар, песок, асбестовое полотно и другие, имеющиеся в наличие средства пожаротушения.

На всех предприятиях должен быть разработан план по ликвидации возможных аварий.

8.      На электрифицированных участках железных дорог запрещаются все виды работ наверху цистерны до снятия напряжения в контактной сети и её заземления.

9.      Опасные свойства сжиженных газов требуют принятия особых мер предосторожности. При работе со сжиженными газами необходимо соблюдать требования по безопасности, изложенные в гостах и технических условиях.

Утечки сжиженного газа должны немедленно устраняться, так как вдыхание человеком воздуха, содержащего 10% паров сжиженного газа, вызывает головокружение, при большем содержании паров наступает кислородная недостаточность.

При попадании жидкой фазы на кожу человека вследствие моментального испарения её происходит интенсивное поглощение тепла, что приводит к обмораживанию.

. При попадании сжиженного газа на кожу, в глаза и т.п. необходимо быстро промыть пораженное место обильной струей холодной воды, смазать пораженное место (пока не образовались пузыри) мазью от ожогов. При наличии пузырей следует осторожно наложить стерильную повязку и немедленно обратиться за медицинской помощью.

При попадании жидкости на одежду последнюю необходимо немедленно снять, так как сжиженный газ моментально впитывается в неё и проникает к телу, обмораживая его. Необходимо помнить, что промедление очень опасно, так как под одеждой на теле образуются пузыри, которые могут лопнуть, а при поражении ожогами более 1/3 кожного покрова возможен смертельный исход.

1.2 Требования к безопасности и влиянию на окружающую среду

1.      Конструкция цистерны должна:

-  обеспечивать защиту окружающей среды и человека от воздействия перевозимого груза и его паров за счет герметизации котла;

-   исключать возможность разлива продукта при наливе, сливе и транспортировании.

2.      Конструкция цистерны и расположение оборудования должны обеспечивать безопасность работы обслуживающего персонала, а также удобный доступ к оборудованию при техническом обслуживании, ремонте, демонтаже и монтаже.

3.      Конструкция цистерны должна соответствовать «Правилам безопасности при перевозке опасных грузов железнодорожным транспортом», «Типовым требованиям по технике безопасности и производственной санитарии для

проектирования и постройки грузовых и пассажирских вагонов ж. д.», утвержденных МПС.

4.      Котел цистерны должен быть оборудован дугами безопасности для защиты от повреждения зоны люка-лаза при сходе вагона-цистерны и опрокидывания её с пути.

5.      Пропускная способность предохранительного клапана должна определяться в соответствии с ГОСТ 12.2 085.

6.      На раме платформы должны быть установлены торцевые защитные экраны для защиты от пробоя нижней зоны днища котла при аварии.

7. Подвижные детали оборудования котла должны быть изготовлены из материалов (или иметь покрытия), исключающие искрообразование.

8. Котел и рама цистерны должны иметь электропроводящее соединение с ходовой частью.

9. Конструкция цистерны должна обеспечивать возможность электрического заземления, отвечающего требованиям ГОСТ 12.1.018.

10.  Конструкция цистерны должна иметь устройства, предохраняющие от падения на путь шарнирно закрепленных сборочных единиц и деталей.

11.  Детали цистерны не должны иметь острых углов, могущих травмировать обслуживающий персонал.

12.   Цистерна должна быть оборудована кронштейнами для установки поездных сигналов, устройствами для подтягивания вдоль фронта погрузки-разгрузки нерельсовым транспортом.

13.   Помосты должны изготовляться из просечно- вытяжного листа, а подножки и ступеньки лестниц из рифленого листа.

14.  Наружные лестницы, расположенные под углом к горизонтали менее 70°, должны быть оборудованы поручнями.

15.  Знаки и надписи должны быть нанесены согласно «Альбому знаков и надписей на вагонах грузового парка железных дорог колеи 1520мм».

1.3 Требования к покрытию

Лакокрасочное покрытие должно соответствовать требованиям ГОСТ 7409. Цветовое оформление цистерны должно соответствовать инструкции ЦД/76 и «Правилам перевозок ж. д. транспортом грузов наливом в вагонах-цистернах и вагонах бункерного типа для перевозки нефтебитума».

1.4 Требования к маркировке и упаковке

1.      На цистерне должны быть нанесены знаки и надписи безопасности в соответствии с:

-  «Правилами перевозок опасных грузов по железным дорогам»;

-    «Правилами перевозок железнодорожным транспортом грузов наливом в вагонах-цистернах и вагонах бункерного а для перевозки нефтебитума»;

- «Положением о знаках безопасности на объектах железнодорожного транспорта».

2.      Котел цистерны должен иметь маркировку, включающую следующие данные:

· наименование или товарный знак завода-изготовителя;

· год изготовления;

· дата освидетельствования;

· вместимость, mj;

· масса котла в порожнем состоянии (чертежная), т;

· величина рабочего и пробного давления, МПа;

· клеймо ОТК завода-изготовителя;

· дата очередного освидетельствования.

Маркировка наносится клеймением по окружности фланца люка.

3.      На металлической табличке, установленной на котле, должна быть указана маркировка котла:

- наименование или товарный знак завода-изготовителя;

· год изготовления;

· рабочее давление, МПа;

· расчетное давление, МПа;

· пробное давление, МПа;

-    допустимая максимальная и минимальная рабочая температура стенки, °С;

· масса котла в порожнем состоянии (чертежная), кг;

· материал котла;

· клеймо технического контроля.

4.      На металлической табличке, установленной на хребтовой балке рамы, должна быть указана маркировка платформы:

· наименование или товарный знак завода-изготовителя;

· порядковый номер по системе нумерации завода-изготовителя;

· год изготовления;

· марка стали хребтовой балки рамы.

5.      На металлической табличке, установленной на боковом швеллере рамы согласно чертежу, должна быть указана маркировка цистерны:

· наименование или товарный знак завода-изготовителя;

· порядковый номер по системе нумерации завода-изготовителя;

· дата (число, месяц, год) изготовления;

· модель цистерны;

· масса цистерны с ходовой частью в порожнем состоянии, кг;

· регистрационный номер;

· дата очередного освидетельствования.

6.      Над приспособлением для присоединения заземления должен быть нанесен знак заземления по ГОСТ 21130.

1.5 Требования к надежности

1.  Назначенный срок службы - 40 лет.

2.  Назначенный срок службы до первого капитального ремонта - 10 лет.

1.6 Требования по технике безопасности при дегазации и ремонте вагонов-цистерн

1.      Ремонт цистерны, её элементов и внутренний осмотр разрешается проводить только после её дегазации.

Арматура может быть снята для ремонта и испытания только при отсутствии в сосуде цистерны избыточного давления. После снятия арматуры для ремонта, отверстия в крышке люка цистерны должны закрываться пробками на резьбе или заглушками на фланцах.

2.      Цистерна, направляемая для ремонта в депо дороги и на вагоноремонтные заводы МПС, должна быть дегазирована. Справка о дегазации цистерны прилагается к перевозочным документам.

3.      В пути следования ремонт ходовых частей, тормозных и упряжных приборов порожнего или груженого вагона должен проводиться работниками вагонного хозяйства МПС с особой осторожностью.

При производстве ремонта неисправного вагона-цистерны запрещается:

· ремонтировать цистерну в груженом состоянии, а также в порожнем состоянии до производства дегазации;

· производить удары по цистерне;

-   пользоваться инструментом, дающим искрение и находиться с открытым огнем (факел, жаровня, керосиновый и свечной фонарь) вблизи цистерны;

- производить под цистерной сварочные работы.

При необходимости исправления тележек с применением огня, сварки и ударов, тележки должны выкатываться из-под вагона и отводиться от неё на расстояние не ближе 100м.

4.      Подтягивание и отворачивание резьбовых и фланцевых соединений цистерны и коммуникаций, хомутов шлангов, находящихся под избыточным давлением, запрещается. Нельзя применять ударный инструмент при подтягивании и отворачивании гаек.

5.  Курить на расстоянии менее 100м от цистерны строго воспрещается. Вести какие-либо посторонние работы у цистерны не разрешается.

6.  Все работы по мелкому ремонту элементов не дегазированной цистерны производятся неискрящим инструментом, а рабочая часть инструментов и приспособлений из черного металла должна обильно смазываться тавотом, солидолом или другой смазкой. Применение электродрелей и других электрических инструментов, дающих искрение, а также производство сварочных работ запрещается.

7. Работы внутри цистерны являются газоопасными и должны выполняться в соответствии с «Правилами безопасности в вагонном хозяйстве», производственных инструкций, инструкции по технике безопасности и утвержденного технологического регламента. Эти работы должны выполняться под непосредственным руководством инженерно-технического работника. В процессе ремонтных работ внутри цистерны все распоряжения о порядке их проведения должны даваться лицом, ответственным за работу.

Присутствующие при работе другие должностные лица и руководители должны давать указания рабочим через лицо, ответственное за проведения работ.

Освещение внутри цистерны допускается только лампочками на напряжение не более 12В в исправной взрывобезопасной арматуре.

До начала работы сосуда цистерны необходимо произвести анализ среды на отсутствие опасной концентрации углеводородов и на содержание кислорода. Содержание кислорода должно быть в пределах 19-20% по объему.

1.7 Ремонтные циклы, виды и объем ремонта, а также места их проведения

Подготовка вагонов-цистерн к ремонту.

. Дегазация полости цистерны парообразованием

Перед подачей вагонов в ремонты полости цистерн необходимо дегазировать парообразованием, а химическая служба ремонтно-испытательных пунктов должна выставить свидетельство о дегазации.

. Предварительные операции.

Перед началом дегазации необходимо:

-    проверить и надеть индивидуальное защитное приспособление, предусмотренное местной инструкцией по технике безопасности;

-  состав вагонов-цистерн, которые подлежат дегазации подкатить на пост и затормозить, поворачивая в правую сторону маховиком ручного тормоза и подложить башмак;

   перед началом каких-либо погрузочных работ тщательно присоединить заземляющий провод непосредственно к котлам цистерн;

· войти на верхние площадки, снять пломбы, открыть колпаки сливо-наливной арматуры;

· вывернуть заглушки с угловых вентилей.

3. Дегазация с помощью пара:

· подключить к угловым вентилям жидкой фазы трубопровод с водяным насыщенным паром под давлением 0,4-0,5МПа;

· подключить к угловому вентилю газовой фазы трубопровод для отвода смеси газов в факельную линию;

· открыть угловые вентили газовой фазы и угловые вентили жидкой фазы.

-   перекачивать горячий пар в цистерну. Цистерну необходимо пропаривать до тех пор, пока анализ не покажет, что она полностью дегазирована и есть возможность снять арматуру и безопасно войти во внутрь цистерны.

· перекрыть угловые вентили жидкой фазы и угловой вентиль газовой фазы.

· отсоединить трубопровод с паром от угловых вентилей жидкой фазы:

· отсоединять трубопровод от углового вентиля газовой фазы.

4. Заключительные операции:

-  вкрутить заглушки в угловые вентили;

-    войти на верхние площадки, закрыть колпаки сливо-наливной арматуры и запломбировать;

-  отсоединить заземляющие провода от котлов цистерн;

-    растормозить вагоны, поворачивая в левую сторону маховиком ручного тормоза и присоединить их к составу поезда;

-  снять индивидуальное защитное приспособление.

Ремонт вагонов-цистерн

Исправное содержание вагонов в эксплуатации обеспечивается периодическими видами ремонта (капитальным и деповским), а также текущим ремонтом в области всего вагона-цистерны за исключением цистерны, арматуры и наружных устройств.

Ремонтные циклы, виды и объем ремонта, а также место их проведения устанавливают соответствующие правила МПС.

Капитальный ремонт

Капитальный ремонт является ремонтом с самым большим объемом работ производимых в ремонтном цикле и включает в себя все работы связанные с приведением вагона-цистерны к состоянию эксплуатационному отвечающему новому вагону, для чего основные детали и элементы необходимо довести до конструктивных размеров. Этот вид ремонта выполняют на ремонтных заводах МПС.

Деповской ремонт

Деповской ремонт предназначен для поддержания цистерн в исправном состоянии между капитальными ремонтами. При деповском ремонте восстанавливается или заменяется изношенные части, подузлы и узлы, степень изношенности которых не обеспечивает нормальной эксплуатации вагона до следующего деповского или капитального ремонта. Ремонт осуществляют в депо ОАО РЖД.

Текущий ремонт

Между периодическими ремонтами вагоны-цистерны в процессе эксплуатации подвергаются:

· техническим осмотрам;

· текущим ремонтам вагонов без отцепления их от поезда;

· текущим ремонтам вагонов с отцеплением их от поезда.

При текущем ремонте цистерн без отцепления их от поезда устраняются все мелкие неисправности угрожающие безотказной и бесперебойной работе. Этот ремонт выполняется за время стоянки поездов на станции. Текущий ремонт вагонов с отцепкой вагонов осуществляется в депо на специально механизированных пунктах или на специально выделенных путях приспособленных к ремонту вагонов. В этот ремонт поступают такие части вагонов, которые невозможно отремонтировать за время стоянки вагонов на станции. При этом ремонте устраняют не только неисправности, из-за которых вагоны отцеплены от поезда, но и все дефекты, выявленные при ремонте.

Таблица 1.1 Периодичность технических освидетельствований цистерн

наименование

Администрация предприятия

Инспектор Госгортехнадзора


Наружный осмотр

Наружный ивнутренний осмотры

Гидравлическое испытание пробным давлением

Цистерны для перевозки пропан-бутана

2 года

10 лет

10 лет

Предварительные операции

Перед преступлением к осмотру необходимо:

- надеть индивидуальное защитное приспособление;

- затормозить цистерны и подложить башмаки;

· присоединить заземляющий провод к котлам цистерн;

· войти на верхние площадки, снять колпаки сливо-наливной арматуры;

· открутить болты, крепящие крышку люка;

· извлечь арматуру вместе с крышкой люка;

· механически очистить полость цистерны. Загрязнения удалить.

Техническое освидетельствование:

·   наружный, внутренний осмотр и гидравлическое испытание производить с участием местных органов Госгортехнадзора;

·   после ремонта сваркой элементов цистерны, работающих под давлением, необходимо провести повторное гидравлическое испытание.

Технический осмотр арматуры:

· снять арматуру с крышкой люка;

· провести технический осмотр арматуры на специально выделенных пунктах на ремонтном заводе;

-    при обнаружении неисправностей вентили необходимо отремонтировать или в случае больших дефектов негодные заменить новыми;

-   после ремонта вентили угловые, скоростные клапана, а также предохранительный клапан подвергаются испытаниям согласно требованиям, изложенным в технических условиях и чертежах на в/у вентили.

Заключительные операции

После проведения технического освидетельствования с положительным результатом необходимо:

·  на специальном пункте провести гидравлическое испытание вентилей закрепленных на крышке люка;

·  надеть прокладку и крышку люка вместе с закрепленной на ней арматурой;

-   произвести испытание на герметичность соединения крышки и патрубка люка;

-   войти на верхние площадки, закрепить и закрыть колпаки сливо-наливной арматуры и запломбировать;

· отсоединить заземляющий провода от цистерны;

· растормозить вагоны-цистерны и присоединить их к составу поезда;

· снять индивидуальное защитное приспособление.

Наружный осмотр цистерны при эксплуатации должен проводиться не реже одного раза в два года. Наружные осмотры необходимо проводить на сливо-наливных эстакадах.

Наружный осмотр сливо-наливной арматуры

Технические службы владельца перед каждым наливом должны провести наружный осмотр сливо-наливной арматуры.

В случае обнаружения повреждения арматуры вагоны-цистерны следует подать на эстакады подготовки или ремонтно-испытательные пункты для их дегазации и последующего ремонта или замены неисправной сливо-наливной арматуры.

Не реже одного раза в год вся сливо-наливная арматура должна быть снята с вагона-цистерны для ревизии и испытания на прочность и плотность.

Характеристика материала цистерны и сварочных электродов

Цистерна изготовлена из низколегированной стали повышенной прочности марки 18Г2А (эквивалент стали 09Г2С, 09Г2СД), со следующим хим. составом (%):

Сmax - 0,20, Mn - 1-1,5, Si <= 0,55, Р <= 0,040, S <= 0,040, Cr <= 0,30, Ni <= 0,30, Сu <= 0,30, Almin - 0,02.

Для ручной сварки применяются безводородные электроды марки ЭБЛЬ50 со следующим хим. составом (%): С - 0,08, Мn - 1,1, Si - 0,5, Р -0,03, S - 0,03.

Безводородные электроды перед применением необходимо высушить при температуре 250-350°С в течение 2 часов. Повреждения, подлежащие ремонту:

- мелкие царапины, задиры и вмятины на корпусе цистерны;

- мелкие дефекты швов стыкового или углового соединения;

- механические повреждения наружных элементов приваренных к цистерне, такие как лапы, кронштейны площадки и лестницы.

1.8 Налив и слив вагонов-цистерн

1.8.1 Общие положения

Налив и слив сжиженных газов разрешается производить только на специальной эстакаде из несгораемых материалов, принятой в эксплуатацию установленным порядком с участием представителей местных органов Госгортехнадзора. Эстакады должны быть оборудованы освещением во взрывобезопасном исполнении, обеспечивающим выполнение сливо-наливных операций круглосуточно.

У сливо-наливных эстакад должно быть соответствующее объему налива и слива путевое развитие, заводы-поставщики (изготовители) должны иметь приемоотправочные пути, пути отстоя цистерн из расчета суточной отгрузки и эстакаду для осмотра и подготовки вагонов-цистерн под налив. Трубопроводы сливо-наливных эстакад должны быть оборудованы манометрами, между местом установки манометров и угловыми вентилями цистерны не должны быть запорных устройств.

Для сливо-наливных устройств следует применять резинотканевые рукава класса Б (1).

Устройства для присоединения рукавов к угловым вентилям должны обеспечивать сохранность резьбы штуцеров сливо-наливных вентилей.

Трубопроводы и резинотканевые рукава должны быть заземлены.

Цистерны до начала сливо-наливных операций должны быть закреплены на рельсовом пути специальными башмаками и заземлены.

Выполнение сливо-наливных операций во время грозы запрещается. В отличие от большинства жидкостей, объем которых при изменении температуры изменяется незначительно, жидкая фаза сжиженных газов довольно резко меняется по объёму.

1.8.2 Налив вагонов-цистерн

Перед преступлением к наливу цистерн нужно выполнить следующие условия.

В соответствии с «Правилами технической эксплуатации железных дорог Российской Федерации» работники ОАО РЖД должны провести технический осмотр цистерн перед подачей их на подъездные пути завода-поставщика (изготовителя), а в необходимых случаях и отремонтировать вагоны - цистерны. Порядок и объем технического осмотра устанавливается ОАО РЖД.

Цистерны перед наполнением сжиженным газом должны тщательно осматриваться работниками конторы сжиженного газа или товарно-транспортного пункта.

При предварительном наружном осмотре вагона, производимом на подъездных путях завода - поставщика, должны быть проверены: сроки проведения заводского и деповского ремонтов ходовых частей, внутреннего осмотра и гидравлического испытания цистерны, профилактического ремонта предохранительной и запорной арматуры, состояние окраски и трафаретов, а также смыты меловые надписи. Кроме того, необходимо проверить отсутствие повреждений цистерны (вмятины, трещины) и в случае его повреждения потребовать от железной дороги технический акт по форме ВУ-25 или ВУ-25а.

На основании осмотра подается заявка транспортному цеху завода-поставщика на подачу вагонов, признанных годными к наливу, под эстакаду. О цистернах, наливаемых впервые или после ремонта, делается отметка в заявке.

Проверка исправности и герметичности предохранительной, сливо-наливной и контрольной арматуры должна производиться работниками конторы сжиженного газа или товарно-транспортного пункта, на эстакаде осмотра и подготовки цистерн под налив или на наливной эстакаде, принадлежащих заводу-поставщику.

Запрещается налив вагонов-цистерн, если:

- истек срок заводского и деповского ремонтов ходовых частей, профилактического ремонта арматуры, внутреннего осмотра и гидравлического испытания сосудов цистерн;

- отсутствует или неисправна предохранительная, запорная и контрольная арматура;

· нет установленных клейм, надписей и неясны трафареты;

· повреждена цилиндрическая часть цистерны или днища (трещины, вмятины, заметные изменения формы);

· требуется окраска;

· цистерны заполнены не углеводородными сжиженными газами и жидкостями;

· остаточное избыточное давление паров продукта, менее 0,5кгс/см2, кроме цистерн, наливаемых впервые или после ремонта.

Цистерны перед наполнением обязательно должны быть осмотрены представителями конторы сжиженного газа. При этом, снимая пломбы и открывая колпаки арматуры, открывая вентиль контроля предельного уровня налива, необходимо проверить наличие остаточного давления в цистерне, а открывая дренажный вентиль - наличие в цистерне воды или не испаряющихся остатков газа. Вся оказавшаяся в сосуде вода или неиспаряющиеся остатки должны быть удалены работниками завода-поставщика до наполнения цистерны продуктом. Цистерны, наливаемые впервые или после ремонта, работники должны продуть инертным газом.

Результаты осмотра вагонов-цистерн, признанных годными к наливу, должны быть занесены работниками в специальный журнал осмотра вагонов-цистерн перед наполнением.

Перед наливом сжиженных газов в цистерны завод-поставщик обязан удалить из емкости товарного склада выделившуюся из продукта (дренажную) воду. Готовая продукция должна быть принята техническим контролем завода-изготовителя, несущего ответственность за качество налитого в цистерны продукта.

Если при наливе цистерны обнаружена утечка продукта, налив должен быть прекращен, продукт слит, давление сброшено, а работники конторы сжиженного газа должны принять меры к выявлению и устранению неисправности цистерны.

Время налива всей партии вагонов-цистерн одной отправки на заводе-поставщике с момента их приемки от конторы сжиженного газа не должно превышать 6 часов.

Подготовительные операции перед наливом Перед преступлением к наливу нужно:

- проверить и надеть индивидуальное защитное приспособление, предусмотренное местной инструкцией по технике безопасности;

- состав вагонов-цистерн, которые должны быть наполнены, подкатить на погрузочный путь и затормозить, поворачивая в правую сторону маховиком ручного тормоза (рис. 1.1), и установить башмаки;

- перед началом каких-либо погрузочных работ тщательно присоединить заземляющий провод непосредственно к цистернам 2;

· войти на верхние площадки 3 и открыть колпаки сливо-наливной арматуры 4;

· выкрутить гайки вентилей кислородного типа 9,10,11,12;

- выкрутить заглушки с угловых вентилей 16, 17, 18.

Налив

1.      Присоединить наконечники наполняющих трубопроводов к угловым вентилям жидкой фазы 16, 17.

2.      Присоединить наконечники трубопроводов выравнивания давления к угловым вентилям газовой фазы 18.

.        Открыть угловые вентили газовой фазы 18 с целью выравнивания давления между газовым пространством цистерны и ёмкостью погрузочной станции.

4.      Открыть угловые вентили жидкой фазы 16, 17.

3. Включить перекачивающие насосы.

4. Все время контролировать степень наполнения цистерн.

5. Цистерна правильно наполнена в случае, когда:

· у выходного отверстия 10 появится жидкость;

· после открытия контрольного вентиля красного цвета 9 у выходного отверстия появится газ. С момента появления у выходного отверстия жидкости в контрольном вентиле зеленого цвета 10 и газа в контрольном вентиле красного цвета 9, выключить перекачивающие насосы;

- перекрыть контрольные вентили 9,10.

Рис. 1.1

Перекрыть угловые вентили жидкой фазы 16,17 и газовой 18.

8.  Отсоединить наконечники проводов выравнивания давления от угловых вентилей газовой фазы 18, а также наконечники наполняющих проводов от угловых вентилей жидкой фазы 16,17.

Проверка правильности налива

После окончания налива цистерны от завода-поставщика принимает работник конторы сжиженного газа. При приемке налитых цистерн необходимо проверить правильность их наполнения.

Появление из вентиля 9 жидкости, указывает на переполнение цистерн, а отсутствие выхода жидкости из вентиля 10 указывает на недолив цистерн. Из переполненных цистерн часть продукта должна быть слита, при этом, контролируя уровень налива, вентиль 9 следует держать открытым около 30 секунд во избежание получения искаженных показаний. В этом случае жидкость, задержавшаяся в трубке от предыдущего измерения, будет полностью удалена.

В случае обнаружения недолива цистерны, завод-поставщик обязан наполнить цистерну до уровня верхнего налива - вентиль 10.

Максимальная степень наполнения цистерн сжиженными газами не должна превышать 85% объема сосуда цистерны.

Заключительные операции после налива

После налива цистерны необходимо:

· заглушить 13, 14, 15 угловые вентили 16, 17, 18;

· заглушить 5, 6, 7, 8 контрольные вентили 9,10,11,12;

· закрыть колпаки сливо-наливной арматуры 4 и опломбировать;

· отсоединить заземляющие провода от цистерн 2;

· растормозить вагон, поворачивая в левую сторону маховиком ручного тормоза 1 и присоединить их к составу поезда;

· снять индивидуальное защитное приспособление.

1.8.3 Слив вагонов-цистерн

Общие положения

Ответственность за сохранность вагонов-цистерн во время пребывания под сливом возлагается на грузополучателя, который обязан следить за своевременным поступлением цистерн, и в случае неприбытия их в установленный срок должен потребовать от станции назначения принять меры к их розыску.

Грузополучатель, получив от железной дороги уведомление о прибытии на станцию назначения вагонов со сжиженными газами, обязан до их приема проверить:

-   соответствие фактического номера вагона номеру, указанному в накладной и паспорте;

-  отсутствие повреждений цистерны (вмятины, трещины), а в случае их обнаружения потребовать от железной дороги технический акт по форме ВУ- 25 или ВУ-25а;

- наличие пломбы на предохранительном колпаке цистерны.

Приняв цистерны, грузополучатель проверяет:

· снимая пломбы и открывая колпаки арматуры 4 открывает вентили контроля уровня верхнего налива 10 и проверяет соответствие количества налитого в цистерну газа, указанному в накладной и паспорте;

· исправность сливоналивной и контрольной арматуры: при выявлении неисправности арматуры грузополучатель по возможности устраняет ее и делает запись в накладной графе «Особые заявления и отметки отправителя» о характере неисправности и принятых мерах.

Решение о возможности слива цистерны с повреждениями и неисправной сливо-наливной арматурой принимает грузополучатель.

Подготовительные операции перед сливом Перед сливом необходимо:

- проверить и надеть индивидуальное защитное приспособление;

- состав вагонов-цистерн, которые должны быть опорожнены подкатить на разгрузочный путь и затормозить, поворачивая в правую сторону маховиком ручного тормоза 1 и установить башмаки;

-  присоединить заземляющий провод непосредственно к цистерне 2;

· войти на верхние площадки 3, открыть колпаки сливо-наливной арматуры 4;

· снять заглушки с контрольных 9, 10, 11, 12 и угловых 16, 17, 18 вентилей.

Слив

1.      Присоединить наконечники трубопроводов выравнивания давления к угловым вентилям газовой фазы 18.

2.      Присоединить наконечники опоражнивающих проводов к угловым вентилям жидкой фазы 16,17.

.        Открыть угловые вентили газовой фазы 18 с целью выравнивания давления между газовым пространством цистерн и емкостью погрузочной станции.

4.  Открыть угловые вентили жидкой фазы 16,17.

5.  Включить перекачивающие насосы.

6.  Постоянно контролировать степень опорожнения цистерн.

7.  Цистерна считается слитой в случае, когда после открытия контрольного вентиля 11 у выходного отверстия появится паровая фаза.

С момента появления газа в контрольном вентиле 11 остановить перекачивающие насосы. Перекрыть контрольный вентиль 11.

8.      Перекрыть угловые вентили жидкой фазы 16,17.

9.   Откачать из цистерны через угловой вентиль 18 паровую фазу до избыточного давления 0,7кг/см2.

10. Перекрыть угловой вентиль газовой фазы 18.

11.    Отсоединить наконечники паропроводов выравнивания давления от угловых вентилей газовой фазы 18, а также наконечники наполняющих паропроводов от угловых вентилей жидкой фазы 16,17.

После слива цистерны необходимо:

· вкрутить заглушки к угловым 16, 17, 18 и контрольным 9, 10, 11, 12 вентилям;

· войти на верхнюю площадку 3, закрыть предохранительный колпак сливо-наливной арматуры 4 и опломбировать его;

· отсоединить заземляющие провода от цистерны 2;

- растормозить вагоны, поворачивая в левую сторону маховиком ручного тормоза 1 и присоединить их к составу поезда;

- снять индивидуальное защитное приспособление.

2. Выбор оптимальных параметров цистерны

Линейные размеры вагона и габариты подвижного состава, требованиям которых должен удовлетворять каждый вагон, вновь проектируемый и находящийся в эксплуатации, взаимосвязаны между собой. Габариты накладывают ограничения на линейные размеры вагона, от которых зависит его производительность. Длина и ширина кузова вагона по раме, обычно обозначаемые как 2L и 2В (принятые обозначения отражают симметрию кузова большинства вагонов относительно средних поперечных и продольных вертикальных плоскостей), а также высота Н. Они выбираются с учётом требований, заданных габаритом, с ним связано и масса груза в грузовом вагоне. От длины, ширины и высоты зависит такой важный абсолютный показатель вагона, как его собственная масса, т.е. тара вагона (её обозначают буквой Т).

На выбор ширины вагона большое внимание оказывает постоянно используемый в различных расчётах четвёртый линейный размер, который называется базой вагона. Его обозначают как 21. Этим размером определяется расстояние между осями опор кузова на ходовые части (между центрами пятников - при опирании на пятник или центральные скользуны - при опорах на скользуны).

Рассмотрим схему вагона, приведённую ниже:

Рис. 2.1 Основные линейные размеры вагона

На этой схеме, помимо названных размеров, обозначено несколько других, взаимосвязей с ними. Это  - длина вагона по осям сцепления сцепных устройств (обычно автосцепок);  - вылет автосцепки (расстояние от оси сцепления до наружной стенки концевой балки рамы кузова вагона).  - длина консоли (расстояние от центральной оси опоры кузова на ходовые части до наружной стенки концевой балки рамы кузова),  - база тележки (расстояние между центрами колёсных пар у двухосной тележки).

Вылет автосцепки  относится к важным размерам конструкции. Его величина должна быть такой, чтобы при переходе кривых участков пути не возникло касание торцевых элементов кузова или длинномерных грузов, находящихся в кузовах отдельных конструкций вагонов. Этот размер должен обеспечивать возможность безопасной работы составителей поездов, осмотрщиков вагонов и др. Однако, чрезмерно большой вылет связан с образованием больших межвагонных промежутков, что ухудшает условия полезного использования длины станционных путей и длины поезда, ухудшаются условия нагруженности самого узла и вагона. Обычно вылет автосцепки составляет 0,565м.

Выбор длины консоли  также обусловлен некоторыми достаточно существенными ограничениями.

Длинная консольная часть, выходящая за пределы оси наружной колёсной пары, создаёт удобство для доступа к поглощающим устройствам автосцепного оборудования. В то же время ухудшаются условия прохода вагоном кривых малого радиуса, горбов сортировочных горок и аппарелей паромных переправ, а также условия автоматической сцепляемости подвижного состава, увеличиваются выносы в кривых, из-за чего могут потребоваться уменьшение ширины кузова и дополнительные устройства, обеспечивающие сцепляемость.

Для четырёхосного грузового вагона наименьшая длина консоли составляет примерно  м. При такой длине обеспечивается более или менее удобный доступ к поглощающему аппарату.

База вагона, как и все другие размеры, также относится к числу важных линейных размеров. Минимальная длина база зависит от выбора типа тележек и ориентировочно, для первоначальной оценки качества 4-х осной конструкции, её можно принять равной

 (2.1)

Размер 1,5м исключает соприкосновение гребней колёс внутренних колёсных пар смежных тележек вагонов и обеспечивает минимальное условия для доступа к подвагонному оборудованию. База вагона связана не только с линейными размерами, влияющими на экономическую эффективность вагонов, но и с параметрами, определяющими безопасность движения - устойчивостью от выжимания вагона в поезде, устойчивостью от опрокидывания, показателями ходовых качеств конструкции.

При выборе линейных размеров вагона исходят из того, какую работу будет выполнять эта конструкция. Работа грузового вагона определяется тем, какие грузы в нём будут перевозиться (каждому грузу ниже присваивается номер ), вероятное расстояние  их перевозки, долю каждого груза  в общем объёме работы вагона. Эти величины устанавливаются на основе изучения статистики и прогнозных оценок перевозочного процесса на ж.д. транспорте.

Для последующих расчётов надо иметь такую характеристику i-го груза, как его удельный объём , м3/тс. Зная удельный объём  , при заданном объёме кузова  определяют массу i-го, которую можно разместить в объёме кузова :

.

Для последующих расчётов примем следующие значения, приведённые в таблице 2.1.

Таблица 2.1 Номенклатура грузов

Грузы

Доля в грузообороте Удельный объём груза , м3/тДальность перевозок , кмКоэф-т использования Грузоподъёмности




Пропан

0,62

1,96

1450

0,85

Бутан

0,28

1,66

1450

0,85

Углевод. газы

0,1

1,6

1830

0,85


Производительность универсального грузового вагона для перевозки  грузов на расстояние  при долях каждого груза  также определяется линейными размерами конструкции, но при выборе этих размеров большое влияние, помимо габаритов, оказывают такие ограничения, как допустимый уровень осевой нагрузки  т/ось (нагрузка на одну ось) и погонной нагрузки  т/м (нагрузка от вагона на один погонный метр пути). Число осей проектируемого вагона  оси.

Рассчитаем линейные размеры проектируемого вагона.

Минимально допустимая длина вагона по осям сцепления, м

, (2.2)

где    - норма осевой нагрузки,  т/ось;

 - число осей,  оси;

 - норма погонной нагрузки,  т/м.

 м.

Длина кузова вагона по раме, м

, (2.3)

где    - длина вылета двух автосцепок,  м.

 м.

База вагона, м

, (2.4)

 м.

Длина консольной части вагона, м

, (2.5)

 м.

Тара вагона, т

Поскольку у вновь проектируемых вагонов обычно применяются типовые ходовые части и ударно-тяговые приборы, а также элементы типового тормозного оборудования, приближённо массу тары новой конструкции оценивают так

, (2.6)

где    - постоянная масса тары вагона, т:

где    - масса тележки 18-100 вагона, =4,5 т;

 - масса автосцепного оборудования вагона, =1,3 т;

 - масса тормозного оборудования вагона, =0,3 т.

 т,

 - изменяемая масса тары вагона, т:

, (2.8)

где    - площадь кольца торцевой стороны кузова вагона, см:

, (2.9)

где    - площадь наружного круга,  м;

 - площадь внутреннего круга,  м.

 см,

 - площадь швеллера номер 31,  = 78,38 , см2;

 - плотность материала, , кг/см3.

 т,

 т.

Грузоподъёмность вагона, т

, (2.10)

 т.

Объём котла цистерны, м3

.        Вписывание проектируемого вагона в заданный габарит.

Обычно при вписывании вагона в габарит ограничение полуширины по длине определяют для трёх основных сечений:

 - напрвляющего;

 - внутреннего (среднего);

 - наружного по концевой части балки или цилиндрической части котла.

Определение ограничений полуширины осуществляется по формулам:

,

, (2.11)

,

где    - наибольшая ширина колеи в рассматриваемых условиях (в кривой радиусом R=250м), мм;

 - наименьшее расстояние между наружными гранями предельно изношенных гребней колёс, мм;

 - максимальный разбег изношенной колесной пары между рельсами (смещение из центрального положения в одну сторону), мм;

 - наибольшее возможное поперечное перемещение в направляющем сечении их центрального положения в одну сторону рамы тележки относительно колёсной пары вследствие зазоров при максимальных износов в буксовом узле;

 - наибольшее возможное поперечное перемещение в направляющем сечении из центрального положения в одну сторону кузова относительно рамы тележки вследствие зазоров при максимальных износах и упругих колебаний в узле сочленения кузова и рамы тележки, например, смещение надрессорной балки двухосной тележки, возникающие вследствие поперечной упругости пружин центрального рессорного подвешивания или перемещений люльки, а также зазоров и износов в сочленениях пятников и подпятников;

 - коэффициент, учитывающий возможность выхода подвижного состава за габарит, принимаем из таблицы 2.2;

 - величина дополнительного поперечного смещения в кривой расчётного радиуса тележечного вагона;

, (2.12)

где    R - расчетный радиус кривой, R=250 м;

 - полубаза тележки модели 18-100,  м.

.

 - коэффициент, зависящий от расчётного радиуса (R=250 м - для габаритов 0-ВМ, 02-ВМ, 03-ВМ и нижней части 1-ВМ);

, (2.13)

.

 - величина геометрического смещения расчётного вагона в кривой R=250 м. Принимаем из таблицы 2.2;

 - расстояние от рассматриваемого поперечного сечения вагона до его ближайшего направляющего сечения, м. Принимаем  м - для  и  м - для .

Таблица 2.2 Числовые значения коэффициентов, мм

Габариты

Т, 1-Т, ТЦ, ТПР

1-ВМ

0-ВМ, 02-ВМ, 03-ВМ

Коэф-ы


верхний

нижний

верхний

нижний

262627,527,527,5






2,52,5222






180180000






00257525







Подставим числовые значения в формулы для определения , , и . Последние три члена в этих формулах, заключённые в квадратные скобки, если их сумма < 0, то она не учитывается. Если < 0, то принимаем .

 мм,

 мм,

 мм.

.        Максимальная ширина строительного очертания кузова.

Максимальная допускаемая ширина строительного очертания кузова вагона на некоторой высоте Н над уровнем верха головок рельсов определяется по выражению:

, (2.14)

где    - полуширина габарита 02-ВМ,  мм (Рис. 2.2);

 - максимальное ограничение полуширины кузова вагона для одного из рассматриваемых сечений,  мм.

 мм.

Рис. 2.2 Габарит подвижного состава 02-ВМ.

3.      Внутренний диаметр котла цистерны, мм

, (2.15)

где    - толщина стен котла,  м;

 - расстояние для лестницы с одной стороны котла,  м.

 мм.

Округляем величину внутреннего диаметра котла цистерны до типового размерного ряда внутреннего диаметра котлов в меньшую сторону и принимаем: , мм.

4.      Длина цилиндрической части котла, м

, (2.16)

где    - высота днища, м

, (2.17)

 м,

 м.

.        Объём котла цистерны, м3

, (2.18)

 м3.

Статическая нагрузка перевозимых грузов определяет количество груза, которое загружается в вагон, т

, (2.19)

где    - коэффициент использования грузоподъёмности для пропана, .

 т.

Для грузов, у которых использование грузоподъёмности вагона определяется величиной объёма кузова (например, объёмом котла цистерны) статическую нагрузку можно вычислять по формуле

, (2.20)

где    - удельный объём пропана, м3/т.

 т,

 т,

 т.

Среднестатическая нагрузка, т

Среднестатическая нагрузка характеризует среднюю, по отношению ко всем видам груза, предназначенных к перевозке в вагоне, массу груза, которую можно разместить в кузове при выбранных линейных размерах его (т.е. при определённом объёме V или площади пола F).

, (2.21)

где    - доля перевозки пропана бутана и углеводородных газов в грузообороте.

 т.

Среднединамическая нагрузка, т

Среднединамическая нагрузка полнее отражает работу вагона, поскольку учитывается дальность  перевозок i-го груза. В частности, через этот показатель можно определить энергетические затраты на перевозки в вагонах с выбранными линейными размерами.

, (2.22)

где    - дальность перевозки пропана бутана и углеводородных газов, км.

 т.

Снижение тары вагонов является одной из главных задач вагоностроительной промышленности. Снижение тары обеспечивает возрастание провозной способности железных дорог, экономию металла, идущего на постройку вагонов и локомотивов, экономию электроэнергии и топлива, ускорение и снижение себестоимости перевозок, сокращение капиталовложений. Эффективность снижения тары грузового вагона оценивается коэффициентами тары: техническим, погрузочным и эксплуатационный (рассматриваться не будет).

Технический коэффициент тары представляет собой отношение тары вагона к его грузоподъёмности

, (2.23)

.

Погрузочный коэффициент тары

Характеризует количество тонн тары, приходящейся на одну тону перевозимого в вагоне груза с учётом видов и дальности перевозки.

, (2.24)

.

Средняя погонная нагрузка нетто

Она служит критерием для оптимизации линейных размеров, в некоторой степени, интегрально оценивает качество вагона.

, (2.25)

.

Продолжим расчёты и начнём второй шаг, изменяя длину вагона за счёт увеличения на некоторую величину его базы. Последующие вычислительные операции второго шага полностью повторяют расчёты, которые производились на первом шаге.

Последующие расчёты сведены в таблицу 2.3.

Таблица 2.3 Результаты расчётов параметров

2Lсц

2L

2l

Т

ЕВ

ЕН

V

11,2

9.98

7.06

1,46

28,56

10,11

30,92

3,09

3,04

8,48

67.01

11,4

10.18

7.19

1,49

28,92

11,12

31,93

3,09

3,04

8,68

68.42

11,6

10.38

7.34

1,52

29,28

12,15

32,96

3,08

3,04

8,88

69.84

11,8

10.58

7.48

1,55

29,64

13,20

34,00

3,08

3,03

9,08

71.25

12,0

10.78

7.62

1,58

30,00

14,26

35,07

3,08

3,03

9,28

72.67

12,2

10.98

7.76

1,61

30,36

15,35

36,16

3,08

3,03

9,48

74.08

12,4

11.18

7.91

1,64

30,72

16,46

37,27

3,08

3,03

9,68

75.49

12,6

11.38

8.05

1,67

31,08

17,59

38,39

3,07

3,03

9,88

76.91

12,8

11.58

8.19

1,69

31,44

18,74

39,54

3,07

3,02

10,08

78.32

13,0

11.78

8.33

1,73

31,80

19,90

40,71

3,07

3,02

10,28

79.73

13,2

11.98

8.47

1,75

32,16

21,09

41,90

3,07

3,02

10,48

81.15

13,4

12.18

8.61

1,78

32,52

22,29

43,12

3,06

3,02

10,68

82.56

13,6

12.38

8.75

1,81

32,88

23,53

44,34

3,06

3,01

10,88

83.97

13,8

12.58

8.89

1,84

33,24

24,78

45,58

3,06

3,01

11,08

85.39

14,0

12.78

9.04

1,87

33,60

26,04

46,85

3,06

3,01

11,28

86.80

14,2

12.98

9.18

1,90

33,96

27,33

48,14

3,05

3,01

11,48

88.21

14,4

13.18

9.32

1,93

34,32

28,63

49,45

3,05

3,00

11,68

89.63

14,6

13.38

9.46

1,96

34,68

29,97

50,78

3,05

3,00

11,88

91.04

14,8

13.58

9.60

1,99

35,04

31,32

52,12

3,05

2,99

12,08

92.46

15,0

13.78

9.74

2,02

35,40

32,68

53,49

3,04

2,99

12,28


Строим диаграмму, с помощью которой определяем оптимальную длину вагона по осям сцепления по максимальной величине средней погонной нагрузке нетто.


Расчёт оптимальных параметров пропановой цистерны по максимуму средней погонной нагрузки нетто для оптимальной величины длины вагона по осям сцепления  м

Длина кузова вагона по раме, м

, (2.26)

где    - длина вылета двух автосцепок,  м.

 м.

База вагона, м

, (2.27)

 м.

Длина консольной части вагона, м

, (2.28)

 м.

Тара вагона, т

, (2.29)

где    - постоянная масса тары вагона, т

, (2.30)

где    - масса тележки 18-100 вагона, =4,5 т;

 - масса автосцепного оборудования вагона, =1,3 т;

 - масса тормозного оборудования вагона, =0,3 т.

 т,

 - изменяемая масса тары вагона, т

, (2.31)

где    - площадь кольца торцевой стороны кузова вагона, см

, (2.32)

где    - площадь наружного круга, м

 - площадь внутреннего круга, м

 см,

 - площадь швеллера номер 31,  = 78,38 , см2;

 - плотность материала, , кг/см3.

 т,

 т.

Грузоподъёмность вагона, т

, (2.33)

 т.

Объём котла цистерны, м3

1.      Вписывание проектируемого вагона в заданный габарит.

Обычно при вписывании вагона в габарит ограничение полуширины по длине определяют для трёх основных сечений:

 - напрвляющего;

 - внутреннего (среднего);

 - наружного по концевой части балки или цилиндрической части котла.

Определение ограничений полуширины осуществляется по формулам:

,

, (2.34)

,

где    - наибольшая ширина колеи в рассматриваемых условиях (в кривой радиусом R=250м), мм;

 - наименьшее расстояние между наружными гранями предельно изношенных гребней колёс, мм;

 - максимальный разбег изношенной колесной пары между рельсами (смещение из центрального положения в одну сторону), мм;

 - наибольшее возможное поперечное перемещение в направляющем сечении их центрального положения в одну сторону рамы тележки относительно колёсной пары вследствие зазоров при максимальных износов в буксовом узле;

 - наибольшее возможное поперечное перемещение в направляющем сечении из центрального положения в одну сторону кузова относительно рамы тележки вследствие зазоров при максимальных износах и упругих колебаний в узле сочленения кузова и рамы тележки, например, смещение надрессорной балки двухосной тележки, возникающие вследствие поперечной упругости пружин центрального рессорного подвешивания или перемещений люльки, а также зазоров и износов в сочленениях пятников и подпятников;

 - коэффициент, учитывающий возможность выхода подвижного состава за габарит, принимаем из таблицы 2.2;

 - величина дополнительного поперечного смещения в кривой расчётного радиуса тележечного вагона;

, (2.35)

где    R - расчетный радиус кривой, R=250 м;

 - полубаза тележки модели 18-100,  м.

.

 - коэффициент, зависящий от расчётного радиуса (R=250 м - для габаритов 0-ВМ, 02-ВМ, 03-ВМ и нижней части 1-ВМ);

, (2.36)

.

 - величина геометрического смещения расчётного вагона в кривой R=250 м. Принимаем из таблицы 2.2;

 - расстояние от рассматриваемого поперечного сечения вагона до его ближайшего направляющего сечения, м. Принимаем  м - для  и  м - для .

Подставим числовые значения в формулы для определения , , и . Последние три члена в этих формулах, заключённые в квадратные скобки, если их сумма < 0, то она не учитывается. Если < 0, то принимаем .

 мм,

 мм,

2.      Максимальная ширина кузова, мм

Максимальная допускаемая ширина строительного очертания кузова вагона на некоторой высоте Н над уровнем верха головок рельсов определяется по выражению:

, (2.37)

где    - полуширина габарита 02-ВМ,  мм (Рис. 2.2);

 - максимальное ограничение полуширины кузова вагона для одного из рассматриваемых сечений,  мм.

 мм.

На рисунке 2.3 представлена схема определения строительного очертания вагона по вписыванию его в габарит 02 - ВМ.

Рис. 2.3 Схема определения строительного очертания вагона по результатам вписывания его в габарит 02 - ВМ.

.        Внутренний диаметр котла цистерны, мм

, (2.38)

где    - толщина стен котла, м;

 - расстояние для лестницы с одной стороны котла, м.

 мм.

Округляем величину внутреннего диаметра котла цистерны до типового размерного ряда внутреннего диаметра котлов в меньшую сторону и принимаем  мм.

4.      Длина цилиндрической части котла, м

, (2.39)

где    - высота днища, м.

, (2.40)

 м

 м

.        Объём котла цистерны, м3

, (2.41)

 м3.

Статическая нагрузка перевозимых грузов, т

, (2.42)

где    - коэффициент использования грузоподъёмности для пропана, .

 т.

Для грузов, у которых использование грузоподъёмности вагона определяется величиной объёма кузова (например, объёмом котла цистерны) статическую нагрузку можно вычислять по формуле

, (2.43)

где    - удельный объём пропана, м3

 т,

 т,

 т.

Среднестатическая нагрузка, т

, (2.44)

где    - доля перевозки пропана бутана и углеводородных газов в грузообороте.

 т.

Среднединамическая нагрузка, т

, (2.45)

где    - дальность перевозки пропана бутана и углеводородных газов, км.

 т.

Технический коэффициент тары

, (2.46)

.

Погрузочный коэффициент тары

, (2.47)

.

Средняя погонная нагрузка нетто

, (2.48)

.

3. Краткое описание общего устройства спроектированной цистерны

Цистерна предназначена для общесетевой перевозки энергетических сжиженных углеводородных газов (пропан, бутан и их смеси для коммунально-бытового потребления по стандартам или техническим условиям заводов-изготовителей газовой продукции) и легкого углеводородного сырья для химии и нефтехимии групп СЗ-С6 и их фракций с плотностью 0,5-0,7т/м3 по магистральным железным дорогам колеи 1520мм Российской Федерации, по всем железным дорогам стран-участниц ОСЖД, а также железным дорогам Германии, Австрии, Югославии, Греции, Дании, Турции и некоторых других стран Европы и Азии.

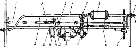
Рис. 3.1 Общий вид вагона

У рамной конструкции котел устанавливается на платформу, включающую раму, тормозное, автосцепное оборудование и ходовую часть.

У четырехосной цистерны с расстоянием между осями сцепления автосцепок 12020мм и базой 7800мм котел устанавливается на типовую платформу (рисунок 3.2), которая состоит из рамы сварной конструкции, автоматического и стояночного тормозов, автоматических ударно-тяговых приборов и ходовой части. Детали и узлы платформы выполняются из низколегированных и литейных сталей повышенного качества.

Рис. 3.2 Типовая платформа для четырёхосных цистерн

Параметры платформ, соответствуют требованиям, предъявляемым к подвижному составу, обращающемуся по всей сети железных дорог РФ.

Грузоподъемность, т 54,4

Масса тары, т 33,6

Габарит цистерны 02-ВМ

База, мм 9040

Высота оси автосцепки, мм 1040-1080

Сцепное устройство автосцепки

Тип тормоза автотормоз

Длина по осям сцепления автосцепок, мм 14000

Ширина колеи, мм 1520

Диаметр котла внутренний, мм 3042

Конструкционная скорость, км/ч 120

Рабочее давление в котле, кг/см2

Рама платформы служит для восприятия тяговых усилий, ударов в автосцепку, а также инерционных сил котла, возникающих при изменении скорости движения. Она представляет собой сварную конструкцию, состоящую из двух шкворневых и хребтовой балок. Крепится котел к раме посредством лапы и хомутов, а укладывается на опоры, располагаемые на шкворневых балках (рис. 3.3).

Рис. 3.3 Конструкция платформы

Рама представляет собой сварную конструкцию, выполненную из продольных и поперечных балок, изготовленных из стальных прокатных профилей. Она состоит из хребтовой, двух шкворневых и двух концевых балок, соединенных со шкворневыми балками короткими боковыми балками. Хребтовая балка сварена из двух швеллеров № 30, перекрытых накладками (сверху сечением 480 X 8мм, а снизу 490 X 6мм). На хребтовой балке имеются кронштейны для подвески тормозного оборудования, планки для крепления котла в средней части, задние и передние упоры автосцепки с розетками и надпятниковыми коробками.

Каждая шкворневая балка коробчатого сечения переменной высоты сварена из двух вертикальных листов толщиной 10мм и двух горизонтальных листов толщиной 8мм. На шкворневой балке смонтированы пятник, скользуны и планки для установки домкратов при подъеме вагонов. На верхнем листе шкворневой балки есть штампованные из листа стали диафрагмы - опоры с поверхностями радиальной формы. На каждой такой опоре укреплены желоба, в которые установлены и прикреплены болтами деревянные бруски. Такие бруски есть также над хребтовой балкой. Они радиальной формы и повторяют очертание поперечного сечения котла цистерны. Радиальная поверхность опор должна соответствовать наружному радиусу нижнего листа котла. В верхнем и нижнем листах шкворневых балок есть отверстия для болтов стяжных хомутов, которые крепят котел. Рама оборудуется экранами для зашиты днищ котла от пробоин при аварии. Концевые и короткие боковые балки изготовляют из штамповок Г - образной формы толщиной 6мм. На концевой балке укреплены кронштейны для установки сигнального фонаря, расцепного рычага автосцепки, поручня сцепщика и т. д. эксплуатация вагон цистерна ремонт

Котел цистерны для углеводородных газов рассчитан на рабочее давление 2,0 МПа и имеет толщину стенки цилиндрической части 24 мм и днищ 24 мм. Люк диаметром 450мм располагается в средней части котла. Люк-лаз котла закрывается крышкой с помощью болтов. Сливо-наливная, контрольно-измерительная арматура и предохранительный клапан размещаются на крышке люка и закрыты защитным колпаком. Сливо-наливная арматура включает три вентиля с проходным сечением Dy32-Dy40 -два жидкостных и один газовый. Контрольно-измерительная арматура включает два вентиля контроля предварительного и предельного уровня наполнения, вентиль контроля слива, вентиль для зачистки остатков продукта. Котел цистерны оборудован наружными стационарными лестницами, помостом и ограждениями, обеспечивающими безопасный доступ к оборудованию, расположенному наверху котла, приспособлением для присоединения заземления, а также дугами для защиты сливо-наливной и предохранительной арматуры.

Сливо-наливное устройство цистерны для сжиженных газов (рис. 3.4) включает два жидкостных 1 и один газовый 2 (уравнительный) вентиля с условным проходом Dy40 (Dy38, Dy32), к которым присоединены скоростные клапаны 3. К жидкостным вентилям присоединены сливо-наливные трубы 4, концы которых закреплены в воронке 5 и доходят до поддона 6.

 

Рис. 3.4 Сливо-наливное устройство Рис. 3.5 Скоростной клапан

Скоростной клапан (рис. 3.5) предназначен для автоматического перекрытия сливо-наливных и уравнительного вентилей в случае разрыва внешних сливо-наливных и уравнительных шлангов. Клапан состоит из двух муфт 1, 5, трубы корпуса 2, кольца 4, прокладки 3 и ползуна 6. Ползун обеспечивает автоматическое перекрытие выходного отверстия клапана при достижении критической скорости истечения жидкости и удерживается в верхнем положении за счет внутреннего давления в цистерне.

Контрольно-измерительное устройство (рис. 3.6) включает вентили контроля слива 1, контроля предварительного уровня налива 2, предельного уровня налива 3, дренажа (зачистки) 5 и манометродержатель 4. На вентилях контроля уровня и слива установлены трубки соответствующей длины. Маховики вентилей окрашены в разные цвета: предварительного уровня наполнения - в зеленый, предельного - в красный.

Рис. 3.6 Контрольно-измерительное устройство

Рис. 3.7 Предохранительный клапан

Пружинный предохранительный клапан (рис. 3.7) состоит из корпуса-втулки 1 с присоединительным фланцем, втулки 2, с конусным седлом клапана, запрессованном в корпус, тарельчатого клапана 6, на котором укреплена крышка 4 с резиновой прокладкой 5, обеспечивающей полную герметичность сопряжения конусных поверхностей седла и тарели. Опирание тарели клапана на седло обеспечивает разгрузку от действия запирающей пружины 7 резиновой прокладки и увеличивает срок её службы. Крышка 4 крепится специальной гайкой 3, регулирующей прижатие резиновой прокладки к наружной плоскости тарели клапана. Давление срабатывания (открытия) клапана определяется усилием начальной затяжки пружины 7 и регулируется гайками 9, на которые усилие пружины передается через опорную втулку 8 и сферическую шайбу 10.

У цистерн рамной конструкции для предотвращения смещения котла из-за продольных усилий (рис. 3.8) он крепится к раме в средней части специальными болтами 4, запрессованными в лапы рамы и лапы котла 3. Крепление концевых частей котла, лежащих на деревянных брусках 2, прикрепленных к желобам опор шкворневых балок рамы, осуществляется двумя хомутами 1 с тарельчатыми пружинами.

Рис. 3.8 Крепление котла на раме

Внутри хребтовой балки установлены передний и задний упоры, между которыми монтируются авто сцепные устройства.

На кронштейнах рамы установлено тормозное оборудование цистерны (рис. 3.9), состоящее из тормозного цилиндра 12 № 188 Б или воздухораспределителя 11 № 483М, запасного резервуара 6 Р7-78, автоматического регулятора рычажной передачи 2 усл. № 574Б, рычагов 3, тяг 1, 10, воздухопровода 4, разобщительного крана 5, авторежима 9 модели 265А-1. На раме крепят также поддерживающие 16 и предохранительные скобы 17. Главный воздухопровод оборудован концевыми кранами 7 и соединительными рукавами 8 типа Р17Б. Для регулировки рычажно-тормозной передачи служит рычажный привод бескулисного авторегулятора, включающий в себя рычаг-упор 14, регулирующий винт 15, распорку 13. Отрегулированная рычажно-тормозная передача обеспечивает зазор между тормозной колодкой и колесом в пределах 5-8 мм в расторможенном состоянии и выход штока тормозного цилиндра в пределах 50-125 мм в заторможенном состоянии.

Рис. 3.9 Схема тормозного оборудования

На платформе установлен стояночный тормоз, предназначенный для затормаживания цистерны на погрузочно-разгрузочных пунктах. Он состоит (рис. ЗЛО) из тяги 5, соединенной с горизонтальными рычагами автотормоза, червячного сектора 4, червячного вала 2 со штурвалом 1 и ручки-фиксатора 3. Стояночный тормоз приводится в рабочее (левое) и нерабочее (правое) положения перемещением червячного вала 2 со штурвалом 1. Фиксирует червячный вал 2 в рабочем или нерабочем положении ручка фиксатора 3, цистерна затормаживается поворотом штурвала 1 по часовой стрелке. Для растормаживания ее ручку-фиксатор необходимо повернуть на 90° в горизонтальное положение. При этом под воздействием возвратной пружины штока тормозного цилиндра червячный вал со штурвалом отбрасывается в нерабочее положение (вправо).

Рис 3.10 Стояночный тормоз

Ходовая часть цистерны состоит из двух двухосных тележек модели 18-578 УВЗ.

Тележка модели 18-578 УВЗ (рис.3.11), рассчитанная на конструкционную скорость движения 120км/ч, состоит из двух колёсных пар 1 с четырьмя буксовыми узлами 4, двух литых рам 2, надрессорной балки 3, двух комплектов центрального подвешивания 5 с фрикционными гасителями колебаний и тормозной рычажной передачи. '

Одной из конструктивных особенностей тележки 18-578 УВЗ является использование более совершенной схемы опирания кузова - часть нагрузки передается на подпятник, а часть - через скользуны.

Применяются различные виды скользунов: а) роликовый - уменьшается износ гребней колес и рельсов при вписывании вагона в кривые, б) упругий и в) упруго-роликовый - снижается износ элементов тележки и значительно повышается критическая скорость по вилянию. В подпятнике надрессорной балки имеется съемная износостойкая прокладка и приварные износостойкие полукольца 2. Рессорное подвешивание 3 повышенной гибкости и имеет билинейную характеристику. Это улучшает ходовые качества вагона и уменьшает воздействие на путь.

В конструкции тележки 18-578 УВЗ применяются приварные износостойкие планки на наклонных поверхностях надрессорной балки и промежуточной контактной планки из износостойкого материала установленной между вертикальной поверхностью фрикционного клина и фрикционной планкой 4. Применяются фрикционные клинья различной конструкции: а) из марганцовистой стали 120Г10ФЛ повышенной износостойкости с полиуретановой накладкой, б) из марганцовистой стали 120Г10ФЛ повышенной износостойкости, в) из высокопрочного термоупрочненного чугуна ВЧ 120 с полиуретановой накладкой. Клинья с полиуретановыми накладками применяются с надрессорной балкой без приварных износостойких планок на наклонных поверхностях. Боковая рама тележки имеет коробчатое сечение концевых частей (рис. 3.13) б) со сменной износостойкой накладкой 5, что повышает надежность надбуксового проема. В буксовом узле применяются подшипники (рис. 3.12) а) кассетный подшипник с адаптером, б) с кассетный подшипник в корпусе буксы.

а) тележка модели 18-100 б) тележка модели 18-578 УВЗ

Рис. 3.13 Сечения по консольной части боковых рам

Ударно-тяговые приборы цистерны (рис. 3.14) включают в себя полужесткую автосцепку типа СА-ЗМ, поглощающий аппарат типа 73ZW, тяговый хомут, клин хомута, крепление тягового хомута, балочку центрирующую с двумя маятниками, расцепной рычаг, укрепленный на лобовом листе рамы с помощью кронштейна и державки расцепного рычага.

Корпус автосцепки усилен. В нижней части малого зуба расположено направляющее крыло 1 (рис. 3.14), увеличивающее зону улавливания в сторону малого зуба по горизонтали до 240мм. Крыло предназначено также для ограничения вертикального перемещения сцепленных автосцепок. На корпусе имеется центрирующий прибор 2 маятникового типа с упругой опорой для хвостовика, расцепной привод 3 жёсткого типа с пространственным шарниром, не требующий регулировки в эксплуатации. Торец хвостовика корпуса имеет плоскую форму, а упорная плита 4 выполнена с направляющими, служащими для предупреждения её перекоса при эксцентричном нагружении. Клин 5 тягового хомута имеет большую поверхность контакта с хвостовиком, что исключает смятие металла.

Поглощающий аппарат 73ZW (рис. 3.15) оборудован высокоэффективными эластомерными амортизаторами, установленными в мощном корпусе.

Рис. 3.15 Эластомерный поглощающий аппарат типа 73ZW

Аппарат состоит из корпуса 2 (рис. 3.15), упорной плиты с болтами 3, монтажных планок 4, и эластомерного амортизатора 1. Для предварительного поджатая аппарата с целью облегчения монтажа при постановке на вагон, между монтажными планками 4 и приливами корпуса закладываются дистанционные вкладыши 5, которые выпадают при первом сжатии аппарата в процессе маневровых работ. Эластомерный амортизатор 1 типа KZE-5-R2-1 представляет собой цилиндрический корпус из высокопрочной стали, заполненный высоковязким упруго сжимаемым рабочим материалом (эластомером) KAMAXIL. При сжатии амортизатора шток входит в корпус и сжимает эластомер, создавая высокое внутреннее давление. При ударном (динамическом) сжатии амортизатора поглощение энергии происходит за перетекания (дросселирования) рабочего материала через калиброванный зазор между корпусом амортизатора и поршнем, установленным на штоке.

4. Оценка эластомерного поглощающего аппарата

Эластомерные поглощающие аппараты в 2...3 раза превосходят серийные пружинно-фрикционные аппараты по энергоёмкости и обеспечивают благодаря этому лучшую защиту вагона и перевозимого груза от повреждающего воздействия продольных сил в поездном маневровом режиме эксплуатации. Кроме того, эти аппараты обладают высокой стабильностью силовой характеристики, надежностью, большим сроком службы. Имея достоинства, эластомерные аппараты, несмотря на высокую стоимость, перспективны для массового применения на грузовых вагонах и локомотивах.

Конструктивный ход, мм - 90 Динамическая емкость, кДж -130 Сила начальной затяжки, кН - 200

В связи с повышением требований безопасности, предъявляемых к вагонам для перевозки опасных грузов, МПС приняло решение о замене пружинно-фрикционных поглощающих аппаратов на современные эластомерные поглощающие аппараты с более высокой энергоёмкостью. На сегодняшний день МПС разрешает установку на вагоны трех моделей эластомерных поглощающих аппаратов: 73ZW, АПЭ-120-И и АПЭ-95-УВЗ

Конструктивный ход, мм - 90

Динамическая ёмкость, кДж - 130

Сила начальной затяжки, кН - 200

Статическая сила сопротивления, кН -1000

Номинальная скорость соударения вагонов, м/сек - 3

Диапазон рабочих температур - от -60 до +50

Установочные габариты - по ГОСТ 3475-81, Масса в сборе, кг - 214

Таблица 4.1 Эксплуатационные показатели эластомерных поглощающих аппаратов

Тип аппарата       Ход, мм Скорость соударения , км/чЭнергоёмкость

, кДжСостояние

разработки



 

73 ZW

90

13

130

Серийное производство с 1996г

АПЭ-120-И

120

13,5

157

Испытания

АПЭ-95-УВЗ

95

10

110

Испытания


Принцип действия эластомерного аппарата основан на свойстве объёмной сжимаемости эластомерного материала (эластомера) - композиции на основе высокомолекулярных элементоорганических каучуков. При сжатии аппарата подвижный шток вдавливается в рабочую камеру, заполненную эластомером. Объём рабочей камеры и заполняющего эластомера уменьшается, а давление внутри камеры и усилие сопротивления на штоке увеличиваются. Величины давления и усилия определяются объёмом рабочей камеры и относительным изменением этого объёма в результате перемещения штока и упругими характеристиками эластомера.

Рис. 4.2 Характеристики поглащающих аппаратов

На рис. 4.2 приведены характеристики поглощающих аппаратов. На группе графиков видно, что применение эластомерных поглощающих аппаратов на обоих сталкивающихся вагонах (голубая кривая) при скорости соударения около 9 км/час снижает силу удара вдвое, по сравнению (зеленая кривая) с фрикционными поглощающими аппаратами (1350 против 2900 kN). Что же касается чисто фрикционных пар, то кривая сил удара вообще уходит в запрещенное поле (кривая желтого цвета). Распределение скоростей соударения вагонов на сортировочных горках сети дорог и расчетно-эмпирическая функция распределения энергии соударения показывает, что применение эластомерных аппаратов позволяет снизить вероятность возникновения сверхнормативных сил, действующих на вагоны в эксплуатации на 85%. То есть, 85% всех сверхнормативных продольных сил, действующих в настоящее время на вагоны в эксплуатации и вызывающих повреждения элементов конструкции вагонов, будут снижены до уровня не превышающего нормативных сил, и, следовательно, не вызовут повреждений. Из этого можно сделать вывод, что число отцепок вагонов «по причине автосцепки» сократиться на 85%, а также уменьшится общая трудоемкость отцепочного ремонта в процессе эксплуатации цистерны.

Учитывая, что текущий отцепочный ремонт отражает общий механизм возникновения повреждений элементов конструкции вагонов в эксплуатации, можно считать, что снижение числа действующих на вагон сверхнормативных сил обеспечит сокращение объема работ и трудоемкости планового деповского ремонта вагонов на такую же величину, как и при текущем ремонте.

Таким образом, применение эластомерных поглощающих аппаратов на вагонах-цистернах обеспечит снижение частоты поступления вагонов в текущий отцепочный ремонт и сокращение объема и трудоемкости текущего отцепочного и планового деповского ремонта.

Помимо приведенной оценки снижения повреждаемости вагонов, необходимо иметь в виду, что применение эластомерных поглощающих аппаратов обеспечит значительное снижение степени повреждений при действии остальных 15% сверхнормативных сил, которые не будут снижены до уровня нормативных. Доля энергии удара, приходящаяся на повреждение конструкции, будет значительно снижена за счет увеличения количества энергии воспринятой поглощающим аппаратом, будет снижена тяжесть последствий воздействия сверхнормативных сил и их уровень, а также вероятность возникновения и тяжесть последствий чрезвычайных ситуаций, в том числе экологических.

Эксплуатационные испытания эластомерных поглощающих аппаратов на газовых цистернах, проводившиеся на сети дорог СНГ в течение двух лет, подтвердили высокую эксплуатационную надежность этих аппаратов. Цистерны с опытными аппаратами эксплуатировались в широком спектре климатических условий, в том числе, в зимнее время в зонах низких температур. За время испытаний не было ни единого случая отказа опытных аппаратов. Контрольные статические испытания показали, что аппараты сохранили свои характеристики.

Итак, по сравнению с фрикционно-пружинными и гидравлическими аппаратами, эластомерные поглощающие аппараты характеризуются следующими преимуществами:

         большая энергоемкость при низкой концевой силе, переносимой на конструкцию вагона, положительно влияет на живучесть конструкции и защиту перевозимого груза;

         большая стабильность характеристики в широком диапазоне рабочих температур с -60°С до +60°С;

         отсутствие заклинивания, характерного для пружинно-фрикционных аппаратов, а также запозданий в возвращении в исходное положение, после прекращения действия наружной силовой энергии (нагрузки) появляющейся в гидравлических аппаратах;

         лёгкий монтаж и демонтаж при использовании до сих пор применяемых приборов;

         лёгкая консервация и уход.

Проведенный комплекс испытаний эластомерных поглощающих аппаратов подтвердил высокие технические и эксплуатационные характеристики этих аппаратов и позволяет рекомендовать их для широкого применения на вагонах-цистернах с укороченной розеткой и, в первую очередь, на цистернах для перевозки опасных и экологически вредных грузов.

5. Расчёт котла цистерны от внутреннего давления

При расчёте котлов цистерн необходимо учитывать влияние внутреннего давления. Значение давления паров перевозимого продукта принимается в соответствии с техническими требованиями к цистерне. Кроме того, сила инерции жидкости, воздействующая на днище при переходных режимах, приводится к давлению, которое принято условно считать линейно убывающим от максимума на днище со стороны удара (или с противоположной - при рывке) до нуля у противоположного днища.

Максимум этого давления определяется по формуле

, (5.1)

где    ,  - соответственно масса жидкости и масса вагона;

 - продольная сила «удара-рывка», приложенная к автосцепке, или тормозная сила вагона.

В зонах оболочки, отстоящих на небольшом расстоянии от каких-либо зон, нарушающих регулярность в геометрии срединной поверхности (зоны краевого эффекта), внутреннее давление вызывает безмоментное напряжённое состояние, поэтому расчет производится по безмоментной теории. В основе формул лежит уравнение Лапласа.

Внутреннее давление в котле цистерны, предназначенной для перевозки пропана, бутана и углеводородных газов составляет р=20кг/см2.

Нормальные напряжения в цилиндрической оболочке котла цистерны

.        Продольные напряжения, кг/см2

, (5.2)

где    - радиус внутреннего диаметра котла цистерны,  см;

 - толщина оболочки котла цистерны,  см;

 - давление внутри котла цистерны,  кг/см2.

 кг/см2.

.        Окружные напряжения, кг/см2

, (5.3)

 кг/см2

Нормальные напряжения в эллиптическом днище котла цистерны

1.      Продольные напряжения, кг/см2

, (5.4)

где    - номер сечения, ;

 - коэффициент

, (5.5)

где    - малая полуось эллиптического днища (его высота)

, (5.6)

где    - внутренний диаметр котла цистерны,  см.

 см,

.

 - угол, отсчитываемый от центра эллиптического сечения в сторону стыка с цилиндрической частью котла;

, (5.7)

где         с интервалом 15 см;

,

,

,

,

,

.

 кг/см2,

 кг/см2,

 кг/см2,

 кг/см2

 , кг/см2,

 , кг/см2.

2.      Окружные напряжения, кг/см2

, (5.8)

 кг/см2,

 кг/см2,

 кг/см2,

 кг/см2,

 кг/см2,

 кг/см2.

Эквивалентные напряжения в цилиндрической оболочке котла цистерны кг/см2

 кг/см2, (5.9)

 кг/см2.

Эквивалентные напряжения в эллиптическом днище котла цистерны кг/см2

 кг/см2, (5.10)

 кг/см2,

 кг/см2,

 кг/см2,

 кг/см2,

 кг/см2,

 кг/см2.

Строим эпюры нормальных напряжений.

.        Эпюра продольных напряжений , кг/см2


2.      Эпюра окружных напряжений , кг/см2


3.      Эпюра эквивалентных напряжений , кг/см2


Проверяем устойчивость оболочки цистерны от вакуума.

В котлах цистерн может образовываться разряжение, и их оболочки оказываются под воздействием сжимающей нагрузки из-за внешнего избыточного давления. Такое нагружение способно вызвать потерю устойчивости цилиндрической части котла. Хлопок при потере устойчивости сопряжён с катастрофическими последствиями. Поэтому оболочки котлов должны обладать определённым запасом устойчивости.

Для расчёта устойчивости оболочки от вакуума используем формулу Папковича

, (5.11)

где    - критическое давление для цилиндрической оболочки, кг/см2;

 - модуль упругости второго рода,  кг/см2;

 - толщина оболочки котла цистерны, равная 2,4см;

 - длина цилиндрической части котла цистерны;

, (5.12)

 см,

 - средний радиус внутреннего диаметра котла, см.

 кг/см2.

Оболочка цистерны может потерять устойчивость, если её продольные напряжения

, (5.13)

.

Вывод: Так как , то оболочка цистерны устойчивость не потеряет.

6. Оценка соответствия ходовых качеств вагона требованиям «Норм»

6.1    Расчёт двухрядных витых пружин

Необходимая жёсткость двухрядной пружины:

, (6.1)

где    - масса тележки 18-100 вагона, =4500 кг;

 - тара вагона,  кг;

 - грузоподъёмность вагона,  кг;

 - масса надрессорной балки,  кг;

 - статический прогиб по «Нормам», для грузовой тележки модели 18-578 УВЗ  см;

 - количество двухрядных пружин под вагоном, .

 кг/см.

Максимальный прогиб:

, (6.2)

где    - коэффициент запаса прогиба, .

 см.

Наибольшая сила, действующая на двухрядную пружину:

, (6.3)

 кг.

Коэффициент, учитывающий кривизну витков:

, (6.4)

где    - индекс пружины, .

.

Расчёт двухрядной пружины приводят к расчёту эквивалентной однорядной.

- диаметр прутка эквивалентной однорядной пружины:

, (6.5)

где    - допускаемые касательные напряжения,  кг/см2.

 см.

средний диаметр эквивалентной однорядной пружины:

, (6.6)

 см.

число рабочих витков эквивалентной однорядной пружины:

, (6.7)

где    - модуль упругости второго рода,  кг/см2.

.

Расчёт наружной пружины.

- диаметр прутка наружной пружины:

, (6.8)

где    - зазор между витками внутренней и наружной пружинами,  см.

 см

Принимаем  см.

средний диаметр наружной пружины:


 см.

число рабочих витков наружной пружины:

, (6.10)

.

Принимаем .

высота наружной пружины:

, (6.11)

 см.

вертикальная жёсткость наружной пружины:

, (6.12)

 кг/см.

Расчёт внутренней пружины.

- диаметр прутка внутренней пружины:

, (6.13)

 см

Принимаем  см.

средний диаметр внутренней пружины:

, (6.14)

 см.

число рабочих витков внутренней пружины:

, (6.15)

Принимаем .

высота внутренней пружины:

, (6.16)

 см.

Для выравнивания высот пружин, под внутреннюю пружину необходимо подложить металлическую шайбу толщиной 1 см.

вертикальная жёсткость внутренней пружины:

, (6.17)

 кг/см.

суммарная вертикальная жёсткость рессорного комплекта вагона:

, (6.18)

 кг/см

Принимаем  Н/м.

Статический прогиб от вертикальной нагрузки.

, (6.19)

 см.

Расчёт горизонтальной жёсткости.

- жёсткость наружной пружины:

, (6.20)

где    - модуль упругости первого рода,  кг/см2;

 - коэффициент Пуассона, .

 кг/см.

жёсткость внутренней пружины:

, (6.21)

 кг/см.

суммарная горизонтальная жёсткость рессорного комплекта вагона

, (6.22)

 кг/см

Принимаем  Н/м.

6.2    Расчёт коэффициентов динамики, амплитуд колебаний и ускорений узлов вагона

Расчёт вертикальных колебаний

- частота вынужденных колебаний рессорного комплекта

, (6.23)

где    V - скорость движения цистерны,  м/с;

 - длина рельсового звена,  м.

 рад/с.

- вертикальная жёсткость рессорного комплекта (см. п. 1).

 кг/см  Н/м

- частота собственных колебаний рессорного комплекта

, (6.24)

где    - обрессоренная масса

, (6.25)

 кг,

 рад/с.

- значение коэффициента вязкого трения

, (6.26)

где    - коэффициент сухого трения между клином и фрикционной планкой в тележке, ;

 - ускорение свободного падения,  м/с;

 - амплитуда колебаний,  м.

 кг/с.

критическое значение коэффициента вязкого трения

, (6.27)

 кг/с.

- степень демпфирования

, (6.28)

.

- амплитуда вертикальных колебаний кузова (колебаний подпрыгивания)

, (6.29)

 м.

- коэффициент вертикальной динамики

, (6.30)

.

Вывод: Так как , то оценка хода вагона «отлично».

вертикальные ускорения вагона

, (6.31)

.

Вывод: Так как , то оценка хода вагона «отлично».

Расчёт горизонтальных колебаний

- частота вынужденных колебаний рессорного комплекта

, (6.32)

 - коничность колеса, ;

 - радиус колеса вагона,  м;

 - середина между кругами катания колёс,  м.

 рад/с.

горизонтальная жёсткость рессорного комплекта (см. п. 1).

 кг/см  Н/м

- частота собственных колебаний рессорного комплекта

, (6.33)

 рад/с.

- значение коэффициента вязкого трения

, (6.34)

где    ,  - количество горизонтальных и вертикальных гасителей соответственно, .

 кг/с.

критическое значение коэффициента вязкого трения

, (6.35)

 кг/с.

- степень демпфирования

, (6.36)

.

- амплитуда горизонтальных колебаний кузова

, (6.37)

где    - амплитуда виляния кузова. Принимается равной половине разбега колёсной пары в рельсовой колее

, (6.38)

где    А - ширина колеи, А=1520 мм;

Б - расстояние между внутренними гранями колёс, Б=1440 мм;

С - толщина гребня колеса, С=33 мм.

 мм м.

 м.

коэффициент горизонтальной динамики для упруго-фрикционной связи с сухим трением

, (6.39)

.

- горизонтальные ускорения кузова

, (6.40)

.

Вывод: Так как , то оценка хода вагона «хорошо».

6.3    Оценка плавности хода вагона

Показатель плавности хода вагона устанавливает связь между изменением интенсивности возбуждения колебательного процесса и внутренними ощущениями человека. Для грузовых вагонов показатель плавности хода рассчитывается как для пассажирского вагона.

Оценка показателей качества хода вагона с точки зрения вертикальных колебаний

Техническая частота вертикальных колебаний. Она должна быть в пределах 1-2 Гц

, (6.41)

 Гц.

Показатель плавности хода. Его величина должна быть меньше допускаемого значения показателя плавности хода для грузового вагона

, (6.42)

где    - коэффициент, учитывающий влияние частоты и направление колебаний на утомляемость пассажиров определяем из графика зависимости , .

.

Вывод: Полученная величина показателя плавности хода грузового вагона удовлетворяет заданным условиям.

Оценка показателей качества хода вагона с точки зрения горизонтальных колебаний

Техническая частота горизонтальных колебаний. Она должна быть в пределах 1-2 Гц

, (6.43)

 Гц.

Показатель плавности хода. Его величина должна быть меньше допускаемого значения показателя плавности хода для грузового вагона

, (6.44)

где    - коэффициент, учитывающий влияние частоты и направление колебаний на утомляемость пассажиров определяем из графика зависимости , .

.

Вывод: Полученная величина показателя плавности хода грузового вагона не удовлетворяет заданным условиям. Для улучшения плавности хода необходимо уменьшить частоту и амплитуду вынужденных колебаний.

6.4    Расчёт коэффициента запаса устойчивости колеса от вкатывания на головку рельса

Определяем коэффициента запаса устойчивости колеса от вкатывания на головку рельса для порожнего вагона, так как это самый неблагоприятный случай.

- сила тяжести обрессоренных узлов

, (6.45)

 т.

- средне-вероятностное значение коэффициента вертикальной динамики

, (6.46)

где    - коэффициента запаса устойчивости колеса, ;

 - коэффициент, зависящий от числа осей в тележке;

, (6.47)

 - число осей в тележке, ;

.

 - статический прогиб порожнего вагона.


.

- средне-вероятностное значение коэффициента вертикальной динамики

, (6.48)

.

- средне-вероятностное значение коэффициента динамики боковой качки

, (6.49)

.

- средне-вероятностное значение рамной силы

, (6.50)

где    - расчётное значение статической осевой нагрузки;

, (6.51)

где    - число осей в вагоне, ;

 т.

 - коэффициент, зависящий от типа ходовых частей, .

 т.

- нагрузка, приходящаяся на шейку оси от обрессоренных масс вагона

, (6.52)

 т.

- вертикальная реакция набегающего колеса, т

, (6.53)

где    - половина расстояния между серединами шеек оси,  м;

 - расстояние от точки контакта набегающего колеса до середины шейки оси,  м;

 - расстояние между точками контакта колёс с рельсом, ;

 - радиус колеса,  м;

 - масса необрессоренных частей вагона, приходящаяся на колёсную пару

, (6.54)

 т.

- вертикальная реакция ненабегающего колеса, т

, (6.55)

где    - расстояние от точки контакта набегающего колеса до середины шейки оси,  м.

- горизонтальная реакция набегающего колеса

, (6.56)

 т.

коэффициент запаса устойчивости колеса от вкатывания на головку рельса. Он должен быть больше допускаемого значения коэффициента запаса устойчивости колеса от вкатывания на головку рельса для грузового вагона

, (6.57)

где    - угол наклона образующей гребня, ;

 - коэффициент трения колеса по рельсу, .

.

6.5    Оценка показателя валкости кузова

Статический прогиб проектируемого вагона

, (6.58)

где    - тара кузова;

, (6.59)

где    - масса тележки 18-100 вагона, =4500 кг;

 - тара вагона,  кг;

 кг.

 - грузоподъёмность вагона,  кг;

 - масса надрессорной балки,  кг;

 - вертикальная жёсткость рессорного комплекта,  кг/см.

 кг/см.

Для того чтобы не было валкости кузова должно обеспечиваться следующее условие

, (6.60)

где    - половина расстояния между серединами рессорных комплектов,  м;

 - расстояние от уровня головок рельсов до центра тяжести вагона;

, (6.61)

где    - расстояние от шейки оси до центра тяжести вагона,  м;

 - радиус колеса вагона,  м;

 - расстояние от уровня головок рельса до опорных поверхностей рессорного подвешивания,  м.

 м,

.

Вывод: Устойчивость от валкости кузова обеспечена.

7. Расчёт прочности элементов ходовых частей вагона

7.1    Расчёт боковой рамы тележки 18 - 578 УВЗ от вертикальных нагрузок

Рис. 7.1 Расчётная схема боковой рамы тележки

- верхний горизонтальный пояс; 2 - нижний горизонтальный пояс; 3 - верхний наклонный пояс; 4 - нижний наклонный пояс; 5 - колонка; а, в, с - узлы сопряжения поясов; I, II - узлы опоры на буксы.

Из опыта расчёта подобных конструкций известно, что в стержнях (1) и (2) практически отсутствуют изгибающие моменты и преобладают продольные усилия. В этом случае целесообразно наделить стержни (1) и (2) жёсткостью на растяжение - сжатие.

Для упрощения расчётов данной конструкции можно принять . Тогда расчётная схема примет вид

Рис. 7.2 Упрощённая расчётная схема боковой рамы тележки

Данная конструкция два раза статически неопределима и здесь целесообразно для расчёта применить метод сил, который основан на принципе Кастильяно: «Из всех возможных напряжённых состояний конструкции в действительности имеют место те, при которых полная потенциальная энергия деформации достигает минимального значения».

Продольные усилия  и изгибающие моменты  в стержнях боковой рамы тележки 18 - 578 УВЗ, возникающие от вертикальных нагрузок определяем из основной системы рис. 7.3.

Рис. 7.3 Основная система

Значения по каждому стержню приведены в таблице 7.1.

Таблица 7.1 Значения площадей и инерционных моментов.

Сечение

li,cм

Fi ,cм2

Iy,см4

Iz,см4

Z0,cм

1


32,1

51,44

498,97

1869,18

4,98

2


32,1

165,1

3070,77

26618,2

8,32

3


42,4

48,72

313,84

1835,35

5,64

4


69,05

58,86

977,18

2660,49

4,59

5


54,5

47,56

382,102

2022,4

6,09


Принцип Кастильяно

, (7.12)

Подставляем полученные продольные усилия  и изгибающие моменты  в формулу (7.11), применяем принцип Кастильяно (7.12) и получаем систему линейных уравнений метода сил

, (7.13)

, (7.14)

, (7.15)

,

, (7.16)

,

, (7.17)

.

Расчет  производим по 1-у режиму , который учитывает сочетание нагрузок , возникающих при трогании вагона с места и торможении ,усилия возникающие на роспуске вагонов .Требование 1-о режима недопущение хрупкого разрушения конструкции .Допускаемые напряжения равны пределу текучести материала .

, (7.18)

где    - статическая нагрузка

, (7.19)

где    - число осей, ;

 - масса колёсной пары,  т;

Т - тара вагона,  т;

Р - грузоподъемность вагона,  т.

 т.

 - динамическая добавка

, (7.20)

где    - база вагона, м;

 - расстояние от рамы до центра тяжести вагона

, (7.21)

где    - расстояние от шейки оси до центра тяжести вагона,  м;

 - радиус колеса вагона,  м;

 - расстояние от уровня головок рельса до опорных поверхностей рессорного подвешивания,  м.

 м,

 т,

 кг/см.

, (7.22)

.

, (7.23)

.

Подставляя полученные значения в систему линейных уравнений, находим неизвестные  и :

,

.

По полученным данным находим в опасных сечениях нормальные напряжения по формуле:

, (7.24)

Стержень 2:

 кг/см2,

Стержень 4:

 кг/см2,

Стержень 5:

 кг/см2.

Полученные напряжения удовлетворяют условию допускаемых напряжений элементов тележки, изготовленных из стали 20ГФЛ с пределом текучести  кг/см2

 кг/см2

Построение эпюры продольных сил N, кг

Построение эпюры изгибающих моментов М, кг*см


7.2    Расчёт шейки оси колёсной пары


Статическая нагрузка на ось от веса брутто вагона

, (7.35)

где    - тара вагона,  т;

 - грузоподъёмность вагона,  т;

 - число осей в вагоне, ;

т кг.

Прикладываемые силы вызывают нагружение левой шейки оси

, (7.36)

нагружение правой шейки оси

, (7.37)

где    - расстояние между серединами шеек оси, м;

 - расстояние от оси колёсной пары до центра тяжести вагона, м.

 кг,

 кг.

Вертикальные опорные реакции без учёта веса колёсной пары

, (7.38)

, (7.39)

где    - радиус колеса, м;

 - расстояние между кругами катания колёс, м;

 кг,

Напряжения в опасных сечениях

Сечение 1-1. Внутренняя галтель шейки.

, (7.40)

где    - допустимый износ по длине шейки оси,  см

 - длина шейки оси,  см.

 кг*см.

<МПа, (7.41)

где    - диаметр шейки оси колёсной пары,  см.

кг/см2 МПа<МПа.

Сечение 2-2. Подступичная часть оси.

, (7.42)

где    - расстояние от середины шейки оси до плоскости круга катания,  см.

 кг*см.

<МПа, (7.43)

где    - диаметр подступичной части оси колёсной пары,  см.

 кг/см2 МПа<МПа.

Сечение 3-3. Средняя часть оси.

, (7.44)

 кг*см.

<МПа, (7.45)

где    - диаметр средней части оси колёсной пары,  см.

 кг/см2 МПа<МПа.

8. Оценка соответствия элементов ударно-тяговых устройств требованиям норм

8.1    Проверка автоматической сцепляемости вагона в кривой

При прохождении кривого участка пути, автосцепки ориентированы под некоторым углом друг относительно друга. Автоматическая сцепляемость будет обеспечена если эффективная ширина захвата автосцепки (когда оба малых зуба ещё в состоянии войти в зевы сближающихся автосцепок) будет соответствовать отношению

, (8.1)

где    - вынос в кривой центра зацепления автосцепки;

, (8.2)

где    - длина консоли от центра пятника до оси сцепления;

, (8.3)

где    - длина консольной части вагона, м (см. часть 1);

 - длина вылета автосцепки, м;

 м.

 - база вагона, м (см. часть1);

 - полубаза тележки модели 18-578 УВЗ, м;

 - расчётный радиус кривой, м;

 м.

 - дополнительное поперечное смещение центров зацепления автосцепок. Согласно «Нормам» для грузовых двухосных тележек с нежёсткой рамой ммм.

 - эффективная ширина захвата автосцепки

, (8.4)

где    - полная ширина захвата при параллельных сцепах для автосцепки модели СА-3М м;

 - угол отклонения автосц. при проходе вагона кривого участка пути

, (8.5)

,

м,

.

Вывод: Автоматическая сцепляемость вагона в кривой обеспечена.

8.2    Проверка прохода вагона горбов сортировочных горок без саморасцепа

Для прохода вагона горбов сортировочных горок без саморасцепа, необходимо выполнение следующего условия:

, (8.6)

где    - максимальная величина относительного вертикального смещения автосцепки при проходе сцепа вагонов по горке;

, (8.7)

где    А, В, С, D, Е, F, G - коэффициенты;

мм.

 - допускаемая по условиям сцепления разность уровней осей автосцепок для автосцепки модели СА-3М мм;

 - возможная по условиям эксплуатации начальная разность уровней осей автосцепок для автосцепки модели СА-3М мм

мм.

Вывод: При проходе горбов сортировочных горок, саморасцепа не будет.

9. Расчёт устойчивости от выжимания вагона продольными силами при торможении поезда

Расчёт заключается в определении коэффициента запаса устойчивости от выжимания продольными силами, возникающими в поезде при торможении. Определённое сочетание продольных нагрузок приводит к обезгрузке колёсной пары и вкатыванию колеса на головку рельс.

, (9.1)

Первая критическая сила

, (9.2)

где    - горизонтальная жёсткость рессорного комплекта одной тележки

, (9.3)

 кг/см Н/м.

 - половина расстояния между упорными плитами автосцепок

, (9.4)

где    - половина длины вагона по осям сцепления вагона, , м;

 - вылет автосцепки,  м;

 - расстояние до передних упорных угольников,  м.

 м.

 - длина корпуса автосцепки от оси сцепления до конца хвостовика,  м;

 - половина базы вагона,  м.

 Н.

Вторая критическая сила

, (9.5)

.

Коэффициенты перекоса  и

, (9.6)

, (9.7)

где    - продольная сжимающая сила для порожнего 4-х осного грузового вагона,  Н;

.

.

Обезгруживающая величина

, (9.8)

где    - разность уровней осей автосцепок,  м.

 Н.

Вертикальная нагрузка от тележки на путь с учётом её обезгруживания под действием продольной силы

, (9.9)

где    - расчётный вес вагона,  Н.

 Н.

Вертикальное давление колеса на рельс для первой тележки по ходу движения.

, (9.10)

где    - половина полного поперечного разбега рамы в сечении по пятнику,  м;

 - расстояние от уровня головки рельса до опорной плоскости подпятника,  м;

 - расстояние от уровня головки рельса до оси автосцепки,  м

 - радиус кривой,  м;

 - середина между кругами катания колёс,  м.

.

Боковое давление колеса на рельс для первой тележки по ходу движения.

, (9.11)

.

Коэффициент запаса устойчивости от выжимания продольными силами. Он должен быть больше допускаемого значения коэффициента запаса устойчивости от выжимания продольными силами для грузового вагона

, (9.12)

где    - угол наклона образующей гребня, ;

 - коэффициент трения колеса по рельсу, .

.

Вывод: Устойчивость вагона от выжимания продольными силами обеспечена.

10. Расчёт устойчивости вагона от опрокидывания наружу кривой

При проходе кривого участка пути центробежная сила и давление ветра обезгруживают колёса на внутреннем рельсе и может произойти опрокидывание наружу кривой. При малых скоростях движения поезда возвышение наружного рельса и давление ветра обезгруживают колёса на наружном рельсе и может произойти опрокидывание внутрь кривой.

Коэффициент запаса устойчивости от опрокидывания внутрь и наружу кривой определяется по формуле

, (10.1)

где    - допускаемое значение коэффициента запаса устойчивости от опрокидывания внутрь и наружу кривой: наружу кривой ; внутрь кривой .

Вертикальная статическая сила давления колеса на рельс

, (10.2)

где    - масса вагона брутто, ткг;

 - ускорение свободного падения, м/с2;

п - число осей в вагоне, ;

 - вертикальная составляющая продольной силы N

, (10.3)

где    - величина продольных сил при растяжении, т;

 - разница высот осей автосцепок, м;

 - длина жёсткого стержня, образованного двумя сцепленными автосцепками: при сжатии м; при растяжении м.

 тН,

 Н.

Вертикальная динамическая сила давления колеса на рельс

, (10.4)

где    п - число осей в вагоне, ;

 - расстояние между кругами катания колёс, м;

,  - центробежные силы, действующие на кузов или тележку соответственно при расчёте на опрокидывание наружу кривой

, (10.5)

, (10.6)

где    - масса тележки (кузова):

кг,

, (10.7)

где    - скорость движения поезда,  м/с2;

 - расчётный радиус кривой,  м;

 - возвышение наружного рельса,  м.

кг,

 Н,

 Н.

,  - расстояние от уровня головок рельсов до уровня центра тяжести кузова и тележки соответственно: м; м;

,  - сила давления ветра на кузов или тележку соответственно

, (10.8)

, (10.9)

где    - давление ветра,  Н/м2;

 - площадь боковой стены кузова или тележким2; м2

 Н,

 Н.

,  - ордината приложения ветровой нагрузки относительно уровня головок рельсов, м; м;

 - горизонтальная составляющая продольной силы N

, (10.10)

где    - половина длины вагона по осям сцепления, м;

 - расчётный радиус кривой,  м;

 Н.

 - расстояние от уровня головок рельсов до оси зацепления автосцепок для гружёного вагона принимаем м;

,  - сила тяжести тележки или кузова соответственно

, (10.11)

Н,

Н.

,  - суммарные поперечные смещения центра тяжести кузова или тележки соответственно

 м

, (10.12)

где    - поперечное смещение рамы тележки;

 - поперечное смещение надрессорной балки;

 - поперечное смещение пятника по подпятнику;

Для тележки модели 18 - 578 УВЗ ммм;

 - возможные поперечные отклонения кузова при изготовлении. Если длина кузова по раме меньше 16м, то ммм;

 - поперечное смещение кузова в следствие зазора в скользунах

, (10.13)

где    - максимально возможный зазор между скользунами, ммм;

 - половина расстояния между серединами скользунов, м

 - расстояние от уровня головок рельсов до опорной плоскости подпятника для гружёного вагона принимаем м;

 м.

 - поперечное смещение кузова в следствии дополнительного прогиба рессор с одной стороны вагона

, (10.14)

где    - дополнительный прогиб рессор гружёного вагона, ;

 - половина расстояния между центрами рессорных комплектов, м;

 - расстояние от уровня головок рельсов до верхней плоскости рессорного комплекта для гружёного вагона, м.

,

 м,

Коэффициент запаса устойчивости от опрокидывания вагона наружу и внутрь кривой

.

Вывод: Устойчивость от опрокидывания гружёного вагона наружу кривой обеспечена.

11. Безопасность жизнедеятельности и гражданская оборона

11.1 Ликвидация аварийных ситуаций с опасными грузами при перевозке их по железным дорогам

Гражданская оборона является составной частью системы общегосударственных оборонных мероприятий, проводимых в мирное и военное время для защиты населения и народного хозяйства страны от оружия массового поражения и других современных средств нападения противника, а также для проведения аварийно-спасательных и других неотложных работ (АСДНР) в очагах поражения и зонах катастрофического затопления.

Чрезвычайной является обстановка на определенной территории, сложившаяся в результате аварии, опасного природного явления, катастрофы, стихийного или иного бедствия, которые могут повлечь или повлекли за собой человеческие жертвы, ущерб здоровью людей или окружающей среде, значительные материальные потери и нарушение условий жизнедеятельности людей. Чрезвычайные ситуации подразделяются по сфере возникновения, ведомственной принадлежности и масштабу последствий.

По сфере возникновения чрезвычайные ситуации подразделяются на техногенные, природные и экологические.

Техногенной чрезвычайной ситуацией называется состояние, при котором в результате возникновения источника техногенной чрезвычайной ситуации на объекте определенной территории нарушаются нормальные условия жизни и деятельности людей, возникает угроза из жизни и здоровью, наносится ущерб имуществу населения, народному хозяйству и окружающей среде (ГОСТ Р22.0.05-94). Техногенные чрезвычайные ситуации классифицируются по типам аварий, которые определяют особенности воздействия поражающих факторов на людей, природную среду и объекты народного хозяйства. Они подразделяются на аварии, сопровождающиеся выбросами опасных веществ, пожарами, взрывами, затоплениями, нарушениями жизнеобеспечения (энергосистем, инженерных, экологических цепей и т.п.). Аварии, связанные с выбросами опасных веществ, дополнительно подразделяются на радиационные, химические, биологические и, кроме того, делятся по видам распространенного в окружающую среду вещества.

Природные чрезвычайные ситуации классифицируются по видам стихийных бедствий. Они делятся на группы в соответствии с природными явлениями, гидрометеорологические, гелиофизические и массовые заболевания.

Чрезвычайные ситуации экологического характера подразделяются на связанные с отрицательными изменениями суши, гидросферы, атмосферы, биосферы.

Чрезвычайные ситуации на транспорте подразделяются в зависимости от вида транспорта подземного, воздушного (космического), водного (речной, озерный, морской) и наземного (железнодорожный, автомобильный, трубопроводный, канатно-подвесной).

По масштабу и в зависимости от сил и средств, привлекаемых к ликвидации возможных последствий, чрезвычайные ситуации определяются как частные, объективные или местные, региональные и глобальные. Частные чрезвычайные ситуации происходят в одном цехе или на одной отдельной установке. Работы по ликвидации такого рода последствий проводятся штатным персоналом места происшествия. Объективные или местные чрезвычайные ситуации ограничиваются городом, районом, областью. К ликвидации последствий привлекаются территориальные невоенизированные формирования гражданской обороны повышенной готовности, а при необходимости - объектовые формирования и части гражданской обороны. Региональные чрезвычайные ситуации распространяются на несколько областей, республику или крупный регион. Ликвидация последствий происходит с привлечением соединений и частей гражданской обороны, всех видов военизированных формирований. Глобальные чрезвычайные ситуации охватывают несколько субъектов Федерации и сопредельные страны. К ликвидации последствий на территории страны привлекаются силы гражданской обороны, вооруженные силы, министерства и ведомства.

К опасным грузам относятся вещества, материалы, изделия, отходы производства и иной деятельности, которые в силу присущих им свойств и особенностей при наличии определенных факторов в процессе транспортирования, при производстве погрузочно-разгрузочных работ и хранении могут нанести вред окружающей среде, послужить причиной взрыва, пожара или повреждения транспортных средств, устройств, зданий и сооружений, а также гибели, травмированию, отравлению, ожогам или заболеваниям людей, животных, птиц.

Опасные грузы в соответствии с ГОСТ 19433-88 «Грузы опасные». Вредные вещества в соответствии с ГОСТ 12.1.007-81. «Классификация и маркировка» разделяются на следующие классы:

Класс 1 - взрывчатые материалы (ВМ);

Класс 2 - газы сжатые, сжиженные и растворенные под давлением;

Класс 3 - легковоспламеняющиеся жидкости (ЛВЖ);

Класс 4 легковоспламеняющиеся твердые вещества (ЛВТ), самовозгорающиеся вещества (СВ.); вещества, выделяющие воспламеняющиеся газы при взаимодействии с водой;

Класс 5 - окисляющие вещества и органические пероксиды;

Класс 6 - ядовитые вещества и инфекционные вещества;

Класс 7 - радиоактивные материалы;

Класс 8 - едкие и коррозионные вещества;

Класс 9 - прочие опасные вещества.

На каждую отправку опасного груза грузоотправитель должен предоставить станции накладную, заполненную в соответствии с Правилами перевозок грузов. В графе накладной «Наименование груза» грузоотправитель должен указать точное наименование опасного груза и номер аварийной карточки.

Класс 2 (газы сжатые, сжиженные и растворенные под давлением). При проведении восстановительных работ с этими грузами необходимо учитывать, что в емкостях (цистернах, баллонах) имеет место избыточное давление. Оно может значительно повышаться с увеличением температуры, что может привести к разгерметизации емкости или даже к её разрушению. Поэтому цистерны со сжиженными и сжатыми газами должны быть охлаждены независимо от природы газа.

При повреждении котла цистерны с негорючим и нетоксичным газом она должна быть отведена в безопасное место, и находиться под наблюдением. Ликвидация утечки или перелив груза в порожнюю цистерну должны осуществляться только в присутствии специалиста.

Если произошла разгерметизация цистерны и утечка горючего газа с плотностью тяжелее воздуха, во избежание создания взрывоопасной концентрации и мощного взрыва или объёмного воспламенения, выходящий газ необходимо поджечь и под контролем специалистов, при интенсивном охлаждении котла цистерны, дать ему выгореть. Решение о поджоге газа может быть принято руководителем работ на основе письменного уведомления специалистов после определения зоны загазованности, эвакуации людей и оценки возможных последствий объемного воспламенения газовоздушной смеси. При проведении восстановительных работ с цистернами, содержащими грузы класса 2, необходимо следить за тем, чтобы подъемные средства и сам процесс подъема не приводили к разгерметизации цистерн.

При утечке ядовитых (токсичных) газов для изоляции газа следует создать водяную завесу.

При повреждении крытого вагона или контейнера, груженых баллонами со сжатыми или сжиженными газами, их необходимо вскрыть, избегая искрообразования и пожара. Проверка исправности баллонов, наличие утечки и степень загазованности осуществляется с соблюдением предусмотренных аварийной карточкой мер безопасности. Если обнаружатся неисправные баллоны, то они должны быть удалены на расстояние не менее 100м от пути на перегоне, зданий и сооружений, по возможности погружены в емкость с раствором в соответствии с указанием аварийной карточки. Затем необходимо установить охрану и наблюдение до полного выхода газа.

Порожние цистерны из-под воспламеняющихся сжиженных газов представляют повышенную опасность, и обращение с ними должно исключать возможность повреждения котла, так как после падения избыточного давления в объеме котла может образовываться взрывоопасная смесь газа с воздухом. В условиях пожара порожние цистерны прогреваются с большой скоростью и из-за повышения давления возможны их разгерметизация или разрушение.

Аварийная карточка № 206

Номер ООН

Наименование груза

Степень токсичности

Классификационный шифр

1950

Аэрозоли, легковоспламеняющиеся

2

2316

1978

Бензин газовый, нестабильный

4

2313

1010

Бутадиен, ингибированный

4

2313

1011

Бутан

4

2313

1012

Бутилен

4

2313

1954

Винилацетилен, ингибированный

4

2313

1969

Изобутан

4

2313

1055

Изобутилен

4

2313

1978

Пропан

4

2313

1077

Пропилен

4

2313

1012

Псевдобутилен

4

2313

1965

Фракция бутан-бутиленовая

4

2313

1965

Фракция бутилен-амиленовая

4

2313


Дежурный по станции, сообщив о происшедшем диспетчеру или дежурному по отделению дороги, незамедлительно вызывает начальника станции. Начальник станции докладывает о ЧП начальнику отделения дороги, главному врачу СЭС отделения дороги, а также в местные органы власти и штаб ГОЧС района, города.

Поездной диспетчер, получив сообщение о происшествии, срочно сообщает об этом дежурному по отделению дороги, который в свою очередь, получив сообщение об аварийной ситуации докладывает, о ней начальнику отделения дороги, старшему дежурному помощнику начальника оперативно-распорядительного отдела службы движения дороги, если в зоне аварии попало большое количество опасного груза, дежурный по отделению дороги сообщает об этом в штаб ГОЧС республики, края, области, в специальные воинские подразделения.

Дежурный по отделению дороги также должен сообщить о происшествии дежурному диспетчеру оперативно-распорядительного отдела службы перевозок и дежурному помощнику военного коменданта железнодорожного участка. Дежурный диспетчер оперативно-распорядительного отдела службы перевозок докладывает в штаб ГОЧС республики, края, области. Затем дежурный по отделению дороги сообщает об аварийной ситуации ревизору по безопасности движения, начальнику отряда военизированной охраны ВОХР, начальнику грузового отдела и на ближайшие пункты дислокации военизированной охраны.

Старший дежурный помощник начальника оперативно-распорядительного отдела, получив сообщение о ЧП, незамедлительно сообщает об этом главному санитарному врачу дороги, руководству дороги, дежурному оперативно-распорядительного отдела Департамента управления перевозками МЧС РФ и в территориальную службу по организации ликвидации аварийных ситуаций с опасными грузами соответствующего ведомства.

К принятию неотложных мер по указанию маневрового диспетчера или дежурного по станции могут быть привлечены работники всех других служб, оказавшиеся вблизи места происшествия. При аварийной ситуации, представляющей угрозу поражения людей и загрязнения окружающей среды, руководитель работ совместно со специалистами санитарно-эпидемиологической станции и МЧС, а в необходимых случаях совестно с представителями органов власти, органов здравоохранения, внутренних дел, промышленных предприятий и организаций и специалистами грузоотправителя (грузополучателя) должны:

а) оценить химическую обстановку, определить границы опасной зоны, принять меры по ее ограждению и оцеплению;

б) выявить людей, подвергшихся воздействию ядовитых веществ, и организовать им оказание медицинской помощи;

в) разработать план ликвидации химического заражения, в котором (в зависимости от масштабов и характера заражения) предусматриваются следующие мероприятия:

краткая характеристика очага поражения;

силы и средства, привлекаемые к ликвидации последствий аварии, и порядок их использования;

задачи отдельным, подразделениям и формирования занимающимся ликвидацией чрезвычайных ситуаций;

очередность работ;

способы нейтрализации;

организация контроля за полнотой нейтрализации (дегазации) местности, объектов внешней среды, техники и транспорта;

организация медицинского обеспечения;

меры безопасности;

организация управления и порядок представления донесений о ходе работ.

Общее руководство за соблюдением требований безопасности осуществляет руководитель работ по ликвидации последствий аварии. Ответственность за выполнение установленных руководителем работ совместно со специалистами грузоотправителя, санитарно-эпидемиологической станции, Гражданской обороны мер безопасности личным составом, привлеченных к этим работам подразделений, несут руководители этих подразделений.

После ряда крупных аварий с железнодорожными цистернами для сжиженных углеводородных газов, произошедших в восьмидесятых годах в России, было признано необходимым проведение комплекса научно-исследовательских работ по повышению безопасности эксплуатации таких вагонов. После анализа статистической информации об авариях и крушениях с цистернами было признано целесообразным иметь на таких вагонах технические средства защиты, обеспечивающие минимизацию ущерба при возникновении аварийной ситуации.

Для защиты торцевой зоны котла от пробоя в качестве технических средств защиты можно было использовать усовершенствованную конструкцию автосцепки с ограничителями саморасцепа и высокоэнергоемкими поглощающими аппаратами, а также специальный защитный экран.

Для защиты горловины люка-лаза и исключения повреждения арматуры были предложены варианты дуг безопасности, реализованные на этих же образцах цистерн.

Одной из сложнейших проблем для цистерн, перевозящих опасные грузы, является обеспечение пожаро- взрывобезопасности. Работы по решению этой проблемы проводятся по следующим направлениям:

совершенствование сливо-наливной и контрольной арматуры, исключающей несанкционированную утечку продукта;

совершенствование параметров предохранительной арматуры, обеспечивающей управляемый сброс продукта и исключающей взрыв при аварийном тепловом воздействии в очаге пожара;

повышение времени пребывания цистерны в очаге пожара до начала сброса продукта, позволяющее повысить безопасность работников пожарных и восстановительных формирований.

В частности, котел цистерны должен иметь теплозащиту и огнезащитное покрытие и быть оборудован предохранительными клапанами с большим проходным сечением.

Применение технических средств защиты на цистернах позволяет существенно снизить вероятность возникновения аварийных ситуаций с утечкой опасных грузов.

Знание описанных выше способов экстренной локализации и ликвидации очагов химических заражений позволит руководителям планировать действия персонала в ЧС и из представленного комплекса мероприятий выбирать те, которые помогут устранить последствия аварий с наименьшими потерями и в более короткие сроки.

Задача

В Зкм от станции ночью разрушена цистерна с аммиаком в количестве 40т. Количество вылившегося вещества не установлено. Метеоусловия: температура воздуха +20°С; скорость ветра u=3м/с, направление - от цистерны на станцию; переменная облачность. Определить масштабы заражения аммиаком.

Решение. На основании допущений при оперативном прогнозировании принимаем: Q0=40т; Nп=lч.

Степень вертикальной устойчивости атмосферы в ночное время в условиях переменной облачности и u=3м/с - инверсия.

Определяем эквивалентные количества АХОВ, перешедших в первичное (Qэ1) и вторичное (Qэ2) облака:

, (11.1)

, (11.2)

где    - коэффициент, зависящий от условий хранения АХОВ, ;

 - коэффициент, учитывающий физико-химические свойства АХОВ,

;

 - коэффициент, учитывающий токсичность аммиака, ;

 - коэффициент, учитывающий скорость ветра, ;

 - коэффициент, учитывающий степень вертикальной устойчивости атмосферы, при инверсии ;

 - коэффициент, учитывающий время, прошедшее от начала аварии, для t=lч ;

 - коэффициент, учитывающий влияние температуры воздуха, ;

 - плотность аммиака, т/м3;

 - толщина слоя аммиака, м (свободный разлив).

 т

 т

По таблице для u=3м/с находим глубину зон возможного заражения первичным и вторичным облаками: Г1=0,99км; Г2=2,65км. Общая глубина зоны заражения:

, (11.3)

где    Г1 - наибольшее из двух значений Г1 и Г2;

Г2 - наименьшее из двух значений Г1 и Г2.

 км

В поражающих концентрациях:  км.

Определяем время поражающего действия аммиака (оно же время испарения аммиака с площади разлива):

, (11.4)

 ч

Время подхода облака зараженного воздуха к объекту:

, (11.5)

где    х - расстояние от места аварии до объекта, х=3км;

v - скорость переноса переднего фронта облака зараженного воздуха,

v=16км/ч;

.

Площадь зоны возможного поражения:

, (11.6)

где    - угловой размер площади зоны возможного заражения в зависимости от скорости ветра, ;

 км2.

Площадь зоны фактического заражения:

, (11.7)

где    - коэффициент, учитывающий влияние степени вертикальной устойчивости атмосферы, при инверсии ;

 км2.

Предел допустимой концентрации аммиака 20мг/м3.

Концентрация аммиака в зоне фактического заражения 1,00625мг/м3.

Выводы из оценки химической обстановки.

.        При данных метеоусловиях облако аммиака может достичь станции в пороговых концентрациях и не достигнет в поражающих концентрациях. Большая опасность угрожает персоналу железнодорожной станции.

.        Авария с выбросом аммиака имеет быстротечный характер (быстрое перемещение зараженного облака, быстрое испарение разлившегося аммиака).

.        В этих условиях особое значение приобретает быстрое оповещение персонала станции и населения, а также заблаговременная разработка необходимых мер их защиты.

11.2 Охрана труда при сварочных работах

Электрическая сварка котла цистерны характеризуется высокой концентрацией теплового потока (более 30 кал/г на 1 мм2 площади дугового пятна). Имеет место быстрый переход свариваемого металла и сварочных материалов из твердого в жидкое состояние. Процесс носит взрывной характер и проходит при очень высоких температурах (несколько тысяч градусов в зоне дуги).

При электросварке организм человека может подвергаться воздействию следующих видов энергии:

электромагнитной;

механической.

Каждая из указанных составляющих представляет опасность для человека.

Сварочные работы на машиностроительных заводах производятся главным образом в сборочно-сварочных цехах или отделениях. Возникающие в процессе сварки вредные факторы могут стать причиной травм (поражение электрическим током, ожоги брызгами расплавленного металла и др.) и профессиональных заболеваний (электроофтальмия, пневмокониозы, интоксикация марганцем...).

При ручной электродуговой сварке в процессе работы сварщик имеет дело с электроустановками - сварочными агрегатами и подвижными трансформаторами, а также с различным электрооборудованием. В связи с этим возникает опасность поражения электрическим током.

При сварке дугой переменного тока рабочее напряжение, подводимое от сварочного трансформатора к изделию, не должно превышать 70 В. Все корпуса сварочных установок, генераторов, электродвигателей должны быть заземлены. Сварочные агрегаты, машины и трансформаторы снабжают кожухом для защиты токоведущих частей первичной цепи. Кожухи должны быть надежно закреплены. Вторичную обмотку трансформатора для снижения опасности перехода на нее первичного напряжения при пробое следует надежно заземлять вместе с металлическим кожухом.

Напряжение холостого хода источника питания постоянного и, особенно, переменного тока, представляет опасность в тех случаях, когда сварщик соприкасается с большими металлическими поверхностями, поэтому при работе в особо опасных условиях, например при сварке внутри металлической емкости (котла цистерны), во избежание длительного воздействия напряжения холостого хода, электросварочные установки должны иметь блокировку, при которой автоматически происходит включение сварочной цепи при соприкосновении электрода со свариваемым изделием и автоматическое отключение при холостом ходе. При работе внутри котла обеспечивается полная электробезопасность сварщика.

Схема блокировки представлена на рис. 11.2. Откуда видно, что как только сварщик перед началом работы прикоснется электродом к свариваемым деталям, цепь вспомогательного трансформатора, рассчитанная на напряжение 12-24В, оказывается замкнутой. В результате этого катушка контактора возбуждается и замыкает контакты К1 и К2, включает первичную обмотку сварочного трансформатора и, одновременно с этим размыкает контакты КЗ. При этом катушка конденсатора окажется включенной параллельно дросселю.

Сварочный ток, проходя через дроссель, вызывает на нем падение напряжения, которое питает катушку контактора. При окончании работы или смене электрода дуга обрывается, напряжение на дросселе падает до нуля и катушка контактора, теряя питание, размыкает с помощью контактов К2 первичную цепь сварочного трансформатора и этим отключает его от сети. Одновременно происходит размыкание контактов К1 и замыкание КЗ. Помимо электробезопасности, такое решение имеет большое экономическое значение, т.к снижается время холостого хода и тем самым сокращаются потери от холостого хода, повышается коэффициент мощности машины.

Схема замкнутого заземления

Схема зануления

Рис. 11.2 Схема автоматического отключения трансформатора

Сварка внутри емкостей характеризуется быстрым образованием высоких концентраций газов и аэрозоля в зоне дыхания, а также неблагоприятными метеорологическими условиями, поэтому требует специальных санитарно -технических мероприятий. Условия работы при сварке внутри цистерн усугубляются повышенным тепловым излучением и неудобным положением тела сварщика. Исследованиями Института гигиены и трудозаболеваний установлено, что температура воздуха в замкнутых пространствах небольших объемов повышалась за 30 минут работы на 6-10 0С, а интенсивность теплового излучения на уровне лица сварщика 300 -450 ккал/м2*ч. По санитарным нормам СН 245-71 при облучении более 300 ккал/м2*ч для создания нормальных условий труда, необходимо применить воздушное дутирование рабочего места.

В соответствии с «Санитарными правилами при сварке, наплавке и резке металлов» №1009-73 подвижность подаваемого в замкнутые объемы воздуха должна быть 0,7-2 м/с, чтобы исключить возможность простудных заболеваний сварщиков. Температура подаваемого воздуха в холодный период года должна быть не ниже 20 0С.

В соответствии с «Правилами техники безопасности и производственной санитарии при электросварочных работах» сварка внутри замкнутых пространств без вентиляции не допускается.

Перед сваркой цистерн должны быть проведены: очистка, промывка и вентилирование их.

В цехах, где производится сварка внутри цистерн, необходимо устройство обще обменной и местной вентиляции. В ряде случаев необходимо применить индивидуальные средства защиты органов дыхания.

Вентилирование замкнутых пространств можно осуществить по следующим принципиальным схемам:

)        создания организованного обмена воздуха в емкости: механическая подача чистого наружного воздуха в емкость; механическое удаление воздуха из нее; совместное действие притока и вытяжки;

)        удаление загрязненного воздуха непосредственно вблизи электросварочной дуги;

)        вентилирование только зоны дыхания сварщика (путем подачи чистого воздуха под маску или под щиток).

Характерной особенностью вентилирования емкостей является необходимость применения в большинстве случаев гибких шлангов и вентиляторов высокого давления.

При вентилировании емкости приточной струей от стационарной вентиляционной установки в емкость подается чистый (наружный) подогретый в холодное время воздух. Цистерну следует при этом способе устанавливать на фиксированных местах. Можно применять и гибкие шланги больших диаметров (~200-300мм) при наличии в торцевой части резервуара готового фланца. При определении объема подаваемого воздуха важно, чтобы скорость воздуха на рабочем месте была 0,7-2,0 м/с при ручной сварке, а при сварке в среде защитных газов в пределах, указанных соответствующими нормами.

Подаваемая струя чистого воздуха должна иметь направление от сварщика к дуге с тем, чтобы вредные выделения не попадали в зону дыхания.

Недостаток рассматриваемой схемы заключается в том, что загрязненный воздух выбрасывается в цех и должен удаляться обще обменной вентиляцией.

Этого можно избежать, если устраивать одновременно удаление загрязненного воздуха из емкости со стороны, противоположной притоку воздуха, с помощью вытяжной вентиляции.

Устройство одной вытяжки из емкости (с выбросом вне цеха) обладает тем недостатком, что в емкость поступает воздух из цеха уже частично загрязненного. Рекомендуемый объем удаляемого воздуха на один пост 2000м3/ч. При таком способе вентиляции создаются меньшие скорости воздуха, чем при подаче приточной струи, но воздух в холодный период не нагревается от температуры цеха (16-18°) до рекомендуемой для подачи в емкости (не ниже 20°).

При сварке емкостей на нестационарных местах, когда невозможно устройство описанных выше систем, применяются передвижные агрегаты.

Передвижные агрегаты передают из цеха в емкость уже частично загрязненный воздух, а отработанный воздух с высоким содержанием аэрозоля и газов поступает обратно в помещение.

Для удаления загрязненного воздуха непосредственно от сварочной дуги разработана воздушная установка с малогабаритными размерами переносных местных отсосов. Удаление пыли и газа осуществляется непосредственно от сварочной дуги малогабаритными пылегазоприемниками с гибкими облегченными шлангами небольшого диаметра.

В качестве побудителей движения воздуха, могут быть использованы:

А) в системах большой протяженностью - различные вакуум насосы, при малом числе постов сварки следует применять водокольцевые вакуум насосы типа РМК или ВВН при большом - многоступенчатые центробежные машины марок ТВ - 50-1,5, ТВ - 70-1,6 и ТВ - 175-1,6, создающие разряжение 2500 -3000 мм вод ст.

Б) в системах с малой протяженностью фронта работ (до 6-8м) могут быть использованы вентиляторы высокого давления, создающие разряжение 1500 мм вод ст.

К побудителю подводится коллектор герметичная тонкостенная, стальная труба, проложенная вдоль возможного фронта элекро-сварочных работ. Длина коллектора может быть 100м и более. К коллектору приваривают штуцера для подключения переносных шлангов. Все штуцера снабжают заглушками для герметичного перекрывания.

В высоковакуумных установках используют специальные резинотканевые шланги облегченной конструкции. На входе воздуха в шланги устанавливают малогабаритные переносные пылегазоприемники с пневматическими присосами - держателями.

Действие пневматического присоса основано на использовании разряжения, создаваемого побудителем тяги. Необходимое для удержания приемника и шланга разряжение в присосе обеспечивается путем местного повышения величины разряжения с помощью вмонтированного в шланге диффузорного пережима, суженое сечение которого сообщается полой втулкой с полостью резиновой полусферы. Крепление присоса осуществляется автоматически при соприкосновении с поверхностью за счет быстрого возникновения вакуума.

Отрыв присоса производится сжатием пальцами краев полусферы. Перестановка присоса осуществляется, как правило, при каждой смене электродов. При правильной эксплуатации таких местных отсосов обеспечивается необходимый санитарно-гигиенический эффект. Концентрация пыли и газов в зоне дыхания сварщика снижается до уровня, близкого предельно допустимой концентрации. Такой эффект достигается при удалении воздуха от одного сварочного поста 100-150 м3/ч.

При ручной сварке конструкций на нестационарных местах могут быть использованы постоянно перемещаемые приемники вытяжной вентиляции, прикрепленные шарнирами к ручкам защитных щитков. Шарнирные соединения позволяют изменить угол поворота патрубка приемника, как в вертикальной, так и в горизонтальной плоскостях.

При сварке внутри цилиндрических плоскостей, осуществляемой на кантователях, т. е выполняемой только в нижнем положении, может быть использован, только передвижной пылегазоприемник, который передвигается на роликах по мере вращения свариваемого цилиндра. Для обеспечения нужного гигиенического эффекта через такой приемник нужно удалять 250м3/ч воздуха.

Требуемый воздухообмен при выделении в помещение вредных веществ (газов, паров и пыли) определяется по формуле:

, (11.8)

где    Кд - предельно допустимая концентрация выделяемых вредностей в помещение Кд = 6 для электродов Э46А марки УОНИ-13/55 по ГОСТ 12.1.005-88;

Кп - концентрация вредностей в приточном воздухе, принимаем Кп = 0;

Кв - количество вредностей, выделяющихся в помещение в течении часа, мг/ч.

, (11.9)

где    Qп - среднее отношение веса пыли, выделяемой в окружающее пространство к весу расходных электродов, принимаем:п = 0,01 при автоматической сварке;п = 0,04 при ручной сварке;

Фн - годовой действительный фонд рабочего времени.э - годовое потребление проволоки и электродов для электросварки, кг;

, (11.10)

где    П - годовая программа;

Кэ - отношение массы электродного покрытия к массе электродной проволоки, принимаем Кэ = 0,25 - 0,4 при автоматической сварке с флюсом;

Кп - коэффициент перехода в шов;

Gн - масса потребляемого металла на одно изделие, кг.

, (11.11)

где    g - масса наплавляемого металла на один метр;

t - длина всех швов на котле, м.

При автоматической сварке длина швов равна 130 м, а при ручной - 85 м. Определяем массу металла на один метр шва.

, (11.12)

где    - удельный вес наплавленного металла, принимаем  г/см3;

 - объем наплавленного металла.

, (11.13)

где    КШ - катет шва, принимаем КШ = 8 мм.

Подставив числовые значения в формулу (11.13), получим

мм2м2.

Подставив числовые значения в выражение (11.12), получим

 кг/м.

Масса наплавленного металла на один метр при автоматической сварке g = 0,46 кг/м, тогда, подставив числовые значения в формулу, получим

 кг,

 кг.

Подставив числовые значения в формулу (11.10), получим годовое потребление проволоки

 кг.

Годовое потребление электродов по формуле составит

 кг.

Годовой фонд рабочего времени можно вычислить из выражения

, (11.14)

где    Р0 - коэффициент, учитывающий отдых в рабочее время;

Фк - годовой фонд времени работы оборудования.

, (11.15)

где    tН - время работы в неделю, принимаем tН = 35 часов;

nсм - число смен, принимаем nсм = 2.

Подставив числовые значения в выражение (11.15), получим

 ч.

Подставив числовые значения в формулу (11.14), получим

 ч.

Подставив числовые значения в выражение (11.9), получим среднечасовое выделение пыли в цехе при автоматической сварке

 мг/ч,

а при ручной сварке оно составит

 мг/ч.

Общее среднечасовое выделение пыли в цехе составит Кв = 245693,7 мг/ч.

Таким образом, требуемый воздухообмен при выделении вредных газов можно подсчитать, подставив числовые значения в формулу (11.8):

 м3/ч.

По каталогу выбираем вентилятор МЦ-6 с числом оборотов 965 в мин, расходом воздуха L = 40000 м3/ч. Число вентиляторов выберем из выражения

.

Мощность электродвигателя определим по формуле

, (11.16)

где    L - требуемый воздухообмен при выделении вредных газов;

 - расчетное сопротивление при стандартных условиях, принимаем  кгс/м2;

 - КПД вентилятора, принимаем ;

 - КПД подачи, принимаем .

Подставив числовые значения в формулу (11.16), получим

 кВт.

Таким образом, из результатов расчетов видно, что для обеспечения необходимой вентиляции при производстве котлов цистерны посредством сварочных работ, необходимо иметь как минимум один вентилятор марки МЦ-6.

Сечения и длина шлангов и коллектора определяются расчетом для каждой конкретной установки в зависимости от местных условий и типа принятого в системе вакуумного побудителя тяги.

, (11.17)

где    U - скорость воздуха в рабочем сечении, принимаем 6 м/с;- площадь рабочего сечения, составляющая 25% от общей площади Foб (F =0,01 м2). Foб - принимаем равной 0,04 м2.

 м3/ч.

При этом эффект удаления воздуха от одного сварочного поста, концентрация пыли и газов в зоне дыхания сварщика снижается до уровня близкого к допустимой концентрации. При их помощи в цехе будут поддерживаться необходимые условия работы. При отсутствии местных отсосов следует применять средства индивидуальной защиты органов дыхания, особенно когда местные вытяжные устройства не могут обеспечить требуемых параметров воздушной среды. Когда концентрации газов в зоне дыхания невелики, можно применять противопылевые распираторы ТТТБ-1 «Лепесток», «Астра-2».

Когда сварщик работает в условиях высоких концентраций не только аэрозоля, но и газов, следует пользоваться шланговыми противогазами ПШ-1, ПШ-2-57, ДПА-5, АСМ с принудительной подачей воздуха. Недостатком применяемых для индивидуальной защиты органов дыхания шланговых противогазов является отсутствие устройств для подогрева воздуха, что ограничивает их использование в холодное время года и фильтров для очистки воздуха,

Установка для принудительной подачи воздуха под маску электросварщика состоит из следующих основных узлов:

маски;

шлангов;

электронагревателя;

фильтра;

редукционной шайбы.

Воздух для установки может подаваться от вентилятора высокого давления; от заводских поршневых компрессоров или турбокомпрессоров. В случае использования вентиляторов высокого давления шланги должны быть небольшой длины (до 10м) с внутренним диаметром 20-25мм.

Сжатый воздух, подаваемый поршневыми компрессорами, обычно загрязнен продуктами смазочных масел, пылью и водяными парами. При недостаточном охлаждении поршневых компрессоров не исключена возможность присутствия в компрессорном воздухе и окиси углерода. Для очистки воздуха, поступающего от поршневых компрессоров, следует устанавливать специальный фильтр.

При работе у сварщика наблюдается увеличение объема легочной вентиляции в результате воздействия таких факторов, как вынужденное положение тела, влияние лучистого тепла, нарушение терморегуляции и защитной спецодежды. Для обеспечения нормальной легочной вентиляции, поддержание гигиенической нормы углекислого газа и относительной влажности подмазку следует подавать не менее 100 м3/ч воздуха в минуту. Для поддержания избыточного давления около 0,35 кг/см3 должно быть добавлено еще 20% воздуха, то есть 120 л/мин.

Требуемое количество воздуха проходит через редукционную шайбу с отверстием в ней 1,7мм диаметра. Перед шайбой установлена сетка для улавливания случайно попавших в сетке частиц пыли или окалины за шайбой для уплотнения - рябиновая прокладка. Сетка латунная с ячейкой размером 0,3мм в свету легко вынимается для прочистки.

Окончательную очистку воздуха проходит в фильтре и поступает в электродвигатель напряжением 36 В и мощностью 300 Вт, которая используется для подогрева воздуха в холодное время года.

Для подачи воздуха к сварщику применен автогенный шланг с внутренним диаметром 12мм. На участке от коллектора до редукционной шайбы шланг находится под давлением сети.

При подаче воздуха от вентилятора высокого давления, к которому можно подключить до пяти масок, воздухопроводом может служить облегченный пылесосный шланг диаметром 25мм длиной 2м, собранный на муфтах до требуемой длины.

От пояса до козырька установлен шланг длиной 1м из медицинской резины с внутренним диаметром 8мм. Воздух из под козырька через щель, несколько расширяемую от центра маски в стороны, равномерно направляется на переднюю ее стенку.

На передней стенке маски смонтирована на оси откидная рамка со светофильтром, имеющим снаружи защитное стекло. При поднятой рамке смотровое окно, площадью, в 4 раза превышающей габариты светофильтра, закрыто органическим стеклом, поверхностью которого для предотвращения образования царапин обработано лаком, изготовленным на основе кремнисто-органических соединений.

Электросварщик через смотровое стекло может свободно обозревать свариваемый участок, не откидывая всей маски, а благодаря наличию органического стекла и небольшого избыточного давления дышать чистым воздухом.

Чистый воздух, омывая переднюю стенку маски, на которой закреплено оргстекло, устраняет его запотевание, не охлаждая при этом кожаный покров лица.

По внутреннему периметру маски укреплена ткань (черная сарта), затягиваемая с помощью резинки по подбородку и щекам сварщика. Через этот мягкий материал избыточный воздух, включая и выдыхаемый сварщиком, свободно выходит наружу. Ткань, во избежание воспламенения от искры, обработана специальной огнеупорной пропиткой.

Кромке ткани, соприкасающейся с лицом, пристегивается заколками сменный чехол из марли. В случае перехода на новое рабочее место предусмотрен запас ткани, позволяющий полностью оттягивать маску поворотом на наголовнике.

Данная конструкция отличается незначительной концентрацией пыли, хорошим субъективным ощущением сварщика и самочувствием. Отсутствие выделение пота с кожи лица позволили применять маску с подачей воздуха при сварочных работах внутри котла цистерны.

Для защиты глаз и лица сварщиков и подсобных рабочих используются специальные щитки и маски. Для защиты глаз от ослепляющей видимой части спектра излучения, ультрафиолетовых и ультракрасных лучей в очках, щитках и масках должны примениться соответствующие конкретным условиям защитные светофильтры.

Для защиты глаз электросварщиков применяются щитки ЩЭУ универсального типа для электросварщиков. В связи с частыми профессиональными заболеваниями глаз подсобных рабочих для них применяются защитные маски МВЭ. Маска состоит из фибрового экрана, наголовника и фартука. На уровне глаз вмонтирована прямоугольная рамка с комплектом стекол: наружного бесцветного покровного и внутреннего двухцветного защитного светофильтра, позволяющего видеть при горящей и не горящей сварочной дуге. Фартук из кожевенного спилка защищает нижнюю часть лица и шею от брызг металла и излучения. Для защиты глаз крановщиков в сборочно-сварочных цехах рекомендуется применять защитные очки «Восход».

Для защиты головы электросварщиков следует обеспечивать защитными касками из токонепроводимых материалов.

Электросварщикам должны выдаваться защитные костюмы, рукавицы, спецобувь. Спецодежда должна быть прочной, огнестойкой, легкой, воздухопроницаемой, не электропроводимой, с малой усадкой. При повышении опасности поражения электрическим током сварщикам должны выдаваться диэлектрические перчатки, галоши и коврики. При плазменной обработке, потолочной сварке, работе в холодных условиях сварщикам выдают нарукавники, наколенники, подлокотники из огнестойких или теплозащитных материалов. Для защиты на сварщиков и подсобных рабочих от травм и ожогов применяют специальные ботинки с носками, защищенными металлическими пластинками, и боковой застежкой, исключающей попадание искр и капель расплавленного металла.

12. Определение экономического эффекта спроектированной цистерны

С созданием и использованием новой техники всегда связаны те или иные капитальные затраты. Заменять существующую технику более совершенной по техническим и эксплуатационным параметрам экономически целесообразно лишь тогда, когда рассматриваемый вариант обеспечивает максимальный экономический эффект по сравнению с альтернативным, либо при условии тождества полезного результата характеризуется минимальными затратами на его достижение.

Совершенствование эксплуатационной работы железных дорог, повышение её эффективности имеют важное значение для снижения транспортных затрат в народном хозяйстве. Исходные данные для расчета приведены в таблице 12.1.

Таблица 12.1 Исходные данные

Наименование показателя

Условное обозначение

Единица измерения

Величина по варианту




базовому

проектируемому

1

2

3

4

5

Тара вагона

Т

т/ваг

35,9

33,6

Грузоподъёмность

Р

т/ваг

44

54,4

Длина вагона по осям сцепления

LСЦ

м

12,02

14,0

Удельный объём котла

Vуд.кот

м3/т

1,68

1,60

Удельные объёмы грузов 1-го 2-го 3-го

Vгрi

м3/т

1,96 1,66 1,60

1,96 1,66 1,60

Срок службы вагона

ТСЛ

лет

40

40

Оптовая цена вагона

Цваг

руб/ваг

2352000

2210013,8


Метод расходных ставок

Готовые текущие издержки при использовании базовых и проектируемых цистерн для перевозки сжиженных газов определяются методом расходных ставок. Согласно этого метода необходимо определить величину эксплуатационных расходов на перевозку 1000км нетто как для базового, так и для проектируемого вагонов.

Для груженых поездов

1. Затраты вагоно-километров:

, (12.1)

где    - динамическая нагрузка гружёного вагона, т/ваг.

, (12.2)

где    - доля каждого вида груза в общем объёме перевозок в исследуемых цистернах;

 - дальность перевозки или гружёный рейс (км) i-го типа груза, можно принять в расчётах 1700км для всех наименований перевозимых грузов.

Статическая нагрузка вагона зависит от удельного объёма котла цистерны и удельного объёма груза перевозимого в цистернах и составляет:

, (12.3)

где    - удельный объём котла цистерны, т/м3;

Р - грузоподъёмность;

 - - удельный объём i-го груза, т/м3.

. Затраты вагоно-часов:

, (12.4)

1) при прохождении вагонов по участкам:

, (12.5)

где    - участковая скорость поездов,  км/ч.

) во время простоя под начальными и конечными грузовыми операциями:

, (12.6)

где    - дальность перевозок по сети,  км.

) во время простоя вагона на технических станциях с переработкой и без переработки:

. (12.7)

3. Затраты локомотиво-километров:

, (12.8)

где    - масса брутто грузового вагона;

, (12.9)

здесь - погонная нагрузка брутто, т/км;

м - длина станционных путей для установки локомотива.

. Затраты локомотиво-часов:

, (12.10)

5. Затраты бригадо-часов локомотивных бригад:

, (12.11)

6. Затраты тонно-километров вагонов и локомотивов:

. (12.12)

7. Затраты электроэнергии  на 1000 ткм нетто перевозок:

, (12.13)

где    - расход электроэнергии для тяги гружёных поездов 10000 ткм брутто рассчитывается по удельному расходу электроэнергии  на 1 ткм механической работы локомотива, которые принимаем с учётом фактического КПД локомотивов на уровне 4 кВт.ч., т.е.:

, (12.14)

здесь - затрата ткм механической работы локомотива на 1 ткм брутто;

, (12.15)

где    - основное удельное сопротивление движению состава, локомотива, кг/т;

, (12.16)

, (12.17)

здесь - осевая нагрузка вагона брутто, т/ось;

 - количество осей в вагоне, ;

 - ходовая скорость движения грузовых поездов на однопутных участках с электрической тягой на переменном токе, характеризующихся заданным типом профиля.

, (12.18)

где    ,

здесь N - мощность локомотива, равная 6240 кВт, для электровоза ВЛ80. 8. Затраты маневровых локомотиво-часов:

, (12.19)

9. Количество грузовых отправок:

, (12.20)

где    - масса грузовой отправки, принимаем равной массе поезда нетто;

, (12.21)

где    - погонная нагрузка нетто, т/м.

, (12.22)

Для порожних поездов

1. Затраты вагоно-километров:

, (12.23)

2. Затраты вагоно-часов:

, (12.24)

1) при прохождении вагонов по участкам:

, (12.25)

2) во время простоя вагона на технических станциях с переработкой и без переработки:

. (12.26)

3. Затраты локомотиво-километров:

, (12.27)

где    - число цистерн в порожнем составе;

. (12.28)

4. Затраты локомотиво-часов:

. (12.29)

5. Затраты бригадо-часов локомотивных бригад:

. (12.30)

6. Затраты тонно-километров вагонов и локомотивов:

. (12.31)

7. Затраты электроэнергии  на 1000 ткм нетто перевозок:

. (12.32)

где    кВт на 10000 ткм брутто.

. Затраты маневровых локомотиво-часов:

, (12.33)

Расходы на 1000 ткм нетто по каждому калькуляционному измерителю получают перемножением соответствующей расходной ставки на затрату измерителя для выполнения 1000 ткм перевозок.

Проссумировав по каждому варианту эксплутационные расходы на гружённые и порожние поезда, получаем величину зависящих расходов на 1000 ткм нетто. Условно - постоянные расходы можно принять в размере 100% к зависящим расходам базового варианта. Полная себестоимость 8П0Л определяется как сумма зависящих расходов и условно постоянных расходов, включаемых в себестоимость 1000 ткм нетто отдельно по каждому варианту.

Результаты расчётов для базовой и проектируемой цистерны сведены в таблицу 12.2.

Определяем годовую производительность вагона рабочего парка (базового и проектируемого).

, (12.34)

где    - среднесуточная производительность вагона рабочего парка.

, (12.35)

где    - среднесуточный пробег вагона,  км.

Подставив числовые значения в формулы (12.34) и (12.35) получаем

 ткм/ваг,

ткм/ваг.

Определяем коэффициент повышения производительности - К.

, (12.36)

Подставив числовые значения в формулы (12.36) получаем

.

Найдём стоимость проектируемой цистерны, зная стоимость базовой, стоимость их унифицированных частей и вес этих самых унифицированных частей.

р.; р.; т.

Находим тару котла базовой цистерны:

, (12.37)

 т.

Находим стоимость котла базовой цистерны:

, (12.38)

 р.

Определяем стоимость 1-ой тонны металлоконструкции:

, (12.39)

 р.

Определяем стоимость проектируемой цистерны:

, (12.40)

 р.

Определим капиталовложения на строительство новой цистерны:

, (12.41)

 р.

Определим чистые денежные потоки (ЧДП) от использования проектируемой цистерны, связанные с сокращением эксплуатационных затрат:

, (12.42)

где    - итоговые расходы на 1000 ткм нетто по базовой и проектируемой цистернам соответственно;

 - налог на прибыль, ;

 - дополнительные амортизационные отчисления;

, (12.43)

где    - период использования вагона,  лет;

 - дополнительный налог на имущество.

р,

, (12.44)

р,

 р.

Определим чистый дисконтированный доход от эксплуатации проектируемой цистерны:

, (12.45)

р.

i=0,15.

Таким образом внедрение предлагаемой конструкции цистерны обеспечивает экономический эффект в сумме 31513,8 руб. в год., за счёт экономии эксплуатационных затрат  и капитальных вложений .

Заключение

В проекте решалась задача по выбору линейных размеров 4-х осной цистерны для перевозки сжиженных газов. В результате расчётов были определены линейные размеры вагона, при которых обеспечивается получение максимальной погонной нагрузки нетто, для принятых в расчёте грузов. Определены напряжения в элементах котла от эксплуатационных нагрузок, выполнена оценка эффективности применения эластомерных поглощающих аппаратов и их расчет, оценка соответствия ходовых качеств вагона и элементов ударно-тяговых устройств требованиям «Норм», а также произведен расчёт прочности элементов ходовых частей вагона, расчёт устойчивости от выжимания вагона продольными силами и от опрокидывания наружу кривой.

Экономический эффект за счёт снижения эксплутационных расходов и единовременных затрат.

В данном дипломном проекте также отражены мероприятия по охране труда, при сварочных работах, а также приведены классификация и меры по ликвидации аварийных ситуаций с опасными грузами.

Список использованной литературы

1.  Конструирование и расчет вагонов. Лукин В.В., Шадур Л.А., Котуранов В.Н., Хохлов А.А., Анисимов П.С., М.: УМК МПС России, 2000.

.    Основы проектирования грузовых вагонов. Методические указания. Жданов В.Н., М: МИИТ, 2000.

.    Специализированные цистерны для перевозки опасных грузов. Справочное пособие. М.: Издательство стандартов, 1993.

.    Инструкция по безопасной эксплуатации вагонов-цистерн для перевозки сжиженных углеводородных газов и легкого углеводородного сырья. Вагоностроительный завод «Свидница», 1989.

.    Пути повышения безопасности перевозки опасных грузов. Филиппов В.Н., 2000.

.    Автоматические тормоза подвижного состава. Крылов В.И., Крылов В.В., М., «Транспорт», 1977.

.    Расчет экономического эффекта. Методические указания. Канивец Р.Ф., Гиричева В.А., М.: МИИТ,2004.

.    Охрана труда на железнодорожном транспорте. Справочная книга. Крутяков B.C., M.: Транспорт, 1987.

.    Гражданская оборона на железнодорожном транспорте. Юрпольский Ю.В.

.    Справочные материалы по оценке обстановки в чрезвычайных ситуациях. Методические указания. Ботоев Б. Б., Романов В.Г., Рубцов Б.Н., М.: МИИТ,1996.

Похожие работы на - Выбор линейных размеров 4-осной цистерны для перевозки сжиженных газов

 

Не нашли материал для своей работы?
Поможем написать уникальную работу
Без плагиата!
Без нейросетей!