Гидрооочистка дизтоплива

  • Вид работы:
    Дипломная (ВКР)
  • Предмет:
    Химия
  • Язык:
    Русский
    ,
    Формат файла:
    MS Word
    153,86 Кб
  • Опубликовано:
    2014-05-05
Вы можете узнать стоимость помощи в написании студенческой работы.
Помощь в написании работы, которую точно примут!

Гидрооочистка дизтоплива

Введение

Важнейшей задачей нефтеперерабатывающей промышленности является углубление переработки нефти, ускоренное развитие автомобильных, дизельных и других видов топлив, сырья для нефтехимии на основе использования новых эффективных катализаторов и адсорбентов, современного высокопроизводительного оборудования, внедрения принципа комбинирования процесса в составе единой установки повышенной мощности.

Каталитический крекинг - термокаталитическая переработка нефтяных фракций с целью получения компонента высокооктанового бензина, легкого газойля и непредельных жирных газов.

Каталитический крекинг - один из важнейших процессов, обеспечивающих глубокую переработку нефти. Внедрению каталитического крекинга в промышленность в конце 30-х гг. 20 в. (США) способствовало создание эффективного с большим сроком службы катализатора на основе алюмосиликатов (Э. Гудри, 1936 г.).

Основное достоинство процесса - большая эксплуатационная гибкость: возможность перерабатывать различные нефтяные фракции с получением высокооктанового бензина и газа, богатого пропиленом, изобутаном и бутенами; сравнительная легкость совмещения с другими процессами, например, с алкилированием, гидрокрекингом, гидроочисткой, адсорбционной очисткой, деасфальтизацией и т.д. Такой универсальностью объясняется весьма значительная доля каталитического крекинга в общем объёме переработки нефти.

Актуальность проекта. Для глубокой переработки нефти решающее значение имеет процесс каталитического крекинга, позволяющий из разнообразного малоценного тяжелого сырья получать высооктановые бензины, сырье для нефтехимии и алкилирования, производства технического углерода и кокса.

Практическая значимость. Повышение выработки моторных топлив на единицу перерабатываемой нефти требует опережающего развития вторичных каталитических процессов, позволяющих углубить переработку нефти и производить дополнительные количества светлых нефтепродуктов из фракций мазута.

Радикальное улучшение процесса каталитического крекинга связано с внедрением цеолитсодержащих катализаторов. Технология этого процесса является весьма гибкой, и при необходимости позволяет в широких пределах

варьировать выход продуктов с целью повышения производства наиболее желательного из них. Высокая эффективность каталитического крекинга, надежность использованного оборудования и возможность создания автоматизированных установок большой мощности обуславливают широкое внедрение в нефтеперерабатывающей промышленности и создают благоприятные условия для дальнейшего использования [2].

Целью проекта является - модернизация узла ввода сырья, позволяющая достичь эффективной работоспособности установки.

Задачи исследования:

изучить:

технологию установки каталитического крекинга с прямоточным лифт-реактором;

характеристику продуктов секции «Каталитического крекинга» комбинированной установки глубокой переработки мазута КТ-1 ТОО «ПНХЗ».

Объект исследования: установка каталитического крекинга комбинированной установки КТ-1 ТОО «ПНХЗ».

Научная новизна исследования. Внедрение сырьевых форсунок с камерой предварительного диспергирования.

Практическая значимость работы. Технический результат - улучшение селективности процесса по образованию кокса и сухого газа, увеличение выхода бензина.

1. Технико-экономическое обоснование проектируемой установки

крекинг каталитический мазут

Правильное решение задачи выбора пункта строительства оказывает существенное влияние на экономику строительства, определяя его продолжительность и стоимость, а также издержки по эксплуатации после ввода в строй объекта. При обосновании выбора пунктов строительства, влияние различных факторов необходимо учитывать таким образом, чтобы выбранный пункт наиболее полно отвечал их требованиям, т.е. обеспечивал максимальное приближение к сырьевым, энергетическим, водным ресурсам, к местам потребления готовой продукции, использование наиболее эффективных транспортных средств и энергетических источников, требующих небольших капитальных затрат и другие.

Для выбора площадки строительства завода основными исходными показателями служат: площадь застройки, суточный грузооборот предприятия, максимальный расход воды (в м3/ч), годовой и максимальный часовой расход электрической и тепловой энергии, суточный сброс сточных вод и их характеристика.

После распада СССР в Республике Казахстан Павлодарский нефтехимический завод является единственным, который перерабатывает импортируемую из Российской Федерации нефть с месторождений Западной Сибири. Казалось бы, ПНХЗ не выдержит конкуренции с аналогичными заводами в городах Чимкенте и Атырау, перерабатывающих казахстанскую нефть, которая дешевле и доступней. Но Западно-Сибирская нефть обладает такими свойствами, как: малое содержание сернистых соединений и парафиновых углеводородов, которые позволяют получать нефтепродукт качественней, чем из Казахстанских нефтей. Кроме того, такие продукты, как самолётное топливо марки ТС - 1, ракетное топливо марки РТ и прочее топливо для реактивных и турбо-реактивных двигателей должного качества могут быть получены именно из смеси Западно-Сибирских нефтей. Таким образом, ПНХЗ является единственным в Республике Казахстан производителем качественных авиационных керосинов [6].

Всё вышеизложенное делает Павлодарский нефтехимический завод не только конкурентоспособным, но и лидирующим предприятием по качеству изготавливаемых нефтепродуктов, а его выгодное географическое положение - расположение рядом с Екибастузским угольным бассейном и Екибастузским ГРЭС, вырабатывающими самую дешёвую электрическую энергию в Республике Казахстан, лишь упрочняет его лидерство среди нефтеперерабатывающих заводов республики. Сравнивая основные свойства продукции, выпускаемой базовым предприятием и с другими в ближнем и дальнем зарубежье, можно утверждать, что данное производство может конкурировать на рынке сбыта. Данные сведены в таблицу 4.

Проектируемая установка каталитического крекинга - составная часть комбинированной установки глубокой переработки мазута КТ - 1, которая является в настоящее время наиболее современной и технически совершенной установкой глубокой переработки нефти по топливному варианту. В её состав входят следующие блоки:

вакуумной перегонки мазута;

гидроочистки сырья каталитического крекинга;

каталитического крекинга и ректификации;

абсорбции и газофракционирования;

очистки дымовых газов.

Таблица 1.1 - Сравнительная характеристика качества продукции, выпускаемой базовым предприятием и конкурентами в ближнем зарубежье

Наименование показателей

ГК-3

1А/1М

Г-43107М/1

Г-43-107


ОАО «Ангарский НХК»

ОАО «Уфа-нефтехим»

Уфимский НПЗ

Павлодарский НПЗ

Выход бензина (С5-205°С), % масс.

52,0

50,8

55,0

48,6

Октановое число бензина:





м.м.

82,5

81,5

82,5

82,9

и.м.

93,5

92,5

93,5

92,7


Комбинирование отдельных установок в единый технологический комплекс усложняет его эксплуатацию, требует от обслуживающего персонала высокой профессиональной подготовки. Значительно возрастает также «цена» простоя оборудования в случае производственных неполадок в любом из звеньев технологической цепи. Однако это в полной мере окупается явными преимуществами комбинирования, в сравнении с комплексом отдельно стоящих установок:

сокращение площади строительства в 3 раза;

снижение общих капиталовложений на 36,2%;

сокращение численности обслуживающего персонала и, следовательно, увеличение производительности труда.

Входящая в состав комплекса установка каталитического крекинга Г43-107 является наиболее совершенной из всех установок каталитического крекинга, так как выявляет все преимущества цеолитсодержащих катализаторов.

Введение этого типа установки позволяет:

увеличить выход целевых продуктов процесса;

улучшить экономические характеристики процесса [7].

2. Литературный обзор

Каталитический крекинг - процесс каталитического деструктивного превращения разнообразных нефтяных фракций в моторные топлива, сырье для нефтехимии и алкилирования, производства технического углерода и кокса. Целевым назначением процесса является получение высококачественного бензина с октановым числом (в чистом виде) 90-92 по исследовательскому методу. При каталитическом крекинге образуется значительное количество газа, богатого бутан-бутиленовой фракцией (сырье для производства высокооктанового компонента бензина-алкилата). Установки каталитического крекинга являются также поставщиком сырья для химической промышленности: из газойлей каталитического крекинга получают сажевое сырье и нафталин; тяжелый газойль может служить сырьем для производства высококачественного «игольчатого» кокса.

Для обеспечения максимального выхода целевых продуктов и минимального количества побочных, а также для достижения высоких технико-экономических показателей процесса, катализатор крекинга должен иметь следующие основные свойства:

- высокую активность, способствующую большей глубине превращения исходного сырья при прочих равных условиях;

- высокую селективность, которая оценивается способностью катализатора ускорять реакции получения бензина и снижать скорость побочных реакций: образования газа и кокса;

стабильность [2].

Стабильность активности, селективности и механических свойств катализатора в процессе эксплуатации особенно важна в системах с кипящим слоем катализатора. Катализатор должен быть стойким к истиранию, растрескиванию и давлению вышележащих слоев, а также не должен истирать аппаратуру;

высокие регенерационные свойства, характеризующиеся способностью быстро и многократно восстанавливать свою активность и селективность при окислительной регенерации без нарушения поровой структуры и разрушения частиц.

Заложенный в проекте микросферический цеолитсодержащий катализатор в значительной степени отвечает всем перечисленным требованиям, предъявляемым к современным катализаторам крекинга.

Химический и фракционный состав сырья крекинга оказывает значительное влияние на процесс каталитического крекинга.

С целью улучшения качества сырья каталитического крекинга в состав комплекса введена предварительная гидроочистка сырья, что позволяет полностью исключить влияние колебаний в изменении качественного состава сырья на результаты процесса крекинга и стабилизировать работу реакторно-регенераторного блока [3].

Процесс с применением гидроочищенного сырья протекает более глубоко и селективно, в результате чего возрастает абсолютный выход бензина и снижается выход кокса [2].

Отличительной особенностью продуктов крекинга, полученных при переработке гидроочищенного сырья, является низкое содержание в них серы, это исключает дополнительные затраты по их гидрооблагораживанию.

Промышленные установки каталитического крекинга, различают по организации процесса:

1) Периодические (реакторы Гудри). Через нагретый стационарный слой катализатора пропускают сырье и после того как он закоксуется реактор ставят на регенерацию;

2)      Непрерывной регенерации. Из реактора выводится закоксованный катализатор, с поверхности которого выжигается кокс в отдельном аппарате и возвращается в реактор. После регенерации катализатор сильно нагрет, чего хватает для процесса крекинга, поэтому процесс каталитического крекинга не нуждается в подводе внешнего тепла.

Установки непрерывной регенерации подразделяются:

1) Реакторы с движущимся слоем катализатора. Слой шарикового катализатора движется сверху вниз по реактору навстречу поднимающимся парам сырья. При контакте происходит крекинг, катализатор через низ отправляется на регенерацию, продукты на разделение. Регенерация протекает в отдельном аппарате с помощью воздуха; при этом выделяющееся при сгорании кокса тепло используют для генерации пара. Типовая установка - 43-102.

2)      Реакторы с кипящим слоем катализатора. Микросферический катализатор витает в потоке паров сырья. По мере закоксовывания частицы катализатора тяжелеют и падают вниз. Далее катализатор выводится на регенерацию, которая проходит также в кипящем слое, а продукты идут на разделение. Типовые установки - 1-А/1М, 43-103.

)        Реакторы с лифт-реактором. Нагретое сырье в специальном узле ввода диспергируется и смешивается с восходящим потоком катализатора в специальном узле. Далее смесь катализатора и продуктов крекинга разделяется кипящем слое в сепараторе специальной конструкции. Остатки продуктов десорбируются паром в десорбере. Время контакта сырья и катализатора составляет несколько секунд. Типовая установка - Г-43-107.

)        Миллисеконд. Характерная особенность процесса - отсутствие лифт-реактора. Катализатор поступает в реактор нисходящим потоком, в катализатор перпендикулярно направлению его движения впрыскиваются пары сырья. Общее время реакции составляет несколько миллисекунд, что позволяет (повысив соотношение катализатор: сырье) добиться повышения выхода бензиновой фракции вплоть до 60-65%

На данный момент наиболее совершенными являются лифт-реакторы. Выход бензина на них составляет 50-55% с октановым числом 91-92,5, тогда как у реакторов с кипящим слоем выход бензина 49-52% с октановым числом 90/92,5.

Промышленные установки каталитического крекинга 43-102, термофор, Гидрифлоу с циркуляцией крупногранулированного катализатора включает блоки реакторно-регенераторный и нагревательно-фракционирующий. Достоинство системы каталитического крекинга с крупногранулированным катализатором является равномерное контактирование всех катализаторных частиц с углеводородными парами в зоне реакции и с воздухом в зоне регенерации, что приводит к одинаковой закоксованности всей массы катализатора после реактора и к одинаковому содержанию остаточного кокса на катализаторе после регенерации. В результате продолжительного пребывания катализатора в реакторе и регенераторе температурный режим реакторного блока довольно стабилен, и его регулирование облегчается.

Недостатком установок описанного типа являются ограниченные возможности системы пневмотранспорта крупногранулированного катализатора. Высокий удельный расход транспортирующего газа (не менее 1 кг на 20 кг катализатора) не позволяет иметь установок большой мощности: максимальная пропускная способность установок такого типа не превышает 4000-5000 т в сутки. Из-за длительного времени пребывания катализатора в реакционной зоне цеолитный катализатор используется в этой системе недостаточно эффективно [4-5].

Для крекинга в псевдоожиженном слое используют катализатор в виде частиц неправильной формы (пылевидный) или в виде мельчайших шариков (микросферический). В обоих случаях размеры частиц составляют 10-120 мкм. Каталитический крекинг в псевдоожиженном слое значительно более распространен, чем крекинг в движущемся слое крупногранулированного катализатора. Распространенность этого процесса объясняется его большой гибкостью, позволяющей перерабатывать разнообразное сырье и проектировать установки мощностью от нескольких сотен до 10-15 тыс. т в сутки. Для регенерации катализатора требуется более простое конструктивное оформление. В некоторых случаях обходятся без трубчатых печей: тепло, выделяющееся при регенерации, полностью используют для подогрева и крекинга сырья.

Внедрение цеолитсодержащих катализаторов внесло значительные изменения в устройство реакторного блока. Высокая активность цеолитов заставила отказаться от традиционного псевдоожиженного слоя и использовать реакторы лифтного типа или комбинировать их с псевдоожиженным слоем. Можно назвать следующие модификации процесса на цеолитных катализаторах:

1)   крекинг в одном лифт-реакторе;

2)      крекинг в двух лифт-реакторах;

3) последовательный крекинг в лифт-реакторе и в псевдоожиженном слое;

4)      крекинг в лифт-реакторе и параллельно в лифт-реакторе и в псевдоожиженном слое.

Некоторые из этих вариантов представлены на рисунке 1. Практически все эксплуатируемые ранее установки с псевдоожиженным слоем подверглись реконструкции. На рисунке 2а бывший реактор состоит только из отстойной и отпарной зон, а вся реакция протекает в пневмоподъемнике. На рисунке 2б свежее сырье крекируется в лифтном реакторе, но реакция завершается в псевдоожиженном слое, уровень которого зачительно ниже, чем на старых установках. На рисунке 2б и в свежее сырье и рециркулят подают по разным линиям: продукты крекинга свежего сырья быстро отделяются от катализатора и через циклоны уходят из отстойной зоны, а крекинг рециркулята завершается в псевдоожиженном слое.

На нефтеперерабатывающих заводах в основном эксплуатируются установки каталитического крекинга 1-А/1-М и комбинированные установки переработки типа ГК. На одном из заводов работает установка 43-103, а для перспективного внедрения создана установка Г-43-107 [3], в состав которой входят следующие блоки: гидроочистка вакуумного дистиллята, каталитический крекинг, ректификация и газофракционирование продуктов крекинга.

  

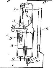
- реактор-сепаратор катализатора; 2 - отпарная секция; 3 - регенератор; 4 - лифт-реактор свежего сырья; 5 - лифт-реактор реуциркулята;

I - сырье; II - воздух; III - водяной пар; IV - продукты реакции; V - рециркулят из колонны; VI - дымовые газы

Рисунок 1 - Варианты реакторов лифтного типа

Учитывая все плюсы и минусы вышерассмотренных промышленных установок каталитического крекинга. Нами было принято решение за основу реакторного блока выбрать схему каталитического крекинга по типу установок Г43-107 с прямоточным лифт-реактором с псевдоожиженным слоем микросферического катализатора, так как он является перспективной в крупнотоннажном производстве. В качестве технологической базы для расчётов дипломного проекта была принята установка каталитического крекинга КТ-1 Павлодарского нефтехимического завода (ПНХЗ).

По технологическому и конструктивному решению эта установка является более эффективной модификацией по сравнению с существующими на сегодняшний день моделями [4]. Отличительные особенности: применение прямоточного лифт-реактора, что позволяет отделять продукты реакции от катализатора; использование более совершенного вертикально-секционированного регенератора, упрощенной системой транспортных линий и возможности регулирования потоков. Такие усовершенствования увеличили эффективность и надежность работы реакторно-регенераторного блока.

Пути усовершенствования процесса

Несмотря на более чем многолетнюю историю процесса каталитического крекинга задача совершенствования его технологического и аппаратурного оформления остается весьма актуальной. Применительно к отечественным установкам каталитического крекинга актуальность этой задачи обуславливается необходимостью увеличения продолжительности межремонтного пробега с уже достигнутых двух до 4-5 лет. Наиболее важный аспект этой задачи - повышение надежности применяемых технологий и оборудования, а также эффективности самого процесса.

В последние несколько лет на основе научно-исследовательских работ ученых осуществляется реконструкция реакторного блока установок каталитического крекинга ГК-3 Ангарской нефтехимической компании, 1-А/1-М ОАО «Уфанефтехим», Г-43-107М1 Уфимского и Лисачанского НПЗ.

Объектом пристального внимания исследователей является, прежде всего, узел смешения сырья с катализатором и системы выделения катализатора из реакционного потока. И это понятно, учитывая необходимость жесткого ограничения контакта катализатора с сырьем, в значительной мере определяющего результат процесса.

Разработана конструкция циклона грубой очистки, где осуществляется отделение отработанного катализатора от продуктов крекинга с эффективностью 99%. В выводной патрубок циклона грубой очистки подается легкий газойль в количестве, обеспечивающем снижение температуры в сепарационной зоне реактора до величины, при которой исключается развитие термических реакций крекинга. Благодаря этим техническим решениям протекание неселективных вторичных реакций в сепарационной зоне сводится к минимуму [4].

Подобное конструктивное решение использовано в реакторном блоке установки каталитического крекинга Ангарской нефтехимической компании.

Новшества в области реконструкции десорбера привели к применению двухступенчатой отпарки катализатора, что позволяет повысить селективность образования целевых продуктов при снижении содержания водорода в коксе до 6-7% масс. На первой стадии отпарки осуществляется быстрое удаление увлеченных углеводородов, находящихся в пространстве между частицами катализатора, что позволяет предупредить их перекрекирование с образованием газа и кокса. Это достигается локальной подачей водяного пара непосредственно под выходным отверстием пылевозвратного стояка циклона. На второй стадии отпарки осуществляется удаление адсорбированных углеводородов в отпарной камере, оборудованной конусными каскадными элементами, конструкция которых обеспечивает эффективное перекрестное контактирование водяного пара и катализатора [5].

Микроскопические размеры частиц катализатора обусловили высокие требования к степени диспергирования сырья практически до газообразного состояния. С этой целью в нижней части лифт-реактора установлены форсунки типа сопло Вентури. Практика показала, что даже они не обеспечивают образование тонкодисперсного и однородного сырья, что сказывается на результатах процесса.

Новизна, предлагаемая в проекте

Нами была предложена схема реконструкции основного узла ввода сырья процесса каталитического крекинга - внедрение сырьевых форсунок с камерой предварительного диспергирования.

Разработанная на основе многолетнего промышленного опыта последняя модификация сырьевой форсунки включает в качестве основных элементов камеру предварительного диспергирования сырья и сопло Вентури с щелевым распределительным наконечником, изображенная на чертеже реактора каталитического крекинга.

Изобретение относится к области нефтепереработки углеводородного сырья и может быть использовано для увеличения выработки моторных топлив. Изобретение касается способа каталитического крекинга углеводородного сырья на мелкодисперсном катализаторе с получением целевых продуктов. Сущность предлагаемого изобретения заключается в следующем. Предварительное диспергирование жидкого сырья осуществляют путем обработки в зоне смешения потока сырья, подаваемого из сырьевой линии соосно зоне смешения, высокоскоростными струями водяного пара, подаваемыми из кольцевого пространства вокруг зоны смешения радиально к центру поперечного сечения потока сырья, что обеспечивает повышение эффективности диспергирования сырья за счет взаимного дробления капель во встречных радиально ориентированных струях. Поток сырья из сырьевой линии подают в зону смешения по расширяющемуся коническому каналу с углом расширения 24-55°, со средней линейной скоростью на входе в зону смешения 1,9-4,2 м/с, отношение средней линейной скорости потока сырья в зоне смешения к линейной скорости потока в сырьевой линии составляет 0,2-0,6.

Установка после камеры предварительного диспергирования камеры дополнительного диспергирования, выполненной в виде трубы Вентури, позволяет измельчить образованные капли и предотвратить расслоение паросырьевого потока. Установка наконечника форсунки с щелевым отверстием способствует получению в распыленном сырье близких по размеру капель минимального среднего диаметра. Однородное и тонкое диспергирование сырья в прямоточном реакторе обеспечивает быстрое испарение всех его компонентов, что в конечном итоге сводит к минимуму термические реакции с высоким коксо- и газообразованием и способствует увеличению выхода целевых продуктов в процессе каталитического крекинга.

Сырьевые форсунки последней модификации эксплуатируются на четырех установках каталитического крекинга. Их применение позволило повысить выход бензина на 1,5-3,0% масс. Данная разработка была предложена учеными Б.З. Соляр, Л.Ш. Глазов в 2005 году [4-5].

Технический результат - улучшение селективности процесса по образованию кокса и сухого газа, увеличение выхода бензина за счет обеспечения более однородного и тонкого диспергирования сырья.

3. Технологическая часть

Физико-химические основы процесса

Сущность процесса каталитического крекирования углеводородов основана на расщеплении высокомолекулярных компонентов сырья на более мелкие молекулы с перераспределением освобождающихся по месту разрыва связи «углерод-углерод» водорода.

В итоге образуется газ, бензин, и кокс, отлагающийся на поверхности катализатора.

Наиболее типичными компонентами сырья каталитического крекинга являются парафиновые углеводороды, при крекинге которых доминируют разложения [6]

С16Н34 ® С8Н18 + С8Н16 (3.1)

Наиболее часто разрыв молекулы парафинового углеводорода происходит по средней ее части.

Термическая стабильность парафинов понижается с увеличением молекулярного веса углеводородов. При крекинге парафиновых углеводородов нормального строения протекают и вторичные реакции с образованием ароматических углеводородов и кокса. Изопарафиновые углеводороды крекируются легче [6].

Водорода и метана при этом получается больше, чем при крекинге нормальных парафинов, а углеводородов С3 и С4 меньше.

Нафтеновые углеводороды являются идеальными компонентами сырья каталитического крекинга, так как крекинг нафтенов идет с большими скоростями, с более высоким выходом бензина и меньшим газообразованием.

Большой интерес для технологии каталитического крекинга представляет поведение ароматических углеводородов. Крекинг ароматических углеводородов сопровождается их деалкилированием и конденсацией.

(CН2)5-СН3 ® СН2-СН3+СН3-СН2-СН=СН2, (3.2)

СН2-СН2-СН3 ® +СН3-СН2-СН2-СН2-СН2-СН3. (3.3)

Между молекулами ароматических углеводородов или между ароматическими и олефиновыми протекают реакции конденсации, в результате которых образуется полициклическая ароматика вплоть до асфальтена и кокса.

Поэтому при переработке сырья со значительным содержанием полициклической ароматики образуется значительно больше кокса, чем при переработке сырья, содержащего моноциклические ароматические углеводороды.

Крекинг олефинов, образующихся в результате расщепления парафиновых, нафтеновых, ароматических, а также самих олефиновых, является вторичной реакцией. Возможность изомеризации олефинов позволяет получать бензин с более высоким октановым числом с одновременным увеличением выхода изобутана. Полимеризация олефинов также является важной реакцией процесса, поскольку в сочетании с последующим крекингом, приводит к образованию олефинов и парафинов

СН2=СН2+СН2=СН2 ® СН3-СН=СН-СН3 (3.4)

Однако глубокая полимеризация ведет к образованию тяжелых продуктов, абсорбирующихся и разлагающихся на катализаторе на кокс и газ.

Для крекинга нефтяных фракций практически невозможно описать все химические реакции, и поэтому ограничиваются рассмотрением схем, учитывающих основные направления и результирующий эффект крекинга с использованием различной группировки реагирующих веществ, например схема рисунок 2.

Рисунок 2 - Схема группировки реагирующих веществ

где Пт, Нт, Ал, Ат - соответственно парафины, нафтены, ароматические и алифатические заместители алкилароматических углеводородов в тяжелом газойле (выше 340°С);

Пл, Нл, Ал, Ал-то же для фракции 220-340°С;

Б - бензиновая фракция С5 - 220°С;

Г - углеводороды С1 - С4;

К - кокс.

Обычно одним из лучших критериев интенсивности побочных реакций является отношение выходов бензина и кокса. Высокое отношение указывает на преобладание желательных реакций (при условии сохранения высокого октанового числа бензина). Низкое отношение указывает на интенсивное протекание побочных реакций [7].

На основании вышеизложенного можно сделать следующие выводы:

тяжелое сырье дает большой выход бензина и меньший выход газа;

ароматическое сырье дает наибольший выход кокса и наименьший выход бензина;

нафтеновое сырье дает лучший выход бензина и наименьший выход кокса в сравнении с ароматическим и парафиновым сырьем;

низкокипящее сырье позволяет получить высокооктановый бензин, высококипящее - низкооктановый;

сырье с высоким содержанием серы дает низкооктановый бензин;

сырье с очень высокой температурой кипения и значительным содержанием кокса по Конрадсону дает высокий выход кокса, ограничивающий мощность секции из-за чрезмерной перегрузки регенератора.

Основными факторами, влияющими на процесс каталитического крекинга, являются: свойства применяемого для крекирования катализатора, температура процесса, кратность циркуляции катализатора, продолжительность контакта сырья и катализатора, качество крекируемого сырья.

Увеличение объемной скорости подачи сырья в реактор понижает глубину превращения сырья, т.к. уменьшается время контактирования углеводородных фракций с катализатором и приводит к снижению выхода кокса. Температура в реакторе - наиболее общий параметр, влияющий на выход бензина, октановое число и конверсию. Повышение температуры в реакторе увеличивает конверсию, выход кокса и повышает температуру в регенераторе. По результатам исследований установлено, что увеличивая температуру в реакторе на 10°С можно повысить октановое число (ИОЧ) на 0,7-1,8 п., однако, повышая октановое число бензина, снижается выход бензина и увеличивается выход сухого газа и, при повышении температуры в реакторе до 540°С значительно возрастает скорость вторичных реакций. Повышение температуры в реакторе в большей степени влияет на увеличение октанового числа тяжелых бензинов, т.к. рост температуры в реакторе способствует в большей мере образованию олефинов в тяжелых бензинах.

Кратность циркуляции - соотношение потоков катализатора и сырья влияет на глубину разложения сырья и выход основных продуктов крекинга и, изменяется в пределах от 5:1 до 10:1. При увеличении кратности циркуляции повышается глубина разложения сырья, растет выход бензина, увеличивается процент отложения кокса на катализаторе, но при чрезмерном увеличении кратности циркуляции резко возрастает разложение целевых продуктов, выход бензина падает, а количество кокса и газа увеличивается.

Температура ввода сырья в реактор определяется из теплового баланса реактора-регенератора и влияет на изменение кратности циркуляции катализатора. С увеличением температуры ввода сырья в реактор, температура в зоне выжига кокса регенератора увеличивается и понижается кратность циркуляции. Пониженная температура подогрева сырья увеличивает конверсию и снижает температуру регенератора. При пониженной температуре значительно увеличивается выход кокса и повышается циркуляция катализатора.

Направление шлама в реактор позволяет повысить эффективность процесса крекинга, сделать более гибкой регулировку температурного режима системы реактор-регенератор за счет увеличения коксовой нагрузки на регенератор. Увеличение подачи шлама в реактор может быть вызвано необходимостью замыкания теплового баланса системы реактор-регенератор при относительно низком выходе кокса.

С увеличением высоты кипящего слоя в реакторе увеличивается глубина превращения, выход кокса и температура регенерации катализатора. Содержание кислорода в дымовых газах, расход шлама в реактор понижается.

Характеристика производимой продукции проектируемой установки

Сырье. Смесь гидроочищенного вакуумного дистиллята (фр. 350-500°С) С-100 и затемненного продукта (фр. 450-500°С) пред узлом подачи сырья в Р-1. Плотность при 20°С 895-930 кг/м3. Фракционный состав: начало кипения не нормируется; выход фракции до 350°С н.б. 10% об.; 50% перегоняется при температуре н.м. 400°С; выход до 500°С не нормируется. Коэффициент рефракции при 20°С не нормируется. Содержание серы н.б. 0,5% вес. Содержание металлов н.б. 6,0 ррm. (суммарно NI+V). Коксуемость н.б. 0,6% масс. Цвет, ед. ЦНТ не нормируется. Содержание механических примесей н.б. 0,02% масс. Содержание воды следы. Используется в качестве сырья каталитического крекинга. Количество добавленной затемненной фракции составляет до 10% вес на основной поток сырья.

Гидроочищенный вакуумный дистиллят (фр. 350-500°С) С-100. Основной поток сырья каталитического крекинга. Плотность при 20°С 895-920 кг/м3. Фракционный состав: начало кипения °С не нормируется; выход фракции до 350°С н.б. 10% об.; 50% перегоняется при температуре н.м. 400°С; выход до 500°С % об. не нормируется. Коэффициент рефракции при 20°С составляет 1,485-1,5. Содержание серы н.б. 0,30% вес. Содержание металлов н.б. 15ррm (суммарно Ni+V). Коксуемость н.б. 0,3% масс. Цвет ед. ЦНТ н.б. 7. Содержание механических примесей н.б. 0,02% масс. Содержание воды следы.

Затемненный продукт С-001 КТ (фр. 450-500°). Плотность при 20°С 930 кг/м3. Фракционный состав: содержание фракции до 500°С н.б. 70% об. Коксуемость н.б. 8,0% вес. Содержание металлов (никель, ванадий) н.б. 15ррm.

Затемненный продукт установки производства битумов (фр. 450-500°).

Плотность при 20°С 930 кг/м3. Коксуемость н.б. 3,0% вес. Цвет, ед. ЦНТ н.б. 8с/р. Используется как компонент сырья каталитического крекинга. Подается в реактор Р-1 через отдельную форсунку на отметку 11 метров, или вовлекается в поток гидроочищенного вакуумного газойля после теплообменникаТ-2.

Бензин стабильный (с установки замедленного коксования) Плотность при 20°С 740 кг/м3. Фракционный состав: начало кипения н.м. 35°С; конец кипения н.б. 205°С. Испытание на медной пластинке выдержаны. Содержание серы н.б. 0,8% масс. Октановое число 60-65 пунктов. Концентрация фактических смол, мг в 100 см3 топлива не нормируется. Используется как компонент сырья каталитического крекинга, подается в реактор Р-1 через отдельную форсунку на отметке 23 метра или в К-1 на 25 тарелку.

Нестабильный бензин С-100 КТ-1 (фр. Н.К. 180°С). Плотность при 20°С 720-730 кг/м3. Фракционный состав: температура начала кипения, °С не нормируется. Содержание серы н.б 1,5% масс. Используется как компонент сырья каталитического крекинга, подается в реактор Р-1 через отдельную форсунку на отметке 23 метра или в К-1 на 25 тарелку.

Продукты. Жирный газ. Плотность при 20°С не нормируется. Компонентный состав, % масс: сумма С5 и выше н.б. 20. Используется как сырье секции абсорбции и газофракционирования (С-300)

Нестабильный бензин. Фракционный состав: температура начала перегонки °С не нормируется. 90% перегоняется при температуре н.б. 180-190°С; конец кипения н.б. 210-220°С; остаток в колбе н.б. 1,5%. Используется в качестве сырья С-300. При одновременной работе установок риформинга и каталитического крекинга допускается получение компонента автомобильного бензина с установки крекинга утяжеленного фракционного состава, для увеличения производства бензина А-76 в условиях завода.

Фракция 195-270°. Плотность при 20°С 940 кг/м3. Фракционный состав: начало кипения н.м. 180°С; конец кипения н.б. 320-360°С. Испытание на медной пластинке выдержаны. Содержание серы н.б. 0,7% вес. Содержание воды отсутствует. Температура вспышки в закрытом тигле н.м. 80°С. Температура застывания н.в. -10°С. Используется как базовый компонент топлива печного бытового, пылесвязывающего средства «Универсин-С».

Вовлекается в сырье С-100 КТ-1 (до 15% _асс. На сырье) с целью получения компонента дизельного топлива летнего. Разрешается вовлекать фр. 195-270°С в количестве до 2% масс. На общий поток дизельного топлива завода для получения дизельного топлива летнего.

Фракция 270-420°С (компонент технического углерода, ароматизирующая добавка к сырью висбрекинга). Плотность при 20°С н.б. 995 кг/м3. Содержание воды н.б. 0,2% масс. Содержание механических примесей н.б. 0,03% масс. Частично используется как добавка к сырью висбрекинга с целью уменьшения коксообразования в трубах печей или вовлекается как компонент в сырье для производства технического углерода, игольчатого кокса. Используется как компонент котельного топлива.

Сырье для производства технического углерода (смесь фр. 270-420°С и фр>420°С). Является сырьем для производства технического углерода.

Таблица 3.1 - Показатели качества сырья для производства технического углерода

Показатели качества

А

Б

В

Плотность при 20°С, кг/м3, н.н.

1000

998

995

Индекс корреляции, н.н.

100

98

95

Фракционный состав:




Окончание таблицы 3.2




- 50% перегоняется при температуре, °С, н.в.

410

410

410

Показатели качества

А

Б

В

- масс. доля серы, % масс., н.б.

3,0

3,0

3,0

Коксуемость, % вес., н.б.

2,0

2,0

2,0

Кинематическая вязкость при 50°С, сСт., н.б.

25

25

25

Содержание воды, % масс., н.б.

0,2

0,2

0,2

Температура застывания, °С, н.в.

25

25

25

Содержание механических примесей, % масс, н.б.

0,03

0,01

0,01



Сырье для производства игольчатого кокса (смесь фр.>420°С и фр. 270-420°С). Плотность при 20°С н.н. 1030 кг/м3. Содержание воды н.б. 0,8% масс. Коксуемость н.б. 1.5% масс. Содержание механических примесей н.б. 0,05% масс. Фракционный состав: начало кипения °С не нормируется; содержание фр. до 350°С н.б. 40% об. Используется как сырье для произв. игольчатого кокса.

Фракция более 420°С. Плотность при 20°С, кг/м3 не нормируется. Фракционный состав: начало кипения °С не нормируется; 50% перегоняется при температуре °С не нормируется. Вязкость кинематическая при 50°С, мм/с2 (сСт) не нормируется. Температура застывания,°С не нормируется. Коксуемость не нормируется. Содержание воды % масс. не нормируется.

Нижнее циркуляционное орошение. Содержание катализатора н.б. 2,0г/дм3. Используется для регулирования температуры низа К-201.

Шлам. Содержание катализатора н.б. 2,5г/дм3. Используется для поддержания теплового баланса Р-1 в виде рециркулята.

Катализатор крекинга свежий спектра 985Р, Омникат фирмы «Грейс» и другие импортные производства. Насыпная плотность с уплотнением, н.м 890г/см3. Объем пор 0,41см3 /г. Износоустойчивость, массовая доля, н.м. 92,0% масс. Содержание кокса отсутствует. Химический состав, % масс: Al2O3, н.м. 44,0; Na2О, н.б. 0,2; РЗЭ 1,5-2,0. Массовая доля влаги, удаляемой при 800°С, н.б. 8,0. Используется для реакции крекирования сырья в реактор Р-1.

Катализатор закоксованный. Содержание кокса, 0,4-0,8% вес.

Катализатор регенерированный. Анализ проводит фирма «Грейс».

Насыпная плотность с уплотнением, г/см3. Активность по МАТ, н.м. 58% масс. Удельная поверхность, н.м. 60м2/г. Объем пор, н.м. 0,2см3/г. Конверсия, н.м. 60% масс. Содержание металлов: Na2О, н.б. 0,25% масс; Al2О3, н.м. 45% масс; V, н.б. 1500ррm; Ni, н.б. 1000ррm; Fe 750-1000ррm; Cu, н.б. 100ррm; РЗЭ, 1,5-2,0% масс.

Дымовые газы. Содержание 02, 4,0-8,0% об. Содержание СО н.б. 0,2%. Содержание СО2 не нормируется. Направляются в С-400 КТ для утилизации физического химического тепла этих газов.

Описание технологической схемы установки каталитического крекинга

Реакторный блок. В качестве сырья используется гидроочищенный вакуумный дистиллят (фр. 350-500°С) в смеси с затемненным продуктом фр. 450-500°С УПБ.

Подача сырья в реактор P-1 осуществляется через узел ввода сырья, оборудованный радиальными форсунками, расположенными на высотной отметке 9650 мм.

Узел ввода сырья представляет собой участок прямоточного реактора высотой 1900 мм и наружным диаметром 1650 мм, оборудованный восемью штуцерами с установленными в них высоскоэффективными радиальными форсунками. Форсунки размещаются равномерно по периметру прямотока и направлены вверх под углом 30о к его оси. Основными конструктивными элементами сырьевых форсунок являются камера предварительного диспергирования сырья (диспергатор) и сопло Вентури с щелевым распределительным наконечником.

В камере осуществляется диспергирование сырьем путём дробления жидкой струи под воздействием высоскоскоростных струй пара и однородное перемешивание жидкой и паровой фаз. Дополнительное диспергирование сырья производится на выходе из сопла Вентури, путём распыления сырья в поток катализатора через щелевой наконечник, формирующий плоскую веерообразную струю.

В основании прямоточного реактора расположена паровая форсунка которая предназначена для подачи водяного пара (пара 4 ата и пара 12 ата и аварийного), обеспечивающего ускорение и транспорт регенерированного катализатора на участке прямотка ниже отметки ввода сырья. Форсунка представляет собой коллекторную камеру, оборудованную восемью ниппелями с каналом переменного сечения.

Использование тяжелых фракций в качестве сырья крекинга при неработающем блоке гидроочистки и работа комплекса в целом определяется качеством товарных продуктов.

Для обеспечения оптимальной скорости газокатализаторного потока нижняя часть лифт-реактора выполнена уменьшенного диаметра: диаметр прямоточной части на высоту 8,1 м сужен с диаметра 1400 до 1200 мм путем утолщения слоя торкрет-бетона.

С целью обеспечения возврата катализаторной пыли с низа К-1 в реактор Р-1, а также замыкания теплового баланса системы реактор-регенератор предусмотрена подача (возврат) шлама в реактор насосами Н-3/1-4, р, через форсунки №№6,7 или в узел смешения захватного устройства Р-1.

Диспергированное сырьё смешивается в нижней части прямоточного реактора Р - 201 с регенерированным катализатором, поступающим изи регенератора Р - 202 по наклонной транспортной линии №216/2. Пары сырья в смеси с горячим катализатором подвергаются каталитическому крекированию.

Прокрекированное сырье с катализатором поступает в верхнюю часть прямоточного реактора, оборудованную баллистическим сепаратором, на выходе из которого происходит быстрое разделение продуктов крекинга от катализатора за счёт резкого изменения потока на 180о и разности удельного веса продуктов крекинга и катализатора.

Парогазовая смесь продуктов крекинга и водяного пара поступает в 4 группы двухступенчатых циклонов со спиральным вводом и после отделения их от увлеченной катализаторной пыли направляется в ректификационную колонну К-1 на разделение.

Для исключения образования застойных зон и предотвращения коксообразования вокруг сборной камеры реактора Р-1 и в районе газовыводных патрубков внутренних циклонов реактора, смонтирован паровой маточник (барботер), через который подается водяной пар ПНД.

Катализатор с адсорбированными на его поверхности продуктами крекинга поступает в зону десорбции реактора, где осуществляется отпарка продуктов крекинга от катализатора с помощью водяного пара, подаваемого в два коллектора зоны десорбции Р-1.

Температура в реакторе поддерживается открытием шиберной задвижки, установленной на линии подачи регенерированного катализатора из регенератора в реактор.

При работе РРБ на малой производительности, а также в период пуска или остановки секции предусмотрена подача пара 12 ата в Р-1, для обеспечения проектных скоростей потока при различной подаче сырья в реактор.

Закоксованный катализатор за счет разности статических напоров катализатора в реакторе-регенераторе самотеком по наклонному транспортному трубопроводу поступает на регенерацию в зону выжига кокса регенератора Р-2.

Регенерация катализатора осуществляется при температуре до 690°С и давлении 1,7 кгс/см2.

Дымовые газы регенерации отделившись от увлеченной ими катализаторной пыли в отстойной зоне регенератора и в 6-ти группах двухступенчатых циклонов со спиральным вводом продуктов разделения, с температурой до 700°С поступают в выносные пылеулавливающие циклоны Е-1-1/4, где происходит доочистка дымовых газов и возврат уловленного катализатора в Б-3, с последующей перегрузкой уловленного катализатора в бункер Б-1.

Далее дымовые газы поступают в аппарат для снижения давления газов регенерации Д-1.

В целях оптимизации работы выносных пылеулавливающих циклонов Е-1-1/4 и исключения забивки спускных пылевозвратных стояков (из Е-1-1/4 в Б-3) катализаторной пылью, смонтирована газовыводная линия Ду-200 с соплом критической скорости, из бункера Б-3 в газоход П-3, помимо в Д-1.

В газоходе Д-1, оборудованном диафрагмовыми тарелками, происходит снижение давления дымовых газов регенерации до атмосферного.

После Д-1 дымовые газы направляются на секцию висбрекинга гудрона для утилизации физического тепла. Из линии вывода дымовых газов (после Д-1) осуществляется автоматический отбор проб дымовых газов для аналитического контроля их состава, на содержание СО и на содержание 02.

Регенерированный катализатор из регенератора Р-2 самотеком по наклонной транспортной линии поступает в реактор Р-1 на смешение с сырьем.

Кратность циркуляции катализатора в системе РРБ поддерживается регулятором - шиберной задвижкой по температуре в реакторе Р-1.

Выжиг кокса с катализатора в регенераторе Р-2 осуществляется посредством воздуха, поступающего от компрессоров ЦК-1/1,2, р по двум самостоятельным линиям через общий распределительный коллектор внутри регенератора Р-2. Определяющим параметром технологического выжига по регулированию количества воздуха, подаваемого в регенератор Р-2, является разность температур между плотным слоем катализатора в кипящем слое Р-2 и отстойной зоны, содержание свободного кислорода в дымовых газах, после регенератора, состояние катализатора (содержание кокса на нем) на выходе из Р-1 и Р-2.

Для обеспечения глубокой регенерации катализатора вводы (коллекторы) для подачи воздуха в регенератор оборудованы перфорированными лучами (маточниками), обеспечивающими равномерное распределение воздуха в кипящем слое катализатора по всему объему регенератора.

С целью предотвращения повышения температуры регенерации выше допустимой, за счет возможного горения окиси углерода (СО), на регенераторе Р-2 предусмотрен узел загрузки промотора в кипящий слой катализатора.

В качестве промотора применяется оксипром-2, КО-9 или СР-3.

Для разогрева системы реактор-регенератор, в момент пуска, и при работе РРБ на малых загрузках, схемой предусмотрена подача жидкого топлива (фр. 350-500°С) в кипящий слой регенератора Р-2 для увеличения коксовой нагрузки на Р-2 и замыкания теплового баланса по системе РРБ.

Также предусмотрена подача жидкого топлива к форсункам Р-2 из схемы питания жидкого топлива печей, секции вакуумной перегонки мазута и секции гидроочистки вакуумного газойля от насосов Н-62 и Н-62 р.

Загрузка катализатора (свежего или равновесного) из автоцементовоза в бункера Б-1 и Б-2 производится потоком технического воздуха, подаваемого на пневмотранспорт из заводской сети.

Загрузка катализатора в регенератор Р-2 осуществляется из бункеров Б-1, Б-2. Для поддержания оптимальной активности равновесного катализатора, циркулирующего в системе РРБ, технологической схемой предусмотрена подпитка свежим катализатором системы РРБ из бункера Б-2 через бункер-дозатор Б-5 мерными порциями.

Догрузку свежего катализатора необходимо осуществлять в количестве 0,5-0,7 кг катализатора на тонну крекируемого сырья.

Свежий катализатор из Б-2 периодически загружается в бункер-дозатор Б-5 с помощью пневмотранспорта через заборное устройство (эжектор). Загрузка ведется до уровня соответствующего среднему пробному крану, и составляет ~1,6т. Отмеренная таким образом порция свежего катализатора через заборное устройство (эжектор) пневмотранспортом направляется в регенератор Р-2. Сброс сжатого воздуха из бункера Б-5 осуществляется через внутренний пылеулавливающий циклон Б-2 на свечу (в атмосферу).

Заборное устройство (эжектор) выполнено съемным с регулируемым соплом, для подбора пневмотранспорта катализатора.

При расходе свежего катализатора, соответствующем естественным потерям, наблюдается снижение активности равновесного катализатора и, как следствие, снижение выхода целевых продуктов крекинга. С другой стороны, регулярный ввод в систему РРБ свежего катализатора в количестве, превышающем естественные потери, неизбежно приведет к росту уровня кипящего слоя катализатора в регенераторе и реакторе выше допустимых пределов. Таким образом, для повышения эффективности процесса крекинга предусмотрена система периодической выгрузки равновесного катализатора из системы РРБ.

Выгрузка катализатора из регенератора Р-2 осуществляется в аварийный бункер Б-1. Основная проблема при этом обусловлена высокой температурой выводимого катализатора (650°С) и, как следствие, чрезмерным нагревом катализаторопровода и арматуры, а также ограничением температуры в бункер Б-1.

Выгрузка и охлаждение катализатора осуществляется естественным путем за счет теплоотдачи через поверхность катализаторопровода в окружающую среду и смешения с техническим воздухом из заводской сети, подаваемым на пневмотранспорт. При этом необходимая температура катализатора (до 300°С), поступающего в бункер Б-1, достигается ограничением расхода выводимого из регенератора катализатора при помощи специального дозировочного устройства. Согласно расчетам, расход катализатора не должен превышать 1,0-1,5т/ч.

Блок ректификации и очистки технологического конденсата. Пары продуктов крекинга из реактора Р-1 поступают в отмывочно-сепарационную секцию ректификационной колонны К-1, оборудованную четырьмя сетчатыми двухпоточными тарелками с отбойными элементами. На сетчатых тарелках происходит контакт паров, поступающих из реактора и загрязненных катализатором, с нижним циркуляционным орошением К-1, подаваемым тремя параллельными потоками на каждую тарелку. Верхняя (четвертая) ситчатая тарелка орошается флегмой, стекающей с вышележащей клапанной (первой) тарелки. Распределение нижнего циркуляционного орошения (НЦО) по ситчатым тарелкам контролируются на 1-ой поз. 16, на 2-ой поз. 15, на 3-ей поз. 14, температура подачи НЦО контролируется поз. 7.

При контактировании паров с жидкостью происходит, отмыв их от катализатора, и частичная конденсация высококипящих углеводородов.

Жидкость с катализатором с каждой отбойной тарелки по самостоятельным сливным трубам поступает в нижнюю часть, где происходит частичный отстой от катализаторной пыли.

Отмытые от катализатора пары поступают в концентрационную часть на разделение. Из первой секции четвертой тарелки фракция самотеком поступает в отпарную колонну К-2/2, где от нее отпариваются легкие фракции и возвращаются в колонну К-1 под шестую тарелку.

Для отпарки легких фракций в нижнюю часть К-2/2 подается водяной пар 12 ата.

Фракция 270-420°С забирается насосами Н-5/1, 5 р с низа отпарной колонны К-2/2 и подается в теплообменник Т-4, затем в холодильник воздушного охлаждения ХВ-9, после которого выводится с установки на топливную станцию, в качестве сырья для производства технического углерода, либо в линию котельного топлива в качестве компонента котельного топлива.

С четырнадцатой тарелки К-1 (второго потока), фр. 195-270°С самотеком поступает в отпарную колонну К-2/1, где отпариваются легкие фракции и возвращаются в К-1 под шестнадцатую тарелку.

Фр.195-270°С, с низа К-2/1 поступает на приемы насосов Н-1, Н-4, Н-5 р, и откачивается через межтрубное пространство теплообменника Т-1, воздушный холодильник ХВ-33/1, и выводится с установки как печное топливо, либо как компонент гидроочищенного топлива секции гидроочистки или не гидроочищенного топлива вакуумной перегонки.

С верха колонны К-1 ректификат (углеводородный газ, нестабильный бензин, водяной пар) поступает в холодильники воздушного охлаждения ХВ-1/1-9, где конденсируются пары бензина и водяного пара. Затем газоконденсатная смесь поступает в доохладители Х-1/1,2,3, где в качестве хладоагента используется оборотная вода I системы. После этого газоконденсатная смесь поступает в газоводоотделитель 0-1, где происходит разделение на жирный газ, нестабильный бензин и воду.

В аварийных ситуациях или при пуске и остановке установки для поддержания требуемого давления в 0-1, предусмотрен сброс жирного газа из 0-1 на факел низкого давления.

Нестабильный бензин из 0-1 поступает на прием насосов Н-10/1, 2, р и откачивается в Е-37 на установку абсорбции и газофракционирования.

Технологический конденсат с нижней части 0-1 самотеком через регулятор уровня раздела фаз вода-бензин поступает в буферную емкость Е-9.

Фракция >420С с механическими примесями (катализатором) по сливным патрубкам поступает в отстойную зону колонны К-1, отделенную от отмывочно-сепарационной зоны колонны, конусообразным днищем.

С верха отстойной зоны фракция >420°С поступает на прием насосов Н-3/1,2,3,4, р и выводится с установки через одну секцию ХВ-9 и теплообменник Т-7.

Технологической схемой предусмотрен вывод фр.>420С и фр. 270-420°С через теплообменник Т-4 и ХВ-9 для использования ее в качестве компонентов сырья для получения технического углерода и компонента котельного топлива или, компонента сырья для коксования.

В нижней части отстойной зоны К-1 концентрируется шлам, откачиваемый насосами Н-3/1,2,3,4, р в линию сырья Р-1.

В ректификационной колонне предусмотрено четыре циркуляционных орошения. Верхнее (ВЦО), первое (I ПЦО), второе (II ПЦО), нижнее (НЦО) орошения.

Верхнее циркуляционное орошение с полуглухой 27-ой тарелки забирается насосами Н-6/1,2, р и подается в теплообменники Т-9/1,2, где отдает тепло нестабильному бензину секции абсорбции и газофракционирования, затем поступает в холодильники воздушного охлаждения ХВ-2/1-4, и выводится на 30-ю и 25-ю тарелки К-1.

На 25-ю тарелку также предусмотрена подача некондиционных продуктов: бензина секции вакуумной перегонки мазута, бензина УЗК, бензина УСБ.

Первое промежуточное циркуляционное орошение с 12-й тарелки К-1 поступает на прием насосов Н-7, Н-8 р, затем подается в теплообменник Т-2, где отдает тепло гидрогенизату секции гидроочистки вакуумного газойля и возвращается в К-1 на 13-ю тарелку.

Второе промежуточное циркуляционное орошение с 2-й тарелки К-1 забирается насосами Н-8 и Н-8 р и подается в подогреватели Т-33, Т-34 секции вакуумной перегонки мазут, а затем в теплообменник Т-3, где отдает тепло гидрогенизату секции гидроочистки и возвращается в К-1 на 3-ю тарелку.

Нижнее циркуляционное орошение выводится с отстойной зоны К-1 насосами Н-9/1,2, р и параллельными потоками подается в теплообменники Т-5/1,2, где отдает тепло гидрогенизату секции гидроочистки и в подогреватели Т-32, Т-37 секции вакуумной перегонки мазута, затем возвращается в отмывочно-сепарационную зону колонны К-1 тремя параллельными потоками на ситчатые тарелки 1с, 2с, 3 с.

Технологический сульфидсодержащий конденсат секций гидроочистки, каталитического крекинга, вакуумной перегонки мазута подлежащий очистке, самотеком поступает в буферную емкость Е-9, оборудованную перегородкой и образованных ею камеры для конденсата (основной объем) и камеры для сбора углеводородов (15% объема Е-9).

Нормы технологического режима

Нормы технологического режима описаны в таблице 3.2.

Таблица 3.2 - Нормы технологического режима

Наименование стадий процесса, аппаратов, показателей режима

Ед. изм.

Допустимые пределы технологических параметров

Реактор Р-1



Температура



- сырье на выходе в Р-1

°С

280-355

Давление



- давление в линии сырья Р-1

МПа

0,7-0,8

- давление пара на реакторный блок

МПа

0,3-0,4

Температура по зонам Р-1



- низа лифт-реактора

°С

630-670

- середины лифт-реактора

°С

520-560

- реакционной смеси на выходе из сепарационного устройства

°С °С

500-540

- отстойной зоны

°С

500-530

- сборной камеры

°С

495-530

- зоны десорбции

°С

495-530

Давление



- в отстойной зоне Р-1

МПа

0,11-0,155

- перепад давления на циклонах Р-1

МПа

н.н. 0,005

Концентрация катализатора



- в лифт-реакторе

Кг/м3

до 80

- в зоне десорбции

Кг/м3

350-800

- по высоте лифт-реактора с сепарирующим устройством

Кгс/см2

700-1500

- по сепарирующему устройству

МПа

50,0-100,0

Уровень кипящего слоя

%шк.

35-60, н.б. 85

Перепад давления на запорно-регулирующих клапанах трансп. Линий

МПа

Перепад давления между реактором и регенератором

МПа

0,007-0,015

Регенератор Р-2



Расход воздуха на регенерацию

Нм3

70000-110000

Температура по зонам регенератора



- в сборной камере зоны циклонов

°С

н.б. 700

-верха отстойной зоны

°С

660-700

- в кипящем слое

°С

640-690

Разность температур между отстойной зоной и кипящим слоем

°С

н.б. 60

Перепад давления между сборной камерой Р-2 и остальной зоной

МПа

н.н. 0,012

Давление жидкого топлива к форсункам регенератора Р-2

МПа

0,2-0,10

Давление в отстойной зоне

МПа

0,12-0,17

Уровень кипящего слоя

%шк, м

40-60

Концентрация катализатора в кипящем слое

Кг/м3

300-650

Топка под давлением П-1



- температура

°С

н.б. 550

Давление в линии жидкого топлива на топливные форсунки Р-2

МПа

0,2-0,10

Расход жидкого топлива на форсунки Р-2

М3

0-10

Бункер уловленного катализатора Б-3



- температура

°С

н.б. 700

- давление

МПа

0,12-0,17

Аппарат сжиженного давления газов регенерации Д-1



- температура на выходе

°С

н.б. 700

- температура на выходе

°С

н.б. 700

- температура на выходе дымовых газов с Р-2

°С

н.б. 700

Содержание в дымовых газов СО и О2 (режим дожига СО в кипящем слое Р-2)



- О2

%об.

3-8

- СО

%об.

н.б. 0,2

Режим дожига СО в топке П-1



- О2

%об.

н.м. 1,0

- СО

%об.

4-10

Бункер аварийной выгрузки катализатора Б-1



- давление

МПа

н.б. 0,20

- температура

°С

н.б. 400

Бункер свежего катализатора Б-2



- давление

МПа

н.б. 0,20

Колонна К-1



Температура



- верха

°С

110-140

- 27 тарелка

°С

110-140

- 25 тарелка

°С

160-180

- 13 тарелка

°С

180-250

-3 тарелка

°С

270-335

Верх отстойной зоны


325-390

Низ отстойной зоны

°С

325-390

Давление



- верх колонны

МПа

0,07-0,14

Уровень в колонне



- низ колонны

%шк.

30-80

Верхнее циркуляционное орошение (ВЦО)



- температура возврата в колонну после ХВ-2

°С

40-80

Первое промежуточное циркуляционное орошение



- температура возврата в колонну

°С

120-180

Второе промежуточное циркуляционное орошение



- температура возврата в колонну

°С

175-215

- расход

М3

70-200

Нижнее циркуляционное орошение



- температура возврата в колонну

°С

150-300

- на 1-й ситчатой тарелке

°С

150-350

- на 2-й ситчатой тарелке

°С

150-350

- на 3-й ситчатой тарелке

°С

150-350

Отпарная колонна К-2/1



- температура низа

°С

180-230

- уровень в колонне

%шк.

30-80

- расход водяного пара в колонну

М3

250-350

Отпарная колонна



К-2/2



- температура низа

°С

250-290

- температура на перетоке в К-2/2

°С

270-335

- уровень в колонне

%шк.

30-80

- расход водяного пара

кг/ч

250-350

Температура газохода

°С

Не регламентируется

Газоводоотделитель 0-1



- температура на выходе после Х-1

°С

35-45

- температура в емкости

°С

35-45

- давление

МПа

0,025-0,055

- уровень бензина

% шк.

30-80

- уровень раздела фаз (вода-бензин)

% шк.

20-70

Выход продуктов секции катал. крекинга и ректификации с установки



фр. 195-270°С



- температура



- в линию г/о диз. топлива

°С

н.б. 60

- после ХВ-3-1

°С

н.б. 60

фр. 270-420°С



- давление в линии

МПа

0,4-0,6

- температура после ХВ-9

°С

н.б. 90

- температура

°С

н.б. 90

Колонна К-3



- температура подачи конденсата в К-3

°С

75-95

- низа

°С

75-90

- верха

°С

75-90

- расход технического воздуха на окисление

Нм3

400-600

- давление

МПа

до 0,7

- уровень

%шк.

30-80

Выход технологич. конденсата с установки



- температура

°С

н.б. 90

Давление воздуха КИПиА

МПа

0,2-0,4

Давление в системе охлаждения насосов

МПа

н.н. 0,2

Давление оборотной воды I системы

МПа

н.н. 0,2

- уровень

% шк.

20-80

- температура

°С

н.б. 80

. Расчетная часть

Условные обозначения

Gц - поток циркулирующего катализатора, поступающего в реактор, кг/ч;

L + R - суммарная загрузка реактора свежим L и рециркулирующим R сырьём, кг/ч. т/сут;

hL - удельная энтальпия сырья Дж/кг;

xотр - содержание кокса на отработанном катализаторе, % (масс);

xрег - содержание кокса на регенерированном катализаторе% (масс);

ρ - плотность кг/ м3

М - молекулярная масса;- расходный коэффициент;- расход сырья, реагента, электроэнергии и т.п.;- масса целевого продукта, т;

Qрасх - расход тепла, МДж/ч;

Qприх - приход тепла, МДж/ч;

kц - кратность циркуляции катализатора;

G - расход, кг/кг;

Qн-теплота сгорания кокса, МДж/ч;

GkХ - количество катализатора в объёме реакционной зоны, кг/ч;

с - концентрация катализатора во взвеси, кг/м3

V - объём, м3

τк - среднее фиктивное время, с;

S - поверхность сечения, м2

D - диаметр, м;

ω - средняя фиктивная скорость, м/с;

а - удельная нагрузка на полное сечение отпарной секции по циркулирующему катализатору, кг/(м2*с);

Z - Расход водяного пара на отпаривание, кмоль/ч;

H - Высота рабочей зоны, м;

σ*-Нормативное допускаемое напряжение, Па;

N - Нагрузка на опоры, Н;

i - эмпирический коэффициент;

d0 диаметр отверстия диафрагмы, м;

δ - толщина диафрагмы, м;

q - расход твердой фазы через кольцевое отверстие, кг/(м2*с);

∆P-перепад давления в клапане, Па;

F - площадь свободного сечения шибера, м2;

γ - плотность катализаторного потока, кг/м3;

T - температура, К;

t - температура, 0С.

Материальный баланс

На установках каталитического крекинга с микросферическим катализатором последний непрерывно циркулирует между реактором и регенератором. Интенсивность циркуляции катализатора характеризуется кратностью циркуляции катализатора kц, определяемой по формуле

kц = Gц / (L + R), (4.1)

где Gц - поток циркулирующего катализатора, поступающего в реактор, кг/ч;

L + R - суммарная загрузка реактора свежим и рециркулирующим сырьём, кг/ч.

Количество циркулирующего в системе катализатора, а следовательно, и кратность циркуляции его не могут приниматься произвольно. Количество катализатора, избыток теплоты в регенераторе и удельная энтальпия сырья, поступающего в реактор, должны быть увязаны с помощью тепловых балансов реактора и регенератора. Если, например, задаться значением удельной энтальпии, то из теплового баланса реактора можно найти количество циркулирующего катализатора, а из баланса регенератора - избыточную теплоту.

С другой стороны, можно составить материальный баланс по сжигаемому коксу К, кг/ч. Величина определяется по формуле

K = [(Gц + K) xотр / 100] - G xрег / 100, (4.2)

где xотр - содержание кокса на отработанном катализаторе, % (масс);

xрег - содержание кокса на регенерированном катализаторе, % (масс).

Из последнего уравнения при найденном количестве циркулирующего катализатора можно определить содержание кокса на отработанном катализаторе хотр

xотр = Gц xрег + 100 K / (Gц + K) (4.3)

Для эффективной работы реактора найденная величина не должна быть выше рекомендуемых значений.

Таблица 4.1 - Исходные данные

Параметр

Обозначение

Практические значения

Температура, 0С:



В реакторе,

Tр

480-510

В регенераторе,

Tрег

580-620

Ввода сырья в реактор,

Tс

200-360

Температура ввода перегретого пара в реактор

Tр

350-470

Давление в реакторе и регенераторе МПа

Р

0,18

Массовая скорость подачи сырья, кг/(кг*ч)



В лифт реакторе

g

55-130

Общая (лифт-реактор + «кипящий слой»)

g1

20-22

Кратность циркуляции катализатора

Кц

2-15

Содержание кокса% (масс.):



На регенерированном катализаторе

xрег

0,2-0,4

На отработанном катализаторе

xотр

0,8-1,8

Насыпная плотность катализатора, кг/м3

а

720-800

Концентрация катализатора во взвеси, кг/м3;



В «кипящем» слое

ск

240-550

В стояках

сс

240-600

В линии пневмотранспорта

сп

20-80

В лифт реакторе

сл

40-80

В отпарной секции реактора

со

330-460

Скорость (фиктивная) паров и газов, м/с; В зонах: «кипящего» слоя

ωк

0,4-0,75

В зоне отпаривания реактора

ω0

0,2-0,4

На входе в лифт реактор

ωвх

6-10

На выходе из лифт реактора

ωвых

15-25

Линейная скорость потока взвеси, м/с;



На пневмотранспортных линиях

vп

5-12

В стояках

vш

0,6-2,1

Газов в шлемовых трубах реактора и регенератора, м/с;

vг

25-40

Время пребывания катализатора



В лифт реакторе, с

tпрр

3-4

В отпарной секции, с

tпро

60-500

В регенераторе, мин

tпррег

240-1200

Расход воздуха на сжигание кокса, кг/кг

Gв

11-13

Количество теплоты, кДж:



Реакции на 1 кг свежего сырья

Qр

210-275

Сгорания 1 кг кокса

Qс

25000-32000

Средняя теплоёмкость, кДж/(кг*К):



Кокса

Ск

1,65-2,51

Катализатора

Скат

1,05-1,13

Производительность посырью, т/г

Lг

2000000

Равновесная активность катализатора, %(масс)

-

40


Приход. Как правило, реактор загружается сырьем и рециркулятом (в размере 10% от количества сырья), поэтому приход П составит

П = L + R, (4.4)

где L-расход сырья, кг/ч;

R-расход рециркулята, кг/ч.

Производим пересчет годовой производительности установки каталитического крекинга в часовую

L = 1500000 1000/ (340 24) = 183823,5 кг/ч.

Следовательно, расход рециркулята R составит

R = 0.1 L, (4.5)

Подставляя значения в формулу (4.5) получаем

R = 0,1 183823,5 = 18382,3 кг/ч.

Исходя из формулы (4.4) находим

П = 183823,5 + 18382,3 = 202205,83 кг/ч.

Чтобы перевести приведенные выше величины из массового расхода в мольный, необходимо разделить их на мольную массу соответствующего компонента

Rм = R / МR, (4.6)

где Rм - расход рециркулята, кмоль/ч;

МR - его мольная масса.

Подставив исходные данные в формулу 4.6 получаем

Rм =18382,3/ 360= 51,06 кмоль/ч,

Переведем массовый расход в мольный:

Lм = L / МL, (4.7)

где Lм - расход сырья, кмоль/ч;

МL - его мольная масса.

Подставив исходные данные в формулу 4.7, получаем

МL = 183823,5 / 350= 525,2 кмоль/ч

Расход. Продуктами каталитического крекинга являются: углеводородные газы, бензин, легкий газойль, тяжелый газойль и кокс.

Зная долю, приходящуюся на каждый вид продукта, определяем его выход:

а) для углеводородных газов (УВГ)

Г=xм L, (4.8)

где Г - выход углеводородных газов, кг/ч;

xм - доля, приходящаяся на УВГ, %(масс).

Подставляя значения в формулу 4.8 получаем

Г=0,12 183823,5 = 22058,82 кг/ч.

б) для бензина

Б=xб L, (4.9)

где Б - выход бензина кг/ч;

xб - доля, приходящаяся на бензин, %(масс).

Исходя из формулы 4.9 находим

Б = 0,493 183823,5 = 90624,98 кг/ч.

Выход бензина Бм в молях находим по формуле

Бм=Б/Мб, (4.10)

где Бм - выход бензина, кмоль/ч;

Мб -его мольная масса.

Подставляем в формулу 4.10 значения

Бм = 90624,98 / 112 = 809,15 кмоль/ч.

в) для легкого газойля

Л = xл L, (4.11)

где Л - выход легкого газойля, кг/ч;

xл - доля, приходящаяся на легкий газойль, %(масс).

Исходя из формулы 4.11 находим

Л = 0,24 183823,5 = 44117,64 кг/ч.

В молях

Лм = Л / М = 44117,64/ 240 = 183,82 кмоль/ч.

г) для тяжелого газойля

Т = xт L, (4.12)

где Т-выход тяжелого газойля, кг/ч;

xт - доля, приходящаяся на тяжелый газойль, %(масс).

Исходя из формулы 4.12 находим

Т = 0,081 183823,5 = 14889,70 кг/ч.

В молях

Тм = 14889,70 / 360 = 41,36 кмоль/ч.

д) для кокса

К=xк L, (4.13)

где К-выход кокса, кг/ч;

xк - доля, приходящаяся на кокс, %(масс).

Исходя из формулы 4.13 находим

К = 0,06 183823,5 = 11029,41 кг/ч.

е) потери

п=xп L, (4.14)

где п-потери, кг/ч;

xп - доля, приходящаяся на них, %(масс).

Исходя из формулы 4.14 находим

п = 0,006 183823,5= 1102,94 кг/ч.

е) на рециркуляцию

R = 0.1 L = 0,1 183823,5 = 18382,35 кг/ч.

Результаты расчетов представим в виде таблицы:

Таблица 4.2 - Материальный баланс

Материальный поток

Обозначение

М

Проценты

кг/ч

кмоль/ч

Приход






Сырьё

L

350

100,0

183823,5

525,21

Рециркулят

R

360

10,0

18382,35

51,06

Всего



110,0

202205,85

576,27

Расход






Углеводородные газы (фр. С14)

Г

32

12,0

22058,82

689,34

Бензин (фр. С5-1950С)

Б

112

49,3

90624,98

809,15

Лёгкий газойль

Л

240

24,0

44117,64

183,82

Тяжёлый газойль

Т

360

8,1

14889,7

41,36

Кокс

К

-

6,0

11029,41

-

Потери

-

-

0,6

1102,94

-

Рециркулят

R

360

10,0

18382,35

51,06

Всего



110,0

202205,8

1774,73

Тепловой баланс

В связи с непрерывной циркуляцией катализатора между реактором и регенератором величины удельной энтальпии сырья на входе в реактор, кратность циркуляции катализатора и величина избытка тепла в регенераторе должны быть взаимно увязаны с помощью соответствующих тепловых балансов. Расчёт произведён в предположении, что сырьё поступает в реактор в жидком состоянии при температуре 3000С. При этой температуре удельная энтальпия сырья hL=694.9 кДж/кг.

Таблица 4.3 - Тепловой баланс реактора

Наименование     t, 0СС, кДж/

(кг*К)h, кДж/кгG, кг/чQ, МДж/ч






 

Приход







Сырьё

0,897

300

-

694,9

183823,5

127738,9

Рециркулят

0,937

340

-

794,5

18382,35

14604,77

Катализатор (регенерированный)

-

600

1,1

660,0

Gц

0,66Gц

Водяной пар

-

470

2,0

940,0

0,005*Gц

0,0047Gц

Всего






142343,67 +0,6647Gц

Углеводородные газы

-

490

-

1828,0

22058,82

40323,52

Бензин

0,735

490

-

1565,9

90624,98

141909,65

Легкий газойль

0,898

490

-

1468,7

44117,64

64795,57

Тяжёлый газойль

0,937

490

-

1450,3

14889,7

21594,53

Рециркулят

0,937

490

-

1450,3

18382,35

26659,92

Водяной пар

-

490

2,0

980,0

0,005*Gц

0,0049Gц

Катализатор

-

490

1,1

528,0

Gц

0,528Gц

Кокс

-

490

2,0

960,0

11029,41

10588,23

Теплота реакции

-

-

-

210,0

205479

43150,7

Потери тепла

-

-

-

-

-

9000

Всего






358022,12+ +0,5329Gц


Неизвестной величиной является количество циркулирующего регенерированного катализатора. Общий приход тепла Qприх в реактор составляет

Qприх=142343,67+0,6647Gц, (4.15)

где Gц - количество циркулирующего катализатора, кг/ч.

Расход тепла Qрасх

Qрасх=358022,12 +0,5329Gц (4.16)

Приравниваем приход и расход тепла и находим Gц:


,67+0,6647Gц=358022,12+0,5329Gц (4.17)

Преобразуя выражение 4.17 получаем

Gц= кг/ч.

Кратность циркуляции катализатора:

кц = , (4.18)

где L-расход сырья, кг/ч;

R - расход рециркулята, кг/ч.

Находим содержание кокса Хотр на отработанном катализаторе. Учитывая его количество на регенерированном катализаторе, имеем

хотр=, (4.19)

где хотр - содержание кокса на отработанном катализаторе, % (масс);

хрег - содержание кокса на регенерированном катализаторе, % (масс);

К - расход кокса, кг/ч.

Исходя из формулы 4.19 получим

хотр =% (масс).

Значение хотр не превышает предела (0,8-1,8%).

Таблица 4.4 - Тепловой баланс регенератора

Наименование

t, 0С

С, кДж/(кг*к)

h, кДж/кг

G, кг/ч

Q, МДж/ч

Приход

Катализатор

480

1,1

528

1636407,05

864022

Кокс

480

2,0

960

11029,41

10588,2

Воздух

30

30

102275,4

3068,2

Тепло сгорания кокса

-

-

30000

11029,41

330882,3

Итого





1208560,7

Расход

Регенерированный циркулирующий катализатор

600

1,1

660

1636407,05

1080028,6

Дымовые газы

600

1,05

630

102275,4

64433,5

Потери

-

-

-

-

Qизб

Итого





1144462,1+ Qизб


Приравнивая приход тепла в регенератор и его расход:

,7= 1144462,1+Qизб

где Qизб - избыток теплоты в регенераторе, МДж/кг

находим избыток тепла:

Qизб=1208560,7-1144462,1= 64098,6 МДж/кг

Необходимо отметить, что фактическое значение Qизб будет ниже на величину тепловых потерь в системе реактор - регенератор.

Конструктивный расчёт реакторного блока

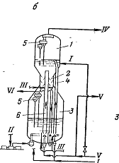
Рисунок 4.1

Реактор включает в себя шлемовую трубу 5, стояк вывода катализатора 6, реакционную зону 1 (лифт реактор), реакционную зону 2 (формированный псевдоожиженный слой) и зону отпаривания 3 и зону сепарации 4. Регенератор имеет стояк 10, рабочую зону 7 (псевдоожиженный слой) и зону сепарации 8, шлемовая труба 9.

Реакционная зона (лифт реактор). Количество катализатора в объёме реакционной зоны один равно

Gk1 =                                                (4.20)

Gk1 =  кг/ч.

Приняв концентрацию катализатора во взвеси с1=60 кг/м3 найдём объём лифт реактора

Vp1=                                                    (4.21)

Vp1= м3

Среднее время пребывания катализатора в лифт-реакторе составит

τк1=                                                     (4.22)

τк1=с

Расход в лифт-реакторе изменяется от 576,27 до 1774,73 кмоль/ч. Поэтому для расчета объемного расхода реакционной массы принимаем средний мольный расход.

V1= кмоль/ч

Среднее фиктивное время пребывания паров реакционной смеси в зоне один

τ1=                                              (4.23)

τ1=с

примем среднюю фиктивную скорость паров в лифт-реакторе ω1=14 м/с, тогда сечение и диаметр лифт реактора составят

S1=         (4.24)

S1=м2

D1=                                                 (4.25)

D1 м

Высота лифт реактора

l1=м                                                      (4.26)

l1м

Реакционная зона 2 (форсированный «кипящий» слой). Общее количество катализатора в пределах реакционных зон 1 и 2 рассчитываем по общей массовой скорости подачи сырья g=22 кг/(кг*ч);

Gk=                                                   (4.27)

Gk кг/ч

Очевидно, масса катализатора в пределах зоны 2 должна составить

Gk2= Gк - Gк1                                                                           (4.28)

Gk2=9191,17-1414,03= 7777,14 кг/ч

Объёмный расход углеводородных паров в условиях реакционной зоны 2 т.е. при t2=5000C, Р=0,18 МПа, составит

V2=м3

Примем для зоны 2 высокую фиктивную скорость углеводородных паров ω2=0,75 м/с и соответственно низкую концентрацию катализатора во взвешенном слое с2=250 кг/м3. тогда объём этой реакционной зоны будет равен

Vp2=                                                   (4.29)

Vp2м3

Фиктивное время пребывания углеводородных паров в зоне 2

τ2=                                                      (4.30)

τ2с

Рассчитаем среднее время пребывания катализатора в зоне 2, пренебрегая небольшим изменением количества циркулирующего катализатора за счёт отложения на нём кокса

τк2=                                                     (4.31)

τк2с

Сечение и диаметр зоны форсированного псевдоожиженного слоя

S2=                                                       (4.32)

S2м2

D2=                                                 (4.33)

D2м

Высота этой зоны

H1=                                                     (4.34)

H1м

Отпарная секция 3 реактора. Примем время пребывания катализатора в зоне отпаривания τк3=2 мин и концентрацию катализатора во взвеси с3=350 кг/м3, тогда можно рассчитать количество катализатора в этой зоне

Gk3= τк3 *Gц                                                                                             (4.35)

Gk3=*1636407,05= 54656 кг/ч

И рабочий объём отпарной зоны

Vp3=                                                   (4.36)

Vp3м3

Если удельная нагрузка на полное сечение отпарной секции по циркулирующему катализатору а=30 кг/(м2*с), необходимое полное сечение отпарной секции будет равно

S3=                                                       (4.37)

S3м2

Свободное сечение в перегородках отпарной секции в 2 раза меньше, чем S3.

Высота зоны десорбции

H3=                                                      (4.38)

H3м

Расход водяного пара на отпаривание

Z=0,005*Gц                                                                                             (4.39)

Z=0,005*1636407,05= 8182,03 кг/ч или 454,56 кмоль/ч

Объём потока водяного пра в условиях отпарной зоны

V3=м3

Фиктивная линейная скорость водяного пара в этой зоне

ω3=                                                      (4.40)

ω3м/с

Отпарная секция 3 представляет собой кольцевое пространство. Пренебрегая толщиной стенки лифт-реактора, рассчитаем полное сечение корпуса отпарной секции

S3'=S3+S1                                                                                    (4.41)

S3'=15,15+0,84= 15,99 м2

Откуда диаметр корпуса отпарной секции

D3=                                                 (4.42)

D3=м

Корпус зоны сепарации 4. Площадь сечения S4 корпуса зоны сепарации должна быть не менее суммы S2+ S3. Если принять, например, 20%-ный запас, тогда

S4=1,2*(S2+S3)                                          (4.43)

S4=1,2*(23,46+15,15)=46,33 м2

Откуда диаметр корпуса зоны сепарации

D=                                                  (4.44)

D м

Объёмный расход потока смеси углеводородных и водяных паров на выходе из реактора

V4=м3

Фиктивная скорость паров в зоне сепарации будет равна

ω4=                                                       (4.45)

ω4м/с

что не превышает рекомендуемых значений для этой зоны.

Высота Н΄4 сепарационной зоны (считая от уровня форсированного псевдоожиженного слоя) принимается из условия: Н΄4≥4,5 м.

Шлемовая труба 5 реактора. Примем скорость парового патока ω5=30 м/с, тогда сечение и диаметр шлемовой трубы реактора составят соответственно

S5=                                              (4.46)

S5м2

D5=                                                  (4.47)

D5=м

Стояк 6 для вывода из реактора отработанного катализатора. Количество отработанного циркулирующего катализатора

G'ц=Gц+K                                                  (4.48)

G'ц =1636407,05+11029,41= 1647436,46 кг/ч

При концентрации катализатора в стоке с=550 кг/м3 объёмный расход потока циркулирующей взвеси равен

Vвзв=                                                    (4.49)

Vвзв м3

Примем скорость потока взвеси в стояке ωвзв=0,8 м/с, тогда сечение и диаметр стояка для вывода отработанного катализатора

S6=                                                      (4.50)

S6м2

D6=                                                 (4.51)

D6м

Расчёт основных размеров регенератора Р-2. Если расход воздуха на сжигание 1 кг кокса составляет 12 кг, то количество образующихся дымовых газов будет равно

Gr = (12+1)*К                                           (4.52)

Gr =13*11029,41= 143382,33 кг/ч

В условиях регенератора (t8=600 0С, р=0,18 МПа, Мr=28,8) объём газов равен

Vr=м3

Принимаем фиктивную скорость газов в рабочей зоне 7 регенератора ω7=0,6 м/с, концентрацию катализатора с=400 кг/м3 и «коксосъём» q=40 кг/ч на тонну катализатора.

Масса катализатора в регенераторе

Gk=                                                        (4.53)

Gk  кг/ч

Среднее время пребывания катализатора в регенераторе

τк=,                                                      (4.54)

τк мин

Объём рабочей зоны регенератора

Vр7=                                                     (4.55)

Vр7м3

Сечение и диаметр рабочей зоны равны соответственно

S7=                                                       (4.56)

S7м2

D7=,                                                (4.57)

D7м

Высота рабочей зоны

H7=,                                                    (4.58)

H7м

Если скорость газов в зоне сепарации 8 регенератора ω8=0,4 м/с, тогда сечение и диаметр зоны сепарации составят

S8=,                                                      (4.59)

S8м2

D8=,                                                (4.60)

D8м

Высоту Н8 сепарационной зоны регенератора принимают из условия Н8≥4,5 м.

Сечение и диаметр шлемовой трубы регенератора (ω9=35 м/с)

S9=,                                                      (4.61)

S9м2

D9=,                                                (4.62)

D9м

При необходимости уменьшения диаметра этой трубы можно установить две меньшего сечения.

Стояк 10 регенератора: скорость потока взвеси в стояке ωвзв=0,8 м/с, концентрация катализатора с=550 кг/м3. Тогда объёмный расход взвеси в стояке равен:

Vвзв=,                                                   (4.63)

Vвзв м3

Сечение и диаметр стояка регенератора

S10=,                                                   (4.64)

S10м2

D10=,                                              (4.65)

D10м

Согласно расчётам примем стандартный реактор и регенератор каталитического крекинга Г-43-107 мощностью 1500000 тонн в год в составе комбинированной установки КТ-1.

5. Расчет и выбор вспомогательного оборудования

Насосно-компрессорное оборудование

Насос поз. Н-1 подачи фр. 195-270°С в Р-1.

Исходные данные:

геометрическая высота подъема жидкости Нг =40 м;

плотность при нормальных условиях ρ204=897 кг/м3;

давление в реакторе р1=0,2 МПа;

давление во входном трубопроводе насоса р1= 0,1 МПа.

Полезную мощность на валу насоса рассчитывают по формуле (5.1)

N=, (5.1)

где N - мощность на валу, потребляемая насосом, кВт;- производительность насоса, м3/с;

 - плотность перекачиваемой жидкости, кг/м3;- ускорение свободного падения, м/с;

η - общий КПД насоса (в долях единицы).

Производительность насоса рассчитываем по формуле (5.2)

крекинг каталитический мазут

Q =, (5.2)

=  =20·10ˉ3 м3/с.

Полный напор насоса определяют по формуле (5.3)

=  + + Δ hвс+Δhн, (5.3)

где Р1, Р2 - давление в реакторе и во входном трубопроводе насоса соответственно, Па;

Δ hвс - потери напора во всасывающем трубопроводе, м;

Δhн - потери напора в нагнетательном трубопроводе, м.

Нг - геометрическая высота подъема жидкости, м.

Тогда

Δ hвс=

Δhн= 0,2Нг=0,2·80=16 м,

Н = 40 + = 68 м.

Принимают КПД насоса η = 0,6 [3]. Тогда полезная мощность на валу по формуле:=  = 20 кВт

Принимаем мощность электродвигателя [9]

дв = m · N,

где m - коэффициент запаса.

Коэффициент запаса определяем в зависимости от значения мощности [9]

m=1,2,дв = 1,2·20 = 24 кВт.

Исходя из расчетных параметров насоса Q= 72 м3/ч; H = 68 м; Nуст= 24 кВт, с учетом свойств перемещаемой жидкости принимаем к установке нефтяной центробежный насос марки НК65/35-70-В1 со следующими характеристиками: производительность - 65 м3/ч, напор - 70 м.

Насос снабжен электродвигателем ВАО 62-2 мощностью 17 кВт, частотой вращения вала n = 2940 об/мин.

Аналогично рассчитаны остальные насосы установки, характеристика которых приведена в спецификации оборудования.

Компрессор ЦК-1 подачи сжатого воздуха в регенератор.

Исходные данные:

массовый расход воздуха 20000 кг/ч;

плотность воздуха при нормальных условиях ρ204=1,29 кг/м3;

газовая постоянная воздуха R=287 Дж/(кг·К);

показатель адиабатического сжатия воздуха k=1,4;

температура воздуха Т=30°С.

Принимаем к установке центробежный компрессор.

При допускаемой степени сжатия в одной ступени ~5 требуемое число ступеней рассчитывается по формуле (5.4).

n=, (5.4)

где ркон - конечное давление, МПа;

р1 - первоначальное давление, МПа.


Теоретическая работа сжатия компрессора определяется по формуле (5.5)

, (5.5)

где n - число ступеней сжатия;- газовая постоянная, Дж/(кг·К);- показатель адиабатического сжатия;1 - температура, К.

Мощность электродвигателя компрессора вычисляем по формуле (5.6)

, (5.6)

где G - массовый расход воздуха, кг/ч;

η - КПД компрессора.

По каталогу Московского завода «Компрессор» выбираем центробежный компрессор подачи воздуха со следующими характеристиками:

марка 900-31-4;

производительность Q= 970 м3/мин;

потребляемая мощность, 4000 кВт;

частота вращения, 3000 об/мин.

Теплообменные аппараты

Теплообменник поз. Т-1 подогрева гидрогенизата фракции 195-270°С. Принимаем для этих целей наиболее распространенный в нефтехимической промышленности тип теплообменника - кожухотрубчатый с плавающей головкой.

Поверхность теплообменного аппарата рассчитываем по формуле (5.7)

, (5.7)

где F - площадь поверхности теплообмена рубашки, м2;

K - коэффициент теплопередачи при нагревании, Вт/(м2·К),

Δtср - средняя разность температур при теплообмене, К;

Q - тепловой поток, Вт.

В аппарат поступает сырье с начальной температурой tн = 300 ºС, а после нагрева его температура поднимается до tк = 400 ºС. Количество теплоты Qсырья, поступаемое с сырьем, из теплового расчета установки составляет 15071,8 МДж/ч=15071,8/3600=4187000 Вт.

Определяем среднюю разность температур при теплообмене. Тогда температурная схема процесса теплообмена выглядит следующим образом:

продукт

300ºС 350ºС

пар

40ºС 25ºС

∆tmax = 350 - 25 = 325ºС

∆tmin = 300 - 40 = 260ºC


К расчёту принимается коэффициент теплопередачи К=150 Вт/(м2·К) [5.6], тогда

Пользуясь справочными данными [11], устанавливаем, что данному расчету соответствует теплообменник с диаметром 0,8 м и высотой 7 м.

Расчет остальных теплообменников проведен аналогично.

Бункеры

Бункер поз. Б - 2 для свежего катализатора.

Исходные данные:

массовый расход катализатора составляет 1702008 кг/ч или 472,78 кг/с;

время заполнения 240 секунд.

Объем бункера определяем исходя из суточного расхода катализатора, который составляет

, (5.8)

где G - массовый расход продукта, кг/с;

τ - время заполнения, с;

ρ - плотность продукта при рабочих условиях, кг/м3;

φ - степень заполнения (0,8-0,9).

Вертикальный цилиндрический аппарат с нижним коническим и верхним эллиптическим днищами с рабочим объемом 160 м3 при степени заполнения 0,8 внутри аппарата смонтирован циклон для разгрузки катализатора [8-9].

Vкат=            

Принимаем к установке стандартный бункер со следующими характеристиками:

сталь углеродистая;

- диаметр D=3400 мм;

высота Н=17271 мм.

Спецификация оборудования

Реактор Р-1. Корпус 16ГС; в оборудование 08Х13. Решетка панцирная, патрубки штуцеров, сталь углеродистая. Внутренняя поверхность футеруется жаростойким торкрет-бетонном. Техническая характеристика: Д-8000 мм/4500 мм/1600 мм; Н-55200 мм; Ррас. - 4 кгс/см2; 08Х13. Температура: зона транспорта 700-540°С. Реакционная зона - 545°С.

Регенератор Р-2. Корпус 16ГС; внутреннее оборудование 08Х18Н10Т.

Решетка панцирная 08Х13, патрубки штуцеров сталь углеродистая. Внутренняя поверхность футеруется жаростойким торкрет-бетонном. Техническая характеристика: Д-11000/9000 мм; Н-27200 мм; Ррас. - 3,5 кгс/см2; Трас. - до 700°С

Топка под давлением П-1. Сталь углеродистая. Техническая характеристика: Д-2600 мм; L-9077 мм; в камере сгорания Ррас.-7 кгс/см2, Трас. - до 1300°С; в камере смешения Ррас.-7 кгс/см2, Трас. - до 550°С.

Выносные циклоны для улавливания катали заторной пыли Е-1/1-4. В количество 4 циклонов. Корпус, днища - 09Г2С. Техническая характеристика: Д-4000/2800 мм; Н-16700 мм; Ррас. - 3,4 кг/см2; Трас. - 700°C.

Бункер уловленного катализатора Б-3. Корпус, днища-09Г2С. Техническая характеристика: Д-3800/2400 мм; Н-16870 мм; Ррас. - 3,4 кг/см2; Трас. - 700°С.

Аппарат для снижения давления газов регенерации Д-1 Корпус-сталь 12Х18Н10Т. Внутренние несущие элементы из стали 12Х18Н10Т, внутреннее оборудование из стали 08Х13 и чугуна марки ЖЧХ - 2,5. Внутренняя поверхность футеруется жаростойким торкрет-бетонном. Техническая характеристика: Д-2800 мм; Н-34400 мм; Ррас. - 3,5 кгс/см2; Трас. - до 700°С.

Аварийный бункер катализатора Б-1. Сталь углеродистая. Техническая характеристика: Д-9000 мм; Н-33524 мм; Ррас. - 2 кгс/см2; Трас. - до 450°С.

Бункер для свежего катализатора Б-2. Сталь углеродистая. Техническая характеристика: Д-3400 мм; Н-17271 мм; Ррас. - 2 кгс/см2; Трас. - до 450°С.

Бункер промежуточной выгрузки катализатора Б-4. Углеродистая сталь Ст3сп5. Техническая характеристика: Д-1000 мм; Н-3500 мм; Ррас. - 8 кгс/см2; Трас. - до 300°С.

Дозировочный бункер свежего катализатора Б-5. Сталь углеродистая. Техническая характеристика: V-3,2м3; Ррас. - 3,8 кгс/см2; Трас. - до 50°С.

Эжектор ЭЖ-2. В количестве 2 эжекторов. Углеродистая сталь. Техническая характеристика: ПС 640ммх160 мм 10-20.

Компрессор центробежный ЦК -1/1-3. В количестве 3 компрессоров. Углеродистая сталь. Техническая характеристика: 900-31-4; Q-970 м3/мин; Р - 2,4 кг/см2. Электродвигатель СТДП-4000-2У4: N-4000 квт; n-3000 об/мин.

Ректификационная колонна К-1. Тарелки 08Х13, корпус днища ВСт3:, сп5-08х13 патрубки 12МХ-08х13, отбойник 12Х18Н10Т, патрубки 15Х5М, опора-сталь углеродистая. Тарелки клапанные четырех поточные- 3 шт., двух поточные 26 шт. Тарелки ситчатые с отбойными элементами двух поточные с боковыми сливами -4 шт. Техническая характеристика: Д-6400 мм, Н=45745 мм, Трас.верх-126°С, Трас. ввод сырья-475°С, Трас. низ-370°С, Ррас. - 3 кгс/см2.

Отпарная колонна К-2/1,2. Корпус - днища ВСт3 сп5; тарелки 08Х13, опора-сталь углеродистая. Тарелки клапанные двух поточные - 7 шт. в К-202-1 в К-202-2 - 7 шт. Техническая характеристика: Д-1600 мм, Н-21045 мм, К-202-1 Трас. - 240°С, К-202-2 Трас. - 300°С, Ррас. - 3 кгс/см2.

Газоводоотделитель 0-1. Корпус, днища сталь углеродистая внутреннее оборудование 08Х13. Техническая характеристика: Д-3400 мм, L-18448 мм, V-160м3, Ррас. - 3,8 кгс/см2, Трас. - до 50°С.

Холодильник воздушный ХВ. Решетка 16ГС, крышки 20Л-П. Оребрение труб-АД-1, внутренние трубы, диффузор, метало конструкции сталь углеродистая. Техническая характеристика: Жалюзи с пневмоприводом F-5300 м2 Трубное пространство: Ррас. - 8,4 кгс/см2, Трас. - 118-45°С.

Доохладитель Х-1/1-3. В количестве 3 доохладителей. Корпус 16ГС распределительная камера и крышки - углеродистая сталь трубы ЛОМш 70-1-0,06 Техническая характеристика: F-790м2 Д-1400 мм, L-7700 мм. Трубное пространство: Ррас.-10 кгс/см2, Трас. - 100°С. Межтрубное пространство: Ррас.-10 кгс/см2, Трас. - 100°С.

Десорбер К-3. Корпус, днища ВСт3 сп4, тарелки, опора сталь углеродистая. Тарелка распредели тельная-1 шт. Тарелка перераспределительная-1 шт. Техническая характеристика: Д-2000 мм, Н-22260 мм. В корпусе: Ррас.-3 кгс/см2, Трас. - 120°С. В подогревателе: Ррас. - 9 кгс/см2, Трас. - 70-150°С.

Буферная емкость Е-9. Корпус, днища-сталь углеродистая; гильзы штуцеров 08Х13. Герметичная перегородка. Техническая характеристика: Д-2400 мм, Н-5820 мм, V-25м3, Ррас. - 6 кгс/см2, Трас. - 35°С, Н-1800 мм, V-3,5м3.

Теплообменник. В количестве 9 штук. Корпус, решетки 16ГС. Трубы стальные углеродистые. Техническая характеристика: F-171м2, Д-800 мм, L-7505 мм. Трубное пространство: Ррас.-22 кгс/см2, Трас. - 100°С. Межтрубное пространство: Ррас.-22 кгс/см2, Трас. - 100°С.

Насос. В количестве 8 штук. Углеродистая сталь. Техническая характеристика: Q-5 м3/час, Р-8 кг/см2, Электродвигатель ВАО 62-2, N-17 кВт, n-2940 об/мин.

6. Управление, контроль и автоматизация технологического процесса

Выбор параметров технологического процесса

Основная задача каталитического крекинга - получение из нее заданного ассортимента продуктов (дистиллятов) требуемого качества и с максимально возможным отбором от потенциала. В реализации этой цели значительную, если не основную, роль играет система контроля и автоматизации технологического процесса КТ. Эта система включает следующие компоненты:

- комплекс измерительных средств (приборов), фиксирующих значения важнейших параметров работы всех технологических аппаратов;

-        комплекс локальных средств регулирования и автоматического поддержания на заданном уровне значений параметров, определяющих нормальную и безопасную работу оборудования и технологии в целом;

         щит (блок) управления установки, контролирующий информацию по двум предыдущим компонентам системы и выдающий с помощью персонала или ЭВМ необходимые команды этим системам;

         централизованную систему управления работой установки в целом на базе микропроцессорной техники, оптимизирующую технологические параметры отдельных ее блоков и обеспечивающую стабильную выработку продуктов заданного качества.

К числу важнейших параметров технологического процесса относятся: температура, расход потоков (количество), давление (перепад давлений), уровень жидкости (или раздела жидких фаз), параметры электрических машин (напряжение, ток), параметры качества сырья и получаемых продуктов (плотность, вязкость, температура вспышки и др.).

Автоматический контроль и управление технологическими процессами осуществляется централизованно из операторной, с помощью автоматизированной системы управления, созданной на базе пневматического комплекса «Режим» и вычислительного комплекса СМ-2.

В операторной создана своя зона обслуживания (рабочее место оператора). Рабочее место оборудовано пятью стойками «Режим» и дисплейным модулем. На стойке «Режим» расположены:

мнемосхема процесса, с встроенными в нее лампами технологической сигнализации, задатчиками дистанционного и автоматического управления, переключателями дистанционного и автоматического управления;

многошкальный показывающий прибор по выводу текущего значения параметра;

пять двухзаписных приборов для постоянной регистрации десяти технологических параметров;

один двухзаписный прибор для регистрации по вызову любых 12 подключенных и данной стойке технологических параметров;

табло аварийной сигнализации [10-16].

Над щитом расположена мнемосхема процесса со встроенными в нее лампами аварийной сигнализации.

Дисплейный модуль предназначен для связи оператора с вычислительным комплексом. По вызову оператора на дисплей выводится таблица текущих значений параметров по любому из технологических процессов секции.

Вычислительный комплекс осуществляет автоматический сбор, обработку и выдачу информации о ходе технологических процессов. Автоматический опрос датчиков осуществляется с периодичностью один раз в 2,3 минуты. Информация о мгновенных значениях параметров хранится в памяти машины 48 часов и может выводится на автоматическую печать по вызову обслуживающего персонала.

Усредненные за час значения технологических параметров представляются в виде режимного листа оператора, который автоматически печатается один раз в смену.

Вычислительный комплекс выполняет также расчет технико-экономических показателей работ установки. Результаты расчета выдаются в виде сменного и суточного рапортов [17].

Перечень технических средств, спецификация приборов и средств автоматизации описаны в таблицы 6.1.

Таблица 6.1 - Спецификация приборов и средств автоматизации

№ поз.

Измеряемая (регулируемая) величина

Место измерения

Наименование, тип, характеристика приборов

133-2, 232-2 132-2, 119-2

Давление

Оборудование

Преобразователь давления типа МС-П

133-3,232-3, 132-3,119-3,

Давление

ЦЩУ

Комплект, состоящий из невматического прибора типа и регулятора типа ПРЗ.3 1

103-2,211-2, 102-2, 125-2, 161-2,

Расход

Диафрагма камерная типа ДК

103-3, 103-4, 211-3, 102-3

Расход

ЦЩУ

Пневматический дифманометр Типа 13ДД.11

106-2, 105-2

Температура

Топка под давлением

Термопары типа ТХК

106-3, 132-3, 105-3, 114-2,116-2,104-2,

Температура

ЦЩУ

Вторичный прибор типа КСП-4

187-2, 181-2

Уровень

Оборудование

Уровнемер буйковый типа УБ-П

187-3,181-3,181-4

Уровень

ЦЩУ

Вторичный пневматический прибор типа ПВ 4.2Э


Заключение

На установке каталитического крекинга для более эффективного распыла сырья при сравнительно низких перепаде давления и расходе водяного пара в данном дипломном проекте предлагается внедрение щелевых форсунок с предварительным диспергированием.

Устройство способствует равномерному распределения и минимальному обратному перемешиванию сырья и катализатора зоне начального контакта, что позволяет повысить выход бензина.

В работе произведен расчет основных технико-экономических показателей работы установки каталитического крекинга.

Дипломный проект соответствует техническому заданию, требованиям и нормам технологического проектирования, нормам охраны труда, технике безопасности и окружающей среды. Проект содержит необходимые технологические и экономические расчеты.

В установку каталитического крекинга внесены изменения, существенно повышающие ее эффективность.

Выполненные технико-экономические расчеты подтверждают техническую целесообразность и эффективность производства.


Список использованной литературы

1.     Послание Президента Казахстана Назарбаева Н.А народу - 2050

2.      Хаджиев С.Н. Крекинг нефтяных фракций на цеолитсодержащих катализаторах / С.Н. Хаджиев, Ю.П. Суворов, В.Р. Зиновьев и другие. - М.: Химия, 1982. - 280 с.

.        Эрих В.Н. Химия и технология нефти и газа / В.Н. Эрих, М.Г. Расина, М.Г. Рудин. - Л.: Химия, 1977. - 424 с.

4. Кузнецов А.А. Расчет процессов и аппаратов нефтеперерабатывающей промышленности / А.А. Кузнецов, С.М. Кагерманов, Е.Н. Судаков. - М.: Химия, 1966. - 336 с.

5.     Елшин А.И. Разработка и внедрение современной технологии каталитического крекинга на установке ГК-3 // Нефтепереработка и нефтехимия. / А.И. Елшин, Б.З. Соляр, Л.Ш. Глазов. - 2005. - №6.-С. 8-12

6.      Магарил Р.З. Теоретические основы химических процессов переработки нефти / Р.З. Магарил. - Л.: Химия, 1985. - 280 с.

.        Технологический регламент ОАО «Павлодарский НПЗ» С-200. Каталитический крекинг и ректификация.

.        Эмирджанов Э.Т. Основы технологических расчетов в нефтепереработке и нефтехимии / Э.Т. Эмирджанов, Р.А. Лямберанский - М.: Химия, 1989. - 192 с.

.        Кушелев В.П. Основы техники безопасности на нефтеперерабатывающих заводах / В.П. Кушелев - М.: Химия, 1978. - 268 с.

10.   Волков О.И. Экономика предприятия / О.И. Волков. - М.: Экономика, 1998. - 360 с.

11.   Дытнерский Ю.И. Процессы и аппараты химической технологии / Ю.И. Дытнерский. - М.: Химия, 2002. - 325 с.

12.    Мановян А.К. Технология первичной переработки нефти и природного газа / А.К. Мановян. - М.: Химия, 2001. - 568 с.

.        Шицкова А.П. Охрана окружающей среды в нефтеперерабатывающей промышленности / А.П. Шицкова, Ю.В. Новиков, Л.С. Гурвич, Н.В Климкина. - М.: Химия, 1980. - 450 с.

.        Павлов К.Ф. Примеры и задачи по курсу процессов и аппаратов химической технологии / К.Ф. Павлов, П.Г. Романков, А.А. Носков. - М.: Химия, 1978. - 400 с.

.        Касаткин А.Г. Основные процессы и аппараты химической технологии: Учебник для вузов. / А.Г. Касаткин - М.: Химия, 1961. - 556 с.

.        Иоффе И.Л. Проектирование процессов и аппаратов химической промышленности / И.Л. Иоффе. - Ленинград: Химия, 1991. - 345 с.

.        Ластовкин Г.А. Справочник нефтепереработчика / Г.А. Ластовкин, Е.Д. Редченко и М.Г. Рудин. - Ленинград: Химия, 1986. - 648 с.

.        Смидович Е.В. Технология переработки нефти и газа. Часть вторая. Крекинг нефтяного сырья и переработка углеводородных газов / Е.В. Смидович. - М.: Химия, 1980. - 328 с.

19.   Лащинский А.А. Основы конструирования и расчета химической аппаратуры / А.А. Лащинский, А.Р. Толчинский. - Ленинград: Машиностроение, 1970. - 600 с.

20.    Михалев М.Ф. Расчет и конструирование машин и аппаратов химических производств / М.Ф. Михалев, Н.П. Третьяков и другие. - Ленинград: Машиностроение, 1984. - 301 с.

.        Шкатов Е.Ф. Основы автоматизации технологических процессов химических производств / Е.Ф. Шкатов, В.В. Шувалов. - М. Химия, 1988. - 465 с.

.        Рамм В.М. Теплообменные аппараты / В.М. Рамм - Ленинград: Госхимиздат, 1948. - 246 с.

.        Альперт Л.З. Основы проектирования химических установок / Л.З. Альперт. - М.: Высшая школа, 1989. - 304 с.

.        Нефтепереработка и химия. Выпуск 6. - М.: ЦНИИИТЭнефтехим, 2005. - 45 с.

.        Бондаренко Б.И. Альбом технологических схем процессов переработки нефти и газа / Б.И. Бондаренко и др. - М.: РГУ, 2003. - 200 с.

.        Тимченко В.А. Организация производства / В.А. Тимченко. - М.: Экономика, 1999. - 456 с.

.        Мордухаев Х.М. Справочная книга для нефтяников по изобретательству и рационализации / Х.М. Мордухаев. - М.: Недра, 1982. - 136 с.

.        Леффлер Уильям Л. Переработка нефти / Уильям Л. Леффлер. - М.: Олимп-Бизнес, 2004. - 224 с.

.        Зайцев Н.Л. Экономика промышленного предприятия / Н.Л. Зайцев. - М.: Экономика, 1997. - 347 с.

.        Бахирко Б.А. Экономика химической промышленности / Б.А. Бахирко. - М.: Экономика, 1989. - 256 с.

Похожие работы на - Гидрооочистка дизтоплива

 

Не нашли материал для своей работы?
Поможем написать уникальную работу
Без плагиата!
Без нейросетей!