Характеристика щековой дробилки
Введение
щековой дробилка
электродвигатель кинематический
Автоматизация технологических процессов является
едва ли не решающим фактором повышения производительности и улучшения условий
труда, улучшения экономических показателей.
Создание новых высокопроизводительных
технологических процессов с большой скоростью выполнения операций и
значительной единичной мощностью агрегатов требует быстродействующих и надежных
технических средств для управления и контроля, обеспечивающих реализацию
преимуществ новой технологии. При этом уровень автоматизации выбирается уже при
синтезе технологий и, в свою очередь, во многом определяет эту технологию
(системное проектирование автоматизированных технологических комплексов, в том
числе автоматизированного оборудования).
Особое значение как основному звену
автоматизации отводится электроприводу. Информационные функции электропривода
очень велики. Электропривод позволяет наиболее простыми методами определять
силовые параметры технологического процесса, осуществлять диагностику и контроль
работы оборудования. Повышение технического уровня дробильного оборудования в
первую очередь связано с совершенствованием характеристик и расширением
функциональных возможностей электропривода.
Одним из первых этапов при производстве
строительных материалов, является процесс дробления. Рассматривая пути
повышения эффективности процессов измельчения и снижения их энергоемкости с
учетом отечественного и зарубежного опыта, следует обратить внимание на
оснащение дробильного оборудования современными средствами управления.
В настоящее время идет массовое строительство
автомобильных дорог, реставрация старых дорожных одежд, строительство зданий и
т.д. Поэтому возникает потребность в нерудных материалах. Чтобы приготовить
материал, для какого либо вида работ необходимо его довести до нужного размера.
Для этого применяют аппараты, в которых осуществляется дробление руды -
дробилки. Эти аппараты отличаются по принципу устройства механизма, создающего
разрушающее воздействие, и по способу воздействия на минеральные сростки:
кратковременная динамическая нагрузка - удар, медленное приложение силы -
раздавливание и раскалывание, абразивное разрушение - истирание и др.
В зависимости от свойств руды (прочность,
вязкость, хрупкость и др.) выбирается наиболее эффективный способ внешнего
силового воздействия на куски руды с целью их дробления. Например, если руда
прочная и не хрупкая, то наилучшим способом ее разрушения может быть
раздавливание или удар.
По принципу действия дробильные машины разделяют
на щековые, конусные, валковые, и ударного действия. На обогатительных фабриках
наибольшее распространение получили дробилки с простым качанием щеки. Такую
дробилку используют для крупного и среднего дробления.
Достоинством щековой дробилки является
пригодность для дробления сухих, глинистых и влажных материалов абразивности и
крепости (с пределом прочности на сжатие до 2500 кгс/см2); простая
конструкция с малым числом деталей и хорошей эксплуатационной надежностью;
исполнительный двухколенчатый механизм прост кинематически и надежен в работе.
Механизм создан 120 лет тому назад и пока остается непревзойденным в том
отношении, что создает колоссальное раздавливающее усилие между щеками при
малых усилиях на цапфах вала и головке шатуна.
1.Краткая техническая характеристика
щековой дробилки
Щековая дробилка является камнедробильным
оборудованием, которое широко распространенно в мире для дробления руды и
массивных материалов средней зернистости. Максимальная прочность на сжатие
дробленых материалов составляет 320 МПа.
Щековая дробилка относится к дробильному
оборудованию, предназначенному для размола исходного материала путем его сжатия
между двумя щеками. Щековое дробильное оборудование обычно используется на
начальных стадиях производства для размола исходного материала от средних
размеров и до крупных размеров.
Применяется на горных породах любых прочностей,
на шлаках, некоторых металлических материалах. Применение невозможно на
вязкоупругих материалах, таких как древесина, полимеры, определенные
металлические сплавы. Конструкция дробилок обеспечивает сохранение всех
параметров при температуре окружающего воздуха от плюс 40°C до минус 40°C.
При этом автоматические смазочные системы
электродвигателей привода и аппаратуры ручного управления, должны находиться в
помещении с температурой не ниже минус 5°C, а маслопроводы должны быть
теплоизолированы.
Щековые дробилки, рисунок 1, имеются во всех
классах дробления: крупном, среднем и мелком.
Рисунок 1 - Схема щековой дробилки
Дробилки, предназначенные для работы в шахтах,
изготавливаются с разъемной станиной и электродвигателями привода во
взрывобезопасном исполнении.
Для дробилок, работающих в шахтных условиях
станции жидкой и густой смазок, а также электрооборудование (за исключением
электродвигателей привода) и комплектные устройства управления электроприводами
должны устанавливаться в отдельном от дробилки взрывозащищенном помещении.
Принцип работы щековой дробилки, рисунок 2,
базируется на сдавливании кусков измельчаемого материала между щеками, в
результате чего возникают процессы сжатия и сдвига, достигающие высокой степени
напряженности и разламывающие исходный материал.
Рисунок 2 - Принцип работы щековой дробилки
Первая щека дробилки фиксируется, другая -
двигается с помощью шатуна. Верхний край подвижной щеки перемещается по
траектории качения. Вал шатуна вращается с помощью электропривода (возможен
также дизельный привод) посредством ременной передачи клиновидного сечения. К
этому же стержню прикрепляется другой шкив, выполняющий функции противовеса и
маховика главного шкива. Нижняя граница движущейся щеки может регулироваться по
горизонтали (вид привода - механический или гидравлический), при этом
минимальная ширина щели задает максимальный размер получаемых кусков дробимого
материала. Щеки дробилки сходятся под углом, в результате чего камера дробления
приобретает клиновидную форму. Собственный вес измельчаемого материала
продвигает его от загрузочной щели к нижнему отверстию. Стенки камеры дробления
не принимают участия в измельчении материала, отвечая лишь за нахождение его в
дробилке.
Материал подается в загрузочный бункер, откуда
поступает в рабочее пространство между дробящими щеками. При вращении
эксцентрикового вала подвижная щека перемещается относительно неподвижной,
обеспечивая дробление и разгрузку материала.
При сближении щек материал измельчается, при
отходе подвижной щеки - перемещается в дробилке и разгружается. Изменение
крупности частиц дробленого материала производится регулировкой разгрузочной
щели. В дробилку могут быть помещены только куски материала размером, не
превышающим максимальный размер, установленный в сопроводительной технической
документации. Производительность щековых дробилок зависит от физических свойств
измельчаемого материала, его размеров на входе и требуемой крупности на выходе
(ширины разгрузочной щели).
Основными параметрами, характеризующими щековую
дробилку, являются размеры загрузочного и разгрузочного отверстий. Шириной
загрузочного отверстия определяется наибольший размер загружаемых кусков.
Размер куска принимается равным 0,8-0,85 ширины загрузочного отверстия. От
равномерности подачи материала и равномерности распределения его по длине
загрузочного отверстия зависит производительность дробилки. Все существующие
типы щековых дробилок можно классифицировать по следующим конструктивным
признакам: по методу подвеса подвижной щеки - на дробилки с верхним подвесом и
с нижним подвесом подвижной щеки. При нижнем подвесе наибольший размах
подвижной щеки будет вверху, у входного отверстия. По устройству они делятся на
две группы: с простым и сложным качанием щеки (возможно движение как одной
щеки, так и двух щек).
Щековая дробилка с простым движением щеки,
состоит из стальной литой станины эксцентрикового вала, шатуна, оси, распорных
плит.
На рисунке 3, показана типовая конструкция
дробилки для крупного дробления с простым движением подвижной щеки. Подвижная
щека, ось которой установлена в подшипниках скольжения, закрепленных на боковых
стенках станины, получает качательные движения через распорные плиты и от
шатуна, подвешенного на эксцентричной части вала, приводимого во вращение от
электродвигателя через клиноременную передачу. Рабочие поверхности щек футеруют
сменными дробящими плитами, изготавливаемыми из износостойкой стали 110Г13Л.
Рисунок 3 - Щековая дробилка с простым движением
щеки
Боковые стенки камеры дробления также облицованы
сменными плитами. Рабочую поверхность дробящей плиты, как правило,
изготавливают рифленой и реже (для первичного дробления) гладкой. От
продольного профиля плит зависят условия захвата кусков и гранулометрический
состав материала.
Циклический характер работы щековых дробилок
(максимальное нагружение при сближении щек и холостой ход при их расхождении) создает
неравномерную нагрузку на двигатель.
Для выравнивания нагрузки на приводном валу
устанавливают маховик и шкив-маховик. Маховики аккумулируют энергию при
холостом ходе и отдают ее при ходе сжатия.
В процессе эксплуатации возникает необходимость
регулировать ширину выходной щели камеры дробления. В крупных дробилках для
этого устанавливают разные по толщине прокладки между упором и задней стенкой
станины. Гарантированное замыкание звеньев механизма привода подвижной щеки в
дробилках с ломающимися распорными плитами осуществляется пружиной и тягой.
Щековая дробилка со сложным движением щеки,
рисунок 4, рисунок 5, состоит из двух основных узлов: станины и эксцентрикового
вала с подвешенной на нем дробящей щекой. К передней стенке станины внутренней
стороны крепится с помощью футеровок неподвижная дробящая плита. Щека дробилки
подвешивается верхним концом на главный эксцентриковый вал, от которого она
получает движение.
Рисунок 4 - Щековая дробилка со сложным
движением подвижной щеки
Рисунок 5 - Устройство щековой дробилки со
сложным движением подвижной щеки
Станина крупных дробилок состоит из двух частей,
соединенных в горизонтальной плоскости болтами. Станины дробилок малых размеров
литые неразъемные. На обоих концах эксцентрикового вала через фрикционные муфты
закреплены маховики, один из которых является одновременно приводным шкивом, на
котором имеются проточки для клиновых ремней. Эксцентриковый вал
устанавливается на подшипниках скольжения, последние крепятся в выемках боковых
стенок станины. Вкладыши подшипников заливаются антифрикционным материалом
(баббитом). Вал в средней части имеет эксцентричность. Шатун подвешивается на
эксцентриковую часть вала.
В верхней части шатуна имеется головка, которая
состоит из корпуса и крышки, соединенных болтами, в нижней части имеются
продольные пазы с вкладышами, на которые опираются головки передней и задней
распорных плит.
Распорные плиты изготавливают из чугуна. Во
многих конструкциях задняя плита выполняет также роль предохранительного
устройства. В этом случае она рассчитывается по уменьшенному запасу прочности
на сжатие.
Иногда эта плита изготавливается из двух частей,
соединенных между собой заклепками или болтами.
Перед пуском электродвигателя по трубопроводу в
гидроцилиндр подается масло. При этом пружины сжимаются, крышка отходит вправо
и ослабляет сцепление между дисками. Затем включается электродвигатель
дробилки. Шкив-маховик, а следовательно, соединенные с ним втулка с дисками приводится
во вращение. Диски в это время проскальзывают. Когда маховик достигает
необходимого числа оборотов, прекращается подача масла в гидроцилиндр, и
пружины надавливают на крышку. Крышка надавливают на диски и вводит последние в
зацепление. Эксцентриковый вал начинает вращаться, при этом ввод дробилки в
действие происходит не рывком, а плавно. Пространство, ограниченное подвижной и
неподвижной щеками и частью продольных стенок станины, называется камерой
дробления. Высота камеры дробления больше ширины загрузочного отверстия в 2 -
2,4 раза. Продольные стенки камеры дробления футеруются высокоуглеродистыми или
марганцовистыми стальными плитами. Профиль футеровки подвижной и неподвижной
щек может быть различным (ребристым, волнистым и т.д.), боковые плиты гладкие.
Ось подвеса боковой щеки обычно выносится примерно на 0,5 ширины загрузочного
отверстия выше верхнего уровня камеры дробления. Этим достигается увеличение
хода подвижной щеки на уровне загрузочного отверстия дробилки. Ход щеки на
уровне загрузочного отверстия принимается равным примерно одной сотой от ширины
загрузочного отверстия. На нижнем конце задней стенки подвижной щеки крепятся
две тяги замыкающего устройства. Назначение тяг - способствовать возврату
подвижной щеки в исходное положение при посредстве пружин. Регулирование ширины
разгрузочного отверстия производится путем замены распорных плит (у крупных
дробилок) или установкой прокладок между вкладышем распорной плиты и задней
стенкой станины, или с помощью клинового регулировочного механизма.
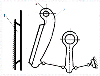
1.1 Кинематические схемы щековой
дробилки
Привод дробилки осуществляется с помощью двух
электродвигателей имеющих разное назначение, рисунок 6.
Рисунок 6 - Схема привода щековой дробилки
Главный двигатель используется для привода
дробилки при технологической нагрузке. Крутящий момент от электродвигателя
передается через упругую втулочно-пальцевую муфту на ведущий шкив и через
клиноременную передачу на ведомый шкив дробилки.
Ввиду того что щековая дробилка обладает
большими инерционными массами, пуск ее с помощью главного двигателя затруднен.
Поэтому для пуска используют специальное устройство, состоящее из вспомогательного
электродвигателя, редуктора с большим передаточным отношением и обгонной муфты.
Пусковое устройство обеспечивает запуск дробилки даже при наличии в камере
дробления некоторого количества материала.
После того, как эксцентриковый вал приходит в движение
от вспомогательного привода, включается главный электродвигатель и одновременно
отключается вспомогательный. Дальнейший разгон дробилки до номинальной частоты
вращения производится с помощью главного электродвигателя. Схемы щековых
дробилок, рисунок 7, 8.
Рисунок 7 - Схема щековой дробилки с простым
движением щеки
Рисунок 8 - Схема щековой дробилки со сложным
движением щеки
Работа основных механизмов щековой дробилки
рассматривается по кинематическим схемам.
В зависимости от кинематических особенностей
механизма щековые дробилки можно разделить на две основные группы:
) Дробилки, у которых движение от кривошипа к
подвижной щеке передается определенной кинематической цепью. При этом
траектории движения подвижной щеки представляют собой части дуги окружности.
Эти машины называются щековыми дробилками с простым движением подвижной щеки,
рисунок 9.
Рисунок 9 - Кинематическая схема щековой
дробилки c простым движением щеки
) Дробилки, у которых кривошип и подвижная щека
образуют единую кинематическую пару. В этом случае траекторий движения точек
подвижной щеки представляют собой замкнутые кривые, чаще, всего эллипсы.
Дробилки с такой кинематикой называются щековыми дробилками со сложным
движением подвижной щеки, рисунок 10.
Рисунок 10 - Кинематическая схема щековой
дробилки CО сложным движением щеки
1.2 Требования к системе
электропривода. Требования к системе автоматики
В простейшем понимании электропривод
представляет собой электромеханическую систему, предназначенную для
преобразования электрической энергии в механическую, приводящую в движение
рабочие органы различных машин. Однако на современном этапе на электропривод
часто возлагается задача управления движением рабочих органов по заданному
закону, с заданной скоростью или по заданной траектории, поэтому более точно
можно сказать, что электропривод - это электромеханическое устройство,
предназначенное для приведения в движение рабочих органов различных машин и
управления этим движением.
Как правило, электропривод состоит из
электродвигателя, осуществляющего непосредственное преобразование электрической
энергии в механическую, механической части, передающей энергию от двигателя к
рабочему органу, включающий рабочий орган и устройства управления двигателем, осуществляющего
регулирование потока энергии от первичного источника к двигателю. В качестве
устройства управления может быть использован как простейший выключатель или
контактор, так и регулируемый преобразователь напряжения. В совокупности
перечисленные устройства образуют энергетический канал привода. Для обеспечения
заданных параметров движения привода предназначен информационно-управляющий
канал, в состав которого входят информационные и управляющие устройства,
обеспечивающие получение информации о заданных параметрах движения и выходных
координатах и реализующие определенные алгоритмы управления. К ним относятся, в
частности, различные датчики (угла, скорости, тока, напряжения и др.),
цифровые, импульсные и аналоговые регуляторы.
Как к любому техническому объекту, к
электроприводу предъявляются разнообразные технические требования. Рассмотрим
общие, наиболее характерные из них.
Требования по надежности, в соответствии с
которыми электропривод должен выполнять заданные функции в определенных
условиях, в течение определенного промежутка времени и с заданной вероятностью
безотказной работы. Если эти требования не выполняются или не подтверждаются,
то все остальные его качества могут оказаться бесполезными. Требования по
надежности могут существенно отличаться в зависимости от назначения привода.
Точность или отличие каких-либо показателей
движения от заданных, которое не должно превышать некоторых допустимых
значений. Электропривод должен поддерживать на заданном уровне ускорение,
скорость, угол или момент рабочего органа, обеспечивать перемещение рабочего
органа на заданный угол и за заданное время и т.д.
Быстродействие, т.е. способность электропривода
достаточно быстро реагировать на различные управляющие и возмущающие
воздействия. Этот показатель тесно связан с показателем точности. Например, в
следящем электроприводе при быстром и частом изменении управляющих сигналов,
чем выше быстродействие привода, тем меньше будет ошибка воспроизведения
заданного движения.
Качество переходных процессов, под которым, как
и в теории автоматического управления, понимается обеспечение определенных
закономерностей их протекания. Требования к качеству чаще всего формулируются,
исходя из особенностей функционирования машин или рабочих органов, в которых
устанавливается электропривод.
Энергетическая эффективность. Поскольку любой
процесс передачи и преобразования электрической энергии связан с ее потерями,
важно знать, какова доля этих потерь. Особенно это важно при использовании
электропривода в подвижных объектах, переносной аппаратуре или электроприводах
большой мощности и длительным режимом работы. Энергетическая эффективность
оценивается к.п.д. - отношением полезно истраченной энергии к ее полному
расходу в данном процессе. В любом случае необходимо стремиться к максимальному
к.п.д. привода.
Совместимость электропривода с аппаратурой
технического комплекса, в котором он используется, с системой электроснабжения,
информационной системой и, наконец, с самим рабочим органом и прибором, в
котором он установлен.
Автоматизация технологических процессов должна
обеспечивать:
контроль химического состава сырьевой смеси;
контроль технологических параметров;
контроль состояния механизмов и агрегатов;
дистанционное управление;
автоматическое управление (стабилизация,
регулирование) технологическими процессами и агрегатами;
автоматическую стабилизацию;
технологическую защиту.
1.3 Выбор рода тока и величины
питающих напряжений
Выбор электродвигателя осуществляется по роду
тока и напряжения, конструктивному исполнению, мощности и режимам работы.
Выбор рода тока и величины напряжения для цепей
управления важен не только с точки зрения правильности работы схемы, но и
безопасности обслуживающего персонала и целости оборудования при работе на
аварийных режимах.
Обычно выбор рода тока электродвигателя
определяет и выбор его номинального напряжения, которое стремятся брать равным
напряжению источника электропитания технологического объекта. Понижение
напряжения для двигателей с помощью трансформатора, применение выпрямителей для
двигателей постоянного тока приводит к увеличению затрат на
электрооборудование.
При выборе рода тока и величины напряжения для
питания промышленных механизмов и установок необходимо помнить, что в настоящее
время могут конкурировать два напряжения переменного тока - 380 / 220 и 660 В.
Другие, более низкие, напряжения не могут дать сколько-нибудь выгодных решений
в экономическом отношении, в том числе и по расходу цветных металлов.
Постоянный же ток чаще применяется в специальных установках, где он необходим
па условиям технологического процесса (установки гальванических покрытий
металлов, электролизные установки, установки анодно-механической и
электроискровой обработки металлов и др.) г а также в тех электроприводах, где
необходима регулировка скорости в широких пределах. Источниками постоянного
тока могут быть различные современные устройства: управляемые тиристорные,
тиратронные и ртутные преобразователи; двигатели-генераторы; нерегулируемые
полупроводниковые выпрямители. Электродвигатель для привода дробилки -
асинхронный с фазным ротором на напряжение 380 В трехфазного переменного тока.
1.4 Описание режимов и циклов работы
электродвигателей
Учет режима работы имеет большое значение при
подборе двигателя. Мощности двигателей, указанные в каталогах, приведены для
режима S1 и нормальных условий работы, кроме двигателей с повышенным
скольжением. Продолжительный режим работы S1 - работа машины при неизменной
нагрузке достаточно длительное время для достижения неизменной температуры всех
ее частей.
Нагрев электродвигателя определяется режимом его
работы, т. е. соотношением длительности периодов работы и пауз между ними,
частотой включения двигателя. В зависимости от времени включения двигателя,
соотношения продолжительности работы и пауз, а также от характера изменения
нагрузки различают три режима работы электродвигателей: продолжительный,
кратковременный, повторно-кратковременный.
Продолжительный режим работы (условное
обозначение S1) - это режим работы такой длительности, когда при практически
неизменной нагрузке и температуре окружающей среды двигатель нагревается до
установившегося значения. В таком режиме работают электроприводы компрессоров,
вентиляторов, дымососов, конвейеров непрерывного транспорта и т. д.
Процесс дробления отличается большим расходом
энергии и быстрым износом деталей машин, находящихся в соприкосновении с
дробимым материалом. Такие детали изготовляют большей частью из дорогих
легированных сталей. Перед дроблением из исходного материала следует удалять
фракции готового продукта, так как, распределяясь между более крупными кусками,
они повышают упругость измельчаемой массы. Процесс работы щековой дробилки
цикличен. При переработке нерудных строительных материалов машины могут
работать по открытому и замкнутому циклам.
При дроблении по открытому циклу материал проходит
через дробильную машину только один раз, при этом куски конечного продукта
получаются неодинаковыми по величине.
При дроблении по замкнутому циклу крупные
фракции оставшегося на сите материала после сортировки возвращаются на
повторное дробление. Так как материал неоднократно проходит через дробильную
машину, то нагрузка (циркуляционная) на нее увеличивается, однако машина
работает с большей производительностью, чем при открытом цикле, и выдает более
равномерный продукт. При замкнутом цикле дробления материал не переизмельчается
и уменьшаются расходы энергии, а также износ рабочих органов машины.
Конструкция дробилок должна обеспечивать
круглосуточный режим работы с остановками для технического обслуживания.
2. Расчет мощности электродвигателя
щековой дробилки, его выбор и проверка по условиям пуска
Исходные данные:
Ширина приемного отверстия В = 1,5 м;
Ширина выходного отверстия в = 0,18 м;
Объемная масса дробильного материала γ
= 1800 кг/м3;
Производительность дробилки Q = 65 т/ч;
Длина кабеля ℓ = 65 м.
Наиболее удобной для практических расчетов
мощности привода щековых дробилок является эмпирическая формула, учитывающая
реальные условия дробления материала.
Мощность двигателя щековой дробилки:
Рдв = 0,13∙Еi∙Км∙
∙Q, кВт
(1) где Рдв - мощность двигателя, кВт;
,13 - переводной коэффициент;
Еi
- энергетический показатель, зависящий от физико - механических свойств
перерабатываемого материала, Еi
=3.2
кВт∙ч/т;
Км - коэффициент масштабного фактора,
который характеризует изменение энергетического показателя исходного материала
с изменением крупности. Коэффициент зависит от средневзвешенного размера кусков
исходного материала и определяется по таблице 1.
i - возможная
степень дробления;- производительность дробилки, т/ч;св -
средневзвешенный размер исходного материала, Dсв
= 460 мм;- производительность дробилки, т/ч;
Для ориентировочной оценки дробилки ее возможную
степень дробления определяют по формуле:
i = 
,
где i
- возможная степень дробления;
0,85 - переводной коэффициент;
В - ширина премного отверстия, мм;
b - ширина выходной
щели, мм.
Средневзвешенный размер кускового готового
материала:
dср
= 0,8 ∙ в, мм
где dср
- средневзвешенный размер кускового готового материала, мм;
0,8 - переводной коэффициент;
в - ширина выходного отверстия.
dср
= 0,8 ∙ 0,18 = 0,14 мм
i = 
= 7,1
Рдв = 0,13∙3,2∙0,80∙

∙65 = 52,4 кВт
По каталогу выбираем трехфазный общепромышленный
асинхронный электродвигатель ремонтной серии АО10 с короткозамкнутым ротором
закрытого исполнения предназначенный для продолжительного режима работы от сети
переменного тока
Мощность двигателя: Рдв = 75 кВт;
Напряжение питающей сети: U = 380 В;
Частота вращения: n = 750 об/мин;
КПД: Ƞ
= 92%;
Коэффициент мощности: cos
φ = 0,8;
Кратность пускового момента: λп
= Мп/Мн = 1,3;
Кратность максимального момента: λм
= Мmах/Мн
= 2;
Кратность минимального момента: λmin
= Мmin/Мн
= 1,0;
Кратность пускового тока: λi
= Iп/
Iн
= 6;
Количество пар полюсов: 2р = 8;
Номинальное скольжение: s = 1,7%.
Проверку двигателя по условиям пуска осуществляют
из условия:
,8 ∙ Мпуск ≥ 1,2 ∙
Мст (4)
где Мпуск - пусковой момент
выбранного двигателя, Н∙м;
Мст - максимальный статический момент
нагрузки, Н∙м.
Мст = 
, Н∙м (5)
где Мст - максимальный
статический момент нагрузки, Н∙м;
- переводной коэффициент;
Рдв - мощность двигателя,
кВт;дв - частота вращения двигателя, об/мин.
Мпуск - пусковой момент выбранного
двигателя, Н∙м;
М пуск = ki ∙ Мн,
Н∙м (6)
где Мпуск - пусковой момент
выбранного двигателя, Н∙м;
ki
- кратность пускового момента;
Мн - номинальный момент двигателя, Н∙м.
Мн = 
, Н∙м (7)
где Мн - номинальный момент двигателя, Н∙м;
Рн - номинальная мощность
электродвигателя, Вт
,55 - переводной коэффициент;дв -
частота вращения двигателя, об/мин.
1)Максимальный статический момент нагрузки:
Мст = 
= 667,2 Н∙м.
) Номинальный момент выбранного
двигателя:
Мн = 
955 Н∙м.
)Пусковой момент выбранного
двигателя:
Мпуск = 1,3∙955 =
1241,5 Н∙м.
,8 ∙ Мпуск ≥
1,2 ∙ Мст
,8∙1241,5 ≥ 1,2∙667,2;
,2 > 800,7.
Условие выполняется. Окончательно
принимаем трехфазный общепромышленный асинхронный электродвигатель ремонтной
серии АО10 с короткозамкнутым ротором.
Многоскоростные электродвигатели
серии АО10 предназначены для работы от сети переменного тока в составе привода
различных механизмов со ступенчатым регулированием скорости: вентиляторов,
насосов, дымососов, мельниц, дробилок, станков и других установок для нужд
различных отраслей промышленности. Электродвигатели изготавливаются для
различных климатических зон, в т.ч. тропиков и севера.
2.1 Расчет и выбор аппаратов защиты
и управления
Выбор коммутационных аппаратов и аппаратов
защиты к электроприемникам производится, исходя из номинальных данных последних
и параметров питающей их сети, требований в отношении защиты приемников и сети
от ненормальных режимов, эксплуатационных требований, в частности частоты
включений и условий среды в месте установки аппаратов.
Конструкция всех электрических аппаратов
рассчитывается и маркируется заводами-изготовителями на определенные для
каждого аппарата значения напряжения, тока и мощности, а также для
определенного режима работы. Таким образом, выбор аппаратуры по всем этим
признакам сводится, по существу, к отысканию на основании данных каталогов
соответствующих типов и величин аппаратов.
При выборе аппаратов защиты следует иметь в виду
возможность следующих ненормальных режимов:
) Междуфазные короткие замыкания.
) Замыкания фазы на корпус.
) Увеличение тока, вызванное перегрузкой
технологического оборудования, а иногда неполным коротким замыканием.
) Исчезновение или чрезмерное понижение
напряжения.
Защита от токов короткого замыкания должна
выполняться для всех электроприемников. Она должна действовать с минимальным
временем отключения и должна быть отстроена от пусковых токов.
Защита от перегрузки необходима для всех электроприемников
с продолжительным режимом работы, за исключением следующих случаев:
) Когда перегрузка электроприемников по
технологическим причинам не может иметь места или маловероятна (центробежные
насосы, вентиляторы и т. п.).
) Для электродвигателей мощностью менее 1 кВт.
Защита от перегрузки необязательна для
электродвигателей, работающих в кратковременном или повторно-кратковременном
режимах. Во взрывоопасных помещениях защита электроприемников от перегрузки
обязательна во всех случаях. Защита минимального напряжения должна
устанавливаться в следующих случаях:
для электродвигателей, которые не допускают
включения в сеть при полном напряжении;
для электродвигателей, самопуск которых
недопустим по технологическим причинам или представляет опасность для
обслуживающего персонала;
для прочих электродвигателей, отключение которых
при прекращении питания необходимо для того, чтобы понизить до допустимой
величины суммарную пусковую мощность подключенных к сети электроприемников.
Ток короткого замыкания должен отключаться
мгновенно или почти мгновенно. Величина его в различных участках сети может
быть весьма различна, но практически всегда можно считать, что аппараты защиты
должны уверенно и быстро отключать любой ток, существенно больший пускового, и
вместе с тем ни в коем случае не срабатывать при нормальном пуске.
Током перегрузки является любой ток, превышающий
номинальный ток электродвигателя, но нет никаких оснований требовать отключения
электродвигателя при каждом возникновении перегрузки.
Известно, что определенная перегрузка как
электродвигателей, так и питающих их сетей, допустима, и что чем
кратковременней перегрузка, тем больше может быть ее величина. Отсюда ясны
преимущества для защиты от перегрузки таких аппаратов, которые имеют «зависимую
характеристику», т. е. время срабатывания которых уменьшается с увеличением
кратности перегрузки.
Поскольку, за очень редкими исключениями,
аппарат защиты остается в цепи электродвигателя и при пуске, он не должен
срабатывать при пусковом токе нормальной продолжительности.
Для защиты от токов короткого замыкания должен
применяться безынерционный аппарат, настроенный на ток, существенно больший
пускового, а для защиты от перегрузок, наоборот, инерционный аппарат с
зависимой характеристикой, выбранный так, чтобы он не срабатывал за время
пуска. В наибольшей степени этим условиям удовлетворяет комбинированный
расцепитель, сочетающий в себе тепловую защиту от перегрузки и мгновенное
электромагнитное отключение при токе короткого замыкания.
Один только аппарат мгновенного действия,
настроенный на ток, больший пускового, защиты от перегрузок не обеспечивает.
Напротив, один только инерционный аппарат с зависимой характеристикой, при
большой кратности перегрузки срабатывающий почти мгновенно, может осуществить
оба вида защиты, если только он способен отстроиться от пусковых токов, т. е.
если время его срабатывания при пуске больше продолжительности последнего.
Плавкие предохранители, широко применявшиеся
ранее в качестве защитных аппаратов, обладают рядом недостатков, основными из
которых являются:
ограниченная возможность применения для защиты
от перегрузки, вследствие трудности отстройки от пусковых токов;
недостаточная в ряде случаев предельная
отключаемая мощность;
продолжение работы электродвигателя на двух
фазах при перегорании вставки в третьей фазе, что часто приводит к повреждению
обмоток электродвигателя;
отсутствие возможности быстрого восстановления
питания;
возможность применения эксплуатационным
персоналом некалиброванных вставок;
развитие аварии при некоторых типах
предохранителей, вследствие переброски дуги на соседние фазы,
довольно большой разброс время-токовых
характеристик даже у однородных изделий.
Воздушные автоматы по сравнению с
предохранителями являются более совершенными аппаратами зашиты, но обладают неизбирательностью
действия, особенно при нерегулируемых токах отсечки у установочных автомагов, у
универсальных автоматов хотя и имеется возможность избирательности, но
осуществляется она сложным путем.
Следует отметить, что у установочных автоматов
защита от перегрузки осуществляется тепловыми расцепителями. Эти расцепители
менее чувствительны, чем тепловые реле магнитных пускателей, но зато
устанавливаются в трех фазах.
В универсальных автоматах зашита от перегрузки
является еще более грубой, поскольку в них имеются только одни электромагнитные
расцепители. Вместе с тем, в универсальных автоматах имеется возможность
осуществить защиту минимального напряжения.
Магнитные пускатели с помощью встраиваемых в них
тепловых реле осуществляют чувствительную защиту от перегрузки в двух фазах,
но, вследствие большой тепловой инерции реле, не обеспечивают защиты от
коротких замыканий. Наличие в пускателях удерживающей катушки позволяет
осуществить защиту минимального напряжения.
Защиту от перегрузки и коротких замыканий могут
осуществлять токовые электромагнитные и индукционные реле, но они также могут
действовать только через отключающий аппарат, и схемы с их применением
получаются более сложными.
С учетом сказанного выше и совокупности
требований, предъявляемых к аппаратам управления и защиты:
) Для электродвигателей мощностью до 55 кВт,
требующих защиты от перегрузки, наиболее употребительными аппаратами являются
магнитные пускатели в комбинации с плавкими предохранителями или воздушными
автоматами.
)При мощности электродвигателей более 55 кВт
применяются электромагнитные контакторы в комбинации с защитными реле или
воздушными автоматами. При этом следует помнить, что контакторы не допускают
разрыва цепи при коротких замыканиях.
Номинальный ток двигателя:
н = , А (8) где Iн - номинальный ток
двигателя, А;
Рдв - мощность двигателя, кВт;
- переводной коэффициент;н - номинальное
напряжение, В;
cos φ - коэффициент
активной мощности;
Ƞ - коэффициент
полезного действия.
Выбираем автоматический выключатель с
электромагнитным приводом.
Выбираем трансформатор тока.
Трансформатор тока предназначен для понижения
первичного тока до стандартной величины (5 или 1 А) и для определения цепей
измерения и защиты от первичных цепей высокого напряжения.
Таблица 4. Технические данные автоматического
воздушного выключателя серии А3730Ф
Таблица 5. Технические данные трансформатора
тока серии ТКЛ
Трансформаторы тока изготовляются на следующие
номинальные токи: 5, 10, 15, 20, 30, 40, 50, 75, 100, 150, 200, 300, 400, 600,
800, 1000, 1600, 2000, 3000, 4000, 5000, 6000, 8000, 10 000 и 15 000 А
Окончательно выбираем трансформатор тока ТКЛ -
0,5 - трансформатор тока катушечный с изоляцией из литой синтетической смолы.
Выбираем трансформатор напряжения.
Трансформатор напряжения предназначен для
преобразования больших переменных напряжений в относительно малые напряжения.
Окончательно выбираем трансформатор напряжения
НОС - 0,5.
Таблица
Окончательно выбираем трансформатор напряжения
НОС - 0,5.
Измерительный трансформатор напряжения
однофазный сухой.
2.2 Расчет и выбор кабелей и
проводов
Выбираем кабель по экономической плотности тока.
Условия выбора сечения проводников:
где Fэк - сечение проводника, мм2;р. мах -
расчетный максимальный ток нормального режима, А;эк - экономическая плотность
тока, А/мм2.
Экономическая плотность тока зависит от
материала проводника и величины Tmax. Так как Tmax = 5000 ч выбираем jэк = 1,7
А/мм2.
Выбираем кабель АВВГ - (4×95)
Четырехжильный кабель с алюминиевыми жилами,
резиновой изоляцией, ПВХ оболочкой и броней.
Проверяем кабель по потерям напряжения:
ΔU
- переводной коэффициент;р - ток ротора, А;
ℓ - длина линии, км;= 0,89 Ом/км -
удельное активное сопротивление кабеля на 1 км длины;
cos φ - коэффициент
активной мощности;
х0 = 0,088 Ом/км - удельное реактивное
сопротивление кабеля на 1 км длины;
sin φ - коэффициент
реактивной мощности;н - номинальное напряжение, В.
ΔU = [1,73×155×0,065×(0,89×0,8
+ 0,088×0,6)/380]×100%
= 3,5%,
,5% < 5%, кабель проходит по потерям
напряжения
3.Описание принципиальной схемы
управления
Любой пластинчатый питатель предназначен, прежде
всего, для равномерной подачи сыпучих и кусковых материалов в рабочие машины
или транспортирующие устройства. Такая подача осуществляется равномерно и
регулируется в зависимости от требований технологического процесса.
Наличие бункера у пластинчатого питателя
позволяет загружать его с помощью самосвалов и погрузчиков.
Питатель является важным составляющим элементом
дробильно-сортировочных установок, в зависимости от особенностей работы и
технического устройства.
В дипломном проекте рассмотрена однолинейная
принципиальная схема управления электроприводами щековой дробилки и
пластинчатого питателя с использованием одного преобразователя частоты. Процесс
плавного запуска электропривода щековой дробилки осуществляется в
автоматическом режиме с соблюдением всех блокировок и защит. По окончании
процесса пуска электропривод щековой дробилки автоматически переключается на
питание от сети промышленного электроснабжения 380 В. Преобразователь частоты
переходит в режим готовности для регулирования электропривода пластинчатого
питателя.
Режимы регулирование производительности
пластинчатого питателя:
«Ручной» режим - регулирование
производительности (скорости) пластинчатого питателя осуществляет машинист
дробильного отделения от аппаратов пульта управления;
«Автоматический» режим - замкнутый контур
автоматического регулирования производительности пластинчатого питателя в
функции тока электропривода щековой дробилки. Действия машиниста: команда
пуск/стоп; задание максимальной производительности пластинчатого питателя;
контроль режимов работы оборудования.
3.1 Электропривод щековой дробилки
Привод дробилки осуществляется с помощью двух
электродвигателей имеющих разное назначение смонтированных на одной раме. Общий
вид щековой дробилки с электрооборудованием представлен на рисунке 11.
Рисунок 11 - Общий вид щековой дробилки с
электрооборудованием
Главный двигатель используется для привода
дробилки при технологической нагрузке. Крутящий момент от электродвигателя
передается через упругую втулочно-пальцевую муфту на ведущий шкив и через
клиноременную передачу на ведомый шкив дробилки.
Ввиду того что щековая дробилка обладает
большими инерционными массами, пуск ее с помощью главного двигателя затруднен.
Поэтому для пуска используют специальное устройство, состоящее из
вспомогательного электродвигателя, редуктора с большим передаточным отношением
и обгонной муфты. Пусковое устройство обеспечивает запуск дробилки даже при наличии
в камере дробления некоторого количества материала.
После того, как эксцентриковый вал приходит в
движение от вспомогательного привода, включается главный электродвигатель и
одновременно отключается вспомогательный. Дальнейший разгон дробилки до номинальной
частоты вращения производится с помощью главного электродвигателя.
Главный привод дробилки состоит из
электродвигателя и ведущего шкива, соединенных между собой муфтой МУВП.
Вспомогательный привод состоит из
электродвигателя, ременной передачи, редуктора и муфты кулачковой с ручным
механизмом переключения.
В аварийных случаях вспомогательный привод
обеспечивает запуск дробилки под завалом, т.е. когда рабочая камера дробилки
заполнена горной массой, дробилка работает через кулачковую муфту с принудительным
включением.
Одновременное включение и работа главного и
вспомогательного электродвигателей исключается электроблокировкой.
При включении кулачковой муфты конечный
выключатель разрывает цепь управления главного электродвигателя. Включать
кулачковую муфту при полностью не остановившемся главном электродвигателе
строго воспрещается.
Все вращающиеся части привода должны быть
закрыты постоянными кожухами.
Рама привода устанавливается на салазки, которые
закреплены к фундаменту.
Натяжение клиновых ремней привода производится
натяжным устройством путем перемещения рамы относительно салазок.
Работа дробилки происходит в следующей
последовательности. От электродвигателя через клиноременную передачу вращение
передается шкиву-маховику, закрепленному на эксцентриковом валу. Большая масса
движущихся частей затрудняет запуск дробилки, создавая очень большой пусковой
момент. Поэтому крупные дробилки, выпускаемые в последнее время, имеют
ступенчатый пуск, осуществляемый последовательным вводом в работу шкива-маховика,
далее через фрикционную муфту эксцентрикового вала с шатуном, а затем через
вторую фрикционную муфту второго маховика. Полное время пуска дробилки в этом
случае составляет 50-60 секунд. При вращении эксцентрикового вала шатун
совершает возвратно - поступательное движение в вертикальной плоскости. При
движении шатуна вверх вместе с ним движутся и концы распорных плит. Последние,
распрямляясь (за счет увеличения угла между плитами), начинают надавливать на
заднюю стенку станины и подвижную щеку, перемещая последнюю в сторону
неподвижной щеки. Материал, загруженный в камеру дробления, при этом
подвергается раздавливанию. При движению шатуна вниз совершается холостой ход.
Энергия холостого хода электродвигателя аккумулируется маховиками и
используется во время рабочего хода. Щека во время холостого хода отходит под
действием составляющей силы тяжести ее и пружин замыкающего устройства.
3.2 Автоматизация процессов
дробления
Главная задача автоматизации процессов дробления
заключается в обеспечении равномерной загрузки дробильной установки на всех
стадиях дробления при различных крупности и твердости материала, поступающего
из карьера. На рисунке 12. Представлена схема автоматического регулирования
работ узла дробильной установки.
Узел первичного дробления состоит из приемного
бункера, пластинчатого питателя и щековой дробилки.
Рисунок 12 - Схема автоматического регулирования
работы узла дробильной установки
В настоящее время применяют несколько систем
автоматического регулирования загрузки дробилки первичного дробления с
использованием в качестве регулируемой величины уровня материала в зеве
дробилки силы тока электродвигателя и мощности, потребляемой двигателем
дробилки. Как показано на схеме регулирования работы дробилки, системой I
контролируется уровень материала в дробильном пространстве при помощи у-реле
(реле времени) ДУ (дробильной установки), сигнал от которого поступает в
электрорегулятор ЭР и через исполнительный механизм ИМ воздействует на
пластинчатый питатель: при уровне материала выше контролируемого скорость
движения ленты переключается с высшей на низшую при многоскоростном двигателе
или отключается при односкоростном.
В системе II, осуществляющей регулирование
дробилки по мощности двигателя Д, в качестве чувствительного элемента
используют датчик нагрузки Р,. При возрастании потребляемой мощности
срабатывает исполнительный механизм и отключает питатель или переключает
скорость движения его ленты с высшей на низшую.
При дроблении материала пониженной твердости,
когда двигатель дробилки работает в режиме, близком к холостому ходу, для
предотвращения завала транспортера 4 предусмотрена система III, корректирующая
работу питателя дробилки в зависимости от загрузки этого транспортера (по
датчику мощности двигателя Р2 или по датчику взвешивающего
устройства ДВ).
На второй и третьей стадиях дробления, где
обычно применяются конусные дробилки, задачей автоматического регулирования
является предохранение дробилок от заклинивания конусов при попадании
недробимых предметов. Для работы в автоматизированных технологических линиях
разработаны модернизированные конусные дробилки, оснащенные системой
гидравлического регулирования выпускной щели. На конвейере после первичного
дробления устанавливают автоматически действующие устройства для удаления
металла из потока материала - электромагнитные шкивы и подвесные
электромагниты.
В системе автоматической загрузки дробилки,
рисунок 13, регулируемые параметры - производительность и уровень
контролируются электротензометрическими конвейерами веса 1 и фотоэлектрическим
уровнемером 2.
Рисунок 13 - Система автоматической загрузки
дробилки
Два контура управления, включающие в себя
регуляторы уровня и производительности 3 и 4, через промежуточный блок 5
воздействует на ток подмагничивания однофазных силовых магнитных усилителей 6.
Выпрямленное напряжение усилителей подается на обмотку якоря приводного
электродвигателя дробилки. Если в автоматическом режиме регулируемые величины
превысят установленные для них предельные значения, на блок 5 поступит сигнал,
и питатель 7 выполняющий функцию исполнительного органа, до тех пор будет
снижать свою производительность, пока сигнал не исчезнет. Если уровень не
превышает нижнего заданного значения (0,6 высоты камеры дробления), регулятор
уровня выключается, и регулирование осуществляется по производительности. При
заполнении дробилки до верхнего максимального допустимого значения - 0,9 высоты
камеры-регулятор останавливает питатель. При опускании уровня заполнения ниже
предельного значения регулирование ведется только по сигналу датчика
производительности. Недостаток системы заключается в применении системы
регулирования релейного действия. Это приводит к быстрому износу пусковой
аппаратуры, редуктора и пластинчатого питателя из-за частых пусков. Но эта
система может быть превращена в линейную систему управления при соответствующей
замене аппаратуры. Вместо привода релейного действия может быть применен привод
пластинчатого питателя с индукторной муфтой скольжения; привод с двигателем
постоянного тока, питателем от управляемого магнитного усилителя, или привод с
кремниевым выпрямителем. В этом случае получается система регулирования
производительности конечного продукта дробления с последовательной коррекцией
по значению производительности.
3.3 Эксплуатация и обслуживание
электрооборудования щековой дробилки
Повышению надежности работы электрооборудования
в процессе эксплуатации в значительной степени способствует правильная
организация и своевременнее проведение технического обслуживания (ТО) в полном
объеме. Основной задачей ТО является поддержание электрооборудования в
работоспособном состоянии. Работы по ТО проводят на месте установки
электрооборудования. Техническое обслуживание электрооборудования подразделяют на
производственное и плановое. Производственное ТО включает в себя
эксплуатационное обслуживание, которое проводится персоналом, обслуживающим
электрифицированные рабочие машины и механизмы (очистка и осмотр до начала и
после окончания работы, управление, контроль за работой), и дежурное
обслуживание, выполняемое дежурными электромонтерами (производство отключений и
переключений, устранение мелких неисправностей, проведение необходимых
регулировок). При плановом ТО электрооборудование очищают, проверяют, регулируют,
смазывают и при необходимости заменяют недолговечные, легкосъемные детали
(щетки, пружины и др.). Проведение ТО позволяет своевременно обнаруживать и
устранять неисправности, возникающие в процессе эксплуатации
электрооборудования, или причины, которые могут вызвать неисправности. Таким
образом, в своей основе техническое обслуживание является профилактическим
мероприятием, направленным на обеспечение работоспособности электрооборудования
и предупреждение возникновения и развития неисправностей. При обнаружении во
время проведения ТО неисправностей, устранение которых требует разборки
электрооборудования или применения специального оборудования, решается вопрос о
необходимости проведения ремонта (текущего или капитального). Плановое ТО,
независимо от формы эксплуатации, проводится согласно заранее составленному
графику, через строго установленные периоды работы электрооборудования.
Наибольшая эффективность планового ТО достигается в том случае, когда
периодичность и состав работ, выполняемых при каждом таком обслуживании, в
наибольшей степени соответствуют конструктивным особенностям
электрооборудования, его техническому состоянию, режимам работы и другим
условиям эксплуатации.
Некачественное и несвоевременное проведение ТО
снижает работоспособность электрооборудования, увеличивает расходы на
проведение ремонтов и повышает себестоимость продукции, выпускаемой с помощью
электрифицированных машин и установок.
Правильная эксплуатация дробильных установок
обеспечивает безопасность работы обслуживающего персонала, безаварийную работу
оборудования, высокую производительность машин, выдачу продукта установленного
качества и продлевает межремонтные сроки работы оборудования. Перед пуском
дробильной установки оператор обязан:
проверить исправность всех дробилок,
транспортирующих и питательных устройств;
осмотреть и при необходимости отрегулировать
питатели в положение, соответствующее режиму работы данной машины;
проконтролировать действие звуковой и световой
сигнализации. Оператор должен также убедиться, что смазочные устройства в
хорошем состоянии и в них есть смазка; осмотреть все системы автоматической и
централизованной смазки; проверить наличие и исправность ограждений движущихся
механизмов.
До начала работы необходимо проверить чистоту
помещения и убрать посторонние предметы. Непосредственно перед пуском установки
оператор должен убедиться в том, что никто из работающих не окажется в опасном
положении при пуске машин, затем он должен дать звуковой или другой
предупреждающий сигнал.
Запрещается начинать работу при ослабленных
креплениях, сработанных или ослабленных шпонках крепления маховиков, шкивов,
зубчатых колес. Нельзя работать при износе выше норм дробящих элементов
дробилок (броневых плит, молотков); неисправности подшипников и пружин
натяжения щек у щековых дробилок; любом нарушении системы смазки или отсутствии
ее в трущихся узлах; неисправности или отсутствии ограждения.
Останавливают механизмы дробильной установки не
все сразу, а последовательно в направлении технологического потока. Вначале
прекращают подачу материала в приемный бункер стадии дробления, и как только из
него будет выработан материал, останавливают питатель. Затем, после опорожнения
дробилки от материала, ее останавливают и т. д. И наконец, выключают систему
централизованной смазки и подачу масла в подшипники.
После остановки дробильной установки оператор
обязан осмотреть состояние основных рабочих узлов оборудования, убедиться в
исправности их, а при необходимости ремонта записать замеченные неполадки в
журнал ремонта и сообщить о них мастеру или начальнику цеха. Следующей смене
оператор сдает оборудование в надлежащей чистоте.
В процессе работы дробильной установки оператор
обязан:
систематически наблюдать за работой машин,
питателей и транспортных средств;
следить за системой смазки и не допускать
перегрева подшипников. Оператор также наблюдает за качеством материала,
поступающего на дробление, и дробленым продуктом, крупностью, влажностью,
наличием посторонних включений. Он обеспечивает равномерность подачи материала
по заданному режиму работы оборудования, не допуская перегрузки дробилок; не
допускает и предупреждает работу дробилок вхолостую, а также следит за работой
обеспыливающей установки.
В процессе работы все рабочие, обслуживающие
оборудование дробильных установок, должны следить за его правильной и ритмичной
работой. Рабочие должны знать характерные неисправности дробилок, их признаки и
способы устранения. Для щековых дробилок характерны следующие неисправности:
1)Нарушение прочного крепления крышки подшипника в результате ослабления или
поломки болтов вызывает стук в подшипнике и дребезжание крышки. В этом случае
следует подтянуть или заменить болты, предварительно осмотрев состояние
подшипника, и, если в него попала пыль, промыть и тщательно смазать.
)Вибрация верхней части станины часто возникает
в результате ослабления или поломки крепежных болтов. Ослабление броневых плит
вызывает при работе дробилки звон плит и качание крепежных болтов.
)Если подвижная щека дробилки перестает
качаться, ослабевают пружины на оттягивающей штанге и сильно раскачивается
шатун, это может произойти в результате поломки распорной плиты. Для устранения
этой неисправности следует снять пружину и заменить распорную плиту,
предварительно осмотрев состояние сухарей.
)Недостаточная смазка подшипников вызывает скрип
в подшипнике или его нагрев. В этом случае следует проверить подачу смазки, и
если она не проходит к трущимся частям, прочистить масленку и каналы.
3.4 Система планово -
предупредительного ремонта
Планово-предупредительный ремонт представляет
собой определенную систему работ по поддержанию электрооборудования и других
элементов электроустановок в нормальном (рабочем) состоянии.
Система планово-предупредительного ремонта
(система ППР) электрооборудования предусматривает межремонтное обслуживание,
текущий, средний и капитальный ремонты.
Межремонтное обслуживание включает:
эксплуатационный уход - чистку, смазку, обтирку,
регулярный наружный осмотр и пр.;
мелкий ремонт электрооборудования - исправление
мелких деталей, крепление деталей, подтяжку разлаженных креплений.
Текущий ремонт предусматривает: замену быстро
изнашивающихся деталей, исправление малых дефектов, промывку и чистку масляных
и охлаждающих систем. В период текущего ремонта выявляют состояние
электрооборудования и степень необходимости в среднем и капитальном ремонтах,
корректируют первоначально намеченные сроки ремонта.
Текущий ремонт производят на месте установки
электрооборудования.
Для электродвигателей осуществляются следующие
операции:
) Наружный осмотр и протирка электродвигателя от
пыли, масла и грязи. 2) Проверка:
щитков для зажимов;
радиального и аксиального зазоров;
вращения смазочного кольца;
крепления электродвигателя;
наличия смазочного масла в подшипниках;
восстановление изоляции у перемычек и выводных
концов; - проверка исправности заземления, натяжения ремня, правильного подбора
плавких вставок;
измерение сопротивления изоляции обмоток
мегомметром.
Для пускорегулирующей аппаратуры требуется:
) Наружный осмотр и протирка.
) Зачистка подгоревших контактов.
) Регулировка нажатия скользящих контактов.
) Проверка:
контактов в соединениях;
работы магнитопровода;
плотности прилегания контактов;
уставки реле или термоэлемента.
) Регулировка пружин и работы механической
части.
) Проверка правильности заземления прибора.
Средний ремонт предусматривает частичную
разборку электрооборудования; разборку отдельных узлов; ремонт или замену
изношенных деталей; измерение и определение состояния деталей и узлов;
составление предварительной ведомости дефектов; снятие эскизов и проверку чертежей
на запасные детали; проверку и опробование электрооборудования или его
отдельных узлов.
Средний ремонт производят на месте установки
электрооборудования или в ремонтной мастерской.
Для электродвигателей выполняют все операции
текущего ремонта, кроме того, предусматривается:
) Полная разборка электродвигателя с устранением
поврежденных мест обмотки без ее замены.
) Промывка механических частей электродвигателя.
) Мойка, пропитка и сушка обмоток.
) Покрытие обмоток лаком.
) Проверка исправности и крепления вентилятора.
) При необходимости проточка шеек вала ротора.
) Проверка и выверка зазоров.
) Смена фланцевых прокладок.
) Промывка подшипников и в случае необходимости
иереза-ливка вкладышей подшипников скольжения.
) Заварка и проточка заточек у щитов электродвигателя.
) Сборка электродвигателя с испытанием на
холостом и рабочем ходах.
Для пускорегулирующей аппаратуры выполняют все
операции текущего ремонта.
Кроме того, предусматривается:
1) Полная замена всех износившихся частей
аппарата. 2) Проверка и регулировка реле и тепловой защиты.
) Ремонт кожухов, окраска и опробование
аппаратуры.
При капитальном ремонте, для электродвигателей
осуществляются следующие операции:
полная либо частичная замена обмоток или их
ремонт;
замена вала ротора;
балансировка ротора;
чистка, сборка, окраска электродвигателя и
испытание его под нагрузкой.
Организация обслуживания и ремонта
электрооборудования зависит от количества и мощности токоприемников,
находящихся в эксплуатации на данном предприятии. На предприятиях, имеющих до
1000 токоприемников общей мощностью до 4000 квт, все виды ремонта
электрооборудования и электросетей выполняются в электросиловом цехе отдела
главного энергетика или главного механика.
На предприятиях, имеющих более 1000 единиц
токоприемников общей мощностью свыше 4000 квт, текущий и средний ремонты
цехового электрооборудования, а также его обслуживание осуществляет персонал
производственных цехов. Для этой цели имеется группа электромонтеров при
цеховом механике.
Капитальный ремонт включает полную разборку
электрооборудования, замену отдельных деталей или узлов, исправление всех
дефектов, испытание и опробование. Целью капитального ремонта является полное
восстановление первоначальной технической характеристики электрооборудования.
При его проведении следует также учитывать возможность модернизации
оборудования.
Капитальный ремонт в зависимости от технологии
ремонтных операций проводится на месте установки электрооборудования или в
ремонтном цехе. Затраты на текущий и средний ремонт производятся за счет
цеховых расходов, а капитальный ремонт - за счет амортизационных отчислений.
3.5 Ремонт основных узлов и
механизмов
Электродвигатель щековой дробилки приводит
ремень и шкив во вращение, через эксцентриковый вал подвижная щека перемещается
вверх и вниз, когда подвижная щека поднимается, угол между футеровкой и
подвижной щекой увеличивается, и подвижная щека продвигается вперёт
приблизительно к неподвижной щеке, в то же время материал выдавливается,
растирается, разрушается, при движении подвижной щеки вниз, угол между
футеровкой и подвижной щекой уменьшается, подвижная щека отходит от неподвижной
щеки, , на этот момент дробленные материалы из нижнего окна камеры дробления, с
непрерывным вращением двигателя, подвижная щека дробилки дробления периодично
измельчает материал и разгружает материал, осуществляется массовое
производство. Каждое циклическое движение подвижной щеки подвергает материал
раздавливание, и немного двигается вниз.
Таблица 7. Неисправности, возможные причины и решения
щековых дробилок
|
Неисправности
|
Возможные
причины
|
Решения
|
|
1.Маховик
вращается, но движущая щека не колеблется.
|
1.Кронштейн
переломился. 2.Шатун сломался. 3.Перелом пружин.
|
1.Заменить
кронштейн. 2.Востановить шатун. 3.Заменить пружины.
|
|
2.
Ослабление зубчатых пластин, и слышны металлические удары.
|
Фиксированные
болты зубчатых пластин или клины ослабились.
|
Затянуть
или заменить болты; или заменить клины.
|
|
3.Слишком
высокая температура подшипника.
|
1.Смазки
не хватает. 2.Смазки грязные. 3.Разрыв подшипника, не подходят контакты
подшипников. 4.Разрушение подшипника.
|
1.
Добавить нужное количество смазки. 2. После очистки подшипников, заменить
смазку. 3.Отрегулировать герметичность подшипника прокладками, или настроить
подставку и муфту подшипника. 4. Заменить подшипники.
|
|
4.
Размеры готовых продуктов больше чем раньше.
|
Значительный
износ в нижней части зубчатых пластин.
|
Переворачивать
зубчатые пластины, или отрегулировать выходное отверстие.
|
|
5.Слышны
удары опоры кронштейна.
|
1.Ослабление
пружины. 2. Износ или ослаб. опоры подш..
|
1.Настройка
или замена пружины. 2. Крепление или изменение опоры подшипников.
|
|
Неисправности
|
Возможные
причины
|
Решения
|
|
6.
Перелом пружин.
|
При
регулировке выходных отв., не расслабляются пружины.
|
При
регулировке выходных отверстий, расслабьте пружины. После регулирования,
завинтите гайки шатуна.
|
|
7.Машина
бьётся.
|
Ослабление
заземленных болтов.
|
Затянуть
или заменить заземленные болты.
|
При эксплуатации электродвигателей в них по
разным причинам возникают неисправности, которые могут привести к перерывам в
работе производственных механизмов. Для того чтобы такие перерывы возможно
меньше сказывались на выполнении предприятием производственных планов,
необходимо уметь быстро найти причину неисправности и устранить ее.
Необходимость в быстрейшем устранении
повреждений обусловливается также и тем, что работа электродвигателя, имеющего
небольшое повреждение, может привести к развитию повреждения и необходимости
более сложного ремонта.
Чтобы определить объем ремонта асинхронного
электродвигателя, необходимо выявить характер его неисправностей. Неисправности
асинхронного двигателя разделяют на внешние и внутренние.
К внешним неисправностям относятся:
обрыв одного или нескольких проводов,
соединяющих асинхронный двигатель с сетью, или неправильное соединение;
перегорание плавкой вставки предохранителя;
неисправности аппаратуры пуска или управления,
пониженное или повышенное напряжение питающей сети;
перегрузка асинхронного двигателя;
плохая вентиляция.
Внутренние неисправности асинхронного двигателя
могут быть механическими и электрическими.
Механические повреждения:
нарушение работы подшипников;
деформация или поломка вала ротора (якоря);
ослабление крепления полюсов или сердечника
статора к станине; обрыв или сползание проволочных бандажей роторов (якорей);
трещины и подшипниковых щитах или в станине и
др.
Электрические повреждения:
межвитковые замыкания;
обрывы в обмотках;
пробой изоляции на корпус;
старение изоляции;
неправильная полярность полюсов;
неправильные соединения в катушках и др.
Наиболее распространенные неисправности
асинхронных электродвигателей:
) Перегрузка или перегрев статора
электродвигателя - 31%.
) Межвитковое замыкание - 15%.
) Повреждения подшипников - 12%.
) Повреждение обмоток статора или изоляции -
11%.
) Неравномерный воздушный зазор между статором и
ротором - 9%.
) Работа электродвигателя на двух фазах - 8%.
) Обрыв или ослабление крепления стержней в
беличьей клетке - 5%.
) Ослабление крепления обмоток статора - 4%. 9.
) Дисбаланс ротора электродвигателя - 3%. 1
) Несоосность валов - 2%.
Краткое описание некоторых неисправностей в
электродвигателях, возможные причины их возникновения. Двигатель при пуске не
вращается или скорость его вращения ненормальная. Причинами указанной
неисправности могут быть механические и электрические неполадки.
К электрическим неполадкам относятся:
внутренние обрывы в обмотке статора или ротора;
обрыв в питающей сети;
нарушения нормальных соединений в пусковой
аппаратуре.
При обрыве обмотки статора в нем не будет
создаваться вращающееся магнитное поле, а при обрыве в двух фазах ротора в
обмотке последнего не будет тока, взаимодействующего с вращающимся полем
статора, и двигатель не сможет работать. Если обрыв обмотки произошел во время
работы двигателя, он может продолжать работать с номинальным вращающим
моментом, но скорость вращения сильно понизится, а сила тока настолько
увеличится, что при отсутствии максимальной защиты может перегореть обмотка
статора или ротора.
В случае соединения обмоток двигателя в
треугольник и обрыва одной из его фаз двигатель начнет вращаться, так как его
обмотки окажутся соединенными в открытый треугольник, при котором образуется
вращающееся магнитное поле, сила тока в фазах будет неравномерной, а скорость
вращения - ниже номинальной. При этой неисправности ток в одной из фаз в случае
номинальной нагрузки двигателя будет в 1,73 раза больше, чем в двух других.
Когда у двигателя выведены все шесть концов его обмоток, обрыв в фазах
определяют мегаомметром. Обмотку разъединяют и измеряют сопротивление каждой
фазы.
Скорость вращения двигателя при полной нагрузке
ниже номинальной может быть из-за пониженного напряжения сети, плохих контактов
в обмотке ротора. При большом сопротивлении в цепи ротора возрастает скольжение
двигателя и уменьшается скорость его вращения.
Плохие контакты в обмотке ротора можно выявить,
если в статор двигателя подать напряжение, равное 20-25% номинального.
Заторможенный ротор медленно поворачивают вручную и проверяют силу тока во всех
трех фазах статора. Если ротор исправен, то при всех его положениях сила тока в
статоре одинакова, а при обрыве или плохом контакте будет изменяться в
зависимости от положения ротора.
У роторов с глубокими пазами может также
происходить разрыв стержней из-за механических перенапряжений материала. Разрыв
стержней в пазовой части короткозамкнутого ротора определяют следующим образом.
Ротор выдвигают из статора и в зазор между ними
забивают несколько деревянных клиньев, чтобы ротор не мог повернуться. К
статору подводят пониженное напряжение не более 0,25 Uном. На каждый
паз выступающей части ротора поочередно накладывают стальную пластину, которая
должна перекрывать два зубца ротора. Если стержни целые, пластина будет
притягиваться к ротору и дребезжать. При наличии разрыва притяжение и
дребезжание пластины исчезают.
Равномерный нагрев всего двигателя выше
допустимой нормы может получиться в результате длительной перегрузки и
ухудшения условий охлаждения. Повышенный нагрев вызывает преждевременный износ
изоляции обмоток.
Местный нагрев обмотки статора, который обычно
сопровождается сильным гудением, уменьшением скорости вращения двигателя и
неравномерными токами в его фазах, а также запахом перегретой изоляции. Эта
неисправность может возникнуть в результате неправильного соединения между
собой катушек в одной из фаз, замыкания обмотки на корпус в двух местах,
замыкания между двумя фазами, короткого замыкания между витками в одной из фаз
обмотки статора.
При замыканиях в обмотках двигателя вращающимся
магнитным полем в короткозамкнутом контуре будет наводиться э. д. с, которая
создаст ток большой величины, зависящий от сопротивления замкнутого контура.
Поврежденная обмотка может быть найдена по величине измеренного сопротивления,
при этом поврежденная фаза будет иметь меньшее сопротивление, чем исправные.
Сопротивление измеряют мостом или методом амперметра - вольтметра. Поврежденную
фазу можно также определить методом измерения тока в фазах, если к двигателю
подвести пониженное напряжение.
При соединении обмоток в звезду ток в
поврежденной фазе будет больше, чем в других. Если обмотки соединены в
треугольник, линейный ток в двух проводах, к которым присоединена поврежденная
фаза, будет больше, чем в третьем проводе. При определении указанного
повреждения у двигателя с короткозамкнутым ротором последний может быть
заторможенным или вращаться, а у двигателей с фазным ротором обмотка ротора
может быть разомкнута. Поврежденные катушки определяют по падению напряжения на
их концах: на поврежденных катушках падение напряжения будет меньше, чем на
исправных.
Местный нагрев активной стали статора происходит
из-за выгорания и оплавления стали при коротких замыканиях в обмотке статора, а
также при замыкании листов стали вследствие задевания ротора о статор во время
работы двигателя или вследствие разрушения изоляции между отдельными листами
стали. Признаками задевания ротора о статор являются дым, искры и запах гари;
активная сталь в местах задевания приобретает вид полированной поверхности;
появляется гудение, сопровождающееся вибрацией двигателя. Причиной задевания
служит нарушение нормального зазора между ротором и статором в результате
износа подшипников, неправильной их установки, большого изгиб вала, деформации
стали статора или ротора, одностороннего притяжения ротора к статору из-за
витковых замыканий в обмотке статора, сильной вибрации ротора, который
определяют щупом.
Нормально работающий двигатель издает
равномерное гудение, которое характерно для всех машин переменного тока.
Возрастание гудения и появление в двигателе ненормальных шумов могут явиться
следствием ослабления запрессовки активной стали, пакеты которой будут
периодически сжиматься и ослабляться под воздействием магнитного потока. Для
устранения дефекта необходимо перепрессовать пакеты стали. Сильное гудение и
шумы в машине могут быть также результатом неравномерности зазора между ротором
и статором.
Повреждения изоляции обмоток могут произойти от
длительного перегрева двигателя, увлажнения и загрязнения обмоток, попадания на
них металлической пыли, стружек, а также в результате естественного старения
изоляции. Повреждения изоляции могут вызвать замыкания между фазами и витками
отдельных катушек обмоток, а также замыкание обмоток на корпус двигателя.
Увлажнение обмоток происходит в случае
длительных перерывов в работе двигателя, при непосредственном попадании в него
воды или пара в результате хранения двигателя в сыром неотапливаемом помещении
и т. д. Металлическая пыль, попавшая внутрь машины, создает токопроводящие
мостики, которые постепенно могут вызвать замыкания между фазами обмоток и на
корпус. Необходимо строго соблюдать сроки осмотров и планово-предупредительных
ремонтов двигателей.
Сопротивление изоляции обмоток двигателя
напряжением до 1000 в не нормируется, изоляция считается удовлетворительной при
сопротивлении 1000 Ом на 1 В номинального напряжения, но не менее 0,5 Мом при
рабочей температуре обмоток. Замыкание обмотки на корпус двигателя обнаруживают
мегаомметром, а место замыкания - способом «прожигания» обмотки или методом
питания ее постоянным током.
Способ «прожигания» заключается в том, что один
конец поврежденной фазы обмотки присоединяют к сети, а другой - к корпусу. При
прохождении тока в месте замыкания обмотки на корпус образуется «прожог»,
появляются дым и запах горелой изоляции.
3.6 Энергосбережение в
электроприводе
Автоматизация комплекса щековой дробилки
приоритетная задача энергосбережения, повышения производительности и сокращения
расходов дробильного отделения.
Автоматизированная система управления щековой
дробилкой включает в себя комплекс технических средств:
автоматического управления и контроля
вспомогательных систем щековой дробилки;
автоматического выполнения стандартных
технологических блокировок и защит;
обеспечения процесса плавного пуска
электропривода щековой дробилки от преобразователя частоты (регулирование
частоты качания щеки);
автоматического регулирования производительности
пластинчатого питателя посредством частотно-регулируемого привода.
Цели создания:
реализация автоматизированной системы
управления, отвечающей требованиям современного предприятия;
замена морально устаревшего и изношенного
оборудования;
энергосбережение за счёт снижения потерь энергии
в приводе щековой дробилки;
обеспечение комфортных условий эксплуатации
пусковой, защитной и управляющей аппаратуры;
плавное регулирование производительности
пластинчатого питателя;
снижение эксплуатационных затрат;
повышение качества технологического режима и его
безопасности;
непрерывный контроль параметров работы
оборудования щековой дробилки и вспомогательных систем;
повышение оперативности действий
технологического и ремонтного персонала;
повышение производительности - автоматизация
загрузки щековой дробилки;
обеспечения всех требуемых защит и блокировок
при работе щековой дробилки и пластинчатого питателя;
возможность дальнейшей интеграции
автоматизированной системы управления щековой дробилки в автоматизированную
систему управления предприятия;
повышение производительности труда.
Назначение:
оперативный контроль и управление оборудованием
щековой дробилки, пластинчатым питателем и вспомогательными механизмами;
обеспечение плавного пуска асинхронного
электропривода щековой дробилки с соблюдением необходимой последовательности
пуска отдельных технологических агрегатов, защит, блокировок;
обеспечение плавного регулирования
производительности пластинчатого питателя в автоматическом и ручном режиме
управления с соблюдением необходимой последовательности пуска отдельных
технологических агрегатов, защит, блокировок.
4. Охрана труда и техника
безопасности
.1 Мероприятия по технике
безопасности при эксплуатации и ремонте электрооборудования щековой дробилки
Требование безопасности:
) Требования безопасности при подготовке
дробилки к работе и техническом обслуживании должны соответствовать ГОСТ
12.2.042, ГОСТ 12.3.005, ГОСТ 12.3.009.
) К работе с дробилкой, а также для обслуживания
и ремонта дробилки допускаются лица прошедшие инструктаж по технике
безопасности и старше 18 лет.
) Рабочее место, где установлена дробилка,
должно обеспечивать безопасность труда, а также противопожарную безопасность,
оборудовано порошковыми и углекислотными огнетушителями.
Дробилка должна иметь устройство для заземления.
) Знаки заземления должны быть обозначены по
ГОСТ 21130, сопротивление между зажимом и металлическими частями дробилки
должно быть не более 0,1 Ом.
) Сопротивление изоляции электрооборудования и
электрических цепей дробилки относительно его корпуса должно быть не менее 2
МОм.
) Изоляция электрических цепей относительно
корпуса дробилки должна выдерживать в течение 1 минуты испытательное напряжение
1500В переменного тока частотой 50Гц.
Запрещается:
обслуживание дробилки лицами не прошедшими
инструктаж и не ознакомившимися с Руководством по эксплуатации, а также лицами
моложе 18 лет;
допуск посторонних лиц к устройству,
находящемуся в работе;
включать двигатель НЕ В СООТВЕТСТВИИ с п. 5.2
Руководства по эксплуатации «Пробный запуск»;
производить ремонт техническое обслуживание,
перемещение дробилки находящейся в режиме «работа», а также под напряжением;
тушить электропроводку водой или пенными
огнетушителями.
) Не допускать перегрузку электродвигателя.
) Постоянно вести контроль за работой дробилки.
) Постоянно соблюдать порядок выключения
электродвигателя:
нажать красную кнопку «СТОП» на выключателе;
отключить эл.питание.
) Техническое обслуживание, осмотры, ремонты
делать исключительно при выключенном двигателе и отключенном питании.
) Ремонты, осмотры, уход за электроаппаратурой и
электродвигателями, а также все необходимые изменения выполняются исключительно
лицами, обученными и имеющими удостоверения и соответствующую группу допуска по
электробезопасности.
) Отсутствие знаков безопасности на дробилке,
или их повреждение не допускается.
В данных случаях следует установить новые знаки
безопасности.
) В аварийных ситуациях:
снижение оборотов двигателя;
отсутствие стабильности работы: вибрация, удары
в камере.
Следует немедленно:
) Остановить подачу материала в ударную камеру.
) Выключить двигатель нажатием кнопки «СТОП»;
) Отключить электропитание.
Место размещения дробилки должно быть
согласовано с местными органами Государственной пожарной охраны.
Электроустановка дробилки соответствует
требованиям ПУЭ для электроустановок, размещаемых во взрывоопасных зонах класса
В-IIа (возможность пылевоздушного взрыва при аварийной ситуации).
В местах, где эксплуатируется дробилка, должна
быть вывешена инструкция по пожарной безопасности.
При монтаже, наладке и других работах, как с
изделием, так и в местах установки изделия, необходимо руководствоваться
ППБ-01-03 «Правилами пожарной безопасности в Российской Федерации».
Все работники при приеме на работу или по месту
работы должны пройти инструктаж со сдачей зачета по пожарной безопасности.
Запыленность на рабочем месте оператора не
должна превышать 10 мг/м3 в соответствии с ГОСТ 28098-89.
Электрооборудование дробилки соответствует
требованиям ПУЭ и имеет степень защиты не ниже IР54.
Подвод энергоснабжения выполнять согласно
противопожарных требований, строительных норм и ПУЭ.
Питание дробилки должно осуществляться медным
кабелем сечением жилы не менее 2,5 мм2 или проводами с таким же
сечением.
При производстве работ около изделия и на
изделии необходимо применять инструмент, изготовленный из безыскровых
материалов или в соответствующем взрывобезопасном исполнении.
Вероятность возникновения пожара должна быть не
более 10-6 на одну дробилку согласно ГОСТ 12.1.004-91, а
возникновение взрыва - 10-6 согласно ГОСТ 12.1.010-76.
Температура корпусов подшипников при работе
дробилки не должна превышать 60 ºС.
Аппараты, ёмкости, агрегаты и т.д., в которых
происходит измельчение, распыление, перемещение продукта и пылевоздушных
смесей, как отдельно стоящие, так и соединенные материалопроводами или
металлическими конструкциями с другими машинами и оборудованием, должны быть
соединены отдельными ответвлениями с контурами заземления независимо от
заземления указанных материаллопроводов и металлоконструкций. При этом для
создания непрерывной электрической цепи во всех соединениях или не допускать
применения шайб и прокладок из диэлектриков и окрашивание неэлектропроводными
красками, или устраивать гибкие перемычки.
Для предотвращения накопления статического
электричества воздуховоды, трубопроводы и оборудование дробилки должны быть
соединены гибкими медными проводниками между собой и с заземлённой станиной.
4.2 Охрана окружающей среды
С точки зрения охраны окружающей среды, щековая
дробилка представляет собой опасность для окружающей среды возможностью пыления
сухого материала и продуктов дробления.
Основные источники неблагоприятного воздействия
на окружающую среду, возникающие при функционировании карьеров и
камнедробильных заводов, следующие:
изъятие из оборота земель, необходимых для
добычи материалов, а также для подъездных путей;
изменение гидрологического режима, загрязнение
стоков подземных вод;
пылеобразование, сопровождающее процессы
дробления, сортировки(грохочения), перегрузки и транспортировки минеральных
материалов;
выделение в атмосферу отработавших газов
двигателей автомобилей и специальной техники (экскаваторов, бульдозеров,
дробильных и сортировочных установок и др.);
шумовое и вибрационное воздействие машин и механизмов.
В результате окружающая среда загрязняется
вредными веществами: окисью углерода, углеводородами, окислами азота, серы,
сажей, пылью.
Объем загрязнений зависит от объема карьера,
вида добываемого минерального материала, типа используемого оборудования,
экологической уязвимости территории.
Применяются следующие методы снижения
неблагоприятного воздействия карьерных хозяйств на окружающую среду:
обустройство и рекультивация земель;
пылеподавление водовоздушными смесями;
пылеудаление путем применения циклонов, рукавных
фильтров, укрытий источников пылеобразования;
регулировка двигателей автотранспорта и другой
используемой техники;
очистка стоков вод;
корректировка режима работы предприятия в
соответствии с климатическими и метеорологическими условиями.
Состав атмосферы карьеров должен отвечать
установленным нормативам по содержанию основных составных частей воздуха и
вредных примесей (пыль, газы) с учетом действующих требований. Воздух рабочей
зоны должен содержать по объему 20 % кислорода и не более 0,5 % углекислого
газа:
Во всех карьерах, имеющих источники выделения
ядовитых газов (от работы автомобилей, из пожарных участков, из дренируемых в
карьер вод, от взрывных работ и др.), должен проводиться на рабочих местах
отбор проб для анализа воздуха на содержание вредных газов не реже одного раза
в квартал и после каждого изменения технологии работ.
В случаях, когда применяемые средства не
обеспечивают необходимого снижения запыленности воздуха в карьере, должна
осуществляться изоляция кабин экскаваторов и буровых станков с подачей в них
очищенного воздуха.
Для снижения пылеобразования на карьерных
автомобильных дорогах при положительной температуре воздуха должна проводиться
поливка дорог водой с применением при необходимости связующих добавок. На
дробильно-сортировочных установках, а также на участках перегрузки горной массы
с конвейера на конвейер места образования пыли должны быть изолированы от
окружающей атмосферы с помощью кожухов и укрытий с отсосом запыленного воздуха
из-под них и его последующей очисткой.
Применение в карьерах машин с двигателями
внутреннего сгорания допускается только при наличии приспособлений,
обезвреживающих ядовитые примеси выхлопных газов.
5. Обоснование экономической
эффективности выбранного электрооборудования при ремонте
Деятельность предприятий является отличительной
особенностью функционирования экономики в индустриально развитых странах.
Независимо от организационно - правовых форм и названий именно на предприятиях
осуществляется производство продукции и оказание услуг, происходит
непосредственное соединение работников с вещественными факторами производства.
Действуя в качестве субъекта рыночных отношений,
предприятие самостоятельно осуществляет свою деятельность, распоряжаясь
результатами своего производственного процесса, полученной прибылью, оставшейся
после уплаты налогов и других платежей.
Технико-экономическое обоснование проектного
решения начинается с выбора критерия экономической оценки проекта.
В качестве критерия выбора оптимального варианта
могут быть взяты различные показатели - эффективность капитальных вложений,
максимальный объем производства, наивысшие качества получаемой продукции,
минимальные потери ресурсов, темпы строительства, рост производительности
труда, ценность предлагаемого решения с социальных и других позиций. При этом
критерии оценки выражаются почти всегда через стоимость, т. е. имеют
экономический смысл.
Чаще всего экономическое обоснование
предлагаемого проекта производится на основании определения капитальных,
эксплуатационных затрат, суммы приведенных затрат, экономической эффективности
и прибыли с учетом социальных и экологических последствий. Проектный вариант
сравнивается с базовым вариантом схемы или технологии.
При рассмотрении в проекте нескольких вариантов
новой схемы или технологии либо каждый их них сравнивается с базовым вариантом
либо они сравниваются между собой, и наиболее прогрессивный вариант
сравнивается с базовым.
Двигатель с завышенной мощностью имеет низкие
энергетические показатели работы и в этом случае происходит недоиспользование
заложенных в него материальных ресурсов. Применение двигателя недостаточной
мощности снижает производительность технологического оборудования (в данном
конкретном случае, мостового крана), приводит к перегрузке двигателя и
преждевременному выходу его из строя. Все это требует обоснованного расчета
требуемой мощности двигателя, исполнительного органа рабочей машины или
производственного механизма с учетом всех условий работы.
Щековые дробилки просты и дешевы в эксплуатации
благодаря своей несложной конструкции и малому количеству деталей, подверженных
быстрому износу. Ремонт и обслуживание также малозатратны и технически несложны
Полный расчет стоимости комплектующих
оборудования представлен в таблице 8.
Таблица 8. Расчет стоимости выбранного комплекта
оборудования
|
Наименование
|
Цена
единицы оборудования, руб
|
Всего,
руб
|
|
Двигатели
|
|
|
|
1.
АО10
|
95000
|
95000
|
|
Автомат
|
|
|
|
2.
SА
|
962,50
|
28875
|
|
3.
QF
|
300
|
1500
|
|
4.Пусковое
реле
|
800
|
800
|
|
5.
Реле времени
|
1295
|
7770
|
|
Наименование
|
Цена
единицы оборудования, руб
|
Всего,
руб
|
|
6.Реле
контроля
|
992
|
992
|
|
7.
Концевой выключатель
|
850
|
850
|
|
8.
Кабель КРПТ - 3×2,5
|
10
рублей за метр
|
350
|
|
9.
Трубка полихлорвиниловая Б230 диаметром 4×1 мм
|
9.
Трубка полихлорвиниловая Б230 диаметром 4×1 мм
|
200
|
|
10.
Кабель КРШС 14×1,5
|
8
рублей за метр
|
280
|
|
11.
Провод БПВЛ - 2,5
|
2
рубля за метр
|
200
|
|
12.
Провод БПВЛ - 1,5
|
1
рубль за метр
|
100
|
|
Итого:138617
руб
|
Спецификация комплектующих выбранного
оборудования представлена в таблице 9.
Таблица 9. Спецификация
|
Позиционное
обозначение
|
Наименование
|
Количество
|
Примечание
|
|
Двигатели
|
|
|
|
М
|
4АК200L4УЗ АО10
|
2
|
30
кВт
|
|
Автоматы
|
|
|
|
QF
|
ВА51Г31-321110Р-20УХЛЗ
|
3
|
Uном = 380 В Iр
= 25 А
|
|
SA
|
Multi
9
|
3
|
Uном = 380 В Iр
= 25 А
|
|
КМ3
|
ПМЕ
124
|
6
|
нереверсивный
|
|
КТ
|
Реле
времени
|
6
|
|
|
КА
|
Реле
тока
|
2
|
|
|
КМ
|
Контакторы
ускорения
|
2
|
|
|
Конечные
выключатели
|
|
|
|
QS1-6
|
ВКП-2000
|
3
|
рычажные
с самовоз.
|
В качестве аналога электродвигателя можно
рассмотреть двигатель типа
АК250LSA4УЗ,
данный двигатель имеет аналогичные параметры. Цена данного двигателя составляет
от 95000 до 305000 рублей, в зависимости от производителя. Стоимость автомата с
аналогичными параметрами составляет 1079,82 рубля, стоимость реле времени 1750
рублей, что существенно превышает цену выбранного комплекта
электрооборудования. Таким образом, можно сделать вывод об экономической
эффективности выбранного электрооборудования.
Заключение
Дипломный проект состоит из введения и пяти
частей:
) Общая часть.
) Технологическая часть.
) Расчетная часть.
) Охрана труда и техника безопасности.
) Организационно - экономическая часть.
Во введении рассмотрены вопросы автоматизации
современного производства.
Общая часть состоит из следующих подразделов:
) Краткая техническая характеристика
проектируемого объекта. Назначение, принцип действия.
) Кинематическая схема электропривода.
) Автоматизированное управление
электроприводами.
) Выбор рода тока и величины питающих
напряжений.
) Описание режимов работы электродвигателей.
В технологической части приведено описание
принципиальной схемы управления объекта. Рассмотрены вопросы эксплуатации и
обслуживания электрооборудования. Общие вопросы системы планово -
предупредительного ремонта и ремонт электрооборудования.
В расчетной части выполнен расчет мощности
электродвигателя и сделан его выбор. Рассчитана и выбрана аппаратура управления
и защиты.
В разделе охраны труда и техники безопасности
рассмотрены:
) Мероприятия по технике безопасности при
эксплуатации и ремонте электрооборудования щековой дробилки
) Мероприятия по охране окружающей среды.
В организационно - экономической части приведен
расчет стоимости выбранного комплекта оборудования для проведения ремонта
электрооборудования щековой дробилки.
В работе представлены необходимые рисунки,
графики и схемы. Работа может иметь практическое значение и использоваться как
методическое пособие.
Список литературы
.И.И.
Алиев. Электротехнический справочник.
.Зимин.
Электрооборудование ПП и установок.
.Нормативная
литература - не ранее 2006 года издания
.Дьяков
В.И. Типовые расчеты по электрооборудованию. - М.: «Высшая школа», 1991
.Кацман
М.М. Электрические машины. - М.:»Академия», 2006
.Кацман
М.М. Справочник по электрическим машинам. - М.:»Академия», 2006
.Кацман
М.М. Электрический привод. - М.: «Академия», 2006
.Князевский
Б.А. Охрана труда в электроустановках. - М.: «Энергия», 1970
.Липкин
Б.Ю. Электрооборудование промышленных предприятий и установок. - М.: «Высшая
школа», 1990.
.Москаленко
В.В. Электрический привод. - М.: «Академия», 2007
.Правила
технической эксплуатации электроустановок потребителей/ Главгосэнергонадзор
России. - М., 2006.
.Правила
устройства электроустановок. - М,: Энергоатомиздат, 2006
.Сибикин
Ю.Д. и др. Э. Электроснабжение промышленных предприятий и установок. -М.:
«Высшая школа», 2001.
.Соколова
Е.М. Электрическое и электромеханическое оборудование. - М.: «Академия», 2006
.Периодическая
литература, каталоги, информационно-поисковая система.
.Нормативная
литература - не ранее 2006 года издания
1.