Разработка интегрированной системы управления отделением разваривания на спиртзаводе на основе программируемого логического контроллера Modicon TSX Momentum
МИНИСТЕРСТВО
ОБРАЗОВАНИЯ И НАУКИ
РОССИЙСКОЙ
ФЕДЕРАЦИИ
Федеральное
государственное бюджетное образовательное учреждение
высшего
профессионального образования
"МОСКОВСКИЙ
ГОСУДАРСТВЕННЫЙ УНИВЕРСИТЕТ ТЕХНОЛОГИЙ И УПРАВЛЕНИЯ ИМЕНИ К.Г.
РАЗУМОВСКОГО"
Кафедра "ПРОМЫШЛЕННАЯ АВТОМАТИКА"
ДИПЛОМНЫЙ
ПРОЕКТ
Тема: "Разработка
интегрированной системы управления отделением разваривания на спиртзаводе на
основе программируемого логического контроллера Modicon TSX Momentum"
Москва 2013
г.
Содержание
автоматизация программный контроллер логический
Введение
. Автоматизация технологического процесса разваривания на
спиртзаводе
. Технические и программные средства управления
технологическими процессами
.1 Современная платформа автоматизации TSX Momentum
.2 Программное обеспечение программируемого логического
контроллера
.3 Применение SCADA-системы
Monitor Pro для управления технологическими процессами пищевых производств
. Спецификация приборов, используемых в технологическом
процессе пищевого производства
. Выбор критериев качества управления
. Условия устойчивости (робастности) управления для систем с
ПИ регуляторами
. Расчет динамических характеристик системы управления
температурой в варочных колоннах
. Интегрированная система
. Безопасность и экологичность
. Расчет показателей технико-экономической эффективности
автоматизации
. Энергосберегающие технологии
Выводы
Список литературы
Приложение
Доклад
Введение
Автоматизация технологических процессов - этап комплексной механизации,
характеризуемый освобождением человека от непосредственного выполнения функций
управления технологическими процессами (ТП) и передачей этих функций
автоматическим устройствам. При автоматизации ТП получение, преобразование,
передача и использование энергии, материалов и информации выполняются
автоматически при помощи специальных технических средств и систем управления.
Повышение производительности труда в пищевой промышленности, а
следовательно, и эффективности производства, возможно лишь при условии
максимальной механизации и автоматизации при неуклонном сокращении доли ручного
труда. Сокращение доли тяжелого и малоквалифицированного физического труда -
непременное условие экономического роста.
Рост технической и энергетической вооруженности труда, развитие научных
исследований с использованием современной научной аппаратуры, достижений
полупроводниковой микроэлектроники и диспетчерского управления обеспечили
комплексную механизацию и автоматизацию ТП производства пищевой продукции и
подготовили необходимые условия для комплексной автоматизации практически всех
ТП пищевого производства.
Интенсификация технологических процессов спиртового производства на
современном этапе может быть осуществлена только с использованием управления их
основными параметрами. Одним из основных параметров, обеспечивающих
оптимальность условий протекания технологических процессов в пищевой
промышленности является температура, а наиболее важным этапом ТП приготовления
спирта, на котором необходимо особенно строгое поддержание данного параметра -
нагрев содержимого варочных колонн.
Точность поддержания заданных значений температуры оценивается с помощью
критериев качества управления, количественно выражающих степень успешности
достижения цели управления. Часто эти критерии выбираются весьма произвольно,
на основании опыта и интуиции разработчиков автоматических систем. Произвольный
выбор критериев нередко влечет за собой экономические потери, т.к. не всегда
правильно учитываются конкретные особенности управляемых технологических
процессов. Поэтому весьма важно так выбрать критерии, чтобы при их оптимизации
достигался минимум экономических потерь, обусловленных ошибкой управления.
В процессе нагревания содержимого варочных колонн система управления
температурой подвергается действию разнообразных и зачастую неконтролируемых
возмущений с неизвестными статистическими характеристиками. Поэтому важно
наделить ее робастными свойствами, обеспечивающими близость критериев качества
управления к оптимальным значениям в условиях статистической неопределенности,
т.е. при отсутствии информации о статистических характеристиках возмущающих
воздействий.
В пищевой промышленности часто применяется пропорционально-интегральный
(ПИ) закон управления. Поэтому при управлении температурой в варочных колоннах
важно оптимальным образом настроить регулятор температуры.
Разработка и исследование автоматизации процесса производства спирта,
позволяет получить высокое качество готового продукта и оптимизировать процесс
его производства.
Интегрированное управление получило широкое распространение в управлении
технологическими процессами пищевого производства.
1. Автоматизация отделения разваривания на спиртзаводе
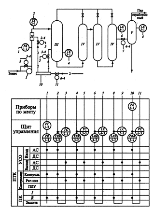
В отделении разваривания (рис. 1.1) замес из
предразварника-смесителя подается плунжерным насосом I в контактную головку II, где нагревается "острым паром", и далее - в
варочную колонну III первой
ступени, куда также подается "острый пар". Затем разваренная масса
последовательно проходит через варочные колонны IV второй ступени и поступает в сепаратор V, где от нее отделяется пар. Основными
задачами управления в этом отделении являются стабилизация температурного
режима разваривания и поддержание заданной производительности (нагрузки),
которая определяется потребностью отделения осахаривания.
Стабилизацию температурного режима обеспечивают САР
температуры массы на выходе из контактной головки и САР температуры в первой
варочной колонне, которые идентичны. Датчиками температуры являются
терморезисторные термометры (ТСМ) и АЦП (2-1) и (3-1), сигнал с которых
поступает на регистрирующие АЦПУ (2-2) и (3-2) и регулирующий канал контроллера
ТКМ-51, выполняющий ПИ-закон регулирования, (2-3) и (3-3) и затем - на ЦАП и
регулирующие клапаны (2-4) и (3-4), установленные на трубопроводе подачи пара в
соответствующий аппарат.
Рис. 1.1. Схема системы управления отделением
разваривания.
. Технические и программные средства управления
технологическими процессами
Программируемые логические контроллеры. Развитие микропроцессорных
технологий и их внедрение в промышленности для решения задач контроля и
управления технологическими процессами привело к разработке программируемых
логических контроллеров (ПЛК) - Programmable Logical Controllers (PLC), которые на современном этапе являются одним из
основных широко применяемых средств управления и автоматизации в
промышленности. ПЛК - это микропроцессорное устройство, состоящее из
микропроцессора, каналов ввода/вывода (аналоговых и дискретных), сетевых
адаптеров, блока питания и т.д.
На основе анализа функциональных и эксплуатационных характеристик ПЛК в
качестве средств управления температурой в варочных колоннах были выбраны
программируемые логические контроллеры компании Schneider Electric. Выбор был
определен тем, что указанная продукция компании воплощает передовые
научно-технические идеи и технологии в области управления и автоматизации, и
обладает наилучшим соотношением цена/качество.
Принятие такого решения было также обусловлено следующими факторами:
· на сегодняшний день компания Schneider Electric - мировой лидер в области распределения
электроэнергии и автоматизации технологических процессов;
· оборот в 2009 году : 18,3 млрд евро;
· штат 114 000 сотрудников более чем в 100 странах;
· 32% оборота приходится на развивающиеся страны;
· научно-исследовательские центры в 25 странах.
Компания Schneider Electric владеет следующими известными
торговыми марками:
· Merlin Gerin - широкая гамма оборудования высокого, среднего и
низкого напряжения для передачи и распределения электроэнергии;
· Telemecanique - оборудование для автоматизации
технологических процессов (пускозащитная и пускорегулирующая аппаратура,
датчики, программируемые логические контроллеры);
· Modicon - программируемые логические контроллеры и системы
автоматизации;
· Square D - оборудование для распределения электроэнергии, управления
и автоматизации.
В 1999 году в состав Schneider Electric вошла компания Lexel - мировой производитель
электроустановочного оборудования, кабеленесущих систем и противопожарной
сигнализации.
Компания Schneider Electric свыше 25 лет успешно работает в
России, где является деловым партнером многих крупных государственных
организаций, предприятий и частных компаний, а также высших учебных заведений,
в частности, МГУТУ им К.Г. Разумовского.
Программируемые логические контроллеры компании Schneider Electric. по
своим функциональным возможностям ПЛК Schneider Electric условно делятся на два класса и
имеют различные области применения.
К старшему классу можно отнести различные виды ПЛК Modicon TSX Quantum. Они предназначены для сложных и высокоскоростных
задач автоматизации: в энергетике, нефтяной и газовой промышленности, в
космических и авиационных технологиях, в управлении сложными системами, а также
для применений, требующих повышенной надежности на основе резервирования. В
промышленности такие ПЛК поддерживают централизованную архитектуру управления.
Благодаря расширяемой модульной архитектуре они могут быть сконфигурированы
таким образом, чтобы удовлетворять самым высоким требованиям к
производительности больших и средних систем управления. Они имеют в своем
составе широкую номенклатуру дискретных, аналоговых, специализированных и
коммуникационных модулей. Важнейшими их характеристиками являются: высокое
быстродействие; мультипроцессорный режим работы; функции диагностирования;
встроенные функции для отображения/управления; высокая плотность монтажа в
шкафу; возможность работы без принудительной вентиляции; высокая устойчивость к
вибрации; замена модулей под напряжением.
К среднему классу можно отнести различные виды ПЛК Modicon TSX Premium (рис. 2.1), ПЛК Modicon TSX Micro и ПЛК Modicon TSX Momentum.
.1 Современная платформа автоматизации TSX Momentum
Рис.
2.1. Внешний вид ПЛК Modicon TSX Momentum.
Modicon TSX Momentum - это функционально полное семейство средств
управления - модулей распределенного ввода/вывода, процессоров коммуникационных
адаптеров и адаптеров расширения. Уникальная и модульная конструкция и
адаптируемость TSX Momentum дает гибкость в создании систем
отвечающих всем требованиям современного производства.
Для приложений, требующих территориально рассредоточенного размещения
"узлов" (концентраторов) ввода/вывода, TSX Momentum (связные адаптеры и базовые
устройства ввода/вывода - УВВ) обеспечивает технологически эффективное
расположение УВВ в непосредственной близости от технологического оборудования с
использованием полевых шин промышленных сетей.
Можно установить процессорный адаптер на базовом УВВ вместо
коммуникационного, тем самым можно получить контроллер. Имея широкий выбор
базовых УВВ, на которых может устанавливаться базовый адаптер, можно получить
простой и экономичный доступ к большому числу приложений низового уровня
управления.
Если требуется самостоятельная система управления с числом параметров от
16 до 32, имеются базовые УВВ с комбинированным вводом/выводом дискретных
сигналов постоянного и переменного тока. Для случаев, когда требуется
повышенная скорость обработки, существуют скоростные УВВ, которые могут
использоваться совместно с быстродействующим процессорным адаптером FastScan M1.
В более крупных интегрированных управляющих структурах TSX Momentum может разгружать, упрощать,
связывать, распределять, консолидировать или иным способом устранять недостатки
подобных систем.
Являясь частью изделий серии 984, TSX Momentum естественным образом расширяет
архитектуру Modicon TSX Quantum и TSX Compact.
Изначально TSX Momentum, как платформа для распределенного
ввода/вывода, был создан специально для коммуникационных модулей в изделиях
серии TSX Quantum, а так же I/Obus в серии TSX Compact. Позднее коммуникационные адаптеры FIPI/O обеспечили распределенный ввод/вывод для контроллеров серии Modicon TSX Premium и TSX7.
Затем появились процессорный адаптер и адаптер расширения каждый со своим
собственным вводом/выводом, связанным через Modbus Plus и программно встраиваемые в более крупные прикладные
системы на базе Quantum и Compact.
Таким образом, что бы ни потребовалось для решения прикладной задачи, Modicon является ее техническим решением.
Высокоскоростная недорогая, модульная открытая архитектура. TSX Momentum во всех вариантах применения дает
мощь, информативность и управление там, где это необходимо - непосредственно в
точке контроля.
Функционально TSX Momentum может использоваться как один, так и
в составе ПЛК Quantum или Compact (смотри ниже приведенные схемы).
ПЛК Modicon TSX Momentum позволяют решать различные задачи:
ввод, обработку и формирование дискретных и аналоговых сигналов;
PID-регулирование; позиционирование; быстрый счет; организацию диалога с
оператором; сокращение времени реакции устройства управления на внешние
воздействия и т.д. Такие ПЛК используются для создания АСУТП среднего уровня (с
200 - 1000 входами/выходами). Они обладают развитыми сетевыми возможностями,
что позволяет применять их в типовых сетевых решениях на основе
коммуникационных сетей с различными функциональными возможностями и ценовыми
характеристиками. По применению в промышленности такие ПЛК относятся к
дискретному и групповому управлению и поддерживают децентрализованную
архитектуру управления.
На основании вышеизложенного можно заключить, что программируемый
логический контроллер Modicon TSX Momentum является наиболее подходящим
техническим средством для реализации системы управления температурой в варочных
колоннах при производстве спирта.
.2 Программное обеспечение программируемого логического контроллера
Для управления программируемым логическим контролером используют
программное обеспечение PL-7
Pro, которое позволяет осуществлять адресацию модулей в программируемом
логическом контроллере (ПЛК) и непосредственное управление технологическим
процессом (ТП).
Рис.2.3.Окно программы PL-7.
При создании нового файла выполняется следующая последовательность
действий:
• Нажимаем в командной строке File и далее "New", или нажимаем на значок быстрого доступа "New Application".
• Появляется окно "New" где необходимо выбрать тип контролера, модель процессора согласно
перечня модулей ПЛК установленных на стенде, а также необходимо указать наличие
или отсутствие карты памяти согласно спецификации на оборудование. (см. рис.
2.4.)
Рис.2.4. Выбор типа контролера и процессора.
После того как были указаны тип контролера, модель процессора, и т.д.
появляется окно Application Browser. Выбираем пункт меню
"Конфигурация" (Configuration) рис.2.5.
Рис.2.5 Окно "Application Browser".
Далее выбираем "Hardware Configuration"
открывается следующее окно:
• Выбор используемой корзины (rack) расширяемая / не расширяемая (см.
рис.2.7). На экране открывается цветная заставка с изображение корзины, с
заранее установленными блоком питания и процессорным блоком со встроенным
модулем Ethernet- изображены желтым цветом рис.2.6.
По умолчанию у нас открывается 6-ти местная корзина (rack). Если этого достаточно то далее мы работаем с 6-ти
местной корзиной. Но в данном случае по спецификации (или согласно имеющейся
конфигурации ПЛК) используем 8-ми местную корзину (rack). Это достигается двойным кликаньем на белый квадрат
с левой стороны 6-ти местной корзины (rack).
Рис.2.6 Конфигурация корзины (rack).
• Производим выбор используемой корзины
(rack) расширяемая / не расширяемая (EXENDABLE / NON-EXENDABLE) Рис.2.7
Рис. 2.7 Выбор корзины (rack).
После указания корзины производим адресацию модулей управления
(аналоговых и дискретных входов и выходов). Это производиться двойным нажатием
левой кнопкой мыши на белые ячейки 8-ми местной корзины (rack) рис.8.
Рис. 2.8. Выбор модулей в корзине (rack).
В открывшемся окне Add Module. Данное
окно позволяет прописать модули ПЛК указанные в спецификации рис.2.8. То есть в
8-ми местной корзине, на 5 свободных мест (обозначены на рис.2.8. 5-ю белыми
прямоугольниками) прописали следующие модули: TSX DEY16D2, TSX DSY08R5, TSX AEY800, TSX AEY414, TSX ASY800.
Рис.2.9. Вид адресованных модулей в корзине (rack).
После наполнения корзины заходим в командной строке меню Edit, производим операцию Confirm. Эта операция производиться для
модификации и подтверждения состава набора корзины (Rack) и формирования файла с данными 8-ми местной корзины
ПЛК.
Далее передаем файл сформированный в программе PL-7 (установленной в компьютере) в ПЛК "Premium" по шине Unitalway. С этой целью компьютер (РС)
соединяем физически с контроллером (PLC) шиной Unitalway. Далее в компьютере (РС) в командной
строке заходим в меню PLC и
далее Transfer. См. рис.2.10
Рис. 2.10. Передача программы из компьютера в программируемый логический
контроллер.
Предлагается на выбор осуществить передачу программы из PLC→PC (из контроллера в компьютер), или на оборот из PC → PLC(из
компьютера в контроллер). Выбираем вариант PC → PLC.
После передачи файла в PLC,
производим соединение компьютера (РС) с PLC. С этой целью в командной строке PLC выбираем Connect. См. Рис.2.11.
Рис. 2.11 Индикация ошибок работы модулей.
В окне configuration появляется индикация о состоянии
ПЛК, красная индикация сигнализирует о наличии ошибки (в данном случае 2-х
ошибок). Это сигнализирует о том, что возможно:
• в модуле Ethernet не подключены сетевой кабель или не прописаны IP-адреса;
• отсутствуют входные сигналы (с датчиков) в дискретном модуле.
После проведения конфигурации (configuration), необходимо присвоить имя переменным и комментарии,
необходимые для составления программы управления ПЛК. С этой целью заходим в
командной строке Tools, выбираем
пункт Application Browser → Variables(переменные) → Memory objects(объекты
памяти) / System objects (системные объекты) / Constants (постоянные) / Predefined FB (встроенные функциональные блоки) / I/O (вход/выход). См
рис.2.12.
Рис.2.12. Таблица переменных.
Для написания программы управления ПЛК, заходим в командной строке Tools, выбираем пункт Application Browser → Program →
Mast task → Sections, правой кнопкой мыши кликаем и выбираем пункт Create...
См. рис.2.13.
Рис.2.13. Окно создания программы и выбор языка программирования.
В открывшемся окне задаем имя (Name), язык программирования (Language), а также при необходимости присваиваем адрес (Address), символьное обозначение (Symbol) и комментарий (Comment). После ввода необходимых данных жмем "Ok". После нажатия "Ok" появляется файл, в котором
производим написание программы на языке "Structured text". Рис. 2.14.
Рис.2.14. Окно программы на языке структурный текст "Structured text".
Заходим в командной строке меню Edit, производим Операцию Confirm.
Для загрузки набранной программы в ПЛК, в командной строке меню выбираем PLC → Transfer. После загрузки программы необходимо
соединиться РС → PLC.
Далее в командной строке Debug
выбираем пункт Run mast task, для запуска записанной программы в ПЛК см. рис 2.15.
Рис.2.15. окно запуска программы записанной в PLC.
После запуска программы чтобы просмотреть текущее значение параметров
обрабатываемые ПЛК необходимо создать анимационною таблицу: Application Browser → Animation Tables, правой
кнопкой мыши кликаем и выбираем пункт Create... рис.2.16. После создания таблицы вводим адреса созданные в пункте 10.
Рис2.16. Окно создания анимационной таблицы.
Для отображения информации получаемой от датчиков виде графиков (Trends): Application Browser → Runtime screens
→
Для создания поля графического отображения, с правой стороны в
открывшемся окне "Runtime screens"
появилась панель инструментов, выбираем "Rectangle", рисуем прямоугольник. Далее
выделяем и кликаем правой кнопкой мыши и выбираем "Properties" рис.2.17.
Рис 2.17. Окно создания "Графического отображения".
В открывшемся пункте меню выбираем "Animation", ставим галочку в пункте
"Animation", активизируется меню "Symbol", в котором вводиться имя
переменной созданной в пункте 10. См. рис.2.18.
Далее выбираем "Animation Type", ставим
точку в пункте "Trend Diagram",
активизируется стрелка, и далее выбираем в пункте "Line color" цвет графика, в пункте "Thresholds" определяем шкалу измерения, в
пункте "Display" определяем временной интервал
окна, и далее жмем "Ok",
и далее "Confirm". Рис.2.18.
Рис 2.18. Окно создания "Trend Diagram."
Для ввода текста и обозначения созданного объекта (например "Первый
терморезистор", см. Рис.2.17) в окне "Runtime screens" с правой стороны окна выбираем заначек
"Аа", нарисовав границы текста, и выделив его кликаем правой кнопкой
мыши, выбираем пункт "Properties", в открывшемся меню в окне "Text", вводим необходимый текст, шрифт текста и цвет
надписи. Рис.2.19.
Рис.2.19. Окно создания "Текстового обозначения"
Для отображения цифрового значения измеряемого параметра выбираем иконку
"12I". Рисуем объект (который будет
представлять информацию от датчика виде цифрового значения), для этого кликаем
правой кнопкой мыши выбираем "Properties", в открывшемся окне в строке "Symbol" вводим имя переменной. Рис.
2.20.
Рис 2.20. Окно создания "Цифровой индикации измеренного
значения".
После проведенных операций в пунктах 16-18, получаем значение измеренной
температуры от 4-х термометров сопротивления в виде цветных графиков (trends) и цифровой индикации рис. 2.21.
Рис.2.21. Графическое отображение значения температуры от термодатчиков.
Как видно из предложенных графических материалов данная среда
программирования контроллера дает широкие возможности для настройки
технологического процесса пищевого производства.
2.3 Применение SCADA-системы Monitor Pro для управления технологическими
процессами пищевых производств
Программное обеспечение для систем супервизорного
управления и сбора данных (SCADA) Monitor Pro включает базовые пакеты для
создания приложений супервизорного (диспетчерского) контроля и управления, а
также дополнительные элементы (опции), усовершенствующие функции этих пакетов
для таких специальных областей применения, как статистическое управление
технологическими процессами или интеграция с базами данных.
В составе Monitor Pro предлагаются:
· Пакеты Runtime (среда функционирования)
· Пакеты Development (среда создания) и Runtime
· Дополнительные пакеты Optional Packages и Add-Ons
Базовые пакеты Monitor Pro. Все базовые пакеты включают:
· графику и анимацию;
· базу данных реального времени;
· текущие и архивные тренды;
· анимированную графику;
· управление сигнализацией;
· браузер базы данных;
· интерфейс данных с dBase IV и ODBC;
· поддержку локальных сетей;
· функцию PowerNet, драйверы интерфейсов с ПЛК Schneider и
устройствами числового управления NUM.
Рис.2.2. Функция PowerNet
Pro является многопользовательским SCADA-сервером приложений реального
времени для автоматизации производственных и технологических процессов. Он
позволяет собирать важнейшую информацию от многочисленных приборов и устройств
промышленного объекта и затем распространять ее по всему предприятию
(организации).
Коммуникативность базы данных реального времени. Monitor Pro обеспечивает
такие важнейшие элементы функциональности SCADA-системы, как ретроспективные
данные, сигнализацию и статистическое управление процессом. Кроме того,
обновляемая по изменению база данных Monitor Pro обеспечивает уникальную
масштабируемость существуют, приложения, обрабатывающие более 2 миллионов
тэгов.. Monitor Pro WebClient подключается прямо к любому серверу Monitor Pro
без какого-либо дополнительного конфигурирования. Несколько пользователей могут
наблюдать за процессом или управлять им, откуда угодно на территории
предприятия или из любой точки земного шара посредством корпоративной сети
Intranet или Internet. WebClient работает с необходимой защитой.
Использование зашифрованных протоколов и клиентов в варианте доступа
"только чтение" гарантирует безопасность. В отличие от конкурирующих
продуктов, базирующихся на закрытой среде клиентских приложений, WebClient
основан на стандарте ActiveX.
Преимущества модели "тонкого" клиента. WebClient основан на
модели "Thin Client" ("тонкий клиент"). Это означает, что
один сервер обслуживает запросы на получение свежей информации от подключенных
к нему клиентских машин, в которых функционируют броузерные приложения.
Кроме того, Webcllent экономит средства заказчика посредством
развертывания нескольких Web-клиентских соединений вместо нескольких приложений
с функциями серверов. Экономия состоит в том, что клиентская машина не должна
быть мощной высокоразвитой рабочей станцией. Все, что требуется - это
компьютер, способный исполнять броузерное приложение.
Поддержка исходного стандарта ОРС (OLE for Process Control) означает то,
что данные от средств промышленной автоматики могут быть собраны без
использования специальных драйверов. Информация затем может быть распространена
между неограниченным числом разных пользователей (клиентов) по всему
предприятию.
Диспетчер распределенной сигнализации (Distributed Alarm Supervisor).
Диспетчер сигнализации идентифицирует нарушения в контролируемом процессе и
привлекает внимание оператора путем выдачи сигнальных сообщений. Эта задача
может использоваться со следующими функциональными возможностями:
• сигнализация может быть категоризирована по группам, технологическим
участкам и приоритету
• поддерживается фильтрация и сортировка просмотра сигнальных сообщений
• распределенная архитектура обеспечивает возможность квитирования
сигнализации с нескольких рабочих мест пользователя
• сигнальные сообщения могут быть записаны в реляционную базу данных или текстовый
файл для простоты последующего анализа Off-line
• поддерживается ведение оперативного журнала свободной формы для записи
отчетной и уведомляющей информации о нарушениях
• с целью минимизации лавинообразных потоков сигнализации для
взаимосвязанных сигнальных сообщений могут быть определены отношения
наследования
• допускается модификация элементов сигнализации в режиме On-line
Связь с базой данных предприятия (Enterprise Database Connectivity).
• обеспечиваются высокоскоростные естественные интерфейсы с популярными
системами управления реляционными базами данных (RDBMS)
• интерфейсы RDBMS поддерживаются на платформах Microsoft с
использованием 100%-совместимых с ODBC драйверов
• все рестроспективные данные помещаются в реляционные базы данных, тем самым
обеспечивается простой доступ к ним со стороны программных продуктов других
фирм
• допускается соединение с несколькими базами данных одновременно - в том
числе с разными типами RDBMS
• структура баз данных определяется пользователем, тем самым обеспечивается
максимальная гибкость архитектуры ваших данных
• возможность создания динамических SQL-запросов и исполнения ранее
сохраненных процедур в усовершенствованных приложениях
• дружественный интерфейс для пользователей, не имеющих опыта работы с
SQL
• регистрация (накопление) данных на периодической основе и по изменению
Pro имеет встроенную функцию Client/Server для архитектуры с несколькими
рабочими станциями PowerNet. Это позволяет разрабатывать приложения с данными,
разделяемыми между различными диспетчерскими станциями (компьютерами). Каждая
диспетчерская станция декларируется как сервер и клиент для других станций сети
одновременно. Сигнализация и ее подтверждение (квитирование) распределены между
различными станциями сети. Сигнальное сообщение может быть одинаково
заквитировано на той или иной рабочей станции в сети.
Интерфейсы с внешними приборами (External Device Interfaces):
• поддержка более 100 приборных протоколов
• поддержка до 32-х одновременно работающих приборных протоколов.
• драйвер General Purpose Interface (GPI) дает возможность пользователям
реализовать ASCII-протоколы запросов/ответов, не прибегая к программированию
• для высокоскоростной передачи данных поддерживаются протоколы связи с
ПЛК на основе Ethernet.
• Открытый приборный драйвер API позволяет легко создавать специальные
заказные интерфейсы.
Готовая конфигурация для приложений (Preconfigured Applications). Monitor
Pro предоставляет набор предварительно сконфигурированных приложений с тем, чтобы
пользователь мог легко построить свое приложение, пользуясь готовыми фреймами.
Эти приложения предоставляют готовые наборы конфигурационных данных с
настройками подключения к сетям основных промышленных средств управления,
выпускаемых Schneider Electric. В дополнение к этому с целью облегчения
реализации конкретных требований каждое предконфигурированное приложение
снабжено справочным руководством. Выбор предконфигурированного приложения
зависит от выбранного для установки коммуникационного интерфейса. Может быть
выбрано несколько типов сети Х-Way. В случаях, когда приложение Monitor Pro
работает с ПЛК от Schneider Electric, доступны следующие типы сетевых
интерфейсов: Modbus, Modbus Plus, Modbus TCP/IP, UnitelWay, FipWay, Xway, ISAWAY
3. Спецификация приборов, используемых в
технологическом процессе пищевого производства
Для контроля технологического процесса применяются следующие датчики:
. Уровнемер для пищевой промышленности G24 Seetol.
Модель Seetol разработана с целью усовершенствования и упрощения
считывания показаний с высоких уровнемеров с нулевой отметки, используя
перископ. Такой способ исключает погрешность от параллакса, которая существует
с традиционными уровнемерами и, следовательно, обеспечивает надежность
считывания с точностью до 1 мм по максимальной длине шкалы в 20 метров
Уровень считывается через оптическое смотровое устройство, которое легко
переносится от емкости к емкости. Оператор может быстро снять уровень жидкости
в емкости и провести считывание каждого миллиметра по всей высоте емкости. Этот
уровнемер отличается точностью показаний
. Расходомер серии Time DELTA
Особенности
· компактный размер
· широкий диапазон типоразмеров датчиков
· высокая точность измерений
· относительно невысокая стоимость
· устойчивость к пузырькам воздуха
· высокая скорость обработки данных
· многоязычный дисплей
· высокая производительность и простота программирования
Основные области применения
· ЖКХ
· Покрасочные цеха
· Насосные станции
· Пищевая промышленность
. Термопреобразователь температуры с унифицированным выходным
сигналом ТСМУ-Ex.
Достоинства
• Повышенная помехоустойчивость, возможность передачи информации
на более далёкие расстояния;
· Возможность применения в полевой сети АСУ ТП без
дополнительных нормирующих преобразователей;
· Высокая точность преобразования;
· Широкий диапазон измеряемых температур;
· Малая потребляемая мощность;
· Устойчивы к воздействию t окружающей среды от -40°C до +60°C
(исполнениеУ1.1);
· Установка "Ех" - исполнений во взрывоопасных зонах.
Предназначены для непрерывного измерения температуры жидкостей, пара,
газа на объектах различных отраслей промышленности, преобразования полученных
значений в унифицированный токовый выходной сигнал 0-5 или 4 - 20 мА и его
дистанционной передачи. Конструктивно состоят из жезла (защитная арматура -
сталь 12Х18Н10Т, 10Х23Н18 или 8Х20Н14С2) со встроенным чувствительным элементом
(термопреобразователь сопротивления или термопара) и измерительного
преобразователя, размещённого в головке. Головка - из алюминиевого сплава, с
разъёмом или без. Монтаж - в гнездо, с помощью штуцера М20х1,5 или М16х1,5.
. Клапан регулирующий фланцевый с электрическим исполнительным
механизмом (эим) 25ч940нж.
Предназначен для применения в системах автоматического регулирования и
управления технологическими процессами различных производств с целью
непрерывного регулирования давления, расхода и других параметров рабочей среды.
Наработка на отказ- 10 000 часов в пределах гарантийного срока
эксплуатации.
Гарантийный срок эксплуатации - 18 месяцев со дня ввода в эксплуатацию.
Срок консервации - 3 года. Полный срок службы - не менее 10 лет.
4. Выбор критериев качества управления
Основное назначение критерия качества управления - численно оценить
качество управления и успешность решения задачи управления. Выбор критерия
управления обычно осуществляется в зависимости от характера решаемой задачи,
статистических сведений о входных сигналов, а также на основании опыта и интуиции
разработчиков автоматических систем.
К критериям управления предъявляются два общих требования: во-первых, он
должен соответствовать поставленной задаче управления, т.е. служить
действительной мерой успешности ее выполнения; во-вторых, он должен быть
достаточно прост, чтобы можно было математически решить поставленную задачу.
Наиболее употребительным и простым критерием качества управления является
средний квадрат ошибки системы. Поскольку выходной сигнал односвязной системы
управления
обычно является случайным процессом, то ошибку системы
характеризуют в статистическом
смысле. Наиболее простой статистической характеристикой является математическое
ожидание. Поэтому средний квадрат ошибки
весьма часто используется на
практике.
Средний квадрат ошибки
связан с дисперсией
и математическим ожиданием ошибки
соотношением
,
которое показывает, что он учитывает и чисто случайную составляющую
(через
) и ее систематическую (среднюю)
составляющую (через
).
Положительный корень из среднего квадрата ошибки называется средней
квадратической ошибкой, которая имеет размерность выходного сигнала системы и
поэтому при практических расчетах является более удобной характеристикой, чем
средний квадрат ошибки.
Система, обладающая минимальной средней квадратической ошибкой,
называется оптимальной по минимуму средней квадратической ошибки.
Критерий среднего квадрата ошибки обобщается на случай, когда сигнал
ошибки управления является векторным
. В этом случае из координат
,
вектора
образуется скалярная случайная
функция
, (4.1)
называемая обобщенной ошибкой. Как видно из (4..1), она представляет
собой сумму координат вектора
, взятых со своими весовыми коэффициентами
,
, значения которых выбираются, исходя
из существа задачи.
В качестве статистического критерия качества управления можно
использовать математическое ожидание среднего квадрата обобщенной ошибки, т.е.
.
Данный скалярный критерий компактно выражается через вектор
и вектор весовых коэффициентов
в виде квадратичной формы
,
что делает его весьма удобным в математическом отношении.
Критерий среднего квадрата ошибки (или средней квадратической ошибки)
получил распространение благодаря тому, что он прост в математическом отношении
и во многих практических задачах управления является удовлетворительной мерой
успешности их решения.
Однако в ряде задач управления этот критерий не соответствует их
условиям, т.к. он придает большим и маловероятным ошибкам больший вес, чем
малым ошибкам, т.е. большие ошибки оказываются более нежелательными, чем малые.
Но в некоторых задачах одинаково нежелательны, т.е. равноценны по своему
влиянию на успешность решения задачи управления все значения ошибок,
превышающие определенный предел.
Такая ситуация имеет место, например, при управлении давлением газа или
жидкости в трубопроводах, когда происходит их разрыв при выходе давления за
установленный верхний предел. Кроме того, при управлении электрическим
напряжением, даже кратковременное превышение им предельно допустимых
максимальных значений крайне нежелательно, ввиду существующей опасности пробоя
изоляции, выхода из строя микросхем и других элементов электрической
аппаратуры.
Поэтому критерий среднего квадрата ошибки далеко не всегда целесообразно
использовать при решении ряда задач оптимального управления.
Кроме того, в случае использования обобщенной ошибки (4..1) выбор
значений весовых коэффициентов в значительной мере осуществляется субъективно,
что также нежелательно, т.к. получаемые при этом "оптимальные" решения
также субъективны.
Таким образом, обоснованный выбор критериев качества управления в
значительной мере способствует успешности решения поставленных задач и должен
осуществляться исходя из цели управления.
Поскольку при завершении управляемых технологических процессов создается
продукция, предназначенная для продажи, то цель управления должна иметь
экономическое содержание, которое можно определить как минимизацию
экономических потерь, связанных с отклонением управляемых технологических
параметров от их заданных значений. Ввиду того, что эти отклонения
характеризуются величиной ошибки управления
, экономические потери при управлении
технологическими процессами зависят от
.
Рассмотрим проблему выбора и обоснования критериев управления.
Введем функцию
, значения которой соответствуют экономическим потерям в
единицу времени при выпуске продукции, т.е., по существу, она определяет
интенсивность экономических потерь. Тогда значения
определяют интенсивность
экономических потерь при идеальном управлении технологическим процессом, когда
. Эти потери не связаны с
управлением, а зависят, например, от качества сырья, своевременности его
поставок, правильности выбора технологом заданного значения
и множества других факторов. Поэтому
среднюю интенсивность экономических потерь
, зависящих лишь от точности
управления технологическим процессом, можно выразить с помощью следующего
критерия:
/
, (4..2)
где
- оператор математического ожидания.
Воспользовавшись критерием
цель управления можно определить как
выполнение требования
. (4..3)
Однако непосредственно использовать критерий
при управлении технологическими
процессами оказывается весьма затруднительным, т.к. в большинстве случаев не
удается определить зависимость
. Поэтому необходимо искать другие критерии, при оптимизации
которых обеспечивается выполнение требования (4..3).
Чтобы определить критерии, обладающие указанным свойством, сделаем
достаточно обоснованные допущения о виде функции
. Примем во внимание, что ввиду
ограниченности экономических потерь при управлении любым технологическим
процессом она может изменяться лишь в конечных пределах. В таком случае, даже
при наличии у функции
конечных скачков (разрывов первого рода), ее сколь угодно
точно можно приблизить некоторой непрерывной функцией. Учтем также, что всегда
существуют ограничения на пределы изменения величины
, т.к. входной
и выходной
сигналы системы управления принимают
конечные значения.
Поскольку функцию
можно считать непрерывной и заданной на конечном отрезке, то
ее можно с любой заданной точностью аппроксимировать полиномом степени
. В таком случае она принимает вид
, (4..4)
где
,
- вещественные коэффициенты.
Воспользовавшись выражениями (4..2) и (4..4) критерий
представим в виде
. (4..5)
Поскольку
,
то с учетом (4..5) получим неравенство
. (4..6)
Следовательно, выполнению требования (4..3) способствует выполнение
условий
. (4..7)
Таким образом, вместо одного универсального, но неконтролируемого
критерия
, получено множество критериев
,
, (4..8)
значения которых можно определить, если имеется достоверная информация о
функции распределения случайного процесса
. Чтобы получить такую информацию
необходимо определить статистические характеристики всех возмущающих
воздействий и располагать достаточно точной математической моделью управляемого
объекта.
На основании условий (4..7) приходим к выводу, что задача оптимального
управления технологическими процессами должна ставиться и решаться как задача
многокритериальной оптимизации, т.к. в условиях оптимальности управления (4..7)
используется не один, а несколько критериев (4..8).
Однако, выполнить условия (4..7) на практике оказывается весьма
затруднительным, хотя бы по причине требуемого для этого объема информации о
статистических характеристиках ошибки управления
. Поэтому необходимо определить критерии,
которые было бы проще контролировать в процессе управления, чем статистические
моменты величины
.
Доказано, что при управлении непрерывными стационарными системами в
условиях статистической неопределенности критерии (4..8) одновременно
приближаются к своим минимальным значениям, если обеспечено выполнение
требования
, (4..9)
где
- свободный член характеристического уравнения замкнутой
системы.
Это уравнение можно представить в виде
, (4..10)
где
- комплексная переменная;
-целое положительное число (порядок
характеристического уравнения);
,
- постоянные вещественные коэффициенты;
,
- корни характеристического
уравнения;
- характеристический полином (функция) замкнутой системы.
Чтобы обеспечить необходимый запас устойчивости используют следующие
ограничения на расположение корней характеристического уравнения (4..10):
; (4..11)
, (4..12)
где
и
- показатели относительного и абсолютного демпфирования
свободного движения замкнутой системы соответственно, а
и
- их предельно допустимые значения.
Учет ограничения (4..11) обеспечивает заданную скорость затухания всех
гармонических составляющих свободного движения системы, а использование
ограничения (4..12) позволяет устранить высокочастотные составляющие в этом
движении.
Величины
и
безразмерны, причем на практике значение
обычно выбирается из интервала 0,221
... 0,366.
Величины
и
имеют размерность частоты и их значения выбираются, исходя
из возможностей каждой конкретной системы управления.
Отметим, что наряду с обеспечением заданного демпфирования свободного
движения системы ограничения (4..11) и (4..12) гарантируют требуемый запас
устойчивости.
Чтобы система была технически реализуемой необходимо учесть существующие
ограничения на мощность управляющих воздействий, т.е. с высокой вероятностью
обеспечить выполнение неравенства
, (4..14)
где
- управляющее воздействие;
- заданная постоянная величина,
характеризующая предельно допустимую мощность управляющих воздействий. В том
случае, если с высокой вероятностью выполняется неравенство (4..14)
регулирующий орган весьма редко достигает своих предельных положений, что
позволяет считать систему управления линейной.
Выполнению неравенства (4..14) способствует введение следующего
ограничения на расположение корней характеристического уравнения устойчивой
замкнутой системы:
, (4..15)
где
- заданная постоянная величина, значение которой выбирается
так, чтобы обеспечить выполнение (4..14).
Таким образом, для непрерывных линейных систем достижение цели управления
обеспечивается при выполнении требования (4..9) с учетом ограничений на
расположение корней характеристического уравнения замкнутой системы (4..11),
(4..12) и (4..15).
5. Условия устойчивости (робастности) управления для систем с пи
регуляторами
Системы, способные поддерживать качество управления близкое к
оптимальному при изменении тех или иных, влияющих на него факторов, принято
называть робастными (устойчивыми). Часто к таким факторам относятся
статистические характеристики возмущающих воздействий. Название "робастный"
происходит от английского слова robust,
имеющего значения: крепкий, сильный, грубый.
Поскольку значение величины
, как видно из выражения (4..10),
зависит от расположения полюсов замкнутой системы и ограничения (4..11),
(4..12) и (4..15) также устанавливают к нему определенные требования, то
желательно выяснить при каком расположении полюсов выполняется требование
(4..9).
Искомое расположение полюсов устанавливает следующее математическое
утверждение:
Теорема 5.1. Максимум свободного члена
характеристического полинома
замкнутой линейной стационарной
системы при ограничениях (4..11), (4..12) и (4..15) достигается тогда и только
тогда, когда расположение ее полюсов удовлетворяет следующим требованиям:
(5.1)
а
- целая часть отношения
(
- порядок характеристического
полинома).
Следовательно, параметры настройки регулятора следует выбирать таким
образом, чтобы обеспечить выполнение условий (5.1), т.к. при этом выполняется
требование (4..9) и введенные ограничения на расположение полюсов замкнутой
системы.
Эти ограничения, в отличие от критерия
, иногда называют показателями
качества управления, т.к. они также характеризуют степень успешности достижения
цели управления, но по отношению к ним не выдвигаются экстремальные требования,
аналогичные (4..9).
Для оценки эффективности робастного управления желательно определить
границы интервала частот, в котором возможно выполнить условия (4..7), т.к. на
практике иногда удается оценить полосу частот, в которой возмущающие
воздействия проявляют себя заметным образом.
Добиться выполнения указанных условий можно при расположении полюсов
замкнутой системы в соответствии с требованиями (5.1).
Поскольку от расположения полюсов зависит знаменатель
АЧХ замкнутых систем, то при
выполнении (5.1) он должен максимизироваться в интервале частот
, способствуя тем самым выполнению
условий (4..7).
Значение величины
определяется на основании следующего математического
утверждения:
Теорема 5.2. Для замкнутой линейной стационарной системы при ограничениях
(4..11), (4..12) и (4..15) максимум величины
достигается при любом значении
, удовлетворяющем неравенству
, если расположение полюсов системы
удовлетворяет требованиям (5.1). Причем величина
является решением уравнения
, (5.2)
где собственная частота системы
определяется выражением
, (5.3)
а
- целая часть отношения
(
- порядок характеристического
полинома).
Выполнение требований (4.1) обеспечивает оптимизацию наряду с частотными,
также и временных динамических характеристик замкнутой системы, на что
указывает следующее математическое утверждение:
Теорема 5.3. Для того чтобы при ограничениях (4..11), (4..12) и (4..15)
достигался максимум показателя
необходимо и достаточно обеспечить расположение полюсов
системы в соответствии с требованиями (5.1).
Отметим, что при ограничениях (4..11), (4..12) и (4..15) максимальное
значение
определяется следующим выражением:
.
Одна из проблем, с которыми приходится сталкиваться при настройке систем
управления технологическими процессами пищевых производств, заключается в
отсутствии полной обратной связи по вектору состояния
Это объясняется тем, что управляемым
объектам нередко присуща пространственная распределенность параметров, а вектор
состояния системы с таким объектом имеет бесконечную размерность. Разумеется,
на практике невозможно реализовать обратную связь по бесконечному числу
координат вектора
Поэтому в системах с неполной обратной связью не все полюсы можно расположить
в любом наперед заданном положении, т.е. заведомо обеспечить выполнение
требований (5.1).
При данных обстоятельствах приходиться ограничиться выполнением
требований (5.1) лишь для так называемых доминирующих полюсов системы.
Предположим, что система имеет
доминирующих полюсов
,
тогда для остальных полюсов системы
,
должны выполняться неравенства
; (5.4)
. (5.5)
В соответствии с условием (5.4) все недоминирующие полюсы системы должны
располагаться на комплексной плоскости не ближе к мнимой оси, чем доминирующие.
А условие (5.5) означает, что недоминирующие полюсы расположены значительно
дальше от начала системы координат по сравнению с доминирующими.
При выполнении условий (5.4) и (5.5) качество управления определяется в
основном доминирующими полюсами и поэтому выполнение для них требований (4.1)
позволяет значительно повысить качество управления технологическими процессами.
Рассмотрим методы расчета параметров настройки регуляторов, используемых
для управления линейными стационарными системами с распределенными и
сосредоточенными параметрами. Эти методы базируются на требованиях (5.1) для
доминирующих полюсов.
Воспользуемся уравнением (5.6), эквивалентным характеристическому
уравнению замкнутой системы, причем передаточная функция объекта
считается заданной
. (5.6)
Чтобы применить требования (5.1) необходимо установить взаимосвязь между
числом доминирующих полюсов системы
, для которых эти требования
выполнимы, и числом параметров настройки регулятора
, значения которых требуется
определить.
Кроме того, необходимо также установить значение неизвестной величины
.
Полагая, что
, (5.7)
и задав расположение
полюсов согласно требованиям (4.1), получим систему
уравнений
, (5.8)
решив которую, можно определить все неизвестные величины.
Для систем с ПИ регуляторами
и согласно равенству (5.7) имеем
.
В таком случае в соответствии с требованиями (4.1) расположение
доминирующих полюсов замкнутой системы с ПИ регулятором принимает вид
;
. (5.9)
Значение величины
в равенствах (5.9) устанавливается на основании
компромиссных соображений, т.к. при малых значениях
в выходных сигналах регулятора
и объекта
присутствуют нежелательные
высокочастотные колебания, а при больших значениях этой величины ухудшается
качество управления.
Поскольку для систем с ПИ регулятором
, то уравнения (5.8) с учетом
выражения для передаточной функции ПИ регулятора
,
где
- коэффициент передачи, а
- постоянная времени интегрирования;
принимают вид
; (5.10)
. (5.11)
Разделив уравнение (5.10) на вещественную и мнимую составляющие получим
два вещественных уравнения
; (5.12)
, (5.13)
;
.
Поскольку левые части уравнений (5.12) и (5.13) совпадают, то существует
такое значение
, при котором совпадают и их правые части, т.е. выполняется
равенство
. (5.14)
Из уравнения (4.13) получим
. (5.15)
Решая уравнения (5.12) с учетом выражения (5.15) имеем
. (5.16)
Таким образом, вначале, при заданном значении
, в результате решения уравнения
(5.14) устанавливается минимальное положительное значение
.
Затем, исходя из выражений (5.15) и (5.16), определяются значения
параметров настройки
и
, при которых доминирующие полюсы системы расположены в
соответствии с требованиями (5.9).
Оценим значения величины
. В рассматриваемом случае
и уравнение (5.2) имеет следующее
аналитическое решение:
. (5.17)
Оценим возможные значения величины
. Полагая
согласно выражению (4.17) имеем
, а при
получим
.
Поскольку значение собственной частоты
обычно не столь значительно
отличается от резонансной частоты системы
, то можно заключить, что интервал
частот, в котором максимизируется при выполнении требований (5.9) величина
, а значит, достигается минимум АЧХ
замкнутой системы, оказывается достаточно широким. Поэтому, если спектр
возмущающих воздействий может значительно изменяться, оптимизация управления
линейными стационарными системами на основе требований к расположению полюсов
(5.1) является весьма эффективной.
6. Расчет динамических характеристик системы управления температурой в
варочных колоннах
О качестве управления технологическими процессами принято судить по виду
динамических характеристик замкнутых систем управления, к которым относятся как
частотные, так и временные характеристики этих систем.
Чтобы определить указанные характеристики необходимо вначале построить
математическую модель управляемого объекта, для чего на его вход подается
единичное ступенчатое воздействие
, а на выходе снимается кривая
разгона
(переходная характеристика объекта),
представленная на рис. 6.1.
Рис. 6.1. График кривой разгона для объекта управления.
На основании кривой разгона можно определить передаточную функцию объекта
по каналу управления температурой. Для этого в точке перегиба кривой разгона
проводят касательную и определяют длины отрезков
и
, отсекаемые этой касательной от
временной оси и от пунктирной линии соответственно. Кроме того, по кривой
разгона определяют также значение коэффициента передачи объекта по формуле
.
В рассматриваемом случае было установлено, что
;
;
. (6.1)
На основании полученных значений параметров кривой разгона было
определено искомое выражение для передаточной функции объекта для канала
управления температурой
. (6.2)
Используя выражение (6.2) и равенства (6.1), а также полагая, что
, (6.3)
для уравнения (4.14) получим графическое решение, представленное на рис.
6.2.
Рис. 6.2.
В результате установим, что
. (6.4)
Принимая во внимание выражения (4.15) и (4.16), а также равенства (6.1) -
(6.4) определим оптимальные значения параметров настройки ПИ регулятора
;
. (6.5)
На рис. 6.3 и 6.4 представлены графики амплитудно-частотных характеристик
(АЧХ) замкнутой системы управления
и
по каналам
и
.
Рис. 6.3. АЧХ замкнутой системы по каналу
.
Согласно рис.65.3 установим, что показатель колебательности замкнутой
системы
, определяемый равенством
, (6.6)
принимает следующее значение:
. (6.7)
Поскольку для обеспечения требуемого запаса устойчивости системы
показатель колебательности
должен удовлетворять неравенству
, (6.8)
то ввиду равенства (6.7) неравенство (6.8) выполняется, что
свидетельствует о правильном выборе значения
в соответствии с равенством (6.3).
Рис. 6.4. АЧХ замкнутой системы по каналу
.
На основании рис. 6.4 приходим к выводу, что интервал частот
, в котором замкнутая система
обладает фильтрующими свойствами, т.е. ослабляет действующее на нее возмущение
, определяется неравенством
. (6.9)
На рис. 6.5 представлен годограф комплексной частотной характеристики
(КЧХ) разомкнутой системы
, причем
,
где
и
- КЧХ объекта и регулятора соответственно.
Рис.6.5. Годограф КЧХ разомкнутой системы
.
По виду годографа КЧХ разомкнутой системы
можно судить об устойчивости
замкнутой системы, если воспользоваться критерием устойчивости Найквиста,
который формулируется следующим образом: замкнутая система устойчива, если
годограф КЧХ разомкнутой системы не охватывает на комплексной плоскости точку с
координатами (-1, i 0).
Следовательно, замкнутая система управления, функциональная схема которой
представлена на рис. 6.6, является устойчивой, т.е. нечеткая система управления
отделением разваривания на спиртзаводе функционирует стабильно и с запасом на
отказ.
В схеме на рис. 6.6 приняты следующие обозначения:
КБ - командный блок, вырабатывающий сигнал задания
;
- сигнал ошибки управления;
- управляющее воздействие на объект;
- выходной сигнал объекта (управляемая величина).
Отметим, что сигнал ошибки управления
задается следующим равенством:
. (6.10)
Рис. 6.6. Функциональная схема одноконтурной системы управления.
График переходного процесса
, возникающего на выходе системы
управления при подаче на ее вход единичного ступенчатого воздействия
(6.11)
представлен на рис. 6.7.
Рис. 6.7. Переходный процесс при действии возмущения
по каналу
.
Согласно рис. 6.7 величина перерегулирования
составляет
, (6.12)
что вполне допустимо.
Кроме того, переходный процесс
на рис. 6.7 достаточно быстро
затухает, причем его время затухания
составляет 76 секунд.
Отметим также, что график единичного ступенчатого воздействия (6.11)
представлен на рис. 6.8.
Рис. 6.8. Единичное ступенчатое воздействие.
В заключении отметим, что при выполнении расчетов динамических
характеристик системы управления использовался программный пакет MAPLE 7.
Система Maple предназначена для символьных вычислений, имеет ряд средств
и для численного решения дифференциальных уравнений и нахождения интегралов.
Обладает развитыми графическими средствами. Имеет собственный язык
программирования, напоминающий Паскаль.
Рассмотрим лишь интерфейс пакета, работающего под Windows. Окно Maple
содержит многие атрибуты, привычные пользователю других приложений Windows:
заголовочную часть, строку ниспадающих меню, панель управления, линейку
вертикальной прокрутки, строку состояния и т.д. Основную часть базового окна
занимает еще одно окно, в котором обычно располагаются один или несколько
рабочих документов (Maple worksheet). В этом же окне могут располагаться окна
помощи (рис 6.9-6.11). Состояние ниспадающих и контекстного меню и кнопок на
панели управления зависит от того, какое именно окно активно в настоящий момент
и месторасположения курсора в окне Maple worksheet.
Рис. 6.9. Меню Help справочной системы Maple 7
Рис. 6.10. Начало диалога с системой Maple 7
7. Интегрированная система управления
Цель создания и внедрения интегрированных систем
управления отделением разваривания заключается в повышении его экономической
эффективности, т.к. благодаря более согласованной работе всех его служб и
подразделений.
На рис. 7.1 приводится функциональная схема
интегрированной системы управления современным производством.
Рис. 7.1. Общая функциональная схема современного
производства.
Нижний уровень этой схемы составляют измерительные
приборы и исполнительные механизмы. В настоящее время они могут быть
аналоговыми или цифровыми (интеллектуальными). Аналоговые представляют
измеренную величину в форме определенного значения напряжения или силы тока.
Цифровые - это встроенные логические схемы, они представляют измеренную
величину в виде цифрового сигнала, соответствующего спецификации протокола
передачи данных, определенного для этих устройств. Для обмена информацией с
приборами первого вида необходимо использовать АЦП/ЦАП (аналого-цифровые и
цифро-аналоговые преобразователи). С приборами второго типа можно обмениваться
информацией непосредственно по сети передачи данных.
Следующий уровень - контроллеры. Они выполняют функцию
автоматического управления технологическим процессом. Целью управления является
выдача сигналов на исполнительные механизмы в результате обработки данных о
состоянии технологических параметров, полученных посредством измерительных
приборов, по определенным алгоритмам.
Серверы технологических данных обеспечивают обмен
информацией между технологическими устройствами и сетью персональных
компьютеров. Они поддерживают протокол работы с технологическими устройствами и
протокол работы с сетью персональных компьютеров.
Данные о текущих параметрах технологического процесса
могут быть использованы для контроля ее состояния и управления им с
автоматизированных рабочих мест операторов; для архивирования истории изменения
технологических параметров; для формирования суммарных отчетных форм в целях
предоставления информации руководящему персоналу.
В данной схеме SСАDА-система
представлена серверами технологических данных и автоматизированными рабочими
местами (АРМ) операторов.
Отметим функции SСАDА-систем:
. Сбор, первичная обработка и накопление информации о
параметрах технологического процесса и состоянии оборудования от промышленных
контроллеров и других цифровых устройств, непосредственно связанных с
технологической аппаратурой.
. Отображение информации о текущих параметрах
технологического процесса на экране ПЭВМ в виде графических мнемосхем.
Отображение графиков текущих значений технологических параметров в реальном
времени за заданный интервал.
. Обнаружение критических (аварийных) ситуаций.
. Вывод на экран ПЭВМ технологических и аварийных
сообщений.
. Архивирование истории изменения параметров
технологического процесса.
. Оперативное управление технологическим процессом.
. Предоставление данных о параметрах технологического
процесса для их использования в системах управления предприятием.
На верхнем уровне управления (производством в целом)
основой решения задач управления являются отдельные информационные сети,
связывающие АРМ управляющего персонала на разных участках (мастеров,
технологов, начальников цехов) с планирующими подразделениями. Эти сети взаимодействуют
(или совпадают) с корпоративной сетью всего предприятия. В настоящее время
абсолютно доминирующим типом таких сетей является Ethernet (сеть шинной технологии, случайного
метода доступа, длиной в несколь^ ко десятков км в зависимости от физической среды
передачи информации, со скоростью передачи данных 10 Мбод). Она используется и
как сеть, связывающая отдельные пульты операторов ТП между собой, и как сеть,
объединяющая плановые, диспетчерские, оперативные органы управления
производством, и как корпоративная сеть предприятия. Развитие информационных
сетей (ИС) осуществляется в направлении создания все более высокоскоростных
магистралей передачи информации. В настоящее время разработаны и все шире
используются (особенно при построении корпоративных сетей крупных предприятий)
три типа магистралей:
• Fast Enthernet - шинная
топология, случайный метод доступа, скорость передачи данных - 100 Мбод;
• FDDI -
топология типа "двойное кольцо", метод доступа - временный маркер,
скорость передачи данных - 100 Мбод. |
• АТМ - шинная топология, метод доступа - "точка
к точке", скорость передачи данных - 155 Мбод.
Эти магистрали взаимодействуют с сетью Enthernet и постепенно заменяют ее при
увеличении объемов информации, передаваемой по ИС в единицу времени. Последнее
особенно актуально; для корпоративных сетей, которые включают в себя ряд новых
функций. Кроме информационной связи между различными производственными и
хозяйственными подразделениями предприятия; они обеспечивают работу местной
АТС, охранно-пожарной сигнализации, видеосистем, инженерных обслуживающих
систем. Сеть, интегрально обеспечивающая информационные связи этих служб,
называют структурированной сетью предприятия. Узлы рассматриваемых сетей - АРМ
управленческого персонала, серверы БД приложений, складов данных, Web-серверы (последние обеспечивают
выход корпоративных систем в Enthernet.
Для контроля и управления финансовыми и материальными
потоками предприятия в целом используются специальные пакеты программ,
получившие названия интегрированных систем управления предприятием. Одной из
таких систем является система "М-2".
Сфера применения интегрированной системы
"М-2". Интегрированная система "М-2" предназначена для
управления финансовыми и материальными потоками крупных и средних промышленных
предприятий. Система разработана на основе применения мировых стандартов
управления в реальных условиях функционирования российских предприятий.
Интегрированная система управления предприятием "М-2" полностью
соответствует требованиям, предъявляемым к интегрированным системам класса ЕRР.
Система управления предприятием "М-2"
формирует единый информационный контур, объединяющий процессы финансового
планирования, учета обязательств и расчетов, материально-технического
обеспечения и сбыта, планирования и управления производством и складскими
запасами, ведение бухгалтерского и управленческого учета и эффективного
контроллинга деятельности предприятия.
Соответствие системы "М-2" реальным
российским условиям. Интегрированная система "М-2" - одна из немногих
российских систем, созданная на базе отечественного предприятия. Идеология
системы апробировалась в рамках проекта информатизации крупного авиационного
предприятия, удовлетворяющего наиболее сложным требованиям промышленности.
Система обеспечивает поддержку особенностей хозяйственной
жизни российских предприятий, которые не полностью реализованы в западных ЕRР-системах:
поддержка нескольких планов счетов и возможность
ведения учета и формирования отчетности, как по российскому стандарту, так и по
стандарту СААР;
ориентированность на первичные документы, имеющие
первостепенное значение в хозяйственной жизни российских предприятий, что
позволяет системе "М-2" легко вписаться в традиционный
документооборот предприятия;
многовалютность, позволяющая вести учет и контроль в
различных бизнес-областях одновременно в различных валютах.
Концепция автоматизации, реализованная в системе
"М-2". В отличие от традиционной концепции автоматизации,
предусматривающей автоматизацию уже существующих управленческих функций и
написание АРМов (рабочих мест) без изменения технологии управления, внедрение
современной интегрированной системы управления предприятием предполагает
автоматизацию бизнес-процессов.
Внедрение системы "М-2" позволяет перейти на
современную систему управления, ориентированную на управление по конкретным
объектам и центрам ответственности, которая рассматривает предприятие не в виде
структуры организационных подразделений, выполняющих отдельные функции, а как
совокупность бизнес-процессов. Подобный подход обеспечивает не просто повышение
производительности традиционных рабочих мест или отдельных структурных
подразделений, а позволяет установить эффективный контроль и ответственность за
достижение результатов конкретных бизнес-процессов.
Место системы "М-2" среди интегрированных систем.
Интегрированные системы, присутствующие в настоящее время на российском рынке,
условно можно отнести к трем группам:
"коробочная" продукция, характеризующаяся
жестко заданным набором функций, не подлежащих изменениям и дополнениям;
настраиваемые системы, позволяющие изменять функции за
счет изменения параметров;
разрабатываемые системы, проектируемые под
индивидуального заказчика.
Система "М-2" сочетает преимущества
настраиваемого продукта с индивидуальной разработкой под заказчика, так как
поставляется в виде относительно неизменного ядра, достаточно легко
модифицируемых модулей и системы разработки приложений.
В процессе внедрения проводится проектирование и
конфигурирование индивидуальных рабочих мест. В дальнейшем клиенту
предоставляется возможность самостоятельного написания рабочих мест, что
обеспечивается возможностью поставки в составе системы комплекса средств
разработки приложений 8ВК, а также обучением и сертификацией специалистов
заказчика.
Защита информации. Интегрированная система
"М-2" позволяет обеспечивать защиту информации от
несанкционированного доступа и гарантировать ее целостность.
Программный комплекс "Интегрированная система
управления предприятием "М-2" защищен сертификатом (№ 259 от 05
августа 1999 г.) Государственной технической комиссии при Президенте РФ на
соответствие требованиям "Средства вычислительной техники. Защита от
несанкционированного доступа к информации".
В случае необходимости обеспечения конфиденциальности
внешнего и' внутреннего электронного документооборота, придания юридического
статуса документам, передаваемым в электронном виде за счет использования
средств электронной цифровой подписи, используются средства криптографической
защиты информации, применение которых в системе управления предприятием
позволит использовать открытые каналы связи для обеспечения взаимодействия
между структурными подразделениями.
Особенности внедрения системы "М-2".Система
"М-2" является открытой: при внедрении проводится доработка под
конкретные потребности Заказчика, включая разработку специализированных
сервисных функций и специализированных рабочих мест. В процессе внедрения
проводится реинжиниринг бизнес-процессов предприятия Заказчика с целью
кардинального улучшения деловых показателей деятельности предприятия
Совместно с. руководством предприятия определяется
оптимальная конфигурация бизнес-процессов с последующим проектированием
автоматизированных рабочих мест. К работе по конфигурированию активно
привлекаются сотрудники, которым предстоит стать непосредственными
пользователями индивидуальных рабочих мест. Подобный подход гарантирует
успешное внедрение системы "М-2" на предприятии Заказчика.
Эффект внедрения системы "М-2"
Внедрение системы "М-2" обеспечит:
качественное повышение управляемости предприятием за
счет оперативного получения учетной и аналитической информации;
управление полным циклом выполнения заказов клиентов с
контролем на каждой стадии, включая контроль обеспеченности материальными
ресурсами;
реализацию современной технологии бюджетирования и
обеспечения динамической увязки необходимых ресурсов с утвержденными проектами
и направлениями деятельности;
внедрение системы управленческого учета затрат в
разрезе направлений деятельности, отдельных проектов и центров ответственности;
реализация системы управления рисками.
Как показывает опыт работы российских предприятий,
переход на современную систему управления с одновременным внедрением
интегрированной системы управления предприятием позволяют добиться
существенного снижения уровня производственных расходов при одновременном
повышении потребительского качества товаров и услуг, что позволяет говорить о
радикальном повышении эффективности работы всего предприятия. Внедрение
информационной системы является эффективным средством снижения отрицательного
воздействия рисков на деятельность предприятия Расчеты экономической
эффективности внедрения интегрированной системы управления показывают, что
экономический эффект от снижения потерь окупает все затраты на систему уже
через 1-2 квартала после начала ее работы в полном контуре. Общий экономический
эффект от внедрения системы составляет не менее 15% от годового объёма продаж,
начиная с первого года после окончания внедрения системы.
Архитектура системы "М-2". Интегрированная
система управления предприятием "М-2" представляет собой мощный
программный комплекс, спроектированный как средство автоматизации предприятий
любого масштаба, с учетом единой внутренней логики, а также с соблюдением
максимальной открытости и устойчивости системы как по отношению к
организационным изменениям на предприятии, так и с точки зрения возможных
изменений законодательства.
На техническом уровне система "М-2"
представляет собой двухуровневый клиент-сервер. В качестве сервера используется
Огас1е, в качестве клиента Delphi
с библиотекой Вог1апd Database Engine и драйвером Огас1е прямого доступа.
В "М-2" создано внутреннее системное ядро,
обеспечивающее внутренние алгоритмы работы системы, такие, как визуализация
клиентских форм, система разделения доступа, система фильтрации, система
автонумерации, система построения отчетов и ряд других системных функций.
На прикладном уровне система "М-2"
представляет собой ряд логических модулей, выполненных на единой,
взаимосвязанной структуре базы данных. Модули оперируют такими центральными
понятиями, как "объекты системы "М-2" и их статусы и
аналитические признаки. Бизнес-логика их взаимодействия между собой, а также
внутренние алгоритмы определяются настраиваемой в "М-2 САSЕ" схемой бизнес-процессов,
исключая логически неделимые задачи, выполненные на единой форме.
Большая часть модулей образует определенное логическое
ядро, то есть программный комплекс, обеспечивающий полноценную учетную
информацию, на основе поставляемой по умолчанию схемы бизнес-процессов.
Независимость системы от действующего законодательства
достигается определенной автономией бухгалтерского модуля. Основные процессы в
системе привязаны непосредственно к гражданско-правовым понятиям, а не к
бухгалтерским операциям; бухгалтерия лишь отражает данные процессы в
бухгалтерских проводках. Соответственно, изменения законодательства приводят к
изменению характера данного отражения, не затрагивая процессов в ядре системы
как таковых.
Часть модулей позиционируется как периферийная, то
есть они могут быть отделены от логического ядра без существенных нарушений
полноты информации в системе.
Система "М-2" является открытой и
предполагает возможность использования информации из имеющихся на предприятии
Заказчика информационных баз. Такие внешние базы данных могут быть перенесены в
систему "М-2" или функционировать одновременно с ней, через
специально разрабатываемые программные мосты.
Сопряженные программные средства используются для
соблюдения принципа специализации и максимального использования имеющихся
стандартных приложений. В системе отсутствуют специальные Генераторы отчетов -
любой отчет пользователь простым нажатием клавиши может перегрузить в М1сгоsoft Word или Ехсе1. Разработка отчетных форм осуществляется
непосредственно в данных средствах с указанием соответствующих полей из базы
данных. Это позволяет полностью индивидуализировать отчетные формы для
отдельных предприятий, отделов и даже сотрудников, что существенно облегчает
процесс внедрения.
Процесс разработки рабочих мест в системе
"М-2" становится не столько программированием, сколько конфигурированием
рабочего места с точки зрения определения используемой информации и наложения
соответствующих фильтров, определения прав доступа, формирования
индивидуального меню и отчетных форм. Будучи спроектирована на основе логики
взаимодействия основных понятий и процессов, система "М-2" полностью
независима от организационной структуры предприятия и бизнес-процессов. Система
позволяет сконфигурировать любое рабочее место в смысле сочетания
управленческих функций и используемой информации.
8. Безопасность и экологичность
Характеристика условий эксплуатации системы управления температурой в
варочных колоннах отделения разваривания спиртзавода.
а) Санитарный класс производства и санитарные характеристики
производственного процесса. Для создания нормальных условий в рабочей зоне
производственных помещений установлены нормы метеорологических условий, которые
включены в СанПиН 2.2.4.548-96 "Гигиенические требования к микроклимату
производственных помещений". Нормы учитывают время года, характер
производственного помещения и степень тяжести выполняемых работ.
Особая роль при работе в отделении разваривания отводится вентиляции,
которая регулирует тепло- и воздухообмен, обеспечивает удаление из помещения
загрязненного воздуха и подачу на место чистого воздуха. В проекте
предусматривается естественная и искусственная вентиляция. В результате этого
воздух в помещении отвечает санитарно-гигиеническим требованиям. Работа
операторов в отделении разваривания относится к легкой категории 1а (затраты
энергии до 120 ккал/час), т.к. к этой категории относится работа, производимая
сидя или связанная с ходьбой без систематического напряжения и переноса
тяжестей.
Таблица 8.1. Санитарно-гигиеническая оценка микроклимата.
|
Период года
|
Категория работ
|
Температура, °С
|
Относительная влажность, %
|
Скорость воздуха, м/с
|
|
|
оптимальная
|
допустимая
|
оптимальная
|
допустимая на постоянных и
непостоянных местах
|
оптимальная
|
допустимая на постоянных и
непостоянных местах
|
|
|
|
верхняя граница
|
нижняя граница
|
|
|
|
|
|
Теплый
|
Легкая 1а
|
23-25
|
28/30
|
22/20
|
40-60
|
55 при 28 °С
|
0,1
|
0,1-0,3
|
|
Холодный
|
Легкая 1а
|
22-24
|
25/26
|
21/18
|
40-60
|
75
|
0,1
|
≤0,1
|
В табл. 8.1 приведены необходимые для оператора оптимальные и допустимые
параметры микроклимата.
Допустимые метеорологические условия соблюдаются за счет естественной
вентиляции, принудительной искусственной вентиляции и работы отопительной
системы в зимний период.
б) Категории производства по взрыво- и пожароопасности. Определение
категорий помещений и зданий по взрывопожарной и пожарной опасности
подразделяются согласно НПБ-105-95 "Определение категорий помещений и
зданий по взрывопожарной и пожарной опасности" на категории А, Б, В, Г и
Д.
По пожарной опасности отделение разваривания относится к категории
"А".
в) Класс производственного помещения по опасности поражения электротоком.
Одно из главных требований ПУЭ "Правил устройства электроустановок" -
хорошая изоляция электроустановок и электропроводок. Помещения с влажностью
свыше 75%, к которым относится отделении разваривания, являются помещениями
повышенной опасности поражения электротоком.
Анализ опасных и вредных производственных факторов при эксплуатации
проектируемого оборудования.
В этом разделе показаны виды опасных и вредных факторов, а также, при
каких условиях они могут возникнуть в конструкции машины или в рабочей зоне при
ее эксплуатации.
|
Группа ОВПФ
|
Факторы
|
Типичные источники ОВПФ
|
|
Физические
|
Механические факторы
силового воздействия: движущиеся машины, механизмы, материалы, изделия,
инструмент, части разрушившихся изделий, конструкций, механизмов высота,
падающие предметы, острые кромки
|
Перемещаемые контейнеры,
подвижные части технологического оборудования, приводы механизмов,
манипуляторы, системы повышенного давления, емкости и трубопроводы со сжатым
газом, пневмо- и грузоустановки Монтажные работы, обслуживание машин и
установок, режущий и колющий инструмент, заусенцы, шероховатые поверхности,
осколки хрупких материалов
|
|
Акустические колебания: шум
|
Источники низкочастотной
вибрации, двигатели внутреннего сгорания Технологическое оборудование,
транспорт, энергетические машины
|
|
Электромагнитные поля и
излучения инфракрасное (тепловое) излучение статическое электричество
|
Линии электропередачи,
трансформаторы, распределенные подстанции, установки токов высокой частоты,
электроламповые генераторы, экраны дисплеев, антенны Нагретые поверхности,
расплавленного вещества Электротехническое оборудование на постоянном токе,
вентиляционные системы, пневмотранспорт, транспортеры
|
|
Электрический ток
|
Электрические сети,
электроустановки, распределители, электроприводы
|
|
Повышенная или пониженная
температура поверхностей оборудования, материалов
|
Поверхности нагревательного
оборудования, паропроводы, водопроводы горячей вод
|
|
Химические
|
Загазованность рабочей зоны
|
Утечки токсичные и вредных
газов из негерметичного оборудования и емкостей, испарения из открытых
емкостей, выбросы вредных газов при разгерметизации оборудования
|
|
Психофизиологические
|
Нервно- психические
перегрузки: перенапряжение анализаторов
|
Работа операторов
технических систем, операторов ЭВМ
|
а) Вероятность поражения электрическим током. С точки зрения опасности
поражения человека электрическим током отделении разваривания относится к
помещениям с повышенной опасностью (2 класс), так как он характеризуется
влажностью 80% и температурой 22°С. Вероятность поражения человека
электрическим током в отделении разваривания возникает при отсутствии
заземления электродвигателей, используемых для его перекачки.
б) Пожаровзрывоопасность оборудования. К возникновению пожара в отделении
может привести неисправность электроизоляции. Поскольку в отделении
разваривания не используются взрывоопасные вещества или оборудование, то оно не
относится к помещениям с повышенной взрывоопасностью.
. Инженерно-технические решения по безопасной эксплуатации представленной
к защите разработки.
а) Рекомендации по пожаробезопасной эксплуатации оборудования.
Для тушения пожара предусмотрены следующие средства:
·
пожаротехнический
инвентарь;
·
огнетушители типа
"ОП-5" и "ОУ-5";
·
песок и вода.
Противопожарное водоснабжение представляет собой комплекс инженерных
устройств для подачи воды к месту пожара под соответствующим давлением в
течение получаса.
Системой внутреннего пожарного водоснабжения предусмотрено размещение
пожарных кранов таким образом, чтобы загорание в любой точке помещения можно было
тушить двумя струями одновременно. Внутреннее водоснабжение соединено с внешним
двумя отводами.
В целях предупреждения пожара в электроустановках предусмотрены тепловые
реле и плавкие вставки для защиты от токов короткого замыкания.
На предприятии имеется ДПД, члены которой имеют свои обязанности при
выполнении задания по ликвидации очага загорания.
Для оповещения о возникновении пожара предусмотрена автоматическая
сигнализация с биметаллическими датчиками, а также предусмотрена телефонная
связь.
Имеется разработанный и изученный план эвакуации людей и материалов в
случае возникновения пожара.
Расчет расхода воды для тушения пожара. Запас воды для внутреннего и
внешнего тушения пожара в течении получаса рассчитывается по формуле:
м3
где: nв - нормативный расход воды для внутреннего (n1)
и внешнего (n2) тушения пожара, дм3/с.,
n1=10 дм3/сек,
n2= 15 дм3/сек.
Объем помещения равен 12000 м3.
Категория производства по пожарной опасности - "А".
=11х10=110 м3.
=11х15=165 м3.
=275 м3.
б) Обеспечение электробезопасности. Только исправная изоляция защищает
электроустановку от утечки тока. Сопротивление изоляции должно быть не менее
0,5МОм. Неисправная изоляция ведет к поражению персонала электрическим током и
возникновению пожаров.
Так как с течением времени качество изоляции ухудшается, все установки,
находящиеся в эксплуатации, необходимо проверять на исправность изоляции.
Поэтому в данном проекте применяются закрытые электродвигатели, имеющие
влагозащищенную конструкцию. Проводка в производственном помещении выполнена
изолированными проводами, заключенными в металлические трубы, при прокладке в
тех местах, где возможны механические повреждения провода.
Защита человека от повреждения электрическим током при прикосновении к
металлическим частям машин и оборудования в случае пробоя изоляции
осуществляется защитным заземлением.
Для защиты электроустановок от перегрузок и токов короткого замыкания в
проекте предусмотрено применение автоматических выключателей и плавких вставок.
Все электродвигатели, металлические конструкции и щиты управления имеют
заземление, причем каждая панель щита заземлена отдельно. Около щита и внутри
его для защиты персонала предусмотрены резиновые коврики.
Находящиеся в эксплуатации заземляющие устройства, а также временно
неиспользуемые, периодически контролируются. Сопротивление заземляющего
устройства должно быть не более 4 Ом.
Рассчитаем искусственное защитное заземляющее устройство для цеха
разваривания размером 50 х 30 м, состоящее из стальных заземлителей и полос.
Грунт - супесь с удельным электрическим сопротивлением
Ом*м.; заземлители - вертикальные
электроды длиной
м., диаметром
м., середина которых, расположена на глубине Н=3,3 м, а
верхние концы на глубине Н0=0,8 м. Заземлители соединены между собой
горизонтальным электродом из ленты сечением 4 х 40 мм или
,
м; отношение расстояния между
вертикальными заземлителями к их длине
, т. е.
м; допустимое сопротивление
контурного ЗУ растеканию тока
Ом.
Определяем сопротивление растеканию тока одиночного вертикального
заземлителя (в Ом):
.
Определяем расчетное сопротивление растеканию тока горизонтального
электрода (в Ом):
.
По
и
находим значение
и
.
Общее сопротивление растеканию тока ЗУ (в Ом):
Проверяем соблюдение условия
.
Так как 6,48 > 4, т. е. условие не соблюдено, в контуре увеличиваем на
единицу число вертикальных электродов и соответствующую ему длину
горизонтального электрода. Пересчитываем значения
и
.
м
(Ом)
(Ом)
,16>4.
Проводя следующие итерации, рассчитываем R
м
(Ом)
(Ом)
,55< 4.
Требование соблюдено:
;
м.;
Ом.
Контроль состоит в проверке технического состояния их наземной части, а
также в измерении сопротивления растеканию тока в подземной части. Осмотр
наземной части заземления проводится не реже одного раза в месяц, а подземной -
не реже одного раза в 3 месяца.
Сопротивление заземления измеряют в период наименьшей проводимости почвы:
один год летом, при наибольшем высыхании почвы, а в следующий год - зимой, при
наибольшем промерзании почвы.
При работе с электроустановками обслуживающий персонал применяет также
индивидуальные средства защиты. По степени надежности индивидуальные средства
защиты подразделяются на основные и дополнительные. При эксплуатации
электроустановок напряжением до 1000В к основным средствам защиты относятся:
диэлектрические перчатки, инструменты с изолированными рукоятками, указатели
напряжения, а к дополнительным - диэлектрические боты, коврики, изолирующие
подставки.
Находящиеся в эксплуатации в эксплуатации индивидуальные защитные
средства периодически испытывают под повышенным напряжением переменного тока с
частотой 50 Гц. Периодичность испытаний зависит от вида индивидуальных защитных
средств.
в) обеспечение требуемого уровня освещенности
Наряду с описанием предусмотренных проектом инженерных и технических
средств по безопасной эксплуатации разработанной системы выполняется расчет
средств по ликвидации наиболее отрицательного показателя, характеризующего
данную систему. В данном случае таким расчетом является расчет естественного
освещения, который сводится к определению площади оконных проемов. Этот расчет
определяет правильное соотношение площади окон к площади пола.
Освещение рабочего места имеет высокое значение для безопасности труда,
степени утомляемости работников и трудоспособности в течение рабочей смены.
Расчет
Расчет осуществляется по формуле:
(8.1)
где So - площадь световых проемов, м2;
Sп - площадь пола помещения, м2;
ен - нормированное значение коэффициента естественного
освещения (ен = е105 -2);
К3 - коэффициент запаса, величина, принимаемая в зависимости
запыленности производственного помещения;
hо - световая
характеристика окна, равная площади светового проема от площади пола;
r0 - общий коэффициент
светопропускания, определяемый по формуле
(8.2)
r1 - коэффициент светопропускания
материала r1 = 0,8;
r3 - коэффициент, учитывающий потери
света в несущих конструкциях при боковом освещении r3 =1,1;
r2 - коэффициент, учитывающих потери
света в переплетах светопроема r2 =0,7
r1 - коэффициент, учитывающий повышение
к.е.о благодаря свету, отражаемому от поверхностей помещения r1 = 1,2.
Формула (1) имеет вид
Подставив значения в формулу, получим
м2
Согласно расчетам, площадь окна в помещении
20 м2, окон 21
Произведен расчет искусственного освещения.
Цель расчета искусственного освещения сводится к определению оптимальной
освещенности рабочих мест помещения с минимальным расходом электроэнергии.
Расчет освещенности сводится к определению светового потока ламп.
Определяют необходимый световой поток по формуле:
лм; (8.3)
где Ен - нормируемое значение освещенности лк (принимается по
отраслевым нормам), Ен =100 лк;
Кз - коэффициент запаса для люминесцентных ламп, Кз
= 2,0;
S -
площадь освещаемого помещения, S=1500
м2;
Z -
коэффициент неравномерности освещения, Z=1,1;
N -
число светильников, N=32;
n -
число ламп в светильнике, n=4;
h - коэффициент использования светового потока.
Коэффициент использования светового потока показывает, какая часть
суммарного светового потока светильников попадает на рабочую поверхность.
Величина этого коэффициента зависит от типа светильников, коэффициентов
отражения стан, потолка, а также индекса помещения i, который характеризует геометрические соотношения в
помещении и определяется по формуле:
(8.4)
где S - площадь помещения, м2;
А и В - длина и ширина помещения соответственно, А=50 м; В=30 м;
Нр - расчетная высота подвеса светильника над рабочей
поверхностью.
Рассчитываем по формуле:
м (8.5)
где Н - высота производственного помещения, Н=6 м;
hc - свет светильника, при люминесцентном освещении, hc = 0,0 м.
Подставив значения в формулу (5), получим
м.
Произведем вычисления по формуле (4), подставив имеющиеся значения
Имеющиеся значения подставим в формулу (3):
лм.
Необходимый световой поток одной лампы составляет Fл = 1934 лм.
Для различных типов светильников установлено наивыгоднейшее относительное
расстояние между светильниками
м (8.6)
где Z - расстояние между светильниками, м;
Нр - высота подвеса светильника над рабочей поверхностью, м.
Расстояние между светильниками определяют из уравнения
, м (8.7)
где l = 1,4 м.
Подставив значения в формулу (7), получим:
м
По расчетным значениям выбираем тип и мощность лап. Это лампы
люминесцентного типа ЛХБ с цветопередающей мощностью 30 Вт.
Общий расход электроэнергии для целей освещения производственного
помещения определяется по формуле:
, кВт (8.8)
где N - число светильников;
n -
число ламп в светильнике;
Рл - мощность ламп.
Подставив значения в формулу (8), получим:
кВт
В результате проведенных расчетов получаем:
2) необходимое число ламп составило 32,
число светильников 4;
3) расстояние между светильниками для
обеспечения равномерного освещения составило 5,6 м;
Соблюдение этих условий позволит обеспечить высокую производительность
труда обслуживающего персонала и избежать нежелательной утомляемости
работников, при общем расходе электроэнергии для целей освещения рабочего
помещения Робщ=3,84 кВт.
Экологичность проекта
Притично-вытяжная вентиляция предназначена для удаления из помещения
загрязненного или нагретого воздуха.
В приточно-вытяжной вентиляции загрязненный воздух вытягивается из
помещения, а свежий воздух поступает внутрь естественным путем или через
приточную вентиляцию.
Приточно-вытяжная вентиляция устанавливается при необходимости
обеспечения быстрого и эффективного удаление загрязненного воздуха из
помещения.
Преимуществом приточно-вытяжной вентиляции является возможность
эффективного удаления загрязненного воздуха из рабочей зоны даже в условиях,
когда источник загрязнений не выделяет большого количества тепла и,
следовательно, невозможен процесс термовытеснения воздушных масс.
9. Расчет показателей технико-экономической эффективности автоматизации
Внедрение систем автоматизации направлено на всемерное повышение
эффективности производственных процессов за счет повышения производительности
труда, увеличения объема производства, улучшения качества выпускаемой
продукции, использования основных фондов, материалов и сырья, снижения объема
незавершенного производства и страховых запасов.
Основанием для прогнозирования тех или иных технических параметров,
свойств и характеристик проектируемой системы компьютерного управления служат
результаты анализа технико-экономического уровня отечественной и зарубежной
техники по данным литературной информации и патентным материалам, а также
результаты изучения условий эксплуатации будущей компьютерной системы по
исходным данным, техническому заданию и существующим прототипам систем.
Технические требования к системам автоматизации формируются на основе изучения
требований, выдвигаемых заказчиком, и возможностей их удовлетворения в условиях
достигнутого уровня развития науки, техники и производства.
Экономическая оценка альтернативных вариантов принципиальных решений по
компьютерным системам производственных процессов проводится на основе расчета
технико-экономической эффективности. Решение о целесообразности создания и
внедрения новой техники принимается на основе расчета годового экономического
эффекта, который представляет собой суммарную экономию всех производственных
ресурсов (живого труда, материалов, капитальных вложений), которую получает
народное хозяйство в результате использования новой техники и, которая, в
конечном счете выражается в увеличении национального дохода.
При оценке эффективности компьютерной системы управления определяют
количественные показатели успешности выполнения системой поставленной задачи в
заданных условиях эксплуатации и стоимостные показатели эффективности системы.
Экономическая эффективность системы автоматизированного управления
оценивается по минимуму приведенных
затрат на производство продукции в производственных процессах с используемой
системой автоматизации:
,
где
- приведенные затраты по базисному (существующему) варианту,
рассчитанные на годовой объем продукции;
- стоимость базисного образца;
-удельные капитальные вложения
базисного образца;
- приведенные затраты по принятому прогрессивному варианту
системы;
- нормативный коэффициент эффективности
капитальных затрат (
=0,15).
Затраты по базисному и прогрессивному вариантам систем привязывают к
периоду составления технического проекта системы.
В соответствии с рациональной организацией проектирования систему
автоматизации выбирают из списка альтернативных вариантов систем, при этом
принимают во внимание, что система выбирается из числа ныне выпускаемых или
подготовленных к выпуску или допускается проектирование новых систем с
проведением комплекса исследовательских работ при корректировке исходных
технических требований.
Стоимостные показатели эффективности системы оцениваются следующими
данными:
а) стоимостью разработки
, включающей в себя все виды работ, которую обычно относят к
стоимости базисного образца
:
,
где
- коэффициент, зависящий от уровня технической разработки,
применяемых новых принципов, новых средств управления, новых решений на всех
этапах разработки системы автоматизации (значение этого коэффициента может
изменяться в широких пределах);
б) стоимостью производства одного экземпляра системы
, выражаемой через стоимость производства
устройства (начиная с первого):
где
- число устройств;
- коэффициент, в ряде случаев
близкий к 0,7;
в) стоимостью эксплуатации одного экземпляра системы в год
, определяемой затратами на
профилактику и ремонт, на содержание обслуживающего персонала и энергетическими
затратами, которые обычно характеризуются коэффициентом
:
,
где
,
,
- стоимость соответственно энергии, ремонта и средняя
заработная плата обслуживающего персонала;
,
,
- показатели потребности в энергии,
ремонте и средней зарплате;
- показатель увеличения затрат на эксплуатацию системы по
мере износа.
Значения указанных коэффициентов определяются на основании имеющегося
опыта, либо на основе экспертных оценок.
В качестве практического показателя эффективности системы автоматизации
целесообразно рассматривать средний реальный доход в единицу времени
где
- затраты на изготовление системы;
- предполагаемое время эксплуатации
системы;
- размер тиражирования, шт.
Внедрение в предприятие позволяет более эффективно использовать
возможности основного технологического оборудования, при этом упрощая его
обслуживание.
Так же это позволить сократить затраты на ремонт средств автоматизации.
Планируется привлечение для внедрения новой техники собственных средств
предприятия.
Для внедрения используется оборудование предприятия, не выработавшее срок
эксплуатации, но демонтированное в связи с установкой более производительного.
В результате внедрения новой техники значительно увеличивается выпуск
готовой продукции.
Таким образом, при сроке окупаемости капитальных затрат, равном 5 мес.
Полученный показатель срока окупаемости затрат во много раз ниже, а коэффициент
экономической эффективности во много раз выше нормативных показателей, что
свидетельствует о высокой экономической эффективности внедряемого в
производство спирта мероприятий.
Таблица
|
№ п/п
|
Наименование показателей
|
До внедрения
|
После внедрения
|
Источник данных
|
|
1.
|
Годовой объем производства
спирта, тыс.руб.
|
4800
|
5000
|
Бизнес-план
|
|
2.
|
Количество рабочих в смену,
чел.
|
6
|
6
|
Техн. докум. на линию
|
|
3.
|
Стоимость приборов с
доставкой, тыс. руб.
|
13,2
|
32,4
|
Данные предприятия
|
|
4.
|
Установленная мощность
электроприборов, кВт
|
6,0
|
10,0
|
Техн. докум. на линию
|
|
5.
|
Расход холодной вода на 1
тонну продукции, т
|
19,5
|
17,0
|
Техн. докум. на линию
|
|
6.
|
Расход пара на 1 тонну
продукции, т
|
0,49
|
0,40
|
Техн. докум. на линию
|
|
7.
|
Стоимость 1 кВт
электроэнергии, руб.
|
0,63
|
0,63
|
Бизнес-план
|
|
8.
|
Стоимость 1 тонны холодной
воды, руб.
|
40
|
40
|
Данные предприятия
|
|
9.
|
Стоимость 1 тонны пара,
руб.
|
36
|
36
|
Данные предприятия
|
|
10.
|
Средняя себестоимость 1
тонны продукции, тыс. руб.
|
12746
|
-
|
Бизнес-план
|
|
11.
|
Стоимость переработки 1
тонны возвратных отходов, руб.
|
1466
|
1466
|
Данные предприятия
|
|
12.
|
Недоамортизационная часть
первоначальной стоимости приборов, %
|
60
|
-
|
Данные предприятия
|
|
13.
|
Зарплаты не демонтаж
заменяемого оборудования, %
|
10
|
-
|
Данные предприятия
|
|
14.
|
Режим работы предприятия:
-смен -дней
|
2 244
|
2 244
|
Инструкция по определению
мощности
|
|
15.
|
Число часов работы в одну
смену, час
|
8
|
8
|
Данные предприятия
|
|
16.
|
Число часов работы в одну
смену, час
|
16
|
16
|
Отраслевой норматив
|
|
17.
|
Затраты на содержание и
текущий ремонт оборудования, %
|
8
|
8
|
Данные предприятия
|
|
18.
|
Коэффициент использования
мощности электродвигателя
|
0,80
|
0,80
|
Данные по заводу
|
|
19.
|
Потери сырья, %
|
2,5
|
2,5
|
Утвержденная рецептура
|
|
20.
|
Возвратные отходы, %
|
12
|
10
|
Данные предприятия
|
|
21.
|
Нормативный коэффициент
сравнительной эффективности
|
0,15
|
0,15
|
Норматив для пищевой
про-мышленности
|
Экономия по стоимости холодной воды:
Эхол.воды = Рг.об.пр Схол.в(Р1-Р2)
= 5000´40´(19,5-17,0)=5000´0,04´2,5=
=500 тыс.руб.
Эпар = Рг.об.пр Спар(Р1-Р2)
= 5000´36´ (0,49-0,40) =5000´0,036´0,09 =
=16,2 тыс.руб.
Экономия по переработке возвратных отходов:
Эвозв.отх. = Спер.´ (W2 - W1)´Вгод.об.пр. = 1,466´(12-10)´5000 = 1,466´0,02´5000 = 146,6 тыс.руб.
Итого: Снижающиеся затраты:
Эитог. = Эхол.воды + Эпар + Эвозв.отх.
Эитог. = 500 + 16,2 + 146,6 = 662,8 тыс.руб.
Экономия по
некоторым статьям
Увеличение статей затрат в себестоимости
1. Стоимость электроэнергии на технологические нужды:
Мэл = Т1кВт/ч´ (Мэл.1 - Мэл.2)´Кдн.год.´Ксмен´Псмены (ч)´Киспольз.электр. =
,00063´(10,0-6,0)´244´2´7,5´0,80 = 7,37856 тыс.руб.
1. Стоимость амортизационного оборудования:
Сам..обр. = (Сст.обр.2 - Сст.обр.1)´Нам. = (32,4 - 13,2)´ 0,134 =2,5728 тыс.руб.
2.
Расходы на содержание и эксплуатацию оборудования:
Робор. = (Сст.обор.2 - Сст.обр.1)´ Зсод.рем.обор.=(32,4-13,2)´0,08 =
=1,536 тыс.руб.
Итого:
Эувл..=Мэл+Аотчис.+Робор.=7,37856+2,5728+1,536=11,48736
тыс.руб.
Эусл.год. = Эитог. - Эувел. = 662,8 -
11,48736 =
= 651,3126 тыс.руб.
Срок окупаемости капиталовложений
Расчет суммы дополнительных затрат
Кдоп. = Собор.2 + (Анедоамарт. часть´Собр.1) +(Ддемонтаж
обор.´Собр.1)
=32,4 + +(0,6´13,2) +
(0,1´13,2) = 32,4+7,92+1,32=41,64 тыс.руб.
Срок окупаемости капитальных затрат:
Ток = Кдоп. / Эу.г. ´ 12 = 41,64/651,3126 = 0,7 год.= 8,4
мес.
Коэффициент экономической эффективности капитальных затрат:
Ээк.эф. = 1/Ток = 1/0,7 = 1,42
Годовой экономический эффект
Эг.эф. = Эусл.год. - (Енор.´ Кдоп) =651,3126 -(0,15 ´ 41,64) =
=645,06 тыс. руб.
Технико-экономические показатели
|
Показатели
|
Значение
|
|
До внедрения
|
После внедрения
|
|
Выпуск продукции, в год,
тыс. дал.
|
4800
|
5000
|
|
Капитальные затраты, тыс.
руб.
|
25,3
|
41,64
|
|
Условно годовая экономия, тыс.руб.
|
610,3
|
651,31
|
|
Срок окупаемости, год
|
-
|
0,7
|
|
Годовой экономический
эффект, тыс. руб.
|
600,8
|
645,06
|
|
Стоимость электроэнергии,
тыс. руб.
|
9,46
|
7,37
|
10. Энергосберегающие технологии
Основные направления и способы энергосбережения.
Рассмотрим основные аспекты энергосберегающих технологий, применяемых в
РФ.
Освещение. Наиболее распространенный способ экономии электроэнергии -
оптимизация потребления электроэнергии на освещение.
Ключевыми мероприятиями оптимизации потребления электроэнергии на
освещение являются:
· максимальное использование дневного света (повышение
прозрачности и увеличение площади окон, дополнительные окна);
· повышение отражающей способности стен (поклейка светлых
обоев, белый потолок);
· оптимальное размещение световых источников (местное
освещение, направленное освещение);
· повышение светоотдачи существующих источников (замена люстр,
плафонов, удаление грязи с плафонов, применение более эффективных отражателей);
· применение энергосберегающих ламп (люминисцентные, в том
числе компактные люминисцентные, светодиодные);
· применение устройств управления освещением (датчики движения
и акустические датчики, датчики освещенности, таймеры);
· внедрение автоматизированной система диспетчерского
управления наружным освещением (АСДУ НО);
Электропривод. Основными мероприятиями являются:
· оптимальный подбор мощности электродвигателя;
· использование частотно-регулируемого привода (ЧРП).
Электрообогрев и электроплиты. Основные мероприятия:
· подбор оптимальной мощности электрообогревательных устройств;
· оптимальное размещение устройств электрообогрева для снижения
времени и требуемой мощности их использования;
· повышение теплообмена, в том числе очистка от грязи
поверхностей устройств электрообогрева и комфорок электроплит;
· местный (локальный) обогрев, в т.ч. переносными масляными
обогревателями, направленный обогрев рефлекторами;
· использование масляных обогревателей с вентилятором для
ускорения теплообмена в квартире;
· использование устройств регулировки температуры, в т.ч.
устройств автоматического включения и отключения, снижения мощности в
зависимости от температуры, временных таймеров;
· использование тепловых аккумуляторов;
· замена электрообогрева на обогрев с использованием тепловых
насосов;
· замена электрообогрева на обогрев газом или подключение к
централизованному отоплению, в случаях, когда такая замена выгодна с учетом
требуемых инвестиций;
· использование посуды с широким плоским дном.
Холодильные установки и кондиционеры. Для холодильных установок и бытовых
холодильников основными способами снижения потребления электроэнергии являются:
· оптимальный подбор мощности холодильной установки;
· качественная изоляция корпуса (стенок), двери холодильной
установки, холодильника, прозрачная крышка в холодильнике для продуктов, с
качественной изоляцией;
· не допускать образования наледи, инея в холодильнике, вовремя
размораживать;
· не рекомендуется помещать в холодильную установку
(холодильник) материалы и продукты, имеющие температуру выше температуры
окружающей среды - их необходимо максимально охладить на воздухе;
· качественный отвод тепла - не рекомендуется ставить бытовой
холодильник к батарее или рядом с газовой плитой.
Для кондиционеров:
· необходимо корректно подбирать мощность и место установки
кондиционера, исходя из объема помещения, количества и расположения человек,
присутствующих в помещении и др. характеристик;
· при кондиционировании окна и двери должны быть закрыты -
иначе кондиционер будет охлаждать улицу или коридор;
· чистить фильтр, не допускать его сильного загрязнения;
· необходимо настроить режим автоматического поддержания
оптимальной температуры, не охлаждая, по возможности, комнату ниже 20-22
градусов;
· необходимо следить за тем, чтобы отключать кондиционер на
ночь.
В данном дипломном проекте особое значение уделяется энергосберегающим
технологиям персональных компьютеров, т.к. для управления технологическим
процессом и для отображения технической информации о его ходе используется
значительное количество компьютеров и мониторов.
Энергосберегающие технологии современной компьютерной
техники. Современные технологические процессы пищевых производств широко
используют различную компьютерную технику, которая потребляет значительную
часть электроэнергии. Вопрос снижения энергопотребления компьютера наверняка
интересует многих читателей, причем из разных соображений. Одни желают
сэкономить на счетах за электроэнергию (особенно если домашний ПК функционирует
круглосуточно), другие хотят уменьшить тепловыделение основных компонентов, тем
самым добившись тишины в работе, третьи озабочены экологической ситуацией на
Земле и желают внести свою лепту в сохранение ресурсов планеты. Эти ключевые
моменты можно по-разному комбинировать - именно так и происходит в реальной
жизни, ведь у каждого из нас свои приоритеты.
В данном разделе рассмотрим как можно уменьшить
уровень энергопотребления ПК.
Добиться поставленной цели применительно к компьютеру
можно самыми разными способами. Особого внимания заслуживают следующие:
. традиционный апгрейд системы, замена
устаревших компонентов с высоким энергопотреблением на новые эффективные
модели, не уступающие, а часто и превосходящие их в плане быстродействия;
. максимально полное использование возможностей
энергосбережения, заложенных производителями компонентов ПК;
. дополнительная настройка системы (снижение
питающих напряжений, частоты работы основных узлов компьютера), которая
позволит сэкономить десяток-другой ватт электроэнергии в час.
Апгрейд системы как средство снижения энергопотребления
Один из наиболее простых и эффективных способов
уменьшить энергопотребление ПК - модернизировать его отдельные компоненты или
систему в целом. Конечно, процесс затратен в финансовом плане, но бесспорное
преимущество для пользователя - зачастую получение высшего уровня
быстродействия. Так, процессоры Intel Core 2 Duo гораздо экономичнее, чем
памятные Pentium D 8xx/9xx, которые с успехом могли заменить небольшие печки.
При этом экономичность современных моделей на порядок выше. Еще один хороший
пример - графические адаптеры. Ни для кого не секрет, что некогда топовый
Radeon HD 2900 XT отличался хорошим "аппетитом" в плане
энергопотребления. Современные видеокарты (к примеру, HD 4850), чипы которых
выполнены по более тонкому техпроцессу, наряду с увеличением производительности
позволяют сэкономить пару десятков ватт при работе системы.
Все вышесказанное касается и мониторов. Так,
потребление устаревших ЭЛТ-моделей находится на отметке 70-100 Вт и более в
зависимости от диагонали экрана. Жидкокристаллические сородичи обходят их на
порядок в плане экономичности - им для работы достаточно 30-50 Вт. Логично: с
увеличением диагонали дисплея растет и его энергопотребление. И если переход от
17-дюймового дисплея к 22-дюймовому почти незаметен (30 Вт против 40-45 у
ЖК-версий), то уже 30-дюймовые экземпляры потребляют свыше 130 Вт
электроэнергии.
Еще один вариант экономии - отказ от слишком мощных
блоков питания, которые при обеспечении слабых и средних систем работают с
низким КПД. Чем ближе показатели реальной потребляемой от БП мощности и
заявленной, тем коэффициент полезного действия выше.
Однажды став заложниками прогресса и занимаясь
регулярным апгрейдом системы, мы часто автоматически снижаем уровень
энергопотребления ПК, даже не подозревая об этом. Если же тщательно подбирать
компоненты, порой можно достигнуть приличных результатов, однако для этого
придется следить за новинками рынка и изучать материалы, посвященные тематике
энергопотребления.
Тонкая настройка системы. Впрочем, ограничиваться лишь модернизацией
компьютера и рассчитывать только на старания производителей компонентов было бы
неправильно. Каждому пользователю доступны мощные средства снижения уровня
энергопотребления ПК. Каким образом это сделать и что мы имеем в виду?
Некоторые читатели уже наверняка догадались, что речь в данном материале пойдет
в первую очередь о даунклокинге.
Итак, вот краткий перечень того, что может сделать
каждый пользователь.
. Понизить питающее напряжение основных
компонентов компьютера - процессора, оперативной памяти, чипсета. При этом не
обязательно жертвовать производительностью - значения в пределах 10-15%
номинала зачастую некритичны для стабильности системы при заданных настройках.
. Уменьшить частоту работы отдельных узлов, в
первую очередь CPU. Подобный шаг актуален для тех, кто использует современные
ПК в основном или исключительно для выполнения нересурсоемких задач (работы в
офисных приложениях, просмотра видео и т. д.).
. Максимально понизить частоту работы
видеокарты как минимум в 2D-режиме (а при желании сделать то же, но в меньшей
мере, для 3D). Современные утилиты для тонкой настройки графической подсистемы
с успехом позволяют это делать, создавая профили производительности с заданными
пользователями настройками. К слову, на отдельных видеокартах доступно
управление напряжением питания GPU, понижение которого поможет сэкономить еще
несколько ватт.
. Отключать монитор при простое ПК свыше
определенного периода времени (это делается в базовых настройках ОС), если за
компьютером никто не работает. То же касается и жестких дисков.
. Снизить яркость монитора - как показывают
наши тесты, от подобного шага порой можно ожидать довольно существенной
экономии.
Произвести вышеуказанные манипуляции по отношению к
процессору, оперативной памяти и чипсету можно в BIOS материнской платы, либо
используя утилиты производителей, позволяющие изменять необходимые параметры,
если таковые имеются (отдельные вендоры обеспечивают собственные продукты
мощными средствами мониторинга и управления системой из-под ОС). Настройка
видеокарты производится любой функциональной утилитой (RivaTuner, ATI Tray
Tools), продвинутые пользователи могут изменить таблицу частот и напряжений
графического адаптера в его прошивке.
Для практического исследования эффективности описанных
шагов было проведено небольшое тестирование, замерив энергопотребление системы
в разных режимах работы.
Как оказалось, даже снижение питающих напряжений
основных компонентов дает достаточно неплохую экономию электроэнергии - при
этом мы не жертвуем ни уровнем быстродействия, ни стабильностью системы.
Дальнейшее изменение частоты работы процессора, оперативной памяти,
использование одного двухгигабайтового модуля ОЗУ вместо двух одногигабайтовых,
управление параметрами графического адаптера при сравнительно небольшой потере
производительности позволяют сэкономить намного больше.
Альтернативы. Альтернативы вышеперечисленным способам снижения
энергопотребления ПК есть всегда. Самая простая - своевременно выключать
компьютер, меньше сидеть перед монитором. Вариант, требующий определенных
денежных затрат, - приобретение второго ПК исключительно для нересурсоемких
задач, за решением которых большинство из нас проводят львиную долю времени.
При этом компьютер изначально должен быть энергоэффективным (идеальный вариант
- неттоп). Можно вместо десктопа в повседневной работе использовать ноутбук -
потребление современных моделей не превышает 40-50 Вт против 100-200 Вт у
среднестатистического системного блока.
Методика тестирования. Для исследования эффективности приведенных советов
был собран тестовый стенд, имитирующий современный ПК.
Номинальный - все устройства функционируют на штатных
частотах. Напряжения питания процессора и оперативной памяти по умолчанию равны
1,2 и 2,0 В соответственно.
Оптимальный - CPU и модули ОЗУ работают на штатных
частотах, но их напряжения питания снижены до 1,1 и 1,8 В. Замеры уровня
энергопотребления проводились для двух вариантов: видеокарта функционирует в
номинале (а); видеокарта подвергнута даун-клокингу с 670/4200 МГц до 550/3400
МГц (б).
Экономичный - частота процессора снижена до 2065 МГц
(295×7).
Аналогично тестам в
оптимальной энергосберегающей конфигурации испытания проходили в штатном режиме
работы графического адаптера (а) и при понижении его частот до 550/3400 МГц,
однако в этот раз с 1,158 В до 1,006 В дополнительно снижалось напряжение
питания GPU (б).
Замеры производились при полном бездействии системы (в
простое), при загрузке ПК графическим тестом Firefly Forest из пакета 3DMark05
и процессорным OCCT Perestroika 2.0.1.
Дополнительно приведены данные зависимости уровня
энергопотребления монитора от яркости свечения экрана и количества планок
памяти в ПК (только для режима простоя, в загрузке экономия электричества лишь
увеличится).
Расчет экономической целесообразности. Итак, мощность
среднестатистического ПК может достигать 200 Вт. Даже благодаря понижению
питающих напряжений основных компонентов, возможно, небольшому уменьшению
частоты их работы и изменению яркости монитора, без труда можно добиться
экономии 20-25 Вт электроэнергии в час.
Допустим, компьютер функционирует ориентировочно по 7
часов в день. Таким образом, суточная экономия достигнет: 25 Вт×7
ч = = 0,175 кВт•ч.
Тридцать дней в месяц - это 5,25 кВт•ч экономии. Эта сумма слишком мала для
того, чтобы незамедлительно заняться снижением энергопотребления своего
компьютера. Однако у медали есть и другая, гораздо более интересная и
привлекательная сторона.
Как показывают расчеты целесообразности снижения
уровня энергопотребления ПК, среднестатистическому пользователю подобные
действия не принесут ощутимой экономии на счетах за электроэнергию. Однако не
все столь безнадежно. Не следует забывать о том, что уменьшение
энергопотребления означает снижение тепловыделения основных узлов компьютера.
Как следствие, можно без риска перегрева уменьшить обороты системных
вентиляторов - тишина в работе многим покажется более ощутимым преимуществом.
Пожалуй, самый интересный аспект затронутой темы - экологический. Вопрос
сохранения ресурсов планеты сегодня особо актуален. Поддерживать
"зеленые" инициативы становится модно. Конечно, снижение
энергопотребления одного компьютера на 25 ватт - капля в море, однако в
глобальных масштабах даже в пределах исключительно нашей страны счет может идти
на мега- и гигаватты сэкономленного электричества.
О сколь-нибудь ощутимой экономии можно говорить уже в
пределах больших предприятий, на которых десятки и сотни ПК функционируют
минимум по 8 часов в день.
Энергосберегающие материалы. Сегодня в России, да и во всем мире,
наблюдается спрос на энергосберегающие материалы, обусловленный ростом цен на
энергоносители. Используются различные материалы для утепления стен, кровли и
перекрытий. Рассмотрим основные из них.
Минераловатные материалы - это теплоизоляционные материалы, которые
изготовлены из камня и шлаков. Данные материалы представляют собой вату, сырьем
для которой служат базальтовые породы, известняк, доломит и прочие. Шлаковату
производят из отработки изделий цветной и черной металлургии. Данные материалы
обладают рядом неоспоримых качеств - высокая тепло и звукоизоляция,
устойчивость к воздействию влаги, тепла, жидкостей. Они негорючие, легки,
экологичны. Монтаж таких материалов довольно прост, так как они легко поддаются
изменению форм и размеров. Материалы на основе минеральной ваты используются в
противопожарных системах.
Данные изделия часто используются при создании фасадных систем утепления
как обычная мокрая штукатурка, а так же могут служить в качестве навесного
теплоизоляционного слоя в фасадах и стенах. Применяются минеральноватные
материалы при утеплении как внутренних, так и внешних стен.
Материалы для теплоизоляции из стекловаты имеют схожие свойства с
минералованными изделиями, но имеется и ряд различий. Из-за того, что волокна
стекла более длинные и толстые, стекловата более упругая и прочная, она легко
поддается деформации и принимает более ощутимые формы. Данный вид изоляции так
же обладает высокими звукоизоляционными свойствами. Изделия из стекловолокна не
подвержены влиянию агрессивных сред, химических веществ и микроорганизмов,
поэтому срок их службы практически неограничен. Стекловата так же негорюча.
Стекловата хорошо подойдет для внутреннего утепления любых конструкций.
Стекловолокно это более упругий и эластичный материал, чем стекловата. Он
так же обладает всеми положительными качествами стекловаты. На основе
стекловолокна был создан утеплительный материал Izover KT11, который может быть
использован для широкого применения в различных типах зданий. Данным материалом
можно утеплять как кирпичные и деревянные, так и бетонные стены. Упаковка
данного материала позволяет его транспортировку и хранения без особых проблем.
Еще одним современным теплоизоляционным материалом является
пенополистирол экструдированный. Плиты из пенополистирола обладают низкой
теплопроводностью, причем довольно высокой плотностью. Данный факт позволяет
применять этот материал не только в качестве утеплителя, но и как
конструктивный материал, из которого может быть составлены часть стены или
потолка. Так же пенополистирол обладает низкой гигроскопичностью, то есть не
впитывает влагу.
Пенополистирол, который выпускается под торговой маркой URSA,
трудновоспламеняем и обладает хорошими звукоизоляционными качествами.
Вспененный полиэтилен используется для тепло-, гидро - и звукоизоляции
строительных и промышленных объектов. Продукция выпускается в виде рулонов,
матов, жгутов и полых труб стандартных толщин и диаметров. Например, изоляция
для труб Стенофлекс-400 (Россия) и Тубекс (Чехия) представляет собой оболочки с
продольным разрезом, которые одеваются поверх труб и склеиваются специальным
скотчем, клеем или соединяются скобами. Эти материалы легко режутся, поэтому с
помощью специальных шаблонов можно, даже не имея специальных навыков, без
особого труда сделать изоляцию на колена, вентили, ответвления. Пенополиэтилены
имеют хорошие показатели теплопроводности - 0,04 Вт/(м*К), при температуре +
25°С. По группе горючести они относятся к группе Г2, т.е. умеренногорючий по
СНиПу 21-01-97*. Сопротивление диффузии пара (или паропроницаемость) - 4600,
линейная температурная усадка - не более 1,5%. Благодаря закрытой структуре
ячеек, материал не боится воды: водопоглощение - менее 0,8% после 7 суток
нахождения в воде. Вспененный полиэтилен обладает химической стойкостью к
маслам, строительным материалам, биологически не разлагается. Рабочие
температуры этой изоляции - 50°С + 90°С, срок службы достигает 25 лет.
Такая изоляция называется "отражающей". Фольгированные
материалы не только позволяют облачить инженерные коммуникации в
"эстетичную упаковку", но и предотвратить тепловые потери, увеличить
срок службы оборудования.
Основное отличие изоляции из вспененного каучука - это расширенный
температурный диапазон (-200°С + 175°С), более высокие показатели сопротивления
диффузии пара (7000, а для некоторых модификаций - выше 10000) и четкое
разделение типов изоляции для конкретно выполняемых задач: от криогенных
установок до защиты паропроводов с температурой до + 175°С. Показатель
теплопроводности синтетического каучука - 0,036 Вт/м*К при 0°С. Немаловажно,
что данный тип изоляции имеет сертификат горючести Г1. Толщина стенок трубной
изоляции из вспененного каучука представлена более широкой линейкой
типоразмеров. Кроме того, изоляция труб со сверхнизкими температурами носителя
возможна только при помощи этого материала, т.к он характеризуется высоким
показателем сопротивления проницаемости пара и специальными добавками,
позволяющими отдельным маркам выдерживать температуру до - 200 °С.
Использование материалов на вспененной основе дает комплексную защиту
инженерных сетей. Исходя из параметров изоляционных материалов, можно оценить
экономическую целесообразность использования того или иного типа изоляции в
различных видах инженерных систем.
В системах горячего водоснабжения с температурой носителя до 90°С хорошо
зарекомендовала себя изоляция на основе вспененного полиэтилена. Толщину стенок
можно рассчитать при помощи компьютерных программ, предоставляемых
производителями изоляции.
При температуре носителя свыше 90°С необходимо использовать изоляцию на
основе вспененного каучука, поскольку полиэтилен не способен долго выдерживать
такие температурные режимы без потери свойств.
В системах холодного водоснабжения основной проблемой становится защита
труб от конденсата. С этим хорошо справляется каучуковая изоляция, но с
экономической точки зрения удобнее использовать изоляцию из пенополиэтилена с
фольгированным слоем. Фольга служит отличным паробарьером.
Для изоляции трубопроводов и воздуховодов систем кондиционирования
применяется вспененный каучук или отражающая изоляция. Установка этих
материалов позволяет повысить эффективность системы, увеличить ее долговечность
и снизить уровень шума в соответствии с требованиями СНиП 23-03-2003.
В системах холодоснабжения и особенно в криогенных системах необходимо
применение исключительно специализированных марок вспененного каучука,
способных выдерживать низкие и сверхнизкие температуры. Это обусловлено их
высоким сопротивлением диффузии водяного пара.
Решение задач повышения энергоэффективности на сегодняшнем этапе, когда
существует большой резерв малозатратных мероприятий, также совпадает с
большинством стратегических целей государства и хозяйствующих субъектов.
Основная роль в увеличении эффективности использования энергии
принадлежит современным энергосберегающим технологиям. После энергетического
кризиса 70-х годов XX века именно они стали приоритетными в развитии экономики
Западной Европы, а после начала рыночных реформ - и в нашей стране. При этом их
внедрение, помимо очевидных экологических плюсов, несет вполне реальные выгоды
- уменьшение расходов, связанных с энергетическими затратами.
Энергосбережение сейчас становится одним из приоритетов политики любой
компании, работающей в сфере производства или сервиса. И дело здесь даже не
столько в экологических требованиях, сколько во вполне прагматическом
экономическом факторе.
По данным специалистов, доля энергозатрат в себестоимости продукции в
России достигает 30-40%, что значительно выше, чем, например, в
западноевропейских странах. Одной из основных причин такого положения являются
устаревшие энергорасточительные технологии, оборудование и приборы. Очевидно,
что снижение таких издержек и применение энергосберегающих технологий позволяет
повысить конкурентоспособность бизнеса.
В России до 75% всей потребляемой электроэнергии на производствах
используется для приведения в действие всевозможных электроприводов. Как
правило, на большинстве отечественных предприятий установлены электродвигатели
с большим запасом по мощности в расчете на максимальную производительность
оборудования, несмотря на то, что часы пиковой нагрузки составляют всего 15-20%
общего времени его работы. В результате электродвигателям с постоянной
скоростью вращения требуется значительно (до 60%) больше энергии, чем это
необходимо.
По данным европейских экспертов, стоимость электроэнергии, потребляемой
ежегодно средним двигателем в промышленности, почти в 5 раз превосходит его
собственную стоимость. В связи с этим очевидна необходимость применения
энергосберегающих технологий и оптимизации оборудования с использованием электроприводов.
Комплексно подойти к решению этой проблемы предлагает, например, компания
"Шнейдер электрик", специализирующийся на выпуске продукции для
автоматизации технологических и производственных процессов.
В частности, хорошо себя зарекомендовали частотно-регулируемые
электроприводы со встроенными функциями оптимизации энергопотребления. Суть
заключается в гибком изменении частоты их вращения в зависимости от реальной
нагрузки, что позволяет сэкономить до 30-50% потребляемой электроэнергии. При
этом зачастую не требуется замена стандартного электродвигателя, что особенно
актуально при модернизации производств.
Режим энергосбережения особенно актуален для механизмов, которые часть
времени работают с пониженной нагрузкой, - конвейеры, насосы, вентиляторы и т.п.
Кроме снижения расхода электроэнергии, экономический эффект от применения
частотно-регулируемых электроприводов достигается путем увеличения ресурса
работы электротехнического и механического оборудования, что становится
дополнительным плюсом.
Такие энергосберегающие электроприводы и средства автоматизации могут
быть внедрены на большинстве промышленных предприятий: от лифтов и
вентиляционных установок до автоматизации пищевых предприятий, где
нерациональный расход электроэнергии связан с наличием морально и физически
устаревшего оборудования. По различным источникам, в европейских странах до 80%
запускаемых в эксплуатацию электроприводов уже являются регулируемыми. В нашей
стране пока их доля гораздо ниже, а необходимость использования энергосберегающих
технологий все более актуальна.
Существуют и другие пути рациональнее использовать электроэнергию, причем
не только на производстве, но и в быту. Так, уже давно известны
"умные" системы освещения, широко внедряемые в странах Западной
Европы, США и особенно в Японии. Интерес к ним не удивителен, учитывая, что, в
зависимости от назначения помещений, на освещение может расходоваться до 60%
общего электропотребления жилых и офисных зданий. По расчетам специалистов
российской компании "Светэк", разрабатывающей такие решения в нашей
стране, энергосберегающие системы освещения позволяют снизить затраты на
освещение до 8-10 раз!
Энергосберегающий эффект основан на том, что свет включается
автоматически, именно когда он нужен. Выключатель имеет оптический датчик и микрофон.
Днем, при высоком уровне освещенности, освещение отключено. При наступлении
сумерек происходит активация микрофона. Если в радиусе до 5 м возникает шум
(например, шаги или звук открываемой двери), свет автоматически включается и
горит, пока человек находится в помещении.
Разумеется, такие системы освещения были бы не полными без использования
энергосберегающих ламп. Их можно разделить на две группы по сферам
использования: мощные энергосберегающие лампы больших размеров, предназначенные
для освещения офисов, торговых площадок, кафе, и компактные лампы со
стандартными цоколями для использования в квартирах. Экономия электроэнергии с
применением таких ламп достигает 80%, не говоря уже о том, что по сравнению с
обычными лампами их время жизни во много раз больше.
К числу наиболее "прожорливого" оборудования, используемого в
жилых и офисных помещениях, относится практически вся климатическая техника,
прежде всего, кондиционеры. Разумеется, борьба за энергоэффективность не могла
пройти мимо этой категории бытовых устройств.
В последние годы все энергоэффективные технологии объединяются в
концепцию так называемого пассивного дома, то есть жилища, максимально
дружелюбного окружающей среде. В Западной Европе сейчас строятся пассивные дома
с энергопотреблением не более 15 Квт, ч/м3 год, что более чем в 10 раз
экономичнее типовой отечественной "хрущевки". Можно сказать, что
такие здания - это будущее мирового строительства, ведь они фактически
отапливаются за счет тепла, выделяемого людьми и электроприборами.
По словам главы Минэнерго России, потенциал энергосбережения составляет
не менее 400 миллионов тонн условного топлива в год или 30-40% всего
энергопотребления страны. В экологическом исчислении это сотни миллионов тонн
углекислого газа, которые не попадут в атмосферу.
Таким образом, энергосберегающие технологии позволяют решить сразу
несколько задач: сэкономить существенную часть энергоресурсов, решить проблемы
отечественного промышленного производства, повысить эффективность производства
и уменьшить нагрузку на окружающую среду.
Частотный преобразователь. Из множества областей, в которых имеется
потенциальная возможность энергосбережения, можно выделить наиболее важные и
эффективные направления:
. Широкое внедрение частотно-регулируемых асинхронных электроприводов
в системах водоснабжения, водоотведения, отопления и вентиляции для
регулирования скорости вращения насосов, вентиляторов, нагнетателей,
воздуходувок, компрессоров и т.п.;
. Применение высоко динамичных электроприводов переменного тока, а
так же средств автоматизации в электротермии и в других энергоемких процессах
. Модернизация подъемно-транспортных механизмов (кранов,
подъемников, лифтов) путем установки частотно-регулируемых приводов
. Объекты жилищно-коммунального хозяйства и промышленного комплекса,
в задачу которых входит поддержание заданного уровня жидкости в резервуарах
(водоразборные и очистные сооружения и др.)
. Применение в электроприводах переменного тока современных
частотных преобразователей со встроенной функцией оптимизации энергопотребления.
Высокую эффективность внедрения частотно-регулируемого электропривода
можно получить при использовании его в насосных, вентиляторных, нагнетательных
установках.
Физическую природу снижения энергопотребления проиллюстрируем на примере
вентиляторов. Большинство вентиляторов представляют собой центробежные машины.
На рис. 1 приведена типичная характеристика центробежного вентилятора -
зависимость выходного давления H от потока (расхода) воздуха Q. Она остается
неизменной при постоянной частоте вращения вентилятора. Здесь же представлена
характеристика системы вентиляции (кривая 1). Она показывает, какое давление
требуется от вентилятора для обеспечения требуемого потока воздуха и покрытия
всех потерь в системе. Точка пересечения двух кривых является фактической
рабочей точкой системы.
Рис.1. Характеристики вентилятора и системы при регулировании шибером
Обычно производительность вентилятора изменяется установкой шибера на
выходе. Выходные шиберы воздействуют на характеристику системы, увеличивая
сопротивление потоку воздуха. На рис. 1 показаны несколько характеристик
системы при различных положениях шибера (кривая 1 соответствует полностью
открытому шиберу). Известно, что мощность, потребляемая из сети двигателем турбомеханизма,
пропорциональна произведению давления и расхода, т.е. пропорциональна площади
прямоугольника, одна из вершин которого совпадает с рабочей точкой, а
противоположная - с началом координат. Из рис. 1 видно, что изменение
производительности вентилятора влияет на потребление энергии незначительно.
Изменение частоты вращения вентилятора приводит к изменению его характеристики,
как это показано на рис. 2. Здесь кривые 2 и 3 соответствуют пониженной частоте
вращения. Из рисунка видно, что снижение частоты вращения вентилятора приводит
к перемещению рабочей точки вдоль характеристики системы и существенному
снижению расхода электроэнергии при тех же расходах, что и на рис. 1.
Количественную оценку этих изменений можно получить из формул, называемых законами
подобия:
Рис. 2. Характеристики вентилятора и системы при регулировании частоты
вращения
Аналогичные кривые можно построить и для центробежных насосов. Здесь
изменение производительности обычно осуществляется дроссельными заслонками на
выходе насоса. На рис. 3 представлен сравнительный график мощности,
потребляемой насосом, в зависимости от расхода при регулировании
дросселированием и частотном регулировании. Разность между значениями этими
кривыми при заданном расходе позволяет определить экономию энергии при
частотном регулировании по сравнению с регулированием дроссельной заслонкой.
Рис. 3. Зависимость потребляемой мощности от расхода
Электроприводы турбомеханизмов потребляют не менее 20-25% всей
вырабатываемой электроэнергии и в большинстве случаев остаются нерегулируемыми,
что не позволяет получить режим рационального энергопотребления и расхода воды,
пара, воздуха и т. д. при изменении технологических потребностей в широких
пределах. Силовое оборудование выбирается на максимальную производительность, в
действительности же его среднесуточная загруженность может составлять около 50%
от номинальной мощности. Значительное снижение момента нагрузки при снижении
скорости вращения приводного двигателя, характерное для рассматриваемых
механизмов, обеспечивает существенную экономию электроэнергии (до 50%) при
использовании регулируемого электропривода и позволяет создать принципиально
новую технологию транспортировки воды, воздуха и т. д., обеспечивающую
эффективное регулирование производительности агрегата. Кроме того, поддержание
в системе минимально необходимого давления приводит к существенному уменьшению
непроизводительных расходов транспортируемого продукта и снижению аварийности
гидравлических и пневматических сетей.
Невысокие требования к качеству регулирования давления и расхода
обуславливают возможность применения наиболее простых и, следовательно,
относительно недорогих преобразователей частоты, которые являются наиболее
удобными с точки зрения проектирования и наладки. Положительным моментом
является также то, что преобразователь частоты может быть легко внедрен в уже
существующую установку без какой-либо реконструкции системы в целом. Сочетание
высокой экономичности регулирования и относительно низкой стоимости
оборудования обеспечивает минимальный срок его окупаемости (6-12 месяцев).
В целом, применение частотно-регулируемого асинхронного электропривода
следующие преимущества:
• Экономия электроэнергии до 60%
• Экономия транспортируемого продукта за счет снижения
непроизводительных расходов до 25%
• Снижение аварийности гидравлической или пневматической сети за
счет поддержания минимально необходимого давления
• Снижение аварийности сети и снижение аварийности
электрооборудования за счет устранения ударных пусковых токов
• Снижение уровня шума, создаваемого технологическим оборудованием
• Удобство автоматизации
• Удобство и простота внедрения
В технологических процессах пищевого производства для управления
исполнительными механизмами широко применяются электродвигатели. При управлении
исполнительными механизмами (с использованием электропривода), когда
применяются трехфазные асинхронные электродвигатели, возникает необходимость
регулировать их производительность в зависимости от изменения технологических
параметров. Для реализации этой задачи компания Schneider Electric разработала серию устройств Altivar
- преобразователь частоты для асинхронных электродвигателей мощностью от 0,37
квт до 630 квт.
Основными функциями преобразователей частоты Altivar являются: пуск,
останов, динамическое торможение и торможение до полной остановки, а также
регулирование скорости электродвигателя; энергосбережение; регулирование
скорости с обратной связью по тахогенератору или импульсному датчику; работа в
режиме "быстрее-медленее", S- и U- образные кривые
разгона-торможения, работа в пошаговом режиме (JOG); адаптируемое к скорости
ограничение тока для электродвигателя; автоматическое ограничение времени работы
на нижней скорости, защита электродвигателя от перегрузок.
Преобразователи
Altivar имеют последовательный интерфейс с протоколом Modbus, который
применяется для связи с ПЛК, персональным компьютером или другим инструментом
конфигурирования. Altivar обеспечивает простое и быстрое программирование с
использованием макроконфигураций, соответствующих различным видам применения
(исполнительные механизмы общего назначения, транспортное оборудование, насосы,
вентиляторы и т.д.). Так например, применение частотно-регулируемого
электропривода позволяет обеспечить значительную экономию электроэнергии (в
отдельных случаях до 40%), стабилизирует КПД и коэффициент мощности
исполнительного механизма в его рабочем диапазоне. Для преобразователей Altivar выпускаются коммуникационные платы,
обеспечивающие управление исполнительными механизмами с использованием
различных протоколов связи (Modbus Plus, FIPIO, Ethernet TCP/IP и
др.).
Преобразователь частоты Altivar
58 для трехфазных асинхронных двигателей с короткозамкнутым ротором разработан
на основе самых последних технологических достижений и имеет различное
применение:
вентиляторы и установки для кондиционирования воздуха;
насосы и компрессоры;
транспортировочное оборудование;
специализированные механизмы.
Основными функциями преобразователя частоты являются:
- пуск, останов, динамическое торможение и торможение до полной
остановки, а так же регулирование частоты вращения вала двигателя;
энергосбережение, ПИ-регулятор (скорость потока, давление и т. д.);
последовательность торможения;
регулирование скорости с обратной связью по тахогенератору или
импульсному датчику;
- работа в режиме "быстрее-медленнее", S- и U-образные
кривые разгона-торможения, заданные скорости, работа в пошаговом режиме (JOG) (См. Рис.);
- автоматический захват движущейся нагрузки с поиском нужной скорости
(подхват на ходу);
адаптируемое к скорости ограничение тока для вентиляторов;
автоматическое ограничение времени работы на нижней скорости, защита
двигателя и преобразователя частоты и т.д.
Также на технологическом процессе установлены оптико-акустические
выключатели

Характеристики
· Напряжение в сети - 220 В (±10%), 50 Гц
· Мощность подключаемых ламп - до 60 Вт
· Оптический порог активации ~ 12±5 Люкс
· Акустический порог включения - 60±5 дБ
· Время цикла освещения - 50±10 секунд
· Радиус действия микрофона - ≤5 м
· Собственное потребление от сети - ≤0,2 Вт/ч
Принцип работы. Выключатель состоит из оптического датчика, микрофона,
реле времени и электронного ключа. В светлое время суток микрофон отключен. С
наступлением сумерек прибор начинает работать в режиме ожидания, и микрофон
включается. При появлении звуков в радиусе 5 метров от микрофона поступает
сигнал на электронный ключ, который включает освещение и запускается реле
времени, удерживающее ключ во включенном состоянии примерно 50 секунд. Затем
освещение отключается. При возникновении новых звуков цикл повторяется.
Выводы
. Рассмотрен и автоматизирован технологический процесс
разваривания на спиртзаводе. Рассмотрен процесс управления температурой в
варочных колоннах. Для управления технологическими процессами спиртзавода
использовался программируемый логический контроллер ТSX Momentum компании Schneider Electric и SCADA-система Monitor Pro.
. Построена математическая модель канала управления температурой в
варочных колоннах на основании анализа кривой разгона, получаемой при подаче на
вход системы единичного ступенчатого воздействия.
. Дано обоснование критериев управления температурой в варочных
колоннах, т.е. показано, что при оптимизации выбранных критериев обеспечивается
минимум экономических потерь, обусловленных отклонением температуры в колоннах
от значения, заданного в соответствии с технологическими требованиями.
. Разработан алгоритм расчета значений параметров настройки
ПИ-регулятора, обеспечивающий робастность управления, устойчивость замкнутой
системы и достаточно быстрое затухание переходных процессов.
. Приведены основные характеристики датчиков (уровень,
температура, расход, клапаны запорные), установленных на технологическом
процессе.
. Проведен расчет экономическая эффективности разработанной
системы управления. Затраты на автоматизацию производства окупились за
достаточно короткий срок, который составил 8-8,5 месяцев, что современным
меркам является хорошим показателем.
. Рассмотрены основные понятия и методы энергосберегающих
технологий.
. Рассмотрен принцип интегрированной системы управления.
Список литературы
. Жиров М.В., Солдатов В.В., Гончаров А.В., Шаховской
А.В. - Основы теории автоматического управления. Рабочая программа,
методические указания, задания на контрольные работы и курсовой проект для
студентов 4 курса специальности 220301 заочной формы обучения. - М.: МГУТУ им.
К.Г. Разумовского, 2011.
. Дипломное проектирование / Жиров М.В., Солдатов
В.В., Гончаров А.В., Шаховской А.В. Методические указания по выполнению
дипломного проекта для студентов специальности 220301 всех форм обучения. - М.:
МГУТУ им. К.Г.Разумовского, 2011.
. Жиров М.В., Солдатов В.В., Гончаров А.В., Шаховской
А.В. - Робототехнические системы и комплексы. Рабочая программа, методические
указания, задания на контрольные работы и курсовой проект для студентов 4 курса
специальности 220301 заочной формы обучения. - М.: МГУТУ им. К.Г. Разумовского,
2011.
. Гончаров А.В., Солдатов В.В. Применение парадигм
интеллектуального управления при решении "открытых задач"
автоматизации. - М.: ПРОБЕЛ-2000.
. Солдатов В.В., Шавров А.В., Герасенков А.А.
Технические средства автоматизации. - М.: Изд-во Рос. гос. агр. заоч. ун-та,
2004.
. Шавров А.В., Солдатов В.В. Многокритериальное
управление в условиях статистической неопределенности. - М.: Машиностроение,
2010.
. Олссон Г., Пиани Д. Цифровые системы автоматизации и
управления. - СПб.: Невский диалект, 2011.
. Пикина Г.А., Верховский А.В. Об одном методе расчёта
оптимальных настроек типовых регуляторов // Теория и практика построения и
функционирования АСУ ТП: Сб. науч. тр. - М.: Изд-во МЭИ, 1998.
. Герасенков А.А. Построение дискретных схем
управления электроприводами. - М.: Изд-во Московского государственного
агроинженерного университета им. В.П.Горячкина, 1999.
. Егупов Н.Д., Пупков К.А. (Ред.). Методы классической
и современной теории автоматического управления. В 5 томах. Том 1. Методы
современной теории автоматического управления. - М.: Изд-во МГТУ им. Н. Э.
Баумана 2004.
. Егупов Н.Д., Пупков К.А. (Ред.). Методы классической
и современной теории автоматического управления. В 5 томах. Том 2. Методы
современной теории автоматического управления. - М.: Изд-во МГТУ им. Н. Э.
Баумана 2004.
. Егупов Н.Д., Пупков К.А. (Ред.). Методы классической
и современной теории автоматического управления. В 5 томах. Том 3. Методы
современной теории автоматического управления. - М.: Изд-во МГТУ им. Н. Э.
Баумана 2004.
. В.И. Коробко. Теория управления. Электронный
учебник. Разработчик: Юнити-Дана, 2010.
. Б. В. Шандров, А. Д. Чудаков. Технические средства
автоматизации. Издательство: Академия, 2010
. Е. И. Юревич. Основы робототехники. Издательство:
БХВ-Петербург, 2010.
Приложение
Схема автоматизации отделения разваривания на спиртзаводе
Интегрированная система управления предприятием
Технические средства автоматизации
модульность, многозадачность, компактность, высокое быстродействие,
простота использования, возможность адаптации к требованиям заказчика,
интеграция с персональным компьютером.
SCADA-система
Monitor Pro
система Monitor Pro решает следующие задачи:
· Обмен данными с устройством связи с объектом, то есть с
промышленными контроллерами и платами ввода/вывода в реальном времени через
драйверы.
· Обработка информации в реальном времени.
· Отображение информации на экране монитора в удобной и
понятной для человека форме.
· Ведение базы данных реального времени с технологической
информацией.
· Аварийная сигнализация и управление тревожными сообщениями.
· Подготовка и генерирование отчетов о ходе технологического
процесса.
· Осуществление сетевого взаимодействия между SCADA ПК.
Датчики, установленные на технологическом процессе
Уровнемер для пищевой Расходомер серии Time DELTA промышленности G24
Seetol
Термопреобразователь температуры с унифицированным выходным сигналом
ТСМУ-Ex Клапан регулирующий фланцевый с
электрическим исполнительным механизмом (эим) 25ч940нж
Критерии качества управления
Поскольку цель управления технологическими процессами пищевого
производства имеет экономическое содержание, то за основу выбран критерий
интенсивности средних экономических потерь, заданный выражением:
,
где
- средняя интенсивность экономических потерь;
- интенсивность экономических
потерь;
- интенсивность экономических потерь
при идеальном управлении технологическим процессом;
- оператор математического ожидания.
Доказано, что
,
где
- свободный член характеристического уравнения замкнутой
системы.
Условия устойчивости (робастности) для замкнутых систем управления с пи
регуляторами
Функциональная схема системы управления c обратной связью:
КБ - командный блок, вырабатывающий сигнал задания
;
- сигнал ошибки управления;
- управляющее воздействие на объект;
- выходной сигнал объекта
(управляемая величина);
- возмущающее воздействие.
Сигнал ошибки управления определяется по формуле
. (1)
Передаточная функция ПИ регулятора:
, (2)
где
- коэффициент передачи, а
- постоянная времени интегрирования;
- комплексная переменная.
Динамические характеристики системы управления температурой в варочных
колоннах
Идентификация объекта управления по кривой разгона:
Передаточная функция объекта управления
задается выражением
, (3)
где
- коэффициент передачи объекта;
и
- постоянные времени объекта и
транспортного запаздывания;
- комплексная переменная.
По кривой разгона установлено, что параметры передаточной функции объекта
(2) принимают следующие значения:
;
;
. (4)
Амплитудно-частотная характеристика (АЧХ) замкнутой системы по каналу
Из графика АЧХ по каналу
следует, что
, (6)
где
- показатель колебательности замкнутой системы.
Амплитудно-частотная характеристика (АЧХ) замкнутой системы
по каналу
Интервал частот
, в котором замкнутая система обладает фильтрующими
свойствами, т.е. ослабляет действующее на нее возмущение
, определяется неравенством
. (7)
Годограф комплексной частотной характеристики (КЧХ) разомкнутой системы
КЧХ разомкнутой системы
, (8)
где
и
- КЧХ объекта и регулятора соответственно;
- мнимая единица.
Критерий устойчивости Найквиста:
Замкнутая система устойчива, если годограф КЧХ разомкнутой системы не
охватывает на комплексной плоскости точку с координатами (-1, i 0).
Вывод: По виду годографа комплексной частотной характеристики разомкнутой
системы согласно критерию Найквиста можно сделать вывод, что замкнутая система
устойчива, т.к. кривая не охватывает точку с координатами (-1,i0) на комплексной плоскости.
Переходный процесс
при действии возмущения
по каналу
Перерегулирование:
(9)
Время затухания переходного процесса:
Согласно графику переходный процесс
достаточно быстро затухает, причем
его время затухания
составляет
. (10)
При выполнении расчетов динамических характеристик системы управления
использовался программный пакет MAPLE
7.
Система Maple предназначена для символьных вычислений, имеет ряд средств
и для численного решения дифференциальных уравнений и нахождения интегралов.
Обладает развитыми графическими средствами.
Требования по охране труда
· По пожарной опасности отделение разваривания относится к
категории "Б".
· С точки зрения опасности поражения человека электрическим
током, отделение разваривания относится к помещениям с повышенной опасностью.
· В отделении разваривания не используются взрывоопасные
вещества или оборудование, следовательно оно не относится к помещениям с
повышенной взрывоопасностью.
Таблица технико-экономических показателей
|
Показатели
|
Значение
|
|
До внедрения
|
После внедрения
|
|
Выпуск продукции, в год,
тыс. дал.
|
4800
|
5000
|
|
Капитальные затраты, тыс.
руб.
|
25,3
|
41,64
|
|
Условно годовая экономия,
тыс.руб.
|
610,3
|
651,31
|
|
Срок окупаемости, год
|
-
|
0,7
|
|
Годовой экономический
эффект, тыс. руб.
|
600,8
|
645,06
|
|
Стоимость электроэнергии,
тыс. руб.
|
9,46
|
7,37
|
Выводы
. Рассмотрен и автоматизирован технологический процесс
разваривания на спиртзаводе.
. Рассмотрен процесс управления температурой в варочных колоннах
. Для управления технологическими процессами спиртзавода
использовался программируемый логический контроллер ТSX Momentum компании Schneider Electric и SCADA-система Monitor Pro.
. Построена математическая модель канала управления температурой в
варочных колоннах на основании анализа кривой разгона, получаемой при подаче на
вход системы единичного ступенчатого воздействия.
. Дано обоснование критериев управления температурой в варочных
колоннах, т.е. показано, что при оптимизации выбранных критериев обеспечивается
минимум экономических потерь, обусловленных отклонением температуры в колоннах
от значения, заданного в соответствии с технологическими требованиями.
. Разработан алгоритм расчета значений параметров настройки
ПИ-регулятора, обеспечивающий робастность управления, устойчивость замкнутой
системы и достаточно быстрое затухание переходных процессов.
. Приведены основные характеристики датчиков (уровень,
температура, расход, клапаны запорные), установленных на технологическом
процессе.
. Проведен расчет экономическая эффективности разработанной
системы управления. Затраты на автоматизацию производства окупились за
достаточно короткий срок, который составил 8-8,5 месяцев, что современным
меркам является хорошим показателем.
. Рассмотрены основные понятия и методы энергосберегающих
технологий и адаптивного управления.
. Для управления отделением разваривания применялась
интегрированная система.
Доклад
Уважаемый Председатель! Уважаемые члены комиссии!
Мой дипломный проект выполнен на тему:
"Разработка интегрированной системы управления отделением разваривания на
спиртзаводе на основе ПЛК Modicon TSX Momentum".
Выбор темы обусловлен тем, что интегрированное управление в современном
мире имеет актуальное значение и большие перспективы применения и
совершенствования. Данные системы обеспечивают повышение качества выпускаемой
продукции и уменьшение брака, что приводит к получению прибыли от выпуска
востребованной качественной продукции.
На чертеже № 1 представлена схема автоматизации отделения разваривания на
спиртзаводе.
В отделении разваривания (рис. 1.1) замес из
предразварника-смесителя подается плунжерным насосом I в контактную головку II, где нагревается "острым паром", и далее - в
варочную колонну III первой
ступени, куда также подается "острый пар". Затем разваренная масса
последовательно проходит через варочные колонны IV второй ступени и поступает в сепаратор V, где от нее отделяется пар.
Основными задачами управления в этом отделении являются стабилизация
температурного режима разваривания и поддержание заданной производительности
(нагрузки), которая определяется потребностью отделения осахаривания.
Стабилизацию температурного режима обеспечивают САР
температуры массы на выходе из контактной головки и САР температуры в первой
варочной колонне, которые идентичны. Датчиками температуры являются
терморезисторные термометры (ТСМ) и АЦП (АDАМ-4012) (2-1) и (3-1) (или модули АDАМ-4013), сигнал с которых поступает на регистрирующие АЦПУ
(2-2) и (3-2) и регулирующий канал контроллера ТКМ-51, выполняющий ПИ-закон
регулирования, (2-3) и (3-3) и затем - на ЦАП (АDАМ-4021) и регулирующие клапаны (2-4) и (3-4), установленные
на трубопроводе подачи пара в соответствующий аппарат.
При выполнении специального указания по проекту мной была разработана
система автоматического управления температурой в варочных колоннах на базе
программируемого логического контроллера (ПЛК) Modicon TSX Momentum, выпускаемого компанией
"Шнейдер Электрик".
Выбор контроллера был обусловлен тем, что на сегодняшний день: компания
"Шнейдер Электрик" - один из мировых лидеров в области производства
электротехнического оборудования и средств автоматизации, т.к. выпускаемые этой
компанией контроллеры обладают высокой надежностью, удобны в использовании и
удовлетворяют разнообразным требованиям заказчиков.
На чертеже № 2 приводится функциональная схема интегрированной системы
управления современным производством, Нижний уровень этой схемы составляют
измерительные приборы и исполнительные механизмы. Следующий уровень -
контроллеры. Они выполняют функцию автоматического управления технологическим
процессом. На верхнем уровне управления (производством в целом) основой решения
задач управления являются отдельные информационные сети, связывающие АРМ
управляющего персонала на разных участках (мастеров, технологов, начальников
цехов) с планирующими подразделениями.
На чертеже № 3 приводится внешний вид ПЛК Modicon TSX Momentum и указаны его достоинства:
модульность, компактность, высокое быстродействие, простота использования,
возможность адаптации к требованиям заказчика.
Также на данном плакате представлена SCADA-система Monitor Pro, которая решает следующие задачи:
· Обмен данными с устройством связи с объектом, то есть с
промышленными контроллерами и платами ввода/вывода в реальном времени через
драйверы.
· Обработка информации в реальном времени.
· Отображение информации на экране монитора в удобной и
понятной для человека форме.
· Ведение базы данных реального времени с технологической
информацией.
· Аварийная сигнализация и управление тревожными сообщениями.
· Подготовка и генерирование отчетов о ходе технологического
процесса.
· Осуществление сетевого взаимодействия между SCADA ПК.
На плакате №4 показан внешний вид датчиков, используемых в
технологическом процессе. (перечислить и обосновать выбор)
На чертеже № 5 представлено описание используемых в проекте критериев
качества управления.
Поскольку цель управления технологическими процессами имеет экономическое
содержание, то за основу выбран критерий интенсивности средних экономических
потерь
.
Но этот критерий неудобен в практическом применении, т.к. экономические
потери трудно определить при управлении технологическими процессами в реальном
времени.
Поэтому при оптимизации систем управления используется критерий
, относительно которого доказано, что
при его максимизации достигается минимум критерия
.
Также на чертеже № 5 представлены условия устойчивости систем управления
с ПИ регуляторами.
Выполнение этих условий способствует повышению быстродействия системы,
приобретающей способность успешно парировать действующие на нее возмущения
.
Сущность условий устойчивости заключается в выборе определенного
расположения доминирующих корней характеристического уравнения, т.е. корней,
оказывающих наибольшее влияние на качество управления.
На чертежах № 6 - № 9 приводятся динамические характеристики системы
управления температурой в варочных колоннах.
На чертеже № 6 представлена кривая разгона (переходная характеристика)
объекта.
С помощью графических построений по кривой разгона были определены
неизвестные значения параметров передаточной функции объекта (3), а именно:
коэффициента передачи объекта
; постоянных времени объекта
и транспортного запаздывания
.
Значения этих параметров заданы равенствами (4).
На чертежах № 7 и 8 приводятся графики АЧХ замкнутой системы от входа до
выхода и от входа до ошибки, а также годограф комплексной частотной
характеристики разомкнутой системы, по виду которого на основании критерия
Найквиста можно заключить об устойчивости замкнутой системы, т.к. он не
охватывает точку на вещественной оси с координатой минус единица.
На чертежах № 9 и 10 представлен переходный процесс, возникающий в
системе при подаче на ее вход единичного ступенчатого возмущения и,
характеризующие этот процесс такие показатели качества, как величина
перерегулирования
и время затухания переходного процесса
.
При выполнении расчетов динамических характеристик системы управления
использовался программный пакет MAPLE
7.
Система Maple предназначена для символьных вычислений, имеет ряд средств
и для численного решения дифференциальных уравнений и нахождения интегралов.
Обладает развитыми графическими средствами.
На чертеже № 10 приводится требования по охране труда и таблица
технико-экономических показателей автоматизации. (Прочесть всю таблицу!).
Как видно из расчетов введение нечеткой системы управления отделением
разваривания на спиртзаводе позволило добиться значимых результатов.
На плакате 11 представлены основные вывода дипломного проекта
На этом мой доклад закончен, благодарю всех присутствующих за внимание.