Разработка системы автоматического регулирования кислотно-щелочного баланса питательной воды
Введение
Аммиачная обработка питательной воды применяется для предупреждения
углекислотной коррозии элементов пароводяного тракта и поддержания рН в
питательной воде в пределах 9,1 + 0,1.
На обессоливающей установк№2 теплоэнергоцентрали рабочий раствор аммиака
подается в ручном режиме в трубопровод после насосов обессоленной воды.
Аммиак является летучей щелочью, быстро распределяется по всему
пароводяному тракту, повышая значение рН питательной воды и не изменяя ее
солесодержание.
Для поддержания в питательной воде рН необходима непрерывная подача
аммиака в основной цикл. Так как отдельные элементы оборудования
конденсатно-питательного тракта выполняются из медных сплавов, то создавая
щелочную среду с помощью аммиака, необходимо соблюдать осторожность в отношении
его дозирования. Увеличение концентрации приводит к усилению коррозии латунных
трубок конденсаторов турбин и подогревателей низкого давления. Чем больше
концентрация в воде кислорода и аммиака, тем быстрее протекает коррозия этих
сплавов, содержание кислорода в турбинном конденсате должно быть не более 20
мкг/дм3, концентрация аммиака в питательной воде барабанных котлов не должна
превышать 600 мкг/дм3.
Внедрение автоматического регулирования кислотно-щелочного баланса
питательной воды позволит добиться протекания технологического процесса без
нарушения его технологических параметров.
Таким образом, целью курсового проекта является разработка системы
автоматического регулирования кислотно-щелочного баланса питательной воды.
Основными целями автоматизации являются:
− обеспечение точного регулирования
кислотно-щелочного баланса воды в соответствии с уставкой, задаваемой
оператором;
− внедрение программно настраиваемых
алгоритмов пуска и останова насосов подачи аммиака с заданной скоростью;
− сокращение затрат на ремонт и замену
оборудования связанного с нарушением кислотно-щелочного баланса за счет
устранения нарушения параметров технологического процесса;
− развертывание системы сбора данных и
диспетчерского управления регулированием кислотно-щелочного баланса с
организацией передачи данных на диспетчерский пункт.
Для достижения цели курсового проекта в ходе курсового проекта требуется
решить следующие задачи:
− сформулировать требования к
выдерживаемым параметрам технологического процесса, оборудованию (средства
измерения, контроллер, исполнительные устройства) и его монтажу;
− произвести расчет системы
автоматического регулирования кислотно-щелочного баланса воды подаваемой в
котельный цех, включая параметры настройки регулятора и проанализировать показатели
качества спроектированной системы на компьютерной модели.
1. Анализ
объекта и обоснование необходимости разработки АСУТП
.1 Описание
объекта автоматизации
Аммиачная обработка питательной воды применяется для предупреждения
углекислотной коррозии элементов пароводяного тракта и поддержания рН в
питательной воде в пределах 9,1 + 0,1.
На ОУ-2 рабочий раствор аммиака подается автоматически в трубопровод ХОбВ
после насосов обессоленной воды.
Аммиак является летучей щелочью, быстро распределяется по всему
пароводяному тракту, повышая значение рН питательной воды и не изменяя ее
солесодержание.
Свободная углекислота связывается с NH3 по следующей реакции:
NH3 + CO2 + H2O _Ò NH4HCO3 (бикарбонат)
NH3 + CO2 + H2O Ò (NH4 )2 CO3 (карбонат)
Когда вода, обработанная аммиаком, попадает в котел бикарбонат и карбонат
аммония разлагаются на NH3 , CO2 , переходят из воды в пар и вместе с ним
удаляются из котла, не накапливаясь в котловой воде. В перегретом паре и NH3 и
СО2 существуют не взаимодействуя между собой. При охлаждении и конденсации пара
происходит распределение аммиака и углекислоты между паровой и жидкой фазами.
Аммиак находится в жидкой фазе, в результате чего рН воды повышается.
Независимо от того, в какую точку основного цикла начали вводить аммиак, вследствие
его летучих свойств по истечении 1-2 часов он распространяется по всему
пароводяному тракту. Благодаря этому углекислотная коррозия углеродистых сталей
устраняется или скорость ее существенно снижается.
Для поддержания в питательной воде рН необходима непрерывная подача
аммиака в основной цикл. Так как отдельные элементы оборудования
конденсатно-питательного тракта выполняются из медных сплавов, то создавая
щелочную среду с помощью аммиака, необходимо соблюдать осторожность в отношении
его дозирования. Увеличение концентрации приводит к усилению коррозии латунных
трубок конденсаторов турбин и подогревателей низкого давления. Чем больше
концентрация в воде кислорода и аммиака, тем быстрее протекает коррозия этих
сплавов, содержание кислорода в турбинном конденсате должно быть не более 20
мкг/дм3, концентрация аммиака в питательной воде барабанных котлов не должна
превышать 600 мкг/дм3. Технологическая схема дозирования аммиака представлена
на рисунке 1.2.
Рисунок 1.1- Технологическая схема дозирования аммиака
Из бака крепкого аммиака (БКА) нужное количество, насосом перекачки
аммиака(НПА), перекачивается в любой из баков рабочего раствора аммиака (БРРА),
затем разбавляется химически обессоленной водой до концентрации 0,1% - 1,0%,
перемешивается циркуляционным насосом аммиака (ЦНА) и циркулирует от ОУ-2 до
НДА № 1,2,3, находящихся в КТЦ под ПЭН № 12 и НДА № 4 под ПЭН № 15.
В аварийных случаях, раствор аммиака может дозироваться в трубопроводы
ХОБВ № 1,2,3, в здании ОУ-2, насосами- дозаторами НДА № 4а или НДА № 5а.
В данный момент времени процесс регулирования кислотно-щелочного баланса
воды происходит с непосредственным участием работников химического цеха ТЭЦ.
Лаборанты берут пробу воды из отборочных ячеек,производят измерение в воде
показателя кислотно-щелочного баланса и по полученным данным принимают решение
о пуске-останове насосов дозаторов аммиака.
.2 Варианты совершенствования технологического процесса
Наибольшее влияние на технологический процесс теплоэнергостанции окзывает
кислотно-щелочной баланс питательной воды. Не соблюдение установленного
регламентом показателя кислотно-щелочного баланса может привести к нарушению
технологического процесса, а также к материальным затратам на востановление
оборудования.
Кроме того, поддержание показателя кислотно-щелочного баланса связано с
расходом аммиака, что является одной из значимых статей затрат для данного
производства и потому нуждается в эффективном регулировании.
Таким образом, одним из вариантов совершенствования технологического
процесса, рассматриваемым в данном курсовом проекте, является внедрение
автоматического регулирования кислотно-щелочного баланса питательной воды
подаваемой в котельный цех теплоэнергоцентрали для дальнейшего
производственного процесса.
Внедрение автоматического регулирования кислотно-щелочного баланса
питательной воды позволит реализовать регламентированный технологический
процесс.
Для выполнения указанной разработки в рамках курсового проекта
предлагается:
− установить в проточную ячейку pH-метр с проточным датчиком с
унифицированным выходным сигналом и обеспечить прием данных от него;
− для защиты датчика от возможного
повышения давления, контролируемой среды, установить фильтродросселирующее
устройство;
− произвести включение/выключение
насосов дозаторов№1,2,3,4,5 в автоматическом режиме;
− организовать дистанционное задание
оператором уставки по кислотно-щелочному балансу в питательной воде;
− обеспечить мониторинг и
автоматическое регулирование кислотно-щелочного баланса по ПИД-закону в
соответствии с уставкой путем изменения расхода аммиака;
− реализовать удаленное автоматическое
управление запорной арматурой на трубопроводах подачи аммиака;
− обеспечить мониторинг технологических
параметров и управление процессом средствами системы диспетчерского управления
и контроля на основе SCADA.
1.3
Техническое задание на разработку АСУТП
.3.1 Цели
автоматизации и требования к функциям, выполняемым системой
Таким образом, целью курсового проекта является разработка системы
автоматического регулирования кислотно-щелочного баланса питательной воды.
Основными целями автоматизации являются:
− обеспечение точного регулирования
кислотно-щелочного баланса воды в соответствии с уставкой, задаваемой
оператором;
− внедрение программно настраиваемых
алгоритмов включения и выключения насосов дозаторов с заданной скоростью;
− сокращение затрат на ремонт
оборудования за счёт устранения нарушения кислотно-щелочного баланса воды;
− развертывание системы сбора данных и
диспетчерского управления насосами дозаторами аммиака в части регулирования
кислотно-щелочного баланса с организацией передачи данных на диспетчерский
пункт.
Автоматизированная система должна обеспечивать выполнение следующих
функций:
− автоматическую обработку, регистрацию
и архивирование поступающих значений технологического параметра
кислотно-щелочного баланса воды;
− автоматическое регулирование
кислотно-щелочного баланса по ПИД-закону на основании заданной оператором
процесса уставки или по программному задатчику за счет изменения расхода аммиака
регулирующим клапаном с электроприводом;
− автоматический контроль состояния
процесса ‒ предупредительную сигнализацию при отклонении
кислотно-щелочного баланса от номинального значения более чем на заданную
величину;
− автоматическое управление запорной
арматурой на линии подачи аммиака в соответствии с алгоритмом процесса;
− дистанционную передачу данных и
команд (уставка по кислотно-щелочному балансу; данные команды управления
электроприводом регулирующего клапана);
− представление информации о состоянии
технологического процесса (индикация состояния насосов на трубопроводах подачи
аммиака) и его параметрах (показатель кислотно-щелочного баланса воды)
оператору диспетчерского пункта в удобном для восприятия и анализа виде на
цветных графических операторских станциях в виде мнемосхемы процесса, анимации,
графиков, гистограмм и др.
Для достижения цели курсового проекта в ходе курсового проекта требуется
решить следующие задачи:
− сформулировать требования к
выдерживаемым параметрам технологического процесса, оборудованию (средства
измерения, контроллер, исполнительные устройства) и его монтажу;
− произвести расчет системы
автоматического регулирования кислотно-щелочного баланса воды, включая
параметры настройки регулятора и проанализировать показатели качества
спроектированной системы на компьютерной модели.
1.3.2
Требования к параметрам технологического процесса на рассматриваемом участке
Поскольку в курсовом проекте разрабатывается система автоматического
регулирования кислотно-щелочного баланса питательной воды, основными
параметрами являются показатель кислотно-щелочного баланса и скорость вращения
двигателя от которой непосредственно зависит подача аммиака. Приведем также
значения технологических параметров процесса, не относящиеся к области ответственности
проектируемой САР, но важные для протекания процесса.
Параметры технологического процесса по приготовлению и дозированию
аммиака в питательный тракт представлены в таблице 1.1.
Таблица 1.1 - Параметры технологического процесса
|
Характеристика
|
Значение
|
|
Частота вращения, об/мин -
циркуляционного насоса аммиака
|
2900
|
|
Мощность привода, кВт -
циркуляционного насоса аммиака
|
7,5
|
|
Производительность, м3/час
- циркуляционного насоса аммиака
|
20
|
|
Напор, м.в.ст. -
циркуляционного насоса аммиака
|
|
Производительность, л/час -
насос дозатор аммиака
|
1000
|
1.3.3
Требования к технологическому оборудованию рассматриваемого участка
К основному технологическому оборудованию рассматриваемой установки
относятся бак рабочего раствора аммиака, насос дозатор аммиака.
Требования к баку рабочего раствора аммиака представлены в таблице 1.2.
Таблица 1.2 - Требования к баку рабочего раствора аммиака
|
Характеристика
|
Значение
|
|
Рабочая вместимость, м3
|
10
|
|
Материал корпуса
|
сталь 12Х18Н10Т
|
Таблица 1.3 - Требования к насосу дозатору аммиака
|
ХарактеристикаЗначение
|
|
|
Исполнение по материалу
проточной части
|
сталь20Х13
|
|
Исполнение
|
насос-дозатор
|
|
Напряжение питания, В
|
3ф., 380
|
|
Мощность двигателя, кВт
|
1,5
|
|
Подача номинальная, л/час
|
1000
|
|
Напор, м
|
10
|
.3.4
Требования к средствам измерения и информационным каналам разрабатываемой
системы
Основным параметром технологического процесса в рассматриваемой части
является кислотно-щелочной баланс питательной воды, который регулируется в
пределах до 9,1±0,1.
«АТЛАНТ 2101» является универсальным промышленным прибором для измерения
активности ионов водорода pH и окислительно-восстановительных потенциалов в
воде и ее растворах, в том числе глубокого обессоливания. АТЛАНТ-2101
применяется для мониторинга водно-химического режима на технологическом
оборудовании электростанций и других производств.
Требования к прибору измерителю кислотно-щелочного баланса типа «АТЛАНТ
2101» представлены в таблице 1.4.
Таблица 1.4 - Требования к измерителю кислотно-щелочного баланса
|
Характеристика датчика
|
Значение
|
|
Тип среды
|
жидкость
|
|
Диапазон измерения: - pH
- эдс - температура
|
0,00-14,00 -2500 до +2500
мВ От 0 до 100 ºС
|
|
Абсолютная погрешность
измерений: - pH - эдс - температура
|
0,05 2мВ 0,3 ºС
|
|
Параметры контролируемой
среды: - температура - расход
|
От +1 до +60 ºС 2-10 дм/час
|
|
Диапазон выходных токов
(уст. оператором)
|
0 - 5 мА, 0 - 20
мА, 4 - 20 мА
|
|
Количество программируемых
точек на шкале выходных токов
|
12 - начало и конец шкалы
|
|
Режимы работы реле уставок
|
выкл., более>, менее
|
|
Параметры окружающей среды:
- температура - относительная влажность
|
от -10 до +50 °C до 95%
при +35 °C
|
|
Напряжение питания
|
от 187 до 242 В от 30,6 до
39,6 В частотой от 48 до 65 Гц
|
|
Потребляемая мощность
|
20 Вт
|
|
Интерфейс пользователя
|
иерархические меню на
дисплее
|
|
Калибровки
|
Автоматическая и ручная
|
Подключения датчика с измерительным блоком осуществляется с помощью двух
кабелей: коаксиального и медного четырёхпроводного , соединяющих разъёмы, с
соответствующими разъёмами электронного блока.
Измерительный pH-электрод
подключен к измерительной коробке с помощью коаксиального разъёма. Провода
термокомпенсатора подключены к двум клеммам соединительной коробки. Электрод
сравнения соединяется с клеммой коробки специальным проводом, имеющимся в
комплекте гидравлического блока. Таким же проводом производится соединение
заземляющего электрода с определённой клеммой блока.
Подключение измерительного блока pH-метра к контроллеру производится по двухпроводной схеме.
.3.5
Требования к устройствам контроля и управления
Сформулируем требования к промышленному контроллеру, который предлагается
использовать для управления процессом в части реализации САР кислотно-щелочного
баланса питательной воды. Требования к промышленному контроллеру представлены в
таблице 1.5.
Таблица 1.5 - Требования к промышленному контроллеру
|
Характеристика
|
Значение
|
|
Напряжение питания
|
200-240 В AC
|
|
Степень защиты от
воздействия окружающей среды
|
IP20
|
|
Температурный режим
эксплуатации, °С
|
0…+40
|
|
Операционная система
|
mini OS-7, DOS или
Windows CE
|
2 2 6 2
|
|
Диапазон сигналов по
аналоговым каналам: - аналоговые входы Типы дискретных входов Тип дискретных
выходов Макс. выходной (коммутируемый) ток, не менее, мА Выходное напряжение,
В
|
0…20 мА сухой контакт
открытый коллектор 100 24
|
|
Время реакции по аналоговым
каналам, мс, не более
|
650
|
Таблица 1.5 - продолжение
|
Необходимые поддерживаемые
коммуникационные интерфейсы1хEthernet
|
|
|
Необходимые поддерживаемые протоколы
передачи данных
|
Modbus TCP
(TCP/IP)
|
Поскольку контроллер устанавливается в шкаф в отапливаемом помещении, к
его степени защиты от воздействия твердых частиц (пыли) и влаги, а также
температурному диапазону эксплуатации не предъявляется решающих требований.
Поскольку на базе контроллера планируется развертывание системы
диспетчерского управления на базе SCADA Trace Mode, требуется наличие в контроллере
операционной системы Mini-OS7, DOS или Windows CE.
Для организации ввода-вывода данных потребуется один аналоговый вход (для
подключения pH-метра) с унифицированным токовым
сигналом 0…20 мА, два дискретных выхода для управления насосами дозаторами
аммиака.
Обмен данными с АРМ оператора осуществляется по интерфейсу Ethernet и протоколу Modbus TCP (TCP/IP).
2. Расчет
системы автоматического управления
.1 Разработка
структурной и функциональной схемы системы автоматизации
Регулирование кислотно-щелочного баланса питательной воды в трубопроводе
теплоэнергоцентрали осуществляется изменением подачи аммиака в трубопровод,
который в свою очередь зависит от работы насоса дозатора.
В состав системы регулирования кислотно-щелочного баланса питательной
воды в трубопроводе входят: ПЧ- преобразователь частоты, ЭД- электродвигатель
обеспечивающий работу насоса, Н- насос регулирующий подачу аммиака, Т-
трубопровод.
Рассмотрим параметры процесса для конкретного технологического режима.
Параметры приведены в таблице 2.1.
Таблица 2.1 - Параметры технологического режима
|
Параметр
|
Значение
|
|
Показатель
кислотно-щелочного баланса воды, pH - максимальный (для данного
режима) - условно-номинальный (для данного режима) - минимальный (для данного
режима)
|
9,2 9,1 9,0
|
|
Время регулирования не
более, с
|
20
|
Таким образом, функциональную схему объекта управления можно представить
как показано на рисунке 2.1.
Рисунок 2.1 - Функциональная схема объекта управления
Выходным сигналом преобразователя частоты является напряжение подаваемое
на электродвигатель, пропорциональное амплитуде управляющего сигнала (u): максимальному уровню управляющего
сигнала 10В (входное значение) соответствует напряжение (Gs) 380В.
Выходной координатой электродвигателя, приводящего в движение насос (H), является фактическая угловая
скорость (Gp).
Выходной координатой насоса является массовый расход (Gr) аммиака, пропорциональный угловой
скорости вращения электродвигателя (Gp).
Выходной координатой трубопровода является кислотно-щелочной баланс
питательной воды, зависящий от расхода аммиака подаваемого в трубопровод (Gr).
Поскольку
преобразователь частоты представляет собой, по сути, вычислительное устройство,
предназначенное для формирования подачи напряжения на электродвигатель в
зависимости от входного сигнала управления, он может быть описан как
апериодическое звено первого порядка с передаточной функцией вида W(пч)=
.
Произведем
расчет параметров передаточной функции преобразователя частоты. Коэффициент
передачи (передаточную функцию) определим по формуле (2.1)
, (2.1)
где
Gs - заданное напряжение в вольтах, u -
управляющий сигнал (напряжение);
Тпч=
0,0001 (величина обратная дискретизации преобразователя частоты).
Передаточную
функцию электродвигателя, приводящего в движение насос, можно представить в
виде апериодического звена второго порядка (2.2)
, (2.2)
где
- коэффициент угловой скорости;
- механическая постоянная времени элемента;
Tм-
электрическая постоянная времени.
Произведём
расчёт параметров передаточной функции электродвигателя. Коэффициент передачи
сигнала определим по формуле (2.3):
, (2.3)
где
G - угловая скорость, Gs - напряжение
питания.
Постоянные
времени электродвигателя определим как Тм=0,6;Тэ=0,0004.
Тогда
передаточная функция электродвигателя, приводящего в движение насос (2.4)
, (2.4)
Передаточную
функцию насоса представим как апериодическое звено второго порядка с
передаточной функцией вида (2.5):
, (2.5)
где
e-ts - коэффициент передачи объекта, t-
постоянная времени объекта.
Рассчитаем
параметры передаточной функции насоса. Коэффициент передачи определим по
формуле (2.6)
, (2.6)
где
Gr - угловая скорость электродвигателя, а Gp -
расход аммиака.
Постоянную
времени насоса определим как t =
.
Тогда
передаточная функция насоса, подающего аммиак в трубопровод будет иметь вид
(2.7)
, (2.7)
Передаточную
функцию трубопровода представим как апериодическое звено первого порядка с
передаточной функцией вида (2.8):
, (2.8)
Коэффициент
передачи определим по формуле (2.9)
, (2.9)
где
pH - показатель кислотно-щелочного баланса воды, а Gr -
изменение расхода аммиака в трубопровод.
Постоянную
времени трубопровода T=20с определим как максимальное время выхода на
установившееся значение, соответствующее заданию. В результате получим
передаточную функцию трубопровода (2.10)
(2.10)
На
основании функциональной схемы (рисунок 2.1) построим структурную схему
(рисунок 2.2), содержащую все функциональные элементы системы регулирования
кислотно-щелочного баланса питательной воды в трубопроводе.
Рисунок
2.2 - Структурная схема объекта управления
На
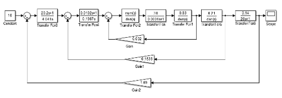
основании структурной схемы разработаем модель в приложении Siumulink пакета MatLab (рисунок 2.3) и произведем ее исследование.
Рисунок
2.3 - Модель разомкнутой системы в MatLab
Графики
переходных процессов элементов системы показаны на рисунках 2.4-2.6.
ω, рад/с
t, c
Рисунок 2.4 - Переходный процесс по развитию двигателем угловой скорости
F, м3/ч
t, c
Рисунок 2.5 - Переходный процесс по расходу аммиака
H
t, c
Рисунок 2.6 - Переходный процесс по регулированию кислотно-щелочного
баланса
По графикам переходных процессов (рисунок 2.4-2.6) можно сделать вывод о
том, что все параметры технологического процесса и полученная нами модель не
эквивалентны объекту автоматизации и его технологическим режимам. В работе
видны отклонения расхода аммиака, а соответственно и показателя кислотно-щелочного
баланса питательной воды в трубопроводе, т.е. система нуждается в регуляторах,
обеспечивающих стабилизацию технологических параметров в соответствии с
заданием.
2.2 Описание
методики и расчет параметров настройки регулятора
В состав системы регулирования входят три контура:
− контур регулирования развития угловой
скорости электродвигателем;
− контур регулирования расхода аммиака;
− контур регулирования
кислотно-щелочного баланса питательной воды в трубопроводе.
Как показывает практика построения систем автоматического регулирования,
для систем, содержащих несколько контуров регулирования, целесообразно
применение подчиненного регулирования координат.
Применение подчиненного регулирования координат в рассматриваемом случае
позволит повысить надежность, системы, поскольку при разрыве внутреннего
контура, например, вследствие обрыва кабель-трассы датчика, регулятор внешнего
контура сыграет роль компенсатора и не позволит переходному процессу выйти
из-под контроля. Кроме того, применение каскадного регулирования улучшает
динамические показатели системы за счет превентивной отработки возмущений по
развитию скорости электродвигателем, не допуская влияния их на показатель
кислотно-щелочного баланса.
Проведём синтез регуляторов с подчиненным регулированием координат, и
будем настраивать контуры регулирования на желаемый вид апериодического звена.
При настройке на апериодическое звено перерегулирование должно отсутствовать.
Предварительно определим значения коэффициентов перегрузки, учитывая
данные по номинальных и максимальным значениям выходных координат контуров,
представленным в таблице 2.2.
Таблица 2.2 - Коэффициенты перегрузки и данные для их расчета
|
Угловая скорость, рад/с
|
Расход аммиака, м3/ч
|
Показатель pH
|
|
Номинальное значение
|
314
|
65
|
9,1
|
|
Максимальное значение
|
314
|
100
|
9,2
|
Контур регулирования угловой скорости включает в себя частотный
преобразователь и электродвигатель. Выходной координатой у этого контура
является угловая скорость в рад/с.
Номинальное задающее напряжение равно (2.10)
(2.10)
Произведём
расчет регулятора для контура угловой скорости электродвигателя. Схема контура
регулирования угловой скорости показана на рисунке 2.7.
Рисунок
2.7 - Схема контура регулирования угловой скорости
Коэффициент
обратной связи контура регулирования угловой скорости (2.11):
(2.11)
Передаточная
функция регулятора для контура регулирования угловой скорости равна отношению
желаемой передаточной функции к исходной передаточной функции контура (2.12)
(2.12)
, (2.13)
(2.14)
(2.15)
(2.16)
Исходя
из формулы (2.12) находим передаточную функцию регулятора для этого контура
регулирования (2.17)
(2.17)
Производим
расчёт замкнутого контура, по формуле (2.18)
=
(2.18)
Проведённый
опыт в приложении Siumulink пакета MatLab имеет вид (рисунок 2.8)
Рисунок
2.8- Переходный процесс по контуру регулирования угловой скорости
Рассчитаем
регулятор для контура регулирования расхода аммиака. Данный контур включает в
себя преобразователь частоты, электродвигатель, насос дозатор аммиака. Выходной
координатой контура является расход аммиака.
Номинальное
задающее напряжение равно (2.19)
(2.19)
Схема
контура регулирования расхода аммиака показана на рисунке 2.9.
Рисунок
2.9 - Схема контура регулирования расхода аммиака
Коэффициент
обратной связи контура регулирования расхода аммиака равен (2.20):
(2.20)
Передаточная
функция регулятора для контура регулирования расхода аммиака равна отношению
желаемой передаточной функции к исходной передаточной функции контура (2.21):
(2.21)
, (2.22)
(2.23)
(2.24)
(2.25)
(2.26)
Применяя
формулу (2.24) находим исходную передаточную функцию контура регулирования
аммиака (2.27)
(2.27)
Отсюда
по формуле (2.21) находим передаточную функцию регулятора для контура
регулирования расхода аммиака (2.28):
Проведённый
опыт в приложении Siumulink пакета MatLab имеет вид (рисунок2.10)
Рассчитаем
регулятор для контура регулирования показателя кислотно-щелочного баланса
питательной воды в трубопроводе. Данный контур включает в себя частотный преобразователь,
электродвигатель, насос дозатор аммиака подающий аммиак в трубопровод. Выходной
координатой контура является показатель кислотно-щелочного баланса воды.
Рисунок
2.10- График переходного процесса по контуру расхода аммиака
Номинальное
задающее напряжение равно (2.29)
(2.29)
Схема
контура регулирования показателя кислотно-щелочного баланса воды показана на
рисунке 2.11.
Рисунок
2.11 - Схема контура регулирования показателя кислотно-щелочного баланса
питательной воды в трубопроводе
Коэффициент
обратной связи контура регулирования температуры смеси в рабочей емкости равен
(2.30):
(2.30)
Передаточная
функция регулятора для контура регулирования показателя кислотно-щелочного
баланса воды в трубопроводе равна отношению желаемой передаточной функции к
исходной передаточной функции контура (2.31):
(2.31)
, (2.32)
с. (2.33)
(2.34)
(2.35)
(2.36)
Применяя
формулу (2.35) находим исходную передаточную функцию контура регулирования
показателя кислотно-щелочного баланса воды (2.37)
(2.37)
Отсюда
по формуле (2.31) находим передаточную функцию регулятора для контура
регулирования показателя кислотно-щелочного баланса (2.38):
(2.38)
Модель
замкнутого контура регулирования показателя кислотно-щелочного баланса
питательной воды в трубопроводе представлена на рисунке 2.12.
Рисунок
2.12 - Модель замкнутого контура регулирования показателя pH
Н
t, c
Рисунок 2.13 - График переходного процесса по контуру регулирования
показателя pH
Для проверки работоспособности регулятора подадим возмущение, равное 1pH в момент времени 10 секунд.
График переходного процесса по контуру регулирования показателя
кислотно-щелочного баланса питательной воды в трубопроводе представлен на
рисунке 2.13. Из графика переходного процесса видно, что установившееся
значение равно 9,1. Перерегулирование, как и следует при настройке на
апериодическое звено, отсутствует. Как видно из графика, регулятор успешно
отрабатывает возмущения.
Задача синтеза регулятора успешно решена.
Заключение
В ходе выполнения курсового проекта было осуществлено изучение
технологического процесса регулирования показателя кислотно-щелочного баланса
питательной воды подаваемой в котельный цех теплоэнергоцентрали. Проведенное
исследование показало, что присутствует необходимость ручного регулирования
кислотно-щелочного баланса в трубопроводе, что может приводить к отклонению его
показателя от регламентных значений и поломку оборудования котельного цеха.
В связи с чем, было предложено разработать систему автоматического
регулирования показателя кислотно-щелочного баланса питательной воды.
Для создания эффективной АСУТП в проекте были сформулированы требования к
технологическому оборудованию, а также средствам измерения и управления:
измерительному pH-метру, управляющему
контроллеру, электродвигателю, насосу дозатору аммиака.
Математической основой разработки АСУ явилось моделирование исходной
системы и оценка показателей качества ее функционирования. Учитывая полученные
результаты, в курсовом проекте был произведен синтез системы регулирования и
произведен компьютерный эксперимент с моделью скорректированной системы,
доказавший эффективность разработанной системы регулирования.
аммиачный обработка вода
Список
использованных источников
1. Федоров
Ю.Н. Справочник инженера по АСУТП: проектирование и разработка:
учебно-практическое пособие.-М.:Инфра-Инженерия, 2008.-928с.:ил.
2. Основы
автоматизации техпроцессов: учеб.пособие для вузов/ А.В.Щагин, В. И. Демкин,
В.Ю.Кононов, А.Б.Кабанова.- М.:Выш.образование,2009.-163с.
. Пескова
С.А. Сети и телекоммуникации: учеб. пособие для вузов/ С.А.Пескова, А.
В.Кузин,А.Н.Волков.-4-е изд.,стер.-М.: Академия, 2009.-352с
. Харазов
В.Г. Интегрированные системы управления технологическими процессами: учеб.
пособие для вузов.-СПб.:Профессия, 2009.- 592с. :ил.
. Бигус
Г.А. Техническая диагностика опасных производственных объектов/Г.А.Бигус,
Ю.Ф.Даниев.-М.:Наука,2010.-415с.
. Кангин
В.В. Аппаратные и программные средства систем управления: промышленные сети и
контроллеры: учеб. пособие для вузов/ В.В.Кангин,В.Н.Козлов.-М.:Бином.
Лаборатория знаний, 2010.-418с.:ил.
. Молчанов
А.Ю. Системное программное обеспечение: учебник для вузов.-3-е изд.-
СПб.:Питер,2010.-400с.:ил.
. Шандров
Б.В. Технические средства автоматизации: учебник для вузов/Б.В.Шандров,А.Д.Чудаков.-2-е
изд.,стер.-М. : Академия,2010.-368с.
. Иванов
А.А. Автоматизация технологических процессов и производств:учеб. пособие для
вузов.-М.:Форум,2011.-224 с.
. Орлов
С.А. Технологии разработки программного обеспечения: Разработка сложных
программных систем: Учебник для вузов.- 3- е изд.-СПб.:Питер,2004.-527с.:ил.
. Андреев
Е.Б. Программные средства систем управления технологическими процессами в
нефтяной и газовой промышленности:учеб. пособие для вузов/Е.Б.Андреев,
В.Е.Попадько.-М.:ФГУП Издво "Нефть и газ" РГУ нефти и газа им.
И.М.Губкина.Ч.1.-2005.-268с.
. Проектирование
систем автоматизации технологических процессов: Справочное пособие/ А.С. Клюев,
Б.В. Глазов, А.Х. Дубровский, А.А. Клюев; Под ред. А.С. Клюева.-2-е изд.,
перераб. И доп.-М.: Энергоатомиздат, 1990.-464 с.: ил.
. Андреев
Е.Б. Технические средства систем управления технологическими процессами в
нефтяной и газовой промышленности: учеб.пособие для вузов/Е. Б.
Андреев,В.Е.Попадько.-М.:ФГУП Изд-во "Нефть и газ" РГУ нефти и газа им.
И.М.Губкина,2005.-270с.
. Щагин
А.В. Основы автоматизации техпроцессов: учеб.пособие для вузов/А.В. Щагин, В.
И. Демкин, В.Ю.Кононов,А.Б. Кабанова.- М.: Выш.образование,2009.- 163с.