Проектирование системы атмосферной оптической связи
Введение
В настоящее время на мировом рынке САОС прочно заняли
определенную нишу, так как эта технология является вполне достойным конкурентом
стационарной радиосвязи в корпоративных сетях передачи данных.
В большинстве подобных систем доминирующим источником
оптического излучения является полупроводниковый лазер. Но когда речь идет о
решении специальных задач, в которых оптическая связь должна поддерживаться на
больших расстояниях и иметь повышенную скрытность, применение СО2-лазера
неоспоримо.
Влияние атмосферы сказывается в ослаблении луча
метеорологическими факторами. Это дождь, снег, туман, песчаная буря, а также
техногенные аэрозоли. Дополнительными факторами уменьшения мощности излучения в
плоскости приема служат турбулентные образования в атмосфере и их
взаимодействие с когерентным излучением лазера. Это приводит к «дрожанию» луча
и к его «пятнистости» в плоскости приема. Птицы практически не пересекают
трассу луча, так как они хорошо видят в этом диапазоне спектра. Основным
параметром, описывающим процесс взаимодействия оптического излучения с
атмосферой, является метеорологическая дальность видимости (МДВ).
Специфическими помехами являются естественные (влияние
атмосферы, турбулентность, и т.п.), искусственные (распыленные аэрозоли на пути
распространения луча, дым от котельных, заводов и т.п.), внутренние
(собственные шумы приемника).
Целью дипломной работы является задача расчета системы
атмосферной оптической связи на основе СО2-лазера с быстрой
перестройкой рабочей длины волны излучения.
Патентный поиск
В ходе этой работы был произведен патентный поиск, систем
атмосферной оптической связи на основе СО2-лазера с быстрой
перестройкой рабочей длины волны излучения. В ходе патентного поиска не было
найдено подобных свидетельств, что указывает на то, что использование быстрой
перестройки является нововведением. Цель работы - расчёт системы атмосферной
оптической связи.
1. Система атмосферной оптической связи
1.1 Структурная схема АОЛС
Обобщенная структурная схема оптической
линии связи, позволяющая выявить особенности ее работы, приведена на рисунке 1.
Как видно из схемы, структурный состав элементов по своему функциональному
назначению почти аналогичен структурному составу классической системы
радиосвязи [1].
В состав ОЛС входят: источники информации;
оптический передатчик, состоящий из лазера и оптического модулятора; оптические
антенны передатчика и приемника; оптический узкополосный фильтр; оптический
приемник; декодирующее устройство, структура которого определяется методом
приема (при посимвольном приеме это - пороговое устройство и схема принятия
решения, при приеме в целом - набор корреляторов или согласованных фильтров и
схемы принятия решения), и другие элементы, назначение которых следует из их
наименований. Отдельные элементы схемы, показанные пунктиром, не являются
обязательными и могут быть опущены в зависимости от назначения ОЛС, метода
приема, числа передаваемых каналов и т.д.
Рассмотрим более подробно структуру
оптического приемника. В настоящее время в практике проектирования, как правило,
используются две основные схемы оптических приемников: прямого детектирования и
супергетеродинная (гетеродинная и гомодинная).
Оптический приемник прямого детектирования
состоит из оптического - полосового фильтра, предназначенного для ослабления
фонового излучения, фотодетектора (ФД) и электрического фильтра. В принципе,
«отклик» ФД в рабочем диапазоне спектра не зависит от частоты, фазы и
поляризации несущей. Поэтому приемник, прямого детектирования принимает сигналы
только с модуляцией по амплитуде (AM) или по интенсивности (ИМ). Для приема сигналов
с другими видами модуляции перед приемником прямого детектирования
устанавливается преобразователь модуляции, преобразующий любой вид модуляции в
модуляцию амплитуды или интенсивности оптического сигнала.
а) передающего устройства; б) приемного устройства:
- лазер; 2 - оптический фильтр; 3 - полуволновая пластинка;
- оптическая антенная система; 5 - генератор накачки;
- подмодулятор; 7 - система программного управления;
- источник литания; 9 - источники аналоговой информации; 10 -
электрические модуляторы; 11 - кодирующее устройство;
- источник цифровой информации; 13 - генератор поднесущей частоты;
14 - генератор кода; 15 - система поиска и автосопровождения;
- оптический фильтр, 17 - оптический квантовый усилитель;
- оптический приемник; 19 - радиоприемник,
- декодирующее устройство.
Обобщенная структурная схема ОЛС
Одной из важнейших особенностей оптического диапазона волн
является то, что при очень слабых оптических полях, действующих на АОЛС, ФД
может работать в режиме счета числа фотонов (фотоэлектронов). Эта особенность
практически проявляется при s
, где s - среднее число фотоэлектронов, покидающих фотокатод в течение
времени разрешения ФД:
,
где
- полоса пропускания ФД.
Оптический гетеродинный приемник состоит из полосового оптического
фильтра, полупрозрачного зеркала, предназначенного для пространственного
комбинирования сигналов оптической несущей и оптического гетеродина, частота
которого отличается от несущей на требуемое значение промежуточной частоты, ФД
смесителя и электрического полосового фильтра, настроенного на промежуточную
частоту. Полученный после фильтра сигнал промежуточной частоты обрабатывается в
дальнейшем обычными радиотехническими устройствами. Гетеродинный приемник
обеспечивает высокую чувствительность и позволяет принимать сигналы с
амплитудной, частотной и фазовой модуляцией.
Выбор типа оптического приемника в основном определяется видом
модуляции передаваемого сигнала, характером и уровнем помех, действующих на
ОЛС, назначением, условиями работы и конкретными требованиями, предъявляемыми к
ОЛС.
Анализ помехоустойчивости при различных способах передачи и приема
сигналов позволит сравнить АОЛС между собой, а также сравнить реальные системы
или субоптимальные с оптимальными с целью их дальнейшего усовершенствования.
Информационный сигнал в кодирующем устройстве преобразуется в вид,
удобный для модуляции, затем поступает в подмодулятор-усилитель и далее - в
цепь возбуждения модулятора. С помощью внешнего или внутреннего модулятора
осуществляется модуляция лазерного излучения по амплитуде, интенсивности,
частоте, фазе или поляризации. Модулированный лазерный луч коллимируется
оптической антенной передатчика. С помощью оптической приемной антенны сигнал
фокусируется на оптический приемник. Выходным сигналом оптического приемника
является электрический сигнал. Последующие электрические цепи образуют
радиоприемник; в нем осуществляются операции по выделению информационного
сигнала. В гетеродинной системе связи и в системе связи на поднесущей частоте в
радиоприемнике должно осуществляться также частное преобразование или «перенос»
сигнала в низкочастотную область [2].
Соотношение между переданной и принятой энергией сигнала
описывается уравнением дальности действия системы связи. Это уравнение
характеризует распространение излучения в канале связи, потери за счет
естественного расхождения луча в свободном космическом пространстве и
ослабление сигнала при прохождении в отдельных трактах и компонентах (составных
элементах) системы связи.
Потери энергии несущей в модуляторе и оптической антенне
передатчика характеризуются коэффициентом передачи передающей системы:
,
где PL - мощность лазера и
- мощность на выходе передающей системы.
Такое определение коэффициента характеризует любые потери энергии, луча в
модуляторе или в антенне передатчика.
1.2 Особенности функционирования (географический
район, окна прозрачности, вид модуляции, способ приема, взаимонаведение)
Рассмотрим особенности функционирования системы связи.
Лазерная линия связи состоит из двух идентичных станций,
устанавливаемых соосно напротив друг друга в пределах прямой видимости - на
крышах или стенах домов или на других высоких подставках. При установке станций
для успешной работы необходимо учитывать следующие рекомендации:
на пути луча не должно быть препятствий, причем с учетом
сезонных изменений (провисания проводов в теплое время года или при
обледенении, появления на деревьях лиственного покрова, рост деревьев, снежные
заносы зимой и т.д.);
не следует устанавливать блоки АЛС на лифтовых шахтах, около
вытяжных вентиляторов, обслуживающих здания машин, колебания которых могут
вызывать отклонение луча;
не следует монтировать блоки АЛС на консольных конструкциях,
металлических надстройках и других сооружениях, которые могут изгибаться под
действием тепловых и ветровых нагрузок;
не следует располагать блоки АЛС вблизи локальных источников
тепла, находящихся в створе проложенной линии (вентиляционных выходов, систем
кондиционирования воздуха, труб промышленных предприятий и т.п.);
при ориентации системы по направлению запад - восток
необходимо учитывать возможные нарушения в работе АЛС в результате засветки
приемника при восходе или заходе солнца;
следует избегать установки систем АЛС в непосредственной
близости от мест скопления птиц, которые также могут создавать помехи для
связи;
необходимо учитывать сильное влияние тумана на надежность АЛС
и прокладывать линию на возможно большей высоте, где густота тумана меньше.
Построение всех станций АОЛС практически одинаково:
интерфейсный модуль, модулятор, лазер, оптическая система передатчика,
оптическая система приемника, демодулятор и интерфейсный модуль приемника.
Передаваемый поток данных от аппаратуры пользователя поступает на интерфейсный
модуль и затем на модулятор излучателя. Затем сигнал преобразуется
высокоэффективным инжекционным лазером в оптическое излучение ближнего
ИК-диапазона (0,81…0,86 мкм), оптикой формируется в узкий пучок
(2…4 мрад) и передается через атмосферу к приемнику. На
противоположном пункте принимаемое оптическое излучение фокусируется приемным
объективом на площадку высокочувствительного быстродействующего фотоприемника
(лавинные или pin-фотодиоды), где детектируется. После дальнейшего усиления и
обработки сигнал поступает на интерфейс приемника, а оттуда на аппаратуру
пользователя. Аналогичным образом в дуплексном режиме одновременно и независимо
идет встречный поток данных. Кроме указанных основных узлов станция АЛС может
быть снабжена монокуляром-целеуказателем и устройством автоматизированной
юстировки. Наряду с этим могут быть предусмотрены системы термостабилизации,
самодиагностики, индикации рабочих параметров и др.
Нарушения в работе систем АЛС, как отмечалось выше, могут
быть связаны с неблагоприятными погодными условиями (сильный туман или
снегопад) и сильной турбулентностью атмосферы (замирания). Радует, что эти два
фактора не совпадают по времени: замирания отсутствуют при тумане и снегопаде,
однако характерны для ясной, солнечной погоды. Поэтому, оценивая надежность
связи, не нужно складывать ослабления сигнала из-за этих двух факторов. К
атмосферным потерям следует добавить еще так называемые геометрические потери
сигнала, зависящие от протяженности линии и угловой расходимости излучения.
Например, при расходимости луча в 4 мрад, расстоянии 250 м и диаметре объектива
приемника 10 см геометрические потери составляют 20 дБ, то есть улавливается
всего 1% мощности лазера. С увеличением расстояния в два раза потеря мощности
сигнала на фотоприемнике увеличивается в 4 раза. Уменьшение угловой
расходимости может привести к росту потерь из-за турбулентности атмосферы.
Доступность линии АЛС зависит от допустимого ослабления
мощности сигнала между передатчиком и приемником на заданном расстоянии между
терминалами и от статистики распределения метеорологической дальности видимости
(МДВ) в месте установки линии. Чем больше запас мощности системы, тем меньше
погодные условия влияют на работоспособность линии.
Что касается работы системы атмосферной оптической связи в
различных географических районах, то при разработке системы связи необходимо
учитывать этот факт, ориентируясь на те, наиболее вероятные, погодные условия в
которых предстоит работать системе.
Атмосфера представляет собой механическую смесь из газов,
паров, капель жидкости и твердых частиц. В ней всегда в переменном количестве
присутствуют пыль, дым, кристаллики льда. Поэтому атмосфера является аэрозолем,
состав которого непрерывно изменяется из-за перемешивания. Говоря об
аэрозольном рассеянии в общем, имеют в виду аэрозольное ослабление,
обусловленное не только рассеянием, но и поглощением излучения частицами
аэрозоля. В атмосфере существуют так называемые «окна прозрачности», проходя
через которые излучение подвергается ослаблению в меньшей степени, чем вне
«окон», поэтому следует выбирать те рабочие длины волн, которые испытывают
наименьшее ослабление при распространении.
Процесс модуляции оптического излучения сводится к изменению
амплитуды, интенсивности, частоты, фазы или поляризации колебания несущей
частоты в соответствии с информационным сигналом, предназначенным для передачи
по связному каналу. Оптический канал связи вследствие высокой несущей частоты
обладает большой информативностью. Это свойство позволяет реализовать передачу
сверхширокополосной информации. В видимом и ближнем инфракрасном участках
оптического диапазона (1014 - 8*1014 Гц) принципиально
возможны полосы частот модуляции с верхним пределом 1011…1012
Гц. Для передачи больших объемов информации необходимы широкополосные
оптические модуляторы [1].
Метод модуляции светового сигнала выбирается в каждом
конкретном случае в зависимости от вида передаваемой информации и требований,
предъявляемых к интенсивности светового потока, мощности модулирующего сигнала,
коэффициенту модуляции, импульсному или непрерывному режиму работы и т.д. К
оптическим модуляторам предъявляются следующие основные требования:
широкополосность, линейность модуляционной характеристики, большой динамический
диапазон, отсутствие нелинейных искажений и экономичность в потреблении
энергии.
Методы модуляции излучения оптических квантовых генераторов
делятся на два класса: методы внутренней модуляции и методы внешней модуляции.
Под внутренней модуляцией подразумевается воздействие на когерентный сигнал в
процессе его генерирования, т.е. внутренняя модуляция воздействует на сигнал
несущей частоты в самом генераторе. При внешней модуляции излученный свет
подвергается воздействию вне лазера. Чаще всего сигналы, несущие информацию,
влияют тем или иным образом на вещество, через которое проходит выходящий из
лазера луч.
Методы модуляции обычно классифицируются по изменяемому
параметру модулируемого сигнала. В оптических системах возможны амплитудная,
частотная, фазовая и поляризационная модуляции. Модуляция интенсивности
излучения может рассматриваться как частный случай амплитудной. В оптических
системах связи применяются два режима модуляции: без поднесущей и с поднесущей.
В первом режиме несущая (собственно излучение лазера) модулируется
непосредственно информационным сигналом. Во втором режиме информационным
сигналом модулируется СВЧ поднесущая, а затем последняя модулирует оптическую
несущую.
В оптическом диапазоне волн, как и в радиодиапазоне, широко
используются аналоговая, импульсная и цифровая модуляции. При аналоговой
модуляции непрерывному изменению амплитуды информационного сигнала
соответствует плавное изменение амплитуды, частоты, фазы или интенсивности
колебания несущей частоты (аналоговые AM, ЧМ, ФМ, МИ). Аналоговая
поляризационная модуляция (аналоговая ПМ) может быть двух видов: линейная и
круговая (циркулярная). При линейной ПМ угол вектора поляризации линейно-поляризованного
колебания по отношению к опорному направлению пропорционален амплитуде
информационного сигнала; при круговой ПМ отношение интенсивностей несущего
колебания правого и левого круговых поляризованных состояний пропорционально
амплитуде информационного сигнала.
При импульсной модуляции амплитуда, частота несущей или
интенсивность оптических импульсов изменяются пропорционально отсчету амплитуды
информационного сигнала (АИМ, ЧИМ, ИМИ). Широтно-импульсная модуляция (ШИМ)
характеризуется изменением длительности оптического импульса в соответствии с
изменением отсчета амплитуды информационного сигнала (начало импульса
соответствует моменту отсчета). Позиционно-импульсная модуляция (ПИМ)
характеризуется временной задержкой сигнального оптического импульса
относительно опорного, пропорциональной отсчету амплитуды информационного
сигнала. При счетно-импульсной модуляции (СИМ) число оптических импульсов
короткой длительности, укладывающихся в эталонный временной интервал,
пропорционально отсчету амплитуды информационного сигнала.
При цифровой модуляции каждому квантованному по времени и
амплитуде отсчету информационного сигнала сопоставляется дискретная группа
символов или код. Обычно кодовый набор представляет собой двоичную
последовательность (единицы и нули), соответствующую определенной цифре, равной
квантованному значению амплитуды информационного отсчета. Такое кодирование
информации называется кодово-импульсной модуляцией (КИМ). При двоичной КИМ
сигналы двоичной последовательности различаются по амплитуде (интенсивности),
частоте, фазе или поляризации. Так, КИМ-МИ (КИМ-AM) при передаче единицы или
нуля кодового набора характеризуется различными значениями интенсивности
(амплитуды) оптического колебания (например, при передаче единицы интенсивность
максимальна, при передаче нуля - минимальна). При КИМ-ЧМ единице кодового
набора соответствует одно значение частоты несущего оптического колебания, нулю
- другое значение. При кодово-импульсной фазовой модуляции (манипуляции) КИМ-ФМ
фаза несущего оптического колебания манипулируется по отношению к опорной фазе
на фазовый угол, равный нулю или я рад в соответствии с единицей или нулем
кодового набора. Кодово-импульсную поляризационную модуляцию (манипуляцию)
КИМ-ПМ можно осуществить в двух вариантах: линейно-ортогональном и
циркулярно-ортогональном. В первом случае единицы или нули различаются
линейными ортогональными поляризациями оптического излучения (например,
вертикальная поляризация соответствует единице, горизонтальная - нулю). Во
втором случае единице соответствует правая круговая поляризация, а нулю левая.
Ниже показана классификация методов оптической модуляции.
Классификация методов оптической модуляции
|
Вид модуляции
|
Представление
модулированного оптического сигнала
|
|
Аналоговая
|
АМ, ЧМ, ФМ, ПМ,
МИ
|
|
Импульсная
|
АИМ, ЧИМ, ИМИ,
ШИМ, ПИМ, СИМ
|
|
Цифровая
|
КИМ-АМ, КИМ-МИ,
КИМ-ЧМ, КИМ-ФМ, КИМ-ПМ
|
В оптическом диапазоне указанные методы модуляции реализуются
на основе различных физических принципов. Для модуляции интенсивности и
амплитуды излучения используются электрооптический, пьезоэлектрический и
акустооптический эффекты, а также эффект фотоупругости. Кроме того, вариации
поглощения в средах и изменения мощности накачки лазеров (особенно
полупроводниковых) также приводят к модуляции интенсивности оптического
излучения. Частотную модуляцию оптического колебания можно получить при помощи
эффектов Зеемана и Штарка, при вариациях длины резонатора лазера, а также при
помощи пьезоэлектрического, акустооптического, магнитооптического и
электрооптического эффектов. Для реализации фазовой и поляризационной модуляций
используют магнитооптический и электрооптический эффекты.
Определенными достоинствами обладает внутренняя модуляция
лазеров, при которой модулирующий элемент помещается внутрь резонатора лазера.
При этом изменяются оптическая длина резонатора или его потери, что приводит к
частотной или амплитудной модуляции света, генерируемого лазера. При совпадении
частот модуляции и межмодовых биений генерируются либо короткие импульсы, либо
частотно-модулированный сигнал с большой девиацией частоты.
Далее рассматриваются принципы модуляции и некоторые
конструктивные варианты модуляторов, нашедшие наиболее широкое применение в
оптических системах связи.
На рисунке 2 показана типовая конфигурация
оптической антенной системы передатчика, которая формирует в пространстве
коллимированный пучок кругового сечения. Вследствие явления дифракции
расхождение луча в дальней зоне обратно пропорционально диаметру апертуры
оптической антенны передатчика. На больших расстояниях от передатчика диаметр
сечения идеально коллимированного луча пренебрежимо мал по сравнению с размером
сечения дифрагированного луча [2].
Схемотехническое изображение типовой
оптической антенны.
Взаимонаведение систем связи может
осуществляться как вручную (юстировка, установка приемо-передающих блоков
соосно друг другу), так и автоматически (автоматизированная система наведения).
1.3 Выбор основных функциональных блоков
Функциональная схема состоит из следующих блоков [3]:
блок обработки принимает сигналы от различных стандартных
устройств (телефона, факса, цифровой АТС, локальной компьютерной сети) и
преобразует их в приемлемую для передачи лазерным модемом форму;
преобразованный сигнал передается электронно-оптическим блоком
в виде инфракрасного излучения;
на приемной стороне собранный оптической системой свет падает
на фотоприемник, где преобразуется обратно в электрические сигналы;
усиленный и обработанный электрический сигнал поступает на
блок обработки сигналов, где восстанавливается в первоначальном виде.
1, 11 - телефон; 2, 12 - факс; 3,13 - цифровая АТС;
, 14 - локальная компьютерная сеть; 5, 10 - блок обработки
сигналов; 6 - электронно-оптический блок; 7 - фотоприемник;
- преобразователь; 9 - усилитель
Функциональная схема системы связи
Передача и прием осуществляются каждым из
парных модемов одновременно и независимо друг от друга. Лазерные модемы
устанавливаются таким образом, чтобы оптические оси приемопередатчиков
совпадали. Основную сложность представляет собой юстировка направления
оптических осей приемопередатчиков. Угол расходимости луча передатчика
составляет у разных моделей от нескольких угловых минут до 0,5o, и
точность юстировки должна соответствовать этим значениям.
После установки приемопередающих блоков
необходимо подключить их к кабельным сетям в обоих зданиях. Существует
множество моделей устройств с самыми разнообразными интерфейсами, однако, в
отличие от поставщиков оборудования для радиосвязи, производители систем
беспроводной оптики придерживаются следующей общей идеологии подключения: линия
лазерной связи представляет собой эмуляцию отрезка кабеля (две витые пары или
две жилы оптического кабеля). Таким образом, для всех устройств, используемых в
кабельной сети связываемых зданий, эта линия не видна; она не накладывает
каких-либо ограничений на оборудование, не требует дополнительных протоколов
связи или изменений / дополнений к таким протоколам. Передача сигналов по
беспроводному оптическому соединению осуществляется так же, как по оптическому
волокну. Различаются лишь среды, в которых распространяется луч.
Связанные при помощи беспроводной оптики
локальные сети функционируют так, как если бы их соединили выделенным кабелем.
Некоторые модели лазерных модемов имеют совмещенные интерфейсы к сети Ethernet
и потокам Е1. В результате одна атмосферная линия связи может соединить LAN и
телефонные сети зданий без использования мультиплексора.
Важнейшее свойство беспроводной оптической
связи - высокая степень защищенности канала от несанкционированного доступа.
Это является следствием самой природы лазерной передачи сигнала, а не
обеспечивается какими-либо специальными методами. Осуществить перехват канала
технически весьма трудно - в силу острой направленности луча и применения
уникального для каждой модели метода кодирования информации импульсами
излучения. Тем не менее для обнаружения попыток несанкционированного доступа
разработан ряд мер, основанных на разнообразных принципах - обращения волнового
фронта, анализа изменения принимаемого сигнала и др., что еще больше повышает
защищенность канала связи.
Рабочая длина волны, скорость передачи
информации и другие особенности работы системы связи (такие, например, как
место расположения передатчика или приемника - на Земле или на борту
космического аппарата) определяют природу функциональных зависимостей между
главными параметрами системы и расходами на компоненты системы. На практике эти
зависимости моделируются степенными рядами, что облегчает выкладки и вычисления
[2].
Антенна передатчика. Вес и стоимость
изготовления оптической антенной системы передатчика зависят от диаметра
антенны. Обычно антенна передатчика проектируется так, чтобы расходимость луча
определялась дифракционным пределом. Этим самым достигается максимальная
пространственная плотность мощности на приемнике. Для малых передающих антенн
вес их пропорционален площади и, следовательно, пропорционален квадрату
диаметра. Для больших антенн, если последние снабжены оборудованием,
обеспечивающим необходимую жесткость конструкции для работы на дифракционном
пределе, вес пропорционален объему.
Приемная антенна. Вес и стоимость
изготовления оптической системы приемника зависят от диаметра антенны.
Поскольку приемная антенна не всегда проектируется для условий работы на
дифракционном пределе, ее конструкция и точность поддерживающей механической
структуры не так жестко и напряженно связаны, как для передающей антенны.
Система нацеливания антенны передатчика.
Типичная система нацеливания состоит из блока карданова подвеса, на который
монтируется антенна передатчика, и соответствующей системы управления, которая
нацеливает антенну в сторону приемника. Вес системы нацеливания антенны
передатчика относительно слабо зависит от точности нацеливания; ее вес
пропорционален весу антенны передатчика, который, в свою очередь, зависит от
диаметра антенны передатчика. Стоимость изготовления оборудования нацеливания
обратно пропорциональна ошибке нацеливания передатчика. Ошибка нацеливания
обычно определяется в процентах от ширины луча передатчика. Так как антенна
передатчика изготавливается, исходя из условий работы на дифракционном пределе,
то стоимость изготовления оборудования нацеливания пропорциональна диаметру
апертуры передатчика. Требуемая электрическая мощность для системы нацеливания
антенны передатчика в основном зависит от веса антенны.
Система нацеливания антенны приемника. Вес
системы нацеливания приемника слабо зависит от точности нацеливания приемника;
ее вес пропорционален весу антенны приемника, который, в свою очередь, зависит
от диаметра приемной антенны. Стоимость изготовления оборудования нацеливания
приемника обратно пропорциональна величине ошибки нацеливания приемника.
Последняя определяется в процентах от поля зрения приемника. Величина мощности,
требуемой для обеспечения функционирования системы нацеливания приемника, в
основном зависит от веса приемной антенны.
Передатчик. Для данной длины волны
излучения (в определенных пределах) вес и стоимость лазерного передатчика
зависят от мощности передатчика. Требуемая электрическая входная мощность прямо
пропорциональна выходной мощности передатчика.
Система энергообеспечения передатчика.
Стоимость изготовления и вес системы электрического энергообеспечения и
аппаратуры преобразования энергии в передатчике зависят от потребляемой
электрической мощности системы нацеливания антенны, передатчика и модулятора.
Система энергообеспечения приемника.
Стоимость изготовления и вес системы электрического энергообеспечения и
аппаратуры преобразования зависят от требуемых мощностей системы нацеливания и
аппаратуры связного приемника.
Анализ канала связи. Влияние фонового
излучения. Уровень фонового излучения характеризуется спектральной плотностью
мощности, приходящейся на единицу частоты и на единицу телесного угла. Мощность
фонового излучения на входе оптического приемника находится интегрированием
фоновой спектральной облученности по полосе входного фильтра и по полю зрения
приемника.
Влияние атмосферы. При распространении
оптических сигналов в атмосфере наблюдаются потери, обусловленные поглощением и
рассеянием излучения частицами атмосферы. Эти потери количественно
характеризуются коэффициентом пропускания атмосферы та, значение
которого зависит от рабочей длины волны. В случае использования гетеродинного
или гомодинного оптического приемника необходимо помнить, что турбулентность
атмосферы накладывает предел на размер приемной апертуры.
Оценка системы связи. Вероятность ошибочного приема. Для
каждого типа приемника вероятность ошибочного приема может быть выражена в
зависимости от мощности лазерного передатчика, диаметра антенны передатчика,
диаметра антенны приемника, поля зрения приемника, параметров приемника, уровня
фонового излучения, температуры приемника, полосы пропускания приемника,
характеристик трассы канала, рабочей длины волны и дальности связи.
2. Оптический передатчик на основе СО2-лазера
.1 Высокочастотное возбуждение активной среды
Газовый лазер - лазер с активной средой в виде газов, паров
или их смесей. Как и всякий лазер, газовый лазер содержит активную среду,
обладающую усилением на одной или нескольких линиях в оптическом диапазоне
спектра, и оптический резонатор (в простейшем случае состоящий из двух зеркал,
между которыми помещена активная среда).
Особенности газового лазера определяются свойствами активной
среды, плотность которой меняется в широких пределах (давление от 10-3
мм рт. ст. до десятков атмосфер), однако она значительно меньше, чем в
конденсированных средах. По этой причине газовая активная среда в большинстве
случаев прозрачна в широкой области спектра и обладает узкими линиями
поглощения и излучения. Газовые лазеры могут генерировать узкие линии
излучения, лежащие в широкой области спектра, в т. ч. и в далекой
коротковолновой (где нет прозрачных конденсированных сред). Газовые лазеры
позволяют получать предельно узкие и стабильные линии генерации. Малая
плотность активной среды определяет малость температурных изменений показателя
преломления. Это позволяет сравнительно легко получать с газовым лазером
предельно малую (дифракционную) расходимость излучения. Многообразие физических
процессов, приводящих к образованию инверсии населенностей, создает большое
разнообразие типов, характеристик и режимов работы газового лазера. Возможность
быстрой прокачки газовой активной среды через оптический резонатор позволила в
газовом лазере достичь рекордно больших средних мощностей излучения [2].
Газовые лазеры, работающие в непрерывном и импульсном
режимах, существенно различаются как конструктивно, так и по характеристикам.
Для непрерывной генерации требуется, чтобы механизм накачки обеспечивал
стационарную во времени инверсию населенностей уровней рабочего перехода. Для
этого необходимо эффективное возбуждение верхнего и возможно быстрый распад
(опустошение) нижнего уровней. В импульсном режиме можно обеспечить высокую
скорость накачки и легче избежать перегрева активной среды.
По характеру возбуждения активной среды газовые лазеры
принято подразделять на следующие классы: газоразрядные лазеры, газовые лазеры
с оптическим возбуждением, газовые лазеры с возбуждением заряженными частицами,
газодинамические лазеры, химические лазеры. По типу переходов, на которых
возбуждается генерация газового лазера, различают газовые лазеры на атомных
переходах, ионные лазеры, молекулярные лазеры на электронных, колебательных и
вращательных переходах молекул и эксимерные лазеры.
По механизмам образования инверсии населенностей выделяют
газовые лазеры с возбуждением электронным ударом, с передачей возбуждения от
частиц вспомогательных газов, рекомбинационные газовые лазеры, газовые лазеры с
прямым оптическим возбуждением, фотодиссоциационные газовые лазеры и др. В ряде
случаев реализуются комбинированное возбуждение и сложные механизмы инверсии. С
газового лазера получена генерация на более чем 6000 отдельных линиях в очень
широкой области спектра от вакуумного УФ до субмиллиметровых волн. Газовому
лазеру посвящается примерно половина научных публикаций по лазерам, из них
более 60% - газоразрядным лазерам. Конструктивные особенности, мощность
генерации, кпд и др. характеристики газового лазера меняются в очень широких
пределах. Большое число газовых лазеров различных типов выпускается серийно.
Лазерным источником излучения, который легко можно изготовить
в виде, пригодном для использования в оптической связи, является четырехуровневый
газовый лазер на углекислом газе, работающий на длине волны 10,6 мкм. Как и в
большинстве газовых лазеров, верхний лазерный уровень заселяется прямо или
косвенно за счет электронного возбуждения в газовом разряде. При низких
давлениях, скажем, приблизительно 1/10 атмосферы (или 104 Па), может
использоваться либо разряд, возбуждаемый постоянным током, либо радиочастотный
тлеющий разряд. Самое важное заключается в том, чтобы получить однородный и
непрерывный разряд во всем объеме активной среды. Для получения очень коротких
лазерных импульсов (менее 1 нс) были разработаны сложные методы накачки,
связанные с использованием разрядов высокой мощности, а для получения очень
высокой мощности в непрерывном режиме (более 100 кВт) - методы непрерывной
накачки газового потока. В качестве источника излучения для целей связи самым
подходящим оказалось компактное отпаянное устройство, способное давать от
нескольких ватт до нескольких десятков ватт мощности в непрерывном режиме
излучения в легко модулируемой форме. С этой целью был специально разработан
конкретный тип волноводного лазера. Перед рассмотрением некоторых особенностей
этой конструкции остановимся на физических основах работы лазера на углекислом
газе.
В большинстве лазеров на СО2 используется смесь
углекислого газа, азота и гелия в пропорции приблизительно 1:2:3
соответственно. Существенную роль, которую играет азот в эффективном
возбуждении верхнего лазерного уровня, можно видеть на упрощенной диаграмме
электронных энергетических уровней. Колебательные уровни азота являются
метастабильными, в результате чего наиболее вероятный способ снятия возбуждения
состоит в резонансной передаче при столкновении с находящейся в основном
состоянии молекулой СО2, которая, таким образом, возбуждается до
уровня 00° 1. Следует отметить, что с каждым колебательным уровнем связано
большое количество близко расположенных, высокоэнергетических вращательных
состояний. В результате могут возбуждаться многие лазерные переходы в области
10,6 и 9,6 мкм, а также на близлежащих длинах волн. Близость лазерного
энергетического уровня к основному наряду с высокой вероятностью возбуждения
уровня 00°1 делают СО2-лазер очень эффективным, причем вполне
достижим общий КПД свыше 10%. Однако это является причиной ограничения выходной
мощности, так как при нагревании газа уровень 0101 становится
термически заселенным, что препятствует снятию возбуждения с нижнего лазерного
уровня. Здесь более предпочтительным является гелий, так как за счет хорошей
теплопроводности он способствует охлаждению разряда, а благодаря снятию
возбуждения в результате столкновения молекул населенность нижнего лазерного
уровня уменьшается быстрее. Достоинством гелия является еще и то, что путем
изменения его давления можно осуществлять некоторое управление распределением
энергии электронов в разряде, а это может использоваться для получения
максимальной скорости возбуждения на верхний энергетический уровень.
Прикладываемое к модулятору напряжение изменяет плоскость
поляризации излучения в резонаторе, а следовательно, и пропорциональную часть
выводимой с помощью дифракционной решетки выходной мощности. Более эффективно
использовать внутрирезонаторную, а не внешнюю модуляцию, которая требует
меньших модулирующих напряжений.
Принцип генерации когерентных «оптических колебаний квантовыми
генераторами основан на явлении вынужденного или индуцированного излучения.
Именно «вынужденность» излучения обусловливает высокую степень когерентности
генерируемых колебаний, направленность и большую спектральную плотность
мощности. Механизм вынужденного излучения квантовыми системами можно строго
объяснить с позиций квантовой электродинамики. Упрощённое объяснение основано
на методе определения коэффициентов вынужденного и спонтанного излучения,
разработанном первые Альбертом Эйнштейном. Ниже на основе последнего метода
выводятся соотношения инверсной населенности, а также условия самовозбуждения и
генерации оптического квантового генератора (ОКГ).
Рассмотрим систему частиц (атомов, молекул или ионов),
находящихся в состоянии термодинамического равновесия. Обозначим общее число
частиц, составляющих систему, через N0. Пусть система характеризуется, среди прочих
других, двумя энергетическими уровнями E1 и Е2.
Населенность этих энергетических уровней обозначим через N1 и N2
(населенность энергетического уровня равна числу частиц с данной энергией в
единице объема). Согласно закону Больцмана населенности этих энергетических
уровней при термодинамическом равновесии выражаются как
,
где Т - абсолютная температура, К; k - постоянная Больцмана.
Эти формулы не учитывают степени вырождения уровней. Соотношение
населенностей имеет вид:
,
где
.
Температура, выраженная через отношение населенностей уровней,
определяется:
.
Согласно этому (соотношению на более высоком энергетическом уровне
(например, Е2) при термодинамическом равновесии всегда находится
меньшее число частиц (т.е.
<
). Такое состояние характеризуется
положительной температурой Т > 0 К. Если система частиц подверглась внешнему
воздействию и частицы перераспределились так, что на верхнем энергетическом
уровне их число стало больше, чем на нижнем, т.е.
>
состояние системы характеризуется «отрицательной» температурой Т
< 0 К.
Разумеется, в природе отрицательных температур не существует, и
такое определение является чисто условным. Состояние системы частиц с условно
отрицательной температурой называется состоянием с инверсной (обратной)
населенностью.
Спонтанные и вынужденные переходы.
Особенности квантовых переходов частиц между энергетическими
уровнями легче всего рассмотреть на примере простейшей двухуровневой системы,
помещенной в резонансную полость [1].
а) резонансное поглощение; б) спонтанное излучение; в) вынужденное
излучение.
Типы квантовых переходов
При переходе частицы на более высокий энергетический уровень ее
энергия возрастает; соответственно на такую же величину уменьшается энергия
внешнего поля. Этот квантовый переход называется переходом с резонансным
поглощением.
Интенсивность резонансных переходов, очевидно, должна зависеть от
плотности энергии внешнего поля, числа частиц на нижнем уровне и специфических
свойств частиц, участвующих в переходах. Тогда число переходов из состояния Е1
в состояние Е2 за время dt составит:
Здесь
- спектральная плотность энергии в
полости, B12 - коэффициент Эйнштейна вынужденного (резонансного)
поглощения для отдельной частицы.
В отсутствие внешнего поля частицы могут переходить с более
высокого уровня на более низкий спонтанно. При этом генерируется спонтанное
излучение. Число спонтанных переходов за время dt определяется выражением:
,
где А21 - коэффициент Эйнштейна для спонтанного
излучения (вероятность спонтанного перехода
в единицу времени для отдельной частицы). Среднее время жизни
частицы в возбужденном состоянии обратно пропорционально вероятности перехода:
Спонтанное излучение является некогерентным.
Внешнее электромагнитное поле индуцирует переходы частиц с высшего
энергетического уровня на низший. Эти так называемые вынужденные переходы
сопровождаются испусканием квантов. Особенностью вынужденных переходов является
то, что внешнее поле «навязывает» испускаемым квантам свою частоту, направление
распространения и поляризацию. В свою очередь, испускаемые кванты
«поддерживают» (усиливают) внешнее поле. Этот взаимосвязанный процесс
обусловливает генерирование когерентного излучения. Число вынужденных переходов
в течение времени dt также зависит от плотности внешнего поля, числа частиц на
верхнем уровне и коэффициента Эйнштейна вынужденного испускания кванта:
Полное число излучательных переходов составляет:
Следовательно, под воздействием внешнего электромагнитного поля
генерируется излучение, состоящее из спонтанного и вынужденного излучений;
последнее является когерентным. В равновесном состоянии системы интенсивности
переход «ввepx» и «вниз» (1
2) равны:
, поэтому:
.
Откуда получим:
Сравнивая последнее выражение с соотношением населенностей по
закону Больцмана, получаем выражение для плотности энергии:
Из физических соображений следует, что при
. Тогда, полагая знаменатель последнего
выражения равным нулю, находим
.
При статистическом равновесии излучение внутри полости
характеризуется спектральной плотностью энергии
, которая определяется формулой Планка:
где Т - температура стенок полости.
Сравнивая выражения для плотностей энергии, получаем:
Коэффициент Эйнштейна А21 для конкретных веществ можно
определить экспериментально. Зависимость между коэффициентами Эйнштейна для
вынужденных и спонтанных переходов В21 и А21 дает
количественное соотношение интенсивностей вынужденного и спонтанного излучений
и является основой теории когерентной генерации оптических квантовых
генераторов.
.2 Выбор конструкции излучателя
В лазерах применяется открытый оптический
резонатор. Резонатор состоит из двух отражающих поверхностей между которыми
помещается активное вещество. В качестве отражающих поверхностей используют
зеркала различной формы - плоские, сферические и др. Расстояние между зеркалами
может составлять от десятых долей миллиметра (полупроводниковые лазеры) до
десятков метров (газовые лазеры на двуокиси углерода). Наибольшее распространение
получили следующие оптические резонаторы: плоскопараллельный, с большим
радиусом кривизны, конфокальный, сферический, вогнуто-выпуклый, полусферический
и полуконфокальный. Тип оптического резонатора определяет частотный спектр и
пространственное распределение поля выходящей из резонатора волны [1].
Для вывода энергии из резонатора применяют
частично отражающие зеркала. Высокодобротные резонаторы характеризуются
коэффициентом отражения зеркал более 99%. Главной функцией оптического
резонатора в лазере является то, что он осуществляет положительную обратную
связь. Часть распространяющегося внутри резонатора излучения отражается
зеркалами и возвращается обратно в активную среду, что приводит к
дополнительному усилению излучения. Положительная обратная связь, а
следовательно, и режим генерации определяются соответствующей фазировкой
отраженной волны. Кроме того, для генерации необходимо, чтобы усиление в
активной среде компенсировало потери излучения.
Такие свойства генерируемого излучения как
когерентность и направленность определяется в основном резонатором. Оптический
резонатор является селектирующим устройством. Бегущие в противоположных
направлениях волны образуют стоячую волну. Именно благодаря образованию стоячих
волн в резонаторе, размер которого во много раз превышает длину волны
излучения, генерация осуществляется только на определенных частотах.
Следовательно, из контура усиления активного вещества выделяются волны
определенной длины. Условие образования стоячих волн можно зависать в виде:
,
где q - целое число (обычно от 105
до 106);
- длина волны излучения внутри
резонатора; L - расстояние между зеркалами. Таким
образом, расстояние между зеркалами должно быть равно целому числу полуволн.
Условие резонанса может выполняться и для волн распространяющихся
под некоторыми дискретными углами к оси резонатора:
,
где
- угол между направлением распространения
колебаний и осью резонатора. Частота резонансов осевых (продольных) типов колебаний
(мод) определяется выражением:
.
По мере увеличения угла наклона распространения волны по отношению
к осевому направлению возрастают потери для данного типа колебаний. Условие
генерации для этих колебаний выполняется все хуже, интенсивность их мала. Здесь
показаны кривая усиления, резонансные частоты и моды резонатора, на которых
осуществляется генерация.
а) схема регенеративного генератора света;
б) многоходовая структура лазерного излучения: 1 - зеркало с высоким отражением;
2 - среда; 3 - полупрозрачное зеркало; 4 - выходное излучение лазера; 5 -
усиление за один проход; 6 - неоднородная ширина; 7, 8, 9 - потери на модах ТЕМ20,
ТЕМ10, ТЕМ00 соответственно; 10, 11 - продольные моды ТЕМ00,
ТЕМ10 соответственно; 12 - интенсивность выходного излучения лазера;
13, 14 - пространственное распределение моды ТЕМ00, ТЕМ10.
Лазер-генератор
Как уже отмечалось, прирост мощности
внутри резонатора за одно прохождение луча должен быть больше полных потерь в
нем. Уровень полных потерь определяет пороговые значения мощности накачки, три
которых возникает генерация, и уровень излучаемой мощности «во время генерации.
Основными потерями в резонаторе являются
следующие:
потери, обусловленные рассеянием на
неоднородностях активной среды и посторонних включениях;
потери в зеркалах резонатора,
обусловленные частичным рассеянием и поглощением излучения (излучение,
прошедшее через зеркало и далее используемое как полезный сигнал, является
потерей для резонатора);
дифракционные, обусловленные конечностью
размеров зеркал (часть энергии излучения при отражениях теряется).
Кроме перечисленных, в резонаторе
существуют и другие виды потерь: излучение через боковые стенки резонатора;
потери на торцах активной среды; потери, обусловленные параллельностью зеркал,
потери из-за дефектов отражающей. поверхности зеркал и др.
Добротность оптического резонатора выражается:
,
где
- коэффициент полных потерь за одно
прохождение волны в резонаторе. Расстояние, между резонансными частотами
.
Ширина резонансного пика резонатора зависит от добротности:
Теоретическая ширина спектральной линии излучения определяется
предельной формулой Таунса:
,
где Р - мощность излучения на данной линии.
Предельная ширина спектральной линии при Р = 1 мВт,
Гц и
= 0,63 мкм,
=
Гц. Однако практически такую ширину спектральной линии получить
невозможно. Механические нестабильности, акустические вибрации, тепловой дрейф
и ряд других причин приводят к изменениям длины резонатора, что существенно
увеличивает ширину линии излучения.
На рисунке. 6 изображен спектр излучения газового ОКГ. Здесь
- естественная ширина кривой усиления
активного вещества при учете допплеровского уширения; vq - частоты мод резонатора (аксиальные
моды);
- реальная ширина линии излучения,
обусловленная резонансными явлениями в генераторе (гораздо больше теоретической
ширины линии генерации);
- расстояние между резонансами резонатора
Фабри - Перо;
vp - ширина резонансного пика резонатора.
Спектр излучения газового ОКГ
В реальном оптическом резонаторе, представляющем собой открытую
резонансную систему с зеркалами конечного размера распределение поля является
сложным. Пространственное распределение поля на зеркалах зависит от формы
последних и конфигурации резонатора. Строгий метод нахождения распределений
полей основан на решении уравнений Максвелла с нулевыми начальными данными и
граничными условиями на зеркалах. Для расчета стационарных распределений
амплитуды и фазы на поверхности зеркал А. Фокс и Т. Ли применили метод
последовательных итераций. Сущность метода состоит в нахождении распределений поля
после многократных прохождений излучения внутри резонатора. Если задаться
произвольным распределением поля на зеркалах, то после значительного числа
прохождений (более 300) распределение становится стабильным (стационарным) и
полностью определяется конфигурацией резонатора.
В резонаторе существует несколько различных видов распределений,
называемых нормальными типами колебаний (модами). Моды характеризуются
определенным распределением амплитуд и фаз по поверхности зеркал и определенным
набором частот. Каждой частоте соответствует определённое число полуволн,
укладывающихся по длине резонатора. Моды принято обозначать как TEMmnq, где т и п - целые числа, равные 0, 1, 2…
и обозначающие число изменений знака поля на поверхностях зеркал; q - число полуволн, укладывающихся на длине резонатора.
Индексы т и п называют поперечными, а q -
продольным или аксиальным. Моды, характеризующиеся одними и теми же индексами т
и п, но разными q, объединяются под общим названием
поперечной моды. При этом фиксированному значению q соответствует определенное колебание, называемое продольной или
аксиальной модой, относящейся к данной поперечной моде. Индекс q в обозначениях мод часто опускается.
Конфигурация поля нормальных типов колебаний для квадратных и
круглых зеркал приведена на рисунке 7.
В оптическом резонаторе условия возбуждения «различных мод
различны. В первую очередь возбуждаются моды с наименьшими потерями, т.е. моды
для которых распределение амплитуды достигает максимума в центре и наиболее
круто спадает к краям зеркал (с минимальными дифракционными потерями). Эти моды
называются основными и обозначаются ТЕМоо.
а) первые девять мод резонатора с квадратными зеркалами
(поляризация света указана стрелками; изменение интенсивности вдоль зеркала
показана сбоку; с увеличением индекса моды тп дифракционные потери возрастают);
б) первые девять мод (резонатора с круглыми зеркалами (индексы характеризуют
радиальное и угловое распределения поля).
Конфигурация полей на зеркалах оптических резонаторов
.3 Модуляция излучения
Процесс модуляции состоит в изменении
амплитуды, интенсивности, частоты, фазы пли поляризации колебания несущей
частоты в соответствии с информационным сигналом [2].
Методы модуляции колебаний оптических
частот отличаются от соответствующих методов для колебаний частот
радиодиапазона, прежде всего, из-за характеристик и ограничений устройств,
используемых для осуществления процесса модуляции. Многие модуляторы
оптического диапазона осуществляют модуляцию оптической несущей по
интенсивности (квадрат амплитуды электрического поля. Далее, так как оптические
детекторы реагируют на интенсивность оптического колебания, аналоговая
амплитудная модуляция находит ограниченное применение вследствие существенной
нелинейной зависимости между модулирующим сигналом и сигналом на выходе
детектора. В оптическом диапазоне существуют фазовые модуляторы, однако, их
применение сильно ограничивается возможностями демодуляции; последнее
обстоятельство обусловлено частотными нестабильностями, как передающего
устройства, так и местного гетеродинного генератора приемника. В оптическом
диапазоне легко осуществим способ поляризационной модуляции.
В таблице классифицированы способы
модуляции лазерного излучения (аналоговый, импульсный и цифровой). В аналоговых
модуляционных системах амплитуда, частота, фаза, интенсивность или поляризация
колебания несущей частоты непрерывно изменяются в соответствии с аналоговым
информационным сигналом M(t). В импульсных модуляционных системах длительность сигнала
несущей или момент его появления изменяются в соответствии с передаваемой
информацией. В большинстве импульсных модуляционных систем информационный
сигнал квантуется по времени и сохраняется однозначное соответствие между
отсчетами информационного сигнала и импульсами колебания несущей частоты. Если
наивысшая частота информационного сигнала равна В0, то согласно
теореме отсчетов сигнал M(t) может быть восстановлен по значениям отсчетов M(tn), отстоящих во времени
на интервал 1/2 В0 сек. На практике многие источники сигналов не
имеют четкого ограничения по полосе, поэтому квантование по времени должно
осуществляться, по возможности, на наивысшей частоте в целях уменьшения ошибок
при восстановлении информационного сигнала. Амплитуды информационных отсчетов
часто ограничены определенной группой уровней при квантовании по амплитуде, что
позволяет эффективно использовать цифровые устройства памяти и обработки.
Квантование по амплитуде требуется для всех цифровых видов модуляции. В
цифровых модуляционных системах каждому квантованному отсчету сопоставляется
дискретная группа символов или код. Обычно кодовый набор состоит из
последовательности «единиц» и «нулей»; такое кодирование информации называется
кодово-импульсной модуляцией (КИМ).
Классификация методов модуляции лазерного
излучения
|
Тип модуляции
|
Аналоговая
|
Импульсная
|
Цифровая
|
|
Информационный
сигнал
|
Непрерывный во
времени
|
Непрерывный или
дискретный во времени
|
Дискретный во
времени
|
|
Параметр
колебания несущей частоты амплитуда, интенсивность, частота, фаза или
поляризация)
|
Непрерывный
|
Непрерывный или
квантованный
|
Квантованный и
кодированный
|
|
Пример
|
Модуляция по
интенсивности
|
Импульсная
модуляция по интенсивности
|
Кодово-импульсная
модуляция по интенсивности
|
Рисунок графически иллюстрирует принципы
классификации методов модуляции по интенсивности. В системе аналоговой
модуляции по интенсивности (ИМ), интенсивность лазерного луча прямо
пропорциональна непрерывно изменяющемуся во времени информационному сигналу.
Квантованные во времени отсчёты информационного сигнала показаны на рисунок.
Для квантованной импульсной модуляции по интенсивности (ИМИ) характерно то, что
интенсивность несущей пропорциональна квантованному значению амплитуды
информационного сигнала в течение фиксированного интервала времени. На рис в
показана двоичная последовательность в виде кода, соответствующая квантованным
отсчетам информационного сигнала. «Единицы» «и «нули» двоично-кодированного
информационного сигнала соответствуют максимуму и минимуму интенсивности
колебания несущей частоты.
а) аналоговая модуляция по интенсивности
(МИ);
б) импульсная модуляция по интенсивности
(ИМИ);
в) цифровая модуляция по интенсивности
(КИМ-МИ)
Методы модуляции оптического излучения по
интенсивности
Рассмотрим методы модуляции излучения в
общем виде.
Аналоговые методы. При аналоговой
амплитудной модуляции (AM) амплитуда электрического поля оптической
несущей пропорциональна амплитуде информационного сигнала. Аналоговая частотная
модуляция (ЧМ) характеризуется тем, что мгновенная частота колебания
пропорциональна амплитуде информационного сигнала. При аналоговой фазовой
модуляции (ФМ) текущая фаза оптического колебания пропорциональна амплитуде
информационного сигнала. Аналоговая модуляция по интенсивности (МИ)
характеризуется тем, что интенсивность колебания несущей частоты
пропорциональна амплитуде информационного сигнала. Аналоговая поляризационная
модуляция (ПМ) может быть двух типов: линейная и круговая (циркулярная). При
линейной ПМ угол вектора поляризации линейно-поляризованного колебания по
отношению к опорному направлению пропорционален амплитуде информационного
сигнала; при круговой ПМ отношение интенсивностей несущего колебания «правого»
и «левого» поляризованных состояний пропорционально амплитуде информационного
сигнала.
Импульсные методы. Непрерывная или
квантованная амплитудно-импульсная модуляция (АИМ) характеризуется тем, что
амплитуда импульса электрического поля оптической частоты пропорциональна
отсчету амплитуды информационного сигнала. Частотно-импульсная модуляция (ЧИМ)
может быть непрерывная или квантованная. При этом виде модуляции частота
несущей оптических импульсов пропорциональна отсчету амплитуды информационного
сигнала. Импульсная модуляция по интенсивности (ИМИ) аналогична АИМ, однако,
вместо амплитуды оптического сигнала изменяется его интенсивность. Непрерывная
или квантованная широтно-импульсная модуляция (ШИМ) характеризуется изменением
длительности оптического импульса в соответствии с отсчетом амплитуды
информационного сигнала (начало импульса соответствует моменту отсчета).
Непрерывная или квантованная позиционно-импульсная модуляция (ПИМ)
характеризуется временной задержкой сигнального оптического импульса
относительно опорного импульса; временная задержка пропорциональна отсчету
амплитуды информационного сигнала. При счетно-импульсной модуляции (СИМ) число
оптических импульсов короткой длительности, укладывающихся в единичный
временной интервал, пропорционально амплитуде информационного сигнала.
Цифровые методы. КИМ-ИМ (КИМ-AM) - кодово-импульсная модуляция
интенсивности (амплитуды) характеризуется тем, что интенсивность (амплитуда)
оптического колебания максимальна, когда передается двоичный знак - «единица»,
или минимальна при передаче «нуля» в двоичном коде, соответствующем отсчету
амплитуды информационного сигнала. КИМ-ЧМ - кодово-импульсная частотная
модуляция (манипуляция) характеризуется дискретным сдвигом частоты несущего
оптического колебания, одному значению частоты соответствует «единица», Другому
- «нуль» двоичного кода, соответствующего отсчету амплитуды информационного
сигнала. При КИМ-ФМ кодово-импульсной фазовой модуляции (манипуляции) фаза
несущего оптического колебания манипулируется по отношению к опорной фазе на
фазовый угол, равный нулю или рад в соответствии с «единицей» или «нулем»
двоичного кода, представляющего амплитуду информационного сигнала. КИМ-ПМ -
кодово-импульсная поляризационная модуляция (манипуляция) может быть
осуществлена в двух вариантах: линейно-ортогональном и
циркулярно-ортогональном. В первом случае: «единице» в кодовой комбинации
соответствует вертикальная поляризация колебания оптической частоты, а «нулю» -
горизонтальная поляризация; во втором случае «единице» соответствует правая
круговая поляризация несущего колебания, а «нулю» - левая круговая поляризация.
2.4 Перестройка длины
волны излучения
Электронная перестройка длины волны излучения СО2-лазера
[4].
Лазеры с перестраиваемой длиной волны излучения имеют как
научное, так и прикладное значение. Известны их применения при контроле и
измерении толщины слоев в интегральных схемах, в многоволновой эллипсометрии, в
системах анализа газовых смесей методами линейной лазерной оптико-акустической
спектроскопии, а также нелинейной спектроскопии с использованием
комбинационного рассеяния. Существует несколько способов перестройки частоты
излучения газовых лазеров, например путем механического поворота дисперсионного
элемента, введения подвижной маски или перестраиваемого зеркала.
Поиск новых способов быстрой перестройки частоты излучения СО2-лазера
дополнительно стимулируется появлением специальных помехоустойчивых алгоритмов
газоанализа, обеспечивающих повышение скорости и точности распознавания газовой
смеси, если сканирование по спектру проводить не последовательно от одной линии
к соседней, а по специальному закону, адаптивно формируемому компьютером в
процессе газоанализа и предусматривающему переходы между некоторыми
характерными спектральными линиями в диапазоне перестройки. Таким требованиям
удовлетворяет СО2-лазер с внутрирезонаторной электронной перестройкой
частоты.
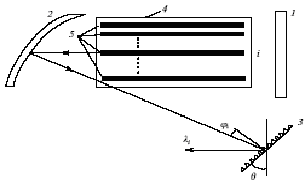
При создании лазера с немеханическим изменением частоты
излучения в качестве базовой конструкции используется излучатель лазера.
Перестройка осуществляется электронным способом внутри оптического резонатора.
На рисунке изображена схема оптического резонатора лазера, а на рисунке -
поперечное сечение его рабочего газоразрядного зазора, в объеме которого
формируются каналы генерации индуцированного излучения.
- плоское зеркало, 2 - сферическое зеркало, 3 - эшелетт,
- щелевой зазор, 5 - генерирующие каналы.
Оптический резонатор перестраиваемого лазера
Оптический резонатор построен по модификационной схеме Якоби
и содержит плоское зеркало 1, а также сферическое зеркало 2, в фокальной
плоскости которого расположен неподвижно закрепленный эшелетт 3.
,2 - ВЧ электроды, 3 - дополнительные электроды,
- диэлектрик, 5,6 - клеммы, 7 - плазменный объем,
- продольный канал по длине электрода i.
Поперечное сечение рабочего канала перестраиваемого лазера
Рабочий зазор лазера образован широкими ВЧ электродами 1,2, n дополнительных
электродов 3 в виде узких продольных металлических полос, изолированных от ВЧ
электрода диэлектриком 4. Перестройка частоты лазера основана на управляемом
подавлении ВЧ разряда (напряжение накачки подводится к клеммам 5)
электростатическим полем, формируемым одним из дополнительных полосковых
электродов, например электродом i, к которому с помощью клеммы 6 подводится отрицательное,
относительно ВЧ электродов, постоянное электрическое напряжение. Гасящий
потенциал выбирается достаточным для уменьшения скорости ионизации в области,
окружающей полосковый электрод i, ниже критической. Благодаря этому в широком плазменном
объеме 7 по длине полоскового электрода «выжигается» узкий продольный канал 8.
При подведении гасящего напряжения ко всем дополнительным электродам, кроме
электрода i,
ВЧ разряд (активная среда) существует только в объеме узкого канала 8.
Подобный режим является рабочим для перестраиваемой одноволновой генерации
с любым (регулярным или нерегулярным) порядком чередования спектральных линии.
Конкретной волне
соответствует угол
падения излучения на эшелетт, что
однозначно определяет положение полоскового электрода i в щелевом зазоре 4 (рисунок 9). По этой причине набору волн
отвечает система n дополнительных
электродов, расположенных внутри рабочего зазора в соответствии с вышеописанным
правилом. Состав набора волн может быть изменен переустановкой эшелетта под
новым углом
.
Работая на длине волны от 9 до 11 мкм и попадая при этом в одно из
окон прозрачности атмосферы и имея лазер с перестраиваемой рабочей длиной волны
мы можем сохранять устойчивую связь как при случайной помехе (дым от рядом
расположенных заводов, котельных) так и при неслучайной - специальной помехе
(распыление аэрозоля и других средств), перестраиваясь с одной несущей на
другую по заданной программе, случайному закону известному на передающей и
приемной стороне соответственно (осуществив синхронизацию передатчика и приемника)
3. Атмосферный канал связи
.1 Влияние атмосферы на распространение инфракрасного излучения
Атмосфера Земли состоит в основном из
азота, кислорода, водяного пара, углекислого газа (двуокиси углерода), метана,
закиси азота, окиси углерода и озона. В механической смеси этих газов находятся
твердые и жидкие включения - мельчайшие частицы во взвешенном состоянии.
Частицы распределены случайно и имеют различный химический состав, а размеры их
колеблются от 10 -7 до 10 -1 см. Эти включения в
атмосфере представляют собой частицы дыма, водяные капли, пыль земли, частицы
углерода, кристаллики льда, частицы солей, а также бактерии, пыльца растений и
т.д. Совокупность водяных капель и твердых частиц вызывает значительное
ослабление излучения [1].
Процентный состав основных газов атмосферы
остается почти постоянным до высот 25…30 км. Однако в атмосфере, содержащей
водяной пар, процентное содержание газов меняется в зависимости от его
количества. В диапазоне высот до 12 км основную роль в поглощении излучения играют
молекулы углекислого газа и водяных паров. Концентрация водяных паров в
зависимости от температуры и влажности воздуха в атмосфере колеблется в
пределах 10-3 - 4% (по объему). Концентрация водяного пара зависит
также от географического расположения, высоты, времени года и местных
метеорологических условий. С увеличением высоты процентное содержание водяного
пара резко убывает из-за влияния низких температур и процессов конденсации, а
также вследствие удаления поверхности, из которой происходит испарение.
Концентрация углекислого газа изменяется
от 0,03 до 0,05%. Причем меньший предел соответствует незагрязненному сельскому
воздуху, а верхний - атмосфере над городами. Этот газ, являясь продуктом
жизнедеятельности органической природы, имеет более высокую концентрацию над
массивами, покрытыми растительностью, чем, например, над океаном. На больших
высотах (до 25…30 км) концентрация более равномерная вследствие более полного
вертикального перемешивания атмосферы.
Концентрация метана в атмосфере колеблется от
до
% и равномерно изменяется с изменением высоты. Закись азота (N2O) имеет концентрацию
…
%, окись углерода -
%. Эти две
составляющие атмосферы оказывают влияние на поглощение излучения на больших
расстояниях. Концентрация озона (О3) на высоте около 30 км более
%, в нижних слоях атмосферы - от
до
%, а на высоте 65 …70 км озон почти отсутствует.
Твердые и жидкие включения замутняют атмосферу и участвуют в
образовании облаков и тумана, являясь ядрами конденсации водяных паров. На
больших высотах главной причиной помутнения атмосферы являются наземная пыль,
дым, бактерии, соли и гидрометеоры. В относительно прозрачном сельском воздухе
содержится до 0,00025 г. пыли в 1 см3. В сухую ясную погоду в 1 см3
воздуха содержится до 130000 пылинок, после дождя их количество
уменьшается до 32 000…30 000, а над водной поверхностью еще более, достигая
1200…800 на расстояниях 19…20 км от берега. В городах пыль и дым промышленных
предприятий сильнее замутняют атмосферу, однако эти включения, как правило,
располагаются на высотах не выше 700…500 м.
Присутствие пылевых частиц в атмосфере, гидрометеоров и водяного
пара значительно ослабляют интенсивность излучения в приземном слое. Причиной
образования гидрометеоров является наличие в воздухе гигроскопических примесей
- ядер конденсации. Ядра конденсации состоят из скоплений солей и окислов, а
также частично из твердых включений. Скопления солей или окислов очень
гигроскопичны и интенсивно способствуют начальному образованию капель.
Дальнейший рост капель зависит от целого ряда факторов, например: скорости
восходящих потоков воздуха, его температуры и скорости изменения температуры с
высотой, коэффициента преобразования тепла на поверхности капли, скорости
диффузии молекул растворенного вещества при непрерывной конденсации и т.д.
Известно, что в водных туманах встречаются капли размером от 0,1 до 50 - 60
мкм. Большинство капель имеют размер 7 - 15 мкм при положительных температурах
и 2 - 5 мкм при отрицательных. Число капель в 1 см3 воздуха равно
примерно 50 - 100 для слабого тумана и 50 - 600 для сильного. Капли в облаках
имеют размеры 2 - 30 мкм, а концентрация их может изменяться от 50 до 1500 на 1
см3. В дымке (очень слабом тумане) размер капель менее 1 мкм, а их
число достигает 10 - 40 на 1 см3. Пропускание тумана сходно с
пропусканием облаков, в частности, от туманов и облаков хорошо отражается
солнечный свет. Туман и облака обладают избирательным поглощением.
Затухании оптического сигнала при распространении в различных
погодных условиях
|
Погодные
условия
|
Затухание,
дБ/км
|
|
Ясная погода
|
0 - 3
|
|
Слабый дождь
|
3 - 6
|
|
Сильный дождь
|
6 - 17
|
|
Снег
|
6 - 26
|
|
Легкий туман
|
20 - 30
|
|
Густой туман
|
50 - 100
|
3.2 Ослабление излучения СО2-лазера в
атмосфере
Атмосферное затухание [1].
Затухание излучения в атмосфере может быть
описано с помощью экспоненциального закона. Коэффициент пропускания атмосферы
равен:
,
где L - протяженность среды, в которой
распространяется излучение;
- коэффициент ослабления среды, равный сумме коэффициентов
поглощения
и рассеяния
.
Таким образом, коэффициент пропускания атмосферы может быть
представлен в виде произведения:
,
где
- коэффициент пропускания атмосферы,
учитывающий только поглощение;
- коэффициент пропускания атмосферы, учитывающий только
рассеяние.
Поглощение в атмосфере обусловлено в основном наличием молекул
водяного пара, двуокиси углерода и озона. На рисунке приведены графики
коэффициентов пропускания этих компонент. Кривые были сняты с относительно
низкой спектральной разрешающей способностью. В действительности же поглощение
в атмосфере резко изменяется при изменении длины волны, поскольку молекулярное
поглощение имеет линейчатый спектр, а не полосовой.
На основе этих графиков можно правильно выбрать несущую частоту
лазера и сделать вывод о необходимости ее стабилизации в областях с минимальным
поглощением. Грубые оценки поглощения в атмосфере могут быть получены путем
подсчета количества молекул поглощающих веществ и а пути прохождения лазерного
луча. Получить такие оценки трудно, поскольку концентрация молекул в атмосфере
определяется температурой и давлением, изменяющимися с географической широтой,
высотой и зависящими от состояния погоды.
а) поглощение двуокисью углерода; б) поглощение озоном;
в) поглощение влагой
Кривые пропускания компонентами атмосферы
Атмосферное рассеяние, происходящее на частицах, размеры которых
соизмеримы с размерами молекул, называется рэлеевским рассеянием; атмосферное
рассеяние на частицах, размеры которых велики по сравнению с длиной волны,
называется Ми-рассеянием (этот вид рассеяния наблюдается в тумане и дымах).
Коэффициент ослабления
при рэлеевском рассеянии определяется выражением:
,
где N - число частиц, приходящихся на единицу объема трассы
распространения; Ар - площадь поперечного сечения рассеивающей
частицы.
Площадь частицы и длину волны в формуле необходимо брать в
сантиметрах. Поскольку коэффициент рэлеевского рассеяния обратно пропорционален
4, излучение коротких длин волн рассеивается сильнее, чем излучение
более длинных волн. Этим, например, объясняется голубой цвет дневного неба.
Компоненты солнечного света более коротких длин волн рассеиваются на пути к
земле больше, чем компоненты более длинных волн. В большинстве случаев
рэлеевское рассеяние во много раз меньше, чем Ми-рассеяние, и им практически
можно пренебречь. Ми-рассеяние описывается с помощью следующего эмпирического
соотношения:
,
где
- коэффициент Mи-рассеяния;
- метеорологическая дальность видимости в
километрах (длина волны и дальность пути выражаются соответственно в микронах и
в километрах).
Значения метеорологической дальности видимости для многих районов
ежедневно сообщаются бюро погоды метеорологической службы. В качестве примера
использования формулы при Ми-рассеянии произведем расчет ослабления лазерного
излучения с длиной волны
, проходящего путь в атмосфере
протяженностью в 1 км, при дальности видимости, равной 5 км.
Коэффициенты Ми-рассеяния и коэффициенты пропускания атмосферы для
некоторых длин волн приведены в таблице.
Таблица 4 - Коэффициенты Ми-рассеяния и коэффициенты пропускания
атмосферы для некоторых длин волн
|
, мкм , км-1
|
|
|
|
0,5
|
0,860
|
0,42
|
|
1,0
|
0,430
|
0,65
|
|
2,0
|
0,215
|
0,81
|
|
5,0
|
0,086
|
0,92
|
|
10,0
|
0,043
|
0,96
|
На рисунке показана зависимость
коэффициента пропускания атмосферы от длины волны (учитывалось поглощение и
рассеяние). Уменьшение коэффициента пропускания в диапазоне ниже двух микрон
объясняется в основном влиянием рассеяния. Резкие изменения коэффициента
пропускания (провалы) объясняются селективным характером поглощения на
инфракрасных частотах. В рассматриваемом диапазоне длин волн имеется восемь
областей относительно высоких значений коэффициента пропускания. Эти области
называются атмосферными окнами (окна прозрачности).
Зависимость коэффициента пропускания
атмосферы от длины волны
Турбулентность атмосферы [2].
Часть солнечной энергии, падающая на
земную поверхность поглощается, вызывая нагревание воздушного слоя над
поверхностью земли. Этот слой нагретого воздуха, являясь менее плотным,
поднимается, турбулентно смешиваясь с окружающим холодным воздухом. Благодаря
этому температура воздуха изменяется от точки к точке в атмосфере по случайному
закону. Температурные флуктуации являются функцией высоты и скорости ветра.
Показатель преломления воздуха зависит от
его температуры. Когда световой луч проходит слой воздуха, в котором имеется
перепад температур, он частично или полностью отклоняется. Степень отклонения
зависит от относительных размеров луча и температурной неоднородности.
Взаимодействие лазерного луча с турбулентной средой приводит к случайным
изменениям амплитуды и фазы несущего колебания. Ниже приводятся возможные
последствия воздействия атмосферной турбулентности на качество лазерной связи.
Изменение траектории луча (флуктуации
углов прихода) - угловое отклонение луча от линии прямой видимости, приводящее
к прохождению луча мимо приемника.
«Пляска» (дрожание) изображения -
изменение угла прихода луча, вызывающее движение точки фокуса в плоскости
изображения.
Расширение (размытие) луча - небольшие
угловые отклонения, увеличивающие угловое расхождение лазерного луча и
приводящие к уменьшению пространственной плотности мощности на входе приемника.
Сцинтилляция луча - маломасштабные интерференционные
явления в пределах поперечного сечения луча, вызывающие изменения
пространственной плотности мощности на входе приемника.
Ухудшение пространственной когерентности -
нарушение фазовой когерентности в сечении фазового фронта пучка, приводящее к
уменьшению эффективности супергетеродинного метода приема.
Поляризационные флуктуации - вариации
состояния поляризации луча.
Практически удобно представлять турбулентную среду, состоящей из
отдельных однородных объемов, отличающихся коэффициентом преломления. Размер
неоднородности, связанный с каждым объемом, обозначим через l. Наибольшее и наименьшее значения неоднородностей
обозначим соответственно
и
.
Степень влияния турбулентности атмосферы зависит от относительных
размеров диаметра пучка dB и
размера неоднородности l. Если
<< 1, то основное действие
турбулентности сводится к отклонению пучка в целом. В результате этого на
больших дальностях луч перемещается по случайному закону в двух направлениях в
плоскости приема. При
неоднородности действуют как линзы, т.е.
фокусируют или рассеивают весь луч или его часть; при этом поперечное сечение
луча приобретает зернистую структуру. Если
>> 1, небольшие области луча дифрагируют независимо друг от
друга, искажая фазовый фронт луча.
3.3 Деполяризация лазерного излучения в атмосфере
Методика определения степени деполяризации эллиптически
поляризованного излучения основана на выделении из него слабой компоненты в
линейно поляризованную и ее устранению с помощью поляризатора [6].
Представим эллиптически поляризованное излучение,
распространяющееся вдоль оси z, в виде суперпозиции линейно поляризованных волн:
где ej - единичный вектор, направленный вдоль
оси j (j=x, y); Аj -
комплексная амплитуда. Статистическое состояние поляризации описывается с
помощью матрицы когерентности:
,
где BXY =
- взаимная корреляционная функция.
Степень поляризации излучения определяется соотношением:
,
где Itot - полная интенсивность излучения; IP - интенсивность поляризованной компоненты
излучения;
и
- определитель и след матрицы
. Очевидно, что степень деполяризации излучения D = 1 - P.
При измерении степени деполяризации эллиптически поляризованного
излучения с анизотропным распределением флуктуаций, что характерно для лазеров
с анизотропным резонатором, возникает систематическая погрешность, которая
зависит от типа поляризации анализируемого излучения.
4. Расчет атмосферной оптической линии связи
.1 Выбор стандарта связи
излучатель атмосферный оптический связь
При выборе стандарта связи в котором будет функционировать
система атмосферной оптической связи на основе СО2-лазера необходимо
учитывать тот факт, что система будет использоваться для связи компьютеров,
создания локальных сетей и т.п.
Выбор цифрового виды связи более удобен для обеспечения связи
между компьютерной техникой.
На данный момент разработаны целые серии протоколов
канального уровня, предназначенные для беспроводных средств связи и способные
автоматически восстанавливать канал после кратковременного обрыва. А
непрерывность потоков данных обеспечивается протоколами более высокого уровня
(например TCP/IP). Некоторые модели лазерных модемов имеют совмещенные
интерфейсы к сети Ethernet и потокам Е1. В результате одна атмосферная линия
связи может соединить LAN и телефонные сети зданий без использования
мультиплексора.
Скорость передачи информации
При выборе скорости передачи данных необходимо учитывать
следующее - какие скорости передачи информации уже используются в подобных
системах и какое значение скорости удовлетворит пользователя для обеспечения
той или иной пропускной способности канала связи. Основываясь на том, что в
компьютерных сетях использующих в качестве линии проводной связи «витую пару»,
скорость передачи данных в которой 10/100 Мбит/с, зададимся скоростью передачи
информации равной 100 Мбит/с.
Максимально допустимая ошибка
При выборе значения максимально допустимой ошибки связи будем
учитывать тот факт, что для различных способов связи (радиорелейный,
волоконнооптический, атмосферный и т.д.) эта величина, по понятным причинам,
будет иметь различные значения.
Зададимся значением максимально допустимой ошибки
.
4.2 Энергетический расчет линии связи
Прямой расчет энергетического потенциала
Для прямого расчета энергетического
потенциала (от передатчика к приемнику) необходимо, задавшись определенной
мощностью передатчика и величиной затухания излучения при его распространении в
соответствующих погодных условиях, найти мощность сигнала которая будет
поступать на вход приемника. При этом также следует помнить о минимальном
(пороговом) значении мощности сигнала, который приемник способен принять на
фоне шумов, а также о динамическом диапазоне приемника возможность перегрузки
входного каскада приемника из-за избыточной величины сигнала.
Затухание излучения в атмосфере
описывается с помощью формулы [1]:
,
где L - протяженность среды, в которой
распространяется излучение;
- коэффициент ослабления среды, равный сумме коэффициентов поглощения
и рассеяния
, а коэффициент пропускания атмосферы
может быть представлен в виде:
.
С учетом выше изложенного и, взяв передатчик с выходной мощностью
35 Вт, получим:
где L - длинна трассы по которой осуществляется
связь, l - участок на трассе с большим затуханием,
вызванным возможной помехой (дымом от недалеко расположенных предприятий и
т.п.)
Обратный расчет энергетического потенциала
Для упрощения расчетов введем ряд упрощений:
Расчет ведется для систем передачи информации по атмосферному
каналу с использованием лазера;
Рэлеевским рассеянием можно пренебречь;
Нелинейными эффектами можно пренебречь;
Мультипликативными помехами рассеяния вперед можно
пренебречь;
Затухание сигнала на наклонной трассе для высот до 10 км
всегда меньше, чем на горизонтальной трассе той же протяженности на высоте 0 км
над уровнем земли;
Максимальное отклонение луча из-за турбулентности атмосферы -
1 мрад;
В выбранном окне прозрачности отсутствуют сильные полосы
молекулярного поглощения.
Учет влияния погодных условий.
Для оценки ослабления оптического сигнала в атмосфере, введено
такое понятие, как видимость, это такое расстояние
(в км), на котором видимое излучение
источника света уменьшается в 50 раз по отношению к первоначальной величине. С
точностью достаточной для инженерных расчетов можно использовать формулу [7]:
,
где S - затухание дБ/км;
- дальность видимости.
В таблице приведены типичные потери в зависимости от погодных
условий для связи по атмосферному каналу.
Примем для расчета затухание минус 6 дБ/км, что соответствует
сильному дождю.
Учет фонового излучения [8].
Шум на фотоприемнике состоит из 3-х составляющих: атмосферные
оптические помехи, дробовые шумы, собственные шумы фотоэлемента и усилителя.
Для расчета уровня оптических помех, примем, что фоновая помеха
днем не более
Вт/см2.ср.мкм,
фоновая помеха ночью не более
-6
Вт/см2.ср.мкм. В данном случае основной шум будет
вноситься фоновым излучением, всеми остальными шумами можно пренебречь:
,
где
- площадь приемника (см2),
- угол зрения приемника (ср),
- диапазон длин волн принимаемый
фотоприемником (мкм).
В зависимости от используемого способа модуляции оптического
сигнала, меняется и минимально допустимое отношение сигнал/шум, при котором
информация будет принята правильно.
Таким образом минимальная мощность оптического сигнала будет:
где
- минимально возможное отношение
сигнал/шум (в разах) для выбранного вида модуляции оптического сигнала.
Оптическая система [9].
Величина полного светового потока характеризует излучающий
элемент, и ее нельзя увеличивать никакими оптическими системами. Действие этих
систем может лишь сводиться к перераспределению светового потока, например,
большей концентрации его по некоторым направлениям. Таким способом достигается
увеличение силы света по данным направлениям при соответствующем уменьшении ее
по другим направлениям. Таково, например, действие сигнальных аппаратов или
прожекторов, позволяющих при помощи источников обладающих средней сферической
силой света в несколько сот кандел, создавать на оси прожектора силу света в
миллионы кандел.
Для оценки потерь мощности можно использовать:
,
где
- угол расходимости луча, рад;
- расстояние до приемника, м;
- диаметр приемника, м.
Так же необходимо учесть, что оптическая система также вносит затухание
оптического сигнала, примем величину пропускания линзы 0,95 (две линзы, одна в
приемнике, другая в передатчике), тогда мощность оптического сигнала необходимо
будет увеличить еще на 0,5 дБ.
Рассчитаем мощность оптических шумов по формуле:
.
Мощность оптических шумов составляет
Вт.
Рассчитаем потери за счет погодных условий для заданной дальности:

,
.
Потери при густом тумане на трассе 5000 метров составят 30 дБ.
Рассчитаем потери оптического сигнала за счет расхождения луча:
.
Потери за счет расхождения луча составили 22 дБ.
Найдем величину сигнал/шум (в дБ), учтя при этом все потери:
,
.
Величина минимального отношения сигнал/шум будет 55,5 дБ.
Минимальная мощность оптического сигнала будет рассчитываться по
формуле:
,
.
Минимальная излучаемая мощность оптического сигнала составляет
30,2 Вт.
Надежность работы лазерной линии связи
Работая на длине волны от 9 до 11 мкм и попадая при этом в одно из
окон прозрачности атмосферы и имея лазер с перестраиваемой рабочей длиной волны
мы можем сохранять устойчивую связь как при случайной помехе (дым от рядом
расположенных заводов, котельных) так и при неслучайной - специальной помехе
(распыление аэрозоля и других средств), перестраиваясь с одной несущей на
другую по заданной программе, случайному закону известному на передающей и
приемной стороне соответственно.
Поэтому с использованием лазера с перестраиваемой длиной волны
повышается надежность работы системы.
5. Взаимонаведение оптических передатчика и приемника
.1 Алгоритм наведения
В системах лазерной связи в свободном пространстве приходиться
иметь дело с чрезвычайно узкими пучками выходного излучения, угловая величина
которых измеряется десятками и даже единицами секунд. При столь малой
расходимости лазерные пучки даже на значительном удалении корреспондентов линии
связи друг от друга имеют в поперечном сечении пятно малой площади. Например,
лазер с расходимостью излучения 10» засвечивает на расстоянии 10 км пятно
диаметром около 5 см. В таких условиях взаимный поиск и наведение корреспондентов
превращается в сложную задачу, а процедура «вхождения» в связь может
трактоваться как марковский стохастический процесс. Корреспонденты А и В
неподвижны и излучают непрерывно в течение всего времени взаимонаведения;
пункты А и В симметричны по техническим параметрам аппаратуры; оптические
антенны приемника и передатчика одинаковы [10].
QА, QВ-углы расходимости
излучения в Пунктах А и В; ФА,ФВ - угловой размер
секторов обзора из пунктов А и В
Модель системы наведения
Вероятностный марковский процесс взаимного нацеливания А и В
иллюстрируется следующей диаграммой состояний и переходов.
Вероятностный марковский процесс взаимного
нацеливания А и В
На рисунке обозначено: a1 - непоглощающее
состояние (чаще всего исходное), когда ни одна из антенн (А или В) не
ориентирована в правильном направлении; а2, а3 -
непоглощающие состояния, в которых либо антенна А, либо антенна В ориентированы
правильно (на противоположного корреспондента); а4 - поглощающее
(конечное) состояние, когда антенны А и В ориентированны друг на друга; Pij - вероятность перехода
системы связи из i-го состояния в j-ое.
Увеличение дальности действия лазерных
систем связи, при сохранении требуемой достоверности передачи сообщений
является одной из первостепенных задач. Основным фактором, определяющим
увеличение дальности действия при постоянной мощности передатчика, является
сужение диаграммы направленности антенных устройств.
Для получения угла раствора луча примерно
около одного градуса в свч диапазоне необходим диаметр антенны более 10 м. В то
же время в оптических системах связи при очень малых габаритах антенн можно
сформировать в пространстве чрезвычайно узкие диаграммы направленности (до
нескольких десятков угловых секунд).
Использование узких диаграмм
направленности лазера позволит обеспечить требуемую достоверность передачи
информации при малых мощностях передающих устройств. Однако одной из
трудностей, связанных с использованием лазеров в системах связи, является
проблема нацеливания узкого луча лазера и удержания его в требуемом
направлении. При использовании систем на подвижных объектах эта проблема
усугубляется еще необходимостью стабилизации объектов с высокой точностью.
Современное развитие квантовой радиоэлектроники
позволяет надеяться на успешное решение проблемы нацеливания узких лучей ОКГ.
Разработка, например, электрооптического метода отклонения светового луча
позволит осуществить точное быстродействующее сканирование луча при решении
задач обнаружения и слежения.
При сканировании узкого луча в пределах
фиксированного углового конуса (зоны неопределенности положения объекта)
возникает задача оценки времени, затрачиваемого на поиск заданной точки
(объекта) в пространстве, или оценки времени, затрачиваемого на поиск друг
друга двумя объектами, снабженными системами сканирования. Интересны также
вопросы выбора метода сканирования (случайный или регулярный поиск) и сравнения
различных методов сканирования.
При сканировании узких диаграмм
приемопередатчиков процесс «вхождения» в связь, т.е. точное нацеливание
диаграмм друг на друга и взаимное обнаружение сигналов может трактоваться как
Марковский стохастический процесс. Такой подход обусловлен тем, что событие
вхождения в связь зависит от вероятности ориентирования диаграмм двух объектов
в требуемом направлении (нацеливание) и от вероятности взаимного обнаружения
сигналов в шумах, когда диаграммы совпадают. Следовательно, время вхождения в
связь есть случайная величина, обладающая математическим ожиданием, дисперсией
и т.д. Очевидно, для нахождения этой величины необходимо пользоваться
вероятностными методами.
Марковская цепь характеризуется
состояниями, между которыми существует вероятность перехода. Если образовать
матрицу вероятностей перехода между состояниями данной марковской цепи, то,
пользуясь алгебраическими методами исследования марковских цепей, можно
определить среднее число шагов, затрачиваемое на переход процесса из одного
состояния в любое другое. Умножив среднее число шагов на время длительности одного
шага, получим среднее время, затрачиваемое на переход из одного состояния в
любое другое, и, в частности, в конечное состояние, соответствующее полному
установлению связи между двумя объектами.
Для свч диапазона сверхузкие диаграммы
направленности проектируют в относительно редких специальных случаях. В
системах оптического диапазона, как правило, сверхузкими диаграммами будут
обладать большинство систем. Поэтому в данной главе рассматривается задача
оценки среднего времени вхождения в связь двух объектов, снабженных системами
сканирования узких лучей ОКГ и соответствующими приемниками. Однако в типичных
случаях применения ОКГ на предельных дальностях число фотонов в принимаемом
сигнале может быть невелико, поэтому использование отношения сигнал/шум является
недостаточным для характеристики системы с точки зрения обнаружения полезного
сигнала и подавления шумов. Необходимо вводить такие характеристики качества
системы, как вероятность обнаружения сигнала, вероятность пропуска сигнала,
вероятность ложной тревоги. Эти характеристики хорошо связываются с дальностью
действия системы и с мощностью передающих устройств. Поэтому среднее время
вхождения в связь для различных вариантов систем целесообразно находить в
зависимости от вероятности обнаружения сигнала, от дальности действия системы
при различных вероятностях ложной тревоги (.характеризуемой уровнем шума) и
мощности передатчиков. С этой точки зрения проводится дальнейшее рассмотрение.
В настоящее время наибольшее
распространение получили системы регулярного и случайного поиска. В свою
очередь, системы регулярного поиска по характеру поиска можно также разделить
на системы:
без сканирования,
со сканированием на одном объекте,
со сканированием на обоих объектах.
5.2 Расчет среднего числа шагов и продолжительности
процедуры наведения
Среднее число сигнальных фотоэлектронов рассчитывается по
формуле:
Sc = W.l.t.T0.exp(-ma.RT)..h /hc,
Число шумовых фотоэлектронов, поступающих в приемник за
секунду найдем по формуле:
nш = Ql.l.Dl.p.T0.h.Q2.D2. [r×exp{-ma.RT} + mS (1 - exp{-ma.RT}/4ma)]/16hc + iT/q.g,
Вероятность обнаружения сигнала вычисляется по формуле:
Pобн = å∞n = n 0[(Scn.exp{- Sc})/n!].
Вероятность ложной тревоги или вероятность превышения порога n0 в течение любого
интервала будет рассчитана по формуле:
PЛТ = å∞n = n 0[((nшt)n exp{- nш.t})/n!].
Число шагов при случайном поиске без учета ложной тревоги
найдем по формуле:
t1 = [1+2 (q/Ф)2(1 - pa)] / [(q/Ф)4(2pa - pa2)],
где ра - вероятность обнаружения сигнала в шумах
приемником А.
Число шагов при случайном поиске с учетом ложной тревоги
вычислим по формуле:
t1(n) » [1+2pa(1 - pa) + 2n.p'12] [p2Apa(2 - pa - 2 (1 - pa) (1 - pA.pa))n],
где р'12 - вероятность ложной тревоги;
рА - вероятность того, что луч объекта А направлен
в требуемом направлении (на В).
Число шагов при регулярном поиске без учета ложной тревоги
рассчитаем по формуле:
t1 = [2m2 + (m2 - 4m - 1) pa2 + (-2m2 + 4m + 2) pa]/[2 (2pa - pa2)], = (Ф/q)2 = 1/pA.
6. Моделирование на ЭВМ расчета САОС
.1 Выбор числовых значений переменных параметров
Проведем моделирование расчетов в программе MathCAD 2001.
6.2 Варификация результатов расчета
Для более подробного результата расчета рассмотрим
зависимость величины мощности, приходящей к приемнику, от различных погодных
условий.
6.3 Графическое представление результатов расчета
Прямой расчет системы связи.
Прямой расчет
Для удобства наблюдения малых значений мощности излучения построим
рисунок.
Прямой расчет
Обратный расчет системы связи.
Рисунок 16 - Обратный расчет
Результаты прямого расчета
|
L, км
|
Р, Вт
|
L, км
|
Р, Вт
|
L, км
|
Р, Вт
|
L, км
|
Р, Вт
|
L, км
|
Р, Вт
|
|
0,00
|
35
|
1,00
|
4,73
|
2,00
|
0,64
|
3,00
|
0,087
|
4,00
|
0,012
|
|
0,10
|
28,65
|
1,10
|
3,87
|
2,10
|
0,52
|
3,10
|
0,071
|
4,10
|
|
|
0,20
|
23,46
|
1,20
|
3,17
|
2,20
|
0,43
|
3,20
|
0,058
|
4,20
|
|
|
0,30
|
19,20
|
1,30
|
2,60
|
2,30
|
0,35
|
3,30
|
0,048
|
4,30
|
|
|
0,40
|
15,73
|
1,40
|
2,12
|
2,40
|
0,28
|
3,40
|
0,039
|
4,40
|
|
|
0,50
|
12,87
|
1,50
|
1,74
|
2,50
|
0,23
|
3,50
|
0,032
|
4,50
|
|
|
0,60
|
10,54
|
1,60
|
1,42
|
2,60
|
0,19
|
3,60
|
0,026
|
4,60
|
|
|
0,70
|
8,63
|
1,70
|
1,16
|
2,70
|
0,15
|
3,70
|
0,021
|
4,70
|
|
|
0,80
|
7,06
|
1,80
|
0,95
|
2,80
|
0,12
|
3,80
|
0,018
|
4,80
|
|
|
0,90
|
5,78
|
1,90
|
0,78
|
2,90
|
0,10
|
3,90
|
0,014
|
4,90
|
|
|
1,00
|
4,73
|
2,00
|
0,64
|
3,00
|
0,08
|
4,00
|
0,012
|
5,00
|
|
Результаты обратного расчета
|
L, км
|
Р, Вт
|
L, км
|
Р, Вт
|
L, км
|
Р, Вт
|
L, км
|
Р, Вт
|
L, км
|
Р, Вт
|
|
0,00
|
0,035
|
1,00
|
0,138
|
2,00
|
0,549
|
3,00
|
2,185
|
4,00
|
8,698
|
|
0,10
|
0,040
|
1,10
|
0,158
|
2,10
|
0,630
|
3,10
|
2,509
|
4,10
|
9,987
|
|
0,20
|
0,046
|
1,20
|
0,182
|
2,20
|
0,723
|
3,20
|
2,880
|
4,20
|
11,466
|
|
0,30
|
0,052
|
1,30
|
0,209
|
2,30
|
0,831
|
3,30
|
3,307
|
4,30
|
13,165
|
|
0,40
|
0,060
|
1,40
|
0,240
|
2,40
|
0,954
|
3,40
|
3,797
|
4,40
|
15,115
|
|
0,50
|
0,069
|
1,50
|
0,275
|
2,50
|
1,095
|
3,50
|
4,359
|
4,50
|
17,355
|
|
0,60
|
0,079
|
1,60
|
0,316
|
2,60
|
1,257
|
3,60
|
5,005
|
4,60
|
19,926
|
|
0,70
|
0,091
|
1,70
|
0,363
|
2,70
|
1,444
|
3,70
|
5,747
|
4,70
|
22,878
|
|
0,80
|
0,105
|
1,80
|
0,416
|
2,80
|
1,657
|
3,80
|
6,598
|
4,80
|
26,268
|
|
0,90
|
0,120
|
1,90
|
0,478
|
2,90
|
1,903
|
3,90
|
7,576
|
4,90
|
30,159
|
|
1,00
|
0,138
|
2,00
|
0,549
|
3,00
|
2,185
|
4,00
|
8,698
|
5,00
|
34,213
.1 Предварительная оценка планируемой к
выполнению НИР
В данной работе рассматривается разработка алгоритма расчета
атмосферной оптической линии связи. Данный аспект весьма важен поскольку в
настоящее время все более интенсивное развитие получают информационные
технологии, аппаратная база, скорости передачи информации. И внедрение
компьютерной техники открывает новые возможности для дальнейшего развития
технологий коммуникаций и в частности атмосферных оптических линий связи.
Оценим уровень планируемой НИР. Для этого воспользуемся одним
из направлений эвристического прогнозирования - методом экспертных оценок,
который базируется на выборе смысловых характеристик (частных критериев),
количественно измеряемых по определенной балльной системе [11].
Результаты анализа
|
№
|
Критерии
|
Шкала критерия
|
Оценка
критерия, балл
|
|
1
|
Имеющийся опыт
в этой области
|
Некоторый опыт
|
1
|
|
2
|
Вероятность
решения поставленной задачи
|
Более 80%
|
2
|
|
3
|
Возможность и
широта внедрения результатов НИР
|
Результаты
могут использоваться локально
|
1
|
|
Итого
|
|
+4
|
Просуммировав оценки критериев, получаем положительный
результат - это говорит о высоком уровне перспективности проводимой работы.
7.2
Организация и планирование НИР
Расчет трудоемкости НИР
Для расчета трудоемкости НИР, имеющих вычислительную
направленность, воспользуемся методом типовых этапов. Найдем условное число
операторов Qy, для этого воспользуемся формулой:
где Qп - предполагаемое число операторов (Qп =1000); С -
коэффициент сложности программы, характеризует относительную сложность задачи
разрабатываемого программного изделия по отношению к так называемой типовой
задаче, сложность которой принята единице (C=1); р - коэффициент коррекции
программы в ходе ее разработки, характеризует увеличение объема работ за счет
внесения изменений в алгоритм либо программу решения задачи по результатам
уточнения ее постановок и описания, изменения состава и структуры информации, а
также уточнений вносимых разработчиком для улучшения качества самой программы
без изменения постановки задачи (р=0,3).
.
Трудоемкость разработки программного продукта ТПП
рассчитаем по формуле:
где ТИ - затраты труда на исследование алгоритма
решения задачи;
ТА - затраты труда на разработку алгоритма решения
задачи; TП - затраты труда на составление программы по готовой
схеме; ТОТ - затраты труда на отладку программы на ЭВМ; ТД
- затраты труда на подготовку документации по задаче.
Рассчитаем трудоемкости по формулам:
,
где В-коэффициент увеличения затрат труда вследствие того, что
задачи, как правило, требуют уточнения и некоторой доработки; К - степень
подготовленности исполнителя к порученной ему работе.
Задаемся В=1,4; К=1.
,
,
,
,
,
,
,
,
,
,
,
,
,
,
,
,
.
Результаты расчетов
|
Стадии
|
Трудоемкость,
Чел./ч
|
|
1
|
Подготовка
описания задачи, исследование алгоритма решения задачи с учетом описания и
квалификации программиста (ТИ)
|
22,75
|
|
2
|
Разработка
алгоритма решения задачи (ТА)
|
65
|
|
3
|
Составление
программы по готовой схеме (ТП)
|
65
|
|
4
|
Отладка
программы на ЭВМ (ТОТ)
|
650
|
|
5
|
При автономной
отладке одной из задач (TОТ.А)
|
260
|
|
6
|
При автономной
отладке (TОТ.К)
|
390
|
|
7
|
Подготовка
документации по сдаче(ТД)
|
113,75
|
|
8
|
Итого
|
1566
|
Подставляя данные в формулу, найдем трудоемкость разработки
программного продукта ТПП:
.
Распределение трудоемкости НИР по исполнителям на каждой из стадий
Распределение трудоемкости темы по исполнителям, составленное исходя
из соотношений категорий работающих.
Для выполнения запланированного объема работ требуются два
человека.
Содержание работ, квалификационных требований
|
Исполнители
|
Трудоемкость,
чел.-ч
|
|
Всего на НИР
|
В том числе по
стадиям
|
|
|
1
|
2
|
3
|
4
|
5
|
|
1. Руководитель
темы 17 разряда
|
317,75
|
9
|
-
|
-
|
260
|
48,75
|
|
2. Инженер 2-й
категории 10 разряда
|
598,75
|
13,75
|
65
|
65
|
390
|
65
|
|
Итого
|
916,5
|
22,75
|
65
|
65
|
650
|
113,75
|
Построение,
расчет и оптимизация сетевой модели
Календарный план выполнения работ составляем с применением
метода сетевого планирования. На основе полученных данных строим сетевую модель
процесса разработки.
Сетевой график - это формализованное описание комплекта работ
в их логической и технической последовательности, фиксирование выявленных
взаимосвязей между ними. Трудоёмкость каждой работы сетевого графика
определяется экспертным путём, исходя из общих затрат времени темы.
Длительность работы:
,
где Tij - трудоёмкость работы, чел.-ч, R - количество
исполнителей работы, чел., KПЕР - коэффициент перевода рабочих дней
в календарные,ПЕР = 1,5.
Перечень и длительность работ сетевого графика
|
Код работы
|
Содержание
работы
|
Трудоемкость
|
Кол-во
исполнителей
|
Длит-ть работы,
дн.
|
|
1. Системный
анализ проекта
|
22,75
|
|
|
|
1-2
|
Составление ТЗ
|
7,75
|
1
|
6
|
|
2-3
|
Подготовка
описания задачи
|
15
|
2
|
9
|
|
2.
Предварительное проектирование
|
65
|
|
|
|
3-4
|
Разработка и
описание методов решения задач
|
20
|
1
|
5
|
|
4-5
|
Синтез
алгоритма
|
20
|
1
|
5
|
|
5-6
|
Исследование и
уточнение мат. Модели
|
25
|
1
|
9
|
|
3. Составление
программы по готовой схеме
|
65
|
|
|
|
6-7
|
Проектирование
новых компонент
|
25
|
1
|
13
|
|
7-8
|
Проектирование
интерфейса
|
20
|
1
|
9
|
|
8-9
|
Исправление
ошибок
|
20
|
1
|
9
|
|
4. Отладка
программы на ЭВМ
|
650
|
|
|
|
8-11
|
Тестирование ПП
в имитированной среде
|
250
|
2
|
70
|
|
8-10
|
Определение
характеристик ПП в реальной среде
|
230
|
2
|
56
|
|
9-12
|
Корректировка
программы
|
170
|
2
|
31
|
|
5. Подготовка
документации по задаче
|
113,75
|
|
|
|
10-12
|
Корректировка
комплекта документации
|
23,75
|
2
|
8
|
Далее рассчитаем параметры сетевого графика: ранний и поздний
срок свершения событий, резерв времени.
Параметры сетевого графика
|
Номер события
|
Ранний срок
свершения события
|
Поздний срок
свершения события
|
Резерв времени
|
|
1-2
|
6
|
6
|
0
|
|
2-3
|
15
|
15
|
0
|
|
3-4
|
20
|
20
|
0
|
|
4-5
|
25
|
25
|
0
|
|
5-6
|
34
|
34
|
0
|
|
6-7
|
47
|
47
|
0
|
|
7-8
|
56
|
56
|
0
|
|
8-9
|
65
|
96
|
31
|
|
8-10
|
112
|
119
|
7
|
При оптимизации сетевого графика были получены следующие
результаты: критический путь равен 143 дня и проходит через события 1 - 2- - 3
- 4 - 5 - 6 - 7 - 8 - 11 - 13 - 14 - 15 - 16. Оптимизация сетевого графика
проведена по типовой программе МЭОП путем перевода исполнителей с одних работ
на другие. Линейный график представлен на рисунке.
По результатам проведенной оптимизации можно сократить время
работы 8 - 9 и соответственно критический путь. При переводе с работы 8 - 9 на
работу 8 - 11 исполнителей в количестве 1,02 критический путь уменьшается при
этом на 5,9 дней.
Расчет
договорной цены научно-технической продукции
Основная заработная плата исполнителей рассчитывается исходя
из оклада, трудоемкости и времени выполнения работы. Заработная плата
рассчитывается исходя из оклада с надбавками согласно тарифной сетке для
руководителя дипломной работы 17 разряда равного 6340 рублей (оклад - 3024
руб., доплата за степень - 1500 руб., доплата за должность - 1815 руб.) и
инженера второй категории, 10 разряда, равного 1764 рубля. Минимальная
заработная плата на 2005 год составляет 720 рублей.
Расчет основной заработной платы исполнителей НИР
|
Исполнители
|
Трудоемкость,
Чел.ч
|
Часовая оплата,
р.
|
Заработная
плата, р.
|
|
1 Руководитель
темы, 17 разряд
|
360
|
38
|
13680
|
|
2 Инженер 2-й
категории, 10-й разряд
|
2000
|
10,5
|
21000
|
|
Всего
|
2360
|
|
34680
|
Результат научных исследований и разработок представляет
собой научно-техническую продукцию, которая является предметом купли-продажи и
реализуется по договорным ценам. Расчет стоимости основных материалов для
разработки программного продукта представлен в таблице.
Расчет стоимости основных материалов
|
Наименование
статьи расходов
|
Цена за ед., р.
|
Количество, шт.
|
Сумма, р.
|
|
1. CD-RW
Verbatim
|
40
|
1
|
40
|
|
2. Бумага,
пачка 500 листов
|
100
|
1
|
100
|
|
3. Тонер для
принтера
|
110
|
1
|
110
|
|
ИТОГО:
|
-
|
-
|
250
|
|
Транспортно-заготовительные
Расходы (10%)
|
-
|
-
|
25
|
|
ВСЕГО:
|
-
|
-
|
275
|
Произведем расчет затрат на специальное оборудование.
Рассчитаем затраты на использование компьютерной техники в
период создания программного продукта. Расчет стоимости эксплуатации
специального оборудования (ЭВМ, принтера) определим как сумму затрат на
электроэнергию и амортизационных отчислений за 1 час работы, помноженную на
количество часов разработки программного продукта.
Оборудование работало 5 месяцев: ЭВМ 8 часов в день, а
принтер 0.5 часов в день. В году 360 дней из них 251 рабочий, а в 5 месяцах -
120. Следовательно ЭВМ работала 960 часов, а принтер 60 часов.
В качестве ЭВМ был использована ПЭВМ IBM PC Athlon(tm) XP 1800+ стоимостью 16000 и
сроком службы 10000 часов, а в качестве принтера был использован принтер Samsung ML-1210 стоимостью 4900 и
сроком службы 6000 часов.
Амортизационные отчисления представляют собой стоимость
оборудования, отнесенную к сроку службы:
,
где - стоимость ЭВМ, - срок службы.
.
Потребляемая мощность 0.35 кВт/ч. Стоимость электроэнергии 1.18
р./кВт. Затраты на электроэнергию составляют 0.4 р./ч. Суммируя затраты на
амортизацию и потребляемую мощность получаем стоимость одного часа работы ЭВМ.
р.
Соответствующий расчет расходов проведем для принтера.
,
где - стоимость принтера, - срок службы.
Потребляемая мощность для принтера 0,15 кВт/ч. В итоге стоимость 1
часа работы принтера составляет 0,178 р/ч.
р.
Результаты расчета стоимости эксплуатации специального
оборудования
|
Оборудование
|
Мощность кВт.
|
Цена, р.
|
Срок службы
|
Стоимость 1
часа, р.
|
Время работы,
ч.
|
Сумма, р.
|
|
ЭВМ
|
0,35
|
16000
|
10000
|
2
|
960
|
1920
|
|
Принтер
|
0,15
|
4900
|
6000
|
1
|
60
|
60
|
|
Итог
|
1980
|
Произведем расчет договорной цены
Результаты определения договорной цены научно-технической
продукции (НТП)
|
Наименование
затрат
|
Сумма, р.
|
Примечание
|
|
1 Оплата
исполнителей
|
82000
|
Таблица 6
|
|
2 Единый
социальный налог
|
21320
|
26% от п. 1
|
|
3 Специальное
оборудование
|
1980
|
Таблица 6
|
|
4 Комплектующие
изделия и материалы
|
275
|
Таблица 5
|
|
5 Командировки
|
-
|
По смете
|
|
6
Контрагентские расходы
|
По смете
|
|
7 Накладные
расходы
|
21643
|
20,5% от п. 8
|
|
Наименование
затрат
|
Сумма, р.
|
Примечание
|
|
7.1 Содержание
и управление
|
7390,25
|
7% от п. 8
|
|
7.2 Развитие
корпоративной компьютерной сети ВГТУ
|
528,75
|
5% от п. 8
|
|
7.3 Компенсация
расходов производственно-техническим подразделениям, содействующим НИР, и
реклама
|
3167,25
|
3% от п. 8
|
|
7.4 Поддержка
патентно-лицензионной деятельности
|
1055,75
|
1% от п. 8
|
|
7.5 Содействие
научной работе аспирантов, докторов, студентов и тд.
|
1583,625
|
1,5% от п. 8
|
|
7.6
Издательская деятельность
|
20111,50
|
2% от п. 8
|
|
7.7 Оплата
труда студентов, участвующих в НИР
|
1055,75
|
1% от п. 8
|
|
8 ДОГОВОРНАЯ
ЦЕНА
|
127218
|
|
Договорная цена будет складываться из пунктов 1 - 6 и пункта
7 (20,5%). Таким образом, договорная цена программного продукта составляет
127218 рублей.
Расчет общенаучного эффекта НИР
Теоретические научные исследования в большинстве случаев
невозможно подвергнуть точному экономическому анализу, который мог бы дать
однозначный ответ на вопрос, связанный с оценкой их объективности. Поэтому ее
осмысление ограничивается определением того, достаточно ли велика вероятность
достижения положительного результата. В общем виде апостериорная оценка
складывается из теоретической ценности полученных результатов и качества самих
работ, а также сравнивается с практической работой, в результате которой можем
определить погрешность расчетов.
Общенаучный эффект характеризуется приростом новой
научно-технической информации, полученной в результате проведения исследования
и предназначенной для дальнейшего развития науки в радиотехнике.
По результатам проведенного научного исследования необходимо
дать апостериорную оценку, характеризующую эффективность темы.
В данном случае результатом проявления свойства эффективности
для данной НИР является общенаучный эффект, который рассчитан по следующей
методике.
При проведении НИР и после ее завершения показатель
общенаучного эффекта определяется как:
,
где - показатель ценности научной информации;
- показатель уровня распространения
информации; а 0,6 и 0,4 весовые коэффициенты показателей.
Показатель уровня распространения информации определяется по
формуле:
,
где - показатель уровня представления
результатов НИР в научных публикациях, - показатель уровня представления результатов НИР на научных
конференциях, 0,56 и 0,44 - весовые коэффициенты показателей.
Показатель рассчитывается как:
,
где  - общее количество исполнителей темы, чел.; - количество k-го вида научных публикаций по материалам НИР; - показатель относительной важности k-го вида научных публикаций.
Поставив данные в формулу, получаем:
.
Показатель определяется, как
,
где - количество докладов и сообщений k-го вида на научных конференциях по материалам НИР; - показатель относительной важности k-го вида конференций.
Подставив данные в формулу, получаем:
.
Таким образом, показатель уровня распространения информации,
определяемый по формуле, равен:
.
Проводимая НИР характеризуется как относительно новая, поэтому
показатель ценности научной информации .
Таким образом, показатель общенаучного эффекта, определяемый по
формуле, равен
.
Коэффициент эффективности исследования рассчитывается по формуле:
,
где - количественная оценка эффекта НИР; - количественная оценка нормативного эффекта НИР, равная 10.
Подставив эти значения в формулу, получим:
.
Полученное значение коэффициента эффективности исследования больше
нормативного значения, равного 0,33. Это говорит о целесообразности и
эффективности выполненной темы.
Расчет учебно-исследовательского эффекта
При проведении исследования и после его завершения
учебно-исследовательский эффект проявляется в различных сторонах учебной и
научной деятельности вузов и характеризуется уровнем соответствия НИР профилю
подготовки специалистов, повышения качества их подготовки, повышения
квалификации преподавателей, совершенствования методики и организации обучения.
Показатель учебно-исследовательского эффекта ( ) определяется как:
,
где - показатель уровня влияния НИР на
повышение квалификации преподавателей, - показатель уровня влияния исследования на совершенствование
методики и организации обучения; - показатель уровня влияния НИР на повышение качества подготовки
специалистов.
Показатель уровня влияния НИР на повышение квалификации
преподавателей определяется следующим образом:
,
где - показатель, уровня охвата коллектива
исполнителей НИР работой над диссертациями; - показатель уровня участия преподавателей и аспирантов в данной
НИР.
Показатель рассчитывается как:
где - количество исполнителей НИР, работающих
над диссертациями, - общее количество исполнителей темы.
Так как никто из исполнителей не связан с работой над
диссертациями, примем , тогда .
Показатель определяется по формуле:
,
где - количество преподавателей и аспирантов,
участвующих в данной НИР, - общее количество исполнителей темы ( ).
.
Подставив рассчитанные значения в формулу, получим:
.
Показатель уровня влияния НИР на совершенствование методик и
организации обучения ( ) рассчитывается по формуле:
,
где - показатель уровня использования
результатов НИР в публикациях учебного назначения, - показатель уровня использования
результатов НИР в курсах лекций, - показатель уровня использования результатов НИР в методических
разработках учебного назначения.
Показатель определяется по формуле
,
где - показатель относительной важности k-го вида публикаций (примем ); - количество k-го вида публикаций ( ).
Получаем:

Показатель рассчитывается по формуле:
,
где - показатель относительной важности к-го
уровня использования результатов НИР в курсах лекций ( ), - количество работ k-го направления
использования результатов НИР в курсах лекций ( ).
Подставив данные в формулу, получаем:

Показатель определяется как
где - показатель относительной важности k-го уровня использования результатов НИР в методических
разработках учебного назначения ( ), - количество работ k-го направления использования результатов НИР в
методических разработках учебного назначения ( ).
Получаем

Подставив рассчитанные значения в формулу, получаем:
.
Показатель уровня влияния результатов НИР на повышение качества
подготовки специалистов ( ) определяется как:
где - показатель уровня участия студентов в
данной НИР, - показатель уровня представления результатов
НИР в докладах на студенческих конференциях, - показатель уровня представления курсовых и дипломных проектов.
Показатель определяется по формуле:
,
где - общее количество человеко-месяцев,
студентами-совместителями по теме ( ); - продолжительность темы в годах ( ).
Подставив значения в формулу, получаем:

Показатель рассчитывается как

где - показатель относительной важности k-го уровня представления результатов НИР в докладах на
студенческих научных конференциях ( ), - количество студентов-исполнителей данной
НИР, принявших участие в k-ом виде
конференции ( ); - условное количество студентов, участвующих в данной НИР в
течение года, в пересчете на полную занятость, которое определяется по формуле:
Получаем
.
Подставив эти значения в формулу (32), получим:
.
Показатель рассчитывается как:
где и - соответственно количество курсовых и дипломных проектов,
выполненных по результатам данной НИР ( , ).
Получаем:

Подставив рассчитанные значения в формулу, получим:
.
Таким образом, показатель учебно-исследовательского эффекта,
определяемый по формуле, равен:
.
Коэффициент эффективности, определяемый по формуле, равен

Так как в нашей НИР имеют место как научный, так и
учебно-исследовательский эффект, то необходимо определить интегральный
показатель эффективности ( ):
,
Получаем
.
Интегральный коэффициент эффективности:

Результаты расчета эффективности НИР
|
Показатель
|
Коэффициент
эффективности
|
Скорректированное
значение
|
|
Общенаучный
эффект
|
0,66
|
6,6
|
|
Учебно-исследовательский
эффект
|
2,5
|
25
|
|
Интегральный
эффект
|
1,49
|
14,9
|
Проанализировав таблицу можно сделать вывод, что коэффициенты
эффективности по всем направлениям больше нормативного значения (равного 0,33),
что говорит об эффективности проводимой НИР.
Сетевой график
Линейный график
Заключение
В ходе выполнения работы была рассчитана система атмосферной
оптической связи на основе СО2-лазера.
Цели поставленные в ТЗ выполнены.
В результате выполнения организационно-экономической части был
проведен расчет договорной цены научно-технической продукции, а также
эффективности НИР.
Был проведен анализ влияния выявленных вредных и опасных факторов
на здоровье персонала при изготовлении и установке системы атмосферной
оптической связи.
Работа проведена на основе НИР, выполненных кафедрой РЭУС.
Результаты работы доложены на научно-технической конференции
профессорско-преподавательского состава, аспирантов и студентов ВГТУ в апреле
2005 года, использованы в госбюджетных НИР кафедры.
Таким образом, создание подобной системы связи с перестройкой
рабочей длины волны излучения имеет немаловажное значение для решения задач по
связи.
Список литературы
1. Шереметьев А.Г. Лазерная связь / А.Г.
Шереметьев, Р.Г. Толпарев. - М.: Связь, 1974. - 384 с.
. Вильям К. Пратт Лазерные системы связи / Вильям
К. Пратт Пер. с англ. под. ред. А.Г. Шереметьева. М.: Связь, 1972. - 232 с.
. Елисеев И.В. Доверие к беспроводной оптике //
Сети. - 2001. - №5.
. Азаров А.А. Электронная перестройка длины волны
излучения СО2-лазера // Квантовая Электроника. - Т. 25. - 1998. -
№12.
. Зуев В.Е. Распространение лазерного излучения в
атмосфере / Зуев В.Е. - М.: Радио и связь, 1981. - 288 с.
. Лаптев Г.Д. Об изменении деполяризации
эллиптически поляризованного лазерного излучения // Квантовая электроника. - Т.
24. - 1997. - №10.
. Медведев Д.Б. Влияние погодных условий на
беспроводную оптическую связь // Вестник связи. - 2001. - №4.
. Зуев В.Е. Перенос оптических сигналов в земной
атмосфере в условиях помех / В.Е. Зуев - М.: Советское радио, 1977.
. Ландсберг Г.С. Оптика / Ландсберг Г.С. - М.:
Наука, - 1976.
. Шереметьев А.Г. Статистическая теория лазерной
связи / А.Г. Шереметьев. - М.: Связь, 1976. - 315 с.
11. Гремяченская М.А. Методическое указание по
выполнению организационно-экономической части дипломных работ для студентов
специальности 200700 «Радиотехника» дневной и вечерней формы обучения / М.А.
Гремяченская, И.Г. Орлова. - Воронеж: Изд-во ВГТУ, 2000. - 36 с.
12. Лагунов В.С. Безопасность и экологичность в
дипломном проекте: Учебное пособие по дипломному проектированию / В.С. Лагунов,
Э.Х. Милушев, В.И. Гунин. - Воронеж: Изд-во ВГТУ, 1998. - 123 с.
Похожие работы на - Проектирование системы атмосферной оптической связи
|