Проектирование систем электроснабжения промышленных предприятий на примере маслохозяйственного отделения ПП 'Ефремовская ТЭЦ'
Содержание
электрооборудование ток напряжение трансформатор
Введение
1. Общая
часть
.1
Технические параметры технологического оборудования
.2 Описание
технологического процесса
.3
Характеристика производственных помещений
.4 Выбор
исполнения электрооборудования
.5 Выбор рода
тока, величин напряжений, схемы распределенной сети
. Специальная
часть
.1 Расчет
электрических нагрузок
.2
Компенсация реактивной мощности
.3 Выбор
числа и мощности трансформаторной подстанции
.4 Выбор
защитных аппаратов напряжением до 1000 В
2.5 Расчет
электрических сетей до 1000 В
2.6 Расчёт
токов короткого замыкания
2.7 Выбор
электрооборудования ТП и проверка на действие токов КЗ
.8 Расчет
заземляющего устройства ТП
.9 Расчет
мощностей и выбор электродвигателей
.10
Вычисление токов электродвигателей
.11 Выбор
электроаппаратов управления и защиты, кабелей
.12 Расчет
электрического освещения
.12.1 Расчет
расположения светильников
.12.2
Светотехнический расчет осветительной установки
.12.3
Электротехнический расчет осветительной установки
.12.4 Расчет
аварийного освещения
2.13 Расчет
молниезащиты
3.
Организационная часть
.1 Разработка
принципиальной электрической схемы управления
.2 Описание
работ схемы управления электроприводом
.3
Составление кабельного журнала
3.4 Монтаж
силового электрооборудования
3.5
Эксплуатация силового электрооборудования
. Мероприятия
по охране труда
.1 Основные и
дополнительные электрозащитные средства в электроустановках до 1000 В
.2
Мероприятия по технике безопасности и противопожарные мероприятия
. Теоретическая
часть
.1
Энергетическая служба предприятия и система планово-предупредительного ремонта
.1.1 Общая
концепция системы планово-предупредительного ремонта энергетического
оборудования
5.1.2 Задачи
и функции отдела главного энергетика
6. Расчетная
часть
.1 Расчет
стоимости ОПФ
.2
Определение структуры
.3
Определение сложности ремонта
.4 Затраты
труда на ремонт
.5 Расчет
продолжительности простоя в ремонте
.6 Расчет
численности ремонтного и обслуживающего персонала
.7
Организация производства
.7.1 Режим
труда отдельного исполнителя
.7.2 Баланс
рабочего времени
.7.3 Расчет
формы годовой оплаты труда
.7.4 Расчет
годовой формы оплаты труда обслуживающего персонала
.7.5 Расчет
годового фонда оплаты труда ремонтных рабочих
.7.6 Расчет
затраты на ремонт
Выводы
Литература
Введение
Основными потребителями электроэнергии являются различные отрасли
промышленности: транспорт, сельское хозяйство, коммунальное хозяйство городов и
поселков. При этом более 70% потребления электроэнергии приходится на
промышленные объекты. Электроэнергия широко используется во всех отраслях
народного хозяйства, особенно для электропривода различных механизмов,
электрических установок, а также для электрозвуковой обработки материалов,
электроокраски. Для обеспечения подачи электроэнергии в необходимом и
соответствующем качестве от энергосистемы к промышленным объектам, устройствам
и механизмам служат системы электроснабжения промышленных предприятий,
состоящих из сетей напряжением до 1кВ.
Электроустановки потребителей электроэнергии имеют свои специфические
особенности; к ним предъявляют определенные требования: надежность питания,
качество электроэнергии, резервирование и защита отдельных элементов. При
проектировании, сооружении и эксплуатации систем электроснабжения промышленных
предприятий необходимо правильно в технико-экономическом аспекте осуществлять
выбор напряжения, определять электронагрузки, выбирать ток, число и мощность
трансформаторных подстанций. Виды их защиты, системы компенсации реактивной
мощности и способы регулирования напряжения. Это должно решаться с учетом
совершенствования технологического процесса производства, роста мощностей
отдельных электроприемников и особенностей каждого предприятия, цеха,
установки, повышения качества и эффективности их работы.
В системе цехового распределения электроэнергии широко используют
комплектные распределительные устройства, подстанции и осветительные
токопроводы. Это создает гибкую и надежную систему распределения, в результате
чего экономится большое количество проводов и кабелей. Упрощены схемы
подстанций различных напряжений и назначений за присоединением трансформаторов
подстанций к питающим линиям.
. Общая часть
.1 Технические параметры технологического оборудования
Маслохозяйственное отделение
является одним из цехов ПП "Ефремовская ТЭЦ" и предназначается для
очистки масла и его хранения.
Технические данные технологического оборудования приведены в таблице 1.1.
Таблица 1.1 Параметры технологического оборудования
|
Наименование технологического механизма
|
Позиционный номер
|
Количество штук
|
Технические характеристики
|
|
Насос прием масла
|
5
|
1
|
КЗ=1,05, ρ=4,8,
η=0,6, Q=0,015 м3/с,
Н=15 м, Н=4 м, n=970 мин-1
|
|
Насос чистого масла
|
1,3
|
2
|
КЗ=1,05, ρ=4,8,
η=0,6, Q=0,015 м3/с,
Н=15 м, Н=4 м, n=970 мин-1
|
|
Насос отработанного масла
|
2,4
|
2
|
К1=1,05, ρ=4,8, η=0,6,
Q=0,015 м3/с,
Н=15 м, Н=4 м, n=970 мин-1
|
|
Сепаратор
|
6,7,8,9
|
4
|
КЗ=1,05 ρ=5 кг/м3, η=0,8
Q=1,5 м3/с,
К1=1, К2=1,5 , j=4,1
|
|
Вытяжной вентилятор
|
10
|
1
|
КЗ=1,1, ρ=1 кг/м3, η=0,67, Q=1,5 м3/с, Н=420
м, n=1450 мин-1
|
|
Приточный вентилятор
|
11
|
1
|
КЗ=1,05, η=0,67,
Q=2,8 м3/с,
Н=480 Па, n=1450 мин-1 , р=2,1
|
1.2 Описание технологического процесса
Маслохозяйство ТЭЦ предназначено для очистки масла и его хранения. В
маслохозяйстве находятся емкости для хранения масла в составе шести баков.
Конструкция маслохозяйства дает возможность увеличения числа емкостей для
хранения еще большего количества. Одна емкость содержит масла достаточного для
наполнения самого большего трансформатора. Насосы 1 и 2 обеспечивают перекачку
чистого и отработанного турбинного масла. 5 насос осуществляет прием масла из
цистерн. В маслохозяйстве находятся такие 4 сепаратора , которые обеспечивают
очистку масла. Очистка масла производится ежемесячно. Находящиеся в
маслохозяйстве вентиляторы обеспечивают оборот воздуха с окружающей средой.
.3 Характеристика производственных помещений
По условиям среды производственные помещения подразделяются на помещения
с нормальной средой , влажные, сырые, особо сырые, с химически активной средой,
пыльные, жаркие, пожароопасные, взрывоопасные, наружные установки.
Масло хозяйство относится к помещениям с пожароопасной средой.
В отношении опасности поражения людей электрическим током различаются:
помещения без повышенной опасности , в которых отсутствуют условия,
создающие повышенную или особую опасность;
помещения с повышенной опасностью, характеризующиеся наличием в них
одного из следующих условий, создающих повышенную опасность: сырость,
токопроводящая пыль, токопроводящие полы, высокая температура и т.д.
особо опасные помещения, характеризуются наличием одного из следующих
условий, создающих особую опасность: особая сырость, химически активная или
органическая среда , одновременно два или более условий повышенной опасности.
Маслохозяйство относится к помещениям с повышенной опасностью.
Маслохозяйство по пожарной и взрывной опасности относится к помещениям к
категории П-I, так как там происходит процесс перекачки и хранения масла.
На основании выбранной категории помещения принимает степень защиты
электрооборудования в помещениях и установках не менее IP44.
.4 Выбор исполнения электрооборудования
На основании вышеизложенного, выбираем следующие степени защиты
электрооборудования:
1) электрические машины - IP 44;
2) электрические аппараты и приборы в установках передвижных или
являющихся частью передвижных и ручных переносных - IP 44;
) электроаппараты и приборы в стационарных установках - IP 53;
) электрические стационарные светильники - IP 53;
) электрические переносные светильники - IP53.
Для питания силовых и осветительных электроприборов выбираем кабели и
провода в поливинилхлоридной изоляции и оболочке с алюминиевыми жилами,
сечением не менее 2,5 мм2. Щитки рабочего и аварийного освещения,
силовые распределительные щиты, устанавливаемые в помещениях категории Д.
.5 Выбор рода тока, величин напряжений, схемы распределенной сети
По режимам работы все ЭП могут быть распределены на три основные группы:
продолжительный режим, в котором электрические машины могут работать
длительное время, причём превышение температуры отдельных частей машины не выходит
за пределы, установленные стандартом;
кратковременный режим, при котором рабочий период не настолько длителен,
чтобы температура отдельных частей машины могла достигнуть установившегося
значения, период же остановки машины настолько длителен, что машина успевает
охладиться до температуры окружающей среды;
повторно-кратковременный режим, при котором рабочие периоды чередуются с
периодами пауз, а длительность всего цикла не превышает 10мин. При этом нагрев
не превосходит допустимого, а охлаждение не достигает температуры окружающей
среды.
Основными ЭП цеха являются насосы, вентиляторы, работающие в
продолжительном режиме.
По напряжению все электроприемники могут быть
разделены на две группы:
электроприемники - которые получают питание
непосредственно от сети 3, 6 и 10 кВ. К этой группе относятся крупные
электродвигатели, а также мощные печи сопротивления и дуговые печи для плавки
черных и цветных металлов, питаемые через собственные трансформаторы;
электроприемники - питание которых экономически
целесообразно на напряжении 380-660 В.
По роду тока электроприемники могут быть разделены на
три группы, работающие:
от сети переменного тока нормальной промышленной
частоты (50 Гц);
от сети переменного тока повышенной или пониженной
частоты;
от сети постоянного тока.
Для питания силовых и осветительных электроприёмников бардонасосного
отделения принимаем трёхфазное напряжение 380/220В промышленной частоты 50Гц,
так как оно обеспечивает совместное питание силовой и осветительной нагрузок.
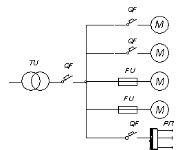
Рисунок 1.1 - Радиальная схема
2. Специальная часть
.1 Расчет электрических нагрузок
Расчет для РП1
. Определение установленных мощностей для ЭП по продолжительному режиму
. Общее число электроприемников по узлу питания
=n1+n2+n3+n5 шт. (2.01)=1+1+2+1=5
шт.
. Сменные мощности
Pсм=KУ*PУ кВт (2.02)
Pсм1=0,7*1,1=0,77 кВтсм2=0,7*5,5=3,85 кВтсм3=0,62*11=6,82
кВтсм4=0,65*1,1=0,72 кВт
где Ку-коэффициент использования;
Руi-установленная мощность, кВт;количество ЭП,значение,
соответствующее средневзвешенному cos, характерному для ЭП данного режима
работы
Qсм = Рсм* tgφ квар (2.03)см1 =0,77*0,8=0,6
кварсм1 =0,77*0,8=0,6 кварсм1 =0,77*0,8=0,6 кварсм1 =0,77*0,8=0,6
квар
. Суммарная установленная мощность
РУ=∑РУ кВт (2.04)
РУ=1,1+5,5+5,5*2+1,1=18,7 кВт
. Суммарные сменные мощности
ΣРсм=Рсм1+ Рсм2+
Рсм3+ Рсм4 кВт (2.05)
ΣРсм=0,77+3,85+6,82+0,72=12,16
кВт
ΣQсм=Qсм1+ Qсм2+ Qсм3+Qсм4
квар (2.06)
ΣQсм=0,6+3,1+5,1+0,5=9,3 квар
. Групповой коэффициент использования и коэффициент реактивной мощности
Кu гр=∑Рсм/∑РУ (2.07)
Кu гр=12,16/18,7=0,65
Средний cosφи tgφ по узлу питания
tgφ=∑Qсм/∑Рсм
(2.08)
tgφ=9,3/12,16=0,76
сosφ=arctg 0,80=0,76
7. Модуль силовой сборки
=Рном max/Рном min (2.09)=5,5/1,1=5>3
где -номинальная мощность наибольшего ЭП, -номинальная мощность
наименьшего ЭП по узлу питания
. Эффективное число электроприемников
nэ=2∑РУ/Рном max (2.10)
nэ=2*18,7/5,5=6,8=7 шт
так как nэ>n, принимаем nэ=5 шт
По таблице выбираем
Км=1,26 при Ки гр=0,7 и nэ=5
. Расчетные нагрузки: Активная
РМ= КМ*∑Рсм кВт (2.11)
РМ=1,26*12,16=15,3 кВт
Реактивная
M=1,1*∑Qсмi
кВт (2.12)M=1,1*9,3=10,23 кВт
Полная
кВ*А (2.13)М=
=324 кВ*А
Расчетный ток
M=SM/(
*Uном) А (2.14)M=18,4/(1,73*0,38)=28,3
А
Расчет для РП2
. Определение установленных мощностей для ЭП по продолжительному режиму
. Общее число электроприемников по узлу питания
=n1+n2+n3+n5 шт (2.15)
n=1+2+1=4 шт.
3. Сменные мощности
Рсм =Ку*n*РУ кВт (2.16)
Рсм1=0,7*5,5=3,85 кВт
Рсм2=0,62*5,5*2=6,82 кВт Рсм3=0,65*2,2=1,43кВт
где Ку- коэффициент использования;Ру- установленная
мощность; кВтn- количество ЭП
Qсм=Рсм* tgφ кВар (2.17)см1=0,8*3,85=3,1
кВарсм2=0,75*6,82=5,1 кВарсм3=0,75*1,43=1,1 кВар
. Суммарная установленная мощность
РУ=∑РУ кВт (2.18)
РУ=5,5+5,5*2+2,2=18,7кВт
. Суммарные сменные мощности
ΣРсм=Рсм1+ Рсм2+
Рсм3 ,кВт (2.19)
ΣРсм=3,85+6,82+1,43=12,1кВт
ΣQсм=Qсм1+ Qсм2+ Qсм3
,кВар (2.20)
ΣQсм=3,1+5,1+1,1=9,3 ,кВар
. Групповой коэффициент использования и коэффициент реактивной мощности
Кu гр=∑Рсм/∑РУ (2.21)
Кu гр=12,1/18,7=0,64
Средний cosφи tgφ по узлу питания
tgφ=∑Qсм/∑Рсм
(2.22)
tgφ=9,3/12,1=0,76
сosφ=arctg 0,76=0,80
7. Модуль силовой сборки
m=Рном max/Рном min (2.23)=110/18,5=5,9>3
8. Эффективное число электроприемников
nэ=2∑РУ/Рном max (2.24)э=2*18,7/5,5=6,8=7
шт (2.24)
так как nэ>n, принимаем nэ =n=4 шт
По таблице выбираем
Км=1,26 при Ки гр=0,7 и nэ=4
. Расчетные нагрузки:
Активная
РМ= КМ*∑Рсм кВт (2.25)
РМ=1,26*12,1=15,2 кВт
Реактивная
M=1,1*∑Qсм
кВар (2.26)M=1,1*9,3=10,23 кВар
Полная
кВ*А (2.27)М=
=18,3 кВ*А
Расчетный ток
M=SM/(
*Uном) А (2.28)M=18,3/(1,73*0,38)=28,2
А
Расчет для РП1 и РП2
. Общее число электроприемников по узлу питания
=n1+n2 шт (2.29)=n1+n2=5+4=9шт
. Суммарные сменные мощности
∑Рсм= Рсм1+ Рсм2 кВт (2.30)
∑Рсм=12,16+12,1=24,3 кВт
∑Qсм= Qсм1+ Qсм2 кВар (2.31)
∑Qсм=9,3+9,3=18,6кВар
. Суммарная установленная мощность
РУ=∑РУi кВт (2.32)
РУ=18,7+18,7=37,4 кВт
. Групповой коэффициент использования и коэффициент реактивной мощности
Кu гр=∑Рсм/∑РУ (2.33)
Кu гр=24,3/37,4=0,64
Средний cosφи tgφ по узлу питания
tgφ=∑Qсмi/∑Рсмi
(2.34)
tgφ=18,6/24,3=0,76
сosφ=arctg 0,76=0,80
. Модуль силовой сборки
=Рном max/Рном min (2.35)=5,5/1,1=5>3
. Эффективное число электроприемников
э=2∑РУi/Рном
max (2.36)э=2*37,4/5,5=13,6=14 шт
так как nэ>n, принимаем nэ=n 9шт
. По таблице выбираем
Км=1,23 при Ки гр=0,64 и nэ=9
. Расчетные нагрузки:
Активная
РМ= КМ*∑Рсм кВт (2.37)
РМ=1,23*24,3=29,8 кВт
Реактивная
M=1,1*∑Qсмi
кВар (2.38)M=1,1*18,6=20,5 кВар
Полная
кВ*А (2.39)
SМ=
=36,2 кВ*А
Расчетный ток
M=SM/(
*Uном) А (2.40)M=36,2/(1,73*0,38)=55,6
А
Расчет освещения
Исходные данные:
Рлн =100 Вт; N=10 шт.;Ки=0,85
. Вычисляем суммарную нагрузку осветительной установки
Ру=Рлн*N*10-3 кВт (2.41)
Ру=100*10*10-3=1кВт
. вычисляем среднюю нагрузку
Рсм=Ки*Ру, кВт (2.42)
Рсм=0,85*1=0,85 кВт
, (2.43)cм=0,85*0=0 кВар
= Qсм/Рсм
=0/0,85=0 ; cosj=1
РМ=Рсм кВт
РМ=0,85 кВт
QM=QсмM=0 кВар
Расчетная нагрузка сети на шинах 1 кВ питающей ПС
. ∑Ру=∑Ру сил+∑Ру осв
(2.45)
∑Ру=37,4+1=38,4 кВт
.
(2.46)м=20,5+0=20,5 кВар
(2.47)
Рм=369,8+4,6=374,4
, кВ*А
(2.48)м=30,62+20,52=36,8 кВ*А
.
А (2.49)м=36,8/1,73*0,4=56,6
А
Окончание расчета нагрузок
Так как нагрузки масло хозяйства нецелесообразно проектировать подстанции
для этого отделения.
В соответствии с этим, масло хозяйство запитаем от подстанции мазутного
хозяйства ТЭЦ с учетом его нагрузки.
Сводная ведомость нагрузки
|
Наименование потребителей
|
Рм
|
Qм
|
Sм
|
|
Масло хозяйство
|
30,6
|
20,5
|
36,8
|
|
Мазута хозяйство
|
374,4
|
362
|
569,4
|
|
Итого
|
405
|
382,5
|
606,4
|
Таблица 2.1. Сводная ведомость расчета нагрузок по цеху
|
Узлы питания и группы электроприемников
|
Средняя нагрузка за максимально загруженную смену
|
Эффективное число электроприемников nЭ
|
Коэффициент максимума КМ
|
Максимальная расчетная нагрузка
|
|
РСМ, кВт
|
QСМ, квар
|
|
|
|
|
|
|
|
|
РМ, кВт
|
QМ, квар
|
SМ, кВ·А
|
IМ, А
|
|
1
|
8
|
9
|
10
|
11
|
12
|
13
|
14
|
15
|
|
РП1 1 Насос прием масла 2 Насос отработанного масла 3
Сепаратор 4 Вытяжной вентилятор
|
0,77 3,85 6,82 0,72
|
0,6 3,1 5,1 0,5
|
|
|
|
|
|
|
|
Итого по РП1
|
12,16
|
9,3
|
5
|
1,26
|
15,3
|
10,23
|
18,4
|
28,3
|
|
РП2 6.Насос чистого масла 7.Сепаратор 8.Приточный вентилятор
|
3,85 6,82 1,43
|
3,1 5,1 1,1
|
|
|
|
|
|
|
|
Итого по РП2
|
12,1
|
9,3
|
4
|
1,26
|
29,8
|
20,5
|
36,2
|
55,6
|
|
Узлы питания и группы электроприемников
|
Средняя нагрузка за максимально загруженную смену
|
Эффективное число электроприемников nЭ
|
Коэффициент максимума КМ
|
Максимальная расчетная нагрузка
|
|
РСМ, кВт
|
QСМ, квар
|
|
|
|
|
|
|
|
|
РМ, кВт
|
QМ, квар
|
SМ, кВ·А
|
|
1
|
8
|
9
|
10
|
11
|
12
|
13
|
14
|
15
|
|
Итого по РП1 и РП2
|
24,26
|
18,6
|
9
|
2,52
|
45,1
|
30,7
|
54,6 -
|
83,9 -
|
|
Освещение
|
0,85
|
0
|
-
|
-
|
0,85
|
0
|
-
|
-
|
|
Итого нагрузка до 1 кВ
|
|
|
-
|
-
|
30,6
|
20,5
|
36,8
|
56,6
|
|
Наименование узлов питания и групп ЭП
|
Кол-во ЭП рабочих/ резервных
|
Установленная мощность приведенная к ПВ=1, Рном,
кВт
|
|
Коэффициент использования, Ки
|
cosφ tgφ
|
|
|
Одного ЭП (наибольшего. наименьшего)
|
общая рабочая, резервная
|
|
|
|
|
1
|
2
|
3
|
4
|
5
|
6
|
7
|
|
РП1 1.Насос прием масла
|
1/0
|
1,1
|
1,1/0
|
|
|
0,75/0,8
|
|
2.Насос отработанного масла
|
1/0
|
5,5
|
5,5/0
|
|
|
0,75/0,8
|
|
3.Сепаратор
|
2/0
|
5,5
|
5,5/0
|
|
|
0,8/0,75
|
|
4.Вытяжной вентилятор
|
1/0
|
1,1
|
1,1/0
|
|
|
0,8/0,75
|
|
Итого по РП2
|
5/0
|
1,1-5,5
|
13,2/0
|
5
|
0,45
|
0,75/0,8
|
|
РП2 1 Насос чистого масла
|
1/0
|
5,5
|
5,5/0
|
|
|
0,75/0,8
|
|
2 сепаратор
|
2/0
|
5,5
|
5,5/0
|
|
|
0,8/0,75
|
|
3 Приточный вентилятор
|
1/0
|
2,2
|
2,2/0
|
|
|
0,8/0,75
|
|
Итого по РП2
|
4/0
|
2,2-5,5
|
13,2/0
|
3
|
0,64
|
0,75/0,8
|
|
Итого по РП1 и РП2
|
9/0
|
2,2-5,5
|
26,4
|
5
|
0,64
|
0,75/0,8
|
|
Освещение
|
-
|
-
|
1
|
-
|
0,85
|
1
|
|
Итого нагрузка до 1 кВ
|
-
|
-
|
38,4
|
-
|
-
|
0,75/0,8
|
|
|
|
|
|
|
|
|
|
|
2.2 Компенсация реактивной мощности
Средствами компенсации реактивной мощности могут быть синхронные
двигатели и батареи статических конденсаторов. Компенсация при напряжении 6 кВ
может выполняться синхронными двигателями и батареями конденсаторов, а при
напряжении 0.4 кВ - только батареями конденсаторов.
Мощность компенсирующего устройства определяется как разность между
фактической наибольшей реактивной мощностью нагрузки предприятия (цеха) и
предельной реактивной мощностью, предоставляемой предприятию энергосистемой по
условиям режима её работы
КУ=α*РМ(tg
М- tg
Э),
кВар (2.50)
где α -коэффициент, учитывающий повышение cos естественным способом,
принимается =0,9;
Рм- максимальная активная мощность цеха, кВт;
фактический тангенс угла, соответствующий мощностям нагрузки Рм,
Qм
(2.51)

М=382,5/405=0,94
tgφЭ=arccosφэ =0,72
где tgφЭ
-оптимальный тангенс угла, соответствующий установленным предприятием условиям
получения от энергосистемы мощностей нагрузки Рм., Qм
cosэ=0,92-0,95
. Расчетная реактивная мощность
расч=α*РМ*(tgφМ- tgφЭ) (2.52)
,9*405(0,94-0,42)=189,54кВар
. Определяем мощность стандартной ККУ по условию
кку>Qрасч/2 (2.53)
,54/2=94,7 кВар
По справочным данным выбираем 2 ККУ типа УК4-0,38-100 УЗ мощностью 100
кВар каждая
. Определяем фактические значения Pm, Qm, Smна стороне НН ТП с учётом
компенсации
m нн=Pm (2.54)m=405 кВт
Qm нн=Qm-2Qкку (2.55)m нн=382,5-2*100=182,5
кВарm нн=
(2.56)
Sm нн=
=444,2 квар
cos φнн=Pм нн/Sм нн (2.57)м
нн/Sм нн=369,8/374,9=0,98
. Величина разрядного сопротивления
Rразр≤15*106*Uф2/Qкку
(2.58)разр=15*106*0,222/100=6 кОм
T=0,02*Sмнн
(2.59)
T=0,02*444,2=8,88кВт
T=0,1*Sмнн
(2.60)
T=0,1*444,2=44,4
Таблица 2.2. Сводная ведомость расчета нагрузок
|
Параметр
|
cosм
|
tgм
|
Рм, кВт
|
Qм, кВар
|
Sм, кВ*А
|
|
Всего на НН без ККУ
|
0,72
|
0,94
|
405
|
382,5
|
36,8
|
|
ККУ
|
-
|
-
|
-
|
2х100
|
-
|
|
Всего на НН с ККУ
|
0,91
|
0,45
|
405
|
182,5
|
444,2
|
|
Потери
|
-
|
-
|
8,88
|
44,4
|
-
|
|
Всего на ВН
|
0,87
|
0,54
|
413,8
|
226,9
|
471,9
|
( 2.61)
SМ=
=471,9 ква
2.3 Выбор числа и мощности трансформаторной подстанции
(2.62)
Sном .т=0,7*471,9=330,3
ном.т =400≥330,3
- условие выполняется
Нагрузка в нормальном режиме:
Кз.норм=Sм/2*Sном.т≤ Кз.доп (2.63)
Кз.норм =330,3/2*400 ≤ 0,41 ≤ 0,7
В аварийном режиме
Кз АВ=Sm/Sном.т (2.64)
Кз АВ=471,9/400=1,17 ≤ 1,4
условие выполняется
Выбираем трансформатор ТМ-400/6:
ном.т = 400 кВ А, Uвн = 6 кВ , Uнн = 0,4 кВ, uK = 5,5%, Ix = 1,25% ,
Pk=7,6 кВт, Pх=12,50кВт.
2.4 Выбор защитных аппаратов напряжением до 1000 В
Определяем номинальные и пусковые токи двигателей ЭП по формуле:
(2.65)
ном - номинальная мощность двигателя ,кВт, Uном - номинальное напряжение
двигателя, кВт, η - КПД двигателяф - коэффициент мощности двигателя.
(2.66)
п - кратность пускового тока двигателя.
Пример выбора двигателя для насоса позиции
15.
Таблица 2.3.
|
Электроприемник
|
Электродвигатель
|
Ток, А
|
|
Тип
|
, кВт
|
, В
|
n, об/мин
|
|
|
,А
|
,А
|
,А
|
|
Насос прием масла поз. 5
|
АИР80A4
|
1,1
|
380
|
1500
|
0,75
|
0,81
|
5,5
|
2,75
|
15,1
|
|
Насос чистого масла поз.1,3
|
АИР112М4
|
5,5
|
380
|
1500
|
0,855
|
0,86
|
7,0
|
11,38
|
79,6
|
|
Насос отработанного масла поз. 2,4
|
АИР112М4
|
5,5
|
380
|
1500
|
0,855
|
0,86
|
7,0
|
11,38
|
79,6
|
|
Сепаратор поз. 6,7,8,9
|
АИР132S6
|
5,5
|
380
|
1000
|
0,85
|
0,8
|
7,0
|
12,30
|
86,1
|
|
Вытяжной вентилятор поз. 10
|
АИР80A4
|
1,1
|
380
|
1500
|
0,75
|
0,81
|
5,5
|
2,75
|
15,1
|
|
Приточный вентилятор поз. 11
|
АИР90L4
|
2,2
|
380
|
1500
|
0,81
|
0,83
|
6,5
|
4,97
|
32,36
|
В качестве защитных элементов используются автоматические выключатели.
Автоматический выключатели выбирают по условиям:
а) по расчетному току линии
, (2.67)
где
- номинальный ток расцепителя автомата, А,
- номинальный ток двигателя, А;
б) по кратковременному току линии (проверка на несрабатывание при пуске
двигателя)
, (2.68)
где
- ток отсечки, А,
- пусковой ток двигателя, А.
Пример выбора автоматического выключателя для двигателя насоса.
Для двигателя насоса поз.5 выбираем автоматический выключатель серии
ВА51:
А.
Принимаем
= 4 А>3,44 А.
А.
Принимаем кратность отсечки
= 14.
А > 18,12 A
Параметры автомата: тип ВА51Г-25,
= 25 А,
= 4 А,
,
|
Электроприемник
|
Электродвигатель
|
|
|
|
Тип
|
IНОМ,А
|
IП,А
|
1,25IНОМ.ДВ,А
|
1,2IП,А
|
|
Насос прием масла поз. 5
|
АИР80A4
|
2,75
|
15,1
|
3,44
|
18,12
|
|
Насос чистого масла поз.1,3
|
АИР112М4
|
11,38
|
79,6
|
14,22
|
95,52
|
|
Насос отработанного масла поз. 2,4
|
АИР112М4
|
11,38
|
79,6
|
14,22
|
95,52
|
|
Сепаратор поз. 6,7,8,9
|
АИР132S6
|
12,30
|
86,1
|
15,4
|
103,3
|
|
Вытяжной вентилятор поз. 10
|
АИР80A4
|
2,75
|
15,1
|
3,44
|
18,12
|
|
Приточный вентилятор поз. 11
|
АИР90L4
|
4,97
|
32,36
|
6,2
|
38,83
|
|
Электроприемник
|
Автоматические выключатели
|
|
Тип
|
IНОМ,А
|
Iном.р.А
|
Iу(п).А
|
|
Насос прием масла поз. 5
|
ВА51Г-25
|
25
|
4
|
1,2Iном.р
|
14Iном.р
|
|
Насос чистого масла поз.1,3
|
ВА51-25
|
25
|
16
|
1,35Iном.р
|
7Iном.р
|
|
Насос отработанного масла поз. 2,4
|
ВА51-25
|
25
|
16
|
1,35Iном.р
|
7Iном.р
|
|
Сепаратор поз. 6,7,8,9
|
ВА51-25
|
25
|
16
|
1,35Iном.р
|
7Iном.р
|
|
Вытяжной вентилятор поз. 10
|
ВА51Г-25
|
25
|
4
|
1,2Iном.р
|
14Iном.р
|
|
Приточный вентилятор поз. 11
|
ВА51-25
|
25
|
8
|
1,35Iном.р
|
7Iном.р
|
2.5 Расчет электрических сетей до 1000 В
Производится:
) по условию нагрева длительным расчётным током нагрузки
(для невзрывоопасных помещений), (2.69)
(для взрывоопасных помещений), (2.70)
где
- длительный ток нагрузки (двигателя или группы ЭП),А
- длительно допустимый ток провода, кабеля, шинопровода, А
- поправочный коэффициент на условия прокладки проводов и
кабелей
При температуре окружающего воздуха tВ =+25°C и температуре почвы tЗ
=+15°C
=1.
) по условию соответствия выбранному аппарату максимальной токовой защиты

.(2.71)
где
- коэффициент защиты или кратность защиты
- номинальный ток или ток срабатывания защитного аппарата, А;
при выборе в качестве защитных аппаратов предохранителей
=
, при выборе автоматов -
Выбираем кабель для электродвигателя АИР80А4 поз.5
Условия выбора:
0,92*Iдоп к ≥ Iном/Кпопр (2.72)
,92*Iдоп к≥ Кзащ*Iу(п)/Кпопр
(2.73)
0,92*Iдоп.к≥Iдл/Кпопр =2,75/1=2,75А
,92*Iдоп.к ≥Кзащ*Iзащ/Кпопр=1*1,2*4/1=4,8А
Выбираем кабель для Электра двигателя АВВГНГ LS (4х2,5) с
= 19А, т.к. 0,92*19=17,48 А>4,8 А
Таблица 2.4
|
Электроприемник
|
Электродвигатель
|
IДЛ КПОПР. ,А
|
,А
|
|
Тип
|
IНОМ, А
|
|
|
|
Насос прием масла поз. 5
|
АИР80A4
|
2,75
|
2,75
|
4,8
|
|
Насос чистого масла поз.1,3
|
АИР112М4
|
11,38
|
11,38
|
21,6
|
|
Насос отработанного масла поз. 2,4
|
АИР112М4
|
11,38
|
11,38
|
21,6
|
|
Сепаратор поз. 6,7,8,9
|
АИР132S6
|
12,30
|
12,30
|
21,6
|
|
Вытяжной вентилятор поз. 10
|
АИР80A4
|
2,75
|
2,75
|
4,8
|
|
Приточный вентилятор поз. 11
|
АИР90L4
|
4,97
|
4,97
|
10,8
|
|
Электроприемник
|
Кабель
|
|
Марка и сечение
|
IДОП.К,А
|
0,92*IДОП.К,А
|
|
Насос прием масла поз. 5
|
АВВГнг-LS (4х2,5)
|
19
|
17,48
|
|
Насос чистого масла поз.1,3
|
АВВГнг-LS (4х4)
|
27
|
24,84
|
|
Насос отработанного масла поз. 2,4
|
АВВГнг-LS (4х4)
|
27
|
24,84
|
|
Сепаратор поз. 6,7,8,9
|
АВВГнг-LS (4х4)
|
27
|
24,84
|
|
Вытяжной вентилятор поз. 10
|
АВВГнг-LS (4х2,5)
|
19
|
17,48
|
|
Приточный вентилятор поз. 11
|
АВВГнг-LS (4х2,5)
|
19
|
17,48
|
2.6 Расчёт токов короткого замыкания
Электрооборудование, устанавливаемое в системах электроснабжения, должно
быть устойчивым к токам короткого замыкания.
Для вычисления токов к.з. составляют расчётную схему (рис.7),
соответствующую нормальному режиму работы системы электроснабжения. На
расчётной схеме указываются все источники питания и элементы схемы электроснабжения
между источниками питания и точками к.з. На расчётной схеме приводятся основные
параметры оборудования.
По расчётной схеме составляют схему замещения (рис.8). В схеме замещения
все элементы расчётной схемы заменяются сопротивлениями, расчёт которых
проводится в относительных единицах.
При таком методе расчёта все расчётные данные приводят к базисному
напряжению UБ и
базисной мощности SБ.
За базисное напряжение принимают средние номинальные напряжения: 0,23;
0,4; 0,69; 3,15; 6,3; 10,5; 21; 37; 115; 230 кВ.
За базисную мощность обычно принимают 100 МВ·А. Источник питания -
систему - рассматривают как систему неограниченной мощности.
Задают значения базисной мощности SБ = 100 МВ·А и базисного
напряжения UБ для соответствующих ступеней трансформации.
По заданным значениям параметров элементов системы электроснабжения
определяют сопротивления элементов схемы замещения в относительных единицах по
формулам:
воздушные и кабельные линии:
Для реактора:
X*р1=-ХР*Ксв*Sб/Uб12
(2.74)p1=-1,2*0,55*100/6,32=-1,65 Ом*р2=ХР*(1+Ксв)*Sб/Uб12
(2.75)
Хp2=1,2*(1+0,55)*100/6,32=-4,66 Ом
где -удельная проводимость материала провода (кабеля), м/(Ом*мм2);
для медных проводов: =53 м/(Ом*мм2), для алюминиевых и
сталеалюминиевых проводов: =32 м/(Ом*мм2); S-сечение провода
(кабеля), мм2;
Для кабельной линии:
rо=1000/( γ*S) (2.76)о=1000/32*70=1000/2240=0,44
Ом*кл=r0*L*Sб/Uб12 (2.77)
r*кл=0,44*1,1*100/6,32=1,21 Ом
х*кл=х0*L*Sб/Uб2 (2.78)
х*кл=0,08*1,1*100/6,32=0,08*1,1*100/6,32=0,22
Ом
Для трансформатора:
*T=Рк*Sб*103/SномТ 2
(2.79)*T=7,6*100000/160000=4,75 Ом
х*Т=
*
*Sб*103/SномT (2.80)
х*Т=(5,5/100)2-(7,6/400)2*100000/400=12,9
Определяем результирующие сопротивления до места к.з.
zрез1=r*кл2+(X*р1+X*p2+X*кл)2
(2.81)рез1=1,212+(-1,65+4,66+0,22)2=3,4 оМрез2=
(r*кл+r*T)2+(X*р1+X*p2+X*кл+
X*T)2 (2.82)рез2=(1,21+4,75)2+(-1,65+4,66+0,22+12,9)2=17,2
Ом
. Определяем базисные токи в точках к.з.
в точке К1
б1=Sб1/1,73*Uб1 (2.83)б1=100|1,73*6,3=9,2
кА
в точке К
Iб2=Sб2/1,73*Uб2 (2.84)б2=100/1,73*0,4=144
кА
. определяем установившийся ток к.з.
в точке К1
k1=Iб1/Z*рез1 (2.85)k1=9,2/3,4=2,6 кА
в точке К2
k2=Iб2/Z*рез2 (2.86)k2=144/17,2=8,3 кА
. Определяем ударный ток в точках к.з.
в точке К1
y1=1.42*Ky *Ik1
(2.87)y1=1,42*1,8*2,6=6,5 кА
в точке К2y2=1.42*Ky
*Ik2 (2.88)y2=1,42*1,2*8,3=14,04 кА
2.7 Выбор электрооборудования ТП и проверка на действие токов КЗ
Токоведущие части (шины, кабели) и все виды аппаратов (высоковольтные
выключатели,
разъединители, трансформаторы тока и напряжения, автоматические
выключатели на стороне низшего напряжения) должны выбираться в соответствии с
расчетными токами продолжительного режима (нормального и послеаварийного) и
токами к.з.
Расчетные токи продолжительного режима:на стороне ВН:
, А, (2.89)
, А; (2.90)
на стороне НН:
, А, (2.91)
, А, (2.92)

где
- номинальная мощность силового трансформатора, кВ·А,
,
- номинальные напряжения обмоток трансформатора, кВ,
- коэффициент загрузки трансформатора в послеаварийном режиме.
Для выбора аппаратов указанные расчётные значения сравниваются с
допускаемыми справочными. Составляется таблица сравнения расчётных и допустимых
значений
ВН:
А
А
НН:
А
А
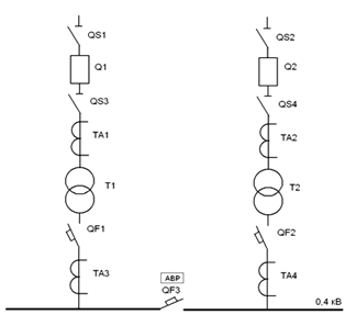
. Выбор оборудования на стороне ВН
Таблица 2.5. Высоковольтные выключатели Q1, Q2
|
Условия выбора и проверки
|
Расчетные данные
|
Справочные данные
|
|
1. по напряжению Uуст≤Uном
|
Uуст=6 кВ
|
Uном=10 кВ
|
|
2. по силе длительного тока Iраб.макс ≤ Iном
|
Iраб.макс1=45,1А
|
Iном=630 А
|
|
3. по отключающей способности IK1≤Iоткл
|
IK1=2,6 кА
|
Iоткл=10 кА
|
|
4. на электродинамическую устойчивость iУ1 ≤
iдин
|
iУ1=6,5 кА
|
iдин=25 кА
|
|
5. на термическую устойчивость IK12*tпр≤It2*tt
|
IK12*tпр=2,62*1=6,76кА2*с
|
It2*tt=102*3=300кА2*с
|
Выбираем вакуумные выключатели типа ВВТЭ-10-10/630У2
Примечание:уст.-напряжение установки аппарата, кВпр -приведенное
время действия токов КЗ, равное 0,6-1 с,t , tt- ток кА, и
время с, с термической стойкости iдин. -ток электродинамической
устойчивости, кА
Таблица 2.6. Разъединители QS1-QS4
|
Условия выбора и проверки
|
Расчетные данные
|
Справочные данные
|
|
1. по напряжению Uуст≤Uном
|
Uуст=6 кВ
|
Uном=6 кВ
|
|
2. по силе длительного тока Iраб.макс 1≤ Iном
|
Iраб.макс=45,1 А
|
Iном=400 А
|
|
3. на электродинамическую устойчивость iУ1≤iдин
|
iУ1=6,5 кА
|
iдин=41 кА
|
|
4. на термическую устойчивость IK12*tпр≤It2*tt
|
IK12*tпр=2,52*1=6,76кА2*с
|
It2*tt=162*4=1024
кА2*с
|
Выбираем разъединители типа РВ-6/400У3:
Таблица 2.7. Трансформаторы тока ТА1, ТА2
|
Условия выбора и проверки
|
Расчетные данные
|
Справочные данные
|
|
1. по напряжению Uуст≤Uном
|
Uуст=6 кВ
|
Uном=6 кВ
|
|
2. по силе длительного тока Iраб.макс≤Iном
|
Iраб.макс=45,1 А
|
Iном=50 А
|
|
3. на электродинамическую устойчивость iУ1≤iдин
|
iУ1=6,5 кА
|
Кдин* 2* Iном1=17,6кА
|
|
4. на термическую устойчивость IK12*tпр≤It2*tt
|
IK12*tпр=2,52*1=6,76кА2*с
|
(Кt*Iном)2*tt=12,96кА2*с
|
|
5. по классу точности
|
-
|
1.0
|
Выбираем трансформаторы тока типа ТВЛМ-6:
Примечание: Кдин-кратность электродинамической устойчивости, Кt-кратность
термической устойчивости, IНОМ1-номинальный первичный ток, кА
Выбор оборудования на стороне НН
Таблица 2.9. Автоматические выключатели QF1, QF2
|
Условия выбора и проверки
|
Расчетные данные
|
Справочные данные
|
|
1. по напряжению Uуст≤Uном
|
Uуст=0,4 кВ
|
Uном=0,4 кВ
|
|
2. по силе длительного тока Iрабмакс 2≤Iном
|
Iраб.макс2=676,3 А
|
Iном=1600 А
|
|
3. по отключающей способности IK2≤Iоткл
|
IK2=8,3 кА
|
Iоткл=80 кА
|
|
4. на электродинамическую устойчивость iУ2≤iдин
|
iУ2=14,04кА
|
iдин=31
|
|
5. на термическую устойчивость IK22*tпр≤It2*tt
|
IK22*tпр=10,062*1=68,8кА2*с
|
I2t*tt =900 кА2.с
|
Выбираем автоматические выключатели типа ВА53-41
Таблица 2.10. Секционный выключатель QF3
|
Условия выбора и проверки
|
Расчетные данные
|
Справочные данные
|
|
1. по напряжению Uуст≤Uном
|
Uуст=0,4 кВ
|
Uном=0,4 кВ
|
|
2. по силе длительного тока Iраб.макс2≤Iном
|
Iраб.макс2=676,3 А
|
Iном=1000 А
|
|
3. по отключающей способности IK2≤Iоткл
|
IK2=8,3кА
|
Iоткл=55 кА
|
|
4. на электродинамическую устойчивость iУ2≤iдин
|
iУ2=14,04 кА
|
iдин=40
|
|
5. на термическую устойчивость IK22*tпр≤It2*tt
|
IK22*tпр=68,8 кА2*с
|
I2t*tt =450 кА2.с
|
Выбираем секционный выключатель типа ВА53-41
Таблица 2.11. Трансформаторы тока ТА, ТА4
|
Условия выбора и проверки
|
Расчетные данные
|
Справочные данные
|
|
1. по напряжению Uуст≤Uном
|
Uуст=0,4 кВ
|
Uном=0,4 кВ
|
|
2. по силе длительного тока Iраб.макс2≤Iном
|
Iраб.макс2=676,3 А
|
Iном=800 А
|
|
3. на электродинамическую устойчивость iУ2≤iдин
|
iУ2=14,04 кА
|
Кдин* 2* Iном1=1,41*25*10,8=22,56кА
|
|
4. на термическую устойчивость IK22*tпр≤It2*tt
|
IK22*tпр=68,8 кА2*с
|
(Кt* Iном)2*tt=1200кА*с
|
|
5. по классу точности
|
-
|
-
|
Выбираем трансформаторы тока типа ТНШЛ-0,66
Расчет и выбор шин
Выбор шин на стороне ВН
а) условие выбора
доп.ш ≥ Iмакс1,
где Iдоп.ш- допустимый длительный ток шины, А;макс
- максимальный расчетный ток продолжительного режима на стороне ВН и НН
подстанции, А;
макс1=45,1 А
Выбираем алюминиевые шины размерами 15х3 с Iдоп.ш=165
А>45,1 А - условие выполняется
=15 мм; b=3 мм;ш=h*b=15*3=45 мм2>Sмин=29,5
мм2
б) минимальное термически устойчивое сечение
Sмин=(IK1(3)*
)/С (2.93)
Sмин=2,6*103*
=29,5 мм2
где
-установившееся значение тока КЗ, А
(для шин высшего напряжения в точке К1, для шин низшего напряжения в точке К2),
-приведенное время действия токов КЗ,
С - коэффициент термической стойкости для алюминиевых шин С=88, для
медных шин С=171-термически неустойчива
Принимаем Sш=165, 15х3 с Iдоп.ш=45,1 А
в) Проверяем шины на динамическую устойчивость к током КЗ. Определяем
наибольшее механическое напряжение в металле при изгибе:
G=1,73*iy2*l2*103 |w*a
кгс/см2 (2.94)
G=1,73*6,52*1302*10-3/0,1*35=9,4 кгс/см2
где
ударный ток КЗ, кА; l-расстояние между опорными изоляторами,
см; l=130 см; 150 см; а-расстояние между осями шин смежных фаз, см; а=35 см; 50
см; W-момент сопротивления сечения, см3.
,4 кгс/см2 <Gдоп=700 кгс/см2 - шина
динамически устойчива
Момент сопротивления сечения
W=(b*h2)/6 (2.95)=0,3*1,52)/6=0,1 см3
Выбор шин на стороне НН
а) условие выбора
доп.ш ≥ Iмакс2макс2=676,3 А;
Выбираем алюминиевые шины размерами 50х6 с Iдоп.ш=740
А>676,3 А - условие выполняется
=50 мм; b=6 мм; Sш=h*b=50*6=300 мм2>94,3 мм2
б) минимальное термически устойчивое сечение
Sмин=(IK2(3)*
)/С (2.96)мин=8,3*103*
/88=94,3 мм2
в) Проверяем шины на динамическую устойчивость к током КЗ. Определяем
наибольшее механическое напряжение в металле при изгибе:
=1,73*iy2*l2*10-3 |w*a
(2.97)
=1,73*14,042*1302*10-3 /|,6*35=2,9
кгс/см2
где
ударный ток КЗ, кА; l-расстояние между опорными изоляторами,
см; l=130 см; 150 см; а-расстояние между осями шин смежных фаз, см; а=35 см; 50
см; W-момент сопротивления сечения, см3.
,9 кгс/см2 <Gдоп=700 кгс/см2 - шина
динамически устойчива
Момент сопротивления сечения
W=(b*h2)/6 (2.98)
W=0,6*52/6=1,6 см3
2.8 Расчет заземляющего устройства ТП
Назначение заземляющего устройства состоит в защите
персонала от поражения электрическим током в случае повреждения изоляции
электрооборудования, т.е. в обеспечении защиты при косвенном прикосновении.
Защиту при косвенном прикосновении следует выполнять во всех случаях, если
напряжение в электроустановке превышает 50 В переменного и 120 В постоянного
тока. Заземляющее устройство выполняется из вертикальных электродов прутков,
заглубленных в землю, и горизонтально проложенных стальных полос, служащих для
связи вертикальных заземлителей. В настоящее время в качестве вертикальных
заземлителей рекомендуется применять прутковые электроды Ш12 мм, ℓ = 5 м,
т.к. они обеспечивают лучший контакт с глубокими слоями грунта и их установка
механизирована. Прутковые электроды располагают на расстоянии а = 5, 10 или 15
м друг от друга.
В некоторых случаях могут применяться уголковые
электроды размерами
Ч50Ч5, ℓ = 2,5 м,
которые размещают на расстоянии а = 2,5 или 5 м друг
от друга. Забивка уголков осуществляется вручную. 1. Заземляющее устройство
выполняем в виде контура из полосы 40 х 4 мм, проложенной вдоль помещения
подстанции на глубине 0,8 м, и вертикальных прутковых электродов на расстоянии
а = 2,5 м друг от друга.
Общая длина полосы по плану ℓг = 33
м, предварительное число электродов
Отношение
а/ℓ = 2,5/5 = 0,5,
где ℓ - длина электрода, м.
2. Сопротивление одного вертикального
электрода:
- прутковый электрод:
, (2.99)
где
- коэффициент сезонности: для вертикальных электродов
= 1,45.
3. Необходимое число вертикальных электродов в контуре
,
(2.100)
где
-
сопротивление заземляющего устройства (
= 4 Ом),
-
коэффициент использования вертикальных электродов в контуре
. Сопротивление горизонтальной заземляющей полосы:
.(2.101)
- глубина заложения полосы, м.
Для горизонтальных электродов
= 3,5.
. Сопротивление полосы в контуре из … электродов:
, . (2.102)
где
- коэффициент использования полосы в контуре.
. Необходимое сопротивление вертикальных заземлителей:
. (2.103)
7. Уточнённое число вертикальных электродов:
. (2.104)
Таким образом окончательное число вертикальных электродов принимаем n=10
электродов
2.9 Расчет мощностей и выбор электродвигателей
Мощность на валу насоса вычисляется по формуле:
Рр=Кз*p*Q*g*(Н+ΔH)* 10 3/ η, (2.105)
где Рр - расчетная мощность на валу насоса, кВт;
Кз - коэффициент запаса;
- плотность жидкости, кг/м3;- производительность,
м3/с;
Н - напор, м;- ускорение свободного падения, м/с2;
ηн - к.п.д насоса
ΔН - потеря напора, м (насоса)
Мощность на валу насоса (поз.1,2.3,4,5) равна
Рр = 1,05*1000*9,8*0,05*(15+4)*10-3/0,6=4,8 кВт
Расчётные мощности остальных насосов вычисляются аналогично, и результаты
вычислений записываем в таблицу 2.1
Мощность на валу сепаратора вычисляется по формуле
Pp=K1*K2*j *W 2*10-3|t*ηн кВт (2.106)
где K1 - коэффициент, пускового механизма для облегчения пуска2
- коэффициент, учитывающий трение барабанов о воздух- момент инерции барабана,
кг*м2 2- угловая скорость барабана при номинальном режиме, рад/с-
время разгона барабана до номинальной скорости, с
ηн - КПД передачи
Мощность на валу сепаратора (поз.6,7,8,9) равна
*1,5*4,1*3142*10-3/150*0,8=5кВт
Расчётные мощности остальных сепараторов вычисляются аналогично, и
результаты вычислений записываем в таблицу 2.1
Мощность на валу вентилятора вычисляется по формуле
Рр=Кз*Q*Н *10 3 /ηв кВт (2.107)
где Рр - расчетная мощность на валу вентилятора, кВт;
Кз - коэффициент запаса;производительность, м3/с;
Н - напор, Па;
Ηв - к.п.д вентилятора;
Мощность на валу вентелятора (поз.10) равна
1,05*1,5*420*10-3/0,64=1 кВт
Расчётные мощности остального вентилятора вычисляется аналогично, и
результаты вычислений записываем в таблицу 1.1
Электропривод всего технологического оборудования работает в
продолжительном режиме. Поэтому условия выбора электродвигателя следующие:
дв.н ≥ Pp
nдв.н ≈ nмех
где Pдв.н - номинальная мощность электродвигателя, кВтp
- расчетная мощность на валу насоса, кВтдв.н - номинальное число
оборотов вала электродвигателя, об/мин, Вмех - число оборотов вала
насоса, об/мин
Для электродвигателя насоса выбираем электродвигатель типа АИР132S6 с Pдв.н
= 5,5кВт, nдв.н = 1000 об/мин, η=83%,
cosφ=0,82 iп=5, т. к.5,5 кВт>4,8 кВт и 970
об/мин ≈1000 об/мин.
Полученные результаты выбора электродвигателя заносим в таблицу 2.1.
Выборы электродвигателей для остальных электроприводов производим
аналогично, и результаты выбора также заносим в таблицу 2.1.
.10 Вычисление токов электродвигателей
Номинальный ток асинхронного трехфазного электродвигателя с
короткозамкнутым ротором вычисляется по формуле
Iдв.н =Рдв.н*10 3/1,73*U*cos
φ*η, А (2.108)
где Iдв.н - номинальный ток электродвигателя, А;
Рдв.н. - номинальная мощность электродвигателя, кВт;л
- линейное напряжение, В;
сos φ - коэффициент мощности;
η - к.п.д
Пусковой ток электродвигателя вычисляется по формуле
Iп=Iп*Iдв.н , (2.109)
где Iдв -пусковой ток электродвигателя, А;п -
кратность пускового тока
Вычисляем
номинальный и пусковой токи для электродвигателя АИР132S6 и результаты
вычислений заносим в таблицу 2.1.
дв.н=5,5*10-3/1,73*380*0,83*0,82=12,2 Ап=5*12,2=61 А.
Номинальные и пусковые токи для остальных электродвигателей вычисляем
аналогично, и результаты вычислений также заносим в таблицу 2.1.
.11 Выбор электроаппаратов управления и защиты, кабелей
Для управления работой электродвигателей выбираем магнитные пускатели из
условия
Iм.п.
Iдв,. (2.110)
Для защиты электродвигателей от токов длительных перегрузок выбираем
тепловые реле из условия
Iср.т.р
Iдв.н, (2.111)
Для защиты электродвигателей от токов короткого замыкания выбираем
автоматические выключатели из условий
Iн.р.а
Iдв.н, (2.112)отс
К*I.п, (2.13)
Для питания электродвигателей выбираем четырехжильные кабели с
поливинилхлоридной изоляцией из условия
Iдоп.ж
Кз*Iн.р.а /Кп, (2.14)
где Кз - коэффициент защиты;
Кп - поправочный коэффициент.
Для электродвигателя типа АИР132S6 выбираем магнитный пускатель типа
КМИ-11810 с IМ.П =18А > 12,2 А, тепловое реле типа РТИ-1316 с
диапазоном регулирования 9,0-13,0 А, автоматический выключатель типа ВА47-293Р
с IН.Р.А =13А >12,2А и IОТС =7 IН.Р.А =7*13=91А
> 1,25*61=76,2 А, кабель типа АВВГ(4*2,5) с IДОП.Ж =0,92*19=17,5
А > 1*13/1 =13 А.
Для остальных электродвигателей, электроаппараты управления и защиты,
кабели выбирались аналогично.
Все данные по электродвигателям, электроаппаратам управления и защиты,
кабелям заносим в таблицу 2.1.
При выборе электродвигателей, электроаппаратов управления и защиты,
кабелей использовалась литература 3, 69-144.
Таблица 2.2 Ведомость электродвигателей электроаппаратов, кабелей
|
Поз. номер
|
РР Вт
|
Электродвигатель
|
Магнитный пускатель
|
|
|
Тип
|
РДВ.Н Вт
|
Η %
|
cos φ
|
iП
|
IДВ.Н А
|
IП А
|
Тип
|
IМ.П А
|
|
1,2,3,4,5
|
4,8
|
АИР132S6
|
5,5
|
0,83
|
0,82
|
5,0
|
12,2
|
61
|
КМИ-11810
|
18
|
|
6,7,8,9
|
5
|
АИР100L2
|
5,5
|
0,84
|
0,85
|
5,5
|
11,7
|
64,3
|
КМИ-11210
|
12
|
|
10
|
1
|
АИР80А4
|
1,1
|
0,77
|
0,80
|
5,5
|
2,4
|
13,2
|
КМИ-10910
|
9
|
|
11
|
2,1
|
АИР90L4
|
2,2
|
0,78
|
0,82
|
5,0
|
5,2
|
26
|
КМИ-10910
|
9
|
|
Тип электродвигателя
|
Тепловое реле
|
Автоматический выключатель
|
Кабель
|
|
Тип
|
Уставка А
|
Тип
|
IН.Р.А. А
|
IОТС. А
|
Тип
|
IДОП.Ж А
|
|
АИР132S6
|
РТИ-1316
|
9-13
|
ВА47-293Р
|
13
|
91
|
(4х2,5)
|
17,5
|
|
АИР100L2
|
РТИ-1316
|
9-13
|
ВА47-293Р
|
13
|
91
|
(4х2,5)
|
17,5
|
|
АИР80А4
|
РТИ-1307
|
1,6-2,5
|
ВА47-293Р
|
3
|
21
|
(4х2,5)
|
17,5
|
|
АИР90L4
|
РТИ-1310
|
4-6
|
ВА47-293Р
|
6
|
42
|
(4х2,5)
|
17,5
|
|
|
|
|
|
|
|
|
|
|
|
|
.12 Расчет электрического освещения
.12.1 Расчет расположения светильников
Для освещения насосной выбираем светильники типа ЛДР2-2*40 с лампами
накаливания в защитном стекле и степенью защиты IP44. Светильники размещаем на
высоте Нр = 3,0 м над рабочей поверхностью, высоту которой принимаем
равной 0,8 м.
Светильники типа ЛДР2-2*40 имеют Д-1, Lопт =1, рекомендуемую
высоту подвеса - 2,5-5,0 м, ŋсв =70%.
Для КСС Г-1 принимаем Lопт =1 м.
Вычисляем наивыгоднейшее расстояние между светильниками, м
L=Lопт. *Hp ,м (2.115)
где Lопт. -коэффициент оптимального расстояния между
светильниками;p-высота подвеса светильников, м; наивыгоднейшее
расстояние между светильниками, м.
L=1*3=3 м.
Вычисляем
число рядов светильников
=A/L, ряд (2.116)
где, m - число рядов светильников, шт;- ширина помещения, м;
=6/3=2=>2 ряда
Вычисляем диапазон расстояний светильников от стен
Lст =(0,24-0,5)*L,м (2.117)
Lст =(0,24 - 0,5)*3=(0,72 - 1,5)=1,5 м
Вычисляем
расстояние между рядами светильников
А=(А-2Lст
)/(m-1),м (2.118)
LA=(6-2*1,5)/(2-1)=3м
Вычисляем расстояние между светильниками в ряду
B =L2/LA ,м (2.119)
LB=32/3=3м
Вычисляем число светильников в ряду
1=((B-2*Lст
)/LB )+1,штук (2.120)
где В - длина помещения, м
1 =((12-2*1,5)/3)=4 штук
Уточняем расстояние между светильниками в ряду
B =(В-2*Lст )/(n1 -1),м (2.121)
LB =(12-2*1,5)/(4-1)=3м
Вычисляем
общее число светильников в осветительной установке
N=m*n1 ,штук (2.122)
где N - число светильников, шт
=2*4=8штук
.12.2 Светотехнический расчет осветительной установки
Согласно требований СНиПа нормируемая освещенность должна быть не менее Ен
=200лк. Для светильников типа ЛДР202*40 при содержании пыли в помещении
менее 5г/м 3 коэффициент запаса равен Кз =1,5
Принимаем коэффициенты отражения стен, потолка и рабочих поверхностей
равными ρст
= 50 %, ρп
= 50 %, ρр = 30 %.
Для светильников типа ЛДР202*40 коэффициент неравномерности освещения
равен Z=1,15. Вычисляем индекс помещения
=А*В/Нр*(А+В), (2.123)
i=6*12/3*(6+12)=1,3
В зависимости от индекс помещения, кривой силы света, коэффициентов
отражения потолка, стен, рабочих поверхностей принимаем коэффициент
использования осветительной установки ηп= 0,85.
Вычисляем расчетный
световой поток источника света
p =Eн*S*Kз*z/N*ηп*ηс ,лм (2.124)
Fp =200*6*12*1,5*1,15/2*8*0,65=2388лм
Из условия Fл.р
Fл.н
1,2Fл.р выбираем
энергосберегающую лампу типа ЛД 40 с Рлн=40Вт и Fлн =2500лм,
так как 1826лм < 2500лм < 1,2*2388=2865лм
Вычисляем фактическую освещенность.
ЕФ =Fл.н *Ен /Fл.н , (2.125)
ЕФ =2500*200/2388=209лм
.12.3 Электротехнический расчет осветительной установки
Для управления осветительной установкой и ее защита от токов перегрузки
выбираем осветительный щиток типа ЩО33-26 с однофазными автоматическими
выключателями типа ВА 47-29 1Р на группах в количестве 6 шт.
Вычисляем токи осветительной установки и групп.
о.у =Рл.н *N/U*cos φ, (2.126)
Iгр =Рл.н*n1/U*cos
φ, (2.127)
где Iо.у-ток осветительной установки, А;гр-ток
группы, А;
Рл.н-номинальная мощность лампы, Вт;ф -фазное
напряжение, В;
cos φ-коэффициент мощности.
о.у =40*8*2/220*0,95=3,1Агр =40*2*4/220*0,95=1,5А
Из условия Iн.р.а
1,15*Iо.у=1,15*3,1=4А
выбираем автоматический выключатель типа ВА 47-29 3Р с Iн.р.а. =5А
> 4А
Из условия Iн.р.а
1,15*Iо.у=1,15*1,5=1,7 А
выбираем автоматический выключатель типа ВА 47-29 1Р с Iн.р.а. =2А
> 1,7А
Для питания осветительной установки выбираем кабель типа АВВГ из условия
Iдоп.ж
Iн.р.а.. Для питания осветительной установки
выбираем кабель типа АВВГ(4*2,5) с Iдоп.ж =0,92*19 = 17,5А > 5А
Для питания осветительной установки выбираем кабель типа АВВГ(3*2,5) с Iдоп.ж
=0,92*19 = 17,5А > 2А
Проверяем
наиболее удаленную группу на потерю напряжения
ΔU=ΣPгр *N/с*s
5%, (2.128)
где ΣРгр -мощность группы, кВт;
λ-расстояние от осветительного щитка до
наиболее удаленной группы, м;
с-коэффициент, зависящий от системы сети, материала провода;сечение жилы
кабеля, мм2.
ΔU=40*2*4*10 -3*38/7,7*2,5=0,6% < 5%
Так как ΔU=0,6% < 5%, то осветительная сеть выдержала проверку на потерю
напряжения.
.12.4 Расчет аварийного освещения
Для аварийного освещения выбираем светильники типа НСП11-100 с лампами
накаливания.
Вычисляем величину аварийной освещенности.
Еав =0,05*Ен , (2.129)
Еав =0,1*200=10лк
Вычисляем величину аварийного светового потока
ав =Еав *S, (2.130)
Fав =10*6*12=720лм
В качестве источника света принимаем энергосберегающую лампу типа
Б215-225-40 с Fл.н =715лм и Рл.н =60Вт
Вычисляем необходимое число светильников аварийного освещения.
=Fав /Fл.н , (2.131)
N=720/715=1,0=>1шт.
Светильники аварийного освещения располагаем на высоте 2,5 м и запитываем
от осветительного щитка типа ЩО33-26 с четырьмя однофазными автоматическими
выключателями типа ВА 47-29 1Р.
Вычисляем ток светильников аварийного освещения
о.у.ав =Рл.н *N/U*cos φ, (2.132)
Iо.у.ав =60*1/220*1=0,2А
Из условия Iн.р.а
1,15*Iо.у.ав =1,15*0,2=0,23А выбираем
расцепитель автоматического выключателя Iн.р.а =1,0А > 0,2А
Для питания групповых линий и осветительной установки выбираем кабель
типа АВВГ из условия Iдоп.ж
Iн.р.а.. Для питания
аварийной осветительной установки выбираем кабель типа АВВГ4*2,5 с Iдоп.ж =0,92*19=17,5А
> 1А
Для питания групповых линий выбираем кабель типа АВВГ2*2,5 с Iдоп.ж =19А
> 1А
Проверку на потерю напряжения не производим, так как мощность аварийной
осветительной установки небольшая.
.13 Расчет молниезащиты
Выполнение этого пункта производится в следующем порядке:
. Рассчитываем ожидаемое количество поражений молнией в год для
проектируемого объекта:
для зданий и сооружений прямоугольной формы
(2.133)
где
- наибольшая высота здания или сооружения, м;, B -
соответственно длина и ширина здания или сооружения, м;- среднегодовое число
ударов молнии в 1 км2 земной
поверхности в месте нахождения здания или сооружения. (Для Тульской
области среднегодовая продолжительность гроз составляет 40 - 60 часов и n = 4).
Для зданий и сооружений сложной конфигурации в качестве А и В рассматриваются
длина и ширина наименьшего прямоугольника, в который может быть вписано здание
или сооружение в плане.
2. Производственное здание относится по опасности ударов молнии как
объект обычный. Принимается уровень надежности защиты объекта от прямых ударов
молнии (ПУМ) - Pз = 0,98
. Принимается конкретный способ защиты объекта от ПУМ (стержневые
молниеотводы или молниеприемная сетка).
. Расчёт зон защиты стержневых молниеотводов:
а) Принимаем высоту молниеотвода
=2*H (2.134)=2*8=16 м
Расстояние между молниеприёмниками
=A+5 (2.135)=12+5=17 м
(Примечание: обычно расстояние между зданием и молниеотводом 2,5 - м);
б) Вершина конуса:
0 =0,8*h (2.136)0 =0,8*16=12,8
в) Радиус основания конуса:
0 = h0 (2.137)0 = h0 = 12,8 м;
г) Радиус зоны защиты на высоте
x: rx=r0*(h0*hx)/h0
(2.138)
,8*(12,8-8)/12,8=4,8 м
д) Высота защиты в месте снижения зоны:
= 12,8 м;
е) Радиус сужения зоны в месте снижения зоны защиты:
x=r0*(h0*hx)/h0
(2.139)
,8*(12,8-8)/12,8=4,8 м
ж) Проверка условия
. (2.140)
*4,8 = 9,6 > 6
условие выполняется
Зоны защиты двойного стержневого молниеотвода (рисунок).
Масштаб 1: 400
3. Организационная часть
.1 Разработка принципиальной электрической схемы управления
Схемы управления и автоматизации электроприводов в общем случае
разрабатывают в проектах силового электрооборудования и электроснабжения
промышленных предприятий. Однако автоматизация большинства объектов неразрывно
связана с управлением технологическими механизмами с электроприводами. В этом
случае требуется разработка отдельных схем управления этими электроприводами в
составе проекта автоматизации технологических процессов.
В качестве электроприводов механизмов автоматизируемого технологического
оборудования (насосов, вентиляторов, задвижек, клапанов и т. п.) в основном
используют реверсивные и нереверсивные асинхронные электродвигатели с
короткозамкнутым ротором. Построение этих схем управления осуществляется в
основном на базе релейно-контактных аппаратов. Это обусловлено наличием
большого выбора серийно выпускаемой релейно-контактной аппаратуры с контактными
устройствами различных исполнений и обмотками, работающими на различных
напряжениях.
Для питания схемы управления электроприводом выбираем напряжение 380/220
В частотой 50 Гц.
Схема управления электроприводом должна обеспечивать:
защиту силовой цепи от токов КЗ;
защиту цепи управления от токов длительных перегрузок и токов КЗ;
защиту силовой цепи от токов длительных перегрузок;
нулевую защиту силовой цепи и цепи управления;
выбор ручного и автоматического режимов работы;
световую сигнализацию состояния электродвигателя;
световую сигнализацию срабатывания тепловой защиты;
световую сигнализацию наличия напряжения в цепи управления;
световую сигнализацию регулируемого параметра;
звуковую сигнализацию аварийного состояния регулируемого параметра.
Перечень электроаппаратов управления, защиты, автоматизации и
сигнализации для электродвигателя АИР160S2 приведен в таблице.3.1.
Таблица 3.1 Наименование электроаппаратов насосной установки
|
Электроаппарат
|
|
Наименование
|
Тип
|
Обозначение
|
Параметры
|
Назначение
|
|
Магнитный пускатель
|
КМИ-11810
|
КМ1
|
3ск + 1бк Iмп = 18 А Uкат = 220В
|
Управление работой (пуск, останов) электродвигателя.
|
|
Тепловое реле
|
РТИ-1316
|
КК1
|
2з + 2р I = 10 А U = 660 В
|
Защита ЭД от токов длительных перегрузок.
|
|
3 фазный автоматический выключатель
|
ВА47-100 3Р
|
QF1
|
I = 16 А U = 660 В
|
Защита ЭД от токов к.з и длительных перегрузок.
|
|
1 фазный автоматический выключатель
|
SF1
|
I = 200 А U = 660 В
|
Защита цепи и управление от токов к.з и длительных
перегрузок.
|
|
Универсальный переключатель
|
УП5100
|
SA1
|
I=12 А U=500 В
|
Выбор режимов работы.
|
|
Кнопочный пост
|
ПКТ-40
|
SB1,2
|
I=5 А U=220 В
|
Управление работой магнитного пускателя.
|
|
Электродвигатель
|
АИР132S6
|
M1
|
Pдв.н=5,5кВт
|
Вращает вал насоса.
|
|
Реле уровня
|
F6-HPS
|
SL1,2
|
I=0,08 А U=220
|
Уставка пределов нижнего и верхнего уровня воды.
|
|
Реле напряжения
|
РСН25М
|
KV1,2
|
I=10 А U=220 В
|
Включается при низком и высоком давлении воздуха и через
свои контакты управляет работой магнитного пускателя в автоматическом режиме.
|
|
Сигнальные лампы
|
IP40
|
HL1,2
|
U=220 В
|
Показывают включен или отключен ЭД.
|
.2 Описание работ схемы управления электроприводом
Ручное управление насосом.
Включаем автоматические выключатели QF1 и SF1.
Универсальный переключатель SA1, горит лампа HL2, ставим в положение 2 и
нажимаем на кнопку SB1. Выключается магнитный пускатель КМ1, который замыкает
свои силовые контакты КМ1.1 и электродвигатель M1 насоса начинает работать.
Одновременно замыкается блок-контакт КМ1.2, подключенный параллельно кнопке
SB1, замыкается блок-контакт КМ1.3 горит HL1, размыкается блок-контакт 1.4
гаснет лампа HL2.
Для остановки электродвигателя M1 необходимо нажать
кнопку SB2. Магнитный пускатель КМ1 отключается и размыкает свои силовые
контакты КМ1.1 Электродвигатель M1 насоса останавливается. Так же разомкнётся
блок-контакт КМ1.2, подключенный параллельно кнопке SB1, размыкается
блок-контакт КМ1.3 гаснет HL1, замыкается блок контакт КМ1.4 горит HL2.
Автоматическое управление насосом. Включаем автоматические
выключатели QF1 и SF1. Универсальный переключатель SA1 ставим в положение 1.
Если уровень воды в емкости ниже электрода нижнего уровня, то горит сигнальная
лампа HL2. При повышении уровня воды образуется электрическая цепь между
электродом нижнего уровня и общим электродом, то есть замкнется контакт SL1 и
включится реле напряжения KV1, замкнет контакт KV1.1 загорится лампа HL1, а
лампа HL2 погаснет. При достижении водой электрода верхнего уровня образуется
электрическая цепь между электродом верхнего уровня и общим электродом, то есть
замкнется контакт SL2 и выключится реле напряжения KV2, замкнет контакт KV2.1 и
KV2.2. После того, как замкнется контакт KV2.1, включается магнитный пускатель
КМ1, который замыкает свои силовые контакты КМ1 и электродвигатель M1 насоса
начинает работать откачивая воду из емкости. Уровень воды начнет понижаться,
электрод верхнего уровня оголится и контакт уровня SL2 разомкнётся, но реле KV2
не отключится, так как будет получать питание через свой замкнутый контакт KV2.2.
Когда вода будет полностью откачена из емкости, то оголится электрод нижнего
уровня и разомкнётся контакт нижнего уровня SL1. Реле KV1 отключится и
размыкается контакт KV1.1, лампа HL1 погаснет, a HL2 загорится, так же
разомкнётся контакт KV2.1 и разомнется и магнитный пускатель КМ1 и размыкает
свои силовые контакты КМ1.1. Электродвигатель M1 насоса останавливается.
.3 Составление кабельного журнала
В кабельный журнал необходимо занести все кабели соединяющие ЩСУ или РП с
электродвигателями.
Таблица 3.2 Кабельный журнал
|
Обозначение кабеля (провода)
|
Трасса
|
Кабель (провод)
|
|
Начало
|
Конец
|
Марка
|
Количество и сечение жил
|
Длина +6%, м
|
|
К РП1
|
РП 1 панель 1
|
Электродвигатель АИР132S6
|
АВВГ
|
(4x2,5)
|
18
|
|
К РП2
|
РП 2 панель 2
|
Электродвигатель АИР132S6
|
АВВГ
|
(4x2,5)
|
15,9
|
|
К РП1
|
РП 1 панель 1
|
Электродвигатель АИР100L2
|
АВВГ
|
(4x2,5)
|
11,6
|
|
К РП2
|
РП 2 панель 2
|
Электродвигатель АИР100L2
|
АВВГ
|
(4x2,5)
|
14,8
|
|
К РП1
|
РП 1 панель 1
|
Электродвигатель АИР80A4
|
АВВГ
|
(4x2,5)
|
16,9
|
|
К РП2
|
РП 2 панель 2
|
Электродвигатель АИР90L4
|
АВВГ
|
(4x2,5)
|
6,4
|
3.4 Монтаж силового электрооборудования
Электромонтаж силового электротехнического оборудования проходит на
специальной площадки, оборудованной всем необходимым. Производят его недалеко
от собственного фундамента или же на нем, а также на ремонтной площадке или на
торце машинного зала, который может быть как постоянным, так и переменным.
Площадку для электромонтажа обеспечивают электроэнергией необходимой силы
и мощности, а также обеспечивают близость с емкостями масла или же быструю и
удобную связь с ними. Место, которое будет использоваться для монтажа
электротехнического оборудования должна предусматривать как свободное
размещение подготовленных комплектующих, так и функционирование
подъемно-технического оборудования.
Если работы электромонтажа ведутся на открытом воздухе, то вблизи
оборудования устанавливается помещение для персонала, в котором хранится
инвентарь и прочие материалы и приборы. На площадке также обязательно есть
телефон и средства для тушения пожаров. Освещенность площадки поддерживает
работу в три смены. При монтаже крупного оборудования необходимо учитывать
проект организации работ, которые разрабатывается с рядом определенных условий.
В процессе подготовки к установке вводов кВ оборудование обязательно
проверяют на наличие таких дефектов как трещины и загрязнения, после чего ввод
испытывается при помощи переменного тока, напряжения которого соответствует
классу напряжения ввода.
Для маслонаполненных вводов от 110 кВ подготовительные работы ведутся еще
и для того, чтобы масло не соприкасалось с воздухом. Сначала герметичные
маслонаполненные вводы осматривают на отсутствие протекания и целостность
элементов конструкции, которые располагаются снаружи ввода. Показания давления
масла измеряется при помощи манометра. Согласно инструкции изготовителя,
давление во вводе приводится к тому значению, которое было указано, при этом
обязательно учитывается температура воздуха. Если будет необходимо, масло могут
долить или слить из ввода. Долив масла, производится при помощи маслонасоса. Перед
тем как присоединить его, все вентили со стороны бака и ввода перекрываются.
Насосом в бак давления подается необходимое количество масла, при этом
показания манометра обязательно должны отслеживаться. В процессе регулирования
во вводе давления или же замене бака давления и манометра нельзя, чтобы
окружающий воздух попал во ввод. Его подпитку всегда производят маслом, не
имеющим газа, надлежащего качества, слив и долив масла в герметичные вводы, у
которых бака давления нет, происходит по такому же принципу.
Негерметичные же маслонаполненные вводы проверяют на отсутствие
каких-либо наружных повреждений элементов конструкции. Если повреждения
обнаруживаются и они достаточно серьезны, то ввод заменяется на резервный.
Поврежденный же ввод отгружают в мастерские для полной разборки. После того,
как течь устранена, устанавливается уровень масла. В гидрозатворе масло тоже
заменяют, при этом отработанное масло полностью сливается из затвора, а потом в
него же вливается свежее новое масло до контрольного отверстия. В период
хранения электротехническое оборудование должно быть залито маслом полностью.
При подготовке его к монтажу, оборудование сначала осматривается изнутри и
снаружи, после чего следует ряд измерений: проверка полярности и масла,
измерение вольтамперной характеристики и т.д. Это проводится даже в том случае,
когда уровень напряжения масла соответствует всем требованиям. Если же его
значение в период хранения значительно уменьшилось, то перед тем, как измерить
все необходимые характеристики, оборудование сушат в течение 8 часов при
температуре в 100 градусов. Нагрев производится в специальных духовых или
печах.
3.5 Эксплуатация силового электрооборудования
Электродвигатели, пускорегулирующие устройства и
защиты, а также все электрическое и вспомогательное оборудование к ним
выбираются и устанавливаются в соответствии с требованиями правил устройства
электроустановок.
На электродвигатели и приводимые ими механизмы должны
быть нанесены стрелки, указывающие направление вращения.
На электродвигателях и пускорегулирующих устройствах
должны быть надписи с наименованием агрегата и (или) механизма, к которому они
относятся.
Плавкие вставки предохранителей должны быть
калиброванными и иметь клеймо с указанием номинального тока уставки, нанесенное
на заводе-изготовителе или подразделении Потребителя, имеющего соответствующее
оборудование и право на калибровку предохранителей. Применение некалиброванных
вставок не допускается.
При кратковременном перерыве электропитания
электродвигателей должен быть обеспечен при повторной подаче напряжения
самозапуск электродвигателей ответственных механизмов для сохранения механизмов
в работе по условиям технологического процесса и допустимости по условиям
безопасности.
Перечень ответственных механизмов, участвующих в
самозапуске, должен быть утвержден техническим руководителем Потребителя.
Продуваемые электродвигатели, устанавливаемые в
пыльных помещениях и помещениях с повышенной влажностью, должны быть
оборудованы устройствами подвода чистого охлаждающего воздуха, температура которого
и его количество должны соответствовать требованиям заводских инструкций.
Плотность тракта охлаждения (корпуса электродвигателя,
воздуховодов, заслонок) должна проверяться не реже 1раза в год.
Электродвигатели с водяным охлаждением активной стали статора
и обмотки ротора, а также со встроенными водяными воздухоохладителями должны
быть оборудованы устройствами, сигнализирующими о появлении воды в корпусе.
Эксплуатация оборудования и аппаратуры систем водяного охлаждения, качество
воды должны соответствовать требованиям заводских инструкций.
На электродвигателях, имеющих принудительную смазку
подшипников, должна быть установлена защита, действующая на сигнал и отключение
электродвигателя при повышении температуры вкладышей подшипников или
прекращении поступления смазки.
Напряжение на шинах распределительных устройств должно
поддерживаться в пределах (100ё 105)% от номинального значения. Для обеспечения
долговечности электродвигателей использовать их при напряжении выше 110 и ниже
90% от номинального не рекомендуется.
При изменении частоты питающей сети в пределах ± 2,5%
от номинального значения допускается работа электродвигателей с номинальной
мощностью.
Номинальная мощность электродвигателей должна
сохраняться при одновременном отклонении напряжения до± 10% и частоты до ± 2,5%
номинальных значений при условии, что при работе с повышенным напряжением и
пониженной частотой или с пониженным напряжением и повышенной частотой сумма
абсолютных значений отклонений напряжения и частоты не превышает 10%.
На групповых сборках и щитках электродвигателей должны
быть предусмотрены вольтметры или сигнальные лампы контроля наличия напряжения.
Электродвигатели механизмов, технологический процесс
которых регулируется по току статора, а также механизмов, подверженных технологической
перегрузке, должны быть оснащены амперметрами, устанавливаемыми на пусковом
щите или панели. Амперметры должны быть также включены в цепи возбуждения
синхронных электродвигателей. На шкале амперметра должна быть красная черта,
соответствующая длительно допустимому или номинальному значению тока статора
(ротора).
На электродвигателях постоянного тока, используемых
для привода ответственных механизмов, независимо от их мощности должен
контролироваться ток якоря.
Электродвигатели с короткозамкнутыми роторами
разрешается пускать из холодного состояния 2 раза подряд, из горячего - 1 раз,
если заводской инструкцией не допускается большего количества пусков.
Последующие пуски разрешаются после охлаждения электродвигателя в течение
времени, определяемого заводской инструкцией для данного типа электродвигателя.
Повторные включения электродвигателей в случае
отключения их основными защитами разрешаются после обследования и проведения
контрольных измерений сопротивления изоляции.
Для электродвигателей ответственных механизмов, не
имеющих резерва, одно повторное включение последействия основных защит
разрешается по результатам внешнего осмотра двигателя.
Повторное включение электродвигателей в случае
действия резервных защит до выяснения причины отключения не допускается.
Электродвигатели, длительно находящиеся в резерве,
должны быть постоянно готовы к немедленному пуску; их необходимо периодически
осматривать и опробовать вместе с механизмами по графику, утвержденному
техническим руководителем Потребителя. При этом у электродвигателей наружной
установки, не имеющих обогрева, должны проверяться сопротивление изоляции
обмотки статора и коэффициент абсорбции.
Вертикальная и поперечная составляющие вибрации
(среднеквадратичное значение виброскорости или удвоенная амплитуда колебаний),
измеренные на подшипниках электродвигателей, сочлененных с механизмами, не
должны превышать значений, указанных в заводских инструкциях.
При отсутствии таких указаний в технической
документации вибрация подшипников электродвигателей, сочлененных с механизмами,
должна быть не выше следующих значений:
Синхронная частота вращения, 3000 1500 1000 750 и
менее об./мин.
Удвоенная амплитуда колебаний подшипников, мкм 30 60
80 95
Допускается работа агрегатов с повышенной вибрацией
подшипников электродвигателей, сочлененных с механизмами, работающими в тяжелых
условиях, у которых вращающиеся рабочие части быстро изнашиваются, а также
электродвигателей, сроки эксплуатации которых превышают 15 лет, в течение
времени, необходимого для устранения причины повышения вибрации. Нормы вибрации
для этих условий не должны быть выше следующих значений:
Синхронная частота вращения, 3000 1500 1000 750 и
менее об./мин.
Удвоенная амплитуда колебаний подшипников, мкм 30 100
130 160
Периодичность измерения вибрации подшипников
электродвигателей ответственных механизмов должна быть установлена графиком,
утвержденным техническим руководителем Потребителя.
Контроль за нагрузкой электродвигателей, щеточным
аппаратом, вибрацией, температурой элементов и охлаждающих сред электродвигателя
(обмотки и сердечники статора, воздуха, подшипников и т.д.), уход за
подшипниками (поддержание требуемого уровня масла) и устройствами подвода
охлаждающего воздуха, воды к воздухоохладителям и обмоткам, а также операции по
пуску и остановку электродвигателя должен осуществлять персонал подразделения,
обслуживающего механизм.
Электродвигатели должны быть немедленно отключены от
сети в следующих случаях:
при несчастных случаях с людьми;
появлении дыма или огня из корпуса электродвигателя, а
также из его пускорегулирующей аппаратуры и устройства возбуждения;
поломке приводного механизма;
резком увеличении вибрации подшипников агрегата;
нагреве подшипников сверхдопустимой температуры,
установленной в инструкции завода-изготовителя.
В эксплуатационных инструкциях могут быть указаны и
другие случаи, при которых электродвигатели должны быть немедленно отключены, а
также определен порядок устранения аварийного состояния и пуска
электродвигателей.
Профилактические испытания и ремонт электродвигателей,
их съем и установку при ремонте должен проводить обученный персонал Потребителя
или подрядной организации.
Периодичность капитальных и текущих ремонтов
электродвигателей определяет технический руководитель Потребителя. Как правило,
ремонты электродвигателей должны производиться одновременно с ремонтом
приводных механизмов.
Профилактические испытания и измерения на
электродвигателях должны проводиться в соответствии с нормами испытаний
электрооборудования.
4. Мероприятия по охране труда
.1 Основные и дополнительные электрозащитные средства в электроустановках
до 1000 В
Электрозащитные средства - средства, служащие для защиты людей,
работающих с электроустановками от поражения электрическим током, от
воздействия электрической дуги и м.п.
Классификация:
. По характеру:
средства коллективной защиты;
средства индивидуальной защиты;
. По напряжению:
до 1000В;
выше 1000В.
. По характеру защиты от поражения током:
основные;
дополнительные.
Основные электрозащитные средства - средства защиты изоляции, которые длительно
выдерживают рабочее напряжение электроустановок и которые позволяют прикасаться
к токоведущим частям, находящимся под напряжением.
Дополнительные средства защиты, которые сами по себе не могут обеспечить
защиту от поражения током, а применяются с основными средствами защиты.
Электрозащитные средства до 1000В:
основные: изолирующие штанги, изолирующие электроизмерительные клещи,
указатели напряжения, диэлектрические перчатки, слесарно-монтажный инструмент с
изолирующими рукоятками;
дополнительные: диэлектрические галоши и ковры, переносные заземления,
изолирующие подставки и накладки, оградительные устройства, плакаты и знаки
безопасности.
Испытание средств защиты и периодичность:
изолирующие штанги -1 раз в 2 года;
измерительные штанги - 1 раз в год;
изолирующие клещи - 1 раз в 2 года;
электроизмерительные клещи - 1 раз в 2 года;
указатели напряжения выше 1000В - 1 раз в 2 года
указатели напряжения для фазировки - 1 раз в год;
указатели напряжения до 1000в - 1 раз в год
диэлектрические перчатки - 1 раз в полгода;
диэлектрические боты - 1 раз в 3 года;
диэлектрические галоши - 1 раз в год;
диэлектрические ковры (осмотр) 1 раз в полгода.
.2 Мероприятия по технике безопасности и противопожарные мероприятия
Для защиты людей от поражения электрическим током при
повреждении изоляции в электроустановках потребителей должны быть предусмотрены
защитные меры. В качестве таких мер могут быть применены заземление, зануление,
защитное отключение, разделяющий трансформатор, малое напряжение, двойная
изоляция, выравнивание потенциалов.
Заземляющие устройства электроустановок потребителей
должны соответствовать требованиям ПУЭ и обеспечивать условия безопасности
людей и защиты электрооборудования, а также эксплуатационные режимы работы.
Части электрооборудования, подлежащие заземлению,
должны иметь надежное контактное соединение с заземляющим устройством либо с
заземленными конструкциями, на которых они установлены.
Присоединение заземляющих и нулевых защитных
проводников к заземлителям, заземляющему контуру и к заземляющим конструкциям
должно быть выполнено сваркой, а к корпусам аппаратов, машин и опор воздушных
линий электропередачи - сваркой или надежным болтовым соединением.
Каждая часть электроустановки, подлежащая заземлению
или занулению, должна быть присоединена к сети заземления или зануления с
помощью отдельного проводника. Последовательное включение в заземляющий или
нулевой защитный проводник заземляемых или зануляемых частей электроустановки
запрещается.
Заземляющие и нулевые защитные проводники должны иметь
покрытие, предохраняющее от коррозии.
Открыто проложенные стальные заземляющие проводники,
должны иметь черную окраску.
Для определения технического состояния заземляющего
устройства должны периодически проводиться:
измерение сопротивления заземляющего устройства и не
реже 1 раза в 12 лет;
проверка состояния цепей между заземлителями и
заземляемыми элементами, а также соединений естественных заземлителей с
заземляющим устройством;
измерение напряжения прикосновения в
электроустановках, заземляющие устройства которых выполнены по нормам на
напряжение прикосновения.
Измерение сопротивления заземляющих устройств должно
проводиться:
после монтажа, переустройства и капитального ремонта
этих устройств.
Измерения должны выполняться в периоды наибольшего
высыхания грунта.
На каждое находящееся в эксплуатации заземляющее
устройство должен иметься паспорт, содержащий схему устройства, основные
технические данные, данные о результатах проверки его состояния, о характере
ремонтов и изменениях, внесенных в конструкцию данного устройства.
Использование земли в качестве фазного или нулевого
провода в электроустановках напряжением до 1000 В запрещается.
При использовании в электроустановке защитного
зануления должна производиться проверка состояния нулевого защитного проводника,
а также его соединения с защищаемым оборудованием.
Для проверки соответствия тока плавления предохранителей или уставок
расцепителей автоматических выключателей току короткого замыкания в
электроустановках потребителей периодически должно проводиться измерение
полного сопротивления петли фаза - нуль или непосредственное измерение тока КЗ
с помощью специальных приборов.
Процесс тушения горящих веществ сводится к активному
воздействию на процесс горения в зоне реакции. Исходя, из этого используют
следующие способы тушения:
снижение концентрации горючего или окислителя до
значений, при которых не может происходить горения;
охлаждение очага горения ниже определенных температур
(температур самовоспламенения, воспламенения);
интенсивное торможение скорости химической реакции
горения специальными веществами;
механический срыв пламени в результате воздействия на
него сильной струи газа или воды.
При подаче инертных газов (азота, диоксида углерода,
дымовых и отработанных газов, а также водяного пара) в зону горения снижается
концентрация окислителя, уменьшается скорость горения, и при определенных
концентрациях инертных газов Процесс горения прекращается. Инертные газы
применяют для объемного тушения, а также для тушения небольших поверхностей
горючих жидкостей, двигателей внутреннего сгорания, электродвигателей и других
электротехнических установок. Огнетушащие концентрации инертных газов при
объемном тушении зависят от свойств горящих веществ и пожароопасности помещений
и составляют для азота 32-40% (об.), диоксида углерода 25-30% (об.), водяного
пара 35% (oб.).
Диоксид углерода находится в баллонах в сжиженном состоянии под давлением
7 МПа. При выходе из баллона в результате резкого падения давления он
охлаждается и превращается в снегообразную массу. При подаче в зону горения
снегообразный диоксид углерода, испаряясь, отнимает очень большое количество
тепла, уменьшает содержание кислорода в зоне горения. Все это дает большой
тушащий эффект автоматических и ручных огнетушителей.
Любой пожар легче ликвидировать в начальной стадии,
приняв меры к его локализации, чтобы не допустить увеличения площади горения.
Это во многом зависит от оснащения производственных помещений первичными
средствами тушения пожара и умения работающих пользоваться ими. К первичным
средствам тушения относят внутренние пожарные краны, огнетушители, песок,
одеяла и кошмы, лопаты и совки, топоры и багры и т.п.
Ручной углекислотный огнетушитель ОУ-5 или ОУ-8
представляет собой стальной баллон вместимостью соответственно 5 или 8 л, в
горловину которого ввернут вентиль с выпускным штуцером, на который надета
сифонная трубка. Баллон заполнен сжиженным диоксидом углерода под давлением 7
МПа. При открывании вентиля сжиженный диоксид углерода выбрасывается из баллона
по сифонной трубке, испаряется, сильно охлаждается и поступает наружу в виде
хлопьев снега. Длина струи составляет соответственно 2 и 3,5 м,
продолжительность действия 35 и 40 с, масса заряженного огнетушителя 15 и 20,7
кг. f
Применяют также перевозимые углекислотные и ручные
специальные огнетушители. К ним относится углекислотно-бромэтиловый
огнетушитель типа РУБ-7, в котором огнетушащим веществом является состав из 97%
этилбромида и 3% сжиженного диоксида углерода. Его огнетушащее действие в 3,5
раза эффективнее углекислотного огнетушителя ОУ-8; применяют для тушения
загораний на складах, в автомобилях, в зданиях сложного профиля, вычислительных
центрах и т. д. Огнетушащий состав выбрасывается из огнетушителя в виде
распыленного туманообразного облака сжатым воздухом под давлением 0,86 МПа через
впрыск. Масса заряженного огнетушителя 11,6 кг, продолжительность действия 35
с, длина струи 3-4,5 м.
. Теоретическая часть
.1 Энергетическая служба предприятия и система планово-предупредительного
ремонта
.1.1 Общая концепция системы планово-предупредительного ремонта
энергетического оборудования
Система планово-предупредительного ремонта
энергетического оборудования (далее - Система ППР ЭО) - это комплекс
методических рекомендаций, норм и нормативов, предназначенных для обеспечения
эффективной организации, планирования и проведения технического обслуживания
(ТО) и ремонта энергетического оборудования.
Рекомендации, приведенные в настоящей Системе ППР ЭО,
могут использоваться на предприятиях любых видов деятельности и форм
собственности, применяющих аналогичное оборудование, с учетом конкретных
условий их работы.
Планово-предупредительный характер Системы ППР ЭО
реализуется:
проведением с заданной периодичностью ремонтов
оборудования, сроки выполнения и материально-техническое обеспечение которых
планируется заранее;
проведением операций ТО и контроля технического
состояния, направленных на предупреждение отказов оборудования и поддержание
его исправности и работоспособности в интервалах между ремонтами.
Система ППР ЭО создавалась с учетом новых экономических
и правовых условий, а в техническом плане - при максимальном использовании:
возможностей и преимуществ агрегатного метода ремонта;
всего спектра стратегий, форм и методов ТО и ремонта,
в т. ч. новых средств и методов технической диагностики;
современной вычислительной техники и компьютерных
технологий сбора, накопления и обработки информации о состоянии оборудования,
планирования ремонтно-профилактических воздействий и их
материально-технического обеспечения.
Действие Системы ППР ЭО распространяется на все
оборудование энергетических и технологических цехов предприятий вне зависимости
от места его использования.
Все эксплуатируемое на предприятиях оборудование
подразделяется на основное и неосновное.
Основным является оборудование, при непосредственном
участии которого осуществляются основные энергетические и технологические
процессы получения продукта (конечного или промежуточного), и выход которого из
строя приводит к прекращению или резкому сокращению выпуска продукции
(энергии).
Неосновное оборудование обеспечивает полноценное
протекание энергетических и технологических процессов и работу основного
оборудования.
В зависимости от производственной значимости и
выполняемых функций в энергетических и технологических процессах оборудование
одного и того же вида и наименования может быть отнесено как к основному, так и
к неосновному.
Система ППР ЭО предусматривает, что потребность
оборудования в ремонтно-профилактических воздействиях удовлетворяется
сочетанием различных видов ТО и плановых ремонтов оборудования, различающихся
периодичностью и составом работ.
В зависимости от производственной значимости
оборудования, влияния его отказов на безопасность персонала и стабильность
энерготехнологических процессов ремонтные воздействия реализуются в виде
регламентированного ремонта, ремонта по наработке, ремонта по техническому
состоянию, либо в виде их сочетания. На практике перечень оборудования, ремонт
которого может быть основан только на принципах и стратегиях
регламентированного ремонта, крайне узок. Фактически ремонт большей части
оборудования неизбежно основан на сочетании (в различных пропорциях)
регламентированного ремонта и ремонта по техническому состоянию. В этом случае
"каркас" структуры ремонтного цикла определяется совокупностью
элементов оборудования, ремонт которых основан на стратегиях
регламентированного ремонта или ремонта по наработке. На полученную
"жесткую" основу структуры ремонтного цикла накладываются (в
"нежестком" варианте) сроки проведения ремонта элементов, обслуживаемых
по техническому состоянию.
Наиболее перспективным методом ремонта оборудования
для предприятий любых форм собственности является агрегатно-узловой метод, при
котором неисправные сменные элементы (агрегаты, узлы и детали) заменяются
новыми или отремонтированными, взятыми из оборотного фонда. Своевременная
замена неисправных агрегатов, узлов и деталей - реализация
планово-предупредительной системы ремонта - наиболее успешно решается при
внедрении технического диагностирования оборудования в процессе его ТО и
ремонта.
Ремонт оборудования может осуществляться собственными
силами предприятий, эксплуатирующих оборудование, сторонними
специализированными ремонтными предприятиями, а также специализированными
подразделениями заводов-изготовителей. Удельный вес каждой из перечисленных
организационных форм ремонта для конкретного предприятия зависит от многих
факторов: развитости собственной ремонтной базы, ее оснащенности, удаленности
от предприятий - изготовителей оборудования и специализированных ремонтных
организаций, а также финансовых возможностей предприятия. Техническое
обслуживание и ремонт энергетического оборудования (в том числе
энерготехнологических котлов, котлов-утилизаторов, парогазотурбинных агрегатов,
влагопоглотительных устройств и коммуникаций и т. п.), расположенного в
производственных цехах, осуществляют службы главного механика и главного
энергетика.
Техническое обслуживание и ремонт оборудования
энергетического хозяйства предприятия и коммуникаций энергоносителей
(стационарные и передвижные электростанции, распределительные и
трансформаторные подстанции, внутризаводские воздушные и кабельные сети,
внутризаводские сети природного газа, используемого в качестве топлива,
пароносительные и бойлерные установки, устройства сбора и возврата конденсата,
общезаводские водозаборные сооружения и сооружения предварительной очистки воды
для питания энергетических установок и подпитки водооборотных систем, сети и
установки для снабжения предприятий теплом, паром, водой сжатым воздухом,
средства связи и сигнализации и т. п.) осуществляет служба главного энергетика.
Граница разделения объектов ремонта между службами
главного механика и главного энергетика устанавливается по следующему признаку.
Если к оборудованию и коммуникациям объекта (технологического цеха, участка и
т. п.), закрепленному за службой главного механика, подводится или отводится
энергетическая среда, то границей разделения является первый запорный орган
(запорная арматура, отключающее устройство и т. п.) перед вводом в цех. За
плотность присоединения и исправность запорного органа несет ответственность
служба главного механика.
Нормативы периодичности, продолжительности и
трудоемкости ремонта, приведенные в данной Системе ППР ЭО, рассчитаны как
средневзвешенные величины исходя из следующих соображений:
средние (по тяжести) условия эксплуатации
оборудования;
ремонт оборудования производится в условиях с
нормальным температурным режимом;
срок службы оборудования не превысил нормативный.
При отличии условий от оговоренных выше корректировка
нормативов производится в соответствии с приведенными в соответствующих
разделах данной Системы ППР ЭО коэффициентами.
Входящее в Систему ППР ЭО энергетическое оборудование
условно разделено на следующие две группы:
электротехническое оборудование (электрические машины,
электрические сети и устройства релейной защиты, электрические аппараты низкого
и высокого напряжения, силовые трансформаторы, аккумуляторные батареи, средства
связи и сигнализации), нормативы и нормы на которое приведены во второй части
настоящего Справочника;
теплотехническое оборудование (котлы и
котельно-вспомогательные элементы, котлы-утилизаторы, паровые турбины,
трубопроводы и трубопроводная арматура, компрессоры и насосы, вентиляторы,
дымососы, нагнетатели, вентиляционные и вытяжные системы, калориферы, кондиционеры,
оборудование водозабора и водоподготовки), нормативы и нормы на которое
приведены в третьей части Справочника.
Для эффективной реализации Системы ППР ЭО необходимо
выполнение следующих условий:
энергетическая служба предприятия должна быть укомплектована
квалифицированным персоналом в соответствии со штатным расписанием, иметь
ремонтную базу с необходимой технологической оснасткой и высокопроизводительным
инструментом;
ремонтный, дежурный и оперативный персонал обязан
знать и соблюдать правила технической эксплуатации оборудования, правила
промышленной и пожарной безопасности;
остановка оборудования на плановые ремонты
производится по утвержденным годовым и месячным планам-графикам в соответствии
с нормативной периодичностью и с учетом максимального использования остановок
на ТО и диагностирование оборудования; ремонты выполняются качественно, в
запланированном объеме, с максимальной механизацией тяжелых трудоемких работ;
при ремонте широко применяется агрегатно-узловой метод
и метод ремонта крупных объектов по сетевому графику;
обеспечивается организация поставок агрегатов, узлов и
деталей от заводов-изготовителей. Только детали несложной конфигурации
изготавливаются в собственных цехах; систематически по специальному плану
проводятся работы по повышению долговечности, снижению показателей аварийного
выхода энергооборудования из строя.
Настоящая Система ППР ЭО является рекомендательным
материалом прямого действия, но может также служить пособием при разработке
предприятиями собственных "Положений по планово-предупредительному ремонту
энергетического оборудования" в соответствии с требованием Федеральной
службы по технологическому надзору (далее - Федерального надзора) ПБ 05-356.00,
п. 242.
5.1.2 Задачи и функции отдела главного энергетика
Как показывает опыт работы предприятий в новых
условиях хозяйствования, особенно в последние 5-7 лет, существовавшая в
недавнем прошлом централизованная командная система управления оказалась
неприспособленной для решения главной задачи: получения прибыли.
Появилась необходимость не на словах, а на деле
централизовать управление технической эксплуатацией всех типов основных фондов
предприятия, сосредоточив его в одних руках: заместителя директора - главного
инженера предприятия. На некоторых предприятиях централизацию технической
эксплуатации еще более тесно связали с эффективным использованием основных
фондов, подчинив ее заместителю руководителя предприятия по оборудованию.
На предприятиях необходимо:
уточнить организационную структуру управления отделом
главного энергетика (ОГЭ; пример структуры ОГЭ представлен на рис. 1);
разработать систему (матрицу) распределения
ответственности и полномочий каждого сотрудника ОГЭ, отдела главного механика
(ОГМ), отдела главного прибориста (ОГП) и других подразделений (табл. 1.1);
конкретизировать их функции и ответственность в
отношении содержания работ, срокам их выполнения, объемов информации,
получаемой от руководства предприятия, служб и отдельных подразделений.
Для выполнения работ п. 1.2.3. создается комиссия в
составе:
руководитель: заместитель руководителя - главный
инженер предприятия;
члены: заместитель руководителя предприятия по
персоналу, главный энергетик, заместитель главного инженера по качеству и
производственной безопасности, начальник отдела охраны труда и заработной
платы, начальник юридического отдела, инженер по организации управления
производством, главный механик.
Разработанные комиссией материалы утверждаются
руководителем предприятия и вводятся в действие в виде "Регламента по
функционированию энергетической службы предприятия".
После утверждения регламента руководителем предприятия
уточняются обязанности и права главного энергетика (Приложение 7).
Реализация рекомендаций Системы ППР ЭО на предприятии
возлагается на ОГЭ, а на предприятиях, где в силу малочисленности
энергетической службы ОГЭ не создан, - на ОГМ. На ОГЭ кроме указанных выше
функций возлагаются следующие задачи. Основными задачами ОГЭ являются:
организация бесперебойного снабжения предприятия
энергоресурсами требуемых параметров (электроэнергией, паром, перегретой водой,
промышленной и питьевой водой, природным газом, сжатым воздухом);
организация качественной очистки промышленных и
хозяйственных сточных вод;
организация надежной и безопасной работы
энергетического хозяйства предприятия;
организация и контроль эксплуатации и ремонта
энергетического хозяйства предприятия, а также технический надзор и
методическое руководство деятельностью энергетического и технологического
персонала, обслуживающего энергетическое и энерготехнологическое оборудование
цехов и водооборотные циклы производств;
осуществление взаимодействия с региональными органами
Федерального надзора по вопросам безопасной эксплуатации оборудования;
осуществление взаимодействия с поставщиками и
потребителями энергоресурсов.
Рис. 1. Организационная структура ОГЭ (вариант)
6. Расчетная часть
.1 Расчет стоимости ОПФ
Основные фонды - это средства труда, которые участвуют в процессе
производства длительное время, т.е. во многих производственных циклах, сохраняя
при этом натуральную форму. Вещественно основные фонды не входят в создаваемый
продукт и переносят свою стоимость на него постепенно, по частям, по мере
износа.
По степени связанности с производственным процессом основные фонды
делятся на производственные и непроизводственные. К производственным основным
фондам относятся те, которые непосредственно участвуют в производстве
материальных благ (машины, оборудование, приборы и т.п.) или создают условия
для осуществления производственного процесса (производственные здания,
сооружения, коммуникации и др.), либо служат для хранения и транспортировки
предметов труда и готовой продукции.
Таблица 2.1 Расчет стоимости ОПФ
|
Наименования оборудования
|
Кол-во единиц (шт.)
|
Стоимость единицы оборудования (руб.)
|
Стоимость всего оборудования (руб.)
|
Затраты на монтаж
|
Первонач.(балансовая) стоимость руб.
|
Амортизация
|
|
|
|
|
%
|
руб.
|
|
%
|
руб.
|
|
1
|
2
|
3
|
4
|
5
|
6
|
7
|
8
|
9
|
|
Насос приема масла
|
5
|
13750
|
68750
|
40
|
27500
|
96250
|
15
|
14437,5
|
|
Насос чистого масла
|
2
|
13750
|
27500
|
40
|
11000
|
38500
|
15
|
5775
|
|
Насос отработанного масла
|
2
|
13750
|
27500
|
40
|
11000
|
38500
|
15
|
5775
|
|
Сепаратор
|
4
|
13750
|
55000
|
40
|
22000
|
77000
|
15
|
11550
|
|
Вытяжной вентилятор
|
1
|
2750
|
2750
|
40
|
600
|
3350
|
9
|
301,5
|
|
Приточный вентилятор
|
1
|
5500
|
5500
|
40
|
2200
|
7700
|
9
|
693
|
|
Итого:
|
|
|
187000
|
|
74300
|
261300
|
78
|
38532
|
Чтобы обеспечить восстановление изношенных основных фондов в натуре,
необходимо предварительно возместить их стоимость. Такое возмещение
осуществляется в форме амортизационных отчислений.
Амортизация - это плановое постепенное перенесение стоимости основных
фондов на продукты, в создании которых эти фонды принимали участие.
"Амортизация" и "Износ" - понятия не тождественные, чаще
они не совпадают ни по размерам, ни по времени. Амортизация начисляется в
течение года равными долями, а изнашиваются основные фонды неравномерно.
Амортизационные отчисления, предназначенные для капитального ремонта,
составляют целевой фонд предприятия и расходуются на капитальный ремонт и
модернизацию основных фондов.
.2 Определение структуры
Ремонтный цикл - период времени с начала эксплуатации электрооборудования
до первого капитального ремонта или между двумя капитальными ремонтами.
Межремонтный период - период времени между двумя очередными ремонтами.
Структура ремонтного цикла - перечень и последовательность выполнения ремонтов
в течение одного ремонта.
Таблица 2.2 структура ремонтного цикла
|
Наименование эл. оборудования
|
Продолжительность периода между ремонт. (час)
|
Кол-во ремонтов в цикле
|
|
Т
|
К
|
Т
|
К
|
|
Насос приема масла
|
8640
|
3
|
1
|
|
Насос чистого масла
|
8640
|
51840
|
3
|
1
|
|
Насос отработанного масла
|
8640
|
51840
|
3
|
1
|
|
Сепаратор
|
2160
|
25920
|
6
|
1
|
|
Вытяжной вентилятор
|
8640
|
86400
|
6
|
1
|
|
Приточный вентилятор
|
8640
|
86400
|
6
|
1
|
6.3 Определение сложности ремонта
Под категорией сложности ремонта различных работ электрооборудования
следует понимать степень сложности ремонта.
Категорию сложности ремонта (обозначают буквой R) принято выражать в
условных ремонтных единицах. Принято также считать, что эталоном - агрегатом,
имеющим первую категорию сложности ремонта (т.е. равную 1 р.е.), является
асинхронный электродвигатель с короткозамкнутым ротором, в защищенном
исполнение, с паспортной мощностью до 0,6 кВт.
Категория сложности ремонта любого другого электрооборудования
определяется путем сопоставления его с эталоном - агрегатом.
Таблица 2.3 Категория сложности ремонта
|
Наименование эл. оборудования
|
Категория ремонтной сложности
|
|
Насос приема масла
|
1,5
|
|
Насос чистого масла
|
1,5
|
|
Насос отработанного масла
|
1,5
|
|
Сепаратор
|
1,5
|
|
Вытяжной вентилятор
|
1,5
|
|
Приточный вентилятор
|
1,5
|
.4 Затраты труда на ремонт
Таблица 2.4Трудоемкость расчетных работ
|
Наименование электрооборудование
|
Трудоемкость ремонтных работ
|
|
|
|
|
Насос приема масла
|
4,5
|
19,05
|
|
Насос чистого масла
|
4,5
|
19,05
|
|
Насос отработанного масла
|
4,5
|
19,05
|
|
Сепаратор
|
4,5
|
19,05
|
|
Вытяжной вентилятор
|
4,5
|
19,05
|
|
Приточный вентилятор
|
4,5
|
19,05
|
Трудоемкость ремонтных работ по видам ремонта для каждой единицы
электрооборудования определяются по формулам:
Тк=
*R (2.141)
ТТ=
*R (2.142)к=19,05*1,5=28,5 Н-ч
ТГ=4,5*1,5-6,7 Н-ч
Где:
,
- нормы времени на 1 р.е. по видам ремонта (приведены в
отраслевых положения о ППР);категория сложности ремонта.
Годовую трудоемкость ремонтных работ по видам ремонта для всего
предусмотренного планом - графиком ППР электрооборудования определяются по
формулам:
ТК.Г=
норм - часов (2.143)
ТК.Г=27 Н-ч
ТТ.Г=
(2.144)
ТТ.Г=114,3 Н-ч
Годовую плановую трудоемкость по всем видам ремонта определяются по
формуле:
ТГ.пл=ТК.Г+ТТ.Г (2.145)
ТГ.пл=27+114,3=141,3 Н-ч
6.5 Расчет продолжительности простоя в ремонте
Продолжительность простоя электрооборудования в ремонте является одним из
важнейших показателей уровня организации ремонта на промышленном предприятии.
Простой в ремонте учитывают с момента остановки электрооборудования на ремонт
до момента приемки его в эксплуптпцию
Продолжительность простоя в ремонте отдельного электрического агрегата
определяют по формуле:
пр=Нпр*Rсут (2.146)
Где Нпр- норматив простоя на 1 р.е в зависимости от вида
ремонта и числа смен работы ремонтной бригады (определяют по отраслевым
Положениям о ППР)категория сложности ремонта.
Таблица 2.5 Время простояэлектрооборудования в ремонте
|
Наименование эл. оборудования
|
Время простоя в ремонте (Н) , час
|
|
Т
|
К
|
|
Насос приема масла
|
4
|
48
|
|
Насос чистого масла
|
4
|
48
|
|
Насос отработанного масла
|
4
|
48
|
|
Сепаратор
|
4
|
48
|
|
Вытяжной вентилятор
|
4
|
48
|
|
Приточный вентилятор
|
4
|
48
|
.6 Расчет численности ремонтного и обслуживающего персонала
Количества рабочих для выполнения ремонтных работ, предусмотренных
годовым планом - графикам ППР, определяют по формуле:
Чрем=ТГ.ИТ/tЭФ.Г*Кпчел
(2.147)
Чрем=141,3/1860*0,025=3 чел
Где ТГ.ИТ- итоговая годовая трудоемкость ремонтных работ (по
плану - графику ППР), нормо- часов;ЭФ.Г- эффективность годовой фонд
рабочего времени одного рабочего, равный 1860 г/год
Кп- коэффициент превышения нормы , принимаемый равным 1,08-1,1
Количество рабочих для выполнения межремонтного обслуживания
электрооборудования определяют по формуле:
Чобс=R1+R2R3/Нобс
чел (2.148)
Чобс=9/7=2 чел
Где R1+R2R3 - суммарные категории
сложности ремонта электрооборудования , работающего одну, две и три смены
соответственно;
Нобс- норматив межремонтного обслуживания на одного рабочего в
одну смену (определяют по отрослевым Положениям о ППР)
Общую численность рабочих ремонтного подразделения определяют
Чобщ= Чрем+ Чобсчел (2.149)
Чобщ=3+2=5 чел
.7 Организация производства
.7.1 Режим труда отдельного исполнителя
Режим труда отдельного исполнителя работы всегда прерывен и представляет
собой регламентированный порядок чередования и соотношения времени работы и
отдыха. Режимы работы работников и использования средств труда взаимосвязаны,
поскольку они зависят от одних и тех же производственных факторов (сменность
работы, простои и др.). Режим работы исполнителя определяется трудовым
законодательством, регламентирующим использованием рабочей силы в нашей стране
и определяющим продолжительность рабочей смены (рабочего дня),
продолжительность межсменного отдыха, выходного дня,длительность отпусков и
т.д.
При многосменной работе предприятия (цеха, участка) режим работы
персонала регламентируется графиками сменности, в которых определяются
чередования рабочих и выходных дней, чередование смен, начало и конец работы по
сменам.
График сменности должен отвечать следующим требованиям: длительность
смены должна быть равной или близкой к установленной законом продолжительности
рабочего дня;
Общая сумма отработанного каждым рабочим времени должна быть в пределах
месячной нормы;
Чередование работы и отдыха между сменами должно быть ритмичным и
одинаковым для всех рабочих, работающих по данному графику, а выходной день
должен длиться не менее 24 ;
График должен обеспечивать возможность закрепления рабочих мест за
рабочими (бригадами, вахтами) во избежание обезлички.
График сменности
|
1
|
2
|
3
|
4
|
5
|
6
|
7
|
8
|
9
|
10
|
11
|
12
|
13
|
14
|
15
|
16
|
17
|
18
|
19
|
20
|
21
|
22
|
23
|
24
|
25
|
26
|
27
|
28
|
29
|
30
|
|
А
|
А
|
А
|
А
|
Б
|
Б
|
Б
|
Б
|
В
|
В
|
В
|
В
|
Г
|
Г
|
Г
|
Г
|
А
|
А
|
А
|
А
|
Б
|
Б
|
Б
|
Б
|
В
|
В
|
В
|
В
|
Г
|
Г
|
|
В
|
Г
|
Г
|
Г
|
Г
|
А
|
А
|
А
|
А
|
Б
|
Б
|
Б
|
Б
|
В
|
В
|
В
|
В
|
Г
|
Г
|
Г
|
Г
|
А
|
А
|
А
|
А
|
Б
|
Б
|
Б
|
Б
|
В
|
|
Б
|
Б
|
В
|
В
|
В
|
В
|
Г
|
Г
|
Г
|
Г
|
А
|
А
|
А
|
А
|
Б
|
Б
|
Б
|
Б
|
В
|
В
|
В
|
В
|
Г
|
Г
|
Г
|
Г
|
А
|
А
|
А
|
А
|
|
Г
|
В
|
Б
|
Б
|
А
|
Г
|
В
|
В
|
Б
|
А
|
Г
|
Г
|
В
|
Б
|
А
|
Г
|
Г
|
В
|
Б
|
Б
|
А
|
Г
|
В
|
В
|
Б
|
А
|
Г
|
Г
|
В
|
Б
|
Рабочие А-24, Б-22, В-22, Г-22
Выходные А-6, Б-8 ,В-8, Г-8
Средние количество выходных дней
+8+8+8/4=7,5
.7.2 Баланс рабочего времени
|
Категории времени
|
Непрерывный режим производства
|
|
Дни
|
часы
|
|
1.Календарный фонд времени
|
365
|
|
|
Нерабочие время: -выходные дни -праздничные дни
|
82,5
|
|
|
2.Номинальный фонд времени
|
282,5
|
|
|
Невыходы на работу: - очередной и дополнительные отпуска -
болезни и роды - отпуск в связи с учебой -выполнение государственные и
общественные обязанности - прочие неявки, разрешенные законом
|
28 18 3 3 2
|
|
|
3.Эфективный фонд времени
|
228,5
|
1828
|
.7.3 Расчет формы годовой оплаты труда
В практике планирования и учета различают две формы заработной платы:
сдельную и повременную. При сдельной форме оплата труда производится за
количество выполненной работы или изготовленной продукции, при повременной - за
фактически отработанное время.
Обе формы оплаты труда применяются в сочетании с различными видами премий
и прогрессивных надбавок. В результате этого каждой форме соответствует
несколько систем оплаты труда.
Повременная форма заработной платы предусматривает оплату труда в
зависимости от отработанного времени и уровня квалификации (тарифной ставки).
Она применяется на участках , где экономически нецелесообразно детально
нормировать и учитывать труд , а выработка рабочего определяется принятым
технологическим режимом. По повременной форме оплачиваются ИТР и служащие,
кладовщики, рабочие, занятые, в экспериментальном производстве, и др.
Повременная форма имеет две системы - простую и повременно-премиальную.
При простой повременной системе оплаты заработок рабочего зависит от
отработанного времени и уровня квалификации (тарифной ставки).
Инженерно-технический работник и служащий получают должностной оклад, а
рабочий - тарифную ставку.
При повременно-премиальной системе, кроме оплаты за отработанное время,
работнику выплачивается премия за выполнение определенных количественных и
качественных показателей. Эта система создает у работников материальную
заинтересованность в повышении качества работы и результатах труда.
.7.4 расчет годовой формы оплаты труда обслуживающего персонала
расчет заработной платы по тарифу
ЗПТ=Ч.Т.С*ТЭФ*ЧИСЛруб (2.150)
ЗПТ=38*1,142*18,28*2=158655,7 руб
Расчет премиальный
ПР= ЗПТ*50%/100%руб (2.151)
ПР=158655,7*50%/100%=79329,8 руб
3 Расчет доплата за ночное время
ДН= ЗПТ*2/3 руб (2.152)
ДН= 158655,7*2/3=105770,5 руб
Расчет доплаты за праздничные дни
ДПР= Ч.Т.С*ЧИСЛ*8*8 руб (2.153)
ДПР=38*2*1.142*8*8=5554,7 руб
Расчет заработная плата основная
З.ПОСН=ЗПТ+ПР+ДН+ДПРруб
(2.154)
З.ПОСН=158655,7+79329,8+105770,5+5554,7=349310,7 руб
Расчет доплата за отпуск
ДОПТ= З.ПОСН*28*8/1828 руб (2.155)
ДОПТ=349310,7*28*8/1828=42803,9 руб
Расчет полной заработной платы
ЗППОЛ= З.ПОСН*ДОПТ руб (2.156)
ЗППОЛ=349310,7+42803,9=392144,6 руб
Расчет средней заработной платы
ЗПср= ЗППОЛ/ЧИСЛ*12 руб (2.157)
ЗПср=392144,6/2*12=16338,1 руб
6.7.5 Расчет годового фонда оплаты труда ремонтных рабочих
расчет заработной платы по тарифу
ЗПТ=Ч.Т.С*ТЭФ*ЧИСЛруб (2.158)
ЗПТ=38*1,268*1860*3=268866,7руб
Расчет премиальный
ПР= ЗПТ*50%/100% руб (2.159)
ПР=268866,7*50%/100%=134433,3руб
Расчет заработная плата основная
З.ПОСН=ЗПТ+ПРруб (2.160)
З.ПОСН=268866,7+134433,3=403300,1руб
Расчет доплата за отпуск
ДОПТ= З.ПОСН*28*8/1828 руб (2.161)
ДОПТ=403300,1*28*8/1828=49419,7руб
Расчет полной заработной платы
ЗППОЛ=403300,1+49419,7=452719,7руб
6 Расчет средней заработной платы
ЗПср= ЗППОЛ/ЧИСЛ*12 руб (2.163)
ЗПср=452719,7/3*12=12575,5руб
Расчет заработная плата общая
ЗПОБЩ=ЗППОЛ ОБС+ЗППОЛ РЕМ руб (2.164)
ЗПОБЩ=452719,7+392144,6=844864,3 руб
.7.6 Расчет затраты на ремонт
По экономическому признаку ремонты подразделяют на две группы:
) Текущие, включающие межремонтное обслуживание и малые ремонты,
расходы по которым относят на статью цеховых расходов по содержанию и
эксплуатации оборудования;
) Капитальные , включающие средние и капитальные ремонты, расходы
по которым покрывают из фонда амортизационных отчислений.
Затраты на ремонт определяют раздельно на текущий и капитальный ремонты.
В состав затрат включают:
а) основную заработную плату по тарифу,
б) премии
в) районную надбавку к заработной плате
г) стоимость материалов и комлектующих изделий
д) расходы по обслуживанию производства и управлению (цеховые и
общезаводские).
Основную заработную плату обслуживающих рабочих включают в состав затрат
на текущий ремонт.
Основную заработную плату ремонтных рабочих включают в состав затрат на
текущий и капитальный ремонты пропорционально трудоемкости ремонтных работ по
этим видам ремонта ( по плану-графику ППР).
Стоимость материалов и комплектующих изделий принимают в процентном
отношении от суммы основной заработной платы ремонтных рабочих:
а) на ремонт электрооборудования, кроме электрической сетей:
капитальный 220%
текущий 25%
б) на ремонт электрических сетей:
Капитальный 220%
Текущий 50%
Расходы по обслуживанию производства и управлению принимают в процентном
отношении от суммы основной заработной платы ремонтных рабочих:
Цеховые 90%
Общезаводские 60%
) Расчет стоимость материалов и комплектующих изделий на
капитальный ремонт
СТК=ЗПОБЩ*110%/100% руб. (2.165)
СТК=844864,3*110%/100%=929350,7руб
СТт= ЗПОБЩ*25%/100%руб (2.166)
СТт=844864,3*25%/100%=211216,1 руб.
) Расчет на ремонт электрических сетей
СТК=ЗПОБЩ*220%/100% руб. (2.167)
СТК=844864,3*220%/100%=1858701,1руб
СТт= ЗПОБЩ*50%/100% руб. (2.168)
СТт=844864,3*50%/100%=422432,1руб
3) Решение расходы по обслуживанию
СТц=ЗПОБЩ*90%/100% руб. (2.169)
СТЦ=844864,3*90%/100%=760377,8руб
СТОБЩ ЗВ= ЗПОБЩ*60%/100% руб. (2.170)
СТОБЩ ЗВ=844864,3*60%/100%=506918,8руб
Выводы
) Стоимость основных производственных фондов 261300 руб.
) Амортизационные отчисления 38532 руб.
) Численность ремонтных рабочих 3 чел
) Численность обслуживающих 2 чел
) Средняя заработная плата средних рабочих 12575,5 руб.
) Средняя заработная плата обслуживающих 16338,1 руб.
) Стоимость материалов и комплектующих изделий
а) на капитальный ремонт 929350,7 руб.; 211216,1 руб.
б) Расчет на ремонт электрических сетей 422432,1 руб.; 1858701,1 руб.
в) Решение расходы по обслуживанию 506918,8 руб.; 760377,8 руб.
Литература
1. Ю.Г.
Барыбина, Л.Е. Федорова. Справочник по проектированию электрических сетей и
электрооборудования. Москва: Энергоатомиздат, 1991
.
Методические указания по выполнению дипломного проекта для специальности 1806.
Ефремов: 1998
. В.И.
Дьяков. Типовые расчеты по электрооборудованию. Москва: Высшая школа, 1985
.
Методические указания по выполнению курсового проекта по электроснабжению.
Ефремов: 1998
. В.А.
Елисеев, А.В. Шинонский. Справочник по автоматизированному электроприводу.
Москва: Энергоатомиздат, 1983
. И.П.
Копылов, Б.К. Копылов. Справочник по электрическим машинам. Москва:
Энергоатомиздат, 1988
. В.С.
Медведева. Охрана труда и противопожарная защита в химической промышленности.
Москва: Химия, 1989
. Е.Н. Зимин
и др. Электрооборудование промышленных предприятий и установок. Москва:
Энергоиздат, 1981
. И.Л.
Кочанов. Курсовое и дипломное проектирование. Москва: Агропромиздат, 1983
. Ю.Б.
Айзенберг. Справочная книга по светотехнике. Москва: Энергоатомиздат, 1983
. Э.В.
Морозов и др. Справочник электрика по хранению и переработке зерна. Москва:
Агропромиздат, 1989
. ПУЭ.
Москва: Энергоиздат, 1986