|
Параметры
|
Числовые значения
|
|
Относительное отверстие,  1:3
|
|
|
Фокусное расстояние,  (мм)200
|
|
|
Диаметр объектива Dоб, (мм)
|
62
|
|
Толщина линзы по краю, (мм)
|
9,9
|
|
Толщина линзы по оси, (мм)
|
4,3
|
Рис. 5(б). Общий вид второго объектива
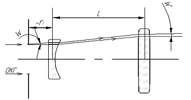
Окончанием габаритного расчета является
итоговая схема хода лучей в проектируемой афокальной насадке для ОКГ, которая
представлена на рис. 6 (а, б).
(а)
(б)
Рис.6(а, б). Схема хода лучей в проектируемой афокальной насадке для ОКГ.
(а) - первый вариант сборки; (б) - второй вариант сборки.
2.2 Крепление оптических деталей
Конструирование узла крепления любой оптической детали предполагает ее
обеспечение (базирование), ориентирование и закрепление соединение с базовой
механической основой обычно называемой оправой детали.
При разработке оправ необходимо учитывать следующие требования [6]:
· Крепление должно быть надежным (при использовании прибора
оптическая деталь не должна смещаться в оправе).
· Замыкающее усилие, необходимое для осуществления сопряжения
между деталями и оправой, не должно вызывать деформации и напряжений.
· Базовая основа узла, ориентирующие и крепежные детали должны
быть расположены вне габаритов светового пучка (эти вспомогательные поверхности
не должны служить причиной появления вредного рассеянного света и бликов
системы).
· Крепления должны быть технологичны не только в отношении
изготовления, но и сборки прибора.
Наиболее распространенными видами креплений круглых деталей являются:
· Резьбовым зажимным кольцом;
· Пружинящими планками;
· Проволочным (разрезным) кольцом:
· Приклеивание.
Первые два вида крепления используются наиболее широко, так как они
являются универсальными для большого числа размеров.
Крепление завальцовкой.
Оптический элемент удерживается в оправе ее тонкой металлической кромкой,
пластически деформируемой во время завальцовки. Крепежная кромка оправы после
завальцовки находится в сопряжении с конусной поверхностью специальной фаски,
сошлифованной на детали под углом 450, при этом она не должна выступать за
пределы фаски.
Крепление завальцовкой применяется для деталей диаметром до 80 мм (для склеенных
до 50 мм). Такое ограничение объясняется тем, что крепежная кромка предельной
толщины в 0,5 мм не в состоянии обеспечить необходимую надёжность крепления для
тяжелых деталей, в особенности при наличии перегрузок (вибрации, тряски,
ударов). Увеличивать толщину кромки не возможно, так как в процессе завальцовки
могут появиться выколки по краю детали. Кроме того, только тонкая
завальцованная кромка обладает пружинящими свойствами, обеспечивая необходимое
силовое замыкание детали и оправы при отсутствии пережатий, а также хорошую
компенсацию осевых температурных деформаций.
Материалы оправ при этом методе крепления должны обладать высокой
пластичностью. Наилучшим является латунь ЛС59-1; также применяются: латунь Л62,
дюралюминий марок Д1, Д6, Д16, низкоуглеродистые конструкционные стали (сталь
20, сталь 30).
Достоинства данного метода крепления - простота и технологичность.
Недостаток - неразъемность соединения.
Крепление резьбовым (зажимным) кольцом заключается в том, что оптическая
деталь прижимается к опорному уступу оправы резьбовым кольцом, кромка которого
нажимает на деталь с противоположной стороны. Оправа кольца может
изготавливаться из следующих материалов: сталь А12, сталь А20, Сталь 20, Сталь
30, сплавы АЛ2 и АЛ9.
Достоинствами данного соединения являются:
· разъемность;
· резьбовое кольцо - втулка может одновременно выполнять
функцию диафрагмы;
· резьбовое соединение с внутренним кольцом позволяет уменьшить
осевые габариты узла.
К недостаткам такого крепления можно отнести:
· так как крепление является жестким, то происходит потеря
стабильности и качества крепежа при температурных колебаниях;
· погрешность изготовления резьбы;
· расположение торца зажимного кольца не позволяет обеспечить
равномерный зажим оптической детали по всей окружности стопорного уступа
оправы;
· при креплении толстых линз, работающих в условиях больших
колебаний температур, компенсации температурных деформаций необходимо
обеспечить специальными оружейными кольцами с гладкими торцами и несколькими
рядами.
Крепление пружинящими планками заключается в том, что в трех небольших
зонах («точках»), расположенных под углом 120, на оптическую деталь нажимают
три одинаковые плоские пружины или три выступа одной пружины, обеспечивая
силовое замыкание детали на базирующий уступ оправы. Этот способ целесообразно
применять для оптических деталей большого диаметра (80 мм и более), так как при
этом относительное увеличение габаритов узла будет невелико. Пружинящие планки
крепятся к оправе с помощью винтов. Прижимные планки изготавливают из сталей
марок 65Г и У8А.
Способ крепления проволочным кольцом конструктивно прост и технологичен,
но используется только для крепления круглых оптических деталей в менее
ответственных случаях, когда не предъявляется высоких требований к точности,
надежности и герметичности соединения. Суть данного крепления заключается в
том, что оптическая деталь находится между уступом оправы и выступающей частью
проволочного кольца помещённого в специальную канавку - проточку. Для
обеспечения сборки кольцо имеет разрез в несколько миллиметров, при этом
наружный диаметр «свободного» кольца должен быть больше диаметра канавки. В
избегании выколок сопряжение оптической детали и кольца должно осуществляться
по поверхности фаски.
Способ крепления приклеиванием в конструктивном отношении является самым
простым, так как не требует других элементов крепления кроме оправы и
склеивающего вещества. Но этот вид крепления применяется с некоторыми
ограничениями.
Крепление является неразъемным и жестким. При больших перепадах температуры
возможно расклеивание или недопустимые напряжения в стекле из - за разницы
коэффициента термического расширения в материалах. Крепление применяется для
неответственных деталей (визирная сетка, защитные стёкла, светофильтры), либо в
ответственных случаях для деталей малого размера и жестких по своей конструкции
(большой толщины).
2.2.1 Краткие основы теории
Проектируемая афокальная насадка является ответственным оптическим
прибором и предназначена для эксплуатации с оптическим квантовым генератором. В
связи с этим, для обеспечения технического обслуживания прибора целесообразно
предусмотреть использование разъемных соединений конструкции. Для оправ окуляра
и объектива подходит способ крепления резьбовым (зажимным) кольцом
При проектировании оснастки прибора важно, чтобы она отвечала требованиям
простоты и технологичности. Необходимо также представить такое исполнение
прибора, при котором он будет иметь малые массогабаритные показатели.
.2.2 Проектирование конструкции оправы окуляра
Окуляр закреплен внутри оправы при помощи резьбового кольца [КППО
2002.02.11.03.04] с внешней метрической резьбой М14 ГОСТ 24705-2004.
В проектируемом приборе оправа окуляра [КППО 2002.02.11.03.01] имеет
многофункциональное назначение. Она не только выполняет основные функции по
фиксации окуляра, но и - функции обеспечения базирования, соосности оптических
элементов.
Проектируемая оправа окуляра выполняет функцию корпуса, к которой
присоединяются оправы объективов. Для этого, с противоположной стороны окуляра
(рис.4), предусмотрена внутренняя метрическая резьба М26, по которой происходит
сопряжение с оправами объективов.
2.2.3 Проектирование конструкции оправы объектива
И в первом и во втором вариантах сборки оправ объективов предусмотрено
крепление объективных линз при помощи резьбовых колец с резьбой М20 [КППО
2002.02.11.03.05] (в первом случае) и М76[КППО 2002.02.11.03.06] (во втором).
Однако, первый вариант исполнения подразумевает внешнюю метрическую резьбу для
уменьшения габаритов узла. Дополнительно, для удобства технического
обслуживания, на выступающую часть оправы объектива (и резьбового кольца во
втором случае сборки) наносится прямое рифление с шагом Р=0,6 по ГОСТ 21474-75.
Во втором варианте сборки отсутствие рифления на оправе объектива
компенсируется габаритными показателями.
Оправа объектива присоединяется к оправе окуляра в первом и во втором
варианте сборки проектируемого оптического прибора при помощи внешней
метрической резьбы М26.
Благодаря тому, что оправа объектива крепится непосредственно к оправе
окуляра -в приборе отсутствуют промежуточные звенья, в связи с чем,
проектируемая афокальная насадка имеет главное преимущество - бескорпусное
исполнение.
.
Технологическая часть
.1 Используемые конструкционные материалы
Современный уровень техники предъявляет к оптико-механическим
приборам требования обеспечения надежной и долговечной работы в различных
условиях их эксплуатации. Поэтому применяемые для их изготовления
конструкционные материалы должны обладать комплексом разнообразных свойств,
физических и механических характеристик.
Выбор материала осуществляется на основе его физико-химических свойств.
Для создания конструкции с минимальной массой большое значение имеет плотность
материалов. Оценивая реальную прочность конструкционного материала, следует не
только учитывать абсолютные значения показателя прочности, но и также
пластичность и вязкость материала, так как именно эти
показатели в основном определяют возможность хрупкого разрушения. Это относится
и к высокопрочным материалам.
Надежность - свойство изделия выполнять заданные функции,
сохраняя свои эксплуатационные показатели в заданных пределах в течение
требуемого промежутка времени или требуемой наработки. Надежность конструкции -
это также способность его работать вне расчетной ситуации, например,
выдерживать ударные нагрузки. Главным показателем надежности является запас
вязкости материала, который зависит от состава, температуры (порог
хладноломкости), условий нагруженности, работы, поглощаемой при распространении
трещины и т. д.
Долговечность - свойство изделия сохранять работоспособность
до предельного состояния (невозможности его дальнейшей эксплуатации).
Долговечность конструкции зависит от условий ее работы.
Прежде всего, это сопротивление износу при трении и контактная прочность. Кроме
того, долговечность изделия зависит от предела выносливости, зависящего в свою
очередь от состояния поверхности и коррозионной стойкостью материала.
Также, нежелательно использовать дефицитные и малораспространённые
составляющие, такие как вольфрам, кобальт, никель.
Важной характеристикой при изготовлении тонкостенных изделий является
коэффициент вязкости разрушения, который определяет возможность изготовления
деталей литьем. Предпочтение отдается тем материалам, чья поверхность не
требует обработки (коррозионной, для увеличения твердости). Технологичность
материала определяется и его твердостью. Менее твердые материалы легче
обрабатывать.
Для
изготовления оправ объектива и окуляра проектируемой афокальной насадки,
резьбовых колец используется дюралюминий Д-1 [ГОСТ 18482-79], который обладает
средней коррозионной стойкостью и мягкостью (520 единиц по Бринеллю), что
обеспечивает технологичность крепления и сборки прибора. Низкая плотность
дюралюминия 
,
обеспечивает низкий вес конструкции. Дюралюминий обладает необходимым пределом
прочности 
. Средний
процент относительного удлинения в = 14%, оптимален, так как он позволяет избежать
нарушения соосности при упругой деформации оправы окуляра под нагрузкой, и в то
же время обеспечивает перераспределение локального напряжения в изделии. [8]
3.2 Выбор защитного покрытия
Поверхности оправ с целью защиты и для уменьшения отражающего
действия (рассеянный свет, блики) должны иметь черное покрытие в виде оксидных
пленок или слоя матовой эмали. В особенности это важно для внутренних
посадочных и свободных поверхностей.
Покрытия могут быть однослойными и многослойными [4]. В
оптико-механических приборах в зависимости от назначения применяются следующие
виды покрытий: для защиты изделий от коррозии; защитно-декоративные;
специальные для повышения электропроводности, износостойкости, снижения
коэффициента трения и др. При выборе покрытий необходимо учитывать условия
эксплуатации изделий, материал детали и защитные свойства покрытий[5].
Так
как проектируемая афокальная насадка эксплуатируется в лабораторных условиях и
выполнена из коррозионно-стойкого материала (дюралюминий Д-1), то нет
необходимости дополнительной защиты насадки от коррозии.
Однако
для борьбы с наиболее вредным рассеянным светом внутри прибора специально
предусмотрена оксидная пленка с легирующими компонентами, выполненная при
помощи химического оксидирования без просветления ГОСТ 12.3.008-75 ССБ.
.3 Герметизация
Оптический прибор, должен быть защищен от попадания во
внутренние полости пыли и влаги, а также от запотевания при низких температурах
или при резких колебаниях температуры окружающей среды.
Герметичность для большинства оптических приборов обеспечивается
следующими мероприятиями [4]:
. Места соединений наружных деталей как механических, так и оптических с
механическими должны быть уплотнены эластичными непересыхающими прокладками или
уплотненными замазками. Уплотнительные замазки должны быть пластичными; они
должны быть нейтральными и химически устойчивыми, не размягчаться сильно и не
вытекать из соединений при температурах до +40 - 60С; кроме того, они должны не
высыхать и сохранять эти свойство в течение достаточно долгого времени, легко
смываться растворителями или сниматься механическим путем. В качестве
уплотнительных прокладок применяются вакуумная или мягкая резина, фторопласт,
полихлорвинил.
. В корпусах и других наружных деталях не рекомендуется делать сквозные
крепежные отверстия.
Наиболее уязвимыми местами являются резьбовые соединения окуляра и
объектива. Специально для обеспечения герметизации проектируемого прибора его
сборка предусматривается с использованием незасыхающего
герметика 51-Г-3 ТУ 38-405138-73, который наносят непосредственно на резьбовые
участки.
.4 Технические требования к оптическому прибору
Конструкция афокальной насадки должна отвечать требованиям технической
эстетики и безопасности труда. Конструкция оптического прибора должна быть
технологичной и отвечать требованиям стандартизации и унификации. [5]
Так же должно быть предусмотрено сокращение номенклатуры составных
частей, комплектующих изделий, средств обслуживания и ремонта, материалов и
сырья. Для обеспечения выполнения этих качественных показателей нужно по
возможности унифицировать составные части разрабатываемых приборов и изделий, с
которыми они должны совместно работать.
Так же необходимо:
· соблюдать типоразмерные ряды и параметрические требования,
установленные на разрабатываемые приборы;
· выбирать и применять комплектующие элементы в соответствии с
требованиями Требования к составным частям приборов:
· На трущихся поверхностях механических деталей не допускаются
пленки, раковины, трещины, задиры и другие подобные дефекты материала. Острые
углы и кромки должны быть закруглены и притуплены фасками.
· Поверхности деталей, которые могут дать рассеянный свет и
блики, должны иметь черные матовые покрытия.
· Все трущиеся части должны быть смазаны смазкой. Все зазоры и
места неподвижных соединений, через которые могут проникнуть внутрь прибора
пыль и влага, должны быть уплотнены прокладками или промазаны уплотнительными
замазками.
Требования к оптическим деталям, находящимся в оптических системах:
· На поверхностях оптических деталей не должно быть жировых,
водных и биологических налетов, обнаруживаемых при просмотре как в проходящем,
так и в отраженном свете.
· Конструкция прибора должна обеспечивать достаточную прочность
и устойчивость под воздействием механических факторов, встречающихся в процессе
эксплуатации. При механических воздействиях не должно быть повреждений прибора
нарушения регулировки рабочих механизмов, разъюстировки оптической системы,
загрязнения оптики. Указанные требования проверяются в действительных условиях
или с помощью специального испытательного оборудования. К наиболее часто
назначаемым видам механических испытаний относятся испытания на устойчивость и
прочность при воздействии вибраций и прочность при транспортировании.
Конструкция приборов должна обеспечивать возможность выполнения ими их функций,
сохранения параметров и внешнего вида в пределах установленных норм во время
или после воздействия климатических факторов в процессе эксплуатации.[5]
Обеспечить все выше перечисленные требования можно за счет выбора
конструкционных материалов, защитных покрытий, герметизации оптического прибора
и ряда других способов.
4.
Указания к эксплуатации прибора
Разработанная афокальная насадка для маломощного He-Ne лазера предназначена для
эксплуатации в лабораторных условиях (при температуре 18 - 250С и влажности не
более 70%). Не рекомендуется применять прибор в качестве афокальной насадки для
мощных ОКГ, так как это может привести к разрушению используемых оптических
элементов системы.
Эксплуатация прибора предусматривает:
а) ежедневный осмотр,
б) периодическое техническое обслуживание в процессе
эксплуатации (не реже, чем раз в полгода),
в) обслуживание при хранении.
При ежедневном использовании прибора рекомендуется производить его
визуальный осмотр на наличие повреждений и загрязнений, прежде всего на
оптических элементах. При необходимости производить чистку линз с помощью
мягкой ткани и спиртового раствора.
Периодическое техническое обслуживание включает в себя визуальный осмотр
прибора, проверку его комплектности, работоспособности, наличие технической
документации в полной комплектности. Также рекомендуется производить его
разборку и смазку трущихся поверхностей и резьбы деталей.
Внеплановый контроль должен выполнятся: при поступлении прибора в
эксплуатацию, после продолжительного перерыва в работе или после ремонта
неисправного прибора.
При длительном хранении раз в полгода рекомендуется производить
визуальный осмотр прибора, при необходимости удалять с него осевшую пыль мягкой
тканью и проверять наличие технической документации.
Заключение
В ходе данного курсового проекта была разработана насадка афокальная для
маломощного He-Ne лазера с возможностью дискретного управления расходимостью
лазерного излучения (путем механической смены объективных линз).
Главным достоинством разработанного прибора является простота
конструкции, а именно его бескорпусное исполнение, что реализовано благодаря
оригинальной схеме оправы окуляра, которая находится в беззвеньевом резьбовом
сопряжении с разными оправами используемых объективов.
Эксплуатация спроектированной насадки предусмотрена в лабораторных условиях
при комнатной температуре и относительной влажности воздуха 70 - 80%. Удобство
её технического обслуживания обеспечивается использованием разработанных оправ
с разъемными соединениями оптических элементов, а также малыми массогабаритными
показателями прибора.
Основные параметры разработанной насадки представлены в
таблице:
|
Оптические параметры
|
Значение Случай 1 (случай 2)
|
|
Расходимость выходного излучения, 2щ'
|
5' (1')
|
|
Увеличение, Г
|
 ( )
|
|
Массогабаритные параметры
|
Значение
|
|
Длина прибора
|
24мм
|
|
190мм
|
|
Масса прибора
|
50 грамм
|
|
360 грамм
|
Список используемой литературы
1. А.П. Бабичев, Н.А. Бабушкина, А.М. Братковский и др. Под.
Ред. Григорьева, Е.З. Мейлихова. - М.ЭнергоАтомИздат, 1991. - 1232 с.
2. Бегунов, Б.Н. Геометрическая оптика / Б.Н Бегунов. -
М., 1966.
3. Гвоздева, Н.П. Теория оптических систем и оптические
измерения / Гвоздева Н.П. - М., «Машиностроение» 1981.
4. Заказнов, Н.П. Теория оптических систем / Н.П
Заказнов. - М., «Машиностроение» 1992.
. Панов, В.А. Справочник конструктора
оптико-механических приборов / В.А Панов. - Ленинград., «Машиностроение» 1980.
. Толстоба, Н.Д. Проектирование узлов оптических
приборов / Н.Д Толстоба. -СПб., 2002.
. Шехонин, А.А. Прикладная оптика. Часть II / А.А Шехонин. - СПб., 2003.
. Материаловедение: Учебник для вузов. Изд. 4-е,
перераб. И доп. - СПб.: ХИМИЗДАТ. 2007. - 784 с.: ил.
9. Солохин, С.А. Лекции по прикладной оптике. Часть 3 / С.А.
Солохин. - Ковров «ФГБ ВПО КГТА», 2011. - 16 с.
10. ГОСТ 12.3.008-75 ССБ Производство покрытий
металлических и неметаллических неорганических
. ГОСТ 24705-2004 Резьба метрическая. Основные
размеры.
. ГОСТ 21474-75 Рифления прямые и сетчатые. Формы и
основные размеры
. ГОСТ 18482-79 Трубы прессованные из алюминия и
алюминиевых сплавов