Протирочная машина МИВП
МИНИСТЕРСТВО ОБРАЗОВАНИЯ И НАУКИ РФ
ФЕДЕРАЛЬНОЕ ГОСУДАРСТВЕННОЕ БЮДЖЕТНОЕ
ОБРАЗОВАТЕЛЬНОЕ УЧРЕЖДЕНИЕ
ВЫСШЕГО ПРОФЕССИОНАЛЬНОГО ОБРАЗОВАНИЯ
Новосибирский Государственный
Технический Университет
Кафедра технологии и организации
пищевых производств
КУРСОВАЯ РАБОТА
по дисциплине: Оборудование
предприятий общественного питания
Тема: «Протирочная машина МИВП»
Выполнила:
Поздникина Е.С.
Преподаватель:
Керженцев В.А.
Новосибирск, 2013
Содержание
Введение
. Анализ конструкций аналогов устройств
. Принципиальная схема машины МИВП
. Описание машины МИВП
.1 Обоснование конструктивных и кинематических параметров
машины
.2 Правила эксплуатации машины МИВП
. Расчёт основных конструктивных и технологических параметров
. Конструктивная проработка и компоновка устройства
Список использованных источников
Введение
механический протирочный машина питание
Основными функциями общественного питания является обеспечение питанием
населения страны, а также функция разделения и специализации труда.
Для реализации вышеназванных функций необходимо иметь обширную
материально-техническую базу для осуществления непрерывного цикла производства
и реализации продуктов питания.
Применение наиболее совершенных технологических процессов, современного
технологического оборудования третьего поколения, грамотная постановка
технологического процесса, применение современных форм управления - необходимые
условия для реализации программы.
Механическое оборудование - неотъемлемое звено в производстве продуктов
питания. Значительная часть выпускаемой продукции проходит несколько
технологических операций от измельчения до тепловой обработки, тем самым
повышая органолептические и пищевые свойства готового изделия.
Процесс измельчения пищевых продуктов, т.е. разделение
их на части, широко применяется на предприятиях общественного питания при
изготовлении сахарной пудры, панировочных сухарей, дробленых орехов, кофе,
пюреобразных продуктов из вареных овощей, фруктов, творога, при нарезке сырых
овощей и фруктов, мяса, хлеба, сыра, колбасы, масла сливочного и других
продуктов.
По роду воздействия на продукт машины, предназначенные
для его измельчения, можно подразделить на три основные группы:
для дробления пищевых продуктов (размолочные машины и
механизмы);
для измельчения вареных пищевых продуктов (протирочные
машины);
для нарезки пищевых продуктов.
Общие требования, которым должна удовлетворять любая
измельчительная машина (механизм), сводятся к следующему:
возможности быстрого и легкого изменения степени
измельчения;
определенной износостойкости рабочих органов, не
допускающей попадания кусочков металла в измельченный продукт в минимальной
массе;
медленному удалению измельченного продукта из рабочей
зоны во избежание излишнего измельчения, сопряженного с перерасходом
электроэнергии;
возможности быстрой и легкой замены всех изношенных
частей, особенно рабочих органов;
наличию предохранительных конструктивных элементов,
которые исключали бы производственный травматизм.
На предприятиях общественного питания значительное
место в технологическом процессе механической обработки пищевых продуктов
занимает измельчение вареных продуктов - протирание. Процесс протирания, как
правило, применяется для продукции уже прошедшей тепловую обработку
(картофельное пюре, каши). Поэтому с технологической точки зрения к этим
аппаратам должны предъявляться высокие санитарные требования, они должны быть
просты в эксплуатации и мойке.
В настоящем курсовом проекте приведен расчет протирочной машины МИВП с
производительностью 350 кг/ч.
1. Анализ конструкций аналогов устройств
Измельчение - механический процесс, при котором
воздействие рабочих органов на обрабатываемый продукт сопровождается переходом
последнего за пределы упругих деформаций. Поэтому при выборе способа
измельчения первостепенное значение приобретают такие свойства продукта, как
упругость, вязкость, пластичность. Под упругостью понимается свойство продукта
восстанавливать свои форму и размеры после прекращения воздействия на него
внешней нагрузки, под влиянием которой они были изменены. Это свойство характеризуется
модулем упругости. Исходя из этого, все продукты подвергаемые измельчению, не
могут рассматриваться как упругие. Наличие у них таких явлений, как релаксация
(падение напряжения при неизменной деформации) и ползучесть (рост деформации
при постоянных нагрузках), позволяет отнести эти продукты к упруго-вязким и
вязкопластическим телам.
Кроме перечисленных свойств продуктов на процесс их
измельчения влияют и такие физико-механические параметры: коэффициент Пуассона
м, коэффициент трения продукта f, разрушающее контактное напряжение у.
По характеру применяемых усилий измельчение производят
следующими способами: разрыванием - разрушением при растяжении; раздавливанием
- разрушением при сжатии; размалыванием - разрушением при изгибе; сдвиганием
одного слоя продукта относительно другого - разрушением при сдвиге; созданием
на малых участках поверхности продукта больших контактных напряжений -
разрушением лезвием.
В зависимости от физико-механических свойств
продуктов, особенностей технологического процесса, требований к дисперсности,
качеству поверхности раздела, форме конечного продукта этот процесс
осуществляют на различных измельчающих машинах.
По роду воздействия на продукт машины, предназначенные
для его измельчения, можно подразделить на три основные группы:
для дробления пищевых продуктов (размолочные машины и
механизмы);
для измельчения вареных пищевых продуктов (протирочные
машины);
для нарезки пищевых продуктов.
Механическое оборудование на предприятиях общественного питания
используется очень широко наряду с тепловым оборудованием. Степень механизации,
автоматизации предприятий отражает их конкурентоспособность, а значит и
рентабельность и организацию труда на предприятии.
В качестве одной из машин рассматривается протирочная машина,
предназначенная для приготовления картофельного пюре, протертого творога,
фруктового пюре. Технологический процесс состоит из следующих операций:
подготовленное сырье (мойка, варка и др.) подаётся в приемный бункер машины,
далее происходит протирание сырья и получение готового продукта. По принципу
измельчения это работа истирания и раздавливания, такой же принцип
осуществляется при дроблении (щековая, конусная, вальцовая дробилки). При
данном виде измельчения важен только размер получаемого продукта.
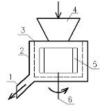
Принципиальная схема протирочной машины показана на рисунке 1.1.
Рисунок 1.1 - Схема протирочной машины: 1 -
разгрузочный патрубок; 2 - корпус; 3 - перфорированный цилиндр; 4 - приемный
бункер; 5 - рабочие лопасти; 6 - приводной вал.
Промышленность выпускает протирочную машину МП-800, протирочнорезательную
машину МУ-1000 и осваивает выпуск овощерезательно-протирочного механизма
МОП-II-1 к приводу П-II. Кроме того, в настоящее время на предприятиях
общественного питания широко применяются протирочные механизмы 822-7 и
МС-4-7-8-20 к универсальным приводам. Первый выполнен на базе овощерезательного
механизма 822-10, второй - на базе взбивального механизма.
Рисунок 1.2 - Схема протирочной машины МП-800
Машина МП-800. Машина (рис. 1.2) состоит из
алюминиевого корпуса 4 и сварного каркаса 17, внутри которых размещены
электродвигатель 18, клиноременная передача 1 и приводной вал. Электродвигатель
установлен вертикально. На валу электродвигателя на шпонке укреплен шкив,
который с помощью клинового ремня, передает вращательное движение шкиву, жестко
закрепленному на вертикальном приводном валу 5, смонтированном в двух роликоподшипниках
2. Затяжка подшипников регулируется резьбовым разрезным кольцом, которое
стопорится специальным винтом. Подшипники уплотнены резиновыми манжетами 3.
Литой загрузочный бункер 10 устанавливается на корпусе
и крепится к нему двумя откидными болтами. Верхняя конусная часть бункера
служит приемной воронкой 12 для загрузки сырья, нижняя цилиндрическая 5 -
рабочей камерой, в которой перемещается вращающийся ротор 11. На цилиндрической
части бункера 8 имеется люк 14 для выброса отходов. Люк закрыт крышкой, подвешенной
на оси 13 и запирающейся эксцентриковым зажимом с рукояткой 15. Для сбора
отходов предусмотрена емкость 16. На приводном валу 5 крепятся сменные роторы
11 для обработки различных продуктов.
Сменные решетки 9 или терочный диск неподвижно установлены
в корпусе и удерживаются от вращения бункером 10. Регулирование зазора между
неподвижной решеткой 9 (ситом) и вращающимся ротором осуществляется через
промежуточный стакан, который надевается на вал по высоте с помощью гайки и
фиксируется винтом. На этом же станке ниже решетки на двух шипах укреплен
сбрасыватель 6, служащий для выбрасывания протертого продукта из корпуса в
выходной лоток 7, выполненный в виде крышки, шарнирно соединенной с корпусом.
На роторе 11 имеются лопасти, угол наклона которых при вращении по часовой
стрелке обеспечивает прижатие протираемого продукта к ситу, а при вращении
против часовой стрелки - перемещение непротертых остатков вверх по
цилиндрической стенке бункера к люку для выброса отходов.
Ротор для протирания косточковых плодов состоит из
двух частей, соединенных невыпадающим винтом. Нижняя часть - ступица с упругими
пальцами - осуществляет протирание. Верхняя часть - выбрасыватель отходов -
свободно поворачивается относительно ступицы. Угол поворота выбрасывателя
ограничивается упором и вырезом на нижнем торце втулки выбрасывателя.
В зависимости от протираемого продукта рекомендуется
следующее сочетание рабочих органов: ротор лопастей и сито с отверстиями 3 мм -
для картофеля, бобовых, отварных овощей и круп, рыбы; ротор лопастной и сито с
отверстиями 1,5 мм - для отварной печени и свинины.
Работу на машине осуществляют следующим образом.
Продукт загружают в бункер машины при равномерно вращающемся роторе, где он
протирается через сито и сбрасывателем выбрасывается из машины в приемную
емкость, установленную на подставке. После прекращения выхода протертого
продукта нажимают кнопку «Стоп». Затем открывают откидную крышку выходного
лотка и с помощью лопатки полностью удаляют простертый продукт. При протирании
продуктов с большим количеством отходов последние периодически удаляют из
рабочей камеры машины. По окончании работы машину отключают от сети и снимают
рабочие органы для санитарной обработки.
Протирочно-резательная машина МУ-1000 (модель 723-7М).
Машина состоит из привода и исполнительного механизма, предназначенного для
нарезания сырых овощей и протирания вареных овощей, фруктов, крупяных
продуктов, творога и др.
Привод состоит из редуктора, электродвигателя и
станины. Фланцевый электродвигатель укреплен на корпусе редуктора и вместе с
ним установлен на станине. В корпусе редуктора в постоянном зацеплении
находятся две пары цилиндрических шестерен, понижающих частоту вращения. Для
закрепления подсоединяемого исполнительного механизма 723-7М крышка корпуса
редуктора оборудована двумя винтами-барашками. Приводной вал смонтирован в
крышке и имеет на наружном торце паз, в который входит конец хвостовика вала
исполнительного механизма. Основой исполнительного механизма является полый
вертикальный цилиндрический корпус, открытый сверху и снизу. К нему с наружной
стороны прикреплен цилиндрический хвостовик 5, с внутренней - редукторная
коробка 6 зубчатого конического редуктора. В редукторной коробке в двух
шарикоподшипниках смонтирован вертикальный вал конических шестерен. Горизонтальный
вал 4 смонтирован в запрессованных втулках (одна втулка расположена в коробке
зубчатого конического редуктора, вторая- в хвостовике 5). На верхнюю часть
вертикального вала насаживаются сменные рабочие органы. При использовании
механизма для протирания продуктов к торцевой части корпуса прикрепляют
протирочный диск-сито 1, а над ним на вертикальном приводном валу располагают
протирочные лопасти 2. Затем поверх сита и лопастей устанавливают и закрепляют
на корпусе загрузочный бункер, внутри которого находится двухзаходная улитка 3.
Сверху к загрузочному бункеру крепится воронка.
Рис. 1.3 Протирочный механизм МУ-1000 (модель 723-7М)
Подлежащий обработке продукт подается через воронку к
двухзаходной улитке, которая направляет его к вращающимся лопастям. Последние
захватывают продукт, продвигают его вдоль сита и продавливают через его
отверстия, превращая продукт к пюреобразную массу.
Овощерезательно-протирочный механизм МОП-II-1. Механизм (рис. 1.4) состоит из
редуктора 1, сменного овощерезательного приспособления, протирочной воронки, а
также набора сменных рабочих органов и принадлежностей.
В корпусе хвостовика на двух конических
роликоподшипниках установлен горизонтальный вал, уплотненный манжетой. Между
манжетой и роликоподшипником находится промежуточное кольцо. Хвостовик крепится
винтами к корпусу редуктора. Одна шестерня закреплена на приводном
горизонтальном валу с помощью шпонки, гайки и стопорной шайбы. Другая шестерня
вместе с радиально-упорным подшипником насажена на вертикальный вал: Крышка
подшипника имеет манжету, предотвращающую попадание влаги в редуктор. В верхней
части вертикального вала установлены гайки и стакан, на резьбу которого
навинчен сбрасыватель готового продукта. Гайка служит для регулирования
положения стакана по высоте. Стакан и гайка фиксируются винтом. От
поворачивания стакан удерживается шпонкой. Овощерезательное приспособление или
устанавливаемая вместо него протирочная воронка 2 закрепляются на корпусе с
помощью откидных кронштейнов с винтами.
При протирочных операциях под воронку 2 устанавливают
протирочный диск-сито 3 с отверстиями 0 2 или 5 мм. Протирочный рабочий
ротор-лопасть 4 фиксируют винтом 5. Голоска винта предохраняет диск-сито от
проворачивания.
Рис. 1.4 - Механизм-МОП-II-1 с протирочным приспособлением
Лопастной ротор служит для протирания продуктов и представляет собой
сварную деталь, состоящую из втулки и двух лопастей, которые обеспечивают
прижатие протираемого продукта ситу. На втулке имеется паз для установки ротора
на вал механизма и резьба для невыпадающего винта. Последний имеет левую резьбу
и предназначен для крепления рабочего органа к валу механизма.
Диск-сито 3 состоит из литого корпуса и сита,
последнее крепится к корпусу заклепками.
Работа протирочного механизма осуществляется следующим
образом. При протирке продукт из загрузочной воронки поступает в рабочую
камеру, где захватывается вращающейся лопастью, прижимается к ситу и
продавливается через него. Выбрасывается продукт сбрасывателем в подставленную
тару.
2. Принципиальная схема машины МИВП
1 - ротор
- кольцо, закреплённое винтом
- статор
- два торцевых эксцентрика
- кронштейн
- ось роликов
- загрузочный бункер
- алюминиевый корпус
- электродвигатель
- панель электроуправления
3. Описание машины МИВП
Для измельчения вареных продуктов на предприятиях общественного питания
применяют три группы машин, которые подразделяются в зависимости от способа
воздействия на продукт.
К первой группе относятся машины, в которых продукт измельчается за счет
высокочастотных колебаний в сочетании со сдвигом; ко второй - машины, в которых
продукт разрезается кромками сита и продавливается через его отверстия; к
третьей - машины, в которых продукт раздавливается быстро вращающейся лопастью
и перемешивается.
Рисунок 3.1 - Схема протирочной машины МИВП
Машины первой группы предназначены для тонкого измельчения вареных
продуктов. Полученные после измельчения мелкодисперсные пищевые пасты из
творога, вареных овощей, круп, мяса, рыбы используются преимущественно для детского
и диетического питания.
Машины второй группы применяются для приготовления пюре из вареных
овощей, картофеля, мясных и рыбных продуктов, а также творога и других
продуктов.
Машины третьей группы применяются для приготовления картофельного пюре
непосредственно в котле.
МИВП - Машина для тонкого измельчения вареных продуктов. Она (рис. 3.1)
состоит из алюминиевого корпуса 15, электродвигателя, статора 14 и загрузочного
бункера 7. Внутри корпуса, на плите станины установлен фланцевый
электродвигатель, вал которого через муфту 17 соединен с приводным валом,
вращающимся в двух радиальноупорных шарикоподшипниках 1. Специальным съемником
на приводном валу 2 на двух шпонках 3 устанавливается ротор 4, имеющий форму
усеченного конуса, который с торца крепится винтом 5 к валу 2.
Ротор состоит из трех частей, предназначенных для крупного, среднего и
тонкого измельчения продуктов. Каждая часть отличается одна от другой размером
и количеством цилиндрических канавок. В первой части 56 канавок, во второй -
80, в третьей - 120. Во всех трех частях ротора канавки расположены под углом к
образующей конуса.
Сверху над ротором в расточке корпуса имеется регулировочное кольцо 13 с
тремя ступенями, каждая из которых соответствует определенной степени
измельчения продукта. На кольцо 13, закрепленное винтом 12, опирается фланцем
статор, внутренняя поверхность которого имеет канавки, расположенные вдоль
образующей конуса. Для центрирования статора в конус запрессовано кольцо из
нержавеющей стали. Положением статора по высоте определяется величина
радиального зазора между ним и ротором. При повороте регулировочного кольца,
благодаря его ступенчатости статор занимает различные по высоте положения. При
нижнем положении статора радиальный зазор равен 0,2 мм, при среднем и верхнем он
соответственно равен 0,4 и 0,6 мм. Штифт 6, входящий в паз статора, не дает ему
поворачиваться в корпусе. Сверху статор прижимается загрузочным бункером 7. На
фланце бункера имеются два торцевых эксцентрика 11 и два ролика 10, которые при
повороте бункера по часовой стрелке запирают его. Оси 9 роликов 10 жестко
закреплены на кронштейнах 8, связанных с корпусом машины. Разгрузочное
отверстие машины снабжено специальным лотком, который крепится к корпусу двумя
откидными болтами. В верхней части станины расположена панель электроуправления
16.
Для установки приемной тары на передней части машины
имеется специальная подставка.
Протертые продукты должны иметь однородную массу
пастообразной консистенции и не содержать крупинок непротертых продуктов.
Степень измельчения протертой массы для 80 % частиц не должна превышать 250 мкм
по наибольшему размеру, остальные 20 % частиц не должны превышать 500 мкм.
Определение степени измельчения производят с помощью сит либо микроскопов с
измерительной шкалой.
Работу на машине осуществляют следующим образом.
Машину собирают и устанавливают оптимальный зазор между ротором и статором.
Затем ставят ступенчатое кольцо в положение Г, 2 или 3 в зависимости от
требуемого зазора между ротором и статором. Бункер помещают на корпус и поворачивают
по часовой стрелке до тех пор, пока торцевые эксцентрики не будут заперты
роликами. Лоток для выхода готового продукта устанавливают на корпус и
закрепляют двумя откидными болтами. Посуду для измельченного продукта
располагают на подставке. Далее нажимают на кнопку «Сеть» на задней стенке
машины для подключения ее к питающей сети, при этом на панели управления должна
загореться сигнальная лампочка. После этого нажатием кнопки «Пуск» включают
электродвигатель. Подготовленный продукт проталкивают лопаткой. Когда
измельчение основной массы закончится, нажимают на кнопку «Стоп», открывают
откидную крышку выходного лотка и удаляют из него остатки измельченного
продукта. Перед окончанием работы отключают машину от сети, нажав на красную
кнопку «Стоп». После окончания работы производят санитарную обработку машины.
Для этого ее разбирают, промывают горячей водой, ополаскивают горячей водой не
ниже 90 °С и просушивают.
.1 Обоснование конструктивных и кинематических
параметров машины
Процесс измельчения продуктов в зазоре между ротором и
статором, где происходит взаимодействие продукта с рабочими поверхностями,
может быть представлен следующим образом.
Каждая порция (частицы) продукта, поступая в зазор
между рабочими поверхностями ротора и статора, совершает сложное движение по
конической винтовой линии, которое можно представить как совокупность движений
вокруг вертикальной оси ротора и вдоль образующей среднего конуса. Первое из
этих движений обусловлено трением частиц о поверхность ротора и статора и ударами
о кромки канавок. При этом движении реакция ротора является движущей силой, а
реакция статора - силой сопротивления.
Второе движение, которое в дальнейшем будет называться
подачей, обусловлено наличием центробежной силы инерции, силы тяжести, силы
трения о поверхности ротора и статора, проекцией нормальной реакции кромок
канавок ротора на образующую конуса, инерции.
Движения частиц продукта, расположенных в одном
сечении, перпендикулярном оси вращения ротора, различны и зависят от их
расположения до этой оси. Окружную скорость частиц, расположенных в канавках
ротора, можно считать равной скорости соответствующей точки ротора, частиц в
канавках статора - равной нулю, частиц, расположенных в зазоре, - равной
некоторой средней скорости вследствие их связи с частицами первых двух групп.
При ударах частиц о кромки канавок ротора и статора происходят изменения во
взаимном расположении частиц в канавках и в зазоре, сопровождающиеся их
деформацией и разрушением.
В зависимости от количества канавок в зонах машины создается
различная частота колебаний, которая подсчитывается
по формуле:
=zn,
где z - количество канавок; п - частота вращения
ротора, с-1. Чем больше частота вращения ротора, тем больше среднее приведенное
давление, значение которого определяется из уравнения
где щ - угловая скорость ротора, рад/с; р -
средний радиус ротора, м;
ц - коэффициент заполнения рабочей зоны машины
продуктом, равный 0,4-0,8. Наибольшее значение ц принимается при зазоре, равном
0,6 мм, и при отсутствии ограничителя подачи продукта; r0 -средний радиус
статора, м.
.2 Правила эксплуатации машины МИВП
При обслуживании машины соблюдают следующие
требования. Машину надежно заземляют, при этом величина сопротивления
заземляющего провода не должна превышать 40 Ом. Регулировку, замену деталей,
исправление повреждений и другие работы производят только на отключенной от
сети машине. При загрузке продуктов пользуются прилагаемой к машине лопаткой.
Не допускается проталкивать продукты в бункер руками или не предназначенными
для этой цели предметами. Неисправности, возникающие во время работы машины,
устраняются обслуживающим ее оператором. Так, если статор плохо вставляется в
машину, оператору необходимо промыть его одновременно с корпусом. Если электродвигатель
отключается либо не включается при нажатии пусковой кнопки «Сеть», значит, в
результате перегрузки машины сработала тепловая защита магнитного пускателя.
Для устранения этих недостатков необходимо добавить жидкость в сырье и нажать
кнопку «Возврат реле» либо установить ограничитель подачи, уменьшить порции
загружаемого сырья и нажать кнопку «Возврат реле». Остальные неисправности,
возникающие в процессе работы, устраняются механиком.
4. Расчёт основных конструктивных и технологических параметров
Принимаются следующие технологические данные:
производительность Q=350 кг/ч=0,097кг/с;
зазор между ротором и статором = 0,4 мм;
длина рабочей зоны машины L=
0,8*Dс;
частота вращения ротора n=1440 мин-1;
угол конусности б=5°;
K=
=0,9;
плотность
печени говяжьей с=1000 кг/м3;
коэффициент
заполнения зазора ц = 0,4;
сопротивление
измельчению при сдвиге для печени говяжьей
у
=105 кПа;
коэффициент
сопротивления продвижению частиц продукта о =9,8;
Производительность
машины МИВП может быть определена по общей формуле для определения
производительности машин непрерывного действия:
,
где
F - площадь зазора между поверхностями ротора и статора
в соответствии с рекомендуемыми зазорами между ротором и статором при
измельчении различных продуктов, м2; - скорость продвижения продукта
вдоль образующей конуса. С учетом сопротивления продвижению частиц продукта за
счет многократной пульсации при прохождении ими канавок и выступов скорость
продвижения будет в о раз меньше окружной скорости, м/с; с - плотность
продукта, кг/м3;
Определение
окружной скорости:

150,7
(рад/с)
Площадь
зазора между поверхностями ротора и статора:
F= р(rс2 - rр2)sinб
= р(rс2 - (rс * K)2)sinб
= р*rс2(1-K2)sinб
Скорость продвижения продукта:
Производительность:
Определяем
радиус статора:
=
=
0,182 (м)
Радиус ротора:
rр
= rс * K= 0,182*0,9=0,164 (м)
Скорость продвижения продукта:


2,5 (м/с)
Определяем
площадь зазора между поверхностями ротора и статора:
F= р*rс2(1-K2)sinб = 3,14*(0,182)2*0,01*0,0872 = 0,00009 (м2)
Мощность
электродвигателя может быть определена по формуле
где
N1 - мощность, затрачиваемая на измельчение продукта, кВт; 2
- мощность, затрачиваемая на преодоление трения продукта о поверхность рабочих
органов, кВт;
ŋ
- к. п. д. передаточного механизма.
N1=
о·уp F·vo ·ц,
где
ур - сопротивление разрушению при сдвиге, кПа; 0 -
окружная скорость ротора по среднему радиусу, м/с.
2 = Py·р·Dc·L·f·v,
где
Ру - среднее приведенное давление, определяется по формуле, кПа; -
длина рабочей зоны статора, м; - усредненный коэффициент трения продукта о
поверхность рабочих органов (для вареной печени f = 0,3).
Окружная
скорость ротора по среднему радиусу:
(м/с)
Среднее
приведенное давление:

24557,3(Па)
= 24,5 (кПа)
Длина
рабочей зоны машины:
L= 0,8*Dс=0,8*(0,182*2)=0,3
(м)1= о·уp F·vo ·ц =
9,8*105000*0,00009*24,7*0,4=915 (Вт)
N2 = Py·р·Dc·L·f·v = 24557,3*3,14*0,364*0,3*0,3*2,5=5801 (Вт)

= 6853,06
(Вт) = 6,8 (кВт)
5. Конструктивная проработка и компоновка устройства
Список использованных источников
1. Чернавский С.А. Курсовое проектирование деталей
машин. - М.: Машиностроение, 1988
2. Гжиров Р.И. Краткий справочник конструктора.
Ленинград: Машиностроение, 1983
. Иванов М.Н. Детали машин. - М.: Высшая школа, 1991,
382с.
. Елхина В.Д. Механическое оборудование предприятий
общественного питания. - М.: Экономика, 1987