Полевые транзисторы и их применение
Полевые
транзисторы и их применение
Содержание
Введение
.
Принципы работы полевых транзисторов
.1
История создания полевых транзисторов
.2
Классификация полевых транзисторов
.3
Транзисторы с управляющим p - n переходом
.4
Транзисторы с изолированным затвором (МДП-транзисторы)
.5
МДП-транзисторы с индуцированным каналом
.6
МДП-транзисторы со встроенным каналом
.7
МДП-структуры специального назначения
.
Схемы включения полевых транзисторов
.
Применение полевых транзисторов
.
Перспективы развития
Заключение
Литература
полевой транзистор переход
Введение
Актуальность темы. Полупроводниковые устройства,
такие как диоды, транзисторы и интегральные схемы используются весьма широко в
различных устройствах специальной и бытовой техники, таких, как плееры,
телевизоры, автомобили, стиральные машины и компьютеры. Полупроводниковые
приборы прочно вошли в нашу жизнь, их характеристики продолжают
совершенствоваться, а цена - снижаться. Особенно характерно это на примере
компьютеров, когда сложность и характеристики современного компьютера
значительно превышают возможности персональных компьютеров пятилетней давности.
Прогресс в области вычислительной техники значительно превышает прогресс в
других областях техники. Например, невозможно представить улучшение
характеристик автомобиля в пять раз (по мощности и скорости) за пять лет по той
же самой цене. Тем не менее, когда речь идет о персональных компьютерах, такие
ожидания вполне реальны. Определяющим фактором такого прогресса является
совершенствование технологии производства транзисторов и микросхем, их
микроминиатюризация, в частности на основе полевых транзисторов. Характеристики
этих устройств улучшаются год от года, потребляемая мощность снижается, их
стоимость уменьшается. Поэтому изучение физики работы таких приборов,
технологии их производства и применения в различных областях является весьма
актуальной темой.
Цель работы и решаемые задач. Целями данной
курсовой работы являются формирование научной основы для целенаправленного
использования полученных знаний при создании элементов, приборов и устройств
микроэлектроники, практическое освоение основных понятий, полупроводниковых
устройств, в частности, полевых транзисторов, изучение основ создания
электронной компонентной базы и ее применения для создания электронных
устройств различного назначения. Задачами курсовой работы являются практическое
освоение основных понятий, расширение научного кругозора и эрудиции на базе
изучения основ строения материалов и физики происходящих в них явлений,
технологии материалов электронной и микроэлектронной техники, для последующего
использования их при создании приборов твердотельной электроники и разработке
технологии микроэлектроники.
Полевой транзистор (field effect transistor -
FET - англ.) - это полупроводниковый прибор [8], в котором протекает ток,
обусловленный носителями заряда одного типа. Протекание тока в полевом
транзисторе осуществляется за счет действия управляющего электрического поля,
направление которого перпендикулярно протеканию тока. В силу того, что ток в
таких приборах обусловлен носителями одного типа (электронами или дырками),
такие приборы называют униполярными (в отличие от биполярных транзисторов). По
принципу работы и конструкции полевые транзисторы условно можно разделить на
два класса. Первый - это транзисторы с управляющим p - n - переходом или
переходом металл-полупроводник (барьер Шоттки), второй - транзисторы с
управлением с помощью изолированного электрода (затвора), так называемые
транзисторы МДП (метал-диэлектрик-полупроводник) или МОП (металл-оксид-полупроводник).
По применению можно выделить 4 основных направления: цифровые устройства и
интегральные схемы, для общего применения, использование для создания СВЧ
устройств и применение для создания устройств высокой мощности. Технология создания
полевых транзисторов включает следующие основные направления:
VMOS/MESFET/PHEMPT
FinFET
Идея FET известна уже много лет. Наиболее ранние
публикации по этой теме - это идеи Лилиенфилда (1926 г) и Хейла (1935г). - один
из наиболее широко используемых типов полевых транзисторов. Это была первая
конфигурация полевого транзистора, которая в дальнейшем будет
совершенствоваться, что позволит использовать ее во многих областях
электроники.
MOSFET - полевой транзистор на основе MOS (Metal
Oxide Semiconductor - металл-окисел-полупроводник) технологии имеет много
преимуществ как с точки зрения высокого входного сопротивления, так и рабочих
характеристик в целом. (Vertical Metal Oxide Semiconductor) - это разновидность
мощного полевого транзистора типа MOSFET, он используется в областях, где
требуются средние уровни мощности. Термин Vmos также используется, чтобы
описать форму V-углубления, которая вертикально внедряется в материал подложки
транзистора. Разработка и внедрение транзисторов данной конфигурации дали
существенные преимущества по сравнению с применением биполярных транзисторов в
различных областях от мощных источников питания до усилителей и переключателей
средней мощности. Они также нашли применение как быстродействующие
переключатели в интегральных схемах. или UMOSFET - полевой транзистор на основе
МОП технологии, также разновидность мощного полевого транзистора типа MOSFET,
по конфигурации он похож на VMOS. Это - немного более поздняя разработка по
сравнению с VMOS, в которой усовершенствован тот же самый основной принцип со
структурой в виде «канавки» ("trench"). Эти транзисторы применяются
там, где требуются достаточно высокие мощности в устройствах питания, а также
как мощные транзисторы в радиотехнических устройствах. UMOSFETs в состоянии
обеспечить полезную функцию во многих относительно мощных заявлениях, и в
электроснабжении и как транзисторы власти RF.или Trenchgate MOS - это также
технология "trench", но она обеспечивает значительное улучшение по
мощности по сравнению с предыдущими МОП технологиями. Устройства TrenchMOS
позволяют разработчикам электроники разработать устройства с более
благоприятными условиями теплообмена при более высоких скоростях управления
током при тех же самых размерах чипа.Fet или MESFET - MESFET
(MEtal-Semiconductor Field Effect Transistor - металл-полупроводниковый полевой
транзистор) - высокоэффективная конфигурация полевого транзистора, который
используется, главным образом, в области микроволновой техники и усилителях
радиодиапазона. Как правило, он изготавливается на основе арсенида галлия
(аббревиатура - GaAsFET или MESFET - англ.). Эти устройства во многом схожи с
FET или JFET, однако значительно их превосходят в области СВЧ, особенно для
усилителей СВЧ диапазона. Основное различие между MOSFET и MESFET состоит в применении
в MESFET диода с барьером Шоттки вместо оксидного слоя для изоляции затвора от
канала./PHEMPT (High Electron Mobility transistor/ Pseudomorphic High Electron
Mobility Transistors - транзистор с высокой подвижностью электронов/транзистор
с высокой подвижностью электронов с псевдоморфным слоем), также называемый HFET
или MODFET. Имеет чрезвычайно высокие характеристики в микроволновом диапазоне
частот. HEMT обладает сочетанием очень низкого уровня шумов при работе на сверх
высоких частотах. Соответственно, он используется при разработке
высокоэффективных СВЧ устройств, где требуется обеспечить низкий уровень шумов.
Следующая поколение HEMT известно как PHEMT, которые весьма активно
используются в беспроводной связи и малошумящих усилителях. Транзисторы PHEMT
нашли широкое применение благодаря работе при больших мощностях, низких шумах и
высоких характеристиках. Это позволяет широко использовать транзисторы PHEMT
типа в системах спутниковой связи различного назначения, включая прямую
трансляцию телевизионных каналов через спутник, предусилителях, используемых со
спутниковыми антеннами. Они также широко используются в общих системах
спутниковой связи, а также радарах и микроволновых системах радиосвязи.
Технология PHEMT также используется в быстродействующих аналоговых и цифровых
интегральных схемах, где требуется чрезвычайно высокая скорость передачи
данных.(Fin - ребро) - объемные (3D) полевые транзисторы с несколькими, как
правило, тремя затворами, расположенными вокруг кремниевого канала в объемной структуре.
Ширина ребер может составлять 10 - 15 нм, высота в идеальном варианте может
быть в два или более раз больше. Используется во многих технологиях
изготовления интегральных схем для уменьшения размеров элементов и снижения
энергопотребления - преимуществ, необходимых для смартфонов, планшетов, мощных
процессоров.
1. Принципы работы полевых транзисторов
.1 История создания полевых транзисторов
Идея полевого транзистора впервые была
предложена Лилиенфельдом [9] в 1926 - 1928 годах. Эти конфигурации транзисторов
не были внедрены в производство по объективным причинам. Реальный работающий
прибор был создан в 1960 году. Конструкция транзистора по патенту Лилиенфельда
№ 1900018 представлен на Рис.1. [10]
Рис.1. Полевой транзистор Лилиенфельда.
В 1935 году О. Хейлу в Англии был выдан патент
на полевой транзистор (Рис. 2)
Рис. 2 Схема из патента О. Хейла № 439457.
Прототип полевого транзистора с изолированным затвором.
- управляющий электрод (затвор); 2 - тонкий слой
полупроводника(теллур, йод, окись меди, пятиокись ванадия; 3 (сток); 4 (исток)
- омические контакты к полупроводнику; 5 - источник постоянного тока; 6 -
источник переменного напряжения; 7 - амперметр.
В 1952 г. Шокли изобрел полевой транзистор с
управляющим электродом. Эта конструкция представляла собой обратно смещенный
p-n - переход (см. рис. 3). Конструкция полевого транзистора имела
полупроводниковый стержень n-типа (канал n-типа) с омическими выводами на торцах.
В качестве полупроводника был применен кремний (Si). p-n-переход был
сформирован на поверхности канала с противоположных сторон. p-n-переход
формируется таким образом, чтобы он был параллелен направлению тока в канале.
Основные носители заряда для данного канала - электроны, определяющие
проводимость канала текут от истока к стоку. На рис. 3 - это отрицательный
электрод.
Рис. 3 Полевой транзистор Шокли.
В 1966 году Мидом была создана и реализована
третья конструкция полевых транзисторов (с барьером Шоттки).
В 1963 г. Хофштейн и Хайман разработали полевой
транзистора на основе МДП структур. С 1952 по 1970 г.г. эти транзисторы
находились еще на лабораторной стадии разработки. В настоящее время эта
технология одна из наиболее широко используемых для производства интегральных
схем.
1.2 Классификация полевых транзисторов
Как уже упоминалось, полевые транзисторы условно
можно разделить на 2 группы. К первой можно отнести транзисторы с управляющим
р-n переходом, или переходом металл - полупроводник, ко второй - транзисторы с
управляющим изолированным электродом (затвором), транзисторы МДП или МОП.
Рис.4. Классификация полевых
транзисторов
.3Транзисторы с управляющим p - n
переходом
Полевой транзистор с управляющим p-n
переходом - это полевой транзистор, затвор которого изолирован (то есть отделён
в электрическом отношении) от канала р - n переходом, смещённым в обратном
направлении. Поскольку у полевой транзистор управляется с помощью
электрического поля, не с помощью протекающего тока, то он обладает крайне
высоким входным сопротивлением порядка сотен ГОм и даже ТОм (биполярный
транзистор имеет сотни КОм). Поскольку носителями электрического заряда в
полевых транзисторах являются только электроны или только дырки их иногда
называют униполярными.
Рис. 5. Устройство полевого
транзистора с управляющим p-n переходом
Как видно из рисунка транзистор
имеет два контакта к области, по которой проходит управляемый ток основных
носителей заряда, Кроме этого, у него есть один или два управляющих
электронно-дырочных перехода, смещённых в обратном направлении (см. рис. 5).
Если изменить обратное напряжение на p-n переходе, то изменится его толщина. В
этом случае изменится толщина области, по которой протекает основных носителей
заряда. Определения [5]:
Электрод, который инжектирует
основные носители, называют истоком (Source - англ).
Электрод, на котором собираются
основные носители, называется стоком ((Drain - англ.).
Вывод (эдектрод) полевого
транзистора, к которому приложено управляющее напряжение называется затвором
(Gate - англ.).
Область полупроводника, по которой
протекают основные носители зарядов, между p-n переходом, называется каналом
полевого транзистора, проводимость которого может быть как n-, так и p-типа.
Названия электродов сток и исток -
условны. Для отдельного полевого транзистора, который не поставлен в
электрическую схему, не имеет значения какие контакты корпуса сток и исток. Все
зависит от положения транзистора в цепи. Поскольку полевые транзисторы
различаются по типу проводимости с n-каналом и р-каналом, то в связи с этим
полярность напряжений смещения, подаваемых на электроды транзисторов с n- и с
p-каналом, имеют разный знак, т.е. противоположны. Условное графическое
изображение (УГО) полевого транзистора с каналом n-типа и p-типа изображено на
рисунке 6.
Рис. 6. Графическое обозначение
полевого транзистора.
Принцип действия полевого
транзистора состоит в следующем. При подаче на затвор запирающего напряжения
между стоком и истоком создаётся продольное электрическое поле, которое
обеспечивает движение основных носителей зарядов, создающих ток стока. Если
напряжение на затворе равно нулю, p-n переходы закрыты, ширина их минимальна, а
ширина канала максимальна и ток стока будет максимальным. Если приложить
напряжение к затвору, ширина p-n переходов возрастает, а ширина канала и ток стока
уменьшаются. При достаточно большом напряжении на затворе ток стока может
упасть до нуля, из-за увеличения ширины p-n переходов до их полного слияния.
Это напряжение называется напряжением отсечки. По принципу действия полевой
транзистор подобен вакуумному триоду. Это управляемый полупроводниковый прибор,
в котором при изменении напряжение на затворе уменьшается ток стока и поэтому
полевые транзисторы с управляющими p-n переходами работают только в режиме
обеднения канала.
.4 Транзисторы с изолированным
затвором (МДП-транзисторы)
Эти приборы имеют затвор в виде
металлической плёнки, которая изолирована от полупроводника слоем диэлектрика.
В качестве диэлектрика применяется окись кремния. Поэтому полевые транзисторы с
изолированным затвором называют МДП - металл-диэлектрик-полупроводник или МОП -
металл-окисел-полупроводник. МДП - транзисторы могут быть двух видов:
Транзисторы с индуцированным
каналом.
Транзисторы со встроенным каналом.
В каждом из типов есть транзисторы с
n -каналом и p-каналом. Схематичное обозначение:
Рис.7. Схематическое изображение
транзисторов с индуцированным и встроенным каналом.
Характеристики и параметры полевых
транзисторов.
. Стокозатворная характеристика -
зависимость тока стока (Ic) от напряжения на затворе (Uси) для транзисторов с
каналом n-типа.
Рис.8. Стокозатворная
характеристика.
. Стоковая характеристика -
зависимость зависимость Ic от Uси при постоянном напряжении на затворе Ic = f
(Uси) при Uзи = Const.
Рис.9. Стоковая характеристика.
Основные параметры:
) Напряжение отсечки.
) Крутизна стокозатворной
характеристики. Она показывает, на сколько миллиампер изменится ток стока при
изменении напряжения на затворе на 1В.
) Внутреннее сопротивление (или
выходное) полевого транзистора.
) Входное сопротивление.
На затвор подаётся только запирающее
напряжение, поэтому ток затвора - это обратный ток закрытого p-n перехода, его
величина весьма мала. Входное сопротивление, как уже упоминалось выше, Rвх
может достигать нескольких ГОм.
.5 МДП-транзисторы с индуцированным
каналом
Рис. 8. Устройство полевого
транзистора с индуцированным каналом.
з = 0; Ic1 = 0; Uз < 0; Ic2 = 0;
Uз > 0; Ic3 > 0.
При Uз менее или равном 0, канал
отсутствует, и ток стока равен нулю. При положительных напряжениях на затворе
электроны, являясь неосновными носителями, подложки p-типа, уйдут на затвор, а
дырки - вглубь подложки. В тонком слое под затвором концентрация электронов превысит
концентрацию дырок, поэтому полупроводник поменяет тип проводимости. Таким
образом, образуется индуцированный канал, и в цепи стока потечёт ток.
.6 МДП-транзисторы со встроенным
каналом
Физическое устройство
МДП-транзистора со встроенным каналом отличается наличием между стоком и
истоком проводящего канала. Основой такого транзистора является кристалл
кремния p- или n-типа проводимости.
Рис. 9. Устройство полевого
транзистора со встроенным каналом.
Для транзистора с n-типом
проводимости:зи = 0; Ic1; Uзи > 0; Ic2 > Ic1; Uзи < 0; Ic3 < Ic1;
Uзи << 0; Ic4 = 0.
При приложении электрического поля
между стоком и истоком через канал будут протекать основные носители зарядов -
ток стока. При подаче на затвор положительного напряжения электроны как
неосновные носители подложки будут инжектироваться в канал. При подаче на
затвор отрицательного напряжения электроны из канала будут уходить в подложку,
канал обеднится носителями зарядов, и ток стока уменьшится. При достаточно больших
напряжениях на затворе все носители заряда могут из канала уходить в подложку,
и ток стока станет равным нулю. Поэтому, МОП - транзисторы со встроенным
каналом могут работать как в режиме обогащения, так и в режиме обеднения
зарядов.
1.7 МДП-структуры специального
назначения
Кроме упомянутых выше полевых
транзисторов применяется ряд МОП-структур со специфичными свойствами. Они
служат составной частью микросхем. На рис. 10 приведено устройство структуры
типа металл - нитрид - оксид - полупроводник (МНОП). Диэлектрик под затвором
выполнен двухслойным. Он состоит из тонкого слоя оксида SiO2 и толстого слоя
нитрида Si3N4 (80 -100 нм) (рисунок 5.11, а-в). На границе этих двух слоев, а
также в слое нитрида имеются «ловушки» электронов.
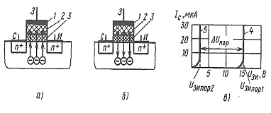
Рис. 10 − МНОП-структура в
режимах записи (а) и стирания информации (б); вольтамперные стокозатворные
характеристики при наличии (4) и отсутствии (5) записанного заряда (в);1 -
алюминий; 2 - Si3N4; 3 - SiO2;
Поэтому при подаче на затвор
МНОП-структуры положительного напряжения (28-30В) электроны из подложки
туннелируют через тонкий слой SiO2 и захватываются «ловушками». Появляются
неподвижные отрицательно заряженные ионы. Созданный ими заряд повышает
пороговое напряжение, причем этот заряд может храниться в течение нескольких
лет при отключении всех напряжений питания. На основе таких МНОП-структур выполняются
запоминающие элементы.
Рис. 11 − МОП-структуры с
плавающим затвором в режиме записи (а), в режиме стирания (б): 1 - плавающий
затвор из поликристаллического кремния; 2 - диэлектрик SiO2
МОП-структуры с плавающим затвором и
лавинной инжекцией (Рис.11) имеют затвор, который выполнен из кристаллического
кремния и не имеет электрических связей с другими частями структуры. В таких
структурах также отрицательный заряд благодаря высоким изолирующим свойствам
диэлектрика сохраняется на протяжении многих лет (уменьшается приблизительно
на 25% за 10 лет). Величину заряда выбирают такой, чтобы он обеспечил появление
электропроводного канала, соединяющего сток и исток. Для того чтобы транзистор
стал неэлектропроводящим, необходимо убрать электрический заряд с «плавающего»
затвора. Для этой цели область затвора подвергают воздействию ультрафиолетовым
излучением (или ионизирующим излучением другого вида).
2. Схемы включения полевых
транзисторов

Рис. 11 Схемы включения полевых транзисторов
Биполярный и полевой транзистор
обычно рассматривают как четырехполюсник, у которого два из четырех контактов
совпадают. Тогда можно определить три схемы включения транзисторов: с общим
истоком, с общим затвором и с общим стоком. По характеристикам они очень похожи
на схемы включения биполярных транзисторов. Наиболее часто реализуется
схема с общим истоком (а), поскольку дает большее усиление по току и мощности.
Схема с общим затвором (б) усиления по току почти не дает и имеет малое входное
сопротивление. Поэтому такая схема на практике мало применяется. Схема с общим
стоком (в) называется истоковым повторителем, ее коэффициент усилением
составляет порядка единицы, такую схему используют чаще всего для развязки
каскадов усиления, так как ее входное сопротивление велико, а выходное мало.
3. Применение полевых транзисторов
Полевые транзисторы нашли широкое
применение в радиоэлектронике. МДП-транзисторы имеют очень высокое входное
сопротивление (RBX> 1014 Ом, иногда до 1017 Ом). Параметры МДП-транзисторов
меньше зависят от температуры, чем биполярных. Полевые транзисторы могут работать
при низких температурах. Их параметры весьма стабильны во времени даже при
негативных внешних воздействиях, включая радиацию, поэтому они могут быть
использованы в бортовой аппаратуре космических аппаратов. Технология
изготовления полевых транзисторов весьма проста, поэтому при их изготовлении
процент брака существенно меньше, чем при изготовлении биполярных транзисторов.
При изготовлении интегральных схем на основе полевых транзисторов можно
добиться высокой плотности расположения элементов, значительно выше (примерно
на порядок), чем для биполярных транзисторов. На основе МДП-транзисторов могут
быть изготовлены резисторы для монолитных интегральных микросхем. Они также
могут использоваться в логических схемах, их применяют в вычислительной
технике. При всех своих достоинствах полевые транзисторы обладают такими
недостатками, как малый коэффициент усиления и меньший, чем у биполярных
частотный диапазон, поэтому их используют в устройствах с частотами до
нескольких мегагерц. Создание гибридных микросхем с улучшенными
характеристиками возможно при совместном применении полевых и биполярных
транзисторов. Полевые транзисторы применяют в схемах усилителей, генераторов,
переключателей.
4. Перспективы развития
Светоизлучающий органический полевой
транзистор [11].
Изобретение относится к области
оптики, в частности к электролюминесцирующим наноструктурам, и может быть
использовано при создании устройств для отображения алфавитно-цифровой и
графической информации. Сущность изобретения состоит в том, что активный слой
выполнен в виде органической матрицы с внедренными в нее двухкомпонентными
(ядро-оболочка) полупроводниковыми наночастицами. Диаметр полупроводникового
ядра наночастиц может изменяться в пределах 2.0-6.0 нм а толщина
полупроводниковой оболочки может изменяться в пределах 1.0-3.0 нм для
перестройки длины волны излучения в пределах 400-650 нм видимого спектра.
Изобретение может быть использовано для создания светоизлучающих органических
полевых транзисторов с высоким квантовым выходом люминесценции и регулируемым
спектром излучения в видимом диапазоне длин волн, что важно для создания
алфавитно-цифровых дисплеев нового поколения.
Создание графеновых транзисторов
[12]. Исследователи из HRL Laboratories объявили о создании графеновых полевых
транзисторов, в которых подвижность зарядов в 6 - 8 раз превышает возможности
современных кремниевых технологий. Для кремния экспериментально измеренная
подвижность зарядов в кремнии составляет около 1400 квадратных сантиметров на
вольт в секунду, для в графена подвижность может достигать 200 тысяч см2/В×с при
комнатной температуре (правда, на практике пока был достигнут уровень лишь в 15
тысяч см2/В×с, что,
более чем в 10 раз превосходит кремний). Исследователи из HRL Laboratories
объявили о том, что им удалось создать устройства из единичного слоя графена на
подложке из карбида кремния диаметром 2 дюйма. В транзисторах данного типа
подвижность зарядов составляет порядка 6000 см2/В×с, что в 6 -
8 раз выше, чем у наиболее совершенной на сегодняшний день кремниевой технологии
n-MOSFET.
-нм технология FinFET от Intel.[13]
Впервые были запущены в серийное производство транзисторы с трехмерной
структурой. О начале производства объемной транзисторной структуры Tri-Gate
компания Intel известила общественность еще в 2002 г. Однако кристаллы с такими
транзисторами корпорация начала продавать только в апреле: новые процессоры
Intel носят кодовое имя Ivy Bridge. Трехзатворные транзисторы имеют структуру,
представленную на рис. 12.
Рис. 12. Схема трехзатворного
транзистора с ребрами: : gate - затвор, oxide - оксид кремния, silicon
substrate - кремниевая подложка.
В 3D-транзисторе Tri-Gate
используются три затвора, расположенных вокруг кремниевого канала в объемной
структуре, что обеспечивает уникальное сочетание производительности и очень
малого потребления - преимуществ, востребованных как в смартфонах и планшетах,
так и для мощных процессоров для ПК и серверов. Высокая эффективность новых
транзисторов при низком напряжении питания позволяет создавать новые
микроархитектуры на базе 22-нм процессоров Intel Atom. Здесь в полной мере
используются возможности технологии 3D Tri-Gate, обеспечивающей очень малое
потребление.
Заключение
Развитие полупроводниковых приборов
происходит весьма быстрыми темпами. Разрабатываются приборы для работы в
области высоких частот, мощностей и температур при минимизации их размеров.
Особое внимание уделяется повышению надежности, стабильности и долговечности
работы транзисторов в различных режимах и условиях эксплуатации. Наиболее
важным направлением развития электроники является миниатюризация приборов. Это
связано с тем, бурным развитием микроэлектроники и вычислительной техники с
цифровой обработкой различной информации. В данной курсовой работе представлена
история создания полевых транзисторов, рассмотрены физические процессы в
полевых транзисторах, приведена их классификация, приведены основные их
характеристики и режимы работы в различных схемах включения, рассмотрено
применение полевых транзисторов, перспективы их развития. Данная курсовая
работа может быть использована в учебном процессе при изучении основ и
применения полевых транзисторов.
Литература
Джесси
Рассел Полевой транзистор, VSD, 2012. - 80 стр.
Р.
Куэй Электроника на основе нитрида галлия/Пер.с англ./ под ред. д.ф.−м.н.
А.Г. Васильева, М.: Техносфера, 2011. - 592с.
Старосельский
В.И. Физика полупроводниковых приборов микроэлектроники: учебн. пособие, М.:
Высшее образование, Юрайт- Издат. 2009.- 463 стр.
Горбацевич
А.А. Полупроводниковые гетероструктуры и приборы на их основе/А.А. Горбацевич и
др.//Нанотехнологии в электронике/под ред. Ю.А. Чаплыгина. - М. Техносфера,
2005. - С. 172 - 242.
Москатов
Е. А. Электронная техника. Специальная редакция для журнала “Радио”. -
Таганрог, 2004. - 121 стр.
B.
Van Zeghbroeck Principles of Semiconductor Devices, 2011.- 715 pp. M. Sze, Kwok
K. Ng Physics of Semiconductor Devices, John Wiley&Sons Inc., Hoboken, New
Jersey, 2007. - 793 pp.