Оптрон гальванической развязки
1.
Область применения
Основное преимущество обратноходовой топологии - дешевизна и
малое количество компонентов. Поэтому практически все сетевые источники питания
до мощностей 30÷50 Вт строятся по ней. Но
существуют и ограничения.
С понижением выходного напряжения область оптимального
применения данной топологии смещается в область меньших мощностей. Причина -
большие импульсные токи на вторичной стороне, что приводит к повышенным потерям
в обмотке, выходном выпрямителе и конденсаторах фильтра. Кроме того, возникают
проблемы с выбором выходных конденсаторов, способных выдерживать большие
импульсные токи. Например, при выходном напряжении 5 В и токе нагрузки в 10 А среднеквадратичное
значение тока в выходном конденсаторе составит порядка 17 А, и обязательно возникнут
проблемы с выбором конденсаторов с таким допустимым импульсным током. В
результате фильтр приобретает громадные размеры, и стоимость его так же
становится ощутимой. Но если мы захотим построить такой же 50-ваттный источник,
но уже с выходным напряжением 24 В и током 2 А, то получим среднеквадратичный ток порядка 3,5 А, и здесь уже вполне
можно обойтись всего двумя конденсаторами. Но вот при высоких выходных
напряжениях прямоходовая и двухтактные схемы требуют большого коэффициента
трансформации, что ведет к неприятным паразитным емкостям обмоток и,
соответственно, к ощутимым броскам тока на первичной стороне. В обратноходовом
же мы можем снизить коэффициент трансформации за счет повышения напряжения
обратного хода. Кроме вышесказанного, при низких выходных напряжениях очень
желательно использование синхронного выпрямителя. Но он получается чрезвычайно
простым и эффективным только в прямоходовой топологии, при преобразовании
энергии на обратном ходу его реализация возможна, но, во-первых, сопряжена с
некоторыми схемотехническими трудностями, и, во-вторых, получается вовсе не
столь эффективной.
Второе ограничение может быть связано с габаритами.
Во-первых, несмотря на меньшее количество деталей, некоторые компоненты имеют
относительно большие размеры, например трансформатор и выходные конденсаторы.
Во-вторых, могут возникнуть проблемы отводы тепла за счет относительно худшего
КПД. Например, если взять тот же самый 50-ваттный источник с выходным
напряжением 24
В, то КПД в
85% будет неплохим результатом для обратноходового преобразователя. А вот
прямоходовой источник с активным демпфером (Active Clamp Forward) может обеспечить КПД в
92%. В результате имеем потери - в первом случае 8,8 Вт, во втором - 4,3 Вт, что в 2 раза меньше.
Суммируя все вышесказанное, можно видеть, что определенных
мощностных критериев оптимальности использования обратноходовой топологии нет.
С одной стороны, вполне оправдано использование ее на приличных мощностях, до
150÷200 Вт
(источник питания телевизоров), а с другой стороны может оказаться так, что уже
при 30 Вт выходной мощности обратноходовой преобразователь окажется далеко не
самым оптимальным решением.
На рис. 1 приведена «классическая» схема обратноходового
преобразователя на чрезвычайно широко распространенной микросхеме КР1033ЕУ11,
являющейся отечественным аналогом микросхемы UС3844.
Будем рассматривать влияние каждого компонента на работу
схемы и рассчитывать номиналы компонентов для преобразователя с параметрами:
Входное напряжение: 115 В с частотой 400 Гц.
Согласно ГОСТ Р 54073-2010 об общих требованиях и норм
качества электроэнергии СЭС самолетов и вертолетов допустимые значения
переменного напряжения 115 В - 108÷118
В, а для
частоты - 380÷420 Гц.
Расчет и выбор компонентов
Рис. 1. Схема однотактного обратноходового преобразователя
Частота преобразования: 20 кГц.
Выходное напряжение/ток: 9 В, 5 A (PН = 45 Вт).
Коэффициент пульсаций: КП = 0,1%.
Входной
конденсатор (C1)
Как и в любом сетевом блоке питания входной конденсатор
выбирается исходя из компромисса между габаритами и пульсациями на нем. Как
правило, пульсациями на частоте преобразования пренебрегают, поскольку емкость
входного конденсатора заведомо значительно больше необходимой для подавления
высокочастотных пульсаций. Рассчитаем необходимую емкость конденсатора, чтобы
получить некое минимальное постоянное напряжение UРАБ min при минимальном
постоянном напряжении сети UВХ min. Для этого определим
входное напряжение преобразователя:
Примем рабочее входное напряжение
Предварительный КПД преобразователя примем равным 90%.
По стандартному ряду Е12 выбираем емкость входного
конденсатора С1 равной 39 мкФ.
ШИМ
- контроллер (U1)
Будем выбирать контроллер из семейства микросхем КР1033ЕУ1х,
являющиеся отечественными аналогами микросхем семейства UС384х (чрезвычайно
распространенный и дешевый чип, выпускаемый многими производителями). Выберем
один из вариантов этой серии исходя из следующих соображений.
Сначала определимся с максимальным значением D - с ограничением в 50%
или без него. Если не ограничиваться половинным значением максимально
допустимого рабочего цикла, то можно несколько снизить пиковые токи на
первичной стороне при том же самом диапазоне входных напряжений, но возникает
следующая проблема: при снижении входного напряжения ниже расчетного мы
неизбежно попадем в режим неразрывных токов трансформатора, что чревато многими
неприятностями, и главная из них - возникновение субгармонических колебаний.
Эти колебания на половинной частоте преобразования возникают при трех условиях:
при токовом режиме, когда ток в дросселе неразрывен и D>50%. Для недопущения
их приходится вводить дополнительные элементы, и все равно очень трудно
гарантировать отсутствие этих колебаний в неких нерасчетных режимах.
Субгармонические колебания могут приводить к выходу из строя силовых элементов,
поэтому вероятность их возникновения - слишком высокая плата за небольшое
снижение максимального пикового тока. Разумеется, данное соображение не может
быть решающим, и в каждом конкретном случае необходимо оценивать риск с точки
зрения проекта в целом. В нашем случае ограничимся 50 - процентным рабочим
ходом, в большинстве случаев сетевых преобразователей это вполне оправдано.
Кроме того, в данной серии чипов есть возможность ограничения величины рабочего
цикла любой величиной, и все расчеты могут быть легко адаптированы под любое
максимальное значение D.
Для сетевого источника питания крайне желательно иметь
большой гистерезис питающего напряжения чипа - это значительно облегчает
построение схем запуска и защиты.
Суммируя все вышесказанное, останавливаемся на микросхеме
КР1033ЕУ11 как отвечающей всем условиям.
2.
Частотозадающие элементы (C5 и R8)
В этих микросхемах реализован задающий генератор на следующем
принципе. Сначала конденсатор С5 медленно заряжается через резистор R8 от опорного напряжения,
а затем быстро разряжается внутренним ключом с фиксированным током разряда
(8,3мА). Время разряда конденсатора через внутренний ключ определяет «мертвое»
время - когда силовой ключ всегда закрыт. Соответственно, варьируя величины R8 и С5 можно не только
задавать частоту преобразования, но и максимальное значение рабочего хода. В
данном случае нам интересно получить как можно меньшее «мертвое» время, что бы
максимально приблизить наш коэффициент заполнения D к 50%, конденсатор желательно
иметь как можно меньшей емкости, а R8 должен быть как можно больше (исходя из графика
в спецификации желательно его иметь в районе 25÷30 кОм). Формула для
определения частоты преобразования так же приводится в спецификации:
Для чипов КР1033ЕУ11 и КР1033ЕУ12 эта частота должна быть вдвое
больше, поскольку для получения 50-процентного рабочего цикла в них
используется только каждый второй такт.
Выберем из стандартного ряда Е12
. Значение емкости конденсатора С5 составит:
По стандартному ряду Е12 задаемся значением
Уточним номинальную частоту переключения:
Выясним максимальное и минимальное значение частоты из-за разброса
компонентов, а также максимальное значение D. В качестве С5 будем использовать керамический конденсатор с
диэлектриком NP0 и допуском ±5%. Допуск на частоту
внутреннего осциллятора так же составляет ±5% во всем диапазоне температур.
Теперь можно определить «мертвое» время. Здесь конденсатор С5
разряжается фиксированным током 8,3 мА (минимально
7,6 мА), и размах напряжения на нем 1,7 В (данные из спецификации). Поэтому «мертвое» время будет:
что составляет менее одного процента от периода преобразования.
Поэтому возьмем минимальный уровень ограничения рабочего цикла из спецификации
- 47%, и будем оперировать им.
Теперь определим минимально возможное время открытого и закрытого
состояния ключа, когда чип пытается сделать максимально возможный D. Это будет при максимальной частоте преобразования и D=47%.
Итак, в самых неблагоприятных условиях мы можем нагнетать ток в
трансформатор в течение 22 мкс, и разряжать трансформатор в течение 25 мкс.
Расчет трансформатора начнем с определения необходимых
индуктивностей обмоток. Будем считать, что трансформатор должен находиться в
режиме разрывных токов при перегрузке в 20%. То есть, за время 22 мкс мы должны
запасти в трансформаторе ровно столько энергии, чтобы ее хватило на поддержание
выходного напряжения:
Импульсный ток в первичной цепи:
С другой стороны, за время tО при
приложенном входном напряжении этот ток будет изменяться по закону:
Решаем относительно L1 для наихудших условий - минимального
входного напряжения, максимальной нагрузке
и минимальной частоте fmin (поскольку при этом мы должны запасти больше энергии в
трансформаторе).
В нашем случае максимальное значение индуктивности первичной
обмотки:
Теперь легко найти ток в первичной цепи:
Сразу найдем среднеквадратичное его значение:
За время tЗ вся энергия из сердечника должна перейти
в выходной конденсатор и в нагрузку, и к началу следующего такта ток в выходной
обмотке должен успеть спасть до нуля. За время обратного хода к выходной
обмотке приложено выходное напряжение UВЫХ плюс падение напряжения на выходном диоде
UVD. В нашем случае в качестве выходного
диода используем диод Шоттки, и прямое напряжение на нем примем за 0,5 В.
В то же время энергия, запасенная в трансформаторе
полностью переходит в нагрузку. Теперь решаем эти два
уравнения относительно L2 для условия минимально возможной рабочей
частоты:
Соответственно, ток во вторичной обмотке:
При этом коэффициент трансформации будет:
Напряжение на силовом ключе без учета индуктивного выброса будет:
Обратим внимание, что все приведенные цифры пока носят расчетный
характер, при разработке конкретного трансформатора они будут уточнены. Здесь
важно, что индуктивность первичной обмотки не может быть больше, чем 1,57 мГн,
а индуктивность вторичной при этом - 10,65 мкГн.
Теперь произведем практический расчет трансформатора. Сначала
надо выбрать типоразмер сердечника. Однозначных рекомендаций здесь дать трудно.
Для сетевых источников необходимо учитывать требования электробезопасности, в
частности, пути утечки между первичной и вторичной стороной должны быть не
менее 6 мм (в соответствии с
отечественными стандартами). Соответственно, такой зазор должен быть и между
витками первичной и вторичной обмоток, и это накладывает ограничение на
минимальный размер стандартного каркаса. Как правило, становится очень
проблематично использовать Ш-образные сердечники, меньшие, чем Е19-Е20. Кроме
того, если планируется получать несколько выходных напряжений с одного
трансформатора, то ограничивающим фактором может оказаться недостаточное
количество выводов стандартного каркаса. С другой стороны, чем больше размер
сердечника, тем меньшие потери в трансформаторе можно получить - меньше размах
индукции и можно использовать большее сечение провода (уменьшатся удельные
потери, но за счет большего объема материала выигрыш будет не столь
значителен). Так что приходится или выбирать размер сердечника по
соответствующему программному обеспечению, или интуитивно, на основе опыта, и
по результатам расчета корректировать в ту или иную сторону.
Для диапазона частот 20÷400 кГц наилучшим выбором
будет феррит, близкий по параметрам к ферриту N87 фирмы Epcos (Россия). Это дешевые
материалы, обладающие в то же время очень низкими потерями при размахе индукции
вплоть до 0,5÷0,6 Тл. Для мелкосерийных
изделий, а также для получения минимальной массы трансформатора при мощности до
500 ВА, работающего на повышенных частотах 20÷100 кГц, возможно применение
трансформаторов с тороидальным магнитопроводом. В этом случае в качестве
материала обычно используется так называемый μ-пермаллой (материал с распределенным зазором). Это отечественные
марки МП-60 и МП-140, или зарубежные материалы многих фирм (Micrometals, Epcos, Magnetics). Как правило,
производители позиционируют их как материалы для дросселей, но по сути своей
трансформатор обратноходового преобразователя и является дросселем. Используя
тороидальные сердечники, сможем получить чрезвычайно низкую индуктивность
рассеяния (вплоть до 0,5%) и значительно легче выдержать зазоры между
обмотками. Но вот трудоемкость намотки и последующего монтажа гораздо выше.
Потери в этих материалах на 20 кГц примерно на порядок выше потерь в ферритах,
но за счет меньшего объема кольца абсолютные потери оказываются на вполне
приемлемом уровне.
Для нашего примера остановимся на сердечнике EFD-25/30 из феррита N87. Этот сердечник
доступен в трех вариантах с различными зазорами, соответствующими 160, 250 и
315 нГн/виток2. Чем меньше мы намотаем витков, тем больше будет
индукция (и потери в сердечнике), но меньше потери в проводах, и мы должны
выбрать оптимальный вариант.
Начнем с максимального зазора, соответствующего индуктивности
в 160 нГн/виток2. Мы должны
получить индуктивность первичной обмотки в 1,57 мГн.

Индукция вполне приемлемая, с некоторым запасом от индукции
насыщения (для феррита N78 равна 0,5
Тл). Смотрим на кривую зависимости удельных потерь он индукции и частоты в
спецификации на материал при частоте 20 кГц и
, и получаем удельные потери в 127 мВт/см3. Объем
сердечника из спецификации VС=5210 мм3=5,21 см3.
В итоге получаем потери в сердечнике:
Но обратим внимание, что потери в феррите очень сильно падают с
ростом температуры. Так при температуре сердечника в 100 °С удельные потери
составят всего 50 мВт/см3 и потери в сердечнике:
Но удельное сопротивление меди наоборот достаточно сильно растет с
ростом температуры, соответственно потери в обмотках будут увеличиваться с
ростом температуры обмоток. Поэтому при выборе оптимальной конфигурации
трансформатора следует оценивать общие потери и при комнатной температуре, и
при 100 °С, и оценивать полученный результат исходя из требований к разработке
в целом (рабочий температурный диапазон, условия охлаждения).
Максимально возможная индуктивность вторичной обмотки 10,65 мкГн,
что для выбранного сердечника соответствует:
Индуктивность вторичной обмотки не может быть больше расчетных
ранее значений, поэтому мы вынуждены округлять полученную величины до меньших
целых значений. При этом изменяться индуктивности и коэффициент трансформации,
что приведет к росту максимального напряжения на ключе:
Теперь уточним максимальное значение тока первичной стороны, временные
интервалы в номинальном режиме и среднеквадратичные значения токов (это нам
понадобится для расчета потерь и выбора компонентов).
Максимальный ток первичной стороны:
Номинальный ток первичной стороны:
Время открытого состояния ключа в номинальном режиме:
Среднеквадратичное значение тока первичной стороны:
где
Ток вторичной стороны:
Время обратного хода:
Среднеквадратичное значение тока вторичной стороны:
где
Для расчета потерь на вихревые токи нам также понадобятся
значения постоянной и переменной составляющих вторичного тока:
Питание контроллера должно быть в диапазоне 11,5÷16 В. При этом выбор оптимального напряжения весьма непрост - при
низком его уровне контроллер может выключаться при отсутствии нагрузки на
выходе преобразователя, а при высоком его уровне могут возникнуть проблемы с
корректной отработкой режимов перегрузки и короткого замыкания. В данном случае
можно остановиться на напряжении питания ШИМ - контроллера в 13В, что потребует
следующего количества витков:
Поскольку количество витков не целое, надо выбрать или 11 витков,
или 12 витков. В первом случае напряжение питания контроллера будет 12,6 В, во
втором - 13,8 В. Остановимся на 12 витках обмотки питания контроллера,
поскольку в первом случае слишком мал запас до максимально возможного
напряжения отключения контроллера.
Теперь перейдем к конструированию трансформатора. В сетевых
источниках питания всегда кладут сначала первичную обмотку, и этому есть несколько
причин. Первичная обмотка чаще всего мотается гораздо более тонким проводом чем
вторичная, поэтому потери в ней от протекания переменного тока (эффект
близости) чаще всего можно считать пренебрежимо низкими. В ферритовом
сердечнике с зазором в центральном керне в зазоре сконцентрировано мощное
магнитное поле, вызывающее в близлежащих витках вихревые токи. Соответственно,
когда ближе всего к зазору располагается тонкая обмотка, вред от этого эффекта
минимален. Кроме того, в этом случае получаем существенный выигрыш от резкого
снижения потерь в пассивном слое. Поскольку обмотки обратноходового
трансформатора работают поочередно, т.е. не бывает случая, когда ток протекает
одновременно и через первичную и вторичную обмотку, все магнитное поле
сконцентрировано или внутри первичной обмотки (на прямом ходу), или внутри
вторичной обмотки - в этом случае в поле попадает и первичная обмотка.
Соответственно, как пассивный слой работает только первичная обмотка, и за счет
малой ее толщины дополнительные потери в ней практически отсутствуют. Следующая
причина расположения первичной обмотки внутри - требования электробезопасности
- мы вынуждены обеспечить минимальные пути утечки между цепями, связанными с
сетью, и сердечником трансформатора в 6 мм. Если
первичная обмотка располагается сверху, гораздо сложнее обеспечить ее надежную
изоляцию от сердечника в соответствии со стандартом.
Обмотка питания ШИМ - контроллера (Т1-2 на схеме) обычно
располагается над первичной обмоткой - это в высшей степени разумный компромисс
между требованиями безопасности и наилучшей магнитной связью с выходной
обмоткой. Последнее требование очень существенно для обеспечения стабильного
напряжения питания контроллера и корректной отработки режима перегрузки и
короткого замыкания. Итак, обмотки располагаются в следующей
последовательности: первичная обмотка (Т1-1), обмотка питания контроллера
(Т1-2), вторичная обмотка (Т1-3).
Для обеспечения минимально допустимого пути утечки в 6 мм в соответствии с отечественным стандартом электробезопасности,
будем использовать трехмиллиметровые бандажи с каждой стороны окна каркаса. На
выводы всех обмоток необходимо надеть изоляционные трубочки - непосредственно
от последнего витка обмотки до вывода трансформатора.
Рис. 2. Схематичный разрез трансформатора
Теперь приступим к расчету обмоток и потерь в них. Очень
важно мотать первичную обмотку трансформатора сетевого источника питания в один
слой. Это связано с очень сильным влиянием межобмоточной / межвитковой емкости
на эффективность преобразователя в целом, поскольку в любом случае паразитная
емкость перезаряжается через силовой ключ на большое напряжение. Кроме того,
повышенная паразитная емкость трансформатора будет вызывать большой импульсный
ток при открывании силового ключа, вызывающий неприятные электромагнитные
помехи.
Межобмоточную изоляцию будем вести полиэстерной пленкой 3М
1350F-1
толщиной 0,0254 мм. В соответствии со стандартом мы должны проложить не менее
двух слоев такой пленки между первичной и вторичной сторонами. Между первичной
обмоткой и обмоткой питания контроллера достаточно и одного слоя.
Первичная обмотка.
Свободное пространство на каркасе составляет:
Диаметр провода с изоляцией:
Cоответствующий провод (с небольшим запасом на неплотную укладку)
ПЭТВ - 0,19 с удельным сопротивлением 0,635 Ом/м.
Теперь посчитаем среднюю длину витка, исходя из геометрических
размеров каркаса. Для нашего каркаса длина витка первого слоя будет равна 38
мм. Соответственно, сопротивление обмотки будет:
Потери в ней при 25 °С будут:
Потери в ней при 100 °С будут:
Обмотка питания контроллера.
Сопротивление обмотки не важно, поэтому мотаем тем же самым
проводом, что и первичную обмотку, распределяя 12 витков равномерно по каркасу.
Рис. 3. Зависимость отношения сопротивления проводника переменному
току заданной частоты к сопротивлению постоянному току от параметра Q
Вторичная обмотка.
Здесь необходимо сделать небольшое отступление и привести
некоторые данные по определению сопротивления обмоток переменному току с учетом
эффекта близости - при небольших напряжениях толщина провода становится
достаточно большой, и мы уже не можем пренебрегать потерями на вихревые токи.
Итак, известна глубина проникновения высокочастотного тока в
проводник:
Введем параметр Q - отношение эффективной
толщины слоя к глубине проникновения. Эффективная толщина слоя для плотно
уложенных круглых проводников равна 0,83 от диаметра провода, т.е. после этого
по графику на рис. 12 находим отношение сопротивления проводника переменному
току заданной частоты к сопротивлению постоянному току RAC/RDC. Потери в проводнике будут складываться из произведений квадрата
постоянной составляющей тока I2пост на сопротивление проводника постоянному
току R2пост, и квадрата переменной составляющей тока I2перем на сопротивление R2перем. Произведем расчет для двух слоев. Длина
витка при этом будет около 39
мм. В каждом слое мы не можем
положить нецелое количество витков, поэтому будем считать, что в каждом слое
будет располагаться по 4 витка. Итак, суммарная толщина провода будет
Вычислим сопротивления для 10 проводов
диаметром 0,51 мм (0,58 мм с изоляцией) и меньшего количества проводов большего
диаметра:
|
Провод
|
R2пост
|
P2пост
|
R2перем /R2пост
|
R2перем
|
P2перем
|
Р∑
|
|
10 х 0,51
|
2,2 мОм
|
1,7
|
3,7 мОм
|
0,18 Вт
|
0,25 Вт
|
|
8 х 0,64
|
1,7 мОм
|
0,05 Вт
|
2
|
3,4 мОм
|
0,16 Вт
|
0,21 Вт
|
|
6 х 0,86
|
1,3 мОм
|
0,04 Вт
|
3,3
|
4,3 мОм
|
0,21 Вт
|
0,25 Вт
|
|
4 х 1,35
|
0,8 мОм
|
0,025 Вт
|
6,5
|
5,2 мОм
|
0,25 Вт
|
0,275 Вт
|
Видно, что оптимально выполнить вторичную обмотку в 8 проводов
0,64 мм (0,72 мм с изоляцией). Потери
во вторичной обмотке составят 0,21 Вт при температуре 25°С и 0,27 Вт при 100°С.
Общие потери в трансформаторе
|
Место потерь
|
Потери при +25 °С
|
Потери при +100 °С
|
|
Сердечник
|
0,66 Вт
|
0,26 Вт
|
|
Первичная обмотка
|
0,98 Вт
|
1,27 Вт
|
|
Вторичная обмотка
|
0,21 Вт
|
0,27 Вт
|
|
Всего
|
1,85 Вт
|
1,8 Вт
|
Считается, что чередование обмоток является благом в плане
резкого снижения индуктивности рассеяния трансформатора. Но надо помнить, что
это одновременно приводит к росту паразитной межобмоточной емкости, и
неизвестно, что перевесит - выигрыш от меньших потерь на демпфирующей цепи, или
повышенные потери в ключе от перезаряда паразитной емкости. Повышенная
паразитная емкость между первичной и вторичной стороной приведет также к
проблемам с подавлением электромагнитных помех - паразитный ток, циркулирующий
в высокодобротном контуре (емкость трансформатора - помехоподавляющий
конденсатор - индуктивность рассеяния - индуктивность монтажа) будет приводить
к высокочастотному дребезгу, легко проникающему к потребителю. Кроме того, в
сетевых источниках возникнут дополнительные проблемы с обеспечением зазоров в
соответствии с требованиями электробезопасности.
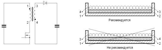
Рис. 4. Иллюстрация правила взаимного расположения обмоток
Надо помнить о правильном взаимном расположении обмоток в
плане минимизации паразитной межобмоточной емкости. Данное положение
иллюстрирует рис. 4. Потенциал точек 1 и 4 постоянный, а потенциал точек 2 и 3
переменный и синфазный. Поэтому в варианте на верхнем рисунке влияние
межобмоточной емкости значительно ниже, чем в варианте на нижнем рисунке -
части обмоток с постоянным потенциалом расположены одна над другой, так же как
и части с синфазно изменяющимся потенциалом и паразитные емкости перезаряжаются
на гораздо меньшую величину.
Силовой ключ обратноходового преобразователя должен обладать
двумя основными свойствами - иметь низкое сопротивление в открытом состоянии и
низкий суммарный заряд переключения, причем на практике оба эти требования
противоречат друг другу. Точно рассчитать скорость переключения полевого
транзистора здесь весьма и весьма сложно, и приходится довольствоваться лишь
приблизительной оценкой. Минимальное требование - способность пропускать
максимальный импульсный ток. В худшем режиме первичный ток может достигать 1,84 А, и будем выбирать из
400-вольтовых транзисторов.
Выбираем транзистор КП751А, являющийся аналогом IRF720.
Статические потери рассчитать просто - это произведение
сопротивления открытого канала на квадрат среднеквадратичного первичного тока:
Необходимо помнить, что при повышении температуры сопротивление
полевого транзистора резко возрастает, и при 120 °С увеличивается
вдвое.
Теперь попробуем оценить динамические потери - для этого нам надо
знать скорость выключения транзистора:
Суммарные потери будут равны:
Теперь можно посчитать ток, потребляемый схемой управления для
переключения силового транзистора.
Включается транзистор когда напряжение на его стоке примерно равно
входному напряжению (в нашем случае 162,6 В). При этом суммарный заряд его переключения
составит 20 нКл. Выключается транзистор при нулевом напряжении (из-за влияния
паразитной емкости трансформатора и самого транзистора), и здесь нам важен лишь
заряд переключения затвора - 3,3 нКл.
Ток на включение транзистора составит:
Ток на выключение транзистора составит:
Суммарный ток, потребляемый схемой управления составит 0,49 мА.
Элементы
в цепи управления силовым ключом (R9, D3)
Смысл этой цепочки - замедлить включение силового
транзистора, оставив максимально возможную скорость его выключения - или даже
увеличить ее. Мы ограничиваем ток заряда затвора резистором R9 и быстро разряжаем
емкость затвора через диод D3. Диод D3 может быть любым быстродействующим, никаких особых
требований к нему не предъявляется - широко распространенный КД521А вполне
подойдет. Выбор резистора R9 более сложен. С одной стороны желательно максимально
уменьшить скорость открывания силового ключа для снижения помех от быстрого
разряда паразитной емкости трансформатора, а с другой - не допустить
катастрофического возрастания динамических потерь в режиме короткого замыкания,
когда блок неизбежно переходит в режим безразрывных токов.
Для оценки номинала резистора R9 время заряда паразитной
емкости трансформатора можно выбрать таким, что бы бросок тока составлял десятую
часть от номинального. Грубо оценив паразитную емкость трансформатора в
50 пФ, получим:
Посчитаем ток затвора, соответствующий такому времени открывания
транзистора, исходя из общей энергии его переключения:

гальванический индуктивность оптрон трансформатор
На практике это значение может быть несколько ниже, но надо
учитывать, что больший бросок тока при включении силового транзистора заставит
выбрать цепочку R10, C7 с большей постоянной времени, и увеличится длительность
минимально возможного импульса. Это приведет к резкому росту тока короткого
замыкания. Но слишком большое значение R9 приведет к резкому увеличению динамических потерь при открывании
ключа, и опять же к большому перегреву силового транзистора при коротком
замыкании на выходе. То есть можно сказать, что оптимальное значение R9 будет лежать в диапазоне от нескольких десятков до
полутора сотен Ом. В нашем случае остановимся на величине, близкой к расчетной
и выбранной по ряду Е12: 27 Ом.