|
Марка крана
|
ККЛ-32
|
|
Грузоподъемность
крана, кН
|
320
|
|
Пролет крана
(расстояние между головками рель-
|
|
|
сов кранового
пути), м
|
32
|
|
Вылет консолей,
м
|
12,5
|
|
Максимальная
высота подъема груза (от головки
|
|
|
рельса), м
|
12,2
|
|
База ходовой
части крана (расстояние между опо-
|
|
|
рами ходовых
тележек), м
|
14.0
|
|
Скорости, м/с:
|
|
|
подъема и
опускания груза
|
0.22
|
|
передвижения
грузовой тележки
|
1.0
|
|
передвижения
крана
|
1,0
|
|
Мощности
электродвигателей механизмов крана, кВт;
|
|
|
подъема и
опускания груза
|
2x37
|
|
передвижения
грузовой тележки
|
2х 16
|
|
передвижения
крана
|
4x20
|
|
Масса крана
(пролет 40м)
|
125,5
|
В нашем случае предусмотрено создание штабелей в пролете
крана. Под одной консолью производится выгрузка древесины с лесовозного
транспорта, а под другой находится приемный стол раскряжевочной линии ЛО-68.
Доочистка хлыстов от сучьев.
Доочистка хлыстов от сучьев производится с помощью
электропилы Stihl MSE 180C-BQ. Мощность электропилы составляет 1,8кВт. Масса 4,2кг. Длина
пильной шины 40см. Данная пила работает от электросети общего питания
напряжением 220В и частотой 50Гц, что не требует установки дополнительного
оборудования. Также эта пила является современной и снабжена новейшими
системами защиты от шума и вибрации. Также в ней присутствует специальное
устройство быстрого натяжения пильной цепи. В данной электропиле используется
оригинальная пильная цепь фирмы Stihl. Доочистка производится на приемном столе
раскряжевочной установки ЛО-68, который снабжен разобщителем пачки хлыстов.
Раскряжевка хлыстов на сортименты.
Роль приемного стола в раскряжевочной установке ЛО-68
выполняет выгрузочно-растаскивающая установка ЛТ-10 с приводом от лебедок. Такая
установка состоит из двух челночных захватов двух тяговых органов, двух
однобарабанных приводных лебедок и аппаратуры управления с дистанционным
пультом. Челночные захваты служат для выгрузки пачки хлыстов или деревьев
стаскиванием, ее разделения па части и перемещения их по эстакаде в зону
обработки (обрезки сучьев и раскряжевки). Для чего на каждом челночном захвате
имеется утапливаемый упор и крюк. Тяговый орган предназначен для реверсивного
перемещения челночного захвата по эстакаде и представляет собой канатно-блочную
систем, состоящую из тягового каната двух направляющих блоков и
натяжного устройства для придания тяговому канату монтажного натяжения. Лебедка
- однобарабанная, реверсивная и служит для привода в действие установки.
Тяговое усилие лебедки 5 т. Концы ветвей и тягового каната, навитого тремя
витками на барабан лебедки, проходят через направляющие блоки и присоединены к
челночному захвату. Верхние горизонтальные участки тяговых канатов и челночные
захваты располагаются на поверхности эстакады на расстоянии 8-10м друг от
друга, а приводные лебедки и нижние ветви тяговых канатов - под эстакадой.
Технология выгрузки древесины с подвижного состава следующая.
Разгружаемая единица подвижного состава устанавливается напротив эстакады, и
рабочие откидывают стойки со стороны эстакады. Затем челночные захваты подаются
к месту выгрузки, рабочие охватывают пачку стропами и петли, имеющиеся
на концах строп, надевают на крюки захватов. Включенные лебедки на рабочий ход
перемещают челночные захваты в обратном направлении по стрелке на схеме, и
происходит стаскивание пачки с коников на эстакаду. По окончании разгрузки
стропы отсоединяют от захватов и убирают порожний подвижной состав.
Полуавтоматическая раскряжевочная
установка ЛО-68 предназначена для раскряжевки крупномерных
хлыстов с объемом более 0,5м3.
Установка ЛО-68 (рис.2.2) состоит из
подающего транспортера 3, двухстрелового гидроманипулятора 2, пильного
механизма 13, приемного стола 8 с системой отмера длин 7 и
сбрасывателями 9, 10 отпиленных бревен, гидросистемы и скребкового
транспортера 5 для уборки отходов от пильного механизма.
Подающий транспортер 3 - двухцепной,
двухскоростной, длиной примерно в 1,3 раза превышающей наибольшую длину
распиливаемых хлыстов (обычно 30м) и состоит из тягового органа, натяжного и
приводного устройств и основания. Цепи стальные, сборно-разборные, движутся
синхронно и соединены между собой грузонесущими устройствами (траверсами).
Натяжное устройство винтовое и предназначено для придания тяговому органу
необходимого монтажного натяжения. Приводное устройство состоит из
двухскоростного электродвигателя, редуктора, приводного туера и
электромагнитного тормоза. Подача хлыста в обработку производится на основной
скорости (1,8 м/с) с последующим переключением в конце подачи на замедленную
скорость с целью уменьшения инерционных усилий и облегчения остановки подающего
транспортера электромагнитным тормозом в нужный момент. Для центрирования и
прижима хлыста впереди подающего транспортера установлен специальный роликовый
механизм 4, приводимый в действие гидроцилиндром.
Рис. 2.2 Полуавтоматическая раскряжевочная установка ЛО-68:
- приемная площадка; 2 - двухстреловой гидроманипулятор; 3 -
подающий транспортер; 4 - механизм центрирования и прижима хлыста; 5 -
скребковый транспортер; 6 - кабина оператора; 7 - система отмера длин; 8 -
приемный стол; 9, 10 - сбрасыватели отпиленных бревен; 11, 12 - сортировочные
транспортеры; 13 - пильный механизм;
Двухстреловой
гидроманипулятор ЛО-13С 2 состоит из двух одностреловых гидроманипуляторов, включающих
стрелу, рукоять с клещевым захватом на свободном конце, основание и
гидросистему. Оба гидроманипулятора имеют одинаковую конструкцию, управляются
оператором из кабины и предназначены для разбора пачки и подачи хлыстов на
подающий транспортер установки. Гидросистема состоит из гидронасоса,
трубопроводов, золотникового распределителя и гидроцилиндров и предназначена
для привода в действие узлов гидроманипулятора.
Пильный механизм 13 - штанго-маятникового
типа, круглопильный, двупильный. Круглые пилы диаметром 1500мм приводятся во
вращение от отдельных электродвигателей и удерживаеются на пильном валу
зажимными шайбами. Надвигание пил на хлыст и подъем в исходное положение
производится гидроцилиндром. Скорость надвигания пил переменная, так как усилие
подачи постоянное, благодаря чему скорость подачи самоустанавливается в
зависимости от высоты пропила и твердости древесины. Подъем пил осуществляется
с большей скоростью, чем опускание.
Приемный стол 8 предназначен для
размещения на нем отпиливаемой части хлыста. На столе смонтированы система
отмера длин выпиливаемых сортиментов и сбрасыватели 9, 10 отпиленных
сортиментов на правую и левую сторону. Для отмера длин выпиливаемых сортиментов
применена система с выдвижными упорами 7, снабженными механизмом
погашения удара торца хлыста об упор.
Приемный стол состоит из десяти выдвижных
упоров и упора для откомлевки хлыстов, двух составных валов с жестко
посаженными на них правыми и левыми сбрасывателями, двух откидных бортов,
механизма подъема упоров в рабочее положение, механизма гашения удара торца
хлыста об упор и рамы, на которой смонтированы все узлы. Сбрасыватели рычажные,
жестко соединены с откидными бортами и приводятся в действие двумя
гидроцилиндрами. В конечной части приемного стола имеется пять окон под упоры
для выпиловки длинномерных сортиментов, а сбрасыватели и откидные борта
отсутствуют.
Механизм подъема упоров рычажный и состоит из
шины с роликами зацепления, рычажной системы с электромагнитами и гидроцилиндра
для перемещения шины. Подъем каждого упора производится двумя рычагами, которые
приводятся в действие тянущим электромагнитом.
Механизм гашения удара торца хлыста об упор
выполнен в виде демпфера со стальной пружиной, установленного впереди упора. После
остановки хлыста под действием демпфера и пружины торец хлыста, и вся система
управления упором возвращаются в исходное положение, благодаря чему
обеспечивается точность длин выпиливаемых сортиментов. После этого подается
команда на опускание упора, и система готова к приему заказа длины следующего
сортимента.
Гидросистема общая на пильный механизм
и приемный стол, состоит из гидронасоса, трубопроводов, золотникового
распределителя и гидроцилиндров.
Скребковый транспортер 5 одноцепной и служит для
удаления опилок и других мелких отходов от пильного механизма в бункер или
контейнер для отходов.
Конструкция установки ЛО-68 такова, что
возможен ее перемонтаж с правого на левое исполнение на месте установки.
Расчетная производительность установки
составляет 30-40 м3/ч.
Сортировка сортиментов.
Продольный сортировочный лесотранспортер состоит из
тягового органа, приводного и натяжного устройств, эстакады с
лесонакопителями. Для автоматизации процесса сортировки продольные
лесотранспортеры оборудуются бревносбрасывателями и командными аппаратами,
обеспечивающими автоматическое управление работой бревносбрасывателей.
Тяговый орган приводит в движение
перемещаемый груз. В процессе работы он огибает концевые колеса, поэтому должен
быть достаточно гибким, прочным, иметь малый вес и быть удобным для
прикрепления к нему рабочего органа. Всем этим требования в той или иной мере
отвечают цепи, ленты и проволочные канаты. Наибольшее распространение имеют
цепи. Они более гибки, чем канаты и ленты, более прочны и удобны для
прикрепления к ним грузонесущих поперечин, называемые траверсами. К
недостаткам их относят сравнительно большой вес и неравномерность движения, что
вызывает динамические нагрузки и ограничивает возможность применения больших
скоростей.
В лесотранспортере ЛТ-86 для перемещения
лесоматериалов применяют тяговые разборные цепи.
Рис. 2.3 Продольный сортировочный лесотранспортер:
- внутреннее звено; 2 - наружные звенья; 3 - валик; 4 -
головка; 5 - прорези;
Тяговые разборные цепи (рис. 2.3) состоят из
фасонных внутренних 1 и наружных 2 звеньев, шарнирно соединенных
между собой специальными осями (валиками 3) с упорами по концам
(удлиненными головками 4). Формы головок валиков и продольные
прорези 5 на наружных звеньях обеспечивают быструю сборку и разборку
цепи. Разборные цепи прочнее, легче и надежнее в эксплуатации, чем
длиннозвенные сварные цепи из круглой стали, и они находят широкое применение
на автоматизированной сортировке.
Траверсы (рис. 2.4, а, б) служат
для размещения на них транспортируемых лесоматериалов и выполняются из стали.
Они крепятся на цепи на равных расстояниях друг от друга так, чтобы самое
короткое бревно располагалось не менее чем на двух траверсах. Конструкция
траверс должна быть такой, чтобы сортименты на них надежно фиксировались, были
ориентированы относительно продольной оси транспортера, создавали, как можно,
меньшее сопротивление движению и обеспечивали удобство сброски лесоматериалов.
У сортировочных лесотранспортеров траверсы
гладкие (при ручной сброске) или имеют седлообразное ребро (рис.2.4, а).
Для лесотранспортеров, расположенных наклонно, применяют траверсы с шипами
(рис.2.4, б).
а)
б)
Рис. 2.4 Траверсы: а - траверса на ползушках; б - траверса на
катках; 1 - седлообразное ребро; 2 - зажимная скоба
Приводное устройство предназначено для привода
в движение тягового органа транспортера и состоит из электродвигателя,
редуктора и ведущей звездочки (для цепей) или канатоведущего шкива. Приводное
устройство устанавливается на бетонном основании в конце груженой ветви
транспортера.
Ведущие колеса для цепей называются звездочками.
Цепь, огибая такую звездочку, образует многоугольник, сторонами которого служат
звенья цепи.
Звездочки для шарнирной цепи изготавливают
с зубьями и без них. Звездочки без зубьев представляют собой многогранные
колеса (рис.3.5). Число граней у них 5…6. При меньшем числе граней возрастает
неравномерность движения цепи, а при увеличении этого числа цепь проскальзывает
по звездочке.
Рис. 2.5 Ведущая звездочка для шарнирной цепи
Натяжное устройство предназначено для
придания тяговому органу монтажного натяжения, которое необходимо для плавного
хода тягового органа, создания необходимой силы трения между тяговым органом и
ведущим шкивом в канатных лесотранспортерах и устранения слишком большого
провисания тягового органа между опорами. Монтажное натяжение тягового органа
достигается путем увеличения межосевого расстояния между ведущей и направляющей
(ведомой) звездочками (шкивами).
Натажное устройство в данном
лесотранспортере винтовое (рис. 2.6).
Рис. 2.6 Винтовое натяжное устройство
- винт; 2 - ползун; 3 - направляющее устройство; 4 -
направляющая звездочка;
Эстакада продольного транспортера
является его опорой и связывает все его части. На одном конце эстакады на
фундамент устанавливают приводную, а в другом натяжную станцию. В зависимости
от назначения лесотранспортеры могут иметь высокую, среднюю и низкую эстакаду.
Первая из них находит применение при подаче лесоматериалов на второй этаж
лесоперерабатывающих цехов, а иногда при выгрузке лесоматериалов из воды.
Высота таких эстакад может достигать 5…6 м. Средние по высоте эстакады
применяют для сортировочных лесотранспортеров, когда лесоматериалы штабелюют и
грузят кранами. Высота эстакады в этом случае 2…2,5 м. Низкие эстакады
применяют в складских цеховых лесотранспортерах, предназначенных для подачи
лесоматериалов в лесоперерабатывающие цехи и установки. Высота их не превышает
1…1,5 м. В нашем случае применяется средняя по высоте эстакада.
В зависимости от материала, из которого
изготовляются эстакады лесотранспортеров, они могут быть деревянными,
железобетонными и металлическими. Эстакады монтируются на опорах или деревянных
стойках с железобетонным фундаментным основанием (рис.2.7). На опоры (сваи)
укладывают прогоны из бревен или брусьев, а на прогоны - поперечные балки и
продольные опоры для поперечин траверс. Эстакада с одной стороны имеет консоли,
на которых делается настил для прохода рабочих, а со стороны сброски
сортиментов располагаются лесонакопители. Перспективными считаются эстакады,
смонтированные на блочных бесфундаментных секциях заводского изготовления
(рис.2.7, б), что позволяет значительно снизить капитальные затраты на
строительство эстакады и сократить сроки строительства.
Рис. 2.7 Эстакады и накопители лесотранспортеров:
а - эстакада на железобетонных опорах: 1, 2 - стойки
лесонакопителя; 3, 4 - верхние и нижние направляющие брусья для траверс
тягового органа; 5 - настил для прохода рабочих; 6 - опора; б - эстакада на
блочном бесфундаментном основании: 1 - рамная опора; 2 - пролетное строение; 3,
4 - нижние и верхние направляющие брусья для траверс тягового органа; 5 -
настил для прохода рабочих; 6 - бетонный или деревянный брус (шпала)
Лесонакопители представляют собой
устройства для накопления круглых лесоматериалов. Лесонакопители размещаются
вдоль эстакады продольных лесотранспортеров по одну или обе стороны, в которые
сбрасываются с транспортера рассортированные бревна (рис.2.7, а). При
расположении лесонакопителей с двух сторон требуется почти вдвое меньшая длина
сортировочного лесотранспортера. В этом случае необходимы бревносбрасыватели,
позволяющие производить сброску бревен на обе стороны транспортера.
Лесонакопители могут быть деревянными или
металлическими. Состоят из двух опор, каждую из которых собирают из двух
вертикальных стоек или свай, двух наклонных подкосов, один из которых выполняет
роль поката, и соединительного лежня. Между опорами укладывают подкладочные
бревна, а внутреннюю поверхность опор обшивают стальной полосой.
Вместимость лесонакопителя должна быть
примерно равна грузоподъемности штабелевочно-погрузочного механизма.
Конструкция лесонакопителей должна быть такой, чтобы их полная загрузка была
возможна без применения ручного труда на исправление перекосов бревен,
выравнивание их торцов и поперечную перекатку. Лесонакопители могут иметь
следующие размеры: ширина 2,3…2,5 м, длина - по длине сортимента. Между
накопителями должны быть разрывы по 1,5…2,0 м.
Разгрузочное устройство сортировочного
продольного лесотранспортера ЛТ-86 (ЛТ-86А) (рис. 2.8) имеет седловидную
опору, состоящую из подвижной 11 и неподвижной частей 10.
Подвижная часть 11 удерживается в рабочем положении поворотной защелкой 8,
имеющей хвостовик 13. При подходе лесоматериала к месту его разгрузки на
хвостовики 13 защелок с помощью электромагнита 7 воздействует
продольная тяга 12, длина которой зависит от длины сбрасываемых бревен.
Вследствие этого защелка 8 поворачивается освобождая подвижную часть 11
седловины, которая под действием силы тяжести бревна отклоняется в сторону
разгрузки и по ней бревно скатывается с лесотранспортера. Отклоненные подвижные
части седловин возвращаются в рабочее положение и входят в зацепление с
защелкой 8, на хвостовик 13 которой воздействует пружина 14,
с помощью направляющих уголков, установленных у натяжной станции.
Рис. 2.8 Гравитационное разгрузочное устройство
лесотранспортера
ЛТ-86: 1 - поперечина; 6 - цепь; 7 - электромагнит; 8 -
защелка; 10 - неподвижная часть опоры; 11 - подвижная часть опоры; 12 -
продольная тяга; 13 - хвостовик; 14 - пружина
Для работы гравитационных
бревносбрасывателей не требуется привод (для сброски используется
потенциальная энергия бревна); короткое время сброски, благодаря чему
уменьшается разброс торцов бревен; можно подавать бревна на транспортер с
минимальными разрывами между торцами и повышается производительность
транспортера; плавная безударная сброска бревен.
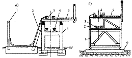
Штабелевка древесины и ее отгрузка в железнодорожные составы.
Башенный
кран-лесопогрузчик для штабелевки и отгрузки лесопродукции состоит из следующих
основных узлов (рис.2.9): портала 1, башни 2, стрелы 5,
противовеса 3, грузовой тележки 6, механизмов подъема и опускания
груза, передвижения грузовой тележки, вращения стрелы, системы питания крана
электроэнергией, системы управления крана и кабины 4 крановщика.
Рис. 2.9 Башенный кран-лесопогрузчик КБ-572А:
- портал; 2 - башня; 3, 9 - противовесы; 4 - кабина
крановщика; 5 - стрела; 6 - грузовая тележка; 7 - лебедка; 8 -
опорно-поворотное устройство; 9 - балласт; 10 - ходовая тележка
Портал 1 является основанием крана
и своими стойками опирается на четыре ходовые тележки 10 с балансирной
подвеской колес. Для придания лесопогрузчику устойчивости на портале по обе
стороны башни расположен балласт 9. Внутренние размеры портала таковы,
чтобы внутри него мог проходить груженый подвижной состав широкой колеи.
Башня 2 - неповоротная, установлена
на портал. На верху башни расположена поворотная головка с кабиной 4 крановщика.
На стыке между башней и поворотной головкой установлено опорно-поворотное
устройство 8 механизма вращения стрелы.
Стрела 5 - решетчатая и шарнирно
крепится к нижнему поясу поворотной головки, а с противоположной ее стороны -
консоль с противовесом 3. Стрела и противовесная консоль удерживаются в
горизонтальном (рабочем) положении растяжками, закрепленными на верху
поворотной головки. Вдоль нижнего пояса стрелы расположены балки для
перемещения грузовой тележки.
Грузовая тележка 6 двухходовая и
передвигается по стреле лебедкой 7, расположенной в основании стрелы.
Лебедка подъема и опускания груза установлена на противовесной консоли.
Механизмы передвижения
крана установлены
на ходовых тележках 10 крана и по конструкции аналогичны механизмам
передвижения консольно-козловых кранов.
На всех механизмах крана установлены
электромагнитные тормоза, которые включаются автоматически при отключении
электродвигателя механизма.
Питание электродвигателей
механизмов
крана производится по гибкому кабелю. Управление механиками крана осуществляется
из кабины крановщика. Кран оборудован устройствами, ограничивающими высоту
подъема груза, передвижения грузовой тележки по стреле и крана по крановому
пути. Кабина крановщика - неподвижная, расположена у основания
поворотной головки одновременно со стрелой.
Кран КБ-572А - самоходный, стреловой,
полноповоротный, с передвижной тележкой на стреле. Минимальный вылет грузового
крюка 4 м, максимальный - 35 м. Грузоподъемность крана на вылете от 4 до 25 м -
10 т, на вылете 25-35 м - 6,3 т. Высота подъема грузового крюка - 13,5
м. Скорость подъема груза - 20 м/мин, передвижения грузовой тележки - 25 м/мин,
передвижения крана - 30 м/мин. Общая установленная мощность электродвигателей -
66,3 кВт. Масса крана без противовеса и балласта - 54,4 т. Кран приспособлен
для работы с радиальным грейфером ЛТ-153А.
Радиальный грейфер с
гидроприводом (рис.2.10) состоит из несущей рамы, к которой шарнирно присоединены
челюсти 1; механизма размыкания и смыкания челюстей в виде
гидроцилиндров 2; тяг 4, синхронизирующих закрытие и открытие
челюстей; серьги 3 для подвешивания грейфера к грузоподъемному крюку
крана и тяг 5, соединяющих несущую раму грейфера с серьгой 3. Для
лучшего проникания в штабель и зачерпывания пачки грейфер может быть снабжен
вибратором, который представляет собой электродвигатель с неуравновешенным
грузом на валу.
Рис. 2.10 Радиальный грейфер с гидроприводом:
- челюсти; 2 - гидроцилиндр; 3 - серьга; 4 - синхронизирующая
тяга; 5 - соединительная тяга
Грейфер работает следующим образом. Кран
подается к штабелю лесоматериалов. Производится раскрытие челюстей и опускание
грейфера на пачку так, чтобы центр тяжести пачки находился в зоне захвата ее
грейфером. Затем челюсти смыкаются, пачка поднимается и перемещается краном к
месту ее укладки в запас или в обработку. Лучшее внедрение челюстей в штабель
достигается при использовании вибратора.
Грейфер ЛТ-153А - электрогидравлический,
поворотный, грузоподъемностью 8т. Максимальный объем захватываемой пачки при
длине сортиментов 6,5м равен 6,5м3. Время смыкания челюстей - 13с.
Масса грейфера - 2150кг. Грейфер можно использовать также на выгрузке круглых
лесоматериалов из вагонов широкой колеи.
3. Расчет
режима работы нижнего склада
Плановый запас использования рабочего времени характеризует
количество часов, которые должен отработать один рабочий в среднем в течение
планового периода.
При составлении данного баланса руководствуемся
производственным календарем для шестидневной рабочей недели, утвержденным на
год. Баланс использования рабочего времени одного рабочего за год представлен в
таблице 3.1.
Таблица 3.1
Баланс использования рабочего времени одного рабочего за год
|
Показатели
|
Ед. измерения
|
Значение
|
|
1. Календарный фонд
|
дни
|
365
|
|
2. Число
выходных дней
|
дни
|
52
|
|
3. Число
праздничных дней
|
дни
|
8
|
|
4. Номинальный
фонд рабочего времени
|
дни
|
305
|
|
5. Невыходы на
работу, всего в том числе: трудовые отпуска по болезни в других случаях
предусмотренных законом
|
дни дни дни дни
|
35 24 10 1
|
|
6. Эффективный
фонд рабочего времени
|
дни
|
270
|
|
7. Номинальная
продолжительность рабочего времени
|
час
|
7
|
|
8. Эффективный
фонд рабочего времени
|
час
|
1890
|
Количество дней трудового отпуска
подсчитывается в соответствии с продолжительностью отпусков работников согласно
Трудового кодекса.
Режим работы нижнего склада
характеризуется числом дней работы в году на вывозке и на технологических
потоках, годовым, суточным и сменным объёмом производства на вывозке и
нижнескладских работах по формуле 3.1:
, где 3.1
Qгод -
годовой объём поступления деревьев или хлыстов на нижний склад, м3;
Д - число дней работы в году или сезоне;
С - сменность работы.
Режим работы нижнего склада приведен в таблице 3.2.
Таблица 3.2
Режим работы нижнего склада
|
Операции
|
% от объёма
|
Годовой объём,
тыс. м3
|
Режим работы
|
Объём
производства, м3
|
|
|
|
рабочих дней
|
смен в сутки
|
суточный
|
сменный
|
|
Выгрузка
|
100
|
230
|
270
|
2
|
851,9
|
425,9
|
|
Зачистка от
сучьев
|
20
|
46
|
270
|
2
|
170,4
|
85,2
|
|
Раскряжёвка
|
100
|
230
|
270
|
2
|
851,9
|
425,9
|
|
Сортировка
|
100
|
230
|
270
|
2
|
851,9
|
425,9
|
|
Штабелевка
|
60
|
138
|
270
|
2
|
511,1
|
255,6
|
|
Погрузка
|
100
|
230
|
270
|
2
|
851,9
|
425,9
|
4. Баланс
перерабатываемого сырья
4.1
Распределение древесины по цехам и участкам
Распределение древесины по цехам и участкам приведено в
таблице 4.1
Таблица 4.1
Распределение древесины по цехам и участкам
|
|
|
Объём
поступающей древесины, м3
|
|
Сортимент
|
% выхода
|
Всего на нижний
склад
|
в том числе
|
|
|
|
|
на отгрузку в
круглом виде
|
в цех
углежжения
|
на собственные
нужды
|
|
1
|
2
|
3
|
4
|
5
|
6
|
|
1. пиловочник
дубовый
|
35
|
80500
|
80500
|
|
|
|
2. рудстоечное
долготье
|
22
|
50600
|
50600
|
|
|
|
3. балансовое
долготье
|
10
|
23000
|
|
|
|
4. фанерный
кряж
|
15
|
34500
|
34500
|
|
|
|
5. шпальный
кряж
|
8
|
18400
|
18400
|
|
|
|
6.
технологическое сырье
|
2
|
4600
|
4600
|
|
|
|
ИТОГО
деловой
|
92
|
211600
|
211600
|
|
|
|
1. дрова
|
8
|
18400
|
9895
|
7425
|
1080
|
|
ВСЕГО
|
100
|
230000
|
221495
|
7425
|
1080
|
4.2 Баланс
перерабатываемого сырья
Баланс перерабатываемого сырья показывает, какой объем
готовой продукции будет получен из исходного сырья, сколько и каких отходов образуется
на складе и приводится в таблице 4.2.
Таблица 4.2
Баланс перерабатываемого сырья
|
Наименование
сырья, поступающего в цех
|
Количество
сырья, м3
|
Готовая
продукция
|
Отходы
|
|
|
Наименование
|
Выход, %
|
Объём, м3
|
Наименова-ние
|
Выход, %
|
Объём, м3
|
|
Цех раскряжёвки
хлыстов
|
|
Хлысты
|
230000
|
Сортименты
|
95,5
|
219650
|
Кусковые отходы
|
|
6900
|
|
|
|
|
|
|
3
|
|
|
|
|
|
|
|
Опилки
|
0,5
|
1150
|
|
|
|
|
|
|
Вершинки
|
1
|
2300
|
|
Итого
|
4,5
|
10350
|
5. Расчет
потребной площади нижнего склада
5.1 Расчет
количества штабелей, сырья и готовой продукции
Хлысты и полученные сортименты будут укладываться в плотные
штабеля со столбами ограничителями высотой 3м.
Геометрический объем штабеля древесины определяем по формуле
5.1:
V = Lпр×H×l, где 5.1
Lпр - расчётная (приведенная
длина штабеля), м;
Н - высота штабеля, м;
L - средняя длина хлыста
или сортимента, м;
Для плотного со столбами ограничителями
штабеля Lпр находим по формуле 5.2:
Lпр = L - H+Н1, где 5.2
L - длина штабеля по
основанию, м;
Н1 - высота столба-ограничителя
Объём штабеля (м3) по количеству
уложенных в него хлыстов (сортиментов) определяем по формуле 5.3:
Qшт = V ×k, где 5.3
где k - коэффициент
полнодревесности.
Потребное количество штабелей сырья и
готовой продукции рассчитано в таблице 5.1.
Таблица 5.1. Потребное количество штабелей, сырья и готовой
продукции
|
Наименование
лесоматериалов, подлежащих хранению
|
Суточный объём
разделки
|
Число дней
хранения
|
Запас древесины
на складе, м3
|
Тип штабеля
|
Размеры и объём
штабеля
|
Число штабелей
|
Площадь под
штабелями, м2
|
|
|
|
|
|
длина по
основанию, м
|
расчётная
длина, м
|
ширина, м
|
высота, м
|
коэф.
полнодревесности
|
объём штабеля
|
по расчёту
|
принято
|
|
|
I. На резервных
площадках у эстакад
|
|
Хлысты
|
851,9
|
3
|
2555,7
|
|
30,0
|
23,0
|
26,0
|
10,0
|
0,3
|
1913,6
|
1,3
|
2,0
|
1560,0
|
|
II. На складе
готовой продукции
|
|
Пиловочник дубовый
|
298,2
|
20
|
5963,3
|
плотный
|
25,0
|
22,0
|
4,0
|
6,0
|
0,7
|
353,8
|
16,9
|
17,0
|
1700,0
|
|
Рудстоечное
долготье
|
187,4
|
20
|
3748,4
|
плотный
|
20,0
|
16,5
|
5,0
|
6,5
|
0,7
|
353,9
|
10,6
|
11,0
|
1100,0
|
|
Балансовое
долготье
|
85,2
|
20
|
1703,8
|
плотный
|
20,0
|
20,0
|
2,0
|
3,0
|
0,7
|
82,8
|
20,6
|
21,0
|
840,0
|
|
Фанерный кряж
|
127,8
|
20
|
2555,7
|
плотный
|
30,0
|
28,0
|
3,2
|
5,0
|
0,7
|
304,6
|
8,4
|
9,0
|
864,0
|
|
Шпальный кряж
|
68,2
|
20
|
1363,0
|
плотный
|
25,0
|
21,5
|
5,5
|
6,5
|
0,7
|
499,6
|
2,7
|
3,0
|
412,5
|
|
Технологическое
сырье
|
17,0
|
20
|
340,8
|
плотный
|
25,0
|
25,0
|
2,0
|
3,0
|
0,7
|
103,5
|
3,3
|
4,0
|
200,0
|
|
Дровяная древесина
|
68,2
|
20
|
1363,0
|
плотный
|
30,0
|
30,0
|
2,0
|
3,0
|
0,7
|
124,2
|
11,0
|
11,0
|
660,0
|
|
Итого
|
851,9
|
|
17038,0
|
|
|
|
|
|
|
|
|
|
5776,5
|
5.2 Расчёт
площади нижнего склада
Площадь склада определяют исходя из учёта
следующих обязательных разрывов и противопожарных проездов:
а) интервал между двумя соседними
штабелями 0,25 х Н, но не менее 1 м;
б) пожарные проезды к крайним штабелям по
границе склада - 10 м;
в) разрывы через каждые 150 м фронта
штабелей 10 м для проезда противопожарной техники;
г) разрыв от границы склада до производственных
помещений не менее 30 м, до жилых помещений 100 м.
Площадь нижнего склада, занимаемая
непосредственно под складирование лесоматериалов, называется площадью нетто fнетто и определяется по формуле
5.4:
fнетто= n × L × l, где 5.4
где
n - число штабелей;
L - длина штабеля по
основанию, м;
l - ширина штабеля, м.
Полная площадь склада Fнетто, занимаемая штабелями
круглых лесоматериалов, будет равна сумме площади нетто fиетто, занимаемой отдельными
лесоматериалами и определяется по формуле 5.5:
Fнетто = Σfнетто 5.5
Fнетто =5776,5м2
(гр.14 таб.5.1)
Общая площадь нижнего склада с учётом
противопожарных разрывов, размещения складских путей и производственных зданий
и сооружений называется площадью брутто Fбрутто и определяется по
формуле 5.6:
где 5.6
где Кпл - коэффициент использования площади нижнего
склада, 0,5.
5.3 Расчёт
фронта сортировки
Длина фронта сортировки определяется по
формуле 5.7:
Lт = ln
+ (l1 + 2) × n + (l2
+ 2) × n +. + (lm + 2) × n
+ lk, где 5.7
где 1n - приёмная часть
лесотранспортёра, (принимаем 25м); l1, l2, l3…lm - длины заготавливаемых сортиментов, м;2 -
расстояние между лесонакопителями, м; lk - свободная часть от
лесотранспортёра, (принимаем 6м); n - количество намечаемых лесонакопителей на
конкретный вид сортимента, шт.
Lт = 25 + (4,0 + 2) × 5 + (5,0 + 2) × 4 + (2,0 + 2) × 3 + (3,2 + 2) × 2 + (5,5 + 2) × 1+ (2,0 + 2) × 1 + (2,0 + 2) × 2 + 6 = 130,9м
|
996
|
1103584
|
1104758
|
1106110
|
1103196
|
1105941
|
|
996
|
1103584
|
1104758
|
1106110
|
1103196
|
1105941
|
|
996
|
1103584
|
1104758
|
1106110
|
1103196
|
1105941
|
6.
Расчет сменной производительности основного оборудования
6.1 Расчет
производительности крана на выгрузке
Производительность консольно-козлового крана ККЛ-32 на
выгрузке хлыстов и деревьев с укладкой в запас или подачей в обработку высокая
и для нашего случая определяется по формуле 6.1:
м3/смену 6.1
где T - продолжительность
смены, (принимаем 25200с); tп-з - время на выполнение
подготовительно-заключительных операций, (принимаем 1800с); φ1 - коэффициент использования рабочего времени (принимаем 0,8); φ2 - коэффициент учитывающий использование грузоподъемности
механизма (принимаем 0,65); Vn - средний объем выгружаемой пачки, (принимаем 25м3);
kc - коэффициент совмещения
операций передвижения грузовой тележки с передвижением крана (принимаем 1,1); h - высота подъема груза,
(принимаем 12м); l1 и l2 - соответственно средние расстояния перемещения грузовой тележки
и крана, (принимаем соответственно 57м и 60м); vгр, vтел, vкр - соответственно
скорости подъема груза, перемещения грузовой тележки и перемещения крана,
(принимаем соответственно 0,25, 1,0, 1,0м/с); t1 - время на захват груза, с;
t2 - время на отцепку
груза, с; (принимаем t1+ t2=180с).
Производим расчеты:
м3/смену
6.2 Расчет
производительности раскряжевочной установки ЛО-68
Производительность раскряжевочной установки находим по
формуле 6.2:
м3/смену 6.2
где T - продолжительность смены,
(принимаем 7ч);
φ1 - коэффициент
использования рабочего времени, (принимаем 0,8);
Vхл - средний объем
разделываемого хлыста, (принимаем 1,0м3);
lхл - средняя длина хлыста,
(принимаем 26м);
v - скорость подачи
хлыста, (принимаем 1,8м/с);
n - ср. число резов на 1
хлыст, (находим - 6,54);
шт.
где lхл - длина хлыста, м;
l0 - длина
остатка, (принимаем 1м);
lср - длина
сортимента.
.
где lсор - длина сортимента, м;
Pсор -
процентное содержание сортимента от общего объема.
t1 - время выбора длины
сортиментов, (принимаем 1с);
t2 - время подачи хлыста,
(принимаем 2с);
t3 - время пиления, (принимаем
2с);
t4 - время сброса
сортимента, (принимаем 1,5с);
t4 - время на откомлевку,
(принимаем 3с).
Рассчитываем производительность
раскряжевочной установки:
м3/смену
6.3 Расчет
производительности сортировочного продольного транспортера
Производительность продольного лесотранспортера сравнительно
высокая, так как он является механизмом непрерывного действия, и может быть
определена по формуле 6.3:
м3/смену 6.3
где T - продолжительность
смены, (принимаем 7ч);
φ1 - коэффициент
использования рабочего времени, (принимаем 0,85);
φ2 - коэффициент загрузки
тягового органа, (принимаем 0,85);
vтр - скорость цепи
транспортера, (принимаем 0,8м/с);
gс - средний объем
сортимента, м3;
м3
где nc - среднее количество сортиментов выпиливаемых с
одного хлыста.

шт.
где lхл - средняя длина хлыста, (принимаем 26м);
lср -
средняя длина сортимента, (принимаем 3,82м);
шт.,
м3
Рассчитываем производительность сортировочного транспортера:
м3/смену
6.4 Расчет
производительности крана на штабелевке и отгрузке лесоматериалов
Производительность кранов на штабелевке и отгрузке
лесоматериалов зависит от типа крана и его грузоподъемности, применяемых
грузозахватных приспособлений, длины лесоматериалов и для башенного крана
КБ-572А может быть определена по формуле 6.4:
м3/смену
где Т - продолжительность смены,
(принимаем 25200с); tп-з - время на выполнение подготовительно-заключительных операций,
(принимаем 1800с); φ1 - коэффициент
использования рабочего времени смены, (принимаем 0,9); kc - коэффициент совмещения
времени передвижения грузовой тележки и поворота стрелы крана, (принимаем 1,3);
Vп - средний объем штабелюемой
или погружаемой пачки лесоматериалов, (принимаем 6м3); h - средняя высота подъема
груза, (принимаем 7м); lтел - среднее расстояние перемещения грузовой
тележки, (принимаем 35м); vгр, vтел, vкр - соответственно скорости подъема (опускания)
груза, передвижения грузовой тележки, передвижения крана, (принимаем
соответственно 0,34, 0,42, 0,5м/с); Lщт - длина фронта штабелей, (принимаем 185м); Lтр - длина части
сортировочного транспортера, вдоль которой расположены лесонакопители,
(принимаем 100м); t1 - время на захват и разворот пачки лесоматериалов, с; t2 - время на отцепку
пачки, с; (принимаем t1+ t2=180с).
Рассчитываем производительность крана на
штабелевке и отгрузке лесоматериалов:
м3/смену
7. Расчет
основного оборудования и рабочих по нижнему складу
7.1 Расчет
количества основного оборудования и рабочей силы
Расчет необходимого количества основного технологического
оборудования и рабочей силы выполняется в таблице 7.1.
Таблица 7.1
Потребное количество основного технологического оборудования
и рабочей силы
|
Вид работ
|
Наименование,
тип или марка оборудования
|
Годовой объем
работ, тыс. м3
|
Режим работы
|
Сменный объем
работ, шт. м3
|
Число рабочих,
обслуживающих механизм, чел.
|
Норма
выработки, пл. м3
|
Потребность в
смену
|
Принято
|
|
|
|
число рабочих
дней в году
|
число смен в
сутки
|
|
|
на один
механизм
|
На одного
рабочего
|
механизмов, шт.
|
рабочих, чел.
|
механизмов, шт.
|
рабочих, чел.
|
|
|
|
|
|
|
|
|
|
|
|
|
1-я смена
|
2-я смена
|
2-я смена
|
Всего
|
|
1
|
2
|
3
|
4
|
5
|
6
|
7
|
8
|
9
|
10
|
11
|
12
|
13
|
14
|
15
|
16
|
|
Выгрузка
хлыстов
|
ККЛ-32
|
230
|
270
|
2
|
851,9
|
1
|
552,2
|
552,2
|
0,77
|
0,77
|
1
|
1
|
1
|
1
|
2
|
|
Зачистка
стволов от сучьев
|
Stihl
MSE 180C-BQ
|
46
|
270
|
2
|
170,4
|
1
|
170,4
|
170,4
|
1,00
|
1,00
|
2
|
2
|
2
|
2
|
4
|
|
Раскряжёвка
хлыстов
|
ЛО-68
|
230
|
270
|
2
|
851,9
|
2
|
263,5
|
131,8
|
1,62
|
3,23
|
2
|
2
|
4
|
4
|
8
|
|
Сортировка
|
ЛТ-86
|
230
|
270
|
2
|
851,9
|
2
|
571,9
|
286,0
|
0,75
|
1,49
|
1
|
2
|
2
|
2
|
4
|
|
Штабелевка и
отгрузка
|
КБ-572А
|
138
|
270
|
2
|
511,1
|
1
|
339,8
|
339,8
|
2,01
|
2,01
|
2
|
2
|
2
|
2
|
4
|
|
|
230
|
270
|
2
|
851,9
|
|
|
|
|
|
|
|
|
|
|
|
ИТОГО:
|
|
|
|
|
|
|
|
|
|
|
8
|
8
|
11
|
11
|
22
|
7.2 Расчёт
списочного количества основного оборудования, инструментов и сооружений
Данные расчета списочного количества основного оборудования,
инструментов и сооружений приведены в таблице 7.2.
Таблица 7.2
Расчёт списочного количества основного оборудования,
инструментов и сооружений
|
Наименование
оборудования, инструментов, сооружений
|
Единица
измерения
|
Количество
работающего оборудования
|
Коэффициент перехода
от рабочего количества оборудования к списочному
|
Списочное
оборудование
|
Установленная
мощность, кВт
|
|
|
|
|
|
одного
механизма
|
общая
|
|
1
|
2
|
3
|
4
|
5
|
6
|
7
|
|
Консольно-козловой
кран ККЛ-32
|
шт
|
1
|
1,0
|
1
|
73
|
73
|
|
Питающий кабель
КППТ-500
|
м
|
185
|
1,5
|
277,5
|
-
|
-
|
|
Подкрановый
путь Р-60
|
м
|
210
|
1,5
|
315
|
-
|
-
|
|
Раскряжевочная
эстакада
|
шт
|
2
|
1
|
2
|
-
|
-
|
|
Электропила Stihl MSE 180 C-BQ
|
шт
|
2
|
1,0
|
2
|
1.8
|
3.6
|
|
Питающий кабель
ПВХ-2Мм
|
м
|
80
|
1,5
|
120
|
-
|
-
|
|
Раскряжёвочная
установка ЛО-68
|
щт
|
2
|
1,0
|
2
|
120
|
240
|
|
Кабины
операторов
|
шт
|
4
|
1,0
|
4
|
-
|
-
|
|
Сортировочный
транспортёр ЛТ-86
|
шт
|
1
|
1,0
|
1
|
37
|
37
|
|
Лесонакопители
|
шт
|
18
|
1,5
|
27
|
-
|
-
|
|
Сбрасывающие
элементы
|
шт
|
18
|
1,0
|
18
|
-
|
-
|
|
Кабины
операторов ВО-88
|
шт
|
1
|
1,0
|
1
|
-
|
-
|
|
Пульт
управления ЛВ-171
|
шт
|
1
|
1,0
|
1
|
-
|
-
|
|
Транспортёры
отходов ТОЦ-16-4
|
шт
|
2
|
1,0
|
2
|
3
|
6
|
|
Бункера отходов
|
шт
|
2
|
1,0
|
2
|
-
|
-
|
|
Башенный кран
КБ-572А
|
шт
|
2
|
1,0
|
2
|
66,3
|
132,6
|
|
Подкрановый
путь Р-60
|
м
|
740
|
1,5
|
1110
|
-
|
-
|
|
Питающий кабель
КППТ-500
|
м
|
435
|
1,5
|
652,5
|
-
|
-
|
|
Мачты
прожекторного освещения
|
шт
|
1
|
1,0
|
1
|
1
|
1
|
|
Токарный станок
|
шт
|
1
|
1,0
|
1
|
2,8
|
2,8
|
|
Сверлильный
станок
|
шт
|
1
|
1,0
|
1
|
1,6
|
1,6
|
|
Заточной станок
ЛВ-1166
|
шт
|
1
|
1,0
|
1
|
0,2
|
0,2
|
|
Установка
углежжения
|
шт
|
5
|
1,0
|
5
|
-
|
-
|
|
Линия фасовки
угля
|
шт
|
1
|
1,0
|
1
|
12
|
12
|
|
Погрузчик
Амкодор 352Л
|
шт
|
1
|
1,0
|
1
|
-
|
-
|
|
Котельная
установка
|
шт
|
1
|
1,0
|
1
|
-
|
-
|
|
ИТОГО:
|
|
|
|
|
|
509,8
|
8. Расчёт
вспомогательных рабочих по нижнему складу
Данные расчета вспомогательных рабочих по нижнему складу
приведены в таблице 8.1.
Таблица 8.1
|
Расчет
вспомогательных рабочих по нижнему складу
|
|
Наименование
вспомогательных работ
|
Грузооборот
нижнего склада, тыс. м3
|
Норма на 1 чел-день/
тыс. м3
|
Трудозатраты,
чел. - дней
|
Количество
рабочих дней
|
Число рабочих,
чел.
|
|
|
|
|
|
|
по расчёту
|
принято
|
|
1
|
2
|
3
|
4
|
5
|
6
|
7
|
|
Водитель
лесопогрузчика
|
230
|
-
|
-
|
-
|
-
|
1
|
|
Оператор
установок углежжения
|
230
|
-
|
-
|
-
|
-
|
1
|
|
Оператор линии
фасовки угля
|
230
|
-
|
-
|
-
|
1
|
|
Содержание
территории нижнего склада
|
230
|
5,0
|
1150
|
270
|
4,3
|
5
|
|
Маркировка
круглых лесоматериалов
|
230
|
4,5
|
1035
|
270
|
3,8
|
4
|
|
Пилоточно-пилоправочные
работы
|
230
|
4,0
|
920
|
270
|
3,4
|
4
|
|
Обслуживание
механизмов и электрооборудования слесарями и электриками
|
230
|
5,1
|
1173
|
270
|
4,3
|
5
|
|
Приёмка и
подготовка строповых комплектов и отжиг проволоки
|
230
|
1,8
|
414
|
270
|
1,5
|
2
|
|
Охрана
складского оборудования
|
230
|
-
|
|
-
|
|
3
|
|
Итого:
|
26
|
9. Расчёт
потребного вспомогательного оборудования, инструментов и материалов
Данные расчёта потребного вспомогательного оборудования,
инструментов и материалов приведены в таблице 9.1.
Таблица 9.1
Потребное количество вспомогательного оборудования,
инструментов и материалов
|
Вид работ
|
Годовой объём
производства, тыс. м3
|
Наименование
вспомогательного оборудования, инструментов, материалов
|
Единица
измерения
|
Кол-во в одном
комплекте
|
Норма расхода
на 1000 м3
|
Потребность на
год, комплект
|
|
Выгрузка
козловым краном ККЛ-32 с грейфером ЛТ-185
|
230
|
Грузовой канат Ø 22,5 мм
|
м
|
300
|
6,0
|
4,6
|
|
|
Тяговый канат Ø 22,5 мм
|
м
|
110
|
3,2
|
6,7
|
|
Зачистка сучьев
на стволах электропилой Stihl
MSE 180 C-BQ
|
46
|
Пильная цепь
ПЦП-15М
|
шт
|
1
|
1,0
|
46,0
|
|
|
Питающий кабель
ПВХ-2Мм
|
м
|
30
|
1,0
|
1,5
|
|
Разделение
пачек хлыстов ЛТ-10
|
230
|
Грузовой канат Ø = 19 мм
|
м
|
95
|
4,0
|
9,7
|
|
|
Стропы Ø = 22 мм
|
м
|
20
|
4,0
|
46
|
|
Раскряжёвка
хлыстов на раскряжёвочной установке ЛО-68
|
230
|
Пильный диск Ø 1500мм
|
шт
|
2
|
0,1
|
11,5
|
|
Точка и правка
дереворежущего инструмента
|
230
|
Абразивные
круги для заточки Ø
200x3x32 мм
|
щт
|
2
|
0,7
|
80,5
|
|
|
Напильники
|
шт
|
1
|
0,2
|
46
|
|
Сортировка
транспортёром ЛТ-86
|
230
|
Тяговая цепь
круглозвенная Ø
22x136x33 мм
|
м
|
294
|
2,4
|
1,9
|
|
|
Траверсы
|
м
|
225
|
2,4
|
2,5
|
|
|
Фотоэлектрические
датчики
|
шт
|
16
|
2,4
|
34,5
|
|
Штабелевка и
отгрузка сортиментов башенным краном КБ-572А
|
368
|
Грузовой канат Ø 22,5 мм
|
м
|
300
|
6,0
|
3,9
|
|
|
Тяговый канат Ø 22,5 мм
|
м
|
110
|
3,2
|
10,7
|
10. Расчёт
расхода ТСМ
Данные расчёта смазочных материалов и рабочих жидкостей по
нижнему складу приведены в таблице 10.1.
Таблица 10.1
Расчёта смазочных материалов и рабочих жидкостей по нижнему
складу
|
Наименование
оборудования
|
Количество
отработанных маш. - час в год
|
Норма расхода,
кг/маш. - час
|
Годовой расход,
т
|
|
|
трансмиссионные
масла
|
консистентные
смазки
|
рабочие
жидкости
|
дизтопливо
|
бензин
|
транс мисионные
масла
|
консистентные
смазки
|
рабочие
жидкости
|
Дизтоп ливо
|
бензин
|
|
Консольно-козловой
кран ККЛ-32
|
3780
|
0,5
|
0,25
|
-
|
-
|
-
|
1,9
|
1,0
|
-
|
-
|
-
|
|
Электропила Stihl MSE 180 C-BQ
|
7560
|
0,02
|
0,3
|
-
|
-
|
-
|
0,2
|
2,3
|
-
|
-
|
-
|
|
Раскряжёвочная
установка ЛО-68
|
7560
|
0,3
|
0,25
|
0,25
|
-
|
-
|
2,3
|
1,9
|
1,9
|
-
|
-
|
|
Сортировочный
транспортер ЛТ-86
|
3780
|
0,2
|
0,1
|
0,2
|
-
|
-
|
0,8
|
0,4
|
0,8
|
-
|
-
|
|
Башенный кран
КБ-572А
|
7560
|
0,5
|
0,25
|
-
|
-
|
-
|
3,8
|
1,9
|
-
|
-
|
-
|
|
Заточной станок
|
1890
|
0,1
|
0,1
|
-
|
-
|
-
|
0,2
|
0,2
|
-
|
-
|
-
|
|
Токарный станок
|
1890
|
0,1
|
0,1
|
-
|
-
|
-
|
0,2
|
0,2
|
-
|
-
|
-
|
|
Сверлильный
станок
|
1890
|
0,1
|
0,1
|
-
|
-
|
|
0,2
|
0,2
|
-
|
-
|
-
|
|
Лесопогрузчик
Амкодор 352Л
|
1890
|
|
|
|
|
|
1,5
|
0,9
|
5,7
|
13,2
|
2,8
|
|
ИТОГО:
|
|
|
|
|
|
|
10,9
|
8,9
|
8,3
|
13,2
|
2,8
|
11. Расчет
основных технико-экономических показателей
Выработка на одного основного рабочего в
день определяем по формуле 11.1:
, где 11.1
Qдн -
суточное задание нижнего склада, (принимаем 851,9м3);
nо - число
рабочих, занятых на основных работах, (принимаем 22чел)
Производим расчет:
Выработку на одного основного рабочего в год определяем по формуле
11.2:
, где 11.2
Д - количество рабочих дней в году.
Рассчитываем:
Выработку на одного списочного рабочего в день определяем по
формуле 11.3:
, где 11.3
nс - число рабочих, занятых
на основных, подготовительных и вспомогательных работах, (принимаем 48чел)
Производим расчет:
Выработку на одного списочного рабочего в год определяем по
формуле 11.4:
11.4
Рассчитываем:
Энерговооружённость на одного человека на нижнем складе
определяется по формуле 11.5:
, где 11.5
Nо -
мощность всех механизмов, занятых на основных работах, (принимаем 509,8кВт)
Рассчитываем:
12. Расчёт
энергоснабжения нижнего склада
Затраты электроэнергии по нижнему складу зависят от
осветительной и силовой нагрузки. Определяем потребную мощность всех
электродвигателей промышленного оборудования, а также годовое потребление
электроэнергии по нижнему складу с учетом потребления на освещение.
Рассчитываем мощность трансформаторной подстанции и определяем ее тип.
12.1 Расчет
электроэнергии на освещение
Годовое количество электроэнергии, идущее
на освещение, определяем по формуле 12.1:
где 12.1
Рр - расчетная мощность на освещение, кВт;
tг - число
часов горения ламп в году, час;
Ко - коэффициент одновременности.
Данные расчета электроэнергии на освещение приведены в таблице
12.1.
Таблица 12.1
Расчет электроэнергии на освещение
|
Наименование
освещаемых объектов
|
Общая площадь
освещения F, м2
|
Удельная
потребляемая мощность Р, Вт/м2
|
Потребляемая
мощность на освещение Ро, кВт
|
Коэффициент
одновременности
|
Потребляемая
мощность на освещение Рп, кВт
|
Коэффициент
потребления Рп
|
Расчетная
мощность Ро, кВт
|
Число часов
освещенности, tr
|
Годовая
потребляемая энергия Wо, кВт час
|
|
1. Наружное
освещение
|
|
Узел разгрузки
хлыстов
|
150
|
5
|
0,8
|
0,9
|
0,67
|
0,95
|
0,64
|
1890
|
1212,0
|
|
Освещение
раскряжевочной эстакады
|
1500
|
10
|
15,0
|
0,9
|
13,5
|
0,95
|
12,83
|
1890
|
24239,3
|
|
Сортировочный
транспортер
|
520
|
10
|
5,2
|
0,9
|
4,68
|
0,95
|
4,45
|
1890
|
8402,9
|
|
Участок
штабелевки и погрузки
|
200
|
1,0
|
0,2
|
0,9
|
0,18
|
0,95
|
0,17
|
1890
|
323,2
|
|
Охранное
освещение дорог и проездов
|
2590
|
1,3
|
0,9
|
1,17
|
0,95
|
1,11
|
1890
|
2092,7
|
|
2. Внутреннее
освещение
|
|
Слесарно-механические
мастерские
|
48
|
10
|
0,5
|
0,8
|
0,38
|
0,95
|
0,37
|
540
|
197,0
|
|
Контра нижнего
склада
|
72
|
10
|
0,7
|
0,8
|
0,58
|
0,95
|
0,55
|
1890
|
1034,2
|
|
Помещение
фасовки угля
|
72
|
10
|
0,7
|
0,8
|
0,58
|
0,95
|
0,55
|
540
|
295,5
|
|
Котельная
|
100
|
10
|
1,0
|
0,8
|
0,8
|
0,95
|
0,76
|
540
|
410,4
|
|
Столовая
|
150
|
10
|
1,5
|
0,8
|
1,2
|
0,95
|
1,14
|
540
|
615,6
|
|
Итого
|
|
|
26,87
|
|
23,74
|
|
22,55
|
|
38822,7
|
12.2 Расчет
силовой нагрузки
По установленной мощности одного
потребителя Р и числу оборудования n определяем общую установленную мощность
электродвигателей Ру по формуле 12.2:
Ру = Р × n,
где 12.2
Р - мощности одного потребителя, кВт;
n - количество
оборудования, шт.;
По установленной мощности определяем
мощность электродвигателей с учетом коэффициента спроса по формуле 12.3:
Рд = Ру× Кс, где 12.3
Кс - коэффициент спроса
Расчетная мощность в сети Рс с
учетом потерь определяется по формуле 12.4:
где 12.4
ηc - коэффициент потерь в
сети, 0,95
Годовой расход силовой энергии Wc можно определить, если
известно число часов работы станков в году tЧ по формуле 12.5:
Wc = Рс × tЧ 12.5
Число часов работы электродвигателя в году
tЧ принимается в
соответствии с режимом работы станка в течение года по нормативным данным или
по числу дней работы в году Д и числу часов работы станка в сутки. Данные
расчета силовой нагрузки представлены в таблице 12.2.
Таблица 12.2
Расчет силовой нагрузки
|
Наименование
оборудования
|
Число потребителей
|
Установленная
мощность потребителя Р, кВт
|
Мощность всех
потребителей Рц, кВт
|
Ко-эффициент
спроса Ко
|
Мощность всех
электродвигателей Рд, кВт
|
Коэффици ент
потери ηс
|
Расчетная
мощность Рс, кВт
|
Число часов
работы в году, tЧ
|
Годовой расход
энергии кВт*час
|
|
1
|
2
|
3
|
4
|
5
|
6
|
7
|
8
|
9
|
10
|
|
Консольно-козловой
кран ККЛ-32
|
1
|
73,0
|
73,0
|
0,52
|
37,96
|
0,95
|
36,06
|
3780
|
136314,4
|
|
Электропила Stihl MSE 180 C-BQ
|
2
|
1,8
|
3,6
|
0,86
|
3,1
|
0,95
|
2,94
|
3780
|
11117,7
|
|
Раскряжёвочная
установка ЛО-68
|
2
|
120
|
240
|
0,43
|
103,2
|
0,95
|
98,04
|
3780
|
370591,2
|
|
Сортировочный
транспортёр ЛТ-86
|
1
|
37
|
37
|
0,76
|
28,1
|
0,95
|
26,71
|
3780
|
100978,9
|
|
Транспортёры
отходов ТОЦ-16-4
|
2
|
3
|
6
|
0,43
|
2,6
|
0,95
|
2,45
|
3780
|
9264,8
|
|
Башенный кран
КБ-572А
|
2
|
66,3
|
132,6
|
0,52
|
68,95
|
0,95
|
65,50
|
3780
|
247606,6
|
|
Токарный станок
|
1
|
2,8
|
2,8
|
0, 20
|
0,56
|
0,95
|
0,53
|
3780
|
2011,0
|
|
Сверлильный
станок
|
1
|
1,6
|
1,6
|
0, 20
|
0,32
|
0,95
|
0,30
|
3780
|
1149,1
|
|
Заточной станок
ЛВ-1166
|
1
|
0,2
|
0,2
|
0, 20
|
0,04
|
0,95
|
0,04
|
3780
|
143,6
|
|
Линия фасовки
угля
|
1
|
12
|
12
|
0, 20
|
5,16
|
0,95
|
4,90
|
3780
|
18529,6
|
|
ИТОГО
|
|
|
508,8
|
|
250,0
|
|
237,5
|
|
897706,9
|
12.3 Выбор
типа трансформатора и компенсирующих устройств
Мощность трансформаторных силовых установок определяем по
формуле 12.6:
12.6
где k1 - коэффициент возможной
перегрузки, (принимаем 1,05);
k2 - коэффициент на
возможную реконструкцию нижнего склада, (принимаем 1,01);
k3 - коэффициент
несовмещения максимальных нагрузок, (принимаем 0,98);
ΣРо - суммарная
мощность на освещение, (принимаем 22,55кВт);
ΣРc - суммарная силовая
мощность, (принимаем 237,5кВт);
Производим расчет трансформатора:
По справочнику определяем количество и мощность трансформаторов.
В нашем случае будем применять мачтовый трансформатор МТП
250/6-10, номинальное напряжение низковольтной части которого 0,4кВ. Мощность
трансформатора 250кВА, что обеспечивает бесперебойную работу нижнего склада.
13. Охрана
труда и безопасности жизнедеятельности
13.1 Общие
требования безопасности на нижнескладских работах
Технологический процесс нижнего склада
должен быть организован с учетом требований правил техники безопасности,
производственной санитарии и противопожарных мероприятий. Территория нижнего склада,
производственные помещения, рабочие места должны быть благоустроены и
содержаться в чистоте. Для пешеходного движения на территории нижнего склада
устраиваются тротуары и пешеходные переходы.
Для прохода над работающим оборудованием к
местам работы устраиваются мостики, лестницы, трапы. В местах пересечения
рельсовых путей с дорогами и тротуарами устраивают переезды и переходы,
охраняемые или оборудованные сигнализацией, обеспечивающей безопасность
движения.
Вдоль лесотранспортеров со стороны, противоположной
сбросу сортиментов в лесонакопители, должны быть устроены тротуары, ширина
которых при сбросе сортиментов вручную составляет 1,5м, механизмами - 1м. Для
входа на тротуар должны быть оборудованы лестницы с поручнями. Для защиты
работающих от ветра и атмосферных осадков по всей длине лесотранспортера должен
быть устроен навес со сплошной стенкой.
Рабочие места, проезды и проходы внутри
производственных и подсобных помещений, а также на территории нижнего склада
запрещается загромождать заготовками, деталями, материалами, инструментами и
отходами производства. Работающих на нижнем складе необходимо обеспечить
комплексом санитарно-бытовых помещений, а также средствами индивидуальной
защиты в соответствии с типовыми отраслевыми нормами.
13.2 Общие требования
техники безопасности на погрузочно-разгрузочных работах
Погрузочно-разгрузочные площадки,
эстакады, мостики, сходни необходимо содержать в исправном состоянии и
систематически освобождать от обрезков, упавших бревен, хлыстов, освободившихся
прокладок и других посторонних предметов, а в зимнее время очищать от снега и
льда и посыпать песком или другими противоскользящими материалами. Места
погрузки, расположенные на уступах и откосах с уклоном более 20°, для прохода
рабочих оборудуют лестницами с перилами, Места постоянной погрузки и выгрузки
лесоматериалов ограждают знаками безопасности и предупреждающими надписями.
Содержание грузоподъемных кранов,
грузозахватных приспособлений и безопасная их эксплуатация должны быть
обеспечены в соответствии с правилами Проматомнадзора.
Не должны производиться:
погрузка и выгрузка лесоматериалов при
скорости ветра 11,5м/с и более, грозе, ливневом дожде, густом тумане (видимость
менее 50м), метели и буране;
погрузочно-разгрузочные работы на двух
соседних штабелях и на головке и хвосте одного штабеля;
поднятие груза массой, более установленной
паспортом грузоподъемности машины.
Стропы, используемые при погрузке, должны
быть оборудованы саморасцепляющимися приспособлениями для исключения нахождения
стропальщика на погружаемом подвижном составе в период расцепки пачки. Перед
погрузкой или выгрузкой лесоматериалов весь подвижной лесовозный транспорт
должен быть надежно закреплен тормозами с целью предотвращения
самопроизвольного его перемещения. Не допускается во время погрузки и разгрузки
лесоматериалов находиться в кабине и на площадке автомобиля, железнодорожной
платформе или на вагоне-сцепе, а также в зоне действия перемещения груза и
грузозахватных приспособлений.
При производстве погрузочно-разгрузочных
работ кранами необходимо соблюдать следующие требования:
работать только по сигналу стропальщика
или другого специально выделенного лица, предварительно дублируя каждый сигнал;
приостанавливать немедленно работу по
сигналу "стоп" независимо от того, кем он подан:
выполнять плавно, без рывков все действия
погрузочных механизмов (подъем, опускание груза и стропов, поворот, перемещение
техники с грузом по ездовой балке и самого механизма, а также торможение при
всех перемещениях);
застропливать и отцеплять груз после полной
остановки грузового каната, его ослабления и при опущенной крюковой обойме или
траверсе;
подводить стропы под груз специальными
приспособлениями;
застропливать груз двумя стропами на
одинаковом расстоянии от его центра тяжести, поднимать груз во время
перемещения не менее чем на 0,5 м выше встречающихся на пути предметов;
на место установки груза должны быть
предварительно уложены соответствующей прочности подкладки для того, чтобы
стропы могли быть легко и без повреждений извлечены из-под груза;
опускать груз (грейфер, захват с грузом)
при возникновении каких-либо неисправностей и прекращать работу до их
устранения;
устанавливать стрелу крана вдоль
продольной оси пути в транспортное положение, а крюк поднимать в предельно
верхнее положение при передвижении крана и после окончания работы.
Расстояние между лесонакопителями, в
которых производится чокеровка бревен, и лесонакопителями, в которые идет
сброска бревен с лесотранс-портера, должно быть не менее двукратной длины
сваливаемых с лесотранс-портера бревен.
При погрузке лесоматериалов кранами не
разрешается:
поворачивать стрелу, поднимать и опускать
груз при движении погрузочного механизма;
разбирать штабель для застропки пачки
подкопом, а также при наличии нависших бревен;
работать у лесонакопителей, в которые идет
сброска бревен с лесо-транспортера;
отрывать крюком (захватом) грузы,
засыпанные землей, привернутые болтами или примерзшие к земле;
поднимать, опускать и перемещать груз,
когда люди находятся под ним и в зоне возможного опускания стрелы;
во время перерывов в работе оставлять
груз, а также грейфер в поднятом положении или на наклонной поверхности, с
которой они могут сорваться под действием собственного веса.
13.3
Требования техники безопасности при выгрузке установкой ЛТ-10, обрезке сучьев, раскряжевке
хлыстов и сортировке древесины
В процессе выгрузки лесоматериалов с
помощью ЛТ-10 рабочий-разгрузчик должен находиться на расстоянии не менее 5м от
торцов разгружаемой пачки хлыстов или деревьев.
При выполнении выгрузочных операций
необходимо:
перемещать пачку с коников лесовозного
подвижного состава следует плавно, без рывков, не допуская перегруза одной из
ветвей разгрузочных стропов установки;
не допускать одновременного перемещения по
разгрузочной площадке нескольких пачек хлыстов или деревьев,
При выполнении разгрузочных работ
рабочий-разгрузчик не должен:
выполнять разгрузку лесовозного
автопоезда, если в кабине автомобиля находится водитель или посторонние лица;
работать при наличии износа стропов больше
допустимого нормами;
оставлять свисающие с разгрузочной
площадки хлысты или деревья;
работать на неосвещенной площадке.
Рабочий-разгрузчик обязан прекратить
работу в случае возникновения или обнаружения неисправности. Сигнал
"стоп" рабочий-разгрузчик должен выполнять немедленно независимо от
того, кем он подан.
При спиливании электропилой упор вплотную
подводится к суку, а затем легким нажимом вводится в древесину режущий аппарат.
Упор должен быть расположен в направлении "к себе" и ограждать от
пореза ногу работающего. При зажимах пильного аппарата в резе электродвигатель
выключается и только после этого освобождается пильный аппарат. При переходах
от одного дерева к другому электродвигатель пилы выключается.
Обрубка сучьев топором на раскряжевочных
площадках нижних складов производится с соблюдением требований безопасности как
и при обрубке сучьев в лесу.
Раскряжевку хлыстов моторными пилами и
раскряжевочными устройствами необходимо производить после предварительного
разделения пачки на эстакаде в один ряд. Раскряжевка хлыстов на штабелях, в
пачках и на путях их раскряжевки запрещается.
Для безопасного выполнения работ по
раскряжевке хлыстов моторными пилами установлены следующие требования
безопасности:
выполнять мелкий ремонт, смену пильной цепи или ее натяжение
при неработающем двигателе бензиномоторной пилы и отключенном двигателе
электропилы от кабеля;
переходить от реза к резу с
бензиномоторной пилой при работе двигателя на малых оборотах (когда пильная
цепь не вращается), а с электропилой - при выключенном электродвигателе;
выключать двигатель электропилы при
прекращении подачи тока;
освобождать зажатую в резе пильную шину
после остановки двигателя;
подвешивать электрокабель для питания
электромоторного инструмента над раскряжевочной эстакадой на высоте не менее
3м.
Работа на раскряжевочной установке
разрешается, если все ее узлы и механизмы исправны. Оператор должен пускать
линию после подачи предупредительного сигнала. Во время работы необходимо
следить за тем, чтобы не было людей в опасных зонах: около режущего механизма,
вблизи подающего и приемного транспортеров, на разгрузочной эстакаде, на пути
движения хлыстов.
Хлысты, перемещаемые растаскивателями,
должны подаваться на подающий транспортер поштучно, комлями вперед. Для
исключения случаев застревания между транспортерами откомлевки длина ее не
должна превышать 10см.
Производить подачу хлыста под пильный диск
необходимо тогда, когда он находится в крайнем нерабочем положении, а надвигать
диск пилы следует плавно и только после того, как он наберет полное число
оборотов.
Во время работы оператору установки не
разрешается отвлекаться, отходить от пульта управления, оставлять кабину при
включенных механизмах, допускать посторонних лиц в кабину и передавать
управление установкой другим лицам. В случае прекращения подачи электротока необходимо
выключить все агрегаты раскряжевочной установки.
Сортировочные лесотранспортеры должны
быть оборудованы бревносбрасывателями. Как исключение, правилами техники
безопасности допускается сброска сортиментов ручными приспособлениями
(аншпугами, вагами, кондаками) при отсутствии на лесотранспортерах
бревносбрасывателей. Рабочие при накатке и откатке сортиментов должны
располагаться сзади или сбоку от движущегося бревна. Накатываемый сортимент
следует укладывать на лесотранспортер одновременно обоими концами или же
вначале передней частью по ходу лесотранспортера.
За каждым рабочим местом сортировщика
закрепляется определенное число лесонакопителей. Если сортировщик не успевает
вовремя сбросить сортимент, то он должен остановить лесотранспортер при помощи
дистанционного управления и сбросить сортимент в нужный лесонакопитель. Только
рабочий, подавший сигнал остановки, может дать сигнал о продолжении работы
лесотранспортера.
Перед пуском лесотранспортера необходимо
убедиться в отсутствии людей в опасной зоне на всем его протяжении и
предупредить об этом окружающих звуковым сигналом.
Во время сбрасывания сортиментов в
лесонакопители находиться в них людям запрещено. Бревна в лесонакопителе
выравнивают удлиненными металлическими крючьями. Спускаться в лесонакопители
для выравнивания торцов бревен можно только после выключения сброса.
Управление двумя или большим числом
последовательно связанных ле-сотранспортеров должно осуществляться так, чтобы
пуск последующего производился до пуска предыдущего, а остановка производилась
в обратном порядке. Для связи рабочих, обслуживающих лесотранспортер,
устанавливается двухсторонняя сигнализация, обеспечивающая быструю подачу
сигнала с любого участка лесотранспортера и на всем его протяжении, пуск и
остановка лесотранспортера с любого места осуществляется при помощи
дистанционного управления лесотранспортером.
Запрещается вставать во время работы
лесотранспортера на его рабочую цепь. Проходить под эстакадой необходимо в
установленных местах, имеющих специальное ограждение.
.4 Требования
техники безопасности при штабелевке и погрузке лесоматериалов
Круглые лесоматериалы укладываются в
штабеля на подштабельные устройства. В местах, где укладывают или разбирают
штабеля, устанавливают знаки безопасности и предупреждающие надписи.
При укладке круглых лесоматериалов в
штабеля для обеспечения их устойчивости и безопасности при разборке должны
соблюдаться следующие требования:
отдельные бревна в штабеле не должны
выступать за его пределы более чем на 0,5м;
прокладки следует укладывать симметрично
продольно оси штабеля на расстоянии от торцов бревен не более 1м с каждой
стороны;
междурядные прокладки по высоте штабеля
следует укладывать в одной вертикальной плоскости;
прокладки вдоль штабеля необходимо
укладывать в одну линию, а их концы на стыках должны перекрываться на длину не
менее 1м;
концы рядового штабеля должны иметь уклон,
для этого каждый новый ряд делают короче предыдущего на диаметр бревна с каждой
стороны, крайние бревна каждого ряда закладывают в вырубленные на концах прокладок
гнезда, глубина гнезда должна быть не более половины толщины прокладки;
в концах плотных, плотнорядовых и пачковых
штабелей должны быть устройства, исключающие произвольное раскатывание бревен,
при отсутствии таких устройств концы штабелей должны иметь угол, равный углу
естественного раскатывания бревен (не более 35°).
При укладке или разборке штабелей подниматься и опускаться с
них необходимо только по наклонной поверхности головки или хвоста, или по
приставной лестнице.
Погрузка круглых лесоматериалов на
подвижной состав железнодорожного транспорта осуществляется в соответствии с
техническими условиями Министерства путей сообщения, техническими условиями и
руководствами, утвержденными в установленном порядке. При этом применяются
краны разных типов.
Во время погрузочных работ не разрешается:
при передвижении консольно-козловых кранов
перемещать грузы на неконсольных частях крана;
перемещать зависшие бревна, захваченные
грейфером за один конец;
передвигать по рельсам железнодорожный подвижной состав.
Заключение
Разработанный нами проект нижнего склада
будет обеспечивать его непрерывную работу в течение всего года. На нижнем
складе будут производиться следующие операции: выгрузка хлыстов, доочистка
сучьев, раскряжевка, сортировка, штабелевка и погрузка на железнодорожный
транспорт.
Прибывшая на нижний склад древесина подлежит выгрузке и
подаче в раскряжевку (обработку) или запас в резервный штабель. Этот вид
операций будет производиться консольно-козловым краном ККЛ-32. Поданные в
первичную обработку пачки хлыстов разделяются на отдельные хлысты, происходит
доочистка сучьев и затем они поштучно поступают на раскряжевку.
Зачистка сучьев на хлыстах будет
производиться современной электромоторной пилой Stihl MSE 180 C-BQ. Раскряжевка
производится полуавтоматической раскряжевочной установкой ЛО-68. Сортировка
осуществляется продольным сортировочным транспортером ЛТ-86. Штабелевка и
погрузка будут производиться башенным краном КБ-572А.
В ходе выполнения задания на
проектирование разработаны все вопросы и составлен проект прирельсового нижнего
склада.
Особое внимание было уделено рациональному
использованию отходов, в связи с чем был запроектирован участок углежжения с
линией по фасовке древесного угля.
Список
использованных источников
1. Матвейко А.П. Технология и оборудование
лесозаготовительного производства. - Мн.: Техноперспектива, 2006. - 447с.
. Шелгунов Ю.В., Горюнов А.К., Ярцев И.В. Лесоэксплуатация и
транспорт леса: Учебник для вузов. - М.: Лесная промышленность, 1989. - 520 с.
. Гороховский К.Ф., Лившиц Н.В. Машины и оборудование
лесосечных и лесоскладских работ: Учебное пособие для вузов. - М.: Экология,
1991. - 528 с.
. Залегаллер Б.Г., Ласточкин П.В., Бойков СП. Технология и
оборудование лесных складов. - М: Лесная промышленность, 1984. - 352 с.
. Правила техники безопасности и производственной санитарии в
деревообрабатывающей промышленности. - М.; Лесная промышленность, 1979. - 216
с.
. Лешкевич А.И., Воевода Д.К., Назаров ВВ. Оборудование
лесных складов. - М.: Лесная промышленность, 1975.