Проект вырубочного цеха обувной фабрики

  • Вид работы:
    Курсовая работа (т)
  • Предмет:
    Другое
  • Язык:
    Русский
    ,
    Формат файла:
    MS Word
    340,98 Кб
  • Опубликовано:
    2014-03-13
Вы можете узнать стоимость помощи в написании студенческой работы.
Помощь в написании работы, которую точно примут!

Проект вырубочного цеха обувной фабрики

Содержание

Введение

. Разработка ассортимента обуви

. Проект вырубочного цеха

.1 Описание ассортимента вырубочного цеха

.2 Описание выбора материалов и определение чистых площадей деталей низа

.3 Расчет потребности в материалах низа обуви

.4 Расчет количества вырубщиков на разруб материалов и составление сменного задания вырубщикам

.5 Разработка технологии разруба материалов и расчет рабочей силы и оборудования на участке разруба материалов

.6 Разработка технологии обработки деталей низа обуви и расчет рабочей силы и оборудования на участке обработки

Выводы

Литература

Введение

Обувь - это неотъемлемая часть гардероба современного человека. Невозможно представить себе человека, идущего по улице босиком.

Обувь берёт на себя функции по предохранению стопы от внешних воздействий, облегчает движение и труд человека. Даже в древности при изготовлении самой примитивной обуви конструкцию её связывали с климатическими условиями, географическим районом, в котором проживала та или иная народность.

Научно-технический прогресс в значительной степени изменил характер обувного производства: в 90-ые годы были созданы крупные производственные объединения, оснащённые принципиально новыми на тот момент техническими и автоматическими средствами выполнения операций. Делалось всё для того, чтобы обеспечить возрастающий спрос на красивую и недорогую обувь. Однако по прошествии десяти лет ситуация кардинально изменилась: старое оборудование уже изношено, давно прошёл срок морального износа этой техники, но экономическое положение в стране не позволяет обновлять техническую оснастку предприятиям обувной промышленности. Поэтому эти некогда современные предприятия стали, в некоторой степени обузой для промышленности.

С точки зрения повышения качества продукции, эффективности, расширения и обновления производства в настоящее время большое преимущество имеют небольшие предприятия с производительность около 1 млн. пар обуви в год и предприятия, которые работают в определенной специализации, т.е. выпускают либо определенный вид обуви, либо детали или узлы обуви. Таким фабрикам легче менять ассортимент выпускаемой продукции, они спокойнее переживают экономические кризисы.

Большая нагрузка на таких предприятиях ложится на плечи инженерно-технических работников. Необходимость частой и быстрой смены производства приводит к непрерывной работе инженера-технолога по усовершенствованию старых и разработке новых технологий. В связи с ограниченной материальной базой предприятий РБ, у руководителей производства часто не хватает средств для покупки необходимых материалов, что вновь и вновь сказывается на технологии, требуя её изменения и усовершенствования.

Таким образом, для каждой обувной фабрики жизненно необходимо иметь отлично подготовленные кадры, способные проявлять доскональные знания производства и умение использования современных технологий, дабы в кротчайшие сроки уметь подстраивать процесс изготовления обуви под имеющиеся в наличии материалы.

1. Разработка ассортимента обуви

Производственная мощность специализированных подготовительных цехов обувной фабрики определяется суммарной мощностью сборочных потоков. Мощность сборочных потоков не зависит от мощности фабрики и определяется с учетом рекомендаций ГПИ-2 для каждого вида, рода, метода крепления и назначения обуви. Следует учитывать влияние видового и родового ассортимента на использование материалов низа обуви при разрубе.

Суммарный сменный выпуск обуви сборочными потоками:

=,

где: - сменный выпуск обуви на фабрике, пар;

 -годовой выпуск обуви, пар;

Р -число смен;

Д -количество рабочих дней в году.

=  =3100 пар

Результаты разработки номенклатурных характеристик ассортимента сводятся в таблицу 1.1:

Таблица 1.1 - Ассортимент фабрики

Вид и род обуви

Назначение обуви

Метод крепления

Материал верха

Материал подошвы

Выпуск пар/см

1. Туфли женские

Модельные

Клеевой

Опоек

Кожа КРС

400

2.Полуботинки детские

Повседневные

Доппельно-клеевой

Полукожник

«Малыш»

700

3. Ботинки женские

Повседневные

Клеевой

Полукожник

ТЭП

500

4. Туфли девичьи

Повседневные

Клеевой

Полукожник

«Кожволон»

600

5.Полуботинки мужские

Модельные

Клеевой

Опоек

ТЭП

400

6. Ботинки мальчиковые

Повседневные

Клеевой

Полукожник

500




2. Проект вырубочного цеха

.1 Описание ассортимента вырубочного цеха

Для каждого вида и метода крепления обуви на основании данных таблицы 1.1 производится подбор деталей низа и определение их конструкций. Приводятся поперечно-вертикальные сечения в носочной и продольно-осевые в пяточной частях с указанием деталей низа на рисунках 2.1 - 2.6.

.2 Описание выбора материалов и определение чистых площадей деталей низа

Описание выбора материалов для деталей низа производилось в соответствии с требованиями стандарта на конкретный вид обуви с учетом климатических условий, периода носки обуви,эстетических, технологических и эксплуатационных требований.

К наружным деталям низа (с учетом данного ассортимента обуви ) относятся: подошва, каблук, набойка.

К внутренним: основная стелька, полустелька.

К промежуточным: простилка, подложка, геленок.

Детали низа обуви в процессе эксплуатации подвергаются наибольшим нагрузкам. Значительную нагрузку испытывает подошва. Она работает на истирание, повторные изгибы, на сжатие. На износ подошвы большое влияние оказывают амортизационные свойства деталей низа. Так, кожаная подошва носится дольше при мягкой простилке из холстопрошивного полотна, чем при картонной. В связи с этим основными требованиями к подошвенным материалам являются высокое сопротивление истиранию, раздиру и многократному изгибу, водонепроницаемость, хорошее сцепление с грунтом, твёрдость, амортизационная способность, низкая масса при повышенной толщине. Подошвенные материалы могут иметь и невысокие гигиенические свойства, так как между стопой и подошвой находится несколько слоёв различных материалов, в том числе и непроницаемых для влаги.

Каблук работает на сжатие при ударе, возникающем при соприкосновении обуви с опорой, и на трение скольжения. Эти воздействия усиливаются сосредоточенностью наступания, преимущественно на наружную часть каблука.

Основная стелька является главным связующим звеном между деталями верха и низа. Она должна быть гибкой, устойчивой к многократному изгибу, истиранию во влажном состоянии, низкой расслаиваемостью, устойчивой к торцевому сжатию, должна иметь хорошую адгезию к клеям, обладать хорошей формоустойчивостью и устойчивостью к прорыву гвоздём. Материал должен поглощать потовыделения стопы.

Простилка работает так же, как и стелька на изгиб и сжатие. Но в связи с тем, что она располагается приблизительно в нейтральном слое, к ней предъявляются меньшие требования, чем к подошве и стельке. Она должна обеспечить приформовывание стельки к стопе и увеличить амортизационные свойства низа обуви.

Геленок служит для укрепления пяточно-геленочной части обуви, для поддержания свода стопы, воспринимает на себя довольно большие нагрузки, передаваемые от стопы.

Задники и подноски служат для образования каркаса в соответствующих участках верха обуви. Этот каркас должен обеспечить верху обуви сохранение формы при носке. Необходимо, чтобы материал этих деталей обладал достаточной жесткостью и упругостью.

По ГОСТ 26165-2003 «Обувь детская» на детали низа применяются следующие материалы:

пористая резина для подошв ТУ 17-21-400-81;

натуральная кожа для основных стелек и подложек ГОСТ 1903-78;

картон обувной для задников, полустелек ГОСТ 9542-89;

термопластичный материал для подносков ТУ 17-21-592-87;

полотно холстопрошивное для простилок ОСТ 17-657-82.

По ГОСТ 19116-2005 «Обувь модельная» применяются следующие материалы:

натуральная кожа ГОСТ 29277-92 и термоэластопласты ТУ 17-21-492-84 для подошв;

натуральная кожа ГОСТ 1903-78 и картон обувной ГОСТ 9542-89 для основных стелек;

картон обувной для задников, полустелек ГОСТ 9542-89;

термопластичный материал для подносков ТУ 17-21-592-87;

полотно холстопрошивное для простилок ОСТ 17-657-82;

АБС-пластик для каблуков ТУ 6-05-1836-77;

сталь для геленка СТ-55 ОСТ 17-24-83.

По ГОСТ 26167-2005 «Обувь повседневная» применяются следующие материалы:

термоэластопласты ТУ 17-21-492-84 и кожволон ОСТ 17-92-71для подошв;

термопластичный материал для подносков ТУ 17-21-592-87;

картон обувной для задников, основных стелек, полустелек, ГОСТ 9542-89;

полотно холстопрошивное для простилок ОСТ 17-657-82;

АБС-пластик для каблуков ТУ 6-05-1836-77;

сталь для геленка СТ-55 ОСТ 17-24-83.

Для каждой модели определяются чистые площади всех деталей низа на пару обуви, за исключением тех, которые поступают в готовом виде, с использованием отраслевых норм расхода материалов на детали обуви. Однако средневзвешенный размер обуви, указанный в отраслевых нормах расхода, не соответствует средневзвешенному размеру, указанному в размерной шкале для заданного района сбыта продукции (Республика Беларусь). Следовательно, необходимо произвести корректировку площадей деталей низа. Поправка к площади комплекта деталей обуви при переходе к смежному размеру составляет: для детской обуви - 4,1%; для женской - 3,4%; для девичьей - 3,5%; для мужской - 2,9%; для мальчиковой - 3,3%.

Тогда средневзвешенные чистые площади деталей низа для женских модельных туфель 244,1 средневзвешенного размера рассчитываются следующим образом:

для подошвы Х1 = S240 × 3,4 ÷100 = 3,5 × 3,4 ÷100 = 0,119 дм2.

Х2 = 0,119 × 4,1 ÷ 5 = 0,097 дм2. ,1 = S240 + 0,097 = 3,6 дм2.

Где 4,1 есть разница между 240 и 244,1 размерами, а 5 есть разница между 240 и ближайшим 250. Для остальных деталей считается аналогично.

.3 Расчет потребности в материалах низа обуви

Расчет потребности в материалах для низа обуви производится отдельно для деталей из натуральных кож и из некожевенных материалов.

На основании таблиц 2.1 и 2.2 выбираются из ассортимента детали, вырубаемые из натуральных кож, и составляется таблица 2.3, в которой кожаные детали приводятся по убыванию толщины. Для каждого вида материала ( чепрак, сходы ) определяется процентное соотношение выхода деталей каждой толщины ( суммарная площадь деталей, вырубаемых из одного вида материала, принимается за 100% ).

Таблица 2.3 - Сводная таблица кожаных деталей по убывающей толщине

Вид материала

Род и вид обуви

Наименование деталей

Толщина деталей в разрубе, мм

Площадь (нетто) деталей на сменное задание, дм2

Суммарная площадь (нетто) деталей одинаковой толщины, на сменное задание дм2

Процентное соотношение выхода деталей каждой толщины, %

1

2

3

4

5

6

7

Чепрак

Туфли женские модельные

Подошва

3,3

1440

1440

40,6

Чепрак

Полуботинки детские повседневные

Подложка

2,5

2107

59,4

Полы

Полуботинки детские повседневные

Стелька

2,3

1442

1442

56,3

Полы

Туфли женские модельные

Стелька

2,2

1120

1120

43,7


Расчет потребности в жестких кожах выполняется в двух вариантах ( с выбором различных категорий жестких кож, так как в данном случае выбор различных сортов не рационален ).

Вариант 1.

Таблица 2.4 - Выход деталей низа по группам толщин, мм, в разрубе; чепрак категории 4,1-4,5 , II сорт

3,9 и выше

3,5 - 3,9

3,2 - 3,5

Всего полезного кроя

39,5

28,5

9,7

77,7



Так как у нас отсутствуют в ассортименте деталей низа обуви мелкие детали, то мы увеличиваем нормы выхода крупных деталей, т.е. на 3% мелких деталей приходится 1% крупных деталей.

% мелких - 1% крупных

,5% мелких - Х, Х = 1,2% крупных деталей

Следовательно: 8,5%+1,2% = 9,7%

Для остальных считается аналогично.

В3,3% = 39,5 + 28,5 + 3/4 × 9,7 = 75,3%

П3,3 = (1440 ∕ 75,3) × 100% = 1912,4 дм2

В2,5% = 9,7 - 7,3 = 2,4%

В2,5 = (1912,4 ∕ 100) × 2,4 = 45,9 дм2

Недоруб подложек составляет: 2107 - 45,9 = 2061,1 дм2

Возьмем воротки без челок и без лап категории 3,6-4,0, II сорта, чтобы дорубить подложки.

Таблица 2.5 - Выход деталей низа по группам толщин, мм, в разрубе; воротки без челок и без лап категории 3,6-4,0, II сорт

3,5 и выше

3,2 - 3,5

3,0 - 3,2

2,8 - 3,0

Всего полезного кроя

32,5

21,0

12,0

7,7

73,2


В2,5% = 32,5 + 21,0 + 12,0 + 7,7 = 73,2 %

П2,5 = (2061,1∕ 73,2) × 100% = 2815,7 дм2

Стельки выкраиваем из пол без передних лап категории 3,1-3,5, II сорта.

Таблица 2.6 - Выход деталей низа по группам толщин, мм, в разрубе; полы без передних лап категории 3,1 - 3,5, II сорт

3,0 и выше

2,8 - 3,0

2,5 - 2,8

2,2 - 2,5

Всего полезного кроя

31,5

12,0

17,0

6,2

66,7

Чтобы вырубить все стельки толщиной 2,3 мм и стельки толщиной 2,2 мм из пол нам нужно посчитать их общую потребность.

Сначала определим их суммарную площадь (нетто) на сменное задание, дм2 : 1442 + 1120=2562 дм2

П2,3 и 2,2 = (2562 ∕ 66,7) × 100% = 3841,08 дм2

Вариант 2.

Таблица 2.7 - Выход деталей низа по группам толщин, мм, в разрубе; чепрак категории 3,6-4,0, II сорт

3,9 и выше

3,5 - 3,9

3,0 - 3,2

2,8 - 3,0

Всего полезного кроя

8,0

32,5

16,5

12,0

8,7

77,7


В3,3% = 8 + 32,5 + 3/4 × 16,5 = 52,9%

П3,3 = (1440 ∕ 52,9) × 100% = 2722 дм2

В2,5% = (16,5 - 12,4) + 12 + 8,7 = 24,8%

В2,5 = (2722 ∕ 100) × 24,8 = 675,1 дм2

Недоруб подложек составляет: 2107 - 675,1 = 1431,9 дм2

Возьмем воротки без челок и без лап категории 3,1-3,5, II сорта, чтобы дорубить подложки.

Таблица 2.8 - Выход деталей низа по группам толщин, мм, в разрубе; воротки без челок и без лап категории 3,1-3,5, II сорт

3,5 и выше

3,2 - 3,5

3,0 - 3,2

2,8 - 3,0

2,5 - 2,8

2,2 - 2,5

Всего полезного кроя

10,0

20,0

13,0

13,5

13,0

2,7

72,2


В2,5% = 10,0 + 20,0 + 13,0 + 13,5 + 13,0 + 2,7 = 72,2%

П2,5 = (1431,9 ∕ 72,2) × 100% = 1983,2 дм2

Стельки выкраиваем из пол без передних лап категории 3,1-3,5, II сорта.

Таблица 2.9 - Выход деталей низа по группам толщин, мм, в разрубе; полы без передних лап категории 3,1 - 3,5, II сорт

3,0 и выше

2,8 - 3,0

2,5 - 2,8

2,2 - 2,5

Всего полезного кроя

31,5

12,0

17,0

6,2

66,7


Считаем также как и в 1 варианте.

Сначала определим их суммарную площадь (нетто) на сменное задание, дм2 : 1442 + 1120=2562 дм2

Затем найдем их общую потребность:

П2,3 и 2,2 = (2562 ∕ 66,7) × 100% = 3841,1 дм2

Для каждого варианта расчета потребности жестких кож производим расчет ценностного процента использования площади чепраков с определением ценностных коэффициентов кожаных деталей низа.

Ценностный коэффициент рассчитывается по формуле:

К = К1 + К2 + К3 + К4 , где

К1 = ti ∕ tэтал , tэтал = 4,2 мм - коэффициент толщины;

К2 = Уэтал ∕Уi , Уэтал = 95 % - коэффициент укладываемости;

К3,К4 - частные ценностные коэффициенты.

Таблица 2.10 - Ценностные коэффициенты кожаных деталей

Наименование детали

Толщина детали в разрубе, мм

Ценностный Коэффициент детали К

Выход детали Р, %

К×Р




1 вар.

2 вар.

1 вар.

2 вар.

Подошва

3,3

0,87

75,3

52,9

65,5

Подложка

2,5

0,6

2,4

24,8

1,4

14,9


Величины ценностных процентов использования и стоимости материалов по каждому варианту сводим в таблицу 2.11:

Таблица 2.11 - Варианты ценностного процента использования и стоимости материалов для низа обуви

Вариант

Вид материала

Категории кожи

Сорт

Процент использования

Ценностный процент использования

Потребность (брутто) материала на смену, дм2

1

2

3

4

5

6

7

1

Чепрак Воротки без челок и лап Полы без передних лап

4,1 - 4,5 3,6 - 4,0 3,1 - 3,5

II II  II

77,7 73,2 66,7

66,9 - -

1912,4 2815,7 3841,1

2

Чепрак Воротки без челок и лап Полы без передних лап

3,6 - 4,0 3,1 - 3,5 3,1 - 3,5

II II  II

77,7 72,2 66,7

60,9 - -

2722 1983,2 3841,1


Анализируя данные таблицы 2.11, приходим к выводу, что лучшим является 1 вариант расчета потребности в жестких кожах, т.к. при этом варианте наибольшее значение ценностного процента использования.

Потребность в кожевенных материалах по оптимальному варианту сводится в таблицу 2.12:

Таблица 2.12 - Потребность в кожевенных материалах

Наименование материала

Категория и сорт материала

Потребность (брутто) материала на смену, дм2

Чепрак Воротки без челок и без лап Полы без передних лап

4,1 - 4,5, II сорт 3,6 - 4,0, II сорт  3,1 - 3,5, II сорт

1912,4 2815,7  3841,1


Расчет потребности в некожевенных материалах ведется по данным отраслевых норм расхода искусственных кож на детали низа одной пары.

2.4 Расчет количества вырубщиков на разруб материалов и составление сменного задания вырубщикам

При составлении сменного задания необходимо руководствоваться следующими организационными принципами:

сумма заданий должна обеспечивать комплексное выполнение и выход кроя по всем видам и моделям обуви полными ассортиментными сериями;

закрепление постоянных заданий вырубщикам;

специализация вырубщиков на разруб определенных видов материалов.

При составлении производственного задания вырубщикам одновременно рассчитываем потребное количество резаков для разруба жестких кож. При этом необходимо чтобы у каждого вырубщика было как можно меньше количество комплектов резаков и равномерная загрузка. Допускается перегрузка рабочих до 10 % от применяемых норм выработки.

При разрубе из одного вида материала (чепрак ) нескольких различных деталей определяется средневзвешенная норма выработки:

Нср =  =  = 1300 пар/см

Количество вырубщиков для чепрака определяется:

К =  =  = 0,8

Количество вырубщиков для воротков:

К =  =  = 0,4

Для разруба чепрака и воротков берем 1 человека.

Количество вырубщиков для пол:

К =  =  = 0,7

Для разруба пол берем 1 человека.

Таблица 2.14 - Потребное количество вырубщиков для разруба кожевенных материалов

Вид и род обуви

Наименование деталей

Наименование материалов

Программа в смену, пар

Нормы выработки деталей низа, пар/см.

Количество вырубщиков

Подошва  Подложка   Подошва Стелька

  Чепрак

400  700   600 270

  1300

1

Полуботинки детские повседневные

Подложка

Воротки без челок и без лап

700

1500


Полуботинки детские повседневные Туфли женские  модельные

Стелька   Стелька

Полы без передних лап

700   400

1500

1


.5 Разработка технологии разруба материалов и расчет рабочей силы и оборудования на участке разруба материалов

Кожи для низа обуви делятся на кожи для винтового, ниточных и клеевых методов крепления. Кожи поступают на фабрику в основном в виде чепраков, воротков и пол. При раскрое кож для низа обуви необходимо учитывать их жесткость, плотность и толщину.

Различают три основные системы разруба - прямолинейно-поступательную, «елочку» и делюжечную. Наилучшей является прямолинейно-поступательная система разруба, так как она обеспечивает наиболее плотное совмещение деталей, небольшие межшаблонные отходы и высокий процент использования площади кож. Однако не вся площадь кожи может быть разрублена по прямолинейно-поступательной системе, часть площади (30- 40%) разрубают на различные детали низа не по системе, а с соблюдением лишь основных правил размещения деталей. Площадь разруба кожи по системе зависит от варианта совмещения деталей, вида и категории кожи, квалификации раскройщика.

Наиболее часто применяют три варианта совмещения подошв и стелек- пучками, пяточными частями, в одну сторону. При совмещении по первому варианту (рис. 2.7, а) внутренние пучки деталей максимально сближают, между ними остаются минимальные межшаблонные отходы. При совмещении по второму варианту (рис. 2.7,6) пяточную часть одной детали совмещают с пучками другой детали. При совмещении по третьему варианту (рис. 2.7, в) все детали направлены носочными и пяточными частями в одну сторону, при этом наружные пучки деталей, смежных по вертикали, максимально сближают с внутренними пучками, а носочные части деталей, смежных по горизонтали, совмещают с пяточными.

Кроме этих трех вариантов применяют варианты совмещения подошв и стелек встык (рис. 2.7, г) и под углом (рис. 2.7, д).

Площадь раскроя кожи по системе тем выше, чем однороднее ее плотность и толщина (нормальная или малая сбежистость) и чем больше площадь и выше сорт. Поэтому прямолинейно-поступательная система рекомендуется преимущественно для разруба кож I и II сортов больших и средних площадей и нормальной сбежистости.

Большое значение для прямолинейно-поступательной системы имеет выбор исходной линии и начала разруба. При разрубе чепраков исходными могут быть линии хребта, полы и воротка.

Разруб начинают в основном с трех следующих мест:

от середины огузка вдоль хребтовой линии (рис. 2.8, а);

от середины воротка (от линии реза воротка) вдоль хребтовой линии (рис. 2.8, б);

от линии реза воротка вдоль линии реза полы (рис. 2.8,в).

Выбор места, с которого начинают разруб, зависит от площади, категории и сбежистости чепрака и ассортимента деталей
низа.Чепраки большой площади целесообразнее разрубать от хребтовой линии, получая наиболее ценные детали из его центральной части и переходя к разрубу периферийных участков на менее ценные детали. Разруб чепраков небольшой площади (80-110 дм2) следует начинать от приворотковой части вдоль линии реза полы. При значительном поражении площади кожи пороками, особенно ее хребтовой части, разруб рекомендуется начинать от хребтовой линии к линии реза полы. Пораженные участки кожи разрубают таким образом, чтобы пороки попадали на те части деталей, в которых они допускаются (например, на пяточную часть подошвы).

Площадь разруба чепраков малой площади и повышенной сбежистости по прямолинейно-поступательной системе очень небольшая, т. е. большая часть кожи разрубается не по системе, что значительно увеличивает межшаблонные и краевые отходы. Для таких чепраков рекомендуется разруб по системам «елочка» и делюжечная.

Система «елочка» характеризуется расположением деталей поперек кожи более или менее четко выраженными продольными рядами. В пределах каждого ряда носочные части всех деталей направлены в одну сторону. Носочные части деталей одного ряда совмещают с носочными частями деталей смежного ряда, причем в первом ряду (слева и справа), все детали направлены пяточными частями к линии реза полы.

Внешне «елочка» похожа на прямолинейно-поступательную систему совмещения под углом, но углы наклона деталей различны в начале и конце разруба. В результате разруба по этой системе остаются отходы, похожие на «елочку».

При разрубе чепраков по системе «елочка» исходными линиями могут быть линия реза воротка, линия реза полы (рис. 2.9, а) и хребтовая линия (рис. 2.9,6).

При разрубе по первому варианту получают по два парных ряда деталей (справа и слева), а из середины чепрака вырубают различные детали.

При разрубе по второму варианту детали располагают пяточными частями к хребтовой линий по обе ее стороны. Из чепрака получают четыре ряда деталей, а из краевых частей вырубают детали соответствующего размера. Делюжечная система характеризуется расположением деталей вдоль кожи более или менее четко выраженными четырьмя-пятью поперечными рядами, напоминающими делюжки, хотя предварительно кожи на делюжки не разрезают.

При разрубе по этой системе исходными могут быть линия реза воротка (рис. 2.9, в) или середина огузка.

При разрубе пол исходной линией является линия реза полы (рис. 2.10).

Искусственные материалы для деталей низа обуви имеют однородные физико-механические свойства по площади в соответствующих направлениях, определенные размеры и форму. Все это делает разруб материалов менее сложным по сравнению с разрубом кож.

Материалы, площадь и линейные размеры которых относительно велики по сравнению с площадью и линейными размерами выкраиваемых из них деталей, разрубают по прямолинейно-поступательной системе. Для лучшего использования площади материала на тканевой основе деталь при выкраивании подноска ориентируют длиной по основе, высотой по утку (рис. 2.11).

Искусственные материалы, площадь и линейные размеры которых относительно малы по сравнению с площадью и линейными размерами выкраиваемых деталей, разрубают по делюжечной системе (резину - на подошвы, обувной картон - на стельки). При этом межшаблонные отходы из-за неплотного совмещения деталей несколько увеличиваются, а краевые отходы резко уменьшаются по сравнению с краевыми отходами, которые получаются при раскрое по прямолинейно-поступательной системе материалов небольших размеров.

В данном проекте разруб чепрака на подложки и подошвы производится по прямолинейно-поступательной системе совмещением в пучках. Полы разрубают с различным размещением деталей. Термопластичный материал на подноски разрубают в 8 слоев по прямолинейно-поступательной системе с ориентацией длины подноска по основе материала. Холстопрошивное полотно на простилки разрубают в 4 слоя с расположением деталей в любом направлении (с наибольшим процентом использования). Пластины кожеподобной резины на подошвы разрубают в 2 слоя с комбинированным продольным или поперечным совмещением деталей. Листы обувного картона на стельки, п/стельки разрубают в 2 слоя продольным направлением деталей по поперечному направлению листа.

Рисунок 2.7 - Схемы совмещения деталей низа обуви

 

Рисунок 2.8 - Схемы разруба чепраков по прямолинейно-поступательной системе

Рисунок 2.9 - Схемы разруба чепраков по системам «елочка» (а, б) и делюжечной (в)

Рисунок 2.10 - Схема разруба пол по прямолинейно-поступательной системе

Рисунок 2.11 - Схема разруба многослойного настила термопластичного материала на подноски по прямолинейно-поступательной системе

Разруб жестких кож производится на прессах траверсного типа ПВГ-18-1600; резиновых пластин, картонов, на ПВГ-18-1300 резаками 6×98 мм (сталь У-7) с углом заточки 30-32 0 с притупленными лезвиями на алюминиевых плитах с покрытием.

Для разруба холстопрошивного полотна и термопластичного материала применяется пресс ПТО-40 траверсного типа с передвижной кареткой с применением резаков 6×48 (сталь У-7) с острой двухсторонней заточкой (для простилки) и односторонней заточкой (для подносков) на алюминиевых плитах с покрытием.

Разруб на прессах ПВГ-18 производится следующим образом:

На стол СГ-О, который имеется за прессом, и вырубочную плиту укладывается вырубаемый материал. Рабочий устанавливает резак на материале и нажимает ногой на пусковую педаль. Детали накапливаются внутри резака и затем сразу вынимается целая пачка деталей. Чтобы облегчить процесс выемки деталей внутренние стенки резака выполняются «с развалом» на 1,5-2 0. Так как руки рабочего находятся под ударником, резаки должны иметь защитные козырьки.

Технологический процесс на прессе ПТО-40 осуществляется следующим образом:

На разрубаемый материал устанавливают резак и каретку передвигают так, чтобы ударник стал над резаком. Пресс включается при одновременном нажатии на две ладонные кнопки либо в автоматическом режиме при помощи фотоэлектронного реле.

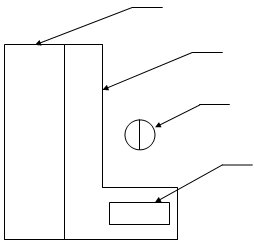
Схема организации рабочего места вырубщика представлена на рисунке 2.12.

- Пресс, 2 - Стол, 3 - Вырубщик, 4 - Проем для отходов

Рисунок 2.12 - Схема организации рабочего места вырубщика

Выводы

В курсовом проекте разработан ассортимент обувной фабрики вырубочного цеха в соответствии с заданием (Вг = 2,2 млн. пар). В цехе разрубаются натуральные и искусственные материалы низа и обрабатываются вырубленные детали. Также применяются формованные детали, что позволяет повысить производительность труда и снизить себестоимость обуви.

Выбор материалов для деталей низа осуществлен в соответствии с требованиями ГОСТов, ОСТов, а также учтены технологические, эксплуатационные и эстетические требования, предъявляемые к материалам.

Расчет потребности в материалах низа обуви произведен в двух вариантах с целью выбора наиболее оптимального варианта, характеризующегося меньшей стоимостью и более высоким ценностным коэффициентом использования.

Осуществлен расчет потребности в некожевенных материалах с учетом средневзвешенной площади деталей, потребность на сменное задание рассчитана по отраслевым нормам использования искусственных кож на детали низа обуви.

В соответствии с ассортиментом вырубаемых материалов разработана технология разруба всех применяемых материалов, и технологический процесс обработки деталей низа.

Произведен расчет рабочей силы и оборудования на участке разруба материалов и обработки деталей.

обувь вырубочный цех материал

Литература

1. ГОСТ 26165-03. Обувь детская. - Введен 2003-04-25. - Москва: Госстандарт, 2003. - 8 с.

. ГОСТ 19116-03. Обувь модельная. - Введен 2003-04-25. - Москва: Госстандарт, 2003. - 8 с.

. Справочник обувщика. Технология / под ред. А. Н. Калиты. - Москва: Легпромбытиздат, 1989. - 413 с.

. Справочник обувщика. Проектирование обуви, материалы / под ред. А. Н. Калиты. - Москва: Легпромбытиздат, 1988. - 427 с.

. Отраслевые нормы расхода кож для низа обуви на детали одной пары. - Москва: ЦНИИТЭИлегпром, 1984. - 15 с.

. Отраслевые нормы расхода искусственных кож на детали низа одной пары обуви. - Москва: ЦНИИТЭИлегпром, 1984. - 10 с.

. Отраслевые нормы использования кож на детали низа обуви. - Минск: ЦНИИлегпром, 2000. - 23 с.

. Приказ №299. Об утверждении шкал размеров кожаной обуви по регионам страны. - Москва: 1982. - 9 с.

. Фукин, В. А. Технология изделий из кожи: учебник для вузов.

В 2 ч. Ч. 1 / В. А. Фукин, А. Н. Калита; под ред. В. А. Фукина. - Москва: Легпромбытиздат, 1988. - 272 с.

. Технология производства обуви. Ч. 2. Разруб кожевенных материалов и искусственных кож на детали низа обуви. - Москва: ЦНИИТЭИлегпром, 1986. - 73 с.

. Технология производства обуви. Ч. 4. Обработка деталей низа обуви. - Москва: ЦНИИТЭИлегпром, 1983. - 148 с.

Похожие работы на - Проект вырубочного цеха обувной фабрики

 

Не нашли материал для своей работы?
Поможем написать уникальную работу
Без плагиата!
Без нейросетей!