Аппаратно-программный комплекс измерения влажности пара
Содержание
Введение
. Исследовательский раздел
.1 Исследование предметной области
.1.1 Способ определения сухости пара
.1.2 Выбор средств аппаратно-программной реализации
.2 Развернутое техническое задание
. Специальный раздел
.1 Разработка структурной схемы
.2 Разработка алгоритмов работы
.3 Разработка электрической принципиальной схемы
.4 Разработка программного кода
.5 Разработка топологии печатной платы
.6 Разработка интерфейса
. Технологический раздел
.1 Технология разработки работы по интерфейсу USB
.2 Технология программирования микроконтроллеров
. Раздел «Безопасность жизнедеятельности»
.1 Анализ опасных и вредных факторов, сопутствующих работе на
ПЭВМ
.2 Расчет освещенности рабочего места оператора
.3 Экологическая оценка переработки узлов компьютерной
техники, содержащей драгметаллы
. Экономический раздел
.1 Планирование разработки аппаратно-программного комплекса с
использованием метода СПО
.2 Построение оптимизированного сетевого графика
.3 Расчет технико-экономических показателей и экономической
эффективности проекта
.3.1 Расчет сметной стоимости проектирования программного
модуля
Заключение
Список использованных источников
Приложение А, Графический материал
Приложение Б, Исходный код программы
Введение
Причиной, послужившей началом к разработке
аппаратно-программного комплекса измерения влажности пара стало то, что при
использовании водяного пара в системах теплоснабжения в них образуется
конденсат, значительно снижающий теплоемкость водяного пара, как следствие -
отдачу тепла потребителю.
Проблема заключается в том, что потребитель вынужден
платить не только за предоставляемое тепло, но и за конденсат, который он
получает вследствие пересыщения водяного пара при прохождении точки росы.
Потребитель платит за, по сути, несуществующее тепло, что вызывает совершенно
очевидное недовольство со стороны потребителя.
Данную задачу возможно решить двумя методами:
поставляя большее количество теплоты потребителю, со снижением прежней удельной
себестоимости единицы теплоты, что чревато большими финансовыми потерями со
стороны поставщика, либо каким-либо образом отслеживать сухость водяного пара и
поддерживать ее на уроне, необходимом для поставки достаточного количества
теплоты.
Второй способ возможно реализовать посредством
перегревания пара в отопительном котле, то есть нагреванию пара до температуры
более 100 °С, что , в свою очередь, обеспечивает сухость пара на достаточном
уровне.
Главной проблемой в таком случае являются неизбежные
затраты на перегрев пара, которые, соответственно, необходимо свести к минимуму;
в противном случае такой способ поддержания сухости пара становится
экономически неэффективным. Эта проблема так же решаема введением эффективного
способа мониторинга сухости пара.
Научная новизна работы заключается в том, что
разработан метод мониторинга сухости пара в трубопроводе, либо теплосистеме,
позволяющий эффективно отслеживать и оперативно контролировать (поддерживать)
необходимый уровень сухости пара, со своевременным оповещением оператора.
(Способ измерения защищен патентом РФ № 1772705 G 01 N 25/60 (дата публикации 20.11.2009г.)
Практическая значимость работы состоит в том, что
предложенный метод мониторинга влажности пара позволяет достоверно обнаружить в
автоматическом режиме снижение сухости водяного пара ниже, чем критическое
допустимое значение, и, в свою очередь, оперативно устранить проблему, то есть
перегреть пар до состояния полного отсутствия конденсата, либо довести сухость
пара до приемлемого значения, таким образом сократив расходы на перегрев пара
до минимума; при этом потребитель получает заявленное поставщиком количество
теплоты, экономя, в свою очередь, свои финансы.
1. Исследовательский раздел
.1 Исследование предметной области
.1.1 Способ определения сухости пара
Изобретение относится к области средств измерения, а именно к
устройствам, служащим для измерения степени сухости пара в системах контроля
тепловых потерь в тепловых сетях, величины коэффициента полезного действия
турбинных агрегатов тепловых и атомных электростанций.
По определению степень сухости пара x есть отношение массы сухого пара mC к массе влажного пара, равной сумме масс сухого пара mC и капельной влаги mК в том же объеме:
х = mC /( mC + mК).
(1)
Известен способ измерения сухости пара, включающий непрерывный отбор
пробы из потока влажного пара, его редуцирование, измерение давления в потоке
влажного пара, конденсацию отбираемой пробы в объем воды, измерение температуры
воды до участка конденсации, а также измерение расхода, давления и температуры
потока воды после участка конденсации [2]. Способ, как видно из описания, для
реализации требует применения большого количества измерительных средств,
образующих каналы измерений температур, давлений, расходов воды и пара;
стабилизаторов расхода воды и пара, устройство редуцирования пара. Поскольку
каждое средство измерений обладает погрешностью, увеличивающую общую
погрешность результата измерений, то рассматриваемый способ отличается большим
объемом технических средств и высокой погрешностью.
Наиболее близким по технической сущности является «Способ определения
степени сухости влажного водяного пара» по патенту России 1772705. Согласно
способу измеряют температуру пробы влажного пара, нагревают ее до полного
испарения влаги, измеряют температуру нагретой пробы и количество энергии на ее
нагрев, далее перегревают нагретую пробу, измеряют температуру и энергию на
перегрев пробы; весовое количество влажного пара определяют из уравнения
теплового баланса перегрева, а весовое количество влаги в отобранной пробе - из
уравнения теплового баланса нагрева пробы пара и с учетом полученного значения
весового количества влажного пара. Недостатками известного способа являются
техническая сложность его реализация и большая погрешность результата
измерений.
Первый недостаток связан с большим количеством нагревателей и средств
измерений - нагревателей влажного и перегретого пара; измерителей электрической
энергии, затраченной на нагрев пара; измерителей температуры. Кроме того,
необходимо иметь стабилизатор массового расхода пара, в противном случае
невозможно однозначно связать энергию на нагрев и массу нагреваемого пара,
определяемую конвективным теплообменом, толщинами теплового и гидравлического
пограничных слоев пара, эпюрой скоростей потока.
Большая погрешность измерения связана с:
большим количеством средств измерений, каждое из которых обладает своей
погрешностью, вносимой в результат измерений степени сухости;
неучтенными факторами, связанными с процессами конвективного теплообмена,
в первую очередь, различными объемными расходами пара в первом и втором
нагревателе;
неучтенными тепловыми потерями, связанными с теплообменом с окружающей
средой.
Целью изобретения является упрощение технических средств для измерения
сухости влажного пара и повышение точности измерения.
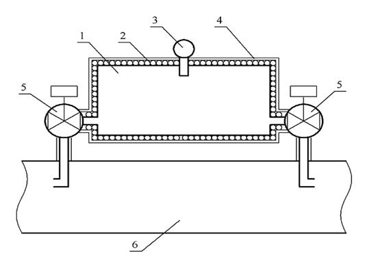
Рисунок 1. Эскиз измерительной камеры.
Поставленная задача достигается тем, что в способе определения сухости
пара, включающего отбор пробы влажного пара, измерение его температуры,
измерение температуры перегретой пробы и последующий расчет степени сухости,
пробу постоянной массы пара подвергают изохорическому нагреву, дополнительно
измеряют давления пробы до и после нагрева, причем измерения температур и
давлений производят последовательно во времени одним средством измерения
температуры и одним средством измерения давления соответственно.
На рисунке представлен пример реализации предлагаемого способа.
Устройство, реализующее способ, содержит измерительную камеру 1 постоянного
объема, установленную в паропровод 2. С двух концов камера 1 сообщается с
паропроводом через запирающие клапаны 3. Внутри камеры расположен нагреватель
4, чувствительные элементы датчиков абсолютного давления 5 и температуры 6.
Электрическое питание клапанов и нагревателя, промежуточные измерительные
преобразователи каналов измерения давления и температуры и вычислитель условно
не показаны.
Возможен вариант выполнения устройства вне паропровода 2, при котором пар
к измерительной камере 1 подводится по трубам. В этом случае снижаются
требования к тепловой стойкости электрических обмоток запирающих клапанов и
упрощаются конструкции узлов подвода электрической энергии, но, с другой
стороны, появляются дополнительные требования по теплоизоляции всех элементов
устройства и прочности корпуса измерительной камеры 1.
Устройство работает следующим образом. В исходном состоянии клапаны 3
открыты и в измерительную камеру 1 поступает пар из паропровода 2 с абсолютными
температурой Т1, давлением Р1 и степенью сухости х. Давление Р1 и температуру
Т1 измеряют соответственно каналами давления с датчиком давления 5 и температуры
с термопреобразователем 6.
После измерений давления и температуры клапаны 3 запирают. Через короткий
промежуток времени, достаточный для запирания клапанов 3, подают ток на обмотку
нагревателя 4 и температура в камере 1 нарастает до температуры перегрева пара.
Поскольку процесс происходит при постоянном объеме (изохорическое нагревание),
то с ростом температуры растет давление массы mC + mК
перегретого пара в камере. Производят измерения давления Р2 и температуры Т2
пара. После окончания измерений отключают ток с нагревателя 4 и открывают
клапаны 3. Температура и давление в камере 1 понижаются до значений этих
параметров в паропроводе 2; камеру 1 заполняет новая порция пара с параметрами,
равными их значениям в паропроводе, и весь цикл работы устройства повторяется.
Полученные результаты измерений Р1, Т1, Р2, Т2 используются для
вычисления сухости пара х. Выражение для вычислений получают из следующих
соображений. В объеме v
измерительной камеры 1 содержится объемная доля х сухого пара vС и часть объема vВ, занятого капельной влагой, доля
которой составляет 1 - х:
= vВ (1-х) + vС х. (2)
Поскольку плотность жидкой воды на три порядка выше плотности пара, то,
соответственно, занимаемый ею объем на три порядка меньше объема, занимаемого
сухим паром. Поэтому в паропроводах, где массовая доля сухого пара х больше
массовой доли жидкой фазы 1 - х, первым слагаемым в правой части выражения (2)
можно пренебречь и считать, что весь объем измерительной камеры v занят сухим паром при давлении Р1 и
температуре Т1. Свойства сухого пара близки к свойствам идеального газа,
поэтому с погрешностью не более единиц процентов их можно записать в виде
уравнения Клапейрона
Р1 v = mC R Т1, (3)
где R - газовая постоянная водяного пара.
После нагрева объема v пара
до температуры Т2 давление в камере Р2 будет определяться всей массой воды mC + mК, поскольку капельная фаза так же перейдет в состояние
сухого пара и, следовательно,
Р2 v = (mC + mК) R Т2. (4)
Почленное деление выражения (3) на (4), после элементарных преобразований
дает, с учетом (1), искомую зависимость степени сухости пара от его измеренных
параметров

. (5)
В
случаях высоких давлений пара (выше 5 МПа) или повышенных требований к точности
результатов измерений (относительная погрешность не должна превышать долей
процента) вместо уравнения (5) необходимо пользоваться табличными значениями
состояния пара.
Использование
одних и тех же датчиков давления и температуры для измерения последовательно во
времени параметров пара до и после нагрева позволяет сократить количество
измерительных каналов и снизить погрешность измерения степени сухости пара.
Погрешность снижается за счет снижения числа измерительных каналов до двух и
того, что результаты измерений давлений одним датчиком (аналогично и
температуры) содержат сильно коррелированные значения случайной погрешности
измерений, ведущих к снижению случайной составляющей погрешности конечного
результата.
Для
доказательства последнего утверждения рассмотрим погрешность косвенного
измерения степени сухости пара х. В общем случае оценка дисперсии S2
случайной составляющей результата косвенного измерения вычисляется по формуле
[4, стр. 178]
, (6)
где
x(A1, … Ai) - результат косвенных измерений как функция
результатов прямых измерений параметров A1, … Ai;
n - количество
параметров прямых измерений;
Si - оценка
среднего квадратического отклонения случайной погрешности результата измерений i -го
параметра прямого измерения;
ρij - коэффициент
корреляции между результатами i и j прямых измерений.
В
рассматриваемом случае коэффициент корреляции между измеренными температурами
Т1 и Т2 близок к единице, поскольку эти результаты получены одним измерительным
каналом с интервалом в единицы минут. Аналогично коэффициент корреляции между
значениями давлений близок к единице, а коэффициенты корреляции между
значениями температур и давлений близки к нулю. С учетом указанных условий,
оценка дисперсии погрешности косвенного измерения сухости пара S2(x) по
известным значениям оценок дисперсий погрешностей каналов измерений температур S2T и
давлений S2P равна
После
приведения подобных членов и элементарных преобразований последнее выражение
приобретает вид:
. (7)
Из
выражения (7) видно, что оценка дисперсии случайной погрешности измерения
сухости пара S2(x) определяется двумя слагаемыми, в которых, в силу
корреляции результатов прямых измерений температур и давлений, числители
содержат разности результатов начальных и конечных измерений соответственно
давлений и температур, что снижает общую погрешность конечного результата.
Для
пояснения расчетов по предлагаемому способу рассмотрим пример измерения степени
сухости пара.
Измерения
параметров порции пара, отобранного из паропровода в измерительную камеру, дали
результаты (данные взяты из таблицы термодинамических свойств воды и водяного
пара в состоянии насыщения)
Температура
Т1 = 393 К;
Абсолютное
давление Р1 = 200 кПа.
Измерения
выполняются каналом измерения температуры со средним квадратическим отклонением
абсолютной случайной погрешности ST = 0,3 К и каналом измерения давления с SP =
3 кПа.
После
нагрева пара в измерительной камере до температуры Т2 = 523 К канал измерения
давления показал значение P2 = 300 кПа.
Значение
степени сухости x пара получается при подстановке результатов прямых
измерений в уравнение (5)

.
Оценка
дисперсии погрешности степени сухости S2(x), вычисленная
по уравнению (7) дает результат S2(x) = 0,2∙10-4, а средняя квадратичная
погрешность, имеющая размерность измеряемой величины

.
Погрешность
измерения степени сухости δ(x), считая распределение
погрешности нормальным, при доверительной вероятности Р = 0,95 равно
δ(x) = 2S(x) =
0,9∙10-2,
т.е.,
относительная погрешность измерения степени сухости пара не превышает 1%.
Замена
нагрева стабилизированного потока движущегося влажного пара с последующим
измерением количества тепловой энергии на нагрев и перегрев пара изохорическим
нагревом постоянной массы пара и измерением его давления до и после нагрева
позволяют упростить конструкцию устройства измерения степени сухости и повысить
точность результата измерений. Дополнительно устройство измерений упрощается и
погрешность измерения снижается за счет выполнения измерений последовательно во
времени одним измерителем температур и одним - давлений.
1.1.2 Выбор средств аппаратно-программной
реализации
Среди большого числа доступных методов реализации можно рассмотреть
наиболее основные:
Посредством получения данных с датчиков температуры и давления, затем
передачи этих данных на персональный компьютер или рабочую станцию с помощью
интерфейса последовательного порта, и дальнейшую обработку данных с
формированием сигналов управления для системы контроля сухости и замера;
Использование микроконтроллера, получающего данные с датчиков температуры
и давления, обработки этих сигналов и формирования команд управления для
системы контроля сухости и замеров.
В первом случае необходимо разрабатывать специальное программное
обеспечение, «понимающее» сигналы, приходящие от датчиков и способное корректно
интерпретировать их. Так же задача усложняется тем, что интерфейсы
персонального компьютера используют напряжение, отличное от напряжения работы
датчиков, а для самих датчиков необходима система защиты от перепадов
напряжения. Невозможность установки персонального компьютера (по причинам его
габаритов, рабочим тепловым и влажностным параметрам) рядом с системой
теплоснабжения приводит к необходимости применения длинного кабеля. Надежность
передачи данных при различных длинах кабеля регламентируется техническими
характеристиками порта. Таким образом, реализация системы контроля сухости пара
с использованием персонального компьютера становится достаточно трудоемкой
инженерной задачей.
При использовании микроконтроллера, в первую очередь, очевидным
преимуществом становятся малые габариты устройства, а так же достаточно широкий
температурный режим работы. Микроконтроллер возможно установить на минимальной
дистанции от трубопровода системы теплоснабжения, в результате его длина линии
передачи данных оказывается так же минимальной. В таком случае, потери и
искажения данных сводятся практически к нулю и уже никак не отражаются на
работе аппаратно-программного комплекса.
Микроконтроллер способен взаимодействовать с большинством датчиков не
прибегая к дополнительным аппаратным либо программным средствам. Так же многие
датчики (генераторного типа) попадают в диапазон рабочего напряжения
микроконтроллера, что позволяет отказаться от использования преобразователей
логических уровней и, в большинстве случаев, от использования дополнительных
источников питания.
Нельзя не упомянуть о стоимости ПК и МК. Микроконтроллеры в наши дня
достигли такого развития, что, по сути, микроконтроллеры и компьютеры разделяют
лишь границы применения. Но при этом микроконтроллеры на порядки дешевле
компьютеров. Для реализации поставленной задачи (аппаратно-программный комплекс
контроля влажности пара) не требуется больших вычислительных мощностей, так как
процессы, протекающие в теплосистемах, довольно медленные и не требуют
моментальной реакции. Как следствие - микроконтроллер представляется намного
боле перспективной платформой для создания аппаратно-программного комплекса.
Выпускается довольно большое количество микроконтроллеров различных фирм,
таких как Motorola, Texas Instruments, ATMEL, MicroChip и прочие. По сути, для реализации проекта может подойти любой
микроконтроллер, но в случае, к примеру, Texas Instruments - разработка окажется довольно
трудоемкой по причине сложности самих микроконтроллеров. Компания Motorola выпускает мощные, но достаточно
дорогие микроконтроллеры и не сильно ориентируется на бюджетный рынок.
Остановимся подробнее на компаниях ATMEL и MicroChip.
ATMEL
и MicroChip выпускают микроконтроллеры, ориентированные
на, практически, любое устройство, будь то аппаратно-программная часть кодового
замка или система контроля процесса реактора. Для реализации дипломного проекта
вполне удовлетворяют микроконтроллеры AVR от ATMEL и PIC от MicroChip. Но, как было замечено ранее, производительность не является основным
критерием, так как скорость течения процессов для микроконтроллера
представляется огромным периодом времени, поэтому, исходя из ценового
соотношения, были выбраны микроконтроллеры компании MicroChip - PIC, которые значительно дешевле МК от ATMEL, но при этом предоставляют несколько
меньшую скорость работы при сохранении необходимого функционала. В дополнение
ко всему, коллектив, занимавшийся разработкой АПК, уже имеет опыт работы с
микроконтроллерами PIC, что так же
послужило причиной использования именно этой серии микроконтроллеров.
Исходя из самого задания и приняв во внимание количество необходимых
периферийных устройств, необходимую скорость реакции микроконтроллера на
изменения в окружающей среде, а так же температурные и ценовые показателя МК,
был сделан выбор в пользу недорогого, но достаточного по всем характеристикам
для поставленной задачи микроконтроллера PIC18F4458.
1.2 Развернутое техническое задание
.2.1 Введение
Под разрабатываемым аппаратно - программным комплексом следует понимать
встраиваемо реализуемую систему, которая будет отслеживать и контролировать
влажность пара в теплосистемах. Предполагается использовать данный комплекс на
предприятиях, предоставляющих свои теплосистемы для отопления промышленных
помещений с использованием водяного пара.
1.2.2 Основание для разработки
Основанием для разработки является “Задание на дипломный проект”,
утвержденное приказом ректора №1-52/26 от 13 февраля 2013 года.
1.2.3 Назначение разработки
Аппаратно-программный комплекс предназначен, в первую очередь, для
оперативного обнаружения падения сухости пара до критического значения,
установленного предприятием и/или другим регламентирующим документом, контроля
сухости пара, что, в свою очередь, приведет к улучшению качества обслуживания
потребителя и экономии средств предприятия-поставщика услуг теплоснабжения.
Для реализации поставленной задачи и выполнения требований по
безопасности, надежности, экономичности следует остановиться на
микроконтроллерах компании MicroChip PIC.
Программа выполняется в среде разработки программного обеспечения MPLAB X (либо MPLAB
8.xx по причине некоторых
аппаратно-программных проблем с MPLAB X).
1.2.4 Требования к аппаратной и программной
частям
Требуется разработать комплекс, который отслеживает изменения влажности
пара и корректирует ее до необходимого значения, а так же оповещает оператора
обо всех изменениях влажности и включает следующие особенности:
Отображение влажности и астрономического времени на ЖК-дисплее
Отображение состояния канала теплосистемы посредством светодиодной
индикации: красный светодиод сообщает об изменении влажности за пределами
нормального значения, при возвращении системы в заданные критерии индикацию
осуществляет зеленый светодиод
Как следствие предыдущего пункта, позволяет получить информацию о
состоянии системы в доступной форме
Управление системой клапанов и обогрева измерительной камеры
Управление системой перегрева водяного пара
При необходимости, возможно журналирование изменения влажности на
отдельную микросхему флэш-памяти
В качестве силовой части релейного механизма, используется кремниевый
транзистор
Возможна реализация как встраиваемой системы
Силовая часть комплекса гальванически развязана от управляющей
2. Специальный раздел
В данном разделе описан процесс разработки программы, начиная с
проектирования структуры блоков и алгоритмов функционирования отдельных
модулей, и, заканчивая, созданием просто эргономичного интерфейса пользователя;
также, к программе написана подробная инструкция по эксплуатации. В этом
разделе, также представлены основные принципы взаимодействия программы с
модулями.
2.1 Разработка структурной схемы
Функциональное назначение разрабатываемого прибора предполагает его
использование в котельных и на предприятиях-потребителях пара. В условиях
повышенной влажности окружающей среды, перепада температур. На прибор действуют
так же внутреннее давление, высокая температура, вибрации паропровода, на
котором установлен прибор.
Наиболее подходящим способом для измерения сухости пара является прибор
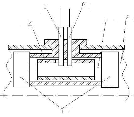
по патенту МПК 7 G 01 N 25/60. На рисунке 2.1 представлен
пример его реализации, а на рисунке 2.2 его структурная схема. Устройство
содержит измерительную камеру 1 постоянного объема, установленную на паропровод
6. С двух концов камера 1 сообщается с паропроводом через запирающие клапаны 5.
На стенки камеры намотан электронагревательный кабель 2. Внутри камеры
установлен датчик давления и температуры 3, смонтированный в один корпус.
Электрическое питание клапанов и нагревателя, промежуточные измерительные
преобразователи каналов измерения давления и температуры и вычислитель условно
не показаны.
Рисунок 2.1 - Пример реализации прибора.
Устройство работает следующим образом. В исходном состоянии клапана 5
открыты и в измерительную камеру 1 поступает пар из паропровода 6 с абсолютными
температурой Т1, давлением Р1 и степенью сухости х. Давление Р1 и температуру
Т1 измеряют соответственно каналами давления и температуры с датчиком давления
и температуры 3.
После измерений давления и температуры клапана 5 запирают. Через короткий
промежуток времени, достаточный для запирания клапанов, подают ток на обмотку
нагревателя 2 и температура в камере 1 нарастает до температуры перегрева пара.
Поскольку процесс происходит при постоянном объеме (изохорическое нагревание),
то с ростом температуры растет давление массы mC + mК
перегретого пара в камере. Производят измерения давления Р2 и температуры Т2
пара. После окончания измерений отключают ток с нагревателя 2 и открывают
клапана 5. Температура и давление в камере 1 понижаются до значений этих
параметров в паропроводе 2; камеру 1 заполняет новая порция пара с параметрами,
равными их значениям в паропроводе, и весь цикл работы устройства повторяется.
Полученные результаты измерений Р1, Т1, Р2, Т2 используются для
вычисления сухости пара х. Выражение для вычислений получают из следующих
соображений. В объеме v
измерительной камеры 1 содержится объемная доля х сухого пара vС и часть объема vВ, занятого капельной влагой, доля
которой составляет 1 - х:
(2.1)
Поскольку плотность жидкой воды на три порядка выше плотности пара, то,
соответственно, занимаемый ею объем на три порядка меньше объема, занимаемого
сухим паром. Поэтому в паропроводах, где массовая доля сухого пара х больше
массовой доли жидкой фазы 1 - х, первым слагаемым в правой части выражения (2)
можно пренебречь и считать, что весь объем измерительной камеры v занят сухим паром при давлении Р1 и
температуре Т1. Свойства сухого пара близки к свойствам идеального газа,
поэтому с погрешностью не более единиц процентов их можно записать в виде
уравнения Клапейрона
(2.2)
где R - газовая постоянная водяного пара.
После нагрева объема v пара
до температуры Т2 давление в камере Р2 будет определяться всей массой воды mC + mК, поскольку капельная фаза так же перейдет в состояние
сухого пара и, следовательно,
(2.3)
Почленное деление выражения (2.2) на (2.3), после элементарных
преобразований дает, с учетом (2.1.1), искомую зависимость степени сухости пара
от его измеренных параметров

(2.4)
Структурная
схема прибора содержит следующие элементы и работает:
Канал
измерения полного давления, состоящий из нормализатора сигнала и АЦП
(используется датчик абсолютного давления, так как данные о температуре
насыщенного пара представлены относительно полного давления и, чтобы убрать
погрешность, связанную перепадом атмосферного давления и разницы высот, на
которых может использоваться прибор);
Канал
измерения температуры, состоящий из нормализатора сигнала и АЦП, встроенного в
микроконтроллер;
Коммутатор,
позволяющий сигналы с канала давления и канала температуры, после нормализации,
подать на один АЦП. Встроен в микроконтроллер и не требует добавления внешних
устройств коммутации;
Микроконтроллер,
на который подаются цифровые сигналы каналов давления и температуры после АЦП.
Микроконтроллер хранит текущие данные измерений, управляет работой системы
подогрева камеры и производит все математические вычисления по описанному
алгоритму работы прибора;
система
подогрева измерительной камеры, система оповещения о состоянии пара в
паропроводе, система управления запорными клапанами в измерительной камере,
управляемые от микроконтроллера. Система подогрева содержит блок питания и
регулятор тока подогрева камеры. Оповещение производится посредством
цифробуквенного ЖК-дисплея и дополнительной светодиодной индикации.
Предпочтительной реализацией запорных клапанов является электромагнитная,
размыкающая.
2.2 Разработка алгоритмов работы
Алгоритм
работы прибора:
.
Прибор устанавливается на паропровод 6;
.
Открываются запорные клапаны 5 (по умолчанию - уже находятся в открытом
состоянии);
.
Измерительная камера заполняется паром и прогревается до температуры равной
температуре пара в паропроводе. Микроконтроллер сверяет изменение температуры в
камере с интервалом до тех пор, пока значение не будет постоянным, либо данный
параметр можно выверить по времени (в реализации программы использована
первоначальная задержка при старте микроконтроллера, за которую камера успевает
прогреться).
.
Запорные клапаны закрываются
.
Замеряются начальные показатели среды датчиком 3 в объеме измерительной камеры
1
.
Осуществляется перегрев пара нагревательной системой 2
.
Проводятся окончательные замеры и обработка данных
.
Запорные клапаны 5 открываются, и объем замещается средой из паропровода.
2.3 Разработка электрической принципиальной схемы
Для
разработки электрической принципиальной схемы весьма удобно использовать
специальное программное обеспечение, включающее в себя редактор положения
электромеханических элементов, библиотеку, содержащую условные обозначения
наиболее используемых элементов, редактор связей между элементами и, по
возможности либо потребностям пользователя, редактор самих элементов.
Наиболее
популярными пакетами начертания электрических принципиальных схем являются
SprintLayout4, KiCad, sPlan. SprintLayout4 является платной и достаточно
громоздкой программой, а ее интерфейс не является интуитивно понятным, что
вызывает необходимость некоторого изучения данного программного пакета.
Программный
пакет KiCad предлагает хороший функционал, понятный интерфейс,
бесплатен, но, к сожалению, не имеет развития, поскольку разработка этого
проекта была остановлена около 2003 года. Таким образом, в программе
отсутствуют новейшие компоненты и их обозначения, имеются некоторые программные
неточности и ошибки.
Наиболее
предпочтительным является пакет sPlan, который, как KiCad,
распространяется бесплатно, имеет огромную библиотеку компонентов, начиная от
морально устаревших радиоламп и заканчивая, например, обозначениями современных
MOSFET-элементов. Так же пакет имеет встроенный редактор
обозначений компонентов, так что в случае отсутствия какого-либо обозначения
всегда есть возможность добавить его самому.
Ниже
приведена электрическая принципиальная схема, реализованная с помощью
бесплатного программного обеспечения sPlan, разработанная в
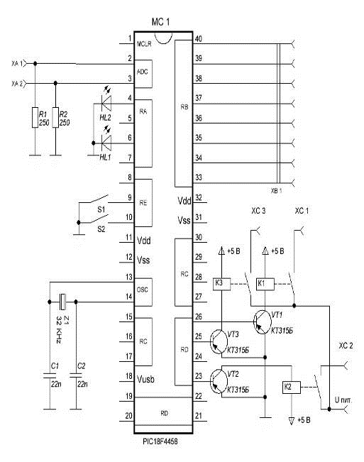
соответствии с дипломным заданием. Предполагается, что микроконтроллер (PIC18F4458)
выполнен в 40-пиновом корпусе PDIP. Все выводы пронумерованы и подключены в полном
соответствии с листом тактико-технических характеристик микроконтроллера,
приведенном в Приложении А. Данные приведены в оригинале по причине отсутствия
русскоязычной документации.
Рисунок 2.3 - Электрическая принципиальная схема прибора.
Схематически изображены следующие детали АПК:
Микроконтроллер MC 1: PIC18F4458, технические характеристики приведены в листе
тактико-технических характеристик микроконтроллера (см. Приложение А);
Резисторы R1 и R2 номиналом 250 Ом. Поскольку датчики
работают по току (4-20 мА) и не являются датчиками генераторного типа, то на
них подается напряжение 27 В, резисторы же служат для падения напряжения
пропорционального изменению значения на датчиках, что обеспечивает напряжение
на резисторах в пределах 5 В, что является рабочим напряжением для АЦП
микроконтроллера;
Индикаторные светодиоды HL1 и HL2: HL1 - красный, HL2 -
зеленый, служат для оповещения о состоянии теплосистемы (указание на критическое
падение сухости пара), размещаются в одном и том же корпусе, имеющим
полупрозрачную матовую верхнюю часть с наименованием котла либо теплопровода,
как показано на рисунке ниже:
Рисунок 2.4 - Схематическое положение индикаторных светодиодов.
Транзисторы VT1, VT2, VT3: кремниевые транзисторы КТ315Б, служащие ключами в силовой
цепи АПК. Транзисторы управляют работой реле, которые, соответственно,
подключены к запорным клапанам, обмотке электронагревателя измерительной камеры
и перегревателя пара, либо другим более высокоамперным реле, позволяющим
подключение вышеприведенного оборудования.;
Реле К1, К2, К3 могут быть любыми, единственный критерий выбора детали -
рабочее напряжение не более 5 В, поскольку питание реле и питание
микроконтроллера находятся в цепи одного и того же источника питания;
Кварцевый резонатор Z1 с частотой резонанса 32 КГц: предназначен для точной работы
асинхронного восьмиразрядного таймера микроконтроллера, ответственного за вывод
точного астрономического времени;
Керамические конденсаторы С1 и С2, емкостью 22пФ, служат для фильтрации
помех и наводок в цепи синхронизации таймера;
Разъемы ХА 1 и ХА 2 подключаются к датчикам температуры и давления
соответственно;
Разъем ХВ 1 предназначен для подключения цифробуквенного ЖК-дисплея под
управлением контроллера Hitachi HD44780
разрядностью от 2х16 строко-символа до 2х32 строко-символа. Технологически
выполняется в виде двуслойного 12-контактного шлейфа (так же к нему
подключаются светодиоды), как показано на рисунке ниже:
Рисунок 2.5 - Двуслойный шлейф для подключения ЖКИ.
Из 12 доступных контактов задействованы 11, из них 8 использованы для
управления цифробуквенным ЖК-дисплеем, 3 для управления светодиодной
индикацией.
Разъемы ХС1, ХС2 ,ХС3 подключаются к цепи запорных клапанов, обмотки
электронагревателя измерительной камеры и перегревателя пара соответственно;
Переключатели S1, S2 необходимы для первичной настройки
либо подстройки астрономического времени. Опционально возможно подключение
переключателей к выводам 33 и 34, поскольку ЖКИ использует не все выводы группы
RB. Техническим требованием к
переключателям является отсутствие дребезга контактов со стороны
переключателей. Эта проблема должна быть решена изготовителем переключателей,
либо установкой D-триггерной
микросхемы после них (что усложняет схему);
2.4 Разработка программного кода
Для разработки программного кода, который в дальнейшем должен быть
преобразован в так называемую «прошивку» для микроконтроллера, необходимо
использовать среды разработки, несколько отличные от тех, что применяются для
разработки программного обеспечения для персонального компьютера. Это
обусловлено тем, что микроконтроллер и процессор персонального компьютера имеют
разную архитектуру, различные наборы команд (как следствие разницы в
архитектуре), различные методы работы с памятью и периферийными устройствами.
Так, для персонального компьютера итоговый скомпилированный файл будет
иметь расширение *.exe и запускаться
на любом компьютере с соответствующей операционной системой, для которой
скомпилировано приложение, и отвечающий минимальным системным требованиям.
В случае с компиляцией файла прошивки для микроконтроллера, необходимо
точно и строго указывать модель микроконтроллера, поскольку различные МК могут
отличаться конструктивно очень сильно, причем не только как микроконтроллеры
разных производителей или серий, так и соседние микроконтроллеры одной и той же
линейки. Так, к примеру, прошивка для микроконтроллера PIC18F4553
не будет работать на, казалось бы, весьма схожим по техническим характеристикам
и архитектурному решению микроконтроллере PIC18F2358.
Для реализации программного кода и компиляции в готовый файл прошивки
возможно использование довольно большого количества различных сред разработки,
предлагающих пользователю как различный интерфейс, так и различный функционал.
Некоторые из них имею встроенные компиляторы, необходимые как раз для сборки
готового файла прошивки, часть из сред предоставляет программный интерфейс для,
собственно, процесса загрузки откомпилированного программно кода
непосредственно в микроконтроллер.
Чаще всего готовый скомпилированный файл программы для микроконтроллера
имеет расширение *.hex и предполагает
загрузку в микроконтроллер, либо использование в любой среде симулирования
процесса работы реального микроконтроллера.
Разработка программного кода, реализующего необходимые функции слежения,
оповещения и контроля, для микроконтроллера PIC18F4458
велась с использованием среды разработки, предоставляемой самим разработчиком
микроконтроллера - компанией MicroChip. Функционала этой среды разработки вполне достаточно (поскольку среда
разработки поставляется самими производителем микроконтроллеров, то данный
пункт является аксиоматичным), имеется удобный интерфейс, позволяющий
отслеживать расход ресурсов микроконтроллера, таких как объем свободной и
занятой памяти (энергонезависимой EEPROM, памяти случайного доступа RAM, флэш-памяти FLASH). Помимо
вышеперечисленных достоинств этой среды разработки, можно упомянуть встроенный
отладчик и симулятор работы выбранного микроконтроллера, работа которого
практически идентична работе реального микроконтроллера за исключением очень
специфических операций, которые не может отработать программный симулятор (к
примеру, не во всех случаях корректно отрабатывается переход в самое начало
флэш-памяти, одним их таких случаев является случай с наличием загрузчика в
микроконтроллере, располагающегося в ячейках памяти, начиная с нулевой).
Далее представлено описание наиболее важных элементов и функций,
описанных в программе. Программа написана на языке С++ и скомпилирована для
работы с микроконтроллером PIC18F4553. Весь исходный код программы
контроля сухости пара приведен в приложении Б.
2.4.1 Модули, включенные в программу
#include <pic18xxxx.h> - включает в программу модуль,
описывающей для компилятора логику работы контроллера, опции компиляции
готового файла «прошивки», прерывания, зарезервированных имен и функций.
Является основным модулем, выбор которого зависит от модели микроконтроллера, с
помощью которого реализуется будущий аппаратно-программный комплекс. Необходимо
верно указывать подключаемый модуль, поскольку неверное указание может никак не
отобразиться на процессе компиляции и, возможно, на процессе дальнейшей
загрузки готовой откомпилированной программы в микроконтроллер, но при этом не
только отрабатывать инструкции некорректно или в корне ошибочно, или полностью
вывести из строя микроконтроллер.
#include <delays.h>
- включает в программу модуль с функциями задержки по времени. Используется для
создания задержек срабатывания аналогово-цифрового преобразователя с целью
стабилизации входного напряжения и задержек в работе релейных механизмов
(поправка на время срабатывания и аналогичные случаи).
#include <alcd.h>
- модуль, позволяющий использовать цифробуквенные ЖК-дисплеи под управлением
контроллера графического дисплея Hitachi HD44780. Взят и
адаптирован из среды разработки для микроконтроллеров компании ATMEL Code Vision AVR, поскольку имеющаяся в наборе стандартная библиотека
для работы с дисплеем <xlcd.h> в процессе отладки и запуска
программы в симуляторе давала некорректные результаты. Библиотека <alcd.h> не давала аналогичных сбоев и некорректных обработок. С
помощью этого модуля отправляются специальном образом закодированные символы,
которые «понимает» контроллер самого дисплея и выводит в указанную ячейку на
нем;
#include <stdio.h> - стандартная библиотека организации вода/вывода
микроконтроллера.
#include <natively.h> - модуль, подменяющий названия регистров,
заданные производителем на названия, которые более понятны человеку. К примеру,
регистр опций использования аналогово-цифрового преобразователя
микроконтроллера, по умолчанию заданный как ARSRCA, будет иметь имя ADC_usage_options, что значительно упрощает разработку
и запоминание сложных заводских имен регистров. Так же этот модуль не отменяет
использования оригинальных названий регистров, как, например, ARSRCA, что остается на усмотрение
разработчика программы. Как и модуль <alcd.h>,
взят и адаптирован из среды разработки Code Vision AVR.
2.4.2 Основные функции и их назначение
Interrupt void int0(void) - прерывание от внешнего источника, переключателя.
Используется для инкрементирования настраиваемой величины времени. Иными
словами, создан графический указатель на единицу времени (часы, минуты,
секунды), который циклически сдвигается по принципу час -> минута ->
секунда -> скрытое состояние. Скрытое состояние используется, как понятно из
названия, для скрытия графического указателя для снижения избыточной
информационной нагрузки на оператора и исключения возможности случайного
изменения системного астрономического времени, уже заданного оператором.
Interrupt void int1(void) - прерывание от внешнего источника, переключателя.
Используется для выбора настраиваемой величины времени (час, минута, секунда),
которое графически выглядит как указатель под настраиваемой величиной, в
скрытом состоянии не дает какого-либо эффекта. Циклически перемещается слева
направо, в случае сдвига указателя, находящегося в позиции «секунды», переходит
в скрытое состояние. Указатель, установленный на изменение минут показан на
рисунке ниже (симуляция запущена в программной среде Proteus v7.7):
Рисунок 2.6 - Отображение указателя настройки времени.
void timer2_comp_isr(void) - прерывание по внутреннему асинхронному
восьмиразрядному таймеру, срабатывает по совпадению значения таймера с заданным
значением, а именно - раз в одну секунду. Обеспечивает точное астрономическое
время и инициирует вывод информации на ЖКИ. Таймер настроен и синхронизирован с
использованием внешнего кварцевого резонатора с частотой резонанса 32 КГц.
void humid_calc(void) - функция расчета влажности водяного пара в
процентах.control_mech(void) - функция управления нагревателями, запорными
клапанами и перегревателем пара, значения задержек и периодов включения и
выключения мощной электроники подобраны в соответствии с особенностями
протекания тепловых процессов в измерительной камере.main(void) - основная
функция программы, в ней выполняются все остальные функции, за исключением
прерываний, которые могут выполняться в любое время по определению. Так же в
этой части программы происходит инициирование работы регистров, размещение
переменных в соответствии с указанными в программе параметрами размещения. Так,
к примеру, все переменные хранятся в энергозависимой памяти микроконтроллера,
когда значение астрономического времени располагается в EEPROM. Возможна реализация, когда текущее
значение влажности и астрономическое время журналируются на дополнительный
модуль флэш-памяти.
2.4.3 Вспомогательные функции и их назначение
lcd_clear() - вызывается при необходимости устранить информацию, в данный
момент находящуюся на дисплее, поскольку, в связи с особенностями отображения
информации на ЖКИ, более короткая строка при выводе заменит лишь ту часть уже
выведенной информации, какова длина этой строки. Например, строка «ПОГОДА»
заменит только часть строки «ИНФОРМАЦИЯ», в результате чего на дисплее
отобразится «ПОГОДААЦИЯ». Для недопущения подобных случаев и используется
команда очистки цифробуквенного ЖК-дисплея.
sprintf(lcd_buffer, "%2i:%2i:%2i", hour,min,sec) - запись каких-либо необходимых данных (например hour,min,sec) в
буфер lcd_buffer для последующего (не-)форматированного вывода на ЖКИ.
Имеет большое количество доступных опций форматирования выводимой строки.
Например, sprintf(lcd_buffer,
"%2i:%2i:%2i",
hour,min,sec)
выведет на дисплей три группы целых чисел, разделенных символом двоеточия. Для
каждой группы отведено ровно две ячейки. В случае, если число будет занимать
менее двух разрядов, возможно опционально указать замещение недостающего
старшего разряда пустым символом либо нулем._puts(lcd_buffer) - вывод данных из
буфера lcd_buffer, в котором находится некоторая строка, на
ЖКИ._gotoxy(0,0) - перемещение курсора печати символа по строками и столбцам
ЖКИ. Координаты Х, Y соответствуют
порядковому номеру строки и столбца символа на ЖКИ, то есть ячейки. Например,
команда lcd_gotoxy(1,0) перемещает курсор вывода символа на вторую строку,
первый столбец (нумерация строк и столбцов идет не с единицы, а с
нуля)._putsf("FIRMWARE v1.14") - помещает на ЖКИ символ или строку в
ячейку, указанную курсором в данный момент. Если строка не помещается на
соответствующую строку дисплея, то она не переносится на следующую, а
обрезается по правому краю. Таким образом, на дисплее окажутся только то
количество символов, которое можно отобразить в одной строке.
delay_us(10) - процедура задержки по времени.
Возможно указание конкретных единиц времени задержки. Например delay_us(10) даст задержку в 10 микросекунд, delay_ms(10)
- задержку в 10 миллисекунд, delay_s(10) - задержку в 10 секунд
соответственно.
2.5 Разработка топологии печатной платы
Для разработки топологии печатной платы был использован программный
комплекс Proteus, позволяющий, помимо разработки
топологии печатной платы, симулировать работу реальных компонентов АПК. Для
создания чертежа применяется трассировка - метод, при котором программа
изначально ищет любые возможные пути прокладывания дорожек на печатной плате (с
учетом указанного количества слоев, в нашем случае их число составляет два),
затем, пошагово, оптимизирует длину каждой дорожки до возможного минимума. По
необходимости углы, под которыми изгибаются дорожки на печатной плате, по
умолчанию равные 90°, скашиваются до 45°. Часто это требуется самим
производителем микроконтроллеров в силу особенностей распространения
электромагнитного излучения и его воздействия на микроконтроллер. По мере
необходимости указываются контактные площадки для питания всей схемы в целом,
возможно изменение положения дорожек либо прочерчивание полностью вручную.
Чертеж двусторонней печатной платы приведен на рисунке 2.7.
Голубым цветом обозначены реальные границы корпусов деталей,
располагающихся на плате, красным - точки пайки деталей, желтым - дорожки,
расположенные со стороны деталей, фиолетовым - дорожки, пролегающие с обратной
стороны платы. Зеленая рамка вокруг платы указывает на физические границы
печатной платы. Зеленые точки на чертеже обозначают сквозные контактные
отверстия, необходимые для перехода соединительной дорожки с одной стороны
платы на другую. Большие фиолетовые площадки в нижней части чертежа являются
площадками подачи питания, возможна реализация как клемм или иных видов контактов
на усмотрение предприятия, на котором будет установлено оборудование.
Рисунок 2.7 - Трассировка печатной платы.
Так же на рисунке обозначены следующие элементы:
U1 -
микроконтроллер PIC;
Q1, Q2, Q3 - транзисторы КТ315Б или их зарубежные аналоги;
X1 -
кварцевый резонатор с частотой резонанса 32 КГц;
C1, C2 - керамические фильтрующие
конденсаторы;
R1, R2 - резисторы, с которых снимается
напряжение, пропорциональное показаниям датчиков;
RL1, RL2, RL3
J1-J6 - контакты и разъемы:
. J6 и J5 соответствуют датчикам температуры и давления;
. J2, J3, J4
используются для подключения более мощных релейных механизмов - запорных
клапанов, кабеля обмотки электронагревателя и перегревателя пара.
.6 Разработка интерфейса
Поскольку не используется какого либо программного обеспечения,
требующегося для нормальной работы аппаратно-программного комплекса, весь
интерфейс комплекса сводится к отображаемой на цифробуквенном ЖК-дисплее
информации, индикаторного модуля на светодиодах и двух кнопок настройки
времени. Технологически рабочее место оператора аппаратно-программного
комплекса должно представлять собой помещение, в котором имеется панель,
собранная из определенного количества дисплеев, отображающих астрономическое
время и влажность для каждого из котлов либо тепломагистралей. Рядом с
дисплеями должны быть расположены индикаторные светодиоды, оповещающие о
состоянии пара в тепломагистралях и расположенные в корпусах с нумерацией
соответствующего теплоканала. По необходимости рядом с соответствующим дисплеем
могут быть расположены кнопки настройки астрономического времени, реализованные
по усмотрению предприятия, на котором установлена система контроля сухости
пара. То могут быть любые кнопки, отвечающие критерию отсутствия дребезга
контактов (сенсорная панель, D-триггерная
микросхема либо иной метод реализации антидребезга).
3. Технологический раздел
В данном разделе описаны технологии работы с микроконтроллерами при
использовании интерфейса USB,
технология программирования микроконтроллеров и работа в среде MPLAB для МК PIC
фирмы MicroChip.
3.1 Технология работы по интерфейсу USB
, сокращение от Universal Serial Bus, - универсальная последовательная
шина, стандарт внешней шины, поддерживающий скорость передачи данных 12 Mbps
(12 миллионов бит в секунду). К единственному порту USB можно подсоединять до
127 периферийных устройств, таких как мыши, модемы, клавиатуры. Следовательно,
если на нашей материнской плате есть 8 USB портов + все слоты PCI на
материнской плате будут заняты контроллерами USB с 4-мя портами каждый, то мы,
теоретически, можем подключить к компьютеру до 4064 устройств. USB также
поддерживает Plug-and-Play и горячую замену. Для комфортной работы с
микроконтроллерами вполне достаточно спецификации USB 2.0, реализованной в 2000 году.
Так же, этот тип интерфейса имеет большой плюс для работы с
микроконтроллерами: напряжение на выходе USB-порта приблизительно соответствует напряжению питания
большинства микроконтроллеров ( +5 В и +5,5 В соответственно). С учетом низкого
энергопотребления микроконтроллеров и возможности их работы за заниженном
напряжении, USB становится отличным источником
питания для самого микроконтроллера, что исключает необходимость подключения
дополнительных источников питания (как, например +12 В либо +3,3 В), либо
конверторов напряжения, в отличие от RS-232 или LPT (пример:
микросхема MAX332, преобразующая логические уровни
интерфейсов ПК в логические уровни микроконтроллера).
Высокая скорость работы и универсальность интерфейса USB делают возможным программирование
практически любых микроконтроллеров посредством данного интерфейса
. К примеру, микроконтроллеры фирмы MicroChip серии PIC18Fхххх
имеют поддержку интерфейса USB,
что дает возможность загрузки прошивки в МК без использования специальных
устройств - программаторов, которые, порой, могут представлять собой достаточно
сложные технические решения, стоимость которых может превышать стоимость самого
микроконтроллера. Типичным примером может стать микроконтроллер PIC18F2458,
имеющий поддержку интерфейса USB
для работы с этим микроконтроллером. Через интерфейс USB возможна передача данных от МК к другому МК,
компьютеру, аналогично - получение данных, прошивка микроконтроллера.
В случае отсутствия прямой поддержки интерфейса USB, для работы с микроконтроллерами применяют
программаторы. В качестве примера можно привести микроконтроллер ATmega328, выпускаемый компанией ATMEL. Этот МК часто применяется в
частично автоматизированных системах, управляемых человеком, но рассчитанных на
реакцию с окружающей средой в реальном времени и коррекцию состояния с учетом
устранения ошибок человеческого контроля. Для работы с микроконтроллером ATmega328 используется интерфейс FTDI либо I2C. Проблема же
заключается в отсутствии прямой поддержки данных интерфейсов персональным компьютером.
Вследствие чего приходится использовать программатор, подключаемый по
интерфейсу USB (либо аналогичному) к персональному
компьютеру, и специальные среды разработки. Алгоритм работы подобных комплексов
приблизительно следующий:
Программная среда определяет наличие подключенного программатора и
создает виртуальный порт (к примеру, RS-232-типа), на самом деле являющимся портом USB;
Происходит передача данных от компьютера к микроконтроллеру. Программатор
преобразует сигналы, полученные по интерфейсу USB с виртуального порта, в электрические сигналы,
необходимые для корректной прошивки микроконтроллера.
В некоторых случаях возможна двусторонняя связь ПК и МК, например
калибровка МК в режиме реального времени (при работе с датчиками температуры,
давления, гироскопом, акселерометром и т.д.)
В основном, один программатор рассчитан на линейку каких-либо МК, но так
же возможно, что для МК требуется особое устройство.
3.2 Технология программирования
микроконтроллеров
Микроконтроллеры используются во всех сферах жизнедеятельности человека,
устройствах, которые окружают его. Простота подключения и большие
функциональные возможности. С помощью программирования микроконтроллера можно
решить многие практические задачи аппаратной техники.
Можно считать, что микроконтроллер (МК) - это компьютер, разместившийся в
одной микросхеме. Отсюда и его основные привлекательные качества: малые
габариты; высокие производительность, надежность и способность быть
адаптированным для выполнения самых различных задач.
Микроконтроллер, помимо центрального процессора (ЦП), содержит память и
многочисленные устройства ввода/вывода: аналого-цифровые преобразователи,
последовательные и параллельные каналы передачи информации, таймеры реального
времени, широтно-импульсные модуляторы (ШИМ), генераторы программируемых
импульсов и т.д. Его основное назначение - использование в системах
автоматического управления, встроенных в самые различные устройства: кредитные
карточки, фотоаппараты, сотовые телефоны, музыкальные центры, телевизоры, видеомагнитофоны
и видеокамеры, стиральные машины, микроволновые печи, системы охранной
сигнализации, системы зажигания бензиновых двигателей, электроприводы
локомотивов, ядерные реакторы и многое, многое другое. Достаточно широкое
распространение имеют МК фирмы MicroChip, которые располагают большими функциональными возможностями.
Применение МК можно разделить на два типа: первый - программирование,
когда пользователь разрабатывает программу и прошивает ее непосредственно в
кристалл, и второй - согласование спроектированных исполнительных устройств с
программируемым МК. Значительно облегчают отладку программы на первом этапе -
симулятор, который наглядно моделирует работу микропроцессора. На втором этапе
для отладки используется внутрисхемный эмулятор, который является сложным и
дорогим устройством, зачастую недоступным рядовому пользователю.
В тоже время в литературе мало уделено внимания вопросам обучения
программированию некоторых недорогих МК, в сочетании с реальными
исполнительными устройствами.
Разработка макета программатора отличающегося простотой, наглядностью и
низкой себестоимостью, становиться необходимой как для самого программирования
кристаллов, так и для наглядного обучения широкого круга пользователей основам
программирования МК.
для выполнения поставленной задачи мною был выбран микроконтроллер фирмы
MicroChip PIC18f252, так как он
имеет невысокую стоимость. Несмотря на то, что данный микроконтроллер не
отличается высокой скоростью, он нас вполне устраивает, так как из-за специфики
задачи фактор скорости не важен.IDE -
это среда разработки от производителей микроконтроллеров PIC
Далее описан пример создания проекта в ней:
) Установка MPLAB + HI-TECH компилятор (используется компилятор языка С++;
возможно использование языка ассемблера с применением соответствующего
компилятор)
) Запускаем MPLAB, в меню "Проект" выбираем "Мастер
проекта…"
На появившейся заставке мастера нажимаем "Далее" и в следующем
диалоге выбираем модель МК который хотим использовать
Нажимаем "Далее" и во втором шаге указываем компилятор.
Если компилятора не окажется в списке, то находим его вручную и
указываем.
Нажимаем "Далее" и в следующем шаге-окне нажимаем
"Обзор" и создаем папку для проекта - например такую :
микроконтроллер плата проектирование программирование
Даем название проекту и нажимаем "Сохранить"
Должно получиться следующее:
Нажимаем "Далее".
В этом окне можно было бы вставить файлы в проект, например файлы с
исходными текстами программы или библиотеки.
Работа мастера завершена, в появившемся окне показан отчет:
Нажимаем "Готово".
Теперь в папке проекта располагаются следующие файлы:
Создаем файл с исходным текстом программы на Си:
В MPLAB создаем новый файл - меню "File" > "New" и
сохраняем его "File" > "Save as" под именем main.c
Не забываем поставить Add File To Project- это присоединит наш файл к проекту, в противном
случае мы получим файл, который просто располагается в каталоге проекта.
Теперь нужно набрать в этом окне сам текст программы:
#include <18f252.h>
__CONFIG (INTIO & UNPROTECT & LVPDIS & BOREN
& MCLRDIS & PWRTEN & WDTDIS);main (void)
{(1); // бесконечный цикл
}
Выполняем компиляцию проекта, нажав F10
В результате должно появиться новое окно:
Самое важное - это сообщение об успешной компиляции "BUILD
SUCCEEDED". В случае появления сообщения об ошибке уже на этом этапе,
вероятнее всего есть ошибка в установке компилятора либо самой среды
разработки.
В окно "Output" выводятся все сообщения о ходе работа
инструментов пакета MPLAB - мы видим сейчас в нём подробности процесса
компиляции. Если бы при компиляции возникли ошибки или предупреждения, то они
тоже выводились бы в это окно.
Средой разработки в папке проекта были созданы новые файлы:.hex - это
файл "прошивка" для загрузки в реальный МК.cof - это файл с
информацией для отладки в симуляторах по исходному тексту программы на Си,
например в PROTEUS - это очень удобно.
Виртуальный микроконтроллер PIC18F252 с программой откомпилирован и готов
начать работать.
4. Безопасность жизнедеятельности
При работе на ПЭВМ на пользователя действуют множество опасных и вредных
факторов. В разделе «Безопасность жизнедеятельности» будет проведен анализ
вредного воздействия на пользователя ПЭВМ при нерациональной планировке
рабочего места, будут рассмотрены мероприятия по организации безопасности
рабочего места, а также произведена экологическая оценка компьютерного лома и
методов их переработки. В качестве уточнения следует отметить, что разработка
мер безопасности будет вестись не только для домашних ПЭВМ, но и для ПЭВМ
установленных на промышленных предприятиях.
Безопасность жизнедеятельности (БЖД) - наука о комфортном и
травмобезопасном взаимодействии человека со средой обитания. Является составной
частью системы государственных, социальных и оборонных мероприятий, проводимых
в целях защиты населения и хозяйства страны от последствий аварий, катастроф,
стихийных бедствий, средств поражения противника. Целью БЖД также является
снижение риска возникновения чрезвычайной ситуации по вине человеческого
фактора.
БЖД выполняет 3 основные задачи:
1. Идентификация вида опасности с указанием её количественных
характеристик и координат.
2. Защита от опасности на основе сопоставления затрат и выгод.
. Ликвидация возможных опасностей исходя из концентрации и
остаточного риска и ликвидация последствий воздействия на человека опасности.
В данном разделе дипломного проекта проводится анализ опасных и вредных
факторов при работе с ПЭВМ. Для предупреждения и устранения воздействия этих
факторов и возможных чрезвычайных ситуаций приводится разработанный комплекс
организационных мероприятий и технических средств защиты, устраняющих или
сводящих к минимуму их воздействия.
4.1 Анализ опасных и вредных факторов,
сопутствующих работе на ПЭВ
.1.1 Опасные и вредные факторы, воздействующие
на пользователя ПЭВМ
Анализ вредных факторов, влияющих на условия труда, разработчика
программного продукта проведен в соответствии с [4.1 - 4.3]. Основными опасными
и вредными факторами возникающие при нерациональной планировке помещений и
рабочего места пользователя ПЭВМ являются:
1. Опасность пожара;
2. Опасность, вызванная влиянием электромагнитных излучений;
3. Нерациональная организация рабочего места оператора;
4. Нерациональная организация рабочего времени с ПЭВМ.
Пожары в помещениях с ПЭВМ представляют особую опасность, так как
сопровождаются большими материальными потерями. Характерная особенность
помещений с ПЭВМ - небольшие площади помещений. Как известно, пожар может
возникнуть при взаимодействии горючих веществ, окислителя и источников
зажигания. Горючими компонентами в помещениях с ПЭВМ являются: строительные
материалы для акустической и эстетической отделки помещений, перегородки,
двери, полы, перфокарты и перфоленты, изоляция кабелей и др. Источниками
зажигания в помещениях с ПЭВМ могут быть электрические схемы от ЭВМ, приборы,
применяемые для технического обслуживания, устройства электропитания,
кондиционирования воздуха, где в результате различных нарушений образуются
перегретые элементы, электрические искры и дуги, способные вызвать загорания
горючих материалов. Кроме того, в современных ПЭВМ очень высокая плотность
размещения элементов электронных схем. В непосредственной близости друг от
друга располагаются соединительные провода, кабели. При протекании по ним
электрического тока выделяется значительное количество теплоты. При этом возможно
оплавление изоляции. Для отвода избыточной теплоты от ЭВМ служат системы
вентиляции и кондиционирования воздуха. При постоянном действии эти системы
представляют собой дополнительную пожарную опасность.
На пользователей ЭВМ воздействует электромагнитное излучение видимого
спектра, крайне низких, сверхнизких и высоких частот. При эксплуатации
мониторов на электронно-лучевых трубках в рабочих зонах регистрируются
статические электрические и импульсные электрические и магнитные поля низкой и
сверхнизкой частоты, создаваемые системами кадровой и строчной развертки.
Временные допустимые уровни электромагнитного поля, создаваемых ПЭВМ на рабочих
местах пользователей представлены в таблице 4.1.
Таблица 4.1 - Временные допустимые уровни ЭМП
|
Наименование параметров
|
ВДУ
|
|
Напряженность
электрического поля
|
в диапазоне частот 5 Гц-2
кГц
|
25В/М
|
|
в диапазоне частот 2 кГц-400
кГц
|
2,5 В/м
|
|
Плотность магнитного потока
|
в диапазоне частот 5 Гц-2
кГц
|
250нТл
|
|
в диапазоне частот 2 кГц-400
кГц
|
25нТл
|
|
Напряженность электростатического
поля
|
15кВ/м
|
Повышенные статические и динамические нагрузки у пользователей ПЭВМ
приводят к жалобам на боли в спине, шейном отделе позвоночника и руках.
Необходимость сидеть в течение дня, монотонность работы за компьютером приводят
также к сколиозу и заболеваниям желудка. Чаще всего причинами этих жалоб
являются недомогания, возникающие вследствие нерациональной планировки
помещения и рабочего места пользователя. Эти недомогания накапливаются
постепенно и получили название “синдром длительных статических нагрузок”
(СДСН). Причиной возникновения СДСН может быть длительное пребывание в
положении “сидя”, которое приводит к сильному перенапряжению мышц спины и ног,
в результате чего возникают боли и неприятные ощущения в нижней части спины.
Основной причиной перенапряжения мышц спины и ног являются нерациональная
высота рабочей поверхности стола и сидения, отсутствие опорной спинки и
подлокотников, неудобное размещение монитора, клавиатуры и документов,
отсутствие подставки для ног. Нерациональная организация рабочего места
пользователя создает дополнительную возможность нанесения травм. Для
существенного уменьшения боли и неприятных ощущений, возникающих у
пользователей ПЭВМ, необходимы эргономические усовершенствования, в том числе
оборудование рабочего места так, чтобы исключать неудобные позы и длительные
напряжения.
Еще одним фактором риска для пользователей ПЭВМ является необходимость
практически во время всего рабочего дня смотреть в экран монитора. Врачи
предостерегают, что если не давать глазам отдохнуть, может значительно
снизиться острота зрения. Причиной этого являются токсины усталости, которые
возникают в организме именно из-за малоподвижного образа жизни. Незаметно
скапливаясь в организме, они вызывают многие заболевания. Для предупреждения преждевременной
утомляемости пользователей ПЭВМ рекомендуется организовывать рабочую смену
путем чередования работ с использованием ПЭВМ и без него. Во время
регламентированных перерывов с целью снижения нервно-эмоционального напряжения,
утомления зрительного анализатора, устранения влияния гиподинамии и
гипокинезии, предотвращения развития позотонического утомления целесообразно
выполнять комплексы упражнений. Работающим на ПЭВМ с высоким уровнем
напряженности во время регламентированных перерывов и в конце рабочего дня
рекомендуется психологическая разгрузка в специально оборудованных помещениях
(комната психологической разгрузки).
4.1.2 Требования к освещению на рабочих местах,
оборудованных ПЭВМ
Рабочие столы следует размещать таким образом, чтобы видеодисплейные
терминалы были ориентированы боковой стороной к световым проемам, а
естественный свет падал преимущественно слева.
Искусственное освещение в помещениях для эксплуатации ПЭВМ должно
осуществляться системой общего равномерного освещения. В производственных и
административно-общественных помещениях, в случаях преимущественной работы с
документами, следует применять системы комбинированного освещения (к общему
освещению дополнительно устанавливаются светильники местного освещения,
предназначенные для освещения зоны расположения документов).
Освещенность на поверхности стола в зоне размещения рабочего документа
должна быть 300-500 лк. Освещение не должно создавать бликов на поверхности
экрана. Освещенность поверхности экрана не должна быть более 300 лк.
Следует ограничивать прямую блесткость от источников освещения, при этом
яркость светящихся поверхностей (окна, светильники и др.), находящихся в поле
зрения, должна быть не более 200 кд/м2.
Следует ограничивать отраженную блесткость на рабочих поверхностях
(экран, стол, клавиатура и др.) за счет правильного выбора типов светильников и
расположения рабочих мест по отношению к источникам естественного и
искусственного освещения, при этом яркость бликов на экране ПЭВМ не должна
превышать 40 кд/м2 и яркость потолка не должна превышать 200 кд/м2.
Показатель ослепленности для источников общего искусственного освещения в
производственных помещениях должен быть не более 20. Показатель дискомфорта в
административно-общественных помещениях не более 40.
Яркость светильников общего освещения в зоне углов излучения от 50 до 90°
с вертикалью в продольной и поперечной плоскостях должна составлять не более
200 кд/м2, защитный угол светильников должен быть не менее 40°.
Светильники местного освещения должны иметь непросвечивающий отражатель с
защитным углом не менее 40°.
Следует ограничивать неравномерность распределения яркости в поле зрения
пользователя ПЭВМ, при этом соотношение яркости между рабочими поверхностями не
должно превышать 3 :1-5 : 1, а между рабочими поверхностями и поверхностями
стен и оборудования 10 : 1.
В качестве источников света при искусственном освещении следует применять
преимущественно люминесцентные лампы типа ЛБ и компактные люминесцентные лампы
(КЛЛ). При устройстве отраженного освещения в производственных и
административно-общественных помещениях допускается применение
металлогалогенных ламп. В светильниках местного освещения допускается
применение ламп накаливания, в т. ч. галогенных.
Для освещения помещений с ПЭВМ следует применять светильники с
зеркальными параболическими решетками, укомплектованными электронными
пуско-регулирующими аппаратами (ЭПРА). Допускается использование многоламповых
светильников с ЭПРА, состоящими из равного числа опережающих и отстающих
ветвей.
Применение светильников без рассеивателей и экранирующих решеток не
допускается.
При отсутствии светильников с ЭПРА лампы многоламповых светильников или
рядом расположенные светильники общего освещения следует включать на разные
фазы трехфазной сети.
Общее освещение при использовании люминесцентных светильников следует
выполнять в виде сплошных или прерывистых линий светильников, расположенных
сбоку от рабочих мест, параллельно линии зрения пользователя при рядном
расположении видеодисплейных терминалов. При периметральном расположении
компьютеров линии светильников должны располагаться локализовано над рабочим
столом ближе к его переднему краю, обращенному к оператору.
Коэффициент запаса (Кз) для осветительных установок общего освещения
должен приниматься равным 1,4.
Коэффициент пульсации не должен превышать 5 %.
Для обеспечения нормируемых значений освещенности в помещениях для
использования ПЭВМ следует проводить чистку стекол оконных рам и светильников
не реже двух раз в год и проводить своевременную замену перегоревших ламп.
Экологическая оценка переработки узлов компьютерной техники содержащей
драгметаллы
Конструкция любого вычислительного комплекса имеет в своем составе
черные, цветные, драгоценные и редкие металлы, из которых изготавливаются:
- корпус, рамы, стойки, блоки и другие вспомогательные устройства (черные
металлы);
- провода для соединений, печатные платы, рисунок печатных плат
(цветные и драгоценные металлы);
- на печатных платах установлены электроэлементы, содержащие
драгоценные металлы, такие как золото, серебро и платина.
Таблица 4.3 - Химический состав компонентов компьютера
|
Химический элемент
|
Доля в компонентах
компьютера, %
|
25
|
|
Пластмасса
|
23
|
|
Железо
|
20
|
|
Алюминий
|
14
|
|
Медь
|
7
|
|
Свинец
|
6
|
|
Цинк
|
2
|
|
Олово
|
1
|
|
Никель
|
1
|
|
Другие вещества
|
1
|
Вышедшие из употребления стойки, блоки, панели, каркасы и т.д. относятся
к лому, который подлежит сортировке по виду металла.
До недавнего времени при утилизации старых компьютеров происходила их
разработка на фракции: металлы, пластмассы, стекло, провода, штекеры. Вторичные
ресурсы металлов складываются из лома (3-4 %) и отходов (57 %). Из одной тонны
компьютерного лома получают до 200 кг меди, 480 кг железа и нержавеющей стали,
32 кг алюминия, 3 кг серебра, 1 кг золота и 300 г палладия.
В настоящее время разработаны следующие методы переработки компьютерного
лома и защиты литосферы от него:
- сортировка печатных плат по доминирующим материалам;
- дробление и измельчение;
- гранулирование, в отдельных случаях сепарация;
- обжиг полученной массы для удаления сгорающих компонент;
- расплавление полученной массы, рафинирование;
- прецизионное извлечение отдельных металлов;
- создание экологических схем переработки компьютерного лома;
- создание экологически чистых компьютеров.
В процессе переработки печатных плат и электроэлементов получают гpанулы.
Разделенные по видам металлов, rpанулы плавят в отдельных индукционных печах.
Золото, серебро, металлы платиновой группы выплавляют прутками в обогащенном
виде, после чего окончательно обрабатывают, чтобы получить каждый металл в
отдельности.
Для утилизации и переработки отходов, которые образуются после окончания
срока эксплуатации ПЭВМ, ЭВМ, металл отправляют в переплав на предприятия
черной и цветной металлургии и предприятия по извлечению драгоценных металлов
из узлов. Остальные отходы отправляются на полигоны для захоронения твердых
отходов.
Переработку целесообразно проводить в местах образования отходов, что
сокращает затраты на погpузочные работы, снижает безвозвратные потери при их
транспортировке и высвобождает транспортные средства.
Эффективность использования лома и отходов металла зависит от их
качества. Загpязнение и засорение металлоотходов приводят к большим потерям при
переработке, поэтому сбор, хранение и сдача их регламентируется специальными
стандартами.
В соответствии с требованиями СН и П 2.01.08-85 переработку промышленных
отходов производят на специальных полигонах, предназначенных для
централизованного сбора, обезвреживания и захоронения токсичных отходов
промышленных предприятий, которые образуются как при изготовлении новых,
приборов (в том числе и печатных плат), так и при утилизации вышедших из строя.
При работе на ЭВМ на пользователя действуют множество
опасных и вредных факторов. В разделе «Безопасность жизнедеятельности» был
проведен анализ вредного воздействия на пользователя ПЭВМ при нерациональной
планировке рабочего места, рассмотрены мероприятия по организации безопасности
рабочего места, а также произведена экологическая оценка компьютерного лома и
методов их переработки.
5. Экономический раздел
.1 Планирование разработки
аппаратно-программного комплекса с использованием метода СПО
В данном разделе мы рассмотрим основные этапы разработки комплекса, а
также финансовые, трудовые и временные затраты и вычислим экономическую
эффективность данного проекта. Основными этапами разработки
аппаратно-программного комплекса диагностики течей в турбогенераторах являются:
Разработка аппаратной части (РА) - включает в себя проектирование
печатной платы, выбор необходимых элементов и покупка их в уже собранном виде.
Разработка программной части (РП) - включает в себя написание общей
структуры алгоритма, написание непосредственно кода программы.
Синхронизация аппаратной и программных частей (САП) - включает в себя
программирование микроконтроллера (внедрение программы), тестирование готового
прибора и отладку возможных ошибок в коде.
Подготовка документации (ПД) - включает в себя описание кода программы,
описание интерфейса, схема печатной платы с описанием элементов.
Таблица 5.1 - Этапы и состав работ.
|
Этап
|
Состав работ
|
Траб, час.
|
Трудозатраты час.
|
Кол-во человек
|
|
1
|
2
|
3
|
4
|
5
|
|
РА
|
Проектирование печатной
платы
|
9
|
9
|
1
|
|
Выбор элементов и покупка
|
5
|
5
|
1
|
|
РП
|
Написание структуры
алгоритма
|
10
|
10
|
1
|
|
Написание кода программы
|
90
|
90
|
1
|
|
САП
|
Внедрение программы
|
3
|
3
|
1
|
|
Тестирование и отладка
программы
|
10
|
0
|
1
|
|
ПД
|
Описание кода программы
|
3
|
3
|
1
|
|
Описание интерфейса
программы
|
3
|
3
|
1
|
|
Схема ПП с описанием
элементов
|
3
|
3
|
1
|
Таблица 5.2 - Показатели событий и работ сетевого графика.
|
Наименование события
|
Обозначение работы
|
Код работы
|
Наименование работы
|
Тц
|
W
|
|
Проектирование завершено
|
А
|
0-1
|
Проектирование печатной
платы
|
9
|
1
|
|
Элементы куплены
|
Б
|
1-2
|
Выбор элементов и их
покупка
|
5
|
1
|
|
Структура написана
|
В
|
2-3
|
Написание структуры
алгоритма
|
10
|
1
|
|
Код написан
|
Г
|
3-4
|
Написание кода программы
|
90
|
1
|
|
Программа внедрена
|
Д
|
4-5
|
Внедрение программы
|
3
|
1
|
|
Программа отлажена
|
Е
|
5-6
|
Тестирование и отладка
программы
|
10
|
1
|
|
Код задокументирован
|
Ж
|
6-7
|
Описание кода программы
|
3
|
1
|
|
Интерфейс задокументирован
|
З
|
7-8
|
Описание интерфейса
программы
|
3
|
1
|
|
Схема задокументирована
|
И
|
8-9
|
Схема ПП с описанием
элементов
|
3
|
1
|
5.2 Построение оптимизированного сетевого
графика
Рисунок 5.1 - Неоптимизированный сетевой граф, критический путь 136 часов
Рисунок 5.2 - Сетевой граф оптимизирован, критический путь 127 часов.
5.3 Расчет технико-экономических показателей и
экономической эффективности проекта
Теперь рассчитаем экономическую эффективность нашего проекта.
5.3.1 Расчет сметной стоимости проектирования
программного модуля
Стоимость комплекса вычисляется по формуле:
Кпр=1,18*Спр+Ез
где:
Cпр -
вложения, необходимые для разработки и внедрения, рубли;
Kпр -
полная стоимость модуля, с учетом НДС, рубли.
Ез - единовременные затраты, рубли
Вложения, необходимые для разработки и внедрения модуля рассчитываются по
формуле:
где:
Cосн -
основная заработная плата разработчиков;
Cдоп -
дополнительная заработная плата разработчиков;
Cотч -
сумма отчислений с заработной платы;
Cмаш -
стоимость машинного времени;
Cн -
накладные расходы.
Основная заработная плата разработчиков зависит от количества
разработчиков, времени разработки и оклада работников. Над данным комплексом
работает один человек с окладом в 20000 руб./мес., или 120 руб./час. Таким
образом, при продолжительности проекта в 136 рабочих часов при
неоптимизированном сетевом графе, основная заработная плата составит:
Сосн = 136*120 = 16320 руб.
Дополнительных выплат по данному проекту не предусмотрено, поэтому
Cдоп =
0 руб.
Сумма отчислений на социальные нужды, согласно Налоговому кодексу РФ,
составит:
Сотч = Сосн*0,34 = 16320*0,34 = 5549 руб.
Для расчета стоимости машинного времени необходимо вычислить отчисления
на амортизацию Змв и затраты на электроэнергию Зэ. Примем стоимость
оборудования, на котором велась разработка, за 14 000 руб. Тогда при норме
амортизации 12,5% в год и примерно 17 днях работы техники, отчисления на
амортизацию составят:
Змв = 14000*0,125*17/249 = 119 руб.
Расходы на электроэнергию вычисляются по формуле:
где:
W -
потребляемая мощность, Вт; для имеющегося оборудования 500 Вт;
T - количество
часов работы оборудования, T = 17
8 = 136
ч;
S - стоимость
киловатт-часа электроэнергии, 3,35 руб.
Зэ
= 0,5*136*3,35 = 228 руб.
Итого,
стоимость машинного времени Смаш составит:
Смаш
= 119+228 = 347 руб.
Накладные
расходы Cн обычно составляют от 60 до 100% от основной
заработной платы и включают транспортные расходы, зарплат управляющему
аппарату, обслуживающему персоналу и т.д. Для данного проекта накладные расходы
составят 60%, тогда:
Сн
= 0,6*Сосн = 0,6*16320 = 9792 руб
По
формуле [5.2] получим стоимость проекта:
Спр
= 16320+5549+347+9792 = 32008 руб.
При
оптимизированном сетевом графе количество рабочих часов сократится до 127
часов, соответственно значения изменяться на:
Сосн
= 127*120 = 15240 руб.
Дополнительных
выплат по данному проекту не предусмотрено, поэтому
Cдоп = 0 руб
Сумма
отчислений на социальные нужды, согласно Налоговому кодексу РФ, составит:
Сотч
= 15240*0,34 = 5182 руб.
Для
расчета стоимости машинного времени необходимо вычислить отчисления на
амортизацию Змв и затраты на электроэнергию Зэ. Примем стоимость оборудования,
на котором велась разработка, за 14 000 руб. Тогда при норме амортизации 12,5%
в год и примерно 16 днях работы техники, отчисления на амортизацию составят:
Змв
= 14000*0,125*16/249 = 112 руб.
Расходы
на электроэнергию вычисляются по формуле (5.3)
W - потребляемая
мощность, Вт; для имеющегося оборудования 500 Вт;
T - количество
часов работы оборудования, T = 16
8 = 128
ч;
S - стоимость
киловатт-часа электроэнергии, 3,35 руб.
Зэ
= 0,5*128*3,35 = 214 руб.
Итого,
стоимость машинного времени Смаш составит:
Смаш
= 112+214 = 326 руб.
Накладные
расходы Cн обычно составляют от 60 до 100% от основной
заработной платы и включают транспортные расходы, зарплат управляющему
аппарату, обслуживающему персоналу и т.д. Для данного проекта накладные расходы
составят 60%, тогда:
Сн
= 0,6*Сосн = 0,6*15240 = 9144 руб
По
формуле [5.2] получим стоимость проекта:
Спр
= 15240+5182+326+9144 = 29892 руб.
Следовательно,
выгода, полученная в ходе оптимизации сетевого графа, составит 2116 рублей.
Единовременные
затраты включают в себя покупку:
)
Микроконтроллер PIC - 500 рублей
)
Электронный преобразователь значений влагосодержания в цифровые сигналы,
отображаемые на дисплее - 4200 рублей
)
Источники электропитания электронных схем - 600 рублей
)
Электронный преобразователь значений влагосодержания в различных зонах
генератора в электрические токовые сигналы в диапазоне токов 4-20 мА - 6000
рублей
Стоимость
проекта составит:
Кпр
= 29892 + 11300 = 41192 руб.
5.3.2 Годовая экономия текущих затрат
В
базовом варианте используется стандартный измеритель влажности в
турбогенераторе, стоимостью около 15000 рублей. Он устанавливается на
турбогенератор при производстве и поэтому мы не рассчитываем его стоимость в
базовом варианте. При подобном положении дел очевидно, что если требуется
единичная копия этого прибора, то наш проект себя не оправдывает с точки зрения
экономической выгоды. Однако если требуется большее количество приборов то
ситуация складывается несколько иная, поскольку ПО к прибору разрабатывать не
требуется, то производство второй копии прибора потребует 11300 рублей единовременных
затрат.
Имея
эти данные, мы можем получить, что минимальный заказ дающий экономию составляет
9 приборов. При подобной ситуации экономия(∆C) составляет:
∆С
= 9*15000-(11300*9+29892) = 135000-131592 = 3408 руб.
Несложно
теперь вывести формулу экономии в зависимости от количества требуемых приборов(N):
∆С
= (N-9)*3700+3408
Таким
образом, при заказе, допустим 100 приборов, мы получим экономию:
∆С
= (100-9)*3700+3408 = 341040 руб.
Основным
достоинством данного проекта является не столько экономическая выгода, а
высокая надежность контроля влажности пара в паропроводе, что приводит к
улучшению качества обслуживания потребителей тепла и экономии средств
предприятия-поставщика тепла (как в виде финансовых средств, так и топлива,
уходящего на перегрев пара). Если при стандартном наборе оборудования
вероятность своевременного обнаружения снижения сухости составляет 50-60%, то с
использованием данного микроконтроллера она возрастает до 99%.
Таблица
5.3 - Технико-экономические показатели проекта
|
Наименование показателя
|
Базовый вариант
|
Проектный вариант
|
Экономия
|
|
1
|
2
|
3
|
4
|
|
Стоимость единичной копии
прибора, руб.
|
15 000
|
11 300
|
3 700
|
|
Стоимость партии из 8
приборов (+затраты на разработку - в проектном варианте), руб.
|
135 000
|
131 592
|
3 408
|
|
Стоимость партии из 100
приборов (+затраты на разработку - в проектном варианте), руб.
|
1 500 000
|
1 159 892
|
340 108
|
Заключение
Задача, поставленная при разработке данного дипломного проекта, была
решена. Система разработана, отлажена и протестирована.
В исследовательском разделе произведен анализ принципов определения
сухости водяного пара в системах теплоснабжения и метод реализации вычислений
на микроконтроллере. Эта информация послужила основой для разработки
программного комплекса. На основе анализа для реализации дипломного проекта
была выбран микроконтроллер серии PIC и интегрированная среда программирования MPLAB X.
В специальном разделе выполнено проектирование принципиальной схемы и
топологии печатной платы, разработано алгоритмическое и программное обеспечение
для разрабатываемого комплекса.
В технологическом разделе описана технология работы с микроконтроллерами
по интерфейсу USB и технология разработки программы
для микроконтроллера.
В разделе "Безопасность жизнедеятельности" проведен анализ
опасных, вредных факторов и чрезвычайных ситуаций, возникающих при эксплуатации
компьютерной техники, подробно рассмотрены мероприятия по снижению синдрома
длительных зрительных нагрузок, а также проведена комплексная оценка
компьютерной техники с точки зрения ее влияния на экологию.
В экономическом разделе проведено планирование разработки
программно-аппаратного комплекса. Это позволило определить состав работ, этапы
и стадии разработки программы, построить и оптимизировать сетевой график.
Продолжительность работ в сетевом графике до оптимизации составила 136
часов, после оптимизации - 127 часов. Также произведен расчет основных
показателей экономической эффективности. Годовая экономия текущих затрат
составила 3408 рублей на каждый прибор, так же необходимо учитывать экономию
средств и топлива предприятия-поставщика тепла и улучшение позиций с
потребителями. Таким образом, обеспечивается не только материальная
эффективность.
Список использованных источников
Белов А.Б.
Конструирование устройств на микроконтроллерах / Наука и Техника, 2009. - 255
с.
Предко М.
Руководство по микроконтроллерам. Том 1. / Пер. с англ. под ред.И. И. Шагурина
и С.Б. Лужанского - М.: Постмаркет, 2011. - 416 с.
Предко М.
Руководство по микроконтроллерам. Том 2. / Пер. с англ. под ред.И. И. Шагурина
и С.Б. Лужанского - М.: Постмаркет, 2011. - 488 с.
Вуд А.
Микропроцессоры в вопросах и ответах. / Пер. с англ. под ред. Д.А. Поспелова. -
М.: Энергоатомиздат. 1985. - 184 с.
Алексенко
А.Г., Шагурин И.И. Микросхемотехника. - М.: Радио и связь, 1990. - 496 с.
СанПиН
2.2.2/2.4.1340-13. Гигиенические требования к персональным
электронно-вычислительным машинам и организация работы. - М.: Федеральный центр
Госсанэпиднадзора Минздрава России, 2013. -54с.
СН 512-09.
Инструкция по проектированию зданий и помещений для электронно-вычислительных
машин.
ГОСТ
12.2.032-09 ССБТ. Рабочее место при выполнении работ сидя.
Приложение А
Графический материал
Слайд 1 - Постановка задачи
Разработать систему измерения сухости пара, отвечающей следующим
требованиям:
- В качестве управляющей части выступает микроконтроллер
- Автоматическое циклическое измерение сухости пара
- Автоматический перегрев пара в случае снижения сухости до
критического значения
- Силовая часть системы гальванически развязана от управляющей
- Оповещение оператора в реальном времени
- Предусмотрена возможность расширения для подключения внешней
флэш-памяти для журналирования событий
Слайд 2 - Пример реализации прибора
Слайд 3 - Структурная схема
Слайд 4 - Алгоритм работы
нет
да
да
нет
Слайд 5 - Электрическая принципиальная схем
Слайд 6 - Топология печатной платы
Слайд 7 - Технико-экономические показатели проекта
Таблица 5.3 - Технико-экономические показатели проекта
|
Наименование показателя
|
Базовый вариант
|
Проектный вариант
|
Экономия
|
|
1
|
2
|
3
|
4
|
|
Стоимость единичной копии
прибора, руб.
|
15 000
|
11 300
|
3 700
|
|
Стоимость партии из 8
приборов (+затраты на разработку - в проектном варианте), руб.
|
135 000
|
131 592
|
3 408
|
|
Стоимость партии из 100
приборов (+затраты на разработку - в проектном варианте), руб.
|
1 500 000
|
1 159 892
|
340 108
|
Слайд 8 - Сетевой график
Приложение Б
Исходный код программы
#include <pic18xxxx.h>
#include <delays.h>
#include <alcd.h>
#include <stdio.h>
#include <natively.h>char heating = 0;char lockers =
0;humid;temp;temp_old;pres;pres_old;lcd_buffer[31];chan_set = 3;char
LH_time;char j = 1;unsigned char sec = 1;unsigned char min = 2;unsigned char
hour = 3;void int0(void)
{(chan_set <= 3)
{chan_set++; }
{chan_set = 0; }
}void int1(void)
{(j == 0) {(chan_set == 2) {++;_gotoxy(0,0);(lcd_buffer,
"%2i:%2i:%2i", hour,min,sec);_puts(lcd_buffer);
}(chan_set == 1) {++;_gotoxy(0,0);(lcd_buffer,
"%2i:%2i:%2i", hour,min,sec);_puts(lcd_buffer);
}(chan_set == 0) {++;_gotoxy(0,0);(lcd_buffer,
"%2i:%2i:%2i", hour,min,sec);_puts(lcd_buffer);
}
}
}
// Timer2 output compare interrupt service routinevoid
timer2_comp_isr(void)
{
//-------CLOCK----------++; //(sec>=60) //
{sec=0; min++;} //(min>=60) //
{ min=0; hour++;} //(hour>=24) //
{ hour=0;} //
//-----ON_LCD_PRINT-----(j == 0)
{_gotoxy(0,0);_clear();(lcd_buffer, "%2i:%2i:%2i
hm:%4i", hour,min,sec,humid);_puts(lcd_buffer);
//-----ON_CLOCK_SET-----(chan_set == 2) {lcd_gotoxy(7,1);
lcd_putchar('^');}(chan_set == 1) {lcd_gotoxy(4,1); lcd_putchar('^');}(chan_set
== 0) {lcd_gotoxy(1,1); lcd_putchar('^');}
//-----ADC_SENSORS------_time++;
}
}
#define ADC_VREF_TYPE 0x40int read_adc(unsigned char
adc_input)
{=adc_input | (ADC_VREF_TYPE & 0xff);
// Start the AD conversion|=0x40;
// Wait for the AD conversion to complete((ADCSRA &
0x10)==0);|=0x10;ADCW;
}humid_calc(void)
{= (temp_old*pres*100)/(temp*pres_old);
}control_mech(void)
{(LH_time == 3)
{_ms(10);_old = read_adc(0)*5-read_adc(0)/10;_ms(10);_old =
read_adc(1)*5-read_adc(1)/10;= 0;= 0;
}(LH_time == 4)
{= 1;= 1;
}(LH_time == 10)
{_ms(10);= read_adc(0)*5-read_adc(0)/10;_ms(10);=
read_adc(1)*5-read_adc(1)/10;= 0;= 0;_calc();_time = 0;
}
}main(void)
{=0x00;=0x00;=0x00;=0xFF;=0x00;=0x00;=0b11110000;=0b00001111;|=
(1<<INT0)|(1<<INT1);|=
(1<<ISC01)|(0<<ISC00)|(0<<ISC11)|(0<<ISC10);|=(1<<AS2);|=(1<<CS20)|(1<<CS21)|(1<<CS22)|(1<<WGM21);
OCR2=(32-1); // (для 32 тактов OCR0=31!), совпадения с частотой 1
Гц.|=(1<<OCIE2); // Разрешить прерывание по совпадению Т2.=0x00;
// ADC initialization
// ADC Clock frequency: 1000,000 kHz
// ADC Voltage Reference: AVCC pin
// ADC High Speed Mode: Off
// ADC Auto Trigger Source: Free Running=ADC_VREF_TYPE &
0xff;=0xA1;&=0x0F;_init(16);
// Global enable interrupts|= (1<<7);
#asm("sei")_gotoxy(1,0);_putsf("GYGRO+ BY
SOMA");_ms(200);_gotoxy(1,0);_putsf("FIRMWARE
v1.14");_ms(200);(j < 18) {++;_gotoxy(j-2,1);_ms(10);_putchar(0xFF);
}_gotoxy(0,0);_clear();= 0;(1)
{_mech();(heating == 1)
{ PORTD.4 = 1; }
{ PORTD.4 = 0; }(lockers == 1)
{ PORTD.5 = 1; }
{ PORTD.5 = 0; }(humid < 95)
{ PORTD.6 = 1;; // red on.7 = 0; // green off
}
{ PORTD.6 = 0; // red off.7 = 1; // green on
}
}
}