Плазменная резка
1. Плазмотрон
Существует неверное утверждение, что плазмотрон - это полностью вся
установка, предназначенная для резки. На самом деле все немного иначе.
Плазмотрон - это только часть всего аппарата - резак, в котором образуется
плазма и шланг, подключенный к источнику плазмы.
Расходники для плазменной резки - это сопла и катоды. При толщине
металла, который обрабатывается, до 10 мм, одного комплекта расходных
материалов достаточно, как правило, на 1 рабочую смену, т.е. на 8 часов работы.
Обычно сопло плазмотрона и катоды изнашиваются с одинаковой интенсивностью.
Следовательно, организовывать их замену можно одновременно. Несвоевременная
смена расходников может существенно повлиять на качество резки. Например,
вследствие нарушения геометрии сопла может проявляться эффект косого реза и
образование волн на его поверхности. При износе катода постепенно выгорает
гафниевая вставка - ее выработка в объеме более 2 мм может привести к
пригоранию катода и перегреву плазмотрона. Если замена изношенных расходников
происходит не вовремя, более скорому износу подвергаются и остальные
комплектующие плазмотрона. Если же замену производить преждевременно, то это
повлечет за собой неоправданное удорожание технологического процесса.
2. Внутреннее устройство и принцип работы плазмотрона
установок воздушноплазменной резки металла (на примере ПВР402)
Если плазмотрон предусматривает принудительное жидкостное охлаждение, он
включается в магистраль или оборотную систему (вода или непроводящие
антифризы).
Главными функциональными элементами плазмотрона воздушноплазменной резки
являются:
Электрод(катод) имеющий вставку из металла с высокой термоэлектронной
эмиссией(Hf, Zr),
Механизм закрутки плазмообразующего газа (воздуха),
Сопло, электрически изолированное от электрода.
Воздух(Air) или другой плазмообразующий газ(смесь газов), пройдя через
канал внутри электродного узла и механизм закрутки образует вихревой поток
закрученный вдоль продольной оси электрода плазмотрона и выходящий через
геометрически соосный с ним канал сопла.
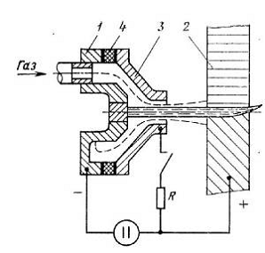
Работа плазмотрона происходит следующим образом:
Генератор высокого напряжения(осциллятор) создаёт электрический потенциал в
промежутке электродсопло плазмотрона, необходимый для возникновения искрового разряда.
Этот разряд поджигает электрическую дугу, которая, возникая, горит между
электродом и соплом плазмотрона и выдувается наружу потоком воздуха через канал
сопла - дежурная дуга плазмотрона. Ток дежурной дуги определяется
токоограничивающим резистором R и составляет обычно 20-60 А . Дежурная дуга,
коснувшись металла, шунтирует ограничивающий резистор R и замыкается на металл
минуя контакта с соплом. Установка плазменной резки переходит в режим рабочей
дуги.
Поток закрученного по спирали воздуха стабилизирует и сжимает столб
рабочей электрической дуги не позволяя ей касаться стенок канала сопла
плазмотрона.
Схема включения плазмотрона в комплексе установки воздушноплазменной
резки
Комплектующие плазмотрона ПВР402
Чтобы во время резки на плазмотрон не попадали брызги расплавленного
металла, металлическая пыль, образующие нагар, на него надевают специальный
защитный кожух, который периодически снимают и очищают от загрязнений. Если
защитный кожух не использовать, то есть риск, что вышеуказанные загрязнения
могут повлиять на качество работы плазмотрона и даже привести к его поломке.
Так же периодически следуют проводить и чистку самого плазмотрона.
Виды плазмотронов существуют в большом количестве. Классифицировать их
можно в зависимости от многих технических характеристик, свойств и принципов
действия.
3. Классификация плазматронов
По роду тока.
По роду тока плазмотроны отличаются наибольшим разнообразием вариантов.
Поэтому рассмотрим лишь основные из них.
Подавляющее большинство плазмотронов для обработки металлов выполняется
на постоянном токе прямой полярности (схема 1). Это объясняется, прежде всего,
физической особенностью дуги, заключающейся в том, что на аноде дуги выделяется
большее количество тепла, чем на катоде. Тепловая мощность, выделяемая в
электроде плазмотрона, в отличие от плавящегося электрода сварочной дуги
является не только бесполезной, но и вредной. Наименьшую тепловую нагрузку
несет электрод, являющийся катодом. Достаточно отметить, что предельно
допустимая токовая нагрузка на лантанированный вольфрамовый электрод на
переменном токе примерно в два раза, а на обратной полярности при использовании
постоянного тока в десять раз ниже, чем на прямой полярности. Поэтому
плазмотроны постоянного тока имеют наиболее высокий коэффициент полезного
использования мощности. Столб интенсивно сжатой дуги должен быть жестко
стабилизирован по оси электрода и сопла плазмотрона. При смене полярности
электрода эта стабилизация нарушается, поэтому дугу переменного тока сжать
труднее, чем дугу постоянного тока. Важным преимуществом плазмотронов
постоянного тока по сравнению с плазмотронами переменного тока является большая
стабильность горения дуги. Прохождение тока через нуль может вызвать погасание
дуги, поэтому обычно напряжение холостого хода источника питания переменным
током не менее чем вдвое превышает рабочее напряжение дуги. При питании
плазмотронов постоянным током можно достичь отношения uд/uxx равного 0,80,9.
Следовательно, при одинаковой мощности дуги установленная мощность и габариты
источника постоянного тока меньше, чем мощность и габариты источника
переменного тока. Кроме того, источник постоянного тока обеспечивает
равномерную загрузку трехфазной сети.
Существовавшая раньше проблема выпрямления постоянного тока в настоящее
время практически решена благодаря созданию и широкому выпуску
электропромышленностью мощных малогабаритных полупроводниковых вентилей.
Первоначальные затраты и расходы на эксплуатацию плазменных установок
переменного и постоянного тока приблизительно равны. Поэтому с учетом
перечисленных выше преимуществ для большинства процессов обработки материалов
целесообразно применять плазмотроны постоянного тока. Плазмотроны переменного
тока применяются в ряде случаев в силу технологических требований процесса.
Например, плазменную сварку алюминиевых сплавов необходимо вести на
переменном токе, так как в периоды обратной полярности за счет действия эффекта
катодного распыления разрушается тугоплавкая пленка окиси алюминия,
препятствующая нормальному процессу сплавления металла. При плазменной плавке в
случае параллельной работы нескольких мощных плазмотронов постоянного тока на
общую ваннуанод возникает трудноустранимое магнитное взаимодействие между
дугами. Поэтому в этих условиях могут быть использованы плазмотроны переменного
тока. В этом случае целесообразно использовать плазмотроны в количестве,
кратном трем, что обеспечивает равномерную загрузку трехфазной сети. Рассмотрим
три основные схемы плазмотронов переменного тока. На схемах 2 и 3 плазмотроны
питаются от однофазного трансформатора. В схеме 3 осуществлена вентильная
коммутация тока таким образом, что электрод функционирует только как катод (в
полупериод прямой полярности), а сопло как анод (в полупериод обратной
полярности). При такой схеме обеспечивается большая стойкость вольфрамового
электрода. Однако с увеличением тока ухудшаются условия работы сопла, а при
работе на токах ниже определенного предела (~150 а) нарушается стабильность
горения дуги. На схеме 4 плазмотрон питается от трехфазного трансформатора. В
этом случае обеспечивается высокая стабильность горения дуги, однако электроды
и сопло находятся в сравнительно тяжелых условиях работы. Кроме того, значительно
усложняется конструкция плазмотрона. В целях повышения стабильности горения
дуги переменного тока некоторые плазмотроны выполняют комбинированными.
В этом случае основную дугу переменного тока прямого действия
стабилизируют вспомогательной маломощной дугой постоянного тока, горящей либо
между электродом и соплом (схема 5), либо между двумя соплами (схема 6), одно
из которых (катод) является формирующим. Второе сопло (анод) выполняется с
большим внутренним диаметром. Благодаря этому оно подвержено меньшему тепловому
воздействию столба основной дуги. Наряду с дуговыми плазмотронами, работающими
на переменном токе промышленной частоты, за последнее время были разработаны
высокочастотные (ВЧ) и сверхвысокочастотные (СВЧ) плазмотроны (7, 8). Принцип
работы высокочастотного индуктивного или безэлектродного плазмотрона (схема 7)
заключается в нагреве газа до состояния плазмы в электромагнитном поле
индуктора. Для этого в полость индуктора, питаемого от высокочастотного
генератора (частотой 140 Мгц, напряжением до 10 кв и мощностью до 50 кВт),
помещается трубка из термостойкого изолирующего материала, например, кварца. В
трубку подается плазмообразующий газ и кратковременно вводится металлический
или графитовый пруток. Последний раскаляется под действием поля индуктора и
вызывает нагрев и первоначальную ионизацию окружающего газа. Когда
электропроводность газа возрастает до определенной величины, начинается
интенсивный его нагрев и ионизация вихревыми токами, создаваемыми полем
индуктора. После развития самостоятельного кольцевого разряда пруток удаляется
из полости трубки. Продуваемый через трубку газ, проходя через кольцевой
разряд, нагревается и истекает в виде плазменной струи, температура которой
достигает 15 00020 000° К, а скорость истечения в десятки раз меньше, чем
скорость истечения плазменной струи дуговых плазмотронов.
Высокочастотная энергия сравнительно дорога, высокочастотные генераторы
сложны и имеют ограниченную мощность. Поэтому очень чистый (ввиду отсутствия
электродов) и мягкий факел индукционного плазмотрона нашел применение для
обработки особо чистых тугоплавких порошковых материалов, выращивания
монокристаллов и других специальных процессов, не требующих высокой
производительности. В сверхвысокочастотных (СВЧ), или электронных плазмотронах,
газ также нагревается электромагнитным полем, создаваемым электродомизлучателем
(схема 8). Плазменный высокочастотный факел возникает у электрода при
остроконечной форме электрода и высокой напряженности поля вблизи него. В
высоковольтном и сверхвысокочастотном электрическом поле свободные электроны
ускоряются и приобретают такую кинетическую энергию, что при столкновении с
частицами газа вызывают их диссоциацию и ионизацию. Электрод плазмотрона
подключен к магнетронному генератору частотой 20003000 Мгц и мощностью 25 кет.
Плазменный факел электронного плазмотрона интересен тем, что в нем нет
термического равновесия: температура электронов на порядок выше температуры
ионов и свободных атомов. Например, при температуре факела 3500° К электронная
температура достигает 35 000° К. Такая высокая температура электронов позволяет
проводить в плазменной струе химические реакции синтеза некоторых специальных
материалов.
По виду дуги
Схема плазмотрона прямого действия
Плазмотрон прямого действия
Ствол плазменной дуги проникает и погружается в слой металла почти
мгновенно и в отличие от кислородной резки не требует времени на подогрев
металла до температуры его воспламенения. Благодаря высокой температуре плазмы
происходит локальное выплавление металла, и даже испарение по линии реза, а
также выдувание его потоком сжатой струи.
Все плазмотроны разделяют на две основные группы в зависимости от того,
что является анодом - изделие или сопло. На рисунке ниже изображена схема
плазмотрона прямого действия, в котором электрод 1 является катодом, а
обрабатываемое изделие 2 - анодом. Сопло 3 в схемах прямого действия
электрически нейтрально и служит для сжатия и стабилизации дуги. Электрод
отделен от сопла изоляционной прокладкой 4.
Стабилизация дуги обеспечивается также и потоком части рабочего газа,
который, проходя вдоль катода, омывает наружную поверхность столба дуги и
выходит через сопло. Данный вариант газовой стабилизации называют аксиальным.
На рисунке ниже показан вариант вихревой стабилизации, при которой газ
поступает в канал по тангенциально расположенному отверстию и омывает столб
дуги по спирали. Вихревая стабилизация обеспечивает наибольшее сжатие дуги,
поэтому ее чаще применяют в плазмотронах для резки. Наряду с газовой в более
сложных устройствах плазмотронов применяют водяную стабилизацию дуги. Для
возбуждения рабочей дуги между электродом и соплом возбуждается вспомогательная
(дежурная) дуга, питаемая обычно от того же источника через ограничительное
сопротивление. После касания дежурной дуги анода - изделия она отключается, и
автоматически зажигается рабочая дуга.
Плазмотрон косвенного действия
В схемах с дугой косвенного действия анодом является сопло. Струя плазмы
выносится из сопла кинетической энергией рабочего газа, подаваемого в камеру. В
отличие от плазмотрона с дугой прямого действия, где электрический столб дуги
совмещен с плазменной струей, в плазмотронах косвенного действия тепловая
энергия передается к изделию только нагретой плазменной струей.
Не будучи электрически связанным с обрабатываемым изделием плазмотрон
косвенного действия можно использовать для резки неэлектропроводных материалов.
Схема плазмотрона косвенного действия
Питание плазмотронов резки чаще всего осуществляется от источников
питания постоянного тока прямой полярности.
В качестве рабочих газов для образования плазмы используют природные или
искусственные смеси основных четырех видов газов: аргона, азота, водорода и
кислорода. Удельное теплосодержание плазменной струи зависит от удельной
теплоемкости рабочего газа, или составляющей его смеси: J = CT, Дж/г, Где С -
удельная теплоемкость газа, Дж/г, при температуре Т, С.
Благодаря высоко теплоемкости водород и водородосодержащие смеси
обеспечивают максимальную энергию плазменной струи и наибольшую скорость резки
сравнительно с другими газами. Однако повышенная взрывоопасность, необходимость
транспортирования и использования баллонов ограничивают применение резки в
водородосодержащих газах.
По виду охлаждения. По системе охлаждения электрода и сопла плазмотроны
также делятся на два основных типа:
Водяная система охлаждения. Теплоемкость воды намного выше теплоемкости
воздуха и других газов. Поэтому наиболее эффективной и распространенной
является водяная система охлаждения, при которой допускаются высокие тепловые
нагрузки на электрод и сопло, т. е. обеспечивается нормальная работа
плазмотрона при больших токах и высокой степени обжатия плазменной дуги. Однако
водяное охлаждение несколько усложняет конструкцию плазмотрона, утяжеляет его
изза наличия водоподводящих шлангов и удорожает эксплуатацию плазменной
установки.
Чистота воды существенно влияет на эффективность теплоотвода. При больших
расходах воды плазменную установку целесообразно оснащать циркуляционной
системой охлаждения с использованием дистиллированной воды во избежание
образования накипи.
Воздушная система охлаждения. Система воздушного охлаждения ввиду низкой
эффективности применяется реже, главным образом для охлаждения малоамперных
плазменных горелок и ручных плазменных резаков, предназначенных для монтажных
работ в зимних условиях. В таких резаках рабочий ток обычно не превышает 300400
А.
В обеих системах охлаждающая среда чаще всего проходит последовательно
электродный и сопловой узел через изолирующий корпус плазмотрона. При этом
существенную роль с точки зрения эффективности охлаждения играет профиль
полостей охлаждения, температура и давление поступающей в плазмотрон
охлаждающей среды. Основная задача при выборе системы охлаждения состоит в том,
чтобы обеспечить максимальную интенсивность отвода тепла стенками сопла, так
как чем выше величина теплового потока, отводимого соплом, тем круче
температурный градиент газовой прослойки между столбом дуги и стенками канала
сопла и, следовательно, тем выше плотность тока и мощность столба дуги.
По способу стабилизации дуги. Плазмотроны можно классифицировать и по
способу стабилизации дуги. Система стабилизации дуги, обеспечивающая сжатие
столба и строгую фиксацию его по оси электрода и сопла плазмотрона, является
наиболее важным элементом плазмотрона. Существуют три вида стабилизации дуги:
газовая, водяная и магнитная.
Наиболее простой и распространенной является газовая стабилизация, при
которой наружный холодный слой рабочего плазмообразующего газа, омывая стенки
столба дуги, охлаждает и сжимает его. При этом в зависимости от способа подачи
газа (вдоль или перпендикулярно оси столба) газовая стабилизация может быть
аксиальной или вихревой (схемы 5, 6). Наибольшее обжатие дуги достигается при
вихревой ее стабилизации, поэтому этот способ используется главным образом в
плазмотронах для резки и напыления. При аксиальной стабилизации поток газа,
обдувающего столб дуги, имеет более спокойный, ламинарный характер, что
обеспечивает лучшие условия защиты нагреваемого изделия от воздействия
окружающей среды. Поэтому аксиальная стабилизация применяется в плазмотронах
для сварки и наплавки.
Иногда применяют двойную стабилизацию дуги (схема 7), при которой сочетается
аксиальная подача газа через первичное и вихревая подача через вторичное сопло
или наоборот. Столб дуги можно стабилизировать, омывая его водяной струей
(схема 8). Образуемый из струи водяной пар служит плазмообразующей средой. При
водяной стабилизации можно достигнуть наиболее высокой степени сжатия и
температуры столба дуги до 50 000 °К.
Однако присутствие паров воды вблизи катодной области приводит к
интенсивному сгоранию электродов из любых материалов. В плазмотронах с водяной
стабилизацией, предназначенных для резки, используется графитовый электрод,
автоматически перемещаемый по мере его сгорания. Плазмотроны с водяной
стабилизацией отличаются сложностью конструкции, малой надежностью системы
автоматического регулирования подачи электрода и сложностью способов
возбуждения дуги. Магнитная стабилизация (схема 9), при которой создается
продольное магнитное поле, сжимающее столб дуги, менее эффективно, чем газовая
и водяная. Кроме того, надетый на сопло соленоид усложняет конструкцию
плазмотрона. Преимущество способа магнитной стабилизации состоит в возможности
регулирования степени сжатия столба дуги независимо от расхода рабочего газа, в
то время как при газовой и водяной стабилизации рабочий газ является одновременно
плазмообразующим и стабилизирующим. На практике наложение продольного
магнитного поля применяется не столько для стабилизации дуги, сколько для
вращения ее анодного пятна по внутренним стенкам сопла с целью повышения
стойкости последнего. Например, в плазмотронах, применяемых для напыления,
магнитное вращение анодного пятна газовихревым способом позволяет значительно
снизить эрозию сопла и, следовательно, загрязненность плазменной струи.
По виду электрода катода. По виду электрода - катода плазмотроны
постоянного тока можно разделить на две группы: плазмотроны со стержневым и
плазмотроны с распределенным катодом. В плазмотронах со стержневым катодом,
катодное пятно фиксируется на торце электрода, а в плазмотронах с
распределенным катодом интенсивно перемещается с помощью газовихревого или
магнитного вращения по развитой поверхности электрода.
В плазмотронах для обработки металлов применяются в основном стержневые
катоды, подразделяемые на три основных вида: расходуемый, газозащищенный и
пленкозащитный (схемы 1, 2, 3).
Расходуемый, чаще всего графитовый, электрод был показан в схеме
плазмотрона с водяной стабилизацией. Несмотря на то, что графит обладает
высокой температурой плавления, при нагревании до этой температуры он не
плавится, а возгоняется, чем и обусловлен его повышенный расход.
Газозащищенный вольфрамовый электрод самый распространенный из всех видов
электродов. При работе в инертной (аргон, гелий) и восстановительной (азот,
водород) средах катод из тугоплавкого вольфрамового стержня при нагрузке 1520
а/мм2 практически не расходуется. Вольфрамовый катод по сравнению с графитовым
значительно прочнее и обладает во много раз большей электропроводностью.
Для улучшения условий работы катоды дуговых плазмотронов изготовляют из
вольфрама с небольшой добавкой окиси тория или лантана (1,52%). Существует
мнение, что торированные вольфрамовые электроды обладают некоторой радиационной
способностью, поэтому в последнее время чаще используются лантанированные вольфрамовые
электроды. Примеси окиси тория или лантана повышают эмиссионные свойства
вольфрамового катода (работа выхода электронов понижается с 4,5 до 2,63 эв),
что обеспечивает лучшие условия зажигания, более высокую допустимую плотность
тока и устойчивость горения дуги. Кроме того, вольфрам с указанными добавками
имеет температуру рекристаллизации на 600° К выше, чем чистый вольфрам и,
следовательно, сохраняет волокнистое строение и пластичность до более высокой
температуры. Однако стойкость вольфрамового электрода при добавлении кислорода
к газовой среде в связи с образованием летучих соединений резко снижается.
Например, в плазмотронах, применяемых для резки, при использовании технического
азота, содержащего 35% О2, на вольфрамовом катоде через 23 ч работы при токе
300400 а образуется кратер, смещение центра которого относительно оси сопла
вызывает соответствующее смещение столба дуги и приводит к явлению двойного
дугообразования. Поэтому при работе с кислородосодержащей плазмообразующей
средой в первичное сопло подается аргон, защищающий вольфрамовый электрод от
воздействия рабочего кислородосодержащего газа, подаваемого во вторичное сопло.
Система с двойным газовым потоком имеет существенные недостатки. При
использовании дешевого рабочего газа, например воздуха, все же остается
необходимость в использовании дефицитного аргона. При этом усложняется
конструкция плазмотрона и ухудшается нагрев рабочего газа, так как наиболее
эффективно газ нагревается вблизи катодной области. Сравнительно недавно
появился новый вид катода пленкозащитный стержневой катод, обладающий высокой
стойкостью в газах, содержащих кислород (в воздухе, углекислом газе,
техническом азоте). Он представляет собой стержень из циркония или его сплавов,
запрессованный в медной обойме. Механизм работы такого электрода должен быть
еще детально изучен, но можно уже считать установленным, что достаточно высокая
термостойкость циркония, имеющего относительно низкую температуру плавления
(2125° К), в значительной мере обусловлена образованием стойкой тугоплавкой
пленки из его окислов и нитридов, защищающей чистый цирконий от испарения.
Тугоплавкие соединения, образующие пленку, при обычных температурах являются
диэлектриками, а при температурах, близких к температуре плавления (3200° К),
теряют свои диэлектрические свойства и становятся проводниками с ионной
проводимостью (σ >= 1 ом1*см1). Таким образом, стойкость
циркониевого катода определяется его термохимическим взаимодействием с
плазмообразующей средой. Необходимыми условиями, обеспечивающими высокую
стойкость катода, является наличие в составе газовой среды кислорода и азота, а
также такая интенсивность его охлаждения, при которой температура катодного
пятна не превышала бы температуру разложения тугоплавких соединений. Эрозия
циркониевого катода резко повышается при большем процентном содержании
кислорода, чем в воздухе (более 20%) и особенно при наличии в газовой среде
водорода. Особо важное значение с точки зрения повышения стойкости циркониевого
катода имеет его конструкция и система охлаждения. В настоящее время в
плазмотронах для воздушноплазменной резки достигнута вполне удовлетворительная
стойкость циркониевого катода при работе на токах до 400 а. Применение
пленкозащитного электрода в плазмотронах переменного тока исключается ввиду его
активного разрушения в полупериоды обратной полярности. Особенностью работы
циркониевой вставки является постепенное углубление ее нижнего основания в
медную обойму по мере эрозии. Циркониевая вставка расходуется главным образом
при включении дуги, очевидно, вследствие разрушения пленки от термоудара. При
определенном углублении нижней поверхности вставки последующее зажигание дуги
осуществляется с медной обоймы, поэтому для перемещения катодного пятна на
циркониевую вставку и для жесткой фиксации его необходимо применять
газовихревую или магнитную стабилизацию дуги, обеспечивающую строгую соосность
столба дуги с электродом и соплом плазмотрона. При использовании циркониевого
электрода допускается большая плотность тока, достигающая 80100 а/мм2, чем при
использовании вольфрамового электрода. При работе плазмотрона с окислительной
плазмообразующей средой на больших токах (1000 а и выше) используются
разнообразные виды распределенных катодов, наиболее распространенными из
которых являются полый, дисковый и кольцевой (схемы 4, 5 и 6). Недостатками
распределенных катодов являются сложность их конструкции, трудность
равномерного перемещения катодного пятна по всей поверхности электрода, низкая
стабильность горения дуги, возрастание напряжения прикатодной области дуги и
связанное с этим увеличение потерь мощности в электроде. Поэтому в плазмотронах
для обработки металлов распределенные катоды не нашли практического применения.
Существует классификация плазмотронов и по плазмообразующей среде. Состав
плазмообразующей среды диктуется технологическим процессом и в свою очередь
является определяющим фактором при выборе схемы плазмотрона.
4. Плазмотроны плазменного напыления
При плазменном напылении плазмообразующий газ нагревается в плазмотроне и
ускоряется с помощью сопла. В поток нагретого газа вводится порошок напыляемого
материала, который нагревается и ускоряется потоком плазмы, после чего попадает
на обрабатываемую поверхность, образуя на ней слой покрытия. Покрытие
образуется расплавленными частицами, которые привариваются к поверхности
подложки и друг к другу. Качество покрытия существенно зависит от степени
нагрева частиц и их скорости при ударе о подложку, что определяется скоростью,
температурой и теплопроводностью плазмы на выходе из плазмотрона, а также
тепловыми свойствами напыляемого материала. Для напыления используют разные
материалы - тугоплавкие металлы - вольфрам, молибден и другие, оксиды алюминия,
циркония, кремния, титана, карбиды, бориды, нитриды тантала, кремния, ниобия,
гафния и др. В некоторых случаях в качестве материала для напыления используют
проволоку, которая подаётся в струю плазмы, расплавляется, распыляется в струе
плазмы, а капли ускоряются и наносятся на напыляемую поверхность.
Плазмотроны для напыления, обычно, имеют мощность в пределах 100 кВт,
чаще 20…30, в качестве плазмообразующих газов используют аргон, азот, смеси
аргона с гелием. В некоторых случаях используют воздух. Выбор плазмообразующего
газа и температуры плазмы определяется свойствами напыляемого материала,
требованиями к качеству покрытия и допустимой его стоимостью. Смеси используют
для повышения мощности плазмотрона и повышения теплопроводности плазмы.
Напыляемый материал вносят в струю плазмы в виде порошка или проволоки,
которая плавится и распыляется в струе плазмы. Порошок обычно вводят в выходную
часть канала анода или в сопло вместе с потоком транспортирующего газа. Место
ввода выбирают таким образом, чтобы в пределах тракта плазмотрона частицы
порошка не успели нагреться до температуры плавления. В противном случае расплавленные
частицы налипают на стенки канала, образуя капли и нарушая процесс. В случае
использования проволоки на неё подают анодный потенциал, что облегчает её
плавление и повышает общий КПД процесса. При напылении достаточно температуры
потока, достигаемой в плазмотронах с газовой стабилизацией разряда, поэтому
обычно используют схемы с газовой стабилизацией, и чаще с фиксированной длиной
дуги - уступом или МЭВ.
Плазмотроны для напыления обычно сильноточные и низковольтные, с
использованием сварочных источников электропитания 75…150 В. Для стабильности
разряда используют торцевые катоды. Обычно в плазмотроне используют осевой ввод
газа - для удержания напыляемых частиц у оси потока плазмы.

5. Плазменная резка
С течением времени оборудование для плазменной резки сильно
усовершенствовалось. Современная плазменная резка отличается высокой скоростью,
небольшими эксплуатационными расходами, лучшим качеством. Плазменная резка
может использоваться в различных отраслях промышленности.
Плазменная резка это процесс, при котором в столб дуги постоянно
подается не ионизированный газ. Благодаря энергии дуги этот газ нагревается,
ионизируется и превращается в плазменную струю. В современном оборудовании
плазменная дуга дополнительно сжимается вихревым потоком газа, поэтому
создается очень интенсивный и концентрированный источник тепловой энергии,
который превосходно подходит для резки металлов. Хотя технология плазменной
резки и кажется сложной, сам процесс нетрудно изучить и выполнить.
Преимущества плазменной резки
До появления плазменной резки для разделки стали был очень популярен
способ газовой резки, В настоящее время все больше отдается предпочтение
плазменной резке, так как она имеет много преимуществ. Плазмой металл режется
быстрее, чем кислородом, не требуется предварительный подогрев металла, ширина
разреза очень небольшая, а также, меньше зона термического влияния, поэтому
разрезаемый металл не деформируется, не закаливается.
Способ плазменной резки можно использовать для большинства металлов
(газовой резкой нельзя резать нержавеющую сталь, алюминий, медь). Кроме того,
плазменная резка более чистый, дешевый и удобный способ резки металла, так как
для плазменной резки используются в качестве исходных материалов воздух и
электричество.
Правильно подключенное оборудование плазменной резки более безопасно, чем
оборудование газовой резки, так как в этом случае в горелке не возникает
опасность обратного удара пламени.
Способ плазменной резки превосходно подходит для проплавления отверстий,
так как сжатая плазменная дуга концентрированно нагревает и плавит металл в
месте разреза и в то же время интенсивно, благодаря воздействию скоростного
потока газа, удаляет расплавленный металл. Кроме того, для плазменного
проплавления отверстий не требуется предварительный прогрев металла, способом
плазменной резки легче резать разнородные металлы.
Область применения плазменной резки
Способом плазменной резки можно резать любой электропроводящий материал.
По сравнению с флюсовой, газовой резкой, плазменная резка имеет много
преимуществ: можно резать любой металл, выполнять подготовку кромок, выполнить
фигурную резку, строжку и проплавление отверстий.
Способом плазменной резки можно резать металлы разнообразной толщины. В
зависимости от мощности аппарата плазменной резки можно разрезать как алюминий,
так и нержавеющую или углеродистую сталь, а также титан толщиной несколько
сантиметров
Основные параметры плазменной резки
Важными параметрами плазменной резки считаются: факельный зазор (между
соплом и листом), состав плазмообразующего газа, скорость резки, сила тока
плазменной дуги. Скорость резки будет зависеть от силы тока и зазора между
соплом и листом.
При ручной плазменной резке в качестве газа используется воздух. Для
автоматической плазменной резки применяется двойной газ: листы до 25 мм режутся
азотом и водяным туманом, а более 25 мм - водородом или аргоном в сочетании с
азотом или двуокисью углерода. В процессе плазменной резки важен не только
используемый газ, но и давление, образующееся в течение резки (чем выше, тем
хуже), это повлияет на качество процесса и срок службы электрода и сопла.
На длительность эксплуатации электрода и сопла напрямую влияет также ток
дуги. Для определенного комплекта электродсопло установлен свое номинальное
значение тока. Если нужно увеличить ток, то следует брать сопло большего
диаметра.
Факельный зазор, т.е. расстояние между соплом и листом, должен быть
постоянным. Только в этом случае можно получить качественный рез. Если
уменьшить зазор, то это приведет к сгоранию сопла и электрода. Особенно быстро
сгорит сопло при контакте с листом.
Скорость плазменной резки влияет на качество реза, а также на образование
шлака и легкость его удаления. На качество и точность резки решающее влияние
оказывают ширина реза и угол наклона кромок. Эти параметры определяются током
дуги, расходом газа и скоростью движения плазмотрона. Ширина реза определяется
диаметром выходного отверстия сопла и током дуги. Чтобы оценить ширину, следует
увеличить диаметр сопла в 1,5 раза. Широкий рез может получиться при частичном
разрушении электрода, большом факельном зазоре (расстоянии между соплом и
листом), высоком токе дуги, малой скорости резки.
Факторы, определяющие качество плазменной резки
Иногда можно встретить мнения о недостаточном качестве плазменной резки
металлов. Но они однозначно ошибочны и связаны с отсутствием опыта человека в
этой сфере.
Плазменная резка способна справится с широким ассортиментом металлов и
сплавов. Благодаря высокой температуре луча плазмотрона, плазменный резак
разрежет и титан.
Комплектующие и оборудования для плазменной резки недорогие в сравнении с
той же лазерной резкой. К тому же комплект сопел и электродов для резки не
занимает много места.
Основных факторов, которые влияют на качество плазменной резки всего
пять. Во-первых, это техническое состояние оборудования. Исправность механизмов
и комплектующих, отсутствие конденсата и примесей, точность приводов,
калибровка датчиков в первую очередь влияют на исход резки. Следующими
факторами, обусловливающими отличную работу плазмотрона и комплектующих, а
также качественную резку являются давление и качество плазмообразующего газа.
Фактор номер четыре - это скорость перемещения плазмотрона на прямых и радиусных
территориях.
И последний, но не менее важный показатель - контроль за состоянием
электрода и сопла. Состояние этих небольших, но очень важных комплектующих
аппарата для плазменной резки способно определить исход процесса.
Плазмотрон высокой мощности, обеспечивающий высокую концентрацию энергии
в месте реза, гарантирует малую ширину реза, отличное качество кромок и
отсутствие коробления. На качество реза также важное влияние оказывает скорость
перемещения плазмотрона. Правильно выбранная скорость плазмотрона обеспечит
узкий, шириной не более двойного диаметра сопла, рез, гладкие поверхности и
отсутствие скруглений.
6. Горелка
плазменной машины серии типа PerCut 1602
Технические данные
|
PerCut 1602 (.11.842.421...)
|
|
Максимальное напряжение
холостого хода U0
|
400В
|
|
Максимальное значение тока
реза Is
|
160 А
|
|
Максимальное значение
пилотного тока IPb
|
18 А
|
|
Воспламенение
|
высокое напряжение
воспламенения (мак. 10 кВ) при пилотной дуги
|
|
Максимальная толщина реза
|
50 мм
|
|
Установочные диаметр
|
44 мм
|
|
Охлаждение горелки
|
охлаждающая смесь «Kjellfrost» (защита от мороза до 100С) или «KjellfrostСупер»
(защита от мороза до 250С) и интегрированная защитой от коррозии
|
|
Расход
|
около 2,5 л/мин
|
|
Плазменный газ
|
воздух, О2, Ar,
N2, H2 и смеси (свойства, рабочее давление и расход газа
смотрите контроль движения (течения))
|
|
Завихряющий газ
|
О2, N2,
и смесь N2/H2 (формирующий газ) (свойства, рабочее давление и
расход газа смотрите контроль движения (течения))
|
|
Длина пакета рукавов
|
1 м; 1,5 м
|
|
Присоединения
|
|
Слив охлаждающей жидкости/управление
катодом
|
G 3/8”
|
|
Нагнетание охлаждающей
жидкости/пилотное управление
|
G 1/4”
|
|
Контроль газа
|
G 1/8 ”
|
|
Завихряющий газ
|
шланг PUN 6x1
|
|
Плазменный газ
|
шланг PU3
|
|
шланг PU3
|
|
монтажный провод MV 14 MV 5
|
|
|
Масса
|
3,8 кг (1,5 м пакеты
шлангов)
|
Техническое описание. Плазменная горелка работает при резании на
плазменных газах: воздух, кислород, аргон, азоте и водороде. В качестве
вторичного газа (завихряющего газа) выступает кислород, азот или смесь этих
двух газов и формирующий газ.
Режущий ток перемещается по уединенной медной жиле (канатик) в
электрически изолированном шланге обратного движения воды на катод.
Воспламенение пилотного тока сопла (форсунки) происходит через уединенную
медную жилу (канатик) в электрически изолированном шланге нагнетающего движения.
Сопло фиксируется при помощи колпачка сопла (форсунки) в держатели сопла.
Между соплом и колпачком сопла циркулирует охлаждающая жидкость, по которой
одновременно протекает ток на катоде при помощи охлаждающей трубки, для того
чтобы реализовать эффективное охлаждение частей плазменной грелки, подверженных
высоким температурам.
Плазменная машинная горелка PerCut 160 может эксплуатироваться при токе реза до 160 А и при этом достигать
толщину реза от 50 мм. Она состоит по существу из головки горелки, тела
(стержня) горелки, пакета рукавов и быстроизнашивающихся частей. Горелка имеет
для пропускания плазменного газа 2 газовых канала, канал для завихряющего газа,
а также канал для контролирующего газа.
плазмотрон резка металл
1.http://www.gkstroitel.ru/instrumenty/electro/klassifikacijaplazmotronov.html
<http://www.gkstroitel.ru/instrumenty/electro/klassifikacija-plazmotronov.html>
.http://www.osvarke.com/plazmennyjrezak.html
<http://www.osvarke.com/plazmennyj-rezak.html>
. http://www.stroitelstvonew.ru/plazma/plazmotron.shtml
<http://www.stroitelstvo-new.ru/plazma/plazmotron.shtml>
.
<http://www.ngpedia.ru/id257922p1.html>
.
http://websvarka.ru/weld96.html <http://websvarka.ru/weld-96.html>
.
http://www.eope.ee/_download/euni_repository/file/3114/plasmakeevitus%201.zip/71___.html
<http://www.e-ope.ee/_download/euni_repository/file/3114/plasmakeevitus%201.zip/71___.html>
.
<http://www.spektrplus.ru/d_plazm.htm>
.
http://www.svarnoff.ru/cutarticles.html
<http://www.svarnoff.ru/cut-articles.html>
.
<http://www.spektrplus.ru/unit07.htm>
.
<http://wwwcdl.bmstu.ru/e8/lyapin/konstrukcii_electrodugovih_plazmotronov_LIAPIN.pdf>