Очищення матеріалів

  • Вид работы:
    Курсовая работа (т)
  • Предмет:
    Другое
  • Язык:
    Украинский
    ,
    Формат файла:
    MS Word
    168,06 Кб
  • Опубликовано:
    2014-02-27
Вы можете узнать стоимость помощи в написании студенческой работы.
Помощь в написании работы, которую точно примут!

Очищення матеріалів

ЗМІСТ

Вступ

. Вимоги до чистоти матеріалів

. Класифікація способів розділення і очистки матеріалів

.1 Метод хімічно-транспортних реакцій

.2 Дисталяція і ректифікація

.3 Сублімація

.4 Перекристалізація

.5 Процеси рідинної екстракції

.6 Сорбційні способи очищення

.7 Метод йодидної очистки

.8 Інші процеси розділення і очищення речовин

Висновки

Перелік використаних інформаційних джерел

ВСТУП

чистий метал ректифікація перекристалізація

З кожним роком напівпровідникові матеріали все більше проникають в різні галузі науки і техніки. Розвиток напівпровідникової електроніки вимагає від хімічної промисловості і напівпровідникової металургії матеріалів високої чистоти з різним, але контрольованим вмістом домішок.

Домішки, як відомо, змінюють властивості напівпровідників. Тому залежно від призначення матеріалів кількість домішок у них обмежують. Легуючі добавки, що вводяться в напівпровідники для додання їм певних властивостей, також повинні бути чисті від домішок.

Необхідність отримання чистих металів виникла тільки з середини 20 століття. Вона зумовлена розвитком нових напрямів у техніці: атомній енергетиці і необхідності отримання чистих паливних і конструкційних матеріалів, які не містять шкідливих домішок і мають здатність до поглинання нейтронів; радіоелектроніці та обчислювальній техніці; у матеріалах, в яких небажана наявність домішок, що змінюють тип провідності напівпровідника; реактивній авіації і космічній техніці, для потреб яких необхідні жаростійкі і жароміцні сплави, що можна добути з чистих тугоплавких металів; порошковій металургії, що потребує порошків з чистих металів і сплавів; отриманні композиційних матеріалів на металічній основі тощо.

Сучасна електроніка пред'являє особливо високі вимоги до чистоти застосовуваних матеріалів, оскільки саме від чистоти вихідних речовин багато в чому залежить якість і надійність роботи електронних приладів.

В основі всіх способів глибокої очистки діелектричних і напівпровідникових матеріалів і їх компонентів використовується відмінність в хімічних, фізичних і фізико-хімічних властивостях компонентів, що розділяються. Звідси слідує що при істотній відмінності у властивостях компонентів, розділення може здійснюватися відносно легко, і навпаки, проблема очистки стає складною в тому випадку, якщо матеріал, що очищується, і домішки дуже близькі по своїх фізико-хімічних характеристиках.

Розроблена значна кількість процесів розділення і очистки речовин, у тому числі напівпровідникових і діелектричних матеріалів і їх компонентів, проте ще немає єдиної і чіткої класифікації цих процесів, що утруднює вибір оптимального процесу у кожному конкретному випадку.

Найбільшого поширення набула класифікація процесів розділення і очистки, заснована на діленні їх по фізико-хімічним властивостях речовини, використовуваних для розділення компонентів.


Вимоги до чистоти матеріалів

Поняття хімічної чистоти матеріалів, а також способи її вираження різні і залежать від сфери застосування матеріалів. Матеріал вважають достатньо чистим, якщо вміст домішок в ньому не перевищує ту кількість, яка заважає використати цю речовину для заданої мети.

В хімічній і металургійній промисловості, в залежності від степеня очистки матеріалу встановлюють слідуючі класи:

)"чистий" (вміст основної речовини ³ 98 %, вміст домішок 0,01- 0,5%);

) "чистий для аналізу" (вміст основної речовини ³ 99 %, вміст домішок до 0.1 %);

) "хімічно чистий" (вміст основної речовини ³ 99 %, вміст домішок 10-3-10-5 %)

) "особливо чистий" (вміст основної речовини близько 100 %, вміст домішок 10-5-10-10 %).

Хімічно чисті матеріали за своєю чистотою придатні для більшості дослідницьких робіт, для синтезу препаратів в лабораторних умовах та для проведення більшості відповідних аналізів.

Чистоту матеріалу прийнято оцінювати по абсолютному вмісту сторонніх атомів або молекул по відношенню до основної речовини, визначаючи її як концентрацію в будь-яких одиницях. За ідеально чисту речовину вважають таку, що складається з однакових атомів або молекул. Але якраз це практично встановити неможливо. Чистоту матеріалу доводиться визначати з такою точністю, яка виходить з практичних потреб і залежить від ступеня розвитку методик аналізу. Умовилися вважати речовину достатньо чистою, якщо вона не містить домішок такого сорту і в такій кількості, які перешкоджають використанню її для призначеною мети.

Матеріал вважають фізично чистим, якщо при температурах, близьких до кімнатної, провідність здійснюється власними носіями струму, концентрація ж носіїв струму, які виникають внаслідок іонізації домішкових атомів, повинна бути принаймні на порядок менша концентрації власних носіїв при умові, що взаємна компенсуюча дія акцепторних і донорних домішок відсутня.

Фізично чисті речовини потрібні як основа для виготовлення з них легованих матеріалів для кристалічних, радіотехнічних приладів, випрямлячів, фотоелементів та інших пристроїв техніки. Дізнатись про надвисоку чистоту напівпровідникових матеріалів можливо по електричним характеристикам: питомому опорові, концентрації, рухливості і часу життя носіїв струму тощо.

Для різних однаково фізично чистих напівпровідників норми одних і тих же домішок різні. Чим більша ширина забороненої зони, тим суворіші вимоги до вмісту домішок, які стають джерелом домішкових носіїв струму або впливають на перебіг рекомбінаційних процесів.


Класифікація процесів розділення і очистки матеріалів

Висока чистота може бути досягнута шляхом застосування кількох методів, найбільш ефективних для обраного матеріалу. Проте деякі методи набули особливого значення і розвинулися саме в зв’язку з потребами напівпровідникової техніки.

В основах всіх методів глибокої очистки матеріалів використовується відмінність в хімічних та фізичних властивостях, що підлягають розділенню, тому їх можна розподілити на дві великі групи: хімічні та фізичні.

Хімічні методи очистки грунтуються на використанні відмінностей у хімічних властивостях основного компонента і домішок. Суть хімічних методів полягає в тому, що речовину, забруднену домішками, переводять у таку хімічну сполуку, у якій би домішки або очищувана речовина (у вигляді сполук або у елементарному вигляді) відрізнялися своїми фізичними та хімічними властивостями більше, ніж це було у вихідній речовині (наприклад, осаджувалися у вигляді труднорозчинних сполук).

До хімічних методів, використовуваних найбільш часто при глибокому очищенню практично всіх матеріалів, відносяться окислювально-відновні реакції, осадження, хімічні транспортні реакції, засновані на відмінності в константі рівноваги або константі швидкості реакції основної речовини і домішки з третім компонентом.

Фізичні методи засновані на врахуванні відмінностей у фізичних властивостях основної речовини і домішок. Фізичним методам, коли це можливо, слід віддавати перевагу перед хімічними. Вони позбавлені недоліків, властивих хімічним методам, але здебільшого вимагають складнішого обладнання.

До фізичних методів глибокої очистки матеріалів відносяться дистиляція, ректифікація, сублімація, кристалізація, екстракція і сорбційні процеси розділення речовин.

У загальному випадку очищення напівпровідникових і діелектричних матеріалів і їх компонентів зазвичай ведуть в дві стадії. На першій стадії компоненти цих матеріалів переводять в проміжні хімічні сполуки і проводять їх очищення, використовуючи практично всі процеси, представлені в класифікації. На другій стадії проводять відновлення компонентів з проміжних з'єднань з подальшим їх очищенням. Застосовують способи, засновані на тих же процесах, ефективність яких в окремих випадках різко зростає при роботі з чистішими компонентами. Спосіб вибирається виходячи з фізико-хімічних властивостей компоненту, якості отримуваного матеріалу і продуктивності процесу. Часто, особливо при розділенні і очищенні компонентів з близькими фізико-хімічними властивостями (наприклад, рідкоземельні метали), використання одного з методів як на першій так і на другій стадіях виявляється недостатнім і процес розділення та очищення проводять на основі поєднання різних методів. Всі ці методи засновані на відмінності складів, властивостей або концентрацій основної речовини і домішок. Практика показує, що очистка матеріалів, як правило, неможлива при використанні тільки одного із зазначених методів, зазвичай хороші результати виходять лише при застосуванні комбінації різних методів, послідовність реалізації яких строго визначена.

Отримання матеріалів і їх очищення повинні здійснюватися в умовах, максимально виключаючих забруднення матеріалу домішками з навколишнього середовища або в результаті контакту з матеріалом технологічної апаратури. Для цього в процесі очищення використовують різні технологічні прийоми, що зводять до мінімуму можливість такого забруднення( наприклад, очищення матеріалів проводиться у вакуумі).

2.1 Метод хімічно - транспортних реакцій

В якості хімічного методу очищення металів використовують транспортні реакції. Хімічними транспортними реакціями (реакціями переносу) називають оборотні гетерогенні реакції за участю газової фази, що супроводжуються переносом вихідної твердої або рідкої речовини з однієї температурної зони до іншої, внаслідок утворення проміжних газоподібних продуктів, за допомогою яких можна здійснити транспорт (перенесення) речовини між двома реакційними зонами з різним тиском і температурами. Зазвичай для здійснення транспортних реакції використовують системи з різницею температур. У загальному вигляді транспортну реакцію можна представити такою схемою:


Процеси відбуваються в герметичних апаратах, які мають дві температурні зони (t2>t1). Внаслідок реакції твердої або рідкої речовини В з газом D у зоні 1 за температури t1 утворюються газоподібні продукти реакції ( та ін.), які транспортуються у зону 2, де за температури t2 відбувається їх розкладання з утворенням твердої (рідкої) фази речовини В і газоподібної речовини D.

Очищення металів здійснюється, за допомогою трьох видів транспортних реакційа, а саме: обмінної оборотної ендотермічної реакції з утворенням стійких газоподібних сполук; реакції утворення летких нестійких субсполук з подальшим їх розкладанням; реакцій синтезу і термічної дисоціації летких сполук.

Таким чином, в наш час за допомогою транспортних реакцій можна отримати багато чистих металів, наприклад:

2.2 Дисталяція і ректифікація

Дисталяцією (перегонкою) називають розділення киплячих рідких сумішей, різних за леткістю компонентів внаслідок їх часткового випаровування з подальшою конденсацією утвореної пари.

Суміш може складатися з двох або багатьох компонентів. Компонент з меншою температурою кипіння або, відповідно, більшою пружністю пари називають легколетким компонентом (ЛЛК), компонент з більшою температурою кипіння або меншою пружністю пари - важко летким компонентом (ВЛК).

Пара, що утворена при частковому одноразовому випарюванні, містить відносно більшу кількість ЛЛК, ніж вихідна суміш. При цьому рідка фаза збіднюється на ЛЛК. Такий процес часткового одноразового випарювання суміші з подальшою конденсацією пари називають простою перегонкою, конденсат, що утворюється під час простої перегонки, - дистилятом, а залишок вихідної суміші - залишком або кубовим залишком.

Просту перегонку використовують для розділення сумішей, в яких показники леткості компонентів значно різняться, або для попереднього грубого розділення сумішей. Повнішого розділення сумішей на відносно чисті компоненти або на групи компонентів (фракції) досягають багаторазовим повторенням випарювання та конденсації.

Очищення речовин дистиляцією заснована на тому, що при випаровуванні суміші рідин, пар виходить зазвичай іншого складу - відбувається його збагачення легкокиплячих компонентом суміші. Тому з багатьох сумішей можна видалити легко киплячі домішки або, навпаки, перегнати основни речовину, залишивши важко киплячі домішки в перегінному апараті. Часто доводиться стикатися з системами, при перегонці яких всі компоненти відганяються в незмінному співвідношенні (азеотропна суміші). У цьому випадку поділу не відбувається і очищення перегонкою неможливе. В якості прикладів азеотропних сумішей можна привести водні розчини НСl (20,24% HCl) і етилового спирту (95,57% С2Н5ОН). Для отримання чистих речовин (особливо при глибокому очищенню) замість простої дистиляції бажано використовувати ректифікацію, оскільки за допомогою простої перегонки неможливо розділити суміш на відносно чисті компоненти. Цього досягають ускладненим процесом перегонки - ректифікацією.

Ректифікація це процес, при якому відбувається автоматичне поєднання процесів дистиляції та конденсації. Не вдаючись у теорію ректифікації, зазначимо лише, що в ректифікаційної колоні пар зустрічається з різними фракціями конденсату, при цьому частина менш летючого компоненту конденсується з пари в рідину, а частина більш летючого компоненту переходить з рідини в пару. Проходячи через безліч полиць ("тарілок") ректифікаційної колони, пар встигає настільки збагатитися більш летючим компонентом, що на виході з колони практично містить тільки цей компонент (або азеотропну суміш). Ступінь поділу залежить від того, наскільки пар збіднюється домішкою в порівнянні з рідкою фазою.

Ректифікаційні установки бувають періодичної та безперервної дії. Схема установки періодичної дії має вигляд:

Рис. 2.2.1. Схема ректифікаційної установки періодичної дії

Щоб здійснити процес ректифікації, між дистиляційним кубом (1) і дефлегматором (3), установлюють ректифікаційну колону (2), в якій відбувається контакт потоку пари, що рухається вгору, і флегми, що стікає вниз. Зустрічні потоки пари і рідини у будь-якому перерізі колони нерівноважні, тому між ними існує перерозподіл компонентів у напрямку встановлення фазової рівноваги.

Щоб забезпечити тісний контакт між парою і рідиною, в колонах установлюють спеціальні пристрої - так звані тарілки, або контакт відбувається в шарі насадки, що заповнює колону. Здійснюючи послідовно у протитечії багаторазовий контакт нерівноважних потоків парової і рідкої фаз, можна змінити їхній склад до бажаного ступеня. В цьому й полягає суть ректифікації.

В установках періодичної дії (рис.2.2.1.) вихідну суміш заливають у дистиляційний куб, де її підігрівають до кипіння, а потім безперервно кип'ятять. Утворювана пара надходить у колону, зрошувану флегмою. Частина пари, що не сконденсувалася у дефлегматорі, надходить у конденсатор 4, конденсат (дистилят) з якого відводиться у збірник дистиляту. Ректифікацію проводять доти, доки рідина в кубі (кубовий залишок) не досягне заданого складу. Після цього припиняють підігрівання кубової рідини, кубовий залишок вилучають, а куб знову заповнюють вихідною сумішшю, тобто процес повторюється. Недоліком установок періодичної дії є необхідність безперервного збільшення флегмового числа, тобто зменшення продуктивності установки для забезпечення заданого складу дистиляту, тоді як частка легколетких компонентів у кубі безперервно зменшується.

В установках безперервної дії (рис. 2.2.2) вихідну суміш безперервно подають у колону і так само безперервно відводять дистилят з конденсатора і кубовий залишок з кубової частини колони. Ректифікаційна колона в установках безперервної дії може бути повною (рис. 2.2.2, а), тобто має нижню, виснажну (відгонну) та верхню, концентраційну частини або неповною, що має тільки виснажну (рис. 2.2.2, б) або тільки концентраційну (рис. 2.2.2, в) частини.

Рис. 2.2.2. Схеми ректифікаційних колон безперервної дії

а - повна; б - виснажна; в - концентраційна.

У виснажній частині повної колони легколеткі сполуки вилучаються з вихідної суміші за допомого пари, що рухається протии течії. В концентраційній частині збільшується вміст легколетких компонентів в парі, що рухається вгору, за рахунок флегми. Вихідна суміш може надходити у вигляді пари або рідини. Місцем надходження вихідної суміші є межа між виснажною та концентраційною частинами.

У неповну виснажну колону живлення подають суміш тільки в рідкому стані на верхню тарілку, а в неповну концентраційну колону - тільки у паровому стані під нижню тарілку.

У повних і неповних концентраційних колонах зрошення здійснюють флегмою. Дистилят відбирають після повної або часткової конденсації пари в дефлегматорі (див. рис. 2.2.2, в і а відповідно).

Щоб утворити паровий потік у колоні, в її нижню частину подають певну кількість енергії або безпосереднім введенням нагрівної пари - відкрите обігрівання (рис. 2.2.2, а, в) або за допомогою кип'ятильника - так зване закрите обігрівання (рис. 2.2.2, б). Відкрите обігрівання допускається, коли конденсат водяної пари не має шкідливих домішок. Його здійснюють за допомогою барботера або розподільного ковпака, який занурюють у кубовий залишок. При закритому обігріванні поверхня теплообміну може бути розташована як безпосередньо в кубовій частині, так і поза її межами.

Розрахунок показує, що в сучасних лабораторних ректифікаційних колонах висотою 1-2 м можна здійснити очистку, якщо навіть вміст домішків в рівноважному парі тільки на 10% менше, ніж у рідині. Цим пояснюється широке використання дистиляції та ректифікації у виробництві чистих речовин. Ректифікація використовується для очищення не тільки твердих матеріалів. Загальновідомо застосування ректифікації для поділу зріджених газів (кисень, азот, інертні гази і т. д.). Таким чином, ректифікація може бути віднесена до надзвичайно ефективних методів глибокої очистки. Особливо ефективно протікають процеси ректифікаційної очищення при низьких температурах, при підвищенні температури різко зростає забруднення очищуваного речовини матеріалом апаратури.

Основні сфери застосування ректифікації - це нафтопереробна і нафтохімічна промисловість, також широко застосовується в кольоровій металургії, лісохімічній, хіміко-фармацевтичній промисловостях.

2.3 Сублімація

Сублімація - перехід речовини з твердого стану зразу в газоподібний, оминаючи рідкий. Оскільки при сублімації змінюється обсяг речовини і поглинається енергія (теплота сублімації), сублімація є фазовим переходом першого роду. Зворотнім процесом є десублімація.

Очистка шляхом сублімації заснована на значній різниці у парціальних тисках основної речовини і домішок і придатна для речовин з великою легкістю при порівняно невисоких температурах.

Очистка сублімацією ефективно застосовується до таких матеріалів, як йод, сурма, фосфор, селен, сірка, ртуть, кадмій, цинк, магній, лужні метали.

Важливою перевагою сублімації в порівнянні з кристалізацією, є виключення з процесу очищення розчинника, , який часто повинен бути дуже чистим.

Для більшості твердих тіл, процес сублімації при нормальних температурах є незначним, і тиск пари над поверхнею твердого тіла малий. Цей тиск підвищується із підвищенням температури. Особливо інтенсивно сублімація проходить у вакуумі, що використовується у виготовленні дзеркал.

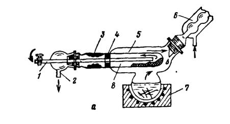
На ефекті сублімації заснований один із способів очищення твердих речовин. При певній температурі одна з речовин в суміші переганяється з більш високою швидкістю, ніж інше. Пари очищуваної речовини конденсують на охолоджуваній поверхні. Прилад, що реалізує цей спосіб очищення, називається субліматор. Схему найпростішого субліматора зображено на рисунку 2.3.1:

Рис.2.3.1. Схема субліматора

Субліматор складається з хімічного стакана (4) з переганяємою речовиною і десублімаційної воронки (2), через яку пропущена скляна трубка, яка закріплена на кінці трубки воронки обрізком гумового шланга. Стакан нагрівають на електричній плитці (5). Для збільшення швидкості сублімації через трубку (1) подають слабкий потік необхідного газу або повітря з будь-якого мікрокомпрессора. Газ (повітря) попередньо пропускають для видалення аерозолю через фільтр. Якщо для сублімації необхідна інертна атмосфера, над переганяємою речовиною пропускають слабкий потік азоту балона, очищаючи його також за допомогою тканинних фільтрів.Пар переганяємої речовини, захоплений потоком газу, омиває внутрішню поверхню воронки, утворюючи на ній кристали десублімата (3). Швидкість потоку газу слід регулювати. При великому потоці зростає винесення дрібнодисперсної твердої фази з поверхні нагріваємої речовини і десублімата. Для поліпшення десублімаціі переганяємої речовини на зовнішню поверхню воронок накладають вологу тканину або вологий фільтрувальний папір (на рисунку вони не показані).

В таких типах субліматорів можливий перегрів твердої фази, що викликає розтріскування кристалів. Для усунення цього явища застосовують субліматор з постійною температурою нагріву речовини за допомогою пари киплячої рідини.

Рис.2.3.2. Паровий субліматор

У субліматорі такого типу порошок завантажують у трубку (8). Потім заливають необхідну рідину в посудину (5), вставляють холодильник(6) і головку з трубками (7) і (2), намагаючись не зачепити газопідводною трубкою (1) шар порошку, і розміщають посудину (5) в колбонагрівачі (7). Як тільки закипить рідина, починають пропускати повітря або інертний газ через трубку (1), регулюючи швидкість газу краном. Возгон (3) осідає в холодній частині трубки. Діафрагма (4) служить для забезпечення рівномірної товщини шару десублімата на холодній частині поверхні трубки і підвищення ступеня десублімаціі.

Недолік розглянутого субліматора - важкість видалення возгона без часткового його забруднення вихідним порошком і необхідність вилучення його слідів з місць десублімаціі. Крім того, завантаженню порошку в трубку заважає діафрагма (4).

2.4 Перекристалізація

Очистка речовини перекристалізацією базуються на різній розчинності домішок в рідкій і твердій фазах. Перекристалізацію, як метод очистки, застосовують в тих випадках, коли хімічні і фізичні властивості компонентів настільки близькі, що іншими, простішими, способами їх відокремити неможливо.

Кристалізаційні методи вимагають значно менших енергетичних витрат, ніж попередні. Ці методи засновані на різній кількості вмісту домішок у твердому і розплавленому матеріалах.

Кристалізаційні методи глибокого очищення займають особливе місце і мають першорядне значення в технології напівпровідникових матеріалів. Вони одночасно служать методами глибокого очищення і отримання досконалих монокристалів практично будь-якого розміру.

В наш час кристалізація із розплавів широко застосовується для очистки напівпровідникових і діелектричних матеріалів. Цей метод, як правило, використовується на кінцевій стадії технологічного процесу очистки речовини. При цьому разом з високою степінню очистки матеріалу від домішок досягається і необхідна досконалість кристалічної структури (фізична чистота), тобто матеріал отримують в вигляді високочистого монокристала.

Для забезпечення максимального очищення кристалізація повинна починатися в строго заданих місцях і відбуватися в визначених напрямках. Така кристалізація називається направленою.

Найпоширенішим способом очищення матеріалу є зонна плавка. Зонна плавка (зонна перекристалізація) - метод очищення твердих речовин, заснований на різній розчинності домішок в твердій і рідкій фазах. Метод є різновидом спрямованої кристалізації, і полягає в тому, що вздовж злитка (стержня) повільно переміщається зона нагріву і відповідно зона розплавленого металу. Деякі домішки концентруються в розплаві і збираються в кінці злитка, інші - на початку злитка. Після багаторазових прогонів відрізають початкову та кінцеву частині злитка, залишається очищена середня частина металу.

Локалізацію місця і напряму кристалізації на практиці здійснюють заданням градієнта зовнішнього параметра, що викликає кристалізацію. Найчастіше, як такий параметр виступає температура, тобто задається градієнт температури що забезпечує направлене відведення теплоти і направлене просування фронту кристалізації.

Рис 2.4.1. Схема вирощування кристала методом зонної плавки

а - горизонтальна зонна плавка; б - вертикальна безтигельна зонна плавка

- затравка; 2 - кристал; 3 - розплавлена зона; 4 - початковий матеріал; 5 - стінки герметичної камери; 6 - індуктор: 7 - кристаллотримач; 8 - тигль.

При зонній плавці в злитку розплавляють лише невелику зону речовину, яку переміщають уздовж зразка (див. Рис 2.4.1.). У міру її направленого просування попереду зони відбувається плавлення речовини, а позаду його кристалізація. Така розплавлена зона пересувається за зразком, що призводить до перерозподілу домішок. Якщо домішки краще розчиняється в рідкій фазі, то вони поступово накопичується в розплавленої зоні, рухаючись разом з нею. В результаті домішки скупчується в одній частині вихідного зразка. У порівнянні з спрямованої кристалізацією, цей метод володіє більшою ефективністю. Метод був запропонований В. Дж. Пфанном у 1952 році і з тих пір завоював велику популярність. В даний час метод використовується для очищення більше 1500 речовин. Схема пристрою для зонної плавки в човнику наведена на малюнку:

Рис 2.4.2. Схема пристрою для зонної плавки

- індукційні котушки; 2 - розплавлені зони; 3 - очищений матеріал; 4 - отриманий надчистий матеріал 5 - початковий мтеріал; 6 - човник

Очищаючу речовини поміщають у човник з тугоплавкого матеріалу. Основні вимоги до матеріалу човника: висока температура плавлення; матеріал човника не повинен розчинятися в очищуваній речовині або реагувати з ним. Човник поміщають в горизонтальну трубу, у якій один кінець може бути запаяний або через нього подають інертний газ. Якщо він запаяний, то інший кінець труби з'єднаний з вакуумною установкою.

Один кінець зразка розплавляється, потім розплавлена ​​зона починає рухатися уздовж злитка. Довжина розплавленої зони залежить від довжини злитка і становить кілька сантиметрів. Речовина плавиться або індукційними струмами або теплопередачею. Швидкість руху складає, як правило, від декількох міліметрів до декількох сантиметрів на годину. Рух може здійснюватися або за рахунок витягування човники через нерухому піч, або зміщенням зони нагріву. Іноді для підвищення ефективності збільшують число проходів зони або число зон.

Метод має великий недолік, це довгий час очистки, так як швидкість процесу визначається швидкістю дифузії домішків. Тому метод застосовується для кінцевої стадії очистки при отриманні особливо чистих речовин.

2.5 Процеси рідинної екстракції

Екстракція - це процес, при якому за допомогою розчинника можна відокремити компоненти гомогенної суміші двох або кількох речовин шляхом утворення системи з двох рідинних фаз. При екстракції речовини відокремлюються відповідно до їх розчинності в даному розчиннику, тоді як при дистиляції відокремлення засновано на різній леткості компонентів.

В екстракційному процесі беруть участь щонайменше три речовини: дві, які мають бути розділені, і одна розчинник. Суміш, яка підлягає розділенню, може бути газуватою, рідкою або твердою, розчинник - обов'язково рідина. Проте на практиці віддають перевагу екстракції з рідин.

Часто використовують воду, як речовину, з якої проводять екстракцію розчиненої речовини. Рідина (екстрагент), з допомогою якої проводять екстрагування, в більшості випадків органічного походження.

Деколи до складу водного розчинника, із якого екстрагують розчинену речовину, вводять висолювач - речовину, що має однойменний іон з екстрагованою сполукою і тому зменшує її розчинність, що тим самим приводить до підвищення степені видобування її з водного розчину.

Для розділення суміші рідин А і С складу F (Рис.2.5.1.) до них додають розчинник (екстрагент), що змішується з сумішшю не повністю і здатний вибірково розчиняти один з компонентів, в нашому випадку С. Фігуративна точка, що відповідає складу суміші трьох компонент, переміщується по прямій FВ. В приведеному прикладі склад потрійної системи відповідає точці М. Склад гетерогенної фази, що утворилася в результаті розшарування потрійної системи, визначається положенням коноди PQ, яка проведена через точку М. Фаза Q має високий вміст розчинника і називається фазою екстракта (або фазою розчинника). Фаза Р з малою концентрацією розчинника називається фазою рафіната (залишка).

Рис.2.5.1. Склад і кількість продуктів, що одержують одноступенчатою екстракцією

Після розділення фаз Q і Р і виділення з них розчинника (дистиляцією або промивкою), одержують відповідно фази складів Е і R. В порівнянні з вихідною сумішшю F, суміш Е має більш високий вміст компонента С, а суміш R - більш низький.

Рідинна екстракція має широке застосування в технології напівпровідників і діелектриків. З її допомогою можна, наприклад, суміші двох речовин розділити з концентруванням кожної з них в різних розчинниках.

Метод екстракції широко застосовується в тих випадках, коли метод дистиляції не дає бажаних результатів або є невигідним, наприклад, при переробці нафти, очистці продуктів сухої перегонки вугілля і дерева, тваринних і рослинних масел, виробництві біохімічних та фармацевтичних препаратів тощо.

Екстракція неорганічних сполук знайшла застосування в хімії рідкісних металів та ядерній промисловості. Наприклад, відокремлення галію і германію від газового пилу. Для очистки тетрахлориду германію застосовують екстракцію домішок міцною соляною кислотою, яка дає не гірші результати, ніж дистиляція.

2.6 Сорбційні способи очищення

Під сорбцією в загальному випадку розуміють процеси поверхневого (адсорбція) і об'ємного (абсорбція) поглинання речовини на межі розділу двох фаз: твердої і рідкої, твердої і газоподібної, рідкої і газоподібної.

Адсорбційна система складається з адсорбента-речовини, на поверхню якої йде поглинання і адсорбата-речовини, молекули якої поглинаються. Зворотній процес-видалення молекул з поверхні адсорбента - називається десорбцією. За природою процесів адсорбцію ділять на фізичну і хімічну.

При фізичній адсорбції молекули адсорбата не вступають в хімічну взаємодію з адсорбентом і, таким чином, зберігають свою індивідуальність на поверхні поглинача. При хімічній адсорбції (хемосорбції) адсорбовані молекули вступають в хімічну реакцію з адсорбентом з утворенням на поверхні хімічних сполук.

Кількісною характеристикою адсорбційної системи є ізотерма адсорбції (рис.2.6.1.) , яка виражає зв'язок між концентрацією речовини (С) в розчині і її кількістю (С), поглинутою одиницею поверхні адсорбента при постійній температурі в умовах рівноваги.

Рис.2.6.1. Ізотерма адсорбції

Як випливає з представленої залежності (рис.2.6.11.), підвищення концентрації речовини в розчині приводить до збільшення кількості його в адсорбованому стані. На початковій ділянці ізотерми (ділянка 1) цей зв'язок прямо пропорційний але при подальшому збільшенні концентрації речовини в зовнішній фазі залежність стає пологішою (ділянка 2) і при великих концентраціях ізотерма прагне до асимптоти С (ділянка3). Характер ізотерми обумовлений поступовим насиченням поверхні адсорбенту речовиною, що поглинається.

Рис.2.6.2.Схема сорбційної установки з наступним введенням сорбента

- Подача суміші; 2 - Подача асорбента; 3 - Перемішуючий пристрій; 4 - Фільтр; 5 - Випуск обробленої суміші; 6 - Випуск обробленого асорбента.

Процес відокремлення методом адсорбції проводять так: суміш, яку потрібно розділити, приводять в контакт з адсорбентом, наприклад, розчин змішують або збовтують з адсорбентом. В деяких випадках систему підігрівають. Після цього суміш фільтрують. Для добування адсорбованої речовини відфільтрований адсорбент обробляють відповідними розчинниками, витісняючи з них адсорбовану речовину (адсорбат).

До найбільш поширених на практиці типів сорбентів можна віднести силікагелі, активоване вугілля, а також різні види сильно пористих або високодисперсних алюміносилікатів. Використання тих чи інших сорбентів впливає на розподіл речовини від домішків.

Активоване вугілля має кристалічну будову і складається із кристалічних агрегатів. Особливо активними центрами являються ребра і кути кристалітів. Застосовується активоване вугілля на кінцевій стадії очистки від домішок.

Сорбційні процеси широко використовують у промисловості для очищення хімічних продуктів, вловлювання пари та газів тощо. Найважливіші тверді сорбенти, здатні до регенерації і широко застосовуються в техніці - активоване вугілля, силікагель, іоніти, цеоліти. Сорбція найчастіше застосовується в гідрометалургії - поглинання цінних компонентів (урану, золота, молібдену тощо) з розчинів.

2.7 Метод йодидної очистки

Метод йодидної очистки дозволяє отримувати Ti, Zr, Hf, Si високого ступеню читоти, оскільки переважна більшість домішок або не реагує з йодом або не утворюють летких йодидів в даних умовах.

Крім можливості отримання Ti, Zr, Hf, Si високої чистоти, йодидний метод відзначається ще однією важливою перевагою - порівняно високою безпекою. Однак висока вартість йоду і складність апаратурного оформлення стримує його широке поширення.

Рис.2.7.1. Функціональна схему йодидного методу очищення Ti, Zr, Hf, Si

Метали високої ступіні очистки отримуються при дісоціації йодідів у вакуумі. В основі даного методу лежить зворотна хімічна реакція. Метали, що вміщують домішкі та йод поміщають у вакуумній камері і нагрівають до 200-300 °C. Йодиди, які легко утворюються при вказаних температурах, сублімуються і розкладаються на металічній нітці, з відповідного металу, яку нагрівають пропусканням електричного струму до температур більше за 600 °C.


Окрім основних процесів розділення і очищення напівпровідникових і діелектричних матеріалів і їх компонентів, що розглянули вище, перспективними стосовно завдання глибокого очищення речовин є і інші процеси розділення засновані на відмінності певних фізико-хімічних властивостей речовин, що розділяються: електрохімічні процеси розділення в силових полях - відцентровому, електричному, магнітному, розділення дифузією, термодифузією і ін.

Розглянемо коротко деякі з цих процесів. Електрохімічні процеси розділення і очищення. Із всього різноманіття цих методів основними для очищення напівпровідників, діелектриків і їх компонентів є очищення електролізом, анодним розчиненням і електродіалізом.

Електрохімічні методи очистки здійснюються шляхом проведення окисно-відновних процесів на електродах в електроліті при проходженні через останній струму. Вихідний матеріал завантажують в вигляді анода, який в процесі електролізу розчиняється і очищений матеріал збирається на катоді. На поверхні анода протікає реакція окислення  з переходом іона речовини в розчин і електрона е по зовнішній ділянці кола на катод; на катоді йде реакція відновлення , в результаті якої проходить виділення речовини А на катоді.

Описані процеси дозволяють добитися глибокого ступеня очищення речовин, проте для успішного протікання процесу необхідно звести до мінімуму можливі побічні процеси, особливо зв'язані за участю домішок. Необхідно щоб при електролізі осадження домішок з основним компонентом на катоді було зведене до мінімуму. При цьому домішки або накопичуватимуться в електроліті, або безперервно видалятимуться з нього. Чистота катодного осаду залежить від багатьох чинників головними з яких є рівноважні електродні потенціали основного компоненту і домішок, хімічний склад електроліту, щільність струму, що протікає через нього, форма входження домішки в речовину, що очищається (твердий розчин, утворення хімічних сполук з основним компонентом утворення механічної суміші з основним компонентом), структура катодного осаду (амфорна, полікристалічна, монокристалічна), кінетика електрохімічної реакції.

У ряді випадків більшої ефективності очищення вдається досягти при анодному розчиненні (анодному рафінуванні). Речовина, що в цьому випадку очищається, також використовується як анод, а електроліз приводить до переходу домішок з анода в електроліт і до скупчення їх надалі на катоді. Прикладами такого процесу можуть служити очищення галію від цинку в кислому електроліті, очищення алюмінію і магнію від кремнію, заліза, міді і цинку, а також електролітичне рафінування олова, свинцю, берилія, титану, цирконію, ніобію і ін.

Селективність витягання катіонів з електроліту можна істотно підвищити використовуючи ртутний катод (амальгамовий електрохімічний процес).

Особливість амальгамової електрохімії полягає не лише в селективному переході іонів елементів з розчину в ртутний електрод, але і в селективному витяганні тих же елементів з отриманого амальгамового електроду. Селективність цих процесів зв'язана, з одного боку, з відмінністю у величинах електродних потенціалів при виділенні елементів на ртутному катоді і при анодному окисленні амальгами, а з іншого боку з різною розчинністю елементів в ртуті. Вживання амальгамового електрохімічного процесу як методу очищення доцільно лише для таких з'єднань, елементи яких добре розтворяються (>0,4 %) в ртуті. Вживання рідких амальгамових анодів і катодів збільшує ефективність видалення домішок з основного металу, що піддається очищенню. Зокрема, амальгамове рафінування індію дозволяє отримати чистіші з'єднання цього металу, особливо за складом таких домішок, як Al, Fe, Cu, Pb, Bi, Si, Mn, ніж зонна плавка індію.

Амальгамовий електрохімічний процес глибокого очищення речовин має певні переваги (по високій кратності очищення і вищій продуктивності) перед кристалізацією, вакуумною дистиляцією і іншими методами очищення речовин. Недоліками амальгамового електрохімічного процесу є присутність в кінцевому продукті домішок ртуті, концентрація якої може досягати 0,003 %, використання допоміжних реагентів, води і ртуті високого ступеня чистоти.

Глибокого очищення при електролізі можна досягти шляхом ретельного відділення анодного і катодного простору від середньої камери електростатичної ванни, яке здійснюють за допомогою напівпроникних перегородок (мембран), вибірково пропускаючих до анода і катода лише певні типи іонів. При накладенні електричного поля дифузія іонів через напівпроникні перегородки прискорюється, що збільшує швидкість і ступінь очищення середньої камери електролітичної ванни. Цей різновид електролізу називають електродіалізом. При електродіалізові в середню камеру завантажують суспензію речовини (як правило, слабо діссоціюючої), що очищається, у воді, а в бічні - чисту воду і електроди. При накладанні різниці потенціалів до позитивно зарядженого електроду з середньої камери ванни через мембрану проникають аніони домішок, а до негативно зарядженої - катіони домішок. У міру накопичення їх в бічних камерах розчини зливають, а камери знов заповнюють чистою водою. Це сприяє швидшому видаленню домішок електролітів з середньої камери, а також запобігає процесу зворотної дифузії домішок у міру накопичення їх в бічних камерах.

Розділення і очищення у відцентровому полі. Якщо розплав речовини здійснює рух в центрифузі, то в ньому відбувається перерозподіл домішок в результаті дії на них відцентрової сили. Атоми або молекули домішкових з'єднань, важчі, ніж атоми (молекули) основної речовини зосереджуються в периферійних частинах розплаву, легші домішки - у частинах розплаву, розташованих ближче до центру обертання. Проводячи кристалізацію, наприклад розплав літію в центрифузі, що обертається із швидкістю 50, добиваються очищення основної частини злитка літію від домішок приблизно на два порядки.

Розділення в схрещених електричному і магнітному полях. Сучасні промислові мас-сепаратори володіють досить високою роздільною здатністю (по відношенню маси іона до його заряду), що дозволяє успішно проводити розділення ізотопів. Звідси слідує що цим методом розділення може бути досягнутий максимальний ступінь чистоти. Mac-сепаратори в даний час все ширше використовуються для контрольованого здобуття чистих тонких шарів напівпровідників і діелектриків.

Розділення дифузією і термодифузією. Для розділення і очищення газоподібних речовин може бути використане відмінність в швидкостях їх дифузії через напівпроникні (пористі) перегородки, унаслідок чого по одну сторону перегородки концентруються гази, що володіють більшою швидкістю дифузії а по іншу - меншою. Багатократне повторення цього процесу в камері, розділеній великим числом пористих перегородок, дозволяє досягти високого ступеня розділення газів.

Розділення газових сумішей може бути також успішно здійснено за допомогою термічної дифузії. Якщо уздовж посудини з газовою сумішшю створити перепад температур, то це приведе до відмінності між складами суміші в гарячій і холодній частинах посудини. У гарячій частині суміш містить більшу кількість компоненту, що володіє меншою молекулярною масою. Відмінність в складах сумішей в гарячішій і холоднішій частинах посудини буде тим значніша, чим більше заданий перепад температур між ними.

Процеси дифузії через напівпроникні перегородки і термодифузії надзвичайно чутливі до відмінності між масами молекул в газовій суміші, що дозволило успішно використовувати ці процеси для розробки методів розділення ізотопів у формі їх газоподібних з'єднань.

Висновки

Проблема чистоти матеріалів являється однією з найактуальніших тем, оскільки саме від чистоти залежить якість, надійність та працездатність електричного приладу.

Електричні параметри матеріалів залежать від досконалості їх кристалічної структури та вмісту домішок, тому їх контроль є важливим і необхідним при використанні матеріалу, де його чистота грає велику роль.

Висока чистота може бути досягнута шляхом застосування кількох методів, найбільш ефективних для обраного матеріалу. Проте деякі методи набули особливого значення і розвинулися саме в зв’язку з потребами напівпровідникової техніки. На основі сказаного вище можна зробити висновок, що вибір найбільш ефективного методу (або поєднання методів) для очистки кожного індивідуального матеріалу потрібно проводити виходячи з конкретних фізико-хімічних властивостей цього матеріалу.

Перелік використаних інформаційних джерел

1.          Cтепаненко И.П. «Основы микроэлектроники» Учеб. пособие для вузов. - 2-е изд., перераб. и доп.. - М. : Лаборатория Базовых Знаний, 2001.

.            Нашельский А. Я. «Производство полупроводниковых материалов». Изд. 2-е, перераб. и доп. - М.: Металлургия, 1989г.

3.          <http://www.himikatus.ru/art/htlab/76vozgonkasu.php>

.            Журнал «Физика и химия обработки материалов».

.            Барыбин А.А., Сидоров В.Г. «Физико-технологические основы электроники». Изд.: СПб Лань, 2001г.

.            Уманский Я.С., Скаков Ю.А. «Кристаллография, рентгенография и электронная микроскопия». М.: Металлургия, 1982г.

.            Ткаченко Ф. А. «Техническая электроника», 2 - е изд, 2002г.

.            Балоян Б.М., Колмаков А.Г., Алымов М.И. и др. «Наноматериалы. Классификация, особенности свойств, применение и технологии получения» - Москва: Международный университет природы, общества и человека «Дубна», филиал «Угреша», 2007г.

.            Гусев А.И. «Эффекты нанокристаллического состояния в компактных металлах и соединениях» // УФН. - 1998г. - Т. 168, № 1.

.            Игумнов Д. В., Костюнина Г. П. - «Основы полупроводниковой электроники». Издательство: М: Горячая линия-Телеком, 2005г.

.            Павлов П. В., Хохлов А. Ф. «Физика твердого тела». Издательство: Высшая школа, 2000г.

Похожие работы на - Очищення матеріалів

 

Не нашли материал для своей работы?
Поможем написать уникальную работу
Без плагиата!
Без нейросетей!