Организация и совершенствование методов очистки трубопроводов
Министерство
образования и науки РК
Западно-Казахстанский
аграрно-технический университет им. Жангирхана
Кафедра:
«Экономики иорганизации предприятия»
Курсовая
работа
По
дисциплине: «Технология предприятий нефтегазовой отрасли»
На
тему: «Организация и совершенствование методов очистки трубопроводов»
Выполнила: ст-ка гр.
ПНГ-44
Шуланбаева Л. Т.
Проверила: преподаватель
Калдышева Л. Т.
Уральск-2005
Содержание
Введение
Глава 1. Очистка полости трубопроводов
.1 Методы очистки трубопроводов
.2 Комплексные процессы очистки полости трубопроводов
Глава 2. Организация очистки трубопроводов НИПИ «Нефтегаз»
.1 Основные принципы и особенности организации
.2 Проектирование организации и проектирование производства работ
по очистке полости трубопроводов
.3 Управление работами по очистке полости трубопроводов
Глава 3. Совершенствование методов очистки трубопроводов
.1 Устройства для очистки полости трубопроводов
.2 Усовершенственные системы обнаружения очистных устройств
Выводы
Список литературы
Введение
Способы, параметры и схемы
проведения очистки полости трубопроводов устанавливаются проектной организацией
в рабочем проекте, проекте организации строительства. Проектной организацией
должны быть обоснованы методы проведения испытаний при отрицательных
температурах с учетом климатических данных по каждому строящемуся промыслу или
участку трубопровода, предусмотрены дополнительные затраты на проведение
испытаний и мероприятия по материально-техническому обеспечению производства
работ.
На основании принятых проектной
организацией решений по очистке полости и испытанию трубопроводов
строительно-монтажные организации собственными силами или с помощью
проектно-технологических институтов разрабатывают соответствующие проекты
производства работ. Учитывая сложность, повышенную стоимость и лимит времени на
гидравлическое испытание при отрицательных температурах, сложность и повышенную
опасность пневматических испытаний, затрудняющих производство
строительно-монтажных работ в энергетических коридорах, при разработке в ПОС и
ППР графиков организации строительства следует планировать проведение
испытаний, как правило, во II и III кварталах года.
В данной курсовой работе мы
рассматриваем методы и организацию проведения очистки полости трубопроводов
проектной организацией НИПИ «Нефтегаз»
Чистота полости трубопроводов должна
обеспечиваться на всех этапах работы с трубой: транспортировке, погрузке,
разгрузке, развозке и раскладке секций по трассе, сварке секций в нитку и
укладке.
С целью предупреждения загрязнения
полости и снижения затрат на последующую очистку строительно-монтажным
организациям необходимо в процессе строительства принимать меры, исключающие
попадание внутрь трубопровода воды, снега, грунта и посторонних предметов, в
том числе не разгружать трубы на неподготовленной площадке, не волочить их по
земле и т.д.
Для предотвращения загрязнений
полости следует установить временные заглушки:
на отдельные трубы или секции
(плети) при их длительном хранении в штабелях, на стеллажах;
на концах плетей в местах технологических
разрывов.
Закачку воды в трубопровод для
промывки и испытания осуществляют через фильтры, исключающие попадание в
полость трубопровода песка, ила, торфа или посторонних предметов из водоема. До
ввода в эксплуатацию полость трубопровода должна быть очищена.
При очистке полости каждого
трубопровода или его участка необходимо:
удалить случайно попавшие при
строительстве внутрь трубопровода грунт, воду и различные предметы, а также
поверхностный рыхлый слой ржавчины и окалины;
проверить путем пропуска поршня
проходное сечение трубопроводов и тем самым обеспечить возможность
многократного беспрепятственного пропуска очистных и разделительных или других
специальных устройств при эксплуатации;
достигнуть качество очистки полости,
обеспечивающее заполнение трубопровода транспортируемой средой без ее
загрязнения и обводнения.
Глава 1. Очистка полости
трубопроводов
.1 Методы очистки трубопроводов
Очистка полости трубопроводов
выполняется промывкой, продувкой, вытеснением загрязнений в потоке жидкости или
протягиванием очистного устройства. Промывка или продувка осуществляется одним
из следующих способов:
с пропуском очистного или
разделительного устройства;
без пропуска очистного или
разделительного устройства.
Промывку и продувку с пропуском
очистных или разделительных устройств следует выполнять на трубопроводах
диаметром 219 мм и более. Промывку и продувку без пропуска очистных или
разделительных устройств допускается производить:
на трубопроводах диаметром менее 219
мм;
на трубопроводах любого диаметра при
наличии крутоизогнутых вставок радиусом менее пяти диаметров трубопровода или
при длине очищаемого участка менее одного километра.
Очистку полости подводных переходов
трубопроводов диаметром 219 мм и более, прокладываемых с помощью
подводно-технических средств, производят:
промывкой с пропуском
поршня-разделителя в процессе заполнения водой для проведения первого этапа
гидравлического испытания;
продувкой с пропуском поршня или
протягиванием очистного устройства перед проведением первого этапа пневматического
испытания.
На подводных переходах трубопроводов
диаметром менее 219 мм, сооружаемых с помощью подводно-технических средств,
очистку полости осуществляют протягиванием, промывкой или продувкой без
пропуска очистных устройств перед проведением первого этапа испытания.
Подводные переходы трубопроводов,
укладываемые без помощи подводно-технических средств, очищают по единой
технологии одновременно со всем трубопроводом.
При промывке, вытеснении загрязнений
в потоке воды (жидкости) и удалении из трубопровода воды (жидкости), а также
при продувке трубопровода с полнопроходной запорной арматурой разрешается
пропуск очистных и разделительных устройств через линейную арматуру.
Перед пропуском очистных и
разделительных устройств следует убедиться в полном открытии линейной арматуры
(по указателям поворота затвора, положению конечных выключателей и т.д.).
Продувка трубопроводов с пропуском
очистных устройств через неполнопроходимую линейную арматуру запрещается.
Если очистное или разделительное
устройство застряло в трубопроводе в процессе промывки или продувки, то это
устройство необходимо извлечь из трубопровода, устранить причину застревания, а
участок трубопровода подвергнуть повторной промывке или продувке.
Промывка, как правило, совмещается с
удалением воздуха и заполнением водой (жидкостью) трубопровода для
гидравлического испытания.
Очистка полости вытеснением
загрязнений в потоке воды (жидкости), как правило, совмещается с удалением воды
(жидкости) после гидроиспытания трубопровода.
После очистки полости любым из
указанных способов на концах очищенного участка следует устанавливать временные
заглушки, предотвращающие повторное загрязнение участка.
Промывка
Промывке подвергают трубопроводы
любого назначения, испытание которых предусмотрено в проекте гидравлическим
способом. Пропуск очистного или разделительного устройства по трубопроводу
осуществляется под давлением жидкости, закачиваемой для гидравлического
испытания. Впереди очистного или разделительного устройства для смачивания и
размыва загрязнений заливают воду в объеме 10-15% объема полости очищаемого
трубопровода. Принципиальная схема производства работ при промывке с пропуском
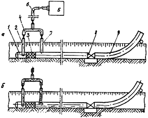
очистного или разделительного устройства приведена на рис.1.
Рис.1. Принципиальная схема
производства работ при промывке трубопроводов
а - подготовка участка к проведению
промывки; б - подача воды перед поршнем-разделителем; в - пропуск
поршня-разделителя в потоке воды; г - подготовка участка к испытанию; 1 -
очищаемый участок; 2 и 7 - перепускные патрубки с кранами; 3 -
поршень-разделитель; 4 - коллектор; 5 - наполнительные агрегаты; 6 - подводящий
патрубок; 8 - линейная арматура; 9 - сливной патрубок
Продувка
Продувку выполняют сжатым воздухом
или природным газом, поступающим из ресивера (баллона), непосредственно от
источника природного газа или высокопроизводительных компрессорных установок.
Для продувки могут быть использованы также инертные газы, подводимые к
трубопроводам от газовых установок промышленных предприятий. Ресивер для
продувки создается на прилегающем участке трубопровода, ограниченном с обеих
сторон заглушками или запорной арматурой. При заполнении ресивера воздухом
передвижные компрессорные станции можно использовать по одной или объединить их
в группы. В последнем случае нагнетательные трубопроводы каждого компрессора
подключают к коллектору, по которому воздух подают в ресивер. Принципиальная
схема продувки трубопроводов сжатым воздухом приведена на рис.2.

Рис.2. Принципиальная схема продувки
трубопроводов воздухом:
а - участок подготовлен к продувке
плеча II; б - выпуск поршня из плеча II; в - участок подготовлен к продувке
плеча I; г - выпуск поршня из плеча I; 1 и 5 - очистные поршни; 2, 3, 4 -
перепускные патрубки с кранами; 6 - коллектор; 7 - подводящий патрубок; 8 -
продувочный патрубок
Очистка полости трубопроводов
вытеснением загрязнений в скоростном потоке жидкости осуществляется в процессе
удаления жидкости после гидроиспытания с пропуском поршня-разделителя под
давлением сжатого воздуха или газа. Скорость перемещения поршня-разделителя в
едином совмещенном процессе очистки полости и удаления воды должна быть не
менее 5 км/ч и не более величины, определяемой технической характеристикой
применяемого поршня-разделителя. Протяженность участка очистки полости
вытеснением загрязнений в скоростном потоке жидкости устанавливается с учетом
рельефа местности, давления в трубопроводе в начале очищаемого участка и
характеристики поршня-разделителя (предельной длины его пробега).
Протягивание
Очистка полости протягиванием
очистного устройства производится непосредственно в технологическом потоке сварочно-монтажных
работ, в процессе сборки и сварки отдельных труб или секций в нитку
трубопровода. Протягивание очистных устройств по надземным трубопроводам
осуществляется до их укладки или монтажа на опорах. В процессе сборки и сварки
трубопроводов очистное устройство перемещают внутри труб с помощью штанги
трубоукладчиком (трактором). Загрязнения удаляют в конце каждой секции (рис.3).
Рис.8. Принципиальная схема очистки
полости трубопроводов в процессе их сборки в нитку с наружным центратором: а -
пропуск штанги очистного устройства через секцию; б - центровка секций и сварка
стыка; в - очистка полости собранной секции; г - выброс загрязнений из секций;
1 - очистное устройство; 2 - наружный центратор; 3 - штанга; 4 - трубоукладчик
1.2 Комплексные процессы очистки
полости трубопроводов
Завершающие процессы строительства
трубопроводов: очистка полости, испытание и удаление жидкости должны быть
объединены общими технологическими и организационными решениями в едином
комплексном процессе. В комплексные процессы, помимо основных процессов очистки
полости, испытания, удаления жидкости, входят следующие работы:
подготовительные (сварочно-монтажные
и другие работы) - обеспечивают возможность проведения основных процессов;
промежуточные (сварочно-монтажные и
другие работы) - обеспечивают возможность последовательного проведения
соответствующих основных процессов;
заключительные (сварочно-монтажные и
другие работы) - проводят с целью демонтажа узлов и оборудования,
использованных при очистке полости и испытании, и подготовки объекта (участка)
к последующей эксплуатации (только в пределах обязанностей строительно-монтажных
организаций);
ликвидация отказов
(сварочно-монтажные и другие работы) - обеспечивает устранение возможных
отказов (застревание в трубопроводе очистных и разделительных устройств,
утечки, разрывы и т.п.) и восстановление единой непрерывной нитки трубопровода.
Глава 2. Организация очистки полости
трубопроводов в НИПИ «Нефтегаз»
.1 Основные принципы и особенности
организации
Для своевременного или досрочного
ввода объекта в эксплуатацию проектирование организации строительства
трубопровода в целом следует выполнять на основе оптимальных решений по
организации завершающих процессов трубопроводного строительства - очистки
полости, испытания и удаления воды. Для проведения очистки полости, испытания и
удаления воды на строительстве магистральных трубопроводов следует
организовывать один или несколько специализированных потоков ОПИУ (ОПИ), каждый
из которых состоит из трех частных взаимосвязанных потоков:
потока очистки полости (ОП);
потока испытания (И);
потока удаления воды (У).
Поток удаления воды организуют
только на участках газопроводов, испытания которых выполняют гидравлическим
способом. Параметры потоков ОПИУ (ОПИ) - продолжительность, границы,
направление производства работ во времени и пространстве - должны быть
рационально увязаны с параметрами соответствующих потоков крупных
механизированных комплексов (потоки КМК) в пределах установленной общей
продолжительности строительства (директивного срока).На одном объекте число
потоков ОПИУ (ОПИ) и число потоков крупных механизированных комплексов (КМК)
может не совпадать. Один поток ОПИУ (ОПИ) может при необходимости действовать в
границах нескольких потоков КМК или один поток КМК может функционировать в
границах нескольких потоков ОПИУ (ОПИ).Потоками ОПИУ (ОПИ) можно осуществлять
работы по одним и тем же или по различным технологическим схемам. В качестве
границ действия потока ОПИУ (ОПИ) следует принимать границы участка испытания -
части трассы, на которой работы ведут от одного источника испытательной среды
(вода, воздух, газ). Участок испытания может быть разделен на отдельные
захватки, на каждой из которых работы осуществляют либо силами и средствами
одной строительно-монтажной организации, либо от одного источника используемой
среды (вода, газ и т.д.), либо по одной технологической схеме. В пределах
одного потока испытания можно осуществлять несколько потоков очистки полости, а
в пределах одного потока удаления воды - несколько потоков испытания.
Организация работ по очистке полости трубопроводов НИПИ «Нефтегаз»
предусматривает мероприятия, охватывающие все этапы производства:
подготовительные работы;
материально-техническое обеспечение;
механизацию и транспорт;
организацию труда;
оперативное планирование,
руководство, диспетчеризацию и связь;
организацию контроля качества.
При организации поточного выполнения
работ по ОПИУ (ОПИ) следует учитывать следующие специфические особенности:
закачивания в трубопровод напорной
среды (воздуха, воды, природного газа, нефти и т.д.) для очистки полости,
испытания и удаления воды можно выполнять круглые сутки, тогда как
предшествующие им работы по инженерной подготовке трассы (рытью траншей,
сварке, изоляции, укладке и засыпке трубопровода) обычно осуществляют в
одну-две смены;
очистку полости, испытание и
удаление воды выполняют по участкам конечной протяженности, а не непрерывно,
как в процессе предшествующих работ;
протяженность очищаемого или
испытываемого участка определяют в зависимости от совокупности ряда факторов
(схемы раскладки труб, разности вертикальных отметок трассы трубопровода,
расположения линейной арматуры и др.), причем даже для постоянного комплекта
машин по закачиванию воды или воздуха протяженность и границы участков по
очистке полости, испытанию и удалению воды могут в отдельных случаях не
совпадать;
используемые основные машины
(наполнительные и опрессовочные агрегаты, передвижные компрессорные станции)
работают, как правило, в одном месте и перемещаются по трассе только
периодически (после окончания работ на данном участке перебазируют технику на
следующий участок);
возможно совмещение транспортной
схемы и схемы организации управления, диспетчеризации и связи на этапе
подготовки к ОПИУ (ОПИ), а также при проведении ОПИУ (ОПИ) по мере выполнения
предшествующих работ на отдельных участках;
очистку полости, испытание и
удаление воды выполняют в условиях, когда основная техника комплексных
механизированных потоков выведена из района строительства;
процессы очистки полости и испытания
газом, а также удаления воды с использованием газа или нефти являются
одновременно завершающими процессами строительства и начальным этапом
пусконаладочных работ, что требует четкой согласованной организации их
выполнения с привлечением сил и средств соответствующих организаций и
эксплуатационных подразделений заказчика.
Комплексный технологический процесс
(или входящий в него процесс), выбранный для определенного трубопровода (или
его участка), может отличаться по технологическим схемам производства работ.
Это обусловлено совокупностью следующих основных факторов:
конструктивной характеристикой
трубопровода;
технологической схемой (расположение
линейной арматуры, узлов пуска и приема, узлов подключения компрессорных или
насосных станций и т.п.);
продольным профилем (учитывается
только при гидравлическом испытании);
наличием и местом расположения
источников воды и природного газа (только на газопроводах);
условиями и технико-экономической
целесообразностью перебазировок на трассе машин для закачки в трубопровод воды
или воздуха;
направлением движения потоков
крупных механизированных комплексов.
При выборе технологической схемы
производства работ по очистке полости, испытанию и удалению воды следует
учитывать конкретные условия таким образом, чтобы выбранная схема производства
работ обеспечивала возможность выполнения работ в кратчайший срок (наименьшая
продолжительность) при условии обеспечения нормативных критериев по качеству.
.2 Проектирование организации и
проектирование производства работ по очистке полости
Проектирование организации очистки
полости, испытания и удаления воды следует выполнять на этапе разработки проекта
организации строительства (ПОС); проектирование производства этих же работ
следует выполнять на этапе разработки проекта производства работ (ППР).
Проектирование организации и проектирование производства работ осуществляется
на основе требований СНиП по разработке ПОС и ППР.
НИПИ «Нефтегаз» разрабатывает и
включает в состав проекта организации строительства следующие документы:
а) организационно-технологическую
схему очистки полости (только для нефтепроводов) с указанием в этой схеме:
способов проведения работ
применительно к конкретным участкам трубопровода;
участков, объемов и сроков
выполнения работ по ОПИУ (ОПИ) выбранными способами;
источников воды, газа или нефти,
используемых для ОПИУ (ОПИ);
мест установки групп
наполнительно-опрессовочных станций и групп передвижных компрессоров с
указанием технологических характеристик каждой группы;
мест слива воды после
гидравлического испытания; места забора и слива воды, отбора газа и нефти
должны быть согласованы с заинтересованными организациями;
б) директивный график строительства
объекта, разрабатываемый на основе схемы, указанной в п.7.11, а;
в) график потребности в основных
механизмах и оборудовании, необходимых для выполнения ОПИУ (ОПИ) по объекту в
целом;
г) пояснительную записку,
содержащую:
) обоснование способов производства
ОПИУ (ОПИ) по отдельным участкам объекта, в том числе способов производства
работ в зимних условиях;
) основные параметры производства
работ по очистке полости, испытанию и удалению воды и в том числе:
протяженность участков и величины
давления пропуска очистных и разделительных устройств;
границы испытываемых участков и
величины давлений в верхней и нижней точках, а также в точках установки
манометров;
протяженность участков газопроводов,
из которых удаляют воду, и давление газа (воздуха) для пропуска применяемых
разделительных устройств по каждому участку;
протяженность участков
нефтепроводов, из которых удаляют воду, типы применяемых разделителей и
скорости заполнения участков нефтью;
) обоснование потребности в основных
строительных механизмах и оборудовании, в том числе указания о возможности
использования для ОПИУ (ОПИ) узлов трубопровода, предусмотренных проектом, а
также указания по специально смонтированным временным узлам для ОПИУ (ОПИ);
) обоснование резерва машин для
ликвидации аварийных ситуаций;
) мероприятия по охране окружающей
среды.
В составе проекта производства работ
НИПИ «Нефтегаз» на основе проекта организации строительства и рабочих чертежей
применительно к конкретному участку строящегося трубопровода или промысла
разрабатывает:
а) рабочую схему с детальной
разработкой:
технологических схем очистки
полости;
графика производства работ по ОПИУ
(ОПИ), совмещенного с графиком работ крупных механизированных комплексов;
схемы организации связи и
ремонтно-восстановительной службы;
б) график поступления на объект
машин, оборудования, механизмов и приборов с приложением комплектовочных
ведомостей для выполнения ОПИУ (ОПИ);
в) рабочие чертежи с указанием:
обвязки наполнительно-опрессовочных
станций или групп компрессоров;
узлов подключения насосных станций и
компрессорных групп к трубопроводу;
узлов слива воды и эмульсии;
котлована для сбора эмульсии;
узлов воздухоспускных кранов;
г) пояснительную записку, включающую:
обоснование технологических и
организационных решений по производству ОПИУ (ОПИ);
расчеты объемов воды, воздуха, газа,
нефти, необходимых для производства ОПИУ (ОПИ);
расчеты по составу машин,
оборудования, приборов для производства ОПИУ с указанием сроков поставки на
трассу;
обоснование резерва основных машин,
оборудования и материалов для ликвидации возможных аварийных ситуаций;
мероприятия, обеспечивающие
производство работ по ОПИУ (ОПУ) в зимних условиях;
мероприятия по организации
управления, диспетчеризации и связи в процессе производства работ по ОПИУ (ОПИ)
и в том числе для случаев, когда работы по ОПИУ (ОПИ) выполняют совместно
строительные и эксплуатационные организации;
мероприятия по охране труда и
технике безопасности;
мероприятия по охране окружающей
среды;
мероприятия по организации службы
быта.
При разработке ПОС и ППР следует
предусматривать, чтобы к моменту начала работы потока ОПИУ на соответствующих
участках объекта были закончены все предшествующие виды строительно-монтажных
работ (изоляционно-укладочные, балластировка трубопровода, приварка катодных
выводов, засыпка трубопровода, монтаж линейной арматуры, монтаж и
предварительное испытание подводных переходов, стационарных камер пуска и
приема поршней, узлов подключения к компрессорным и насосным станциям и т.д.).
Рабочая схема и график производства работ по ОПИУ (ОПИ) на завершающем этапе
строительства могут быть откорректированы в связи с изменением условий
строительства, проектных решений и т.п.
Корректировку рабочей схемы и графика
производства работ по ОПИУ выполняет соответствующая строительно-монтажная
организация с участием НИПИ «Нефтегаз» и эксплуатационной организации заказчика
при разработке специальной (рабочей) или типовой инструкции по очистке полости
и испытанию.
.3 Управление работами по очистке
полости трубопроводов
Очистку полости трубопроводов в НИП
«Нефтегаз» осуществляют по специальной рабочей инструкции на один объект или
группу однотипных объектов и под руководством комиссии, состоящей из
представителей НИПИ «Нефтегаз», субподрядных организаций, заказчика, органов
технадзора. Комиссия по испытанию трубопровода назначается совместным приказом
НИПИ «Нефтегаз» и заказчика или на основании совместного приказа их вышестоящих
организаций. При поточном проведении комплекса работ по ОПИУ и неразрывной
технологической взаимосвязи всех видов работ по ОПИУ в целом на трубопроводе
создают единую комиссию по ОПИУ. В случаях, когда по условиям и требованиям
организации и технологии производства работ отдельные процессы, составляющие
ОПИУ, выполняют раздельно во времени и по фронту работ (например, продувка
воздухом объекта или его участков, испытываемых газом или водой; заполнение
нефте- или нефтепродуктопровода соответствующим продуктом после испытания
объекта воздухом) могут быть организованы соответствующие раздельные комиссии
по очистке полости, испытанию и удалению воды. В период непосредственного
проведения работ (ОПИУ или ОПИ) по решению комиссии организовываются аварийные
бригады для ликвидации отказов и других аварийных ситуаций. Состав, техническая
оснащенность и границы работы аварийных бригад определяются специальной рабочей
инструкцией по проведению ОПИУ (ОПИ). Для руководства работами аварийной
бригады назначается мастер (или прораб), действующий в соответствии с
требованиями специальной рабочей инструкции по проведению ОПИУ (ОПИ). В случаях
возникновения аварийных ситуаций, не предусмотренных специальной рабочей
инструкцией, выполнять работы необходимо исключительно по указанию председателя
рабочей комиссии по ОПИУ (ОПИ).
Председатель комиссии обязан:
а) организовать проверку по
исполнительной документации и на месте готовности объекта к ОПИУ (ОПИ);
б) рассмотреть совместно с членами
комиссии специальную рабочую инструкцию по производству ОПИУ (ОПИ) и утвердить ее;
в) организовать изучение специальной
рабочей инструкции по производству ОПИУ (ОПИ) всеми членами комиссии,
инженерно-техническими работниками и рабочими, участвующими в работах;
г) назначить по согласованию с
эксплуатационной организацией (и при необходимости по согласованию с местными
организациями) время начала и проведения работ;
д) руководить всеми работами по
проведению ОПИУ (ОПИ), назначив своим распоряжением ответственных руководителей
на отдельных участках объекта;
е) обеспечить наличие и ведение
технической документации;
ж) принимать немедленные меры для
выявления причин и устранения аварийных ситуаций;
з) обеспечить безопасность всех
участников работ и населения, а также машин, оборудования и сооружений в зоне,
в которой проходит испытание объект;
и) подготовить техническую
документацию о завершении каждого этапа ОПИУ (ОПИ).
Все инженерно-технические работники,
рабочие, а также техника, материалы и все ресурсы, необходимые для производства
ОПИУ (ОПИ) строительно-монтажных и эксплуатационных организаций (независимо от
их ведомственной принадлежности) на период производства ОПИУ (ОПИ), находятся в
полном распоряжении председателя комиссии. Все распоряжения, связанные с ОПИУ
(ОПИ), отдает только председатель комиссии. В особых случаях распоряжения может
отдавать член комиссии, имеющий на это письменные полномочия председателя
комиссии. Все распоряжения, касающиеся процессов ОПИУ (ОПИ), представители
вышестоящих и контролирующих организаций могут отдавать только через
председателя комиссии. Специальная рабочая инструкция составляется
строительно-монтажной организацией и заказчиком по каждому конкретному
трубопроводу с учетом местных условий производства работ, согласовывается с
НИПИ «Нефтегаз» и утверждается председателем комиссии по испытанию трубопровода.
Специальная рабочая инструкция на очистку полости дополнительно согласовывается
с органами государственного газового надзора на местах и с эксплуатирующей
организацией, осуществляющей подачу газа. Специальная рабочая инструкция по
очистке полости предусматривает:
способы, параметры и
последовательность выполнения работ;
методы и средства выявления и
устранения отказов (застревание очистных устройств, утечки, разрывы и т.п.);
схему организации связи;
требования пожарной, газовой,
технической безопасности и указания о размерах охранной зоны.
Составной частью инструкции является
откорректированный вариант технологической схемы и графика производства работ
по ОПИУ (ОПИ).
В случаях, когда очистку полости на
трубопроводе или его участке выполняют в разное время под руководством
соответствующих комиссий, разрешается разрабатывать специальные рабочие
инструкции только по выполнению данного процесса. Специальная рабочая
инструкция должна находиться:
у председателя и членов комиссии;
у ответственных руководителей бригад
(звеньев), осуществляющих ОПИУ (ОПИ), и аварийных бригад;
у дежурного диспетчера (начальника
смены) управления магистральных газопроводов или нефтепроводов;
у представителя инспекции
Госгазнадзора.
Управление в процессе очистки
полости и испытания трубопроводов включает следующие этапы:
организационную подготовку;
технологическую подготовку;
выполнение основных и завершающих
работ.
На этапе организационной подготовки
ОПИУ (ОПИ) разрабатывают:
приказы о создании рабочей комиссии
(комиссий) по ОПИУ (ОПИ);
документацию по проведению очистки
полости, испытания и удаления воды на основе утвержденных технических решений и
проекта;
мероприятия, обеспечивающие
проведение ОПИУ (ОПИ).
На этапе технологической подготовки:
разрабатывают рабочую инструкцию по
ОПИУ (ОПИ);
отдают приказы о формировании и
техническом оснащении потоков ОПИУ (ОПИ);
осуществляют поставку на место
проведения работ технологических комплектов;
ведут монтажные работы по подготовке
собственно трубопровода к ОПИУ (ОПИ);
монтируют машины и механизмы для
закачки в трубопровод воды и воздуха, узлы подключения этих машин к
трубопроводу, а также узлы подключения трубопровода к источникам газа, нефти и
т.п.
На этапе основных работ осуществляют
весь комплекс работ по ОПИУ (ОПИ) под непосредственным руководством рабочих
комиссий.
Этап завершающих работ включает:
работы по оформлению технической
документации (включая акты на производство работ);
демонтаж машин и механизмов и
оборудования, которые применяли при осуществлении ОПИУ (ОПИ).
Система оперативного управления ОПИУ
(ОПИ) предусматривает использование постоянно действующей диспетчерской службы
для сбора, обработки и передачи оперативной информации о ходе производства
работ. Диспетчерская служба осуществляет всю организационную и технологическую взаимосвязь
как между исполнителями работ по ОПИУ (ОПИ), так и с эксплуатационными
организациями заказчика в части использования при ОПИУ (ОПИ) природного газа,
нефти или нефтепродуктов.
Работы по ОПИУ (ОПИ) осуществляются
силами и средствами строительно-монтажных организаций, выполняющих
сварочно-монтажные работы с привлечением сил и средств НИПИ «Нефтегаз», а при
необходимости сил и средств соответствующих эксплуатационных организаций. В
качестве основной формы материально-технического обеспечения работ по ОПИУ
(ОПИ) применяют производственно-технологическую комплектацию (машинами,
механизмами, приборами, оборудованием, очистными и разделительными
устройствами, горюче-смазочными и другими материалами), заранее подготовленную
на производственных базах или трассе. Исходной единицей комплектации является
технологический комплект, учитывающий потребность в материально-технических
ресурсах для работы потока ОПИУ (ОПИ) в соответствии с конкретной структурой
комплексного технологического процесса. Технологический комплект для
осуществления ОПИУ (ОПИ) состоит из восьми нормо-комплектов, их назначение,
порядок расчета и сроки поставки на трассу приведены в табл.1.
очистка трубопровод загрязнение
Таблица 1
|
Наименование нормо-комплекта
|
Расчет комплектности
|
Сроки поставки на трассу к месту монтажа до начала работ потока
ОПИУ (ОПИ)
|
Особые требования
|
|
1
|
2
|
3
|
4
|
|
Основное технологическое оборудование (ГНОА, ГК, ОП, ПР)
|
В ППР
|
Одновременно поставляют запасные части и агрегаты; машины
поставляют в обкатанном состоянии
|
|
Арматура, трубопроводы и приборы
|
В ППР по технологическим схемам
|
За 10 сут
|
Следует учитывать использование имеющейся на трубопроводе
арматуры, узлов пуска и приема и т.п.
|
|
Вспомогательное оборудование для выполнения
строительно-монтажных работ, включая оборудование службы быта
|
В ППР
|
За 14 сут
|
Допускается целевое использование техники, находящейся и
работавшей на трассе в составе основного линейного потока
|
|
Машины и техника аварийных бригад
|
Предварительно в ППР, окончательно в Инструкции по ОПИУ (ОПИ)
|
|
|
Средства связи и управления
|
Предварительно в ППР, окончательно в Инструкции по ОПИУ (ОПИ) с
участием подразделения связи, разрабатывающего схему связи и предоставляющего
средства связи
|
В период развертывания потока ОПИУ (ОПИ) можно использовать
средства связи, действовавшие в КМК; в дальнейшем необходимые средства связи
используются исключительно для обслуживания потока ОПИУ
|
|
Транспорт
|
Предварительно в ППР, окончательно в Инструкции по ОПИУ (ОПИ)
|
За 14 сут до начала работы потока (ОПИ) должны быть поставлены
на трассу транспортные средства, обеспечивающие только развертывание потока
|
|
Горюче-смазочные материалы
|
В ППР
|
а) за 14 сут начинают завозить ГСМ в объеме, обеспечивающем
развертывание потока; б) за 3 сут начинают равномерно завозить ГСМ в объеме,
обеспечивающем непрерывную работу всех механизмов и машин потока с созданием
постоянного резерва ГСМ не менее чем на 5 сут
|
В условиях труднодоступной местности ГСМ поставляют заранее в
объемах, обеспечивающих осуществление всего потока ОПИУ (ОПИ) с резервом не
менее, чем 1,5 расчетного объема
|
|
Природный газ для продувки, испытания и удаления воды Нефть или
нефтепродукты для удаления воды
|
Предварительно в ППР, окончательно в Инструкции по ОПИУ (ОПИ)
|
Поставку обеспечивают с участием ответственных представителей
эксплуатационных организаций заказчика
|
|
|
|
|
|
При расчете состава нормо-комплекта
следует принимать во внимание не только необходимость обеспечения производства
всех операций по ОПИУ (ОПИ), но и резервирование по отдельным позициям.
Материально-техническое обеспечение
для осуществления потока ОПИУ (ОПИ) выполняют средствами соответствующей
строительно-монтажной организации, руководитель которой издает специальный
приказ. В приказе наряду с другими мероприятиями должны быть указаны лица, ответственные
за поставку, а также за приемку и использование техники и оборудования для ОПИУ
(ОПИ). Приемку и целевое использование техники и оборудования, включая
проведение строительно-монтажных работ и обеспечение быта, следует поручать
начальнику потока, участка (прорабу, мастеру), который в дальнейшем будет занят
в работах по ОПИУ (ОПИ). В процессе осуществления ОПИУ или ОПИ (с момента
издания приказа о комиссии по ОПИУ или ОПТ) вся выделенная техника и
оборудование находятся исключительно в оперативном распоряжении председателя
комиссии по ОПИУ (ОПИ). При комплектации аварийных бригад используют силы и
средства:
высвободившиеся из
специализированной бригады по ОПИУ (ОПИ);
привлекаемые из состава основных
линейных потоков;
привлекаемые (по согласованию) из
состава соответствующих эксплуатационных организаций заказчика.
Для обеспечения возможности
ликвидации отказов или аварийных ситуаций в кратчайшие сроки при определении
необходимого количества аварийных бригад учитывают конкретные условия
производства работ.
При производстве работ ОПИУ (ОПИ)
организовывается система связи силами и средствами соответствующего управления
по связи (на договорных началах). Система связи обеспечивает оперативное
руководство всеми работами по ОПИУ (ОПИ) в установленных по времени режимах. В
процессе непосредственного проведения очистки полости, испытания и удаления
воды система связи находится в распоряжении исключительно председателя комиссии
и использовать средства связи для других целей категорически запрещается. Для
организации системы связи используют следующие средства:
стационарные (телефон, телекс и
т.п.);
мобильные (радиостанции).
При наличии на участке работ по ОПИУ
стационарных средств связи (проводная постоянная или временная связь
организаций Миннефтегазстроя, Мингазпрома, Миннефтепрома и Минсвязи) эти
средства связи по согласованию должны быть включены в единую систему связи и
работать в согласованных режимах.
Стационарные средства связи на
трассе должны быть:
в местах установки ГНОА, ГК;
в местах расположения рабочих
комиссий по ОПИУ (ОПИ);
в штабах районов строительства.
Стационарные средства связи за
пределами трассы следует располагать также:
в пунктах управления и
диспетчеризации - штабе строительства объекта;
в строительно-монтажных управлениях,
трестах и объединениях;
в организациях заказчика и
генерального проектировщика;
в диспетчерском отделе
Миннефтегазстроя.
Рабочие комиссии и непосредственные
исполнители работ используют мобильные средства связи. Организуемая для
производства работ по ОПИУ (ОПИ) система связи должна, кроме основной цели
оперативного руководства, обеспечивать возможность проведения диспетчерских
(селекторных) совещаний на уровне штаба строительного района, штаба
строительства и Министерства. Режим работы системы связи при проведении диспетчерских
совещаний не должен создавать каких-либо помех для оперативной работы комиссии
по производству ОПИУ (ОПИ).
Глава 3.Совершенствование методов
очистки трубопроводов
.1 Устройства для очистки полости
трубопроводов
Для очистки полости трубопроводов,
удаления из них воздуха и воды НИПИ «Нефтегаз» предлагает применить специальные
очистные и разделительные устройства. Для повышения технико-экономических
показателей строительства из имеющегося типажа очистных и разделительных
устройств необходимо выбрать устройства, обеспечивающие наиболее высокую
эффективность очистки полости и удаления воды в конкретных условиях
производства работ. Рациональные области применения очистных и разделительных
устройств на строящихся трубопроводах приведены в табл.2.
Таблица 2
|
Очистное или разделительное устройство
|
Очистка полости трубопроводов
|
|
|
протя- гивание
|
Продувка
|
промывка
|
вытес- нение
|
|
Очистные поршни ОП
|
+
|
+
|
-
|
+
|
|
Очистные поршни с кардной лентой ОПКЛ
|
-
|
+
|
+
|
-
|
|
Поршни-разделители эластичные монтажные ДЗК-РЭМ
|
-
|
-
|
+
|
|
Очистные поршни-разделители ОПР-М
|
+
|
-
|
+
|
+
|
|
Поршни-разделители манжетные ПР
|
-
|
-
|
+
|
+
|
Примечание. Знаками "+"
обозначены наиболее эффективные области применения очистных и разделительных
устройств.
.2 Усовершенственные системы
обнаружения очистных устройств
НИПИ «Нефтегаз» предлагает
использовать усовершенственные системы обнаружения очистных устройств
"Импульс" и "Полюс" и технологию их использования при
проведении очистки полости и удалении воды из трубопроводов. Для контроля за
прохождением очистных устройств и определения их местоположения при остановке в
трубопроводе необходимо применять системы обнаружения "Импульс" и
"Полюс" в соответствии с техническими условиями. Системы обнаружения
очистных устройств "Импульс" и "Полюс" используют при проведении
следующих технологических процессов:
промывке с пропуском очистных или
разделительных устройств в потоке жидкости, закачиваемой в трубопровод для
гидравлического испытания;
продувке с пропуском очистных
устройств под давлением воздуха или природного газа;
вытеснении загрязнений в потоке
жидкости с пропуском разделительных устройств под давлением воздуха или
природного газа;
удалении жидкости из трубопровода
после его гидравлического испытания с пропуском разделительных устройств под
давлением воздуха, природного газа, нефти и нефтепродуктов.
Системы обнаружения
"Импульс" и "Полюс" могут быть использованы при пропуске
очистных устройств по надземным трубопроводам, а также по подземным
трубопроводам, засыпанным грунтами любых категорий или проложенным по
обводненной и заболоченной местности. Системы обнаружения безвредны для
обслуживающего персонала и окружающей среды.
Система обнаружения очистных
устройств "Импульс" состоит из сигнализатора и переносного приемника
с антенной. Сигнализатор, смонтированный на очистном поршне, движущемся внутри
трубопровода, излучает знакопеременные низкочастотные магнитные импульсы,
которые принимаются магнитной антенной приемника и преобразуются им в звуковые
сигналы. В сигнализатор входит блок питания от источников постоянного тока
(сухих элементов или аккумуляторов). Приемник включает в себя четыре фильтра
защиты от помех, вводимых в действие клавишным переключателем, а также
автономный блок питания от сухих элементов или аккумулятора. Для защиты от
воздействия давления и агрессивной среды в трубопроводе сигнализатор и блок
питания помещены в герметичный корпус, выполненный из немагнитного материала.
Система обнаружения очистных устройств "Полюс" включает магнитный
датчик и вторичный прибор (переносной приемник).
Датчик состоит из инвентарных блоков
постоянных магнитов типа БМ-1 (БМ-2), смонтированных на корпусе очистного
поршня. Регистрация магнитного поля (местоположения поршня) обеспечивается
вторичным прибором, в качестве которого используется приемник, оборудованный
системой магнитных компасов. При использовании систем "Импульс" и
"Полюс" следует учитывать особенности их эксплуатации в конкретных
условиях строительства.
Применение системы
"Импульс" обеспечивает:
регистрацию магнитных сигналов в
широком диапазоне изменения скорости движения очистного устройства по
трубопроводу;
эффективный поиск очистных устройств
на участках трубопровода, проложенного в зоне промышленных помех, благодаря
использованию специальных фильтров, исключающих регистрацию ложных сигналов;
надежную работу при отрицательных
температурах.
Преимуществами системы
"Полюс" являются:
простота конструкции и низкая
стоимость приборного комплекса;
отсутствие источников энергии для
питания датчика, и, следовательно, неограниченное время работы системы в трубопроводе;
возможность использования системы
при очистке полости и испытании промысловых трубопроводов давлением выше 10
МПа;
возможность быстрого восстановления
работоспособности системы в трассовых условиях путем замены отдельных
инвентарных магнитных блоков, установленных на очистном устройстве.
Рациональная технология поиска
поршня в трубопроводе включает определение:
участка трубопровода, на котором
находится поршень;
точного местоположения поршня,
остановившегося на известном участке трубопровода.
Определение участка трубопровода, на
котором находится поршень, следует осуществлять путем контроля за прохождением
поршня через контрольные точки трассы. Установленные в этих точках приемники
регистрируют магнитные сигналы, излучаемые размещенным на поршне датчиком. Если
магнитный сигнал зафиксирован приемником на предыдущей контрольной точке трассы
и не зарегистрирован на последующей, тогда поршень находится на участке
трубопровода между этими точками трассы. Чем больше контрольных точек на
трубопроводе, тем короче участок, на котором в случае остановки (застревания)
следует искать поршень. Зная время запуска и прохождения контрольной точки, ее
удаленность от места пуска поршня, можно определить скорость перемещения
очистного устройства по трубопроводу.
При промывке, удалении жидкости из
трубопровода, а также вытеснении загрязнений в потоке этой жидкости, т.е. при
малых скоростях движения поршня, для контроля за его движением достаточно
использовать 1-2 приемника, перемещаемого последовательно по трассе от одной
контрольной точки к другой контрольной точке до подхода к ней поршня. В этом
случае возможно применение как системы "Импульс", так и системы
"Полюс".
При продувке трубопровода,
проводимой при высоких скоростях движения поршня, следует применять систему
"Импульс", а регистрацию магнитных сигналов производить несколькими
приемниками, расположенными заранее (до начала продувки) в контрольных точках
трассы трубопровода (без их перебазировки в процессе продувки).
В случае остановки или застревания
поршня в трубопроводе определение его точного местоположения производят
приемником системы "Импульс" или "Полюс", перемещаемым
оператором вдоль трассы трубопровода.
При этом в целях ускорения поиска
поршня следует обращать внимание на места наиболее вероятной остановки поршня:
резкие повороты, подъем трассы в гору, переходы через овраги и т.п. Сокращение
времени поиска поршня возможно также за счет одновременного обхода трассы
несколькими операторами.
Для обеспечения надежного контроля
за перемещением поршня, особенно при очистке полости на открытый конец
трубопровода, необходимо ограничивать скорость его перемещения в пределах
скоростей уверенной регистрации приемником магнитных сигналов.
Для предотвращения повреждения
датчиков магнитных сигналов систем "Импульс" и "Полюс" при
вылете поршня из трубопровода необходимо:
при удалении жидкости на конце
трубопровода устанавливать камеру приема очистных устройств;
при продувке ограничивать предельную
скорость перемещения поршней.
При запуске поршней, оборудованных
системой обнаружения "Импульс", необходимо использовать устройство
дистанционного включения электропитания датчика магнитных сигналов. Для
рационального использования источников электропитания включение этого датчика
проводят после окончательной готовности к проведению очистки полости (монтажа
камеры пуска, обвязки линий подачи воздуха, природного газа или воды,
расстановки операторов с приемниками магнитных сигналов в контрольных точках
трассы и др.).
Выводы
В курсовой работе на тему
«Организация и совершенствование методов очистки трубопроводов» рассмотрели,
как организовывают работу по очистке полости трубопроводов проектным институтом
НИПИ «Нефтегаз», а также усовершенственные системы обнаружения очистных
устройств.
Организация работ по очистке полости
трубопроводов - одна из важнейших работ по техническому обслуживанию
трубопроводов, т. к. при правильной, точной организации работ будет идти
бесперебойная перекачка нефти, нефтепродуктов или газа.
При произведении очистки полости
трубопроводов периодическим характером, равными интервалами времени может
обеспечиваться бесперебойная перекачка при капитальном, среднем и текущем
ремонтах, что позволяет компании не останавливать производство во время
ремонтных работ.
Для повышения технико-экономических
показателей строительства из множества типов очистных устройств нужно выбрать
те очистные устройства, которые обеспечивают наиболее высокую эффективность
очистки полости трубопроводов в конкретных условиях производства работ. От
выбора того или иного типа очистных устройств зависит качество очистки
трубопроводов, следовательно и качество работы самого трубопровода. Также
многие очистные устройства имеют вспомогательные функции (имеют датчики,
которые определяют толщину стенки трубопровода, Устройства, которые определяют
каково напряженное состояние трубопровода). От выбора такого рода устройств
зависят экономические показатели эксплуатации трубопроводов, т. к. при
своевременном обнаружении неполадок (например, перенапряженности труб) можно
избежать многих непредвиденных обстоятельств (аварий, утечек, разрывов труб, а
также взрывов), что может привести к большим финансовым затратам компании,
вреду экологии.
По этим причинам очень важно
правильно и четко организовать работу по очистке полости трубопроводов,
подобрать подходящие очистные устройства, соблюдать все меры предосторожности
по технике безопасности.
Список использованной литературы
1. СНиП 111-4-80 «Техника безопасности в строительстве»
2. «Правила техники безопасности при строительстве
магистральных трубопроводов»
. «Справочник по технике безопасности, противопожарной
технике и производственной санитарии»
. «Справочник газовика»
. «Справочник нефтяника»
. Атаян Н.Х.»Организация управления нефтегазовой
производственной системой» М. Недра-1986г.
. Зайцев И.Л. «Экономика промышленного предприятия» М.
Недра-2000г.
. Нефтяное законодательство РК «Сборник нормативных актов»
А.-1999г.
. Кожекин Г.Я. «Организация производства» М.-1998г.
. Управление персоналом организации. Учебник под ред. А.Я.
Кибанова М. ИНФРА,1997г.
. Корцев А.А. «Нефтегазовая геологии» 2001г.
. Омаров Б. «Организация и методология планирования»
А.-2000г.
. Баснив Н.С. «Добыча и транспортировка газа и газового
конденсата»
. Сыромятников Е.С., Савицкий В. Б., Золотникова Л. Т.
«Организация производства на предприятиях нефтяной и газовой промышленности»
Уч. М. Недра,1985г.
. Алиев Р.А. «Трубопроводный транспорт нефти и газа» М.
Недра-1998г.
. Галлиев, Корпачев Н.З. «Магистральные нефтепроводы» М.
Недра-1988г.
. Бородавкин П.П. «Подземные магистральные трубопроводы»
(проектирование и строительство) М. Недра-1982г.