Модернизация подъемно-качающегося стола
РЕФЕРАТ
Курсовой проект выполнен в связи с модернизацией
подъемно-качающегося стола за обжимной и черновой клетями, крупносортового
стана 550 цеха ОАО «ЕМЗ».
На основе опыта эксплуатации подъемных столов на
ОАО «ЕМЗ» и родственных предприятиях черной металлургии, результатов
аналитического и литературно обзора предлагаю с целью повышения надежности в
работе подъемно-качающегося стола, заменить тягу в приводе стола, сделав ее не
литой, а сварной используя для изгтовления тяги сортамент продукции стана.
СОДЕРЖАНИЕ
Введение
.
ЛИТЕРАТУРНЫЙ ОБЗОР
.1
Подъемные столы
.2
Подъемно-качающиеся столы
.
СПЕЦИАЛЬНАЯ ЧАСТЬ
.1
Расчет и выбор электродвигателя привода подъемно-качающегося стола
2.2 Влияние маховых масс стола на процесс
качания
2.3
Условия работы подъемно-качающегося стола в сортопрокатном цехе (стан 550) ЕМЗ
и характер отказов в эксплуатации
.4
Технические предложения по совершенствованию конструкции подъемно-качающегося
стола и технико-экономическое обоснование мероприятий
.5
Сравнительный анализ влияния уменьшенной массы тяг на время подъема стола,
и на энергетический показатель привода подъема стола
.6
Определение усилий в тяге привода стола
.7
Расчеты на прочность
.8
Расчет подшипника
.9
Смазка узлов трения
.
ОХРАНА ТРУДА
ВЫВОД
ПЕРЕЧЕНЬ
ССЫЛОК
Введение
Для обслуживания клетей трио
сортовых и листовых станов применя-ются подъемно-качающиеся и передвижные
столы.
При раскатке коротких заготовок
в обжимных клетях трио применяются подъемные столы с параллельным перемещением
вверх и вниз. При длинных полосах в клетях трио и дуо применяются
подъемно-качающиеся столы, у которых одна сторона закреплена на шарнире, а
другая перемещается вниз и вверх. Передвижные столы, осблуживающие не одну, а
несколько клетей и расположенные в одну линию перпендикулярно направлению
прокатки, встречаются лишь в старых прокатных установках.
Наибольший интерес представляют
подъемно-качающиеся столы, имею-щие широкое распространение. Подъемные столы
значительно реже применя-ются непосредственно у рабочих клетей, чем у
вспомогательных агрегатов (ножниц, нагревательных печей, адъюстажном
оборудовании и т. д.). Передвижные же столы, как сказано, используются в старых
малопроизводи-тельных установках, где выполняют роль рольгангов и шлепперов.
Подъемно-качающиеся столы в
клетях дуо предназначены для передачи прокатываемого листа через верхний валок
и применяются лишь в тонко-листовых станах, имеющих нереверсивное движение и
встречающихся в послед-нее время очень редко. Подъем и опускание столов
осуществляются криво-шипным механизмом.
1. ЛИТЕРАТУРНЫЙ ОБЗОР
.1 Подъемные столы
Подъемные столы состоят из
рамы, роликов (холостых или приводных) и привода. Для уменьшения расхода
энергии при подъеме столов применяется грузовое и гидравлическое
уравновешивание.
Подъемные столы с холостыми роликами
(рис.1.1, а) применяются для мелкосортных, проволочных и тонколистовых станов
при незначительном весе прокатываемой заготовки и часто располагаются лишь с
одной стороны клети. Подъемные столы с приводными роликами (рис.1.1, б)
наоборот применяются в тяжелых станах и располагаются в большинстве случаев по
обеим сторонам рабочей клети.
Рисунок 1.1 - Подъемный стол с холостыми (а) и
приводными и (6) роликами
Передача к роликам рольганга
применяется преимущественно коническими шестернями; в старых конструкциях
встречается еще передача цилиндрическими шестернями и кривошипно-шатунная. В
подъемных столах современных станов в последнее время находят широкое
применение ролики с индивидуальными моторами.
По краям столов устанавливаются
направляющие. Для привода «столов применяют преимущественно кривошипно-рычажную
передачу от электро-мотора или от гидравлической установки (последнее - весьма
редко).
Схема кривошипно-рычажного
привода для подъемного стола, устанавливаемого с одной стороны клети, приведена
на рис.1.2, a, a
для подъемно-качающегося стола (с левой стороной качающегося, с правой -
подъемного) на рис.1.2, б.
Рисунок 1.2 - Схема подъемного
(а) и подъемно-качающегося стола (б)
На обеих схемах показано
уравновешивание при помощи контргрузов. Столы этих типов (особенно последнего)
встречаются весьма редко и потому особого интереса для нас не представляют.
.2 Подъемно-качающиеся столы
Подъемно-качающиеся столы
бывают односторонние и двухсторонние; первые применяются в станах трио легкого
типа (рис. 1.3, а), вторые - в ста-нах трио тяжелого типа или в станах дуо
(рис. 1.3, б) для передачи прокатыва-емого материала на другую сторону через
верхний валок. Подъем стола осуществляется от электромотора через червячный
редуктор и рычажно-кривошипную передачу, причем во втором случае механизмы
обеих сторон связаны между собой тягой, передающей движение неприводной стороне
стола.
Для облегчения подъема и
опускания столов тяжелого типа применяют уравновешивание их: пружинное
(рис.1.4,а), гидравлическое (рис.1.4,б), пневматическое (рис.1.4, в) и грузовое
(рис.1.4, г),; причем наиболее часто встречается последнее, весьма простое.
Столы легкого типа уравновешивания не имеют (рис.1.4, д).
Подъемно-качающиеся столы в
большинстве случаев имеют только вращательное движение (рис. 1.4, б), так как
один конец рамы прикреплен к неподвижной опоре, во в станах трио некоторых
конструкций стол (рис.1.4, в) кроме вращательного имеет и поступательное
движение для большего приближения к верхнему и среднему валкам.
В отличие от подъемных столов,
длина которых не меньше длины про-катываемого материала, подъемно-качающиеся
столы конструируются с таким расчетом, чтобы их длина обеспечивала перемещение
материала по роль-гангам стола при их наклоне. Эта длина примерно равна
0,65-0,7 длины прокатываемого материала. Угол наклона зависит от высоты подъема
стола и его длины; угол наклона выбирается таким, чтобы обеспечено было
перемещение материала по рольгангам стола и не имел места изгиб полос при
переходе ими стыка стола с рольгангом. Практически наклон стола берется в
пределах от 1 :7 до-1:14 (нижний предел относится к старым установкам,
верхний-к новым).
Рисунок 1.3 - Односторонний (а)
и двухсторонний (б) подъемно-качающиеся столы
Для перемещения прокатываемого
материала в помост рамы стола вмонтирован рольганг или установлен цепной
транспортер (тонколистовые станы), причем в столах легкого типа рольганг иногда
применяется с холостыми роликами, но в большинстве случаев - с приводными [1].
Вращение роликов рольганга
осуществляется от индивидуальных моторов и через групповые приводы с моторами,
устанавливаемыми на раме стола или стационарно - на фундаменте.
Подъемно-качающийся стол
современной конструкции для клети трио L
= 1500 мм. Стол имеет две массивные рамы1, в каждую из которых вмонтировано по
пять ребристых роликов 2 и цилиндрических 3 (с одной стороны 8, с другой 10),
Ролики приводятся во вращение от четырех моторов 4, установленных спереди и
сзади (по два на каждую раму) с обеих сторон рольганга. Редукторы 5 -
трехступенчатые цилиндрические. Четвертая ступень 6 вынесена в сторону стола
для лучшего зацепления шестерни реду-ктора с шестерней продольного вала, на
котором сидят конические шестерни 7 для передачи вращения коническим шестерням
8 роликов.
Подъем и опускание стола (обеих
сторон) осуществляются от одного мотора 9, установленного внизу, но не под
столом, а немного в стороне. Мотор 9 через червячный редуктор 10 приводит в
движение кривошипно-рычажную передачу 7, связанную тягой 12 с рамой 1 стола и
тягой 13 с уравновешивающим устройством 14 среднего валка. Уравновешивание
столов осуществляется грузом 15.
С передней стороны клети между
роликами рольганга вмонтирован палец 16 для поворачивания заготовок.
Для более плавной работы
механизма стола на уравновешивающих тягах стола и среднего валка установлены
пружины 17, а на вилках шатунов привода пружины 18.
Большой интерес представляет
также устройство качающегося автоматического стола для клети дуо 750 ×900
мм, сконструированного НКМЗ (рис.1.5, а и б). В этой конструкции вместо
рольгангов установлен цепной конвейер, имеющий две ветви 1, переброшенные через
четыре шкива 2, из которых большие сидят на оси 3, червячного колеса,
связанного через червяк 4 с мотором 5 (N=9,5 кВт, п=1300 об/мин). У мотора 5
установлен электромагнитный тормоз 6. Скорость цепи конвейера 1,5 м/сек, число
реверсов цепи 40 в минуту.

Рисунок 1.4 - Схемы
подъемно-качающихся столов: с пружинным (а), гидравлическим (б), пневматическим
(в), грузовым (г) уравновешиванием и без уравновешивания (д)
качающийся стол маховый электродвигатель
Подъем стола осуществляется от
мотора 7 через червячный редуктор 8 с кривошипной передачей 9, которая тягой 10
связана с коротки плечом 11 стола, имеющим форму треугольника, в одной из
вершин которого закреплен шарнир, являющийся точкой опоры для разноплечего
рычагам.
Короткое плечо cтола
одновременно является противовесом, будучи выполнено весьма массивным по
сравнению с длинным плечом. Кроме того к одной из вершин короткого плеча
(треугольника) прикреплена оттяжная цепь 12, переброшенная через шкивы 13 и 14,
Связанная с цилиндрами 15 и 16 уравновешивающего устройства.
Число запусков мотора
качающегося стола 40 в минуту, подъем стола 800 мм.
Для направления полосы в валки
служат направляющие щеки,' имеющие максимальный раствор 900мм, ход 185 мм, ход
цилиндра привода линеек 105 мм, рабочее давление в цилиндре 5 ат.
Передняя и задняя стороны стола
имеют аналогичное устройство и отдельные приводы, причем уравновешивающие
устройства, состоящие из оттяжных цепей, связаны между собой тягами 17.
Таким образом привод для
подъема обеих сторон стола имеет два мотора, связанных между собой
электрически, и имеет механическое сочленение при помощи оттяжных цепей.
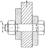
2. СПЕЦИАЛЬНАЯ ЧАСТЬ
На рис. 2.1 представлен
подъемно-качающийся стол установленнй за клетью «трио» стана 550.
Основные элементы
подъемно-качающихся столов: сварные стальные рамы 4 и 6, ролики рольганга 1,
привод роликов 3, подъемно-качающийся механизм и его привод 8. Рамы столов
связаны между собой поперечными сварными траверсами. Столы поворачиваются относительно
оси опорного подшипника и опираются четырьмя подшипниками на оба стола.
Траверсы внизу шарнирно опираются на сварные двутаврообразные стойки 4,
которые, в свою очередь, укреплены на фундаменте.
На каждом столе имеется по 20;
ролики приводятся в движение коническими шестернями и трансмиссионным валом,
установленными в раме стола по бокам его. Трансмиссионный вал приводится в
движение универсальными шпинделями 2 от отдельных электродвигателей,
установленных на фундаменте.
Рисунок 2.1 -
Подъемно-качающийся стол обжимной клети «трио» крупносортового стана 550
Техническая характеристика
механизма подъема стола:
Электродвигатель МТF
- 62 - 10, мощностью 60квт и 575 оборотов в минуту. Редуктор ЦД - 85
передаточное число которого равно 23.2.
Техническая характеристика
механизма привода роликов:
Электродвигатель МТF
- 52 - 8, мощностью 30квт и 725 обоотов в минуту. Редуктор ЦД - 82 с
предаточным числом 8.42, который дает скорость роликов рольганга равную 1.35
м/сек.
.1 Расчет и выбор
электродвигателя привода подъемно-качающегося стола
Исходя из условий, что
статические усилия, действующие в отдельных звеньях механизма подъема,
находятся с учетом веса и положения уравновешивающих контргрузов, определяем
нагрузку в шарнире С (рис.2.2,а)
(2.1)
где:
и
-вес стола и вес прокатываемой
заготовки;
и
- плечи сил G1 G2 и Qc -
относительно оси Е качания стола.
Рассматривая силу Qc, как
равнодействующую и раскладывая ее на слагающие по двум направлениям CF и CD, получаем в
звене CD усилие QCD, после чего
определяем момент Md от веса стола и полосы относительно вала:
Md = Qcd ∙bD (2.2)
где bD - плечо
силы QCD
относительно вала О2.
При определении момента Мk
развиваемого контргрузами относитель-но того же вала О2, необходимо учитывать,
что выбирать вес и точки при-ложения контргрузов следует так, чтобы вес стола и
находящейся на нем прокатываемой полосы полностью уравновешивался при среднем
положе-нии стола, тогда как в крайних положениях стол должен быть уравновешен
не полностью. В верхнем положении должен перетягивать стол, в нижнем -
контргрузы, подчиняясь условиям для нижнего, среднего и верхнего положений
стола:
MD<Mk;
MD = Mk; MD>Mk. (2.3)
Рисунок 2.2
а - схема статических усилий в
звеньях механизма подъемного стола; положение контргрузов при постоянном (б) и
переменном (в) моменте относительно вала О2; г - диаграмма скоростей
При таком способе уравновешивания в
начале периода подъема стола избыточный момент от веса контргрузов помогает
электродвигателю привода, тогда как в конце периода подъема появившийся
избыточный момент от веса стола способствует лучшему торможению механизмов. В
начале периода опускания избыточный момент от веса стола помогает разгону
электродвигателя, а к концу-избыточный момент от веса контргрузов способствует
торможению. При таком способе уравновешивания в случае поломок кривошипа или
шатуна стол останавливается в среднем положении, благодаря чему исключается
возможность дополнительных поломок.
Этот способ уравновешивания возможен
при соответствующем угле между плечами рычага, соединяющего вал О2 с
контргрузом К и шарниром D.
Рассматривая условия равновесия
рычагов, для упрощения расчета примем с достаточной для практики точностью, что
направление силы QCD для стола
данной конструкции постоянно.
Если бы угол φ между
плечами рычага DO2K был равен
углу между направлениями сил Qcd и Gk (Gk-вес
контргруза), то условия равновесия системы не менялись бы при разных углах
поворота рычага DO2K (рис.2.2,
б).
Предположим, что длина рычага и вес
контргруза выбраны из условия:
QCD rD =Gk∙rk (2.4)
где rD и rk - длины
плеч рычага DO2K»
При повороте рычага на некоторый
угол β условия
равновесия не нарушатся:
QcD rD cosβ
=
Gk rk cos β. (2.5)
Необходимые для уравновешивания
условия достигаются, когда угол φ делается несколько большим
угла между направлениями сил QCD и Gk (рис.2.2,
в), и тогда момент этих сил относительно вала О2:
MD=QCD rD ∙cosβ1. (2.6)
Mk = Gk rk cos β2.
где β1 и β2 - углы
между перпендикулярами, опущенными из точки С2 направления сил QCD и Gk и
соответствующими плечам рычага DO2K при данном
его положении. При условии, когда справедливо выражение QCD rD =Gk∙rk, рычаг DO2K находится в
равновесии, если
cos β1 = cos β2. (2.7)
Обозначим через γ угол,
определяющий положение рычага при равновесии, а через β - угол
поворота рычага от положения равновесия. Тогда:
Md = Qcd rD cos (β- γ) (2.8)
Mk=Gk rk cos (β + γ). (2.9)
Из этих выражений можно определить
разность между обоими моментами, т. е. момент относительно вала О2.
Имеем:
Mr= MD - Mk = QCD rD cos(β - γ)-Gk rk cos (β + γ) = Gk rk [cos(β - γ)- cos (β + γ)] = Gk rk (cosβ cosγ + sinβ sinγ - cosβ cosγ ++ sinβ+ sinγ) = Gk rk 2 sinβ sinγ.
(2.10)(536)
Величина rk
sinγ
постоянна для данной формы рычага DO2K
и может быть заменена отрезком е= rsinγ(рис.2.2,в).Тогда
уравнение можно представить в таком виде:
Mr
=2Gk e
sinβ.
(2.11)
По мере увеличения угла β
момент Мr
возрастает по синусоиде, однако последняя ввиду малой величины угла
β (±30°)
близка к прямой линии.
Выбор величины е производится
из условия, чтобы в крайних положениях стола момент относительно вала О2
равнялся:
Mr ≈ 0,1 CCD ≈ rD 0,1 Gkrk
(2.12)
откуда:
(2.13)
где βmах -
максимальный угол поворота вала О2.
Подставляя в уравнение значение е,
получаем угол γ,
характеризующий
форму рычага DO2K
(2.14)
При βmах = 20º÷30°
угол
γ
соответственно
равен γ=8°20'÷
5°40';
обычно принимается равным 2÷2,5.
Ввиду непостоянства нагрузки на стол
от веса прокатываемой полосы, а также различного назначения стола (подъем или
опускание полосы) усилие QCD должно
иметь поправку на избыточную нагрузку Q'СD = 10кН, от
неуравновешенности стола.
Итак, статический момент вращения
вала при подъеме стола:
Mr = Gk rk 2
sinβ sinγ + Q'CD rD cos
(γ
+ β)+
Mmp, (2.15)
где Mmp - момент
сил трения относительно вала О2:
(2.16)
коэффициент трения вподшипниковых
опорах;
- диаметр вала под подшипник.
β - угол поворота вала О2
от среднего положения стола.
Чтобы привести этот момент к валу
кривошипа, составляем диаграмму скоростей точек А и В (рис.2.2,г) и, обозначая
их через vA и vВ, получаем:
(2.17)
Пренебрегая силами трения в шатуне и
кривошипе, получаем вращающий момент на валу O1:
(2.18)
где:
=200мм - длина кривошипа;
=450мм-длина рычага, соединяющего
вал О2 с шарниром В;
- отношение линейных скоростей
(рис.2.2,г)
На валу электродвигателя статический
момент [2] .
(2.19)
где: u=24,6-
передаточное число редуктора;
η=0,85- к. п. д. механизма от
двигателя к кривошипу.
(2.20)
Мощность предварительно выбираемого
электродвигателя равна:
где число оборотов электродвигателя
определяется из следующих соображе-ний, скорость подъема стола равна 0,49 м/с
исходя из этого число оборотов приводного вала определяется по формуле [2]:

(2.21)
Число оборотов выходного вала
редуктора равно:
(2.22)
.2 Влияние маховых масс стола
на процесс качания
Длительность одного цикла
качания стола (одного оборота кривошипа привода, без учета времени на пропуск
полосы- привод подъема остановлен):
tц
= 2H0CH
/vn = 2∙0,45/0,49
= 1,84 с, (2.23)
где: H0CH
=0,45м- высота подъема (опускания) стола,
vn
= 0,49 м/с - скорость подъема стола.
Длительность собственно качания
при угле поворота вала О2 на угол β=30°=π/6
и
угловой скорости вала О2 - ωо2≈1,0
с-1
tп
= β/ωо2 = π/(6∙1,0)
= 0,52 с. (2.24)
Так как длительность качания (подъема)
по отношению к длительности (опускания) равна 1/3, то, очевидно, качание
(опускание) будет осуществ-ляться за счет кинетической энергии маховых масс
стола и привода, прио-бретенной за время подъема:
ty
= tц
- tп=
1,84 - 0,52= 1,32 с. (2.25)
В этот период электродвигатель
развивает максимальный момент:
(2.26)
Динамический момент, развиваемое
двигателем в период пуска при подъеме стола с полосой:
Mдин= εдв Jпр.п =1,75∙0,68
= 11.9 н∙м. (2.27)
Суммарный крутящий момент в момент
начала качания:
М = Мст + Мдин = 53,1 + 1,19 = 542.9
н∙м. (2.28)
Статический момент на валу двигателя при
опускании стола:
Mr = Gk rk 2
sinβ sinγ + Q'CD rD cos
(γ - β)+ Mmp,
(2.29)
(2.30)
Время пуска привода при подъёме и
опускании стола:
(2.31)
где: Jпр - момент
инерции движущихся масс, приведённый к валу двигателя, при подъёме или
опускании груза;
ω - угловая скорость двигателя;
Мст - статический момент на валу
двигателя при подъёме или опускании стола; Мст = Мп или Мст = Моп;
Мп. ср - средний момент
электродвигателя в период пуска [2]:
(2.32)
Для предварительно выбранного
двигателя (МТF 62-10, N=60кВт, n=575об/мин)
кратность максимального пускового момента:
(2.39)
ψmin
= 1,1 ÷1,4 - кратность минимального
пускового момента.
Передаточное число редуктора
Uр = k∙n
/nО2= 0.44∙575
/ 10,31 = 27,86, (2.40)
где: k=0,44
коэффициент пропорциональности скоростей шарнира А и шарни-ра В (см.
рис.2.2,г);
число оборотов приводного вала стола:
n О2 = 30
/π rD = (30∙0.49)
/(3,14∙0,45) = 10,31 об /мин. (2.41)
Редуктор выбираем исходя из
расчётной мощности (31,6 кВт.),числа оборотов вала двигателя, передаточного
числа.
По катологу выбираем редуктор типа
ЦД2- 1150 - 23,2 - 4М (суммарное межосевое расстояние А= 1150мм передаточное
число 23,2, схема сборки 4).
Допустимая величина предельного
момента, передаваемого редуктором
Мпред. = ψМр = ψ ∙9554 ∙Nр/ n = 1,6∙9554
∙68,67 / 575 = 1.8 кН∙м,
где Nр = 68,67
кВт - табличное значение мощности при n = 575 об
/мин;
Ψ = 1,6 - кратность
пускового момента.
Определяем число оборотов приводного
вала
:
Действительная скорость подъёма
стола:
Так как Мп.ср= 174 < Mпред =
182,5, то редуктор удовлетворяет условиям перегрузки в период пуска.
Знак минус соответствует пуску при
подъёме стола, знак - при опускании.
Момент инерции движущихся масс
механизма, приведённій к валу двигателя, при подъеме
стола [2]:
Jпр. п = δ(Jр + Jм) + mстvст2/ ω2ηм - mкvк2/ ω2ηм + mтvт2/( uм2ηм ) н∙
м ∙ с2.
или
Jпр. п = δ(Jр + Jм) + mстRD2 / ( uм2ηм )- mкRк2 / ( uм2ηм )+ mтvт2 /( uм2ηм ) н ∙
м ∙с2 (2.42)
где: Jр = 5.24 н ∙
м ∙ с2- момент инерции ротора электродвигателя;
Jм = 0.463 н ∙
м ∙ с2 - момент инерции зубчатой муфты с тормозным шкивом, выбранной
предварительно по Mпред;
δ - коэффициент, учитывающий
моменты инерции масс деталей,вращающихся медленнее, чем вал двигателя,
принимаем δ
= 1,05÷1,25; в
нашем случае δ
= 1,2;
mст = Qс / g = 9350,4 /
9,81 ≈ 9.53 кН ∙с2/ м - масса поднимаемого стола и груза;
mк = Qк / g = 3000 /
9,81 ≈ 3.06 кН ∙с2/ м - масса опускающегося контргруза;
mт = Qт / g = 5000 /
9,81 ≈ 5.1 кН ∙с2/ м - масса поступательно движущихся тяг привода;
ηм - к.п.д.
механизма;
vт - cкорость
сложного движения тяги, определяется по теореме косинусов (см.рис.2.1, г)
вектор (
):
(2.43)
скорость точки А кривошипа радиусом
, и она
равна:
(2.44)
где
(2.45)
Скорость движения тяги является
сложным, для упрощения расчетов ограничимся только ее поступательной
составляющей.
Отношение
, (см.
рис.2.2, г).
RD = 0,45 м -
радиус приводного кривошипа;
RК = 0,9 м -
радиус кривошипа контргруза,
Jпр. п = 1,2 ∙(0,524+0,0463)+(
953 ∙0.452)/(46,42∙0,85) - ( 306 ∙0.92)/(46,42∙0,85)++510∙0,482/(46,42∙0,85)
= 6.8 н ∙ м ∙ с2
Время пуска при подъёме и опускании
стола соответственно равно:
(2.46)
(2.47)
где ω- угловая
скорость ротора двигателя.
Ускорение при пуске поднимаемого
стола с полосой:
(2.48)
Такое ускорение удовлетворяет
рекомендациям для механического оборудования металлургических предприятий.
Среднеквадратичный момент,
эквивалентный по нагреву действительному переменному моменту, возникающему от
заданной нагрузки электродвигателя механизма подъёма в течение цикла [2]:
(2.49)
где ∑ tу
- общее время установившегося движения, с;
∑ tп
- суммарное время пуска в течение одного цикла, с;
to - время
пауз, с.
Уточняем время установившегося движения
∑ tп = 0,33 + 0,179= 0,509 с;
tу = 0,5 H
/ Vст = 0,5 ∙
0,45 / 0,58 = 0,38 с.
∑ tу
= 2 ∙ tу = 2 ∙ 0,38
= 0,76 с;
где L=2м -длина
заготовки квадрата 150×150мм по
всаду;
Vполосы=1,35м/сек
- скорость полосы (линейная скорость роликов рольганга)
рабочее время tр
= ∑ tп + ∑ tу
= 0,59+ 0,76 = 1,35 с;
время цикла tц
= ∑ tп + ∑ tу
+ to = 0,59 +0,76 +
1,48 = 2,83 с.
Эквивалентный момент при
ПВ% = 100% ∙ tр
/ tц = 100% ∙
1,35 / 2,83 = 47,7 %,
статический момент при подъёме стола ; Mст
= 531 н∙м;
статический момент при опускании стола; Mст
= 155 н∙м;
Эквивалентная мощность по нагреву
при ПВ ≈ 48%:
Nэ = Мэn / 955 =
86,16 ∙ 575 / 955= 51,87 кВт.
Следовательно, выбранный двигатель
удовлетворяет условию нагрева.
.3 Условия работы
подъемно-качающегося стола в сортопрокатном цехе (стан 550) ЕМЗ и характер
отказов в эксплуатации
Подготовленные для прокатки
заготовки подаются поплавочно и укладываются на загрузочные решетки с помощью
мостового крана, оборудованного грузоподъемным электромагнитом. На решетках
заготовка шлеперами передвигается на посадочный рольганг до окна загрузки печи.
В печь заготовка проталкивается толкателями винтового типа. Нагрев заготовок
производится в методической трехзонной двухрядной печи с торцевой загрузкой и
боковой выдачей. В томильной зоне через окно выдачи нагретая заготовка выдается
на наклонный стол, по которому скатывается на рольганг и подается к обжимной
клети, стана.
Обжимная плеть с передней
стороны оборудована кантующими листами. Передача раскатов с нижнего горизонта в
верхний на обжимной и черновой клетях осуществляется с помощью подъемных
столов. С передней и задней сторон все клети стана оборудованы рольгангами.
Передача раската от обжимной к черновой клети производится с помощью шлепнеров
только с передней стороны. Задача раската в валки на всех клетях осуществляется
рольгангами.
В процессе эксплуатации подъемно-качающегося
стола в сортопрокатном це-хе на стане 550 характерными отказами в работе может
считаться следующее - выработка (эллипсовидность) отверстий тяг;
.4 Технические предложения по совершенствованию
конструкции подъемно-качающегося стола и технико-экономическое обоснование
мероприятий
В целом по конструкции стола: отказаться от
литых тяг и перейти на облегченные сварные тяги как более прогрессивную
технологию, с возможностью включения взаимозаменяемости быстроизнашивающихся
частей конструкции тяг.
В частности
по тягам:
упростить конструкцию (использовать сортамент
выпускаемой станом продукции) с целью быстрой замены изношенной детали тяги, а
не изготовлять новую тягу;
уменьшение веса тяги новой конструкции с
сохранением прочностных характеристик.
2.5 Сравнительный анализ влияния уменьшенной
массы тяг на время подъема стола, и на энергетический показатель привода стола
Выше приведен расчет электродвигателя с
модернизированной тягой.
Проведем расчет электродвигателя с существующими
тягами.
При подъёме стола:
Jпр. п = δ(Jр
+ Jм) + mстRD2
/ ( uм2ηм
)- mкRк2
/ ( uм2ηм
)+ mтvт2
/( uм2ηм
) н ∙ м ∙с2
Jпр. п = 1,2 ∙(0,524+0,0463)+(
953 ∙0.452)/(46,42∙0,85) - ( 306 ∙0.92)/(46,42∙0,85)+
744∙0,482/(46,42∙0,85) = 7,4 н ∙ м ∙ с2
mт = Qт
/ g = 7300 / 9,81 ≈
7440 н ∙с2/ м - масса поступательно движущихся тяг привода;
Время пуска при подъёме и опускании стола
соответственно равно:
Ускорение при пуске поднимаемого
стола с полосой:
Уточняем время установившегося движения
tу = 0,5 H
/ Vп = 0,5 ∙
0,45 / 0,58 = 0,38 с.
∑ tу
= 2 ∙ tу = 2 ∙ 0,38
= 0,76 с;
∑ tп = 0,37 + 0,195= 0,56 с;
где L=2м -длина
заготовки квадрата 150×150мм по
всаду;
Vполосы=1,35м/сек
- скорость полосы (линейная скорость роликов рольганга)
рабочее время tр = ∑ tп + ∑ tу = 0,56+
0,76 = 1,32 с;
время цикла tц = ∑ tп + ∑ tу + to = 0,56
+0,76 + 1,48 = 2,8 с.
Эквивалентный момент при
ПВ% = 100% ∙ tр / tц = 100% ∙
1,38 / 2,8 = 49,2 %,
статический момент при подъёме стола
; Mст = 531 н∙м;
статический момент при опускании
стола; Mст = 155 н∙м;
Эквивалентная мощность по нагреву
при ПВ ≈ 49,2%:
Nэ = Мэn / 955 =
119,16 ∙ 575 / 955= 71,74 кВт.
Следовательно, выбранный двигатель
не удовлетворяет условию нагрева.
2.6 Определение усилий в тяге
привода стола
Рассмотрим статику
кривошипно-шатунного механизма в текущем положении, зафиксированном углом α,
сначала при допущении отсутствия трения в шарнирах (рис.2.3). Если известно
полезное сопротивление Pd, приложенное к кривошипу
приводного вала, то, построив треугольник сил, можно определить величину Рав, действующую вдоль оси шатуна, и
силу, действующую на направляющие Рн. Чтобы отметить принятое нами
допущение об отсутствии трения, снабдим эти силы значками и, что будет
относиться к идеальной машине.
Рисунок 2.3 - Схема определения
усилий в тягах
Из треугольника сил имеем :
(2.50)
(2.51)
Окружная сила на приводном валу
определяется из уравнения момента:
(2.52)
Принимая во внимание формулу для
значения угла:
βsinβ = λ (sin α+ k) (2.53)
Где λ=0,12÷0,8 - параметр
конструктивной осуществимости механизма;
k=+(0,1÷0,2) - значения
давления в плоскости перпендикулярной плоскости действия силы. При правильном
выборе отрицательного значения k можно достигнуть уменьшения давления вбок при
определенном значении угла поворота кривошипа вала О1. Однако уменьшение
давления вбок не всегда рационально; надо учитывать, что на шатун действуют
силы техноло-гического сопротивления часто эксцентричные, и усилие, прижимающее
ша-тун к кривошипу приводного вала, способствует сохранению правильности
положения шатуна.
Вследствие малых значений λ, k и sinα можно
принять значения за 1.
Получим:
2.7 Расчеты на прочность
Расчет тяги на устойчивость
Тягу необходимо проверить на устойчивость при
продольном изгибе при эксцентричном приложении усилия в шарнире В.
Тяга имеет сечение двутавровой балки:
F = 178 см2,
Jx = 32800 см4,
Jy = 9000 см4,
Wx = 1985 см3;
радиус инерции сечения штанги:
Imin=
(2.54)
Напряжение сжатая в тяге:
(2.55)
где: a = 265 мм -
расстояние от центра тяжести сечения штанги до направле-ния действия силы PВ.
Проверка на устойчивость тяги [4]:
(2.56)
где:
- длина тяги (см. рис.2.4).
Допускаемое напряжение на устойчивость:
[σ]y
=
γ[σ]сж,
(2.57)
где: [σ]сж
- допускаемое напряжение на сжатие; для стали марки СтЗ [σ]сж
=140 МПа.
При гибкости
=68
коэффициент γ
0,75,
поэтому:
[σ]у=0,75∙140=105
МПа. (2.58)
Действительное напряжение по поперечному сечению
тяги:
, σ<[σ]Υ.
Проушина тяги
Расчётная схема проушины представлена
на рис.2.5. Характер нагрузки таков, что опасным сечением является сечение ( А
-А )
Ослабленное максимальным отверстием
диаметра пальца кривошипа.
Данное отверстие проверяется на
растяжение как кривой брус.
(2.59)
где b=220мм
-ширина проушины, мм; b ≥ (1,8 ÷
2,0 )∙dпальца.= 2,0∙110
= 220мм. принимаем
Рисунок 2.4 - Схема к расчету
проушины тяги
Напряжение во внутреннем растянутом
волокне кривого бруса определяется по методу Бернгарда [4]:
где Rо = 92,5 мм
- радиус кривизны оси центра тяжести сечения;
k -
коэффициент приведения напряжений растянутого внутреннего волокна сечения:
(2.61)
где h - высота
сечения проушины тяги:
(2.62)
Сечении В - В соответственно
проверяют по формуле Ламэ [4]:
(2.63)
где: ρ - среднее
давление пальца кривошипа на нагруженную поверхность отверстия проушины тяги ,
[ρ] =100 МПа;
R - радиус
наружной поверхности проушины серьги см.рис.7,R = 130 мм;
Материал проушины сталь 45 по ГОСТ
1050-88 с [σр] = 150
МПа.
Расчет болтового соединения[4]
Определить размеры соединения
(см. рис.2.5). Соединение выполнено на болтах, нагруженных поперечным усилием:
Q
= РВ/2 + Gтяги/2 = 11111/2+
2500/2 = 68кН. (2.64)
Материал -Ст.3; нагрузка -
статическая; [σт.Ст.3]
=
230МПа;
[τср.Ст.3] =
, (2.65)
где
- запас прочности при отсутствии
контроля затяжки.
Принимая число болтов z = 6 и число
стыков i=2 находим
диаметр:
(2.66)
Наиболее близкие по размерам болты: d =34 мм.
Рисунок 2.5 - Схема к расчету
болтового соединения
Наибольший размер гайки (в плане)
такого болта D = 2d =78 мм.
Ширину b полосы
нужно взять большей D. Принимаем в=220мм, диа-метр
отверстия под болт d0 = 34 мм.
При [σр] = 600МПа
толщина полосы составит:
(2.67)
2.8 Расчет подшипника
Нагрузка на подшипник Р = 60
кН, число оборотов n
≈40
об/мин., диаметр d = 350 мм.
b
= (0,04 ÷ 0,06) d
= (0,04 ÷ 0,06) 350 ≈ 21 мм. (2.68)
Величина радиального зазора
(считая, что температура подшипника tр
может доходить до 100°, а температура воздуха t0
до 25°) по формуле :
δ = b[α
(tр
-t0)
+ 0,03] =9 [12 ∙10-5 (100- 25) + 0,03] = 0,35мм, (2.69)
где α
= 12∙10-5 - коэффициент линейного расширения материала
вкладыша.
Предел пропорциональности для
кассетного текстолита (при σт
= 530МПа )
σп
≈
0,8 σт
= 0,8 ∙530 = 424МПа;
половина угла, ограничивающего
ширину площадки контакта корпуса и вкладыша[2]:
(2.69)
Допускаемое удельное давление при
температуре 20°
(2.70)
Учитывая снижение допускаемого,
давления при температуре 100° на 45%, получим для tр = 100°
[р] = 198 ∙ 0,55 = 109МПа.
(2.71)
Тогда минимальная длина подшипника
(2.72)
Принимаем l = 260 мм;
при этом подшипник будет допускать почти двухкратную перегрузку.
Удельное давление [2]:
При удавлетворительной смазке водой
можно принять f= 0,2.
Определяем: окружную скорость валка рабочей клети, она равна скорости прокатки v=0.99м/с.
площадь теплоотдачи цапфы валка
приведенный коэффициент теплоотдачи
вкладыша по формуле:
(2.73)
где:
- коэффициент теплоотдачи подушек;
- коэффициент теплопроводности
кассетного текстолита;
Температура нагрева подшипника при
непрерывной работе по формуле [2]:
(2.74)
что допустимо.
2.9 Смазка узлов трения
Подшипники, электродвигателя привода МТF
62-10, №42626 смазываются смазкой1-13(заменитель - консталин жировой УТ-1 или
литол - 24). Система смазки- закладная. Ёмкость масляной системы одного узла -
0,4 кг.
Периодичность замены - 1 раз в 6 месяцев.
Зубчатое зацепление редуктора привода подъема ,
основным сортом -Цилиндровое-11 (заменитель - Цилиндровое 24, И - 50А. Система
смазки заливная, ёмкость - 70кг, меняют один раз в два месяца, долив один раз в
пять дней. Норма долива - 0,26кг, на месяц - 22кг, на год - 265кг.
Зубчатое зацепление редуктора привода рольганга
, основным сортом -Цилиндровое-11 (заменитель - Цилиндровое 24, И - 50А.
Система смазки заливная, ёмкость - 70кг, меняют один раз в два месяца, долив
один раз в пять дней. Норма долива - 0,26кг, на месяц - 22кг, на год - 265кг.
Подшипники ведущего вала редуктора подъема №3626
ведущего вала, смазываются основным сортом индустриальная ИП-1, заменитель
смазка №13, униол-2, централизованная ручная,два раза в смену, долив в смену -
0,013кг, в месяц - 1.12кг, в год - 13,5кг.
Подшипники ведущего вала редуктора подъема №2626
смазываются основным сортом индустриальная ИП-1, заменитель смазка №13,
униол-2, централизованная ручная,два раза в смену, долив в смену - 0,013кг, в
месяц - 1.12кг, в год - 13,5кг.
Подшипники промежуточного вала редуктора подъема
№2626 смазываются основным сортом индустриальная ИП-1, заменитель смазка №13,
униол-2, централизованная ручная,два раза в смену, долив в смену - 0,013кг, в
месяц - 1.12кг, в год - 13,5кг.
Подшипники ведомого вала редуктора подъема №2626
смазываются основным сортом индустриальная ИП-1, заменитель смазка №13,
униол-2, централизованная ручная,два раза в смену, долив в смену - 0,013кг, в
месяц - 1.12кг, в год - 13,5кг.
Муфта зубчатая с тормозным шкивом МЗ-Р7.
Основной сорт смазки - трасмиссионное автотракторное летнее (за-мена -
цилиндровое - 24 или смазка ОЗП - 1. Система смазки - заливная.Ёмкость масляной
системы одного узла 1,98кг, меняют масло один раз в два месяца, долив один раз
в семь дней. Долив на смену составляет - 0,015кг, намесяц - 1,29кг, на год
составит 14,48 кг.
общий расход в кг. - 900.
Подшипники вала-шестерни редуктора привода
роликов рольганга №2626, индустриальная ЦП -1, заменитель смазка №137 унол - 2;
централизованная, ручная; два раза в смену; на одну доливку в смену
0,031/0,026; в месяц 1,12/2,24; в год 13,5/27,0; всего на год 13,5/27,0.
Подшипники промежуточного вала редуктора привода
роликов рольганга №32630 индустриальная ЦП -1, заменитель смазка №137 унол - 2;
централизованная, ручная; два раза в смену; на одну доливку в смену 0,010/0,02;
в месяц 0,86/1,72; в год 10,3/20,6; всего на год 10,3/20,6.
Подшипники приводных роликов №3644
индустриальная ЦП -1, заменитель смазка №137 унол - 2; централизованная,
ручная; два раза в смену; на одну доливку в смену 0,036/0,072; в месяц
3,10/6,2; в год 37,3/74,6; всего на год 37,3/74,6.
Подшипники неприводных роликов №3644
индустриальная ЦП -1, заменитель смазка №137 унол - 2; централизованная, ручная;
два раза в смену; на одну доливку в смену 0,072/0,144; в месяц 6,20/12,4; в год
74,4/148,8; всего на год 74,4/148,8.
Подшипники скольжения пальцев тяги d
=110 мм, L = 115 мм; солидол
- С; солидол УС - 2; шприцевое; на одну заправку в смену 0,01/0,04; в месяц
0,86/3,44; в год 10,3/41,2; всего на год 10,3/41,2.
Подшипники скольжения приводного вала d
=200 мм, L = 230 мм;
ВНИИНП-242; железнодорожная ЛЗ - ЦНИИ, ВНИИНП - 2323; закладная; 0,05 ;1 раз в
пять дней;; всего на год 3,45/6,9.
Подшипник скольжения стола r
=740 мм, L = 445 мм;
ВНИИНП-242; железнодорожная ЛЗ - ЦНИИ, ВНИИНП - 2323; закладная; 0,05 ;1 раз в
пять дней;; всего на год 1,38/2,76.
3. ОХРАНА ТРУДА
К сомастоятельной работе на участке
нагревательных печей допускаются лица, прошедшие обучение, изучившие устройство
и работу участка.
Сменьщик, принимающий смену обязан проверить
исправность звуковой и световой сигнализации, шиберов, контрольно-измерительных
приборов, горелок, дросселей, подводов газа и воздуха к методической печи,
исправность механизмов, ограждения, наличие и исправность инструмента,
заправочных материалов.
О всех замечаниях недостатках немедленно
сообщите старшему мастеру, а в его отсутствие - начальнику смены для принятия
мер.
При работе с грузоподъемными механизмами необходимо
знать и строго соблюдать правила безопастности для подкрановых рабочих.[6]
Работать только исправным инструментом.
Не загромождайте рабочее место, проходы, ходовые
площадки и лестницы посторонними деталями и предметами. Инструмент: ломики,
крючки и т.д. должны быть всегда уложены на свое рабочее место так, чтобы они
не мешали в работе и не загромождали рабочее место и проходы.
Меры предосторожности для работающих в становом
пролёте.
Вращающиеся части стана (полумуфты шпендиля)
должны быть закрыты щитами или ограждениями и находиться в исправном состоянии
в непосред-ственной близости к ним во время работы стана запрещается.
Смена проводок и столов во время работы стана
запрещается.
Весь производственный инструмент и чалочные
средства должны находиться только в исправном сотоянии.
Применять неисправный инструмент, а также
неисправные или неиспытанные на прочность чалочные средства запрещается.
Запрещается переходить через раскат и стоять
против калибра во время про-катки, а также смотреть в проводку навстречу
идущего раската.
Нестановится на ролики рольгангов.
Переходить стан разрешается только по переходным
мостикам.
При осмотре механизмов во время приёма смены и
во время ремонта отдельных узлов стана,бирка - ключ должна находиться у
старшего по проведению осмотра или ремонта.[7]
ВЫВОД
Рост повышения прокатываемых
объемов металла для cортовых
станов требует высокой надежности узлов и механизмов механического оборудования
стана 550. Автоматизация технологических процессов является одним из основных
направлений технического развития всех отраслей промышленности. Она качественно
видоизменяет к улучшает форму организации производства, обеспечивает рост
производительности труда и повышает общую культуру производства.
Комплексная автоматизация, при
которой все производственные процессы полностью механизированы и
автоматизированы. Такие, как главный привод, нажимные устройства и сталкиватели
на холодильник в настоящее время автоматизированы. Проводятся работы по
автоматизации подъемно-качаючихся столов.
Вводом автоматизации и
компьютеризации на производство заготовок повышаются требования к
предсказуемости поведения механизмов и отдельных их частей.
Исходя из выше изложенного было предложено
изготовить тягу сварной взамен литой. Данное предложение увеличить межремонтный
период, работа подъемного стола станет надежной.
ПЕРЕЧЕНЬ ССЫЛОК
1.Машины и агрегаты металлургических заводов. В
3-х томах. Т.3.Машины и агрегаты прокатных цехов. Учебник для вузов/
ЦеликовА.И., Полухин П.И., Гребенник В.М. и др. - 2-е изд., перераб. и доп. -
М.: Металлургия, 1988. - 680 с, ил.
.Королев А.А. Конструкция и расчет машин и
механизмов прокатныхстанов. - М.: Металлургия, 1985. - 464с.
.Курсовое проектирование деталей машин. Учебное
пособие для учащихся машиностроительных техникумов/ Чернавский С.А., Боков
К.Н.,
Чернин И.М. и др.-2-е изд., перераб. и доп. -
М.: Машиностроение, 1987. - 416 с: ил.
.Допуски и посадки: Справочник в 2-х ч. Ч.1/Под
ред. В.Д. Мягкова. -5-е изд., перераб. и доп. - Л.: Машиностроение.
Ленинградское отд-ние, 1978 -544с.
.Ефанов П.Д., Карнаух Н.Н. Техника безопасности
и производственная санитария в черной металлургии. - М.: "Металлургия",
1985. - 398с.
. Злобинский Б.М. Охрана труда в металлургии. -
М.: "Металлургия", 1985. - 535с.