Капитальный ремонт линейной части магистрального газопровода Уренгой-Помары-Ужгород с заменой трубы

  • Вид работы:
    Курсовая работа (т)
  • Предмет:
    Другое
  • Язык:
    Русский
    ,
    Формат файла:
    MS Word
    1,01 Мб
  • Опубликовано:
    2014-04-05
Вы можете узнать стоимость помощи в написании студенческой работы.
Помощь в написании работы, которую точно примут!

Капитальный ремонт линейной части магистрального газопровода Уренгой-Помары-Ужгород с заменой трубы

Министерство образования и науки Российской Федерации

Федеральное государственное бюджетное образовательное учреждение

высшего профессионального образования

Уфимский государственный нефтяной технический университет

Кафедра "Транспорт и хранения нефти и газа"






Пояснительная записка

к курсовому проекту

Капитальный ремонт линейной части магистрального газопровода Уренгой-Помары-Ужгород с заменой трубы

по дисциплине "Сооружение и ремонт ГНП и ГНХ"

Содержание

Введение

1. Диагностика магистральных газопроводов

2. Подготовительный этап проведения ремонта

. Расчет толщины стенки трубопровода

. Основные этапы проведения ремонтных работ

.1 Земляные работы

.2 Очистные и изоляционно-укладочные работы

.3 Огневые работы

. Контроль качества выполненных работ

Заключение

Список использованных источников

магистральный газопровод ремонт изоляционный

Введение

Нарушение работоспособности линейной части газопроводов может происходить как вследствие нарушения технологии производства работ, так и из-за накопления дефектов элементами трубопровода в период эксплуатации. К технологическим причинам нарушения работоспособности линейной части относят гидратные и газовые пробки, засорения трубопроводов и др. Они выявляются методами функциональной (оперативной) диагностики и устраняются оперативным обслуживающим персоналом. Основными видами дефектов, возникающих в процессе эксплуатации газонефтепроводов, являются: коррозия металла, эрозионный износ стенок, трещины в сварных швах и основном металле, нарушение защитных свойств изоляционных покрытий, изменение пространственного положения элементов трубопровода. Соотношение различных дефектов определяется в основном климатическим районом расположения трубопровода, свойствами фунта (пучинистостью, просадочностью, набухаемостью и т. п.) в зоне его прокладки и наличием участков с высоким уровнем грунтовых вод. Так, для средней полосы типичными являются отказы трубопровода, вызванные развитием коррозии. Для трубопроводов, эксплуатируемых в северных районах России, характерным является усталостное разрушение труб, обусловленное необратимым изменением механических свойств и снижением характеристик трешиностойкости сварных соединений и основного металла. Работоспособность оборудования и восстановление его основных характеристик достигаются путем использованиясистемы технического обслуживания и ремонта - комплекса взаимосвязанных положений и норм, определяющих организацию и порядок проведения работ по техническому обслуживанию и ремонту оборудования для заданных условий эксплуатации с целью обеспечения качества, предусмотренных в нормативных документах.

1. Диагностика магистральных газопроводов

На каждый газопровод на основании результатов анализа технической документации разрабатывается индивидуальная программа диагностирования, которая включает:

Рисунок 1.1 - Структурная схема диагностических работ на МГ

Индивидуальная программа диагностирования может также включать в себя: обследование (при наличии технико-экономической целесообразности) линейной части газопроводов приборами внутритрубной диагностики; тепловизионный контроль отдельных элементов; акустико-эмиссионный контроль потенциально опасных участков газопровода (переходы через железные и автомобильные дороги, овраги, водные преграды); приборный контроль параметров вибрации виброопасных участков трубопроводов и др. Для магистральных газопроводов, имеющих большую протяженность, наиболее технологичным является проведение диагностики с помощью внутритрубных инспекционных приборов (ВИП).

Работы по внутритрубной диагностике в общем случае включают в себя:

- пропуск скребка-калибра для определения минимального проходного сечения трубопровода перед пропуском профилемера;

пропуск шаблона-профилемера для участков первичного обследования, имеющих подкладные кольца, с целью предупреждения застревания и повреждения профилемера деформированными подкладными кольцами;

пропуск профилемера для контроля проходного сечения трубопровода с целью предупреждения застревания и повреждения дефектоскопа и определения глубины вмятин;

- пропуск очистных скребков для очистки внутренней поверхности трубопровода от парафин осмол истых отложений, глиняных тампонов, а также удаления посторонних предметов;

- пропуск дефектоскопа.

Для проведения внутритрубной диагностики магистральный трубопровод должен отвечать следующим требованиям: все соединительные элементы и запорная арматура участка трубопровода должны быть равнопроходными с трубопроводом. Каждый участок диагностируемого магистрального трубопровода (в том числе лупинги и Резервные нитки подводных переходов) должен быть оборудован камерами пуска, приема и очистки ВИП.

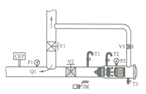
Рисунок 1.2 - Схема камеры запуска ВИП

Неотъемлемым элементом современных магистральных газонефтепроводов являются камеры приема-пуска ВИП. Конструктивно камеры приема-пуска идентичны. Процессы приема и запуска ВИП в трубопровод осуществляются в строго заданной последовательности.

1- бампер; 2 -секция электроники; 3 - одометр; 4 - измерительная секция; 5 - слайдер; 6 - измеритель поворота; 7 - антенна приемопередатчика

Рисунок 1.3 - Внутритрубный профилемер 40/48

Профилемер (рис. 1.3) является двухсекционным прибором, предназначенным для измерения внутреннего проходного сечения и радиусов отводов трубы, что необходимо для оценки возможности безопасного пропуска приборов-дефектоскопов. Выявляемые дефекты: вмятины, гофры, овальности, сужения глубиной более 2 мм (с вероятностью обнаружения 0,95).

Основным диагностическим ВИП являются внутритрубные дефектоскопы. В настоящее время в мире пока не существует универсального прибора для внутритрубной диагностики, который бы на основе сочетания различных физических методов неразрушающего контроля смог бы обнаружить все виды дефектов. Поэтому выявление дефектов трубопроводов проводится поэтапно. На первом этапе с помощью профилемера "КАЛИПЕР" в трубопроводе выявляются диаметры внутреннего проходного сечения трубы, вмятины, гофры, овальности, сужения, радиусы отводов трубы и другие аномалии геометрии трубопровода. Затем внутритрубным ультразвуковым дефектоскопом "Ультраскан WМ" определяются потери толщины стенки трубы из-за коррозии и эрозии, наличие неметаллических включений в стенках трубы и расслоений металла по толщине стенки. На третьем этапе с помощью магнитного дефектоскопа выявляются трещины и трешиноподобные дефекты в кольцевых сечениях трубы и, в первую очередь, в кольцевых сварных швах. На завершающем четвертом этапе осуществляется поиск трещин и трешиноподобных дефектов, расположенных вдоль оси трубы, с помощью внутритрубного ультразвукового дефектоскопа "Ультраскан СD".

Дефектоскоп ультразвуковой WМ (рис. 1.4) предназначен для определения дефектов стенки трубы методом ультразвуковой толщинометрии радиально установленными в плоскости поперечного сечения трубы ультразвуковыми датчиками. Позволяет определять кроме наружных и внутренних потерь металла различного рода несплошности в металле трубы, например: расслоения, шлаковые и иные включения.

Дефектоскоп WМ снабжен системой измерения пройденного расстояния (одометрические колеса), системой приема-передачи электромагнитных сигналов низкой частоты, а также программируемой микропроцессорной системой управления

1 - бампер; 2 - антенна приемопередатчика; 3 - секция электроники; 4 - колесо одометра; 5 - карданное соединение; 6 - носитель ультразвуковых датчиков 240

Рисунок 1.4 - Дефектоскоп внутритрубный ультразвуковой WМ 40/48

Ультразвуковой дефектоскоп СD отличается от дефектоскопа WМ конструкцией ультразвуковых датчиков и предназначен для определения и измерения трещин и трещиноподобных дефектов ультразвуковыми датчиками, направленными под углом к плоскости поперечного сечения трубопровода. За счет этого дефектоскоп СD выявляет трещины, расположенные вдоль оси трубы, а также дефекты поперечных сварных швов (непровары, раковины, трещиноподобные дефекты).

Магнитные дефектоскопы МFL предназначены для контроля трубопроводов методом утечки магнитного потока в материале трубопровода и в сварных швах при движении дефектоскопа потоком перекачиваемого продукта. Пропуск дефектоскопов МFL по участкам с подкладными кольцами нецелесообразен вследствие искажений магнитного поля, вызываемых наличием подкладных колец и невозможностью получить информацию о наличии дефектов в кольцевых сварных швах. Для магнитных дефектоскопов МFL. должна также дополнительно производиться очистка трубопровода от металлического мусора (остатков электродов, оборванных наплывов сварных швов и т. п.) пропуском магнитных очистных скребков типа СКРЗ.

При невозможности контроля приборами внутритрубной диагностики (например, из-за отсутствия камер приема-пуска или других конструктивных особенностей) газонефтепроводы подвергаются гидравлическим или пневматическим испытаниям на прочность и плотность.

На каждый испытываемый участок газонефтепровода (или на весь газонефтепровод) разрабатывают проект производства работ, включающий проект организации испытаний и проект производства испытаний.

Испытания газонефтепроводов проводят после очистки полостей трубопроводов от отложений и загрязнений с последующей промывкой или продувкой. На рисунке 1.5 показан порядок диагностирования подземных газопроводов.

Рисунок 1.5 - Порядок диагностирования подземных газопроводов

Проводится следующее:

- проверка состояния изоляции;

- выявление участков газопровода с аномалиями металла труб с помощью приборов, позволяющих дистанционно установить места коррозийных или иных повреждений труб, а также участки газопровода с местным повышением напряжений;

- определение коррозийной активности грунта и наличия блуждающих токов на участках с наиболее неблагоприятными условиями по этому показателю.

По полученным результатам диагностирования без вскрытия грунта составляется акт и производится шурфовое диагностирование газопровода в базовом шурфе, устраиваемом в период строительства.

Программа шурфового диагностирования включает:

- определение толщины и внешнего вида изоляционного покрытия (расположение и размеры сквозных повреждений, наличие трещин, бугристость и др.), механической прочности, адгезии (прилипаемости) изоляционного покрытия к металлу трубы, величины переходного электрического сопротивления;

определение величины коррозийных повреждений трубы, наличие вмятин, рисок и т.п., контроль наружного диаметра и толщины стенки при наличии коррозийных повреждений;

- определение вида и размеров дефектов в сварных швах, если попали в зону шурфа и при осмотре обнаружены их отклонениях требований нормативных документов;

- определение коррозийной активности грунта и наличия блуждающих токов;

определение фактических значений временного сопротивления σв.ф и предела текучести σтф при толщине стенки 5 мм; более 5 мм - определение ударной вязкости КСГ металла, параметров напряженно-деформированного состояния в кольцевом сечении.

2. Подготовительный этап проведения ремонта

Подготовительные работы при капитальном ремонте газопроводов включают:

определение оси трассы и глубины заложения газопровода;

планировку трассы;

демонтаж существующих объектов линейной части, попадающих в зону ремонта и препятствующих выполнению работ на газопроводе;

устройство временных подъездных дорог, технологических проездов, оборудование переездов автотранспортной техники через действующие газопроводы.

Подготовительные работы на ремонтируемом участке газопровода осуществляются после оформления в установленном действующим земельным законодательством порядке документов, подтверждающих право пользования земельными участками на период проведения капитального ремонта линейной части магистральных газопроводов, включая земельные участки, необходимые для устройства временных проездов, а в случае размещения новых наземных сооружений (крановые узлы, КИП и др.) газопровода - на период эксплуатации. При этом ширина полосы отвода земель принимается в соответствии с действующими нормативными документами и заблаговременно согласовывается заказчиком с землепользователями и лесничествами.

Результаты измерений глубины заложения газопровода наносятся на вешки, устанавливаемые по оси трубопровода через каждые 50 м, а на участках с малой глубиной заложения и сильно пересеченным микрорельефом - через каждые 25 м. С таким же интервалом отмечаются вешками оси параллельных газопроводов в зоне выполнения ремонтных работ. На углах поворота, в местах пересечений и на границах разработки грунта вручную знаки устанавливаются с интервалом 5 м.

Работы по планировке участка ремонтируемого газопровода выполняются после получения письменного разрешения на производство работ от заказчика и определения действительной глубины залегания газопровода.

Планировочные работы включают срезку валика, бугров, неровностей, подсыпку низинных мест и подготовку полосы для прохода ремонтной техники.

При проведении подготовительных работ вешками обозначаются все пересечения с подземными коммуникациями (трубопроводы, силовые кабели, кабели связи и др.). Технические условия на пересечения согласовываются с представителями организаций, эксплуатирующих указанные коммуникации.

Пересечение автотранспортной и гусеничной техникой действующих газопроводов и коммуникаций допускается только в специально оборудованных местах - временных переездах. Места расположения и конструкции переездов определяются проектом производства работ или технологическими картами.

Для устройства переездов через газопровод и коммуникации следует выбирать по возможности сухие участки трассы, где газопровод (коммуникации) находится в заглубленном проектном положении и не имеет поворотов в горизонтальной плоскости.

3. Расчет толщины стенки трубопровода

Газопровод Уренгой - Помары - Ужгород предназначен для транспортировки природного газа добытого на Уренгойском месторождении на Украину и далее в Европу. На трассе магистрального газопровода находятся девять компрессорных станций.

Диаметр газопровода 1420мм, фактическое давление 7,4 МПа, проектная мощность 32 млрд. м³ в год. Сооружаемый участок магистрального газопровода протяжённостью 25 км, со 185 по 210 км, после введения в эксплуатацию будет обслуживаться Ныдинским линейно эксплуатационным управлением. Участок газопровода проходит по территории Надымского района Ямало-Ненецкого автономного округа.

Рельеф в районе сооружения участка магистрального газопровода равнинный, местность слабозалесённая, тундровая, есть бугры пучения, термокарсты, массивы вечномёрзлых грунтов. Температура вечномёрзлых грунтов - 0,5 - 1,5ºС.

Район участка магистрального газопровода - это район с резко континентальным климатом, суровой продолжительной зимой и коротким летним периодом, поздней весной и ранними осенними заморозками. Холодное Карское море, являясь источником холода летом и сильных ветров зимой, увеличивает суровость температурного режима района. Средняя температура января, самого холодного месяца, колеблется в пределах - 24 - 26ºС, достигая абсолютного минимума температуры воздуха в наиболее холодные зимы до - 60ºС, ежегодно в зимний период температура опускается до - 40 - 45 ºС.

Температурный режим летних месяцев в значительной степени определяется процессом трансформации воздушных масс. Среднемесячная температура июля, самого теплого месяца года, колеблется в пределах от + 14 до +16ºС.

Устойчивый снежный покров обычно образуется во второй половине октября. Толщина снежного покрова с среднем составляет 100 - 130 см.

По проекту участок сооружаемого магистрального газопровода планируется выполнить из прямошовной трубы Харцизского трубного завода диаметром 1420 мм с толщиной стенки 18,7 мм, с наружным антикоррозионным полиэтиленовым покрытием. Марка стали 09Г2БТ. Проектом предусмотрена наземная прокладка газопровода на амортизирующую песчаную подушку с последующим его обвалованием песком.

Цель расчета: Определить номинальную толщину стенки газопровода и подобрать трубу.

Исходные данные:

диаметр газопровода, Dм, мм - 1420;

рабочее проектное давление Р, МПа - 7,5;

категория участка газопровода - ΙΙΙ;

температурный перепад Δt, ºC - 45.

Задаем ориентировочно характерными для данного диаметра труб (марок стали), выпускаемых промышленностью значений предела, прочности δвр =588 МПа и определяем нормативные сопротивления растяжению (сжатию) металла труб и сварных соединений R1, Мпа:

 , (3.1)


где  - δвр = 588 МПа;

m - коэффициент условий работы, принимается в зависимости от категории участка газопровода, m= 0,9;

К1 - коэффициент надежности по материалу, зависит от способа изготовления трубы, К1 = 1,34;

Кн - коэффициент надежности по назначению газопровода, зависит от давления, Кн = 1,15.

Определяем толщину стенки газопровода δ, см:

 , (3.2)


где n - коэффициент надежности по нагрузке - внутреннему рабочему давлению в трубопроводе - принимается n=1,1;

- проектное рабочее давление =7,5 МПа;

- наружный диаметр газопровода,  = 142 см.

По полученному результату выбираем толщину стенки трубы по сортаменту и проверяем выбранную трубу на наличие продольных осевых сжимающих напряжений, МПа, определяемых от расчетных нагрузок и воздействий с учетом упругости работы металла труб. Ориентировочно выбираем трубу Харцизского трубного завода ТУ 14-3-1938-2000 1420 х 18,7мм.

Определяем внутренний диаметр трубы Dвн, мм:

 (3.3)

Dвн = (1420 -2· 18,7) = 1382,6 мм,

где Dн - наружный диаметр трубы;

δн - выбранная по сортаменту толщина стенки трубы;

Проверяем выбранную трубу на наличие продольных осевых напряжений, МПа:

 , (3.4)


где α - коэффициент линейного расширения металла трубы, α = 1,2 · ;

E - переменный параметр упругости (модуль Юнга), E=

Δt - расчетный температурный перепад, ºC;

μ- коэффициент поперечной упругой деформации: Пуассона, в стадии работы металла, μ= 0,3;

δн - толщина стенки выбранной трубы, см;

Dвн - внутренний диаметр трубы, см.

Поскольку результат отрицателен, то толщину стенки необходимо скорректировать. Для этого рассчитываем значение поправочного коэффициента ψ:

 (3.5)


где - продольное осевое сжимающее напряжение берется по модулю из предыдущего расчета, МПа;

R1 - нормативные сопротивления растяжению (сжатию) металла труб и сварных соединений, МПа.

Подставив полученные значения поправочного коэффициента, определим стенку трубы с учетом продольных осевых напряжений, см:

 (3.6)



4. Основные этапы проведения ремонтных работ

4.1 Земляные работы

В зависимости от технического состояния газопровода, вида грунта и выбранного метода ремонта земляные работы могут включать:

снятие плодородного слоя грунта;

снятие минерального грунта над газопроводом;

вскрытие ремонтируемого участка газопровода;

засыпку разработанной траншеи;

разработку новой траншеи;

засыпку отремонтированного газопровода, включая подбивку и уплотнение грунта под ним;

восстановление плодородного слоя грунта (рекультивацию земли);

устройство ограждающих дамб;

разработку околотрубных траншей для заглубления трубопровода, разработку карьеров.

Земляные работы при ремонте газопроводов выполняются в строгом соответствии с требованиями ППР.

Вскрытие пересекаемых газопроводом действующих коммуникаций, находящихся в ведении сторонних организаций (трубопроводы, кабели и др.), производится в присутствии представителей этих организаций.

При пересечении трассой газопровода действующих подземных коммуникаций разработка грунта механизированным способом производится на расстоянии не ближе 2 м от боковой стенки и не менее 1 м над верхом коммуникаций (трубы, кабели и др.). Оставшийся грунт дорабатывается вручную с принятием мер, исключающих возможность повреждения этих коммуникаций.

При вскрышных работах экскаватором для предохранения тела трубы применяются защитные устройства и конструкции.

Минимальное расстояние от поверхности трубопровода при разработке грунта механизированным способом допускается:

0,2 м в случае производства работ на отключенном участке (при отсутствии защитных конструкций);

0,5 м в случае производства работ на действующем участке в соответствии с СТО Газпром 14.

При ремонте в траншее вскрытие осуществляется в два этапа:

первый этап - вскрытие газопровода с разработкой боковых траншей ниже нижней образующей трубопровода на глубину, равную диаметру ремонтируемого газопровода;

второй этап - разработка грунта под газопроводом на глубину, обеспечивающую прохождение ремонтной техники, но не менее 0,65 м - для газопроводов диаметром до 820 мм; 0,8 м - для газопроводов 1020-1420 мм.

При ремонте на берме траншеи вскрытие производится до нижней образующей с последующим подъемом газопровода на берму траншеи, удалением с трубопровода старого изоляционного покрытия и укладкой на инвентарные опоры.

Минимальная ширина полосы, с которой снимается плодородный слой почвы, равняется ширине траншеи по верху плюс 0,5 м в каждую сторону, максимальная - ширине полосы отвода.

Плодородный слой почвы (глубина снятия определяется по ГОСТ 17.5.3.06) снимается и перемещается во временный отвал.

Снятие плодородного слоя рекомендуется производить на всю толщину, по возможности за один проход или послойно за несколько проходов. Не допускается смешивание плодородного слоя почвы с минеральным грунтом.

При капитальном ремонте глубину заложения газопроводов, а также ширину траншеи по низу надлежит принимать с учетом требований СНиП 2.05.06-85*[6].

Поперечные профили и размеры разрабатываемых траншей в грунтах различной плотности и влажности устанавливаются ППР в зависимости от принятой технологии (при укладке вновь смонтированного участка газопровода в единую траншею с различной фактической глубиной заменяемого газопровода), диаметра ремонтируемого газопровода, а также габаритных размеров применяемых машин и механизмов.

В водонасыщенных грунтах работы по ремонту газопровода, включая его вскрытие, производятся с применением технологий понижения уровня грунтовых вод.

Грунт, извлеченный из траншей, укладывается в отвал с одной стороны траншеи оставляя другую сторону свободной для передвижения ремонтной колонны.

Во избежание обвала грунта, извлеченного из траншеи, а также обрушения стенок траншеи основание отвала извлеченного грунта располагается в зависимости от состояния грунта и погодных условий, но не ближе 0,5 м от края траншеи.

До начала работ по засыпке отремонтированного и уложенного в траншею газопровода проводится восстановление устройств электрохимической защиты (приварка катодных выводов).

Засыпка траншеи выполняется после укладки участка газопровода, в сроки, определяемые требованиями технологии нанесения изоляционных покрытий. При засыпке газопровода необходимо обеспечить сохранность труб и изоляционного покрытия, а также плотное прилегание газопровода ко дну траншеи.

В скальных, щебенистых грунтах, а также сухих комковатых и мерзлых грунтах газопроводы укладываются в траншею на подсыпку из мягкого грунта (песка) толщиной не менее 10 см над выступающими неровностями основания траншеи и таким же грунтом присыпаются на высоту 20 см над верхней образующей.

Засыпка траншеи минеральным грунтом осуществляется бульдозером (траншеезасыпателем) с обеих или с одной стороны. В отдельных случаях засыпка траншеи грунтом производится одноковшовым экскаватором.

После естественного или искусственного уплотнения грунта выполняется техническая рекультивация, которая заключается в возвращении плодородного слоя почвы на нарушенную площадь.

После завершения технической рекультивации выполняется биологическая рекультивация, предусматривающая проведение комплекса агротехнических мероприятий, определенных проектом.

4.2 Очистные и изоляционно-укладочные работы

При выполнении работ в траншее подъем газопровода не производится, а его удержание (с сохранением пространственного положения) и работа очистной машины обеспечиваются с помощью грузоподъемной техники и (или) передвижных опор.

При производстве работ на берме траншеи производится подъем участка газопровода, монтаж на него очистного оборудования, удаление старого изоляционного покрытия и укладка газопровода на берму траншеи.

С целью снижения уровня напряжений в металле труб газопровода технологические параметры (высота подъема газопровода, расстояние между трубоукладчиками и т.д.) строго соблюдаются и контролируются в процессе производства работ. Указанные параметры рассчитываются и приводятся в проектах производства работ и технологических картах. При этом расчетный уровень напряжений в газопроводе не должен превышать 0,5 нормативного предела текучести металла труб.

Подъем и укладка газопровода осуществляется плавно, без рывков и резких колебаний.

При прекращении производства работ на длительный срок, как правило более двух часов (в зависимости от свойств грунта), газопровод укладывается на инвентарные опоры.

Удаление старой изоляции и продуктов коррозии производится механизированным способом: с применением специальных резцов; металлических щеток; термоабразивных или термомеханических инструментов; водяной струей под высоким давлением и др.

В местах, где механизированное удаление старого покрытия невозможно, оно выполняется вручную с использованием скребков, щеток и др.

При удалении старой изоляции не допускается нанесение на поверхность труб царапин, рисок, задиров и забоин.

Нанесение изоляционного покрытия выполняется после отбраковки труб, ремонта и замены дефектных участков.

Изоляционные работы могут выполняться как в трассовых, так и в стационарных условиях.

При нанесении изоляции на газопровод в трассовых условиях работы выполняются в следующей технологической последовательности:

финишная очистка газопровода;

при необходимости - удаление влаги с поверхности газопровода (осушка поверхности);

при необходимости - нагрев металла трубы;

нанесение грунтовки;

нанесение нового изоляционного покрытия.

Для защиты газопроводов, соединительных деталей и ЗРА от коррозии применяются покрытия на основе битумно-полимерных мастик; битумно-уретановые, полиуретановые и другие материалы, сертифицированные в соответствии с СТО Газпром 2-3.5-046 и включенные в Сводные реестры оборудования и материалов, разрешенных к применению ОАО "Газпром" при капитальном ремонте магистральных газопроводов.

Степень очистки наружной поверхности газопровода перед нанесением новых изоляционных покрытий отечественного производства должна соответствовать:

степени 3 по ГОСТ 9.402 при нанесении покрытий на основе битумно-полимерных мастик, битумно-уретановых мастик;

степени не менее Sa2-21/2 по ИСО 8501 [7] или степени 1 по ГОСТ 9.402 при нанесении покрытий на основе полиуретановых композиций.

Степень шероховатости наружной поверхности труб должна соответствовать требованиям, оговоренным в технических условиях на материалы.

Степень очистки наружной поверхности газопровода перед нанесением покрытий импортного производства должна соответствовать требованиям, указанным в технических условиях на эти материалы.

После осушки наружной поверхности трубопровода температура на поверхности перед нанесением изоляционных покрытий должна соответствовать указанной в технических условиях на применяемые изоляционные материалы.

При ремонте газопровода методом замены труб применяются новые трубы или трубы повторного применения с заводским изоляционным покрытием.

Изоляционные покрытия наносятся на подготовленную поверхность протяженных участков газопровода механизированным способом. На участках, имеющих ограничения геометрического характера (радиусы изгиба, наличие муфт, технологических бобышек и т.п.), на которых невозможно применение высокопроизводительного оборудования, рекомендуется использование технологии и оборудования для ремонта локальных участков.

Укладка в траншею и засыпка газопровода производится после приобретения изоляционным покрытием необходимых прочностных характеристик.

При ремонте в траншее засыпка отремонтированного участка осуществляется в два этапа: на первом этапе - засыпка с подбивкой грунта под отремонтированный газопровод; на втором этапе - засыпка грунтом сверху и с боковых сторон газопровода.

С целью исключения повреждений изоляционного покрытия применяемая техника должна соответствовать требованиям для работы с трубами с изоляционным покрытием.

Приварка контрольных и дренажных выводов, установка КИК (КИП) перед обратной засыпкой газопровода после ремонта выполняется в соответствии с требованиями 6.1 ГОСТ Р 51164.

4.3 Огневые работы

После окончания подготовительных работ приступают к производству огневых работ. Место огневых работ должно быть предварительно защищенное от атмосферных осадков и ветра. В начале огневых работ проводят разрезку газопровода с демонтажем подлежащей замене дефектного участка.

После вскрытия трубы и очистки ее от изоляции принимаются решения о размерах врезаемой "катушки". Затем участок трубопровода тщательно размечают, и проводят резку газопровода.

Резкое газопровода производят следующим образом: один конец участка трубы, в которую врезаются, режут перпендикулярно в вдоль ее оси, вторую участок участок с небольшим уклоном плоскости реза, так чтобы по верхней созданной участок участке трубы, в которую врезаются должно быть дольше, чем по нижней, не менее чем на 50 мм. После извлечения вырезанной дефектной части трубы, кромка второго конца трубы газопровода размечается и готовится к сварке. Подготовка кромок труб газопровода сводится к обработке их под фаску. Фаски обрезают резаком или специальной машиной, а затем шлифуют шлифовальные машинкой или зачищают до металлического блеска.

После подготовки кромок труб газопровода, участка рабочие ремонтной бригады тщательно замеряют расстояние между кромками труб и в соответствии с полученными замерами приступают к изготовлению "катушки". "Катушка", которую врезают, по своим механическим свойствам, химическому составу стали и толщиной стенок должна быть аналогична ремонтной. "Катушку" изготавливают из трубы той же марки, что и труба действующего газопровода. "Катушку" вырезают с помощью газовой резки, по снятым размерам. При подготовке "катушки" металл трубы тщательно осматривают на отсутствие трещин, царапин, вмятин и т.д. При необходимости трубу ремонтируют.

Для ускорения с варочно-монтажных работ центровка газопровода и "катушки" и подготовка его к сварке проводится на специальных устройствах - центраторах, используемых для сборки.

Цепной центратор представляет собой шарнирный висьмиреберник из пластических и промежуточных цепей, цепей с нажимными роликами в узлах. Последний запорный цепь запирающим крюком надевается на крестовину-гайку. При движении крестовины вверх по резьбой винта рамки обжимают концы труб.

Для сборки стыка центра тор надевается на конец трубы на половину своей ширины. Поднятая центратором "катушка" вводится концом в свободную часть центра тора, подгоняют до конца трубы так, чтобы по периметру образовалось минимальное смещение кромок и устанавливается требуемый зазор между торцами. Размер технологического зазора при врезке катушки для толщины трубы S = 16 и для диаметра 1420мм должно быть 2 -0 +1 мм. Проверка качества подготовки стыка к сварке может быть проведена с помощью специального шаблона.

После выполнения всех вышеуказанных условий центра тор зажимается. Если в отдельных местах стыка получили смещение кромок более, чем это допустимо по СНиП, на края смещенной участка ставят усиленные прихватки длиной от 75 до 100 мм, а смещены края труб подводят кувалдой. Смещение кромок допускается не более 2 % толщины стенки трубы, но не более 3 мм. Правку кромок труб разрешается проводить подбивкой только в верхней половине стыка, с предварительным подогревом до температуры не менее 300°С. После правки прихватки тщательно осматривают и при наличии в них трещин вырубаются.

Для врезки "катушки" используют ручную электродуговую сварку на постоянном токе, так как при этом электрическая дуга более устойчива, чем при использовании переменного тока.

Сварка "катушки" делается электродами с основным видам покрытия типа УОНИ 13/55, УОНИ 13/45. Для обеспечения гарантированного провара шва сварку коренного слоя выполняют электродами диаметром 3 или 3,25 мм. Следующие слои выполняют электродами диаметром 4 мм. В зависимости от толщины трубы S и покрытия электродов выбирают число слоев в шве. Для электродов с основным покрытием при S = 9-15мм необходимо от 3 до 4 проходов. Каждый слой шва перед наложением следующего должен быть зачищен от шлаков и брызг шаровыми металлическими щетками или пневмоинструментом. Режим сварки выбирают в зависимости от толщины сварных стенок, толщины электродов, скорости сварки, количества слоев в шве и т.д.

"Катушку" вваривают с применением подкладного кольца, выполненного из стальной полосы шириной 50 мм и толщиной от 3 до 4 мм. Подкладное кольцо вставляют в газопровод так, чтобы его кромка была на уровне с кромкой трубы. После того, как катушка отцентрована, подкладное кольцо с помощью остро заточенного инструмента передвигают внутрь "катушки" до тех пор, пока середина наружной поверхности ее не станет против зазора.

При производстве огневых работ проводится тщательное наблюдение за давлением газа в газопроводе. У каждого линейного крана (А или Б), которыми участок отключен от общей и магистрали, находится не менее двух рабочих ремонтно-восстановительной службы. Они должны следить за давлением газа на примыкающих участках ремонтируемого газопровода по манометрам, выходом газа через свечи, обеспечить герметичность кранов, поддерживать связь с местом проведения огневых работ.


Организации, осуществляющие строительство, монтаж и ремонт газопроводов обязаны обеспечить контроль производства работ на всех стадиях руководителями и специалистами строительных и монтажных организаций и персоналом лабораторий в установленном порядке.

Контроль включает проверку: аттестации персонала; наличия аттестации технологии сварки; наличия аттестации сварочного и контрольного оборудования, аппаратуры, приборов и инструментов; качества материалов (стальных и полиэтиленовых труб, изоляционных покрытий, сварочных, в том числе материалов для дефектоскопии); основания под газопровод; организации и осуществления операционного контроля (визуального и измерительного) сварных соединений; организации и осуществления контроля качества сварных соединений разрушающими и неразрушающими (радиографическим, ультразвуковым) методами, а также контроля качества изоляционных покрытий; организации контроля исправления дефектов.

Входной контроль качества труб, деталей и узлов газопроводов, арматуры, изоляционных и других материалов должен производиться специалистами аттестованной в установленном порядке лаборатории.

Заключения, радиографические снимки, магнитные ленты или диаграммы хранятся в строительно-монтажной организации (лаборатории) после сдачи газопровода в эксплуатацию в течение года.

Оборудование, применяемое при контроле качества строительства, проходит поверку в сроки, установленные нормативной документацией. Аппаратура ультразвукового контроля должна применяться со считывающим устройством. Контрольно-измерительное оборудование должно проходить метрологическую поверку в установленном порядке.

Сварные соединения подлежат визуальному и измерительному контролю с целью выявления наружных дефектов всех видов, а также отклонений по геометрическим размерам и взаимному расположению элементов. Допуски по геометрическим размерам, отклонениям по диаметру, овальности поперечного сечения элементов газопроводов, взаимному несовмещению свариваемых изделий не должны превышать норм, предусмотренных нормативно-технической документацией. Неразрушающий контроль сварных соединений проводится при положительных результатах визуального и измерительного контроля.

Визуально-измерительный, радиографический и ультразвуковой контроль (УЗК) качества сварных соединений производится в соответствии с требованиями государственных стандартов и нормативно-технических документов.

Все стыковые соединения (100%) стальных надземных газопроводов подлежат контролю физическим методом на участках переходов через автомобильные дороги I-III категории, железные дороги, в пределах мостов и путепроводов, а также в пределах переходов через естественные преграды.

Для проверки физическим методом контроля следует отбирать сварные стыки, допущенные по результатам визуального контроля.

Нормы контроля не распространяются на угловые соединения на газопроводах условным диаметром до 500 мм, стыки приварки фланцев и плоских заглушек.

Сварные стыки соединительных деталей стальных газопроводов, изготовленные в условиях центральных заготовительных мастерских (ЦЗМ) всех давлений подлежат 100% контролю радиографическим методом.

Ультразвуковой метод контроля сварных стыков стальных газопроводов применяется при условии проведения выборочной проверки не менее 10% стыков радиографическим методом. При неудовлетворительных результатах контроля радиографическим методом хотя бы на одном стыке объем контроля следует увеличить до 50% от общего количества стыков. В случае повторного выявления дефектных стыков все стыки, сваренные сварщиком на объекте в течение календарного месяца и проверенные ультразвуковым методом, должны быть проверены радиографическим методом.

При неудовлетворительных результатах контроля физическим (радиографическим, ультразвуковым) методом должна проводиться проверка удвоенного числа стыков на участках газопровода, не принятых в эксплуатацию. Если при повторной проверке будут обнаружены недопустимые дефекты, то все однотипные сварные соединения, выполненные данным сварщиком на участках газопровода, не принятых в эксплуатацию, должны быть проверены физическим методом контроля.

Результаты проверки сварных соединений полиэтиленовых газопроводов методом ультразвукового контроля и механическими испытаниями следует оформлять распечатками с приборов УЗК и протоколом.

Выбор метода контроля (ультразвуковой дефектоскопии или радиографии) должен производиться исходя из условий обеспечения выявления дефектов с учетом физических свойств материала.

Разрешается замена радиографического и ультразвукового контроля на другие методы контроля при условии их согласования с Госгортехнадзором России.

Контроль радиографических снимков сварных стальных соединений, сваренных каждым сварщиком, следует осуществлять на аппаратно-программном комплексе автоматизированной расшифровки радиографических снимков в объеме 20%.

Механические испытания проводятся в соответствии с государственными стандартами при проверке механических характеристик и качества сварных соединений при сварке стыков в процессе квалификационных испытаний сварщиков (допускных) и проверке технологических параметров при аттестации технологии сварки.

Основными видами механических испытаний являются испытания на статическое растяжение, статический изгиб или сплющивание. Испытания на статическое растяжение не являются обязательными для производственных сварных соединений при условии положительных результатах их контроля радиографическим или ультразвуковым методом. Проверка механических свойств должна производиться на образцах, выполненных из контрольных (допускных) сварных соединений или из производственных сварных соединений, вырезаемых из изделия. Условия сварки контрольных сварных соединений должны быть идентичны контролируемым производственным соединениям.

Заключение

Безаварийная работа и удлинение срока службы магистральных трубопроводов в основном зависят от своевременно и качественно проведенного капитального ремонта.

В последние годы объем капитального ремонта линейной части магистральных газопроводов значительно увеличился.

Оптимальное планирование и рациональное использование материальных и технических ресурсов ремонтно-строительного производства отрасли приобретают важное значение.

Как показал количественный и качественный анализ существующей системы ремонта, эффективность капитального ремонта линейной части магистраль газопроводов может быть достигнута только за счет комплексного рассмотрения оптимизационных задач по технике, технологии, организации и управлению ремонтно-строительным производством.

Успешное выполнение большого объема работ как по строительству, так и по капитальному ремонту магистральных газопроводов невозможно без внедрения наиболее целесообразной технологии и совершенной организации работ, обеспечивающих их высокие темпы. Очень важен выбор наиболее эффективной технологической схемы производства ремонтных работ с учетом имеющейся техники.

Разнообразие конструкций изоляционных покрытий и физико-механических свойств материалов, используемых в практике защиты от коррозии подземных газонефтепроводов, требует индивидуального подхода к процессу очистки поверхности трубопроводов при их ремонте в каждом конкретном случае. В связи с этим возникают проблемы, связанные с созданием новых способов и средств для снятия изоляционного покрытия различного типа.

Существующая организация ремонтных работ не в полной мере соответствует тем задачам, которые поставлены перед отраслью. Поэтому совершенствование организации производства работ является одним из важных направлений повышения эффективности ремонтно-строительных подразделений и, следовательно, повышения производительности труда.

Список использованных источников

1     Коршак, А.А. Проектирование и эксплуатация газонефтепроводов: Учебник для вузов / А.А. Коршак, А.М.Нечваль - М.: Недра, 2008

2. Быков, Л.И. Типовые расчеты при сооружении и ремонте газонефтепроводов: учеб. пособие / Л.И. Быков, Ф.М. Мустафин, С.К. Рафиков и др. - Санкт-Петербург: Недра, 2006.-824 с

. СТО Газпром 2-2.2-115-2007. Инструкция по сварке магистральных газопроводов с рабочим давлением до 9,8 МПа включительно.- Взамен ВСН 006-89, СП 105-34-96 (в части сварки труб диаметром 1020-1420 мм с толщинами стенок 18,0-32,0 мм); Введ. 22.09.2007

. СТО Газпром 2-2.3-231-2008. Правила производства работ при капитальном ремонте линейной части магистральных газопроводов ОАО "Газпром". - Взамен ВСН 51-1-97; Введ. 22.9.2008

Похожие работы на - Капитальный ремонт линейной части магистрального газопровода Уренгой-Помары-Ужгород с заменой трубы

 

Не нашли материал для своей работы?
Поможем написать уникальную работу
Без плагиата!
Без нейросетей!