Исследование процессов смешения компонентов строительных смесей бетоносмесителем СБ-103
Министерство
образования и науки РФ
Белгородский
государственный технологический университет
им. В.Г.
Шухова
Институт
технологического оборудования и машиностроения
Кафедра:
механическое оборудование
РГЗ
по
дисциплине:
«Процессы
производства строительных материалов и изделий»
на
тему: «Исследование процессов смешения компонентов строительных смесей
бетоносмесителем СБ-103»
Выполнил: Устинов К.В.
студент гр. МОс-22
Принял: профессор Семикопенко И.А.
Белгород
2014
Содержание
Введение
. Техническая часть
.1 Устройство
.2 Принцип действия
.3 Классификация
.4 Сравнительный анализ
. Патентные исследования
. Расчет основных параметров
Вывод
Список литературы
Введение
Получение бетона или раствора со свойствами,
отвечающими предъявляемым к ним требованиям, может быть обеспечено
совокупностью таких факторов, как качественные исходные компоненты, хорошо и
надежно работающее смесительное и дозировочное оборудование.
Выпускаемое в настоящее время смесительное
оборудование в ряде случаев не отвечает возросшим потребностям строительства и
строительной индустрии; отсутствуют смесители для приготовления бетонных смесей
на пористых заполнителях вместимостью 1000-1200 л. Турбулентные (тарельчатые)
смесители не обеспечивают приготовления качественных смесей на пористых
заполнителях плотностью 1000-1300 кг/м3. Кроме того, процесс приготовления и
измельчения в таких смесителях зависит от ряда факторов и не поддается контролю
и регулированию.
Необходимо создание и освоение новых
универсальных смесителей принудительного действия лоткового типа, пригодных для
приготовления как бетонных смесей на пористых заполнителях, так и арболита.
В стране начинает находить применение фибробетон
- бетон, армированный различными волокнами (металлическими, стеклянными,
капроновыми, полипропиленовыми, базальтовыми и др.), имеющий определенные
преимущества перед бетоном с традиционным армированием. Как показали
исследования и опытно-промышленное внедрение, приготовление таких смесей в
серийно выпускаемых смесителях в ряде случаев невозможно.
Для этих целей Специальным
проектно-конструкторским объединением Оргтехстром МПСМ ЛатвССР была разработана
и выпущена опытная партия спирально-вихревых смесителей (безлопастных
смесителей с гибким корпусом).
Чтобы повысить срок службы серийно выпускаемых
смесителей и улучшить санитарно-гигиенические условия работы обслуживающего
персонала (снижение уровня звукового давления), необходимо начать работы по
замене наиболее изнашивающихся стальных элементов смесителей на
полимеррезиновые. Зарубежный опыт свидетельствует о том, что подобная замена
позволяет увеличить срок службы деталей в 3-4 раза и снизить уровень звукового
давления на 10-15 дБ.
По данным Института строительства Венгрии
лотковые двухвальные смесители с двумя горизонтальными валами по сравнению с
тарельчатыми смесителями роторного типа позволяют снизить энергоемкость на 20%
и сократить расход цемента на 50 кг/м3.
Применение двухвальных лотковых смесителей по
сравнению с тарельчатыми смесителями позволяет снизить энергоемкость до 45%, а
расход цемента - до 11%.
Как показывает многолетняя практика эксплуатации
тарельчатых смесителей, они достаточно хорошо себя зарекомендовали на
приготовлении бетонных смесей на плотных заполнителях и цементно-песчаных
смесях. Приготовление смесей на пористых заполнителях плотностью 1000-12000
кг/м3 и менее в тарельчатых смесителях сопровождается увеличением времени
смешивания до 5-7 мин, образованием перед вращающимися лопастями призм
материала, перемещающихся вместе с лопастями, и всплытием легких фракций заполнителей.
В настоящее время находят ограниченное
применение турбулентные (тарельчатые) смесители для приготовления бетонных
смесей на пористых заполнителях. При этом приводятся данные о благоприятном
воздействии на качество смесей этого процесса, обусловленное избирательным
дроблением слабых зерен пористых заполнителей при больших частотах вращения
рабочего органа.
Технология приготовления бетонов на пористых
заполнителях с применением турбулентных смесителей не получила значительного
распространения в связи с конструктивными недостатками турбулентного смесителя
(его нельзя использовать в качестве измельчителя-дробилки, требуется коренная
переработка конструкции); сложностью эксплуатации, связанной с частой наплавкой
или заменой быстроизнашивающихся узлов и деталей, в частности ротора;
повышенной энергоемкостью приготовления, обусловленной, во-первых, большой
частотой вращения ротора и, во-вторых, увеличенной продолжительностью;
невозможностью приготовления смесей с удобоукладываемостью ниже 7 см осадки конуса
по ГОСТ 6508-81.
Опыт эксплуатации лотковых одновальных
смесителей (растворосмесителей СМ-290) показал, что на них с успехом можно
приготовлять легкобетонные смеси различной плотности за нормируемый отрезок
времени.
В зарубежной практике для приготовления бетонных
смесей на пористых заполнителях используются лотковые одновальные и двухвальные
смесители.
1. Техническая часть
.1 Устройство бетоносмесителя СБ-103
бетоносмеситель
мощность нагрузка
Бетоносмеситель СБ-103 входит в комплект
оборудования бетонных заводов и установок и бетоносмесительных цехов заводов
железобетонных изделий. Бетоносмеситель состоит из рамы, опорных стоек,
смесительного барабана, траверсы, привода вращения барабана и пневмоцилиндра
для опрокидывания барабана.
Смесительный барабан представляет собой
металлическую емкость в виде двух конусов, соединенных цилиндрической
обечайкой, внутренняя поверхность которой снабжена футеровкой из сменных листов
из износостойкой стали. В барабане на кронштейнах закреплены три передние и три
задние лопасти. К цилиндрической обечайке барабана с внешней стороны на
прокладках приварен зубчатый венец и к торцу переднего конуса фланец.
Траверса представляет собой сварную конструкцию
коробчатого сечения, выполненную в виде полукольца с цапфами на концах. Цапфы с
подшипниками закреплены на стойках и служат для поворота смесительного
барабана. На траверсе смонтированы опорные и поддерживающие ролики,
обеспечивающие вращение и удержание барабана при разгрузке. На наружной стенке
левой стойки установлен - пневмопривод. На правой стойке находится выводная
коробка и два конечных выключателя крайних положений барабана. Опорный ролик,
вращающийся в подшипниках, установлен на эксцентриковой оси, позволяющей
регулировать положение роликов для нормального зацепления шестерни и
зубчатого венца при монтаже, и изнашивании
роликов. Оси установлены на двух опорах и крепятся к стойке траверсы болтами.
Поддерживающие ролики также смонтированы в подшипниках на эксцентриковых осях,
позволяющих регулировать зазор между коническими поверхностями зубчатого венца
и ролика. Для смещения ролика в осевом направлении предусмотрены регулировочные
шайбы.
.2 Принцип действия бетоносмесителя СБ-103
Пневмокинематическая схема бетоносмесителя
СБ-103: двухступенчатый редуктор закреплен на вертикальной стенке траверсы.
Движение от электродвигателя через муфту и редуктор передается шестерне и
зубчатому венцу барабана.
Пневмопривод служит для опрокидывания барабана
при разгрузке готовой смеси, возврата и фиксации его в рабочем положении и
заключает в себя пневмоцилиндр, воздухораспределитель, маслораспределитель,
запорный вентиль, резинотканевые рукава и трубы. Пневмоцилиндр выполнен с
тормозным устройством, позволяющим изменять скорость движения поршня в конце
опрокидывания и подъема барабана.
1.3 Классификация бетоносмесителей
Получение бетона и раствора заданных марок и
свойств, отвечающих соответствующим требованиям, обеспечивается совокупностью
многих факторов, из которых первостепенное значение имеют качество исходных
компонентов и эффективность работы смесительного оборудования. Для
приготовления бетонов и растворов применяются смесители различной конструкции.
Смесители классифицируются по следующим
признакам:
· по технологическому назначению - для
приготовления бетонов разных видов (тяжелого, ячеистого, силикатного,
керамзитобетона, полимербетона и т. п.), для приготовления строительных
растворов;
· по характеру работы - цикличные и
непрерывного действия;
· по способу смешения - гравитационные
(барабанные) и принудительного действия (лопастные);
· по конструкции рабочих органов - с
цилиндрическим и грушевидным барабаном, с двухконусным барабаном, с вертикально
расположенными смесительными валами (тарельчатого типа) и с горизонтально
расположенными смесительными валами (лоткового типа);
· по способу перебазирования -
передвижные и стационарные.
В смесителях цикличного действия исходные
материалы смешиваются отдельными порциями. Такой способ приготовления позволяет
регулировать продолжительность смешения в зависимости от состава смеси и вместимости
смесителя, т. е. приготовлять смеси различных марок.
В смесителях непрерывного действия исходные
компоненты загружаются, смешиваются и разгружаются непрерывно. Их используют
при массовом производстве одномарочных смесей, как правило, в установках или
линиях непрерывного действия.
1.4 Сравнительный анализ
К преимуществам гравитационных смесителей
относятся простота конструкции и кинематической схемы, возможность работы а
смесях с наибольшей крупностью заполнителей (до 120 ... 150 мм), незначительное
изнашивание рабочих органов, малая энергоемкость, простота в обслуживании и
эксплуатации и низкая себестоимость приготовления смеси. Оптимальное время
смешения в таких смесителях составляет 60 ... 90 с, а полный цикл, включая
загрузку, смешение, выгрузку и возврат барабана в исходное положение, - 90 ...
150 с.
Перемешивание массы осуществляется посредством
лопастей, закрепленных на внутренней поверхности барабана.
Во избежание быстрого износа лопастей рабочие
кромки их наплавляются сталинитом. Лопасти расположены по винтовой линии, при
этом часть лопастей имеет правое направление (у разгрузочного конуса), а
лопасти загрузочного конуса - левое, что способствует приближению бетона к
центральной цилиндрической части барабана и улучшению вследствие этого перемешивания
всей смеси.
Рассмотрим несколько разновидностей
бетоносмесителей:
Бетоносмеситель СБ-10В состоит из рамы со
стойками, траверсы с опорными и поддерживающими роликами, загрузочного
устройства, зубчатого венца, пневмопривода, смесительного барабана, привода и
электрооборудования.
Смесительный барабан соединен в середине
обечайкой, к которой приварен зубчатый венец. Внутри барабан снабжен футеровкой
из износостойкой стали.
Пневмокинематическая схема бетоносмесителя
СБ-10В включает в себя механический привод вращения барабана и пневматический
привод опрокидывания его при разгрузке. Электромеханический привод вращения
барабана состоит из электродвигателя, соединенного муфтой с зубчатой
двухступенчатой передачей, шестерни и зубчатого венца. В пневматический привод
опрокидывания барабана входят запорный вентиль, влагомаслоотделитель,
воздухораспределитель и пневмоцилиндр, связанный с рычагом опрокидывания
барабана (поворота траверсы).
Бетоносмеситель СБ-92 состоит из рамы,
смесительного барабана, траверсы со встроенным редуктором, механизма вращения и
механизма опрокидывания барабана.
Бетоносмеситель СБ-16Б аналогичен по конструкции
бетоносмесителю СБ-91 и может использоваться либо индивидуально, либо в
качестве комплектного оборудования бетонного завода. В первом случае он имеет
скиповый подъемник.
Гравитационные бетоносмесители непрерывного
действия являются встроенным оборудованием бетоносмесительных установок и
предназначены для приготовления бетонных смесей подвижностью 2 см и более и
крупностью заполнителей до 70 мм.
2. Патентные исследования
Бетоносмеситель
Классификация по МПК: B28C
<#"728321.files/image002.gif">

Сущность изобретения:
бетоносмеситель гравитационного действия, содержащий V-образную раму с
основными колесными и установленными на основных дополнительными опорами,
причем основные опоры установлены на раме с возможностью регулирования
положения вдоль V-образной рамы и поворота в плоскостях, перпендикулярных
концам V-образной рамы, установленные на раме двигатель и редуктор с выходным
валом, на котором посредством быстросъемного соединения установлен съемный
барабан. Бетоносмеситель может быть снабжен дополнительным редуктором для
передачи усилия от рукоятки на барабан. 2 з. п. ф-лы, 5 ил.
ФОРМУЛА ИЗОБРЕТЕНИЯ
. БЕТОНОСМЕСИТЕЛЬ, содержащий раму с опорами,
установленный на ней двигатель, редуктор с выходным валом, закрепленный на
последнем барабан и рукоятку, отличающийся тем, что барабан выполнен съемным,
крепление барабана - быстроразъемным, а рама выполнена V-образной в плане,
причем бетоносмеситель снабжен дополнительными опорами, при этом основные опоры
расположены на концах V-образной рамы и выполнены с возможностью регулирования
и фиксирования положения вдоль V-образной рамы и поворота в плоскостях,
перпендикулярных концам V-образной рамы, а дополнительные опоры закреплены на
основных и повернуты по отношению к последним в плоскостях, перпендикулярных
концам V-образной рамы.
. Бетоносмеситель по п.1, отличающийся тем, что
быстросъемное соединение выполнено с коническим участком.
. Бетоносмеситель по п.1 или 2, отличающийся
тем, что он снабжен дополнительным редуктором для передачи усилия от рукоятки
на барабан.
Бетоносмеситель
Классификация по МПК: B28C5/42
Патентная информация
Патент на изобретение №: 20640
Автор: Шкуро В.П.,Мазной В.Н.
Патентообладатель: Ростовский вертолетный
производственный комплекс, открытое акционерное общество "Роствертол"
Дата публикации: 20.11.2001г.
Адрес для переписки: 344038, г.Ростов-на-Дону,
ул. Новаторов, 5, ОАО "Роствертол", НИЦ
Формула полезной модели
Бетоносмеситель, содержащий барабан,
закрепленный на коромысле, имеющем возможность свободного вращения вокруг
горизонтальной оси рамы и фиксирования в необходимых положениях, устройство
привода вращения барабана, откидной упор и откидные колеса рамы, отличающийся
тем, что передача вращения от устройства привода к барабану выполнена в виде
штырей, равномерно размещенных на венце барабана и взаимодействующих со штырями
ведущего вала привода во всех положениях барабана.
Гравитационный бетоносмеситель
Классификация по МПК: B28C5/20
Патентная информация
Патент на изобретение №: 93329
Автор: Кузнецов Геннадий Аркадьевич, Брюховецкая
Елена Викторовна, Шалыгина Анна Игоревна, Придеин Иннокентий Евгеньевич
Патентообладатель: Федеральное государственное
образовательное учреждение высшего профессионального образования Сибирский федеральный
университет (СФУ)
Дата публикации: 27 апреля 2010г.
Адрес для переписки: 660074, г.Красноярск, ул.
Киренского, 26, отдел промышленной собственности СФУ
Формула полезной модели
Гравитационный бетоносмеситель, содержащий
барабан, раму, установленную на раме ось с рукоятью поворота и фиксатором,
закрепленный на оси посредством фланца, расположенного выше точки центра масс
барабана, привод, состоящий из электродвигателя и редуктора, выходной вал
которого соединен с барабаном посредством фланца, расположенного соосно с
барабаном, ось вращения которого расположена под углом к горизонтальной
плоскости, а точка центра масс барабана и привода размещена ниже оси,
установленной на раме, при этом барабан и редуктор выполнены с возможностью
съема, отличающийся тем, что привод установлен соосно с барабаном, редуктор
выполнен соосным, двухступенчатым, цилиндрическим, рукоять поворота размещена
на конце оси, а фиксатор выполнен в виде стопора, установленного на опоре оси.
Бетоносмеситель
Классификация по МПК: B28C5/16
Патентная информация
Патент на изобретение №: 130911
Автор: Дмитриенко Виктор Григорьевич, Чемеричко
Галина Ивановна, Мартаков Игорь Геннадьевич, Сажнева Екатерина Александровна,
Дмитриенко Роман Андреевич
Патентообладатель: федеральное государственное
бюджетное образовательное учреждение высшего профессионального образования
"Белгородский государственный технологический университет им. В.Г.
Шухова"
Дата публикации: 10.08.2013г.
Адрес для переписки: 308012, г.Белгород, ул.
Костюкова, 46, БГТУ им. В.Г. Шухова, отдел создания и оценки объектов
интеллектуальной собственности
Формула полезной модели
. Бетоносмеситель для приготовления тяжелых
бетонных смесей, содержащий корпус с разгрузочным устройством, крышку с
загрузочным отверстием, расположенный внутри корпуса ротор с лопастями,
отличающийся тем, что корпус установлен на двух опорно-поворотных стойках и
гидроцилиндре.
. Бетоносмеситель по п.1, отличающийся тем, что
затвор выполнен неразъемным соединением сегментов днища и боковой стенки
корпуса.
3.
Расчет основных параметров
Определение рабочих нагрузок.
Сила тяжести бетонной смеси Н:
Полная:
Gсм = Vз*ρсм*g
Gсм =3,3*9,81*2500 =
80932,5 Н
Поднимаемая за счёт сил трения:
G1 = 0,85 Gсм
G1 = 0,85*80932,5 =
68792,6 Н
Поднимаемая в лопастях:
G2 = 0,15 Gсм
= Gсм - G1
G2 = 80932,5 -
68792,6 = 12139,9 Н
Где Vз
- объём готового замеса, м3; ρсм
- плотность смеси кг/м3;
g = 9,81 м/с2
сила тяжести барабана, Н; для смесителей непрерывного
действия:
GБ = KБ*
ρст*L*g*(DН2
- D02)*(π/4)
[2]
GБ
=1,23*7850*4,9722*9,81*(1,98882 - 1,91242)*3,14*4 = 110192,895 Н
Где KБ
- коэффициент, учитывающий массу бандажа лопастей, фланцев и т.п.; KБ
= 1,15…1,23; g = 9,81 м/с2; ρст
- плотность стали, 7850 кг/м3
Расчёт мощности, затрачиваемой на перемешивание
Средняя высота подъема перемешиваемых
компонентов за счет сил трения (h1)
и в лопастях (h2) м:
h1 ≈R0≈ 0,9562 м=
(I + sinγ0)*
R0 [1]2
=1 + 0,7)*0,9562 = 1,6323
время одного оборота барабана, с:
tоб = 60/nном
[1]
tоб = 60/17,28 =
3,47 с
время подъема смеси в лопастях t1
и падения компонентов смеси с высоты h2(t2),
с:
t1 = (90 + γ0)/(60*nном)
[1]
t1 =(90 +
45)/(60*17,28) = 0,130 с
t2 =(2*
1,6323/9,81)0,5 = 0,58 с
где nном
- номинальная частота вращения барабана, мин-1;
g = 9,81 м/с2;
число циркуляций смеси за 1 оборот барабана за
счет сил трения (Z1) и в
лопастях (Z2), об-1
Z1 = 360/2*γ1
[1]
Z1 = 360/2*90 = 2
об-1
Z2 = t/(
t1 + t2)
[1]
Z2 = 3,47/(0,130 +
0,58) =4,887 об-1
Где γ1 - угол
перемещения смеси, γ1 = 2* γ0
Мощность, затрачиваемая на перемешивания, Вт:
N1 = (G1
h1 Z1
+ G2 h2
Z2)* nном
/ 60 [1]
N1 =
(68792,6*0,9562*2+12139,9*1,6323*4,887)*(17,28/60)=65779,07Вт
Расчет мощности, затрачиваемой на преодоления
сил трения в опорах бетоносмесителей.
Мощность, затрачиваемая на преодоление сил
трения в опорах, определяется в зависимости от конструкции бетоносмесителя, Вт:
· Для смесителей цикличного и
непрерывного действия с периферийным приводом.
N2 = (Gсм
+ Gб)/cosβ
* (Dб + dр)/dр
* (μ1
+ μ2 d0/2)*ωном
N2 = ((80932,5 +
110192,89)/0,809)*((2,1086 + 0,4207)/0,4207)*
*(0,001 + ((0,015*0,1052)/2))*1,809 = 4596,7 Вт
где ωном
- номинальная угловая скоость вращения барабана, с-1;
μ1 - коэффициент трения
качения, приведенный к валу или оси подшипника опорного устройства; μ1
= 0,01…0,015; μ2 - коэффициент (плечо) трения качения
бандажа по опорным роликам; μ2 = 0,0008…0,001 м;
d0 - диаметр оси
опорного ролика, м; Dб - диаметр
опорного бандажа, м; dр
- диаметр опорного ролика, м; β - угол
установки опорных роликов, град.
Полная потребляемая мощность, Вт
Nпол = N1
+ N2 [1]
Nпол = 65779,07 +
4596,7 = 70375,77 Вт
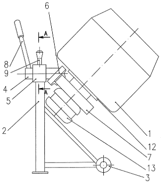
Рисунок 1. Бетоносмеситель СБ-103
- щиток; 2 - кожух; 3 - барабан; 4 - муфта; 5 -
пневмопривод; 6 - электрооборудование; 7 - траверса; 8 - стойки; 9,14 - опорный
и поддерживающие ролики; 10 - подшипник; 11 - конечный выключатель; 12 -
редуктор; 13 - выводная коробка; 15 - рама.
Вывод
В расчетно-графическом задании рассмотрен
гравитационный бетоносмеситель СБ-103, особенности его работы, его место и роль
в составе технологической линии производства бетона и бетонных изделий. Так же
были произведены основные расчеты машины: tоб
= 60/17,28 = 3,47 с;
t1 =0,130 с;t2
=0,58 с; Z1 = 2 об-1; Z2
= 4,887 об-1; N1 = 65779,07 Вт; N2
= 4596,7 Вт;Nпол = 70375,77 Вт.
Были рассмотрены новые технологические решения по разработке деталей и узлов.
Исходя из предыдущего пункта можно сделать
вывод, что максимальная производительность бетоносмесителя СБ-103 будет
достигнута при коэффициенте заполнения φ = 1, и
при частоте вращения n
= 0,21с.
СПИСОК ИСПОЛЬЗОВАННОЙ ЛИТЕРАТУРЫ
1. Богданов
В. С. И др. «Основы расчета машин и оборудования предприятий строительных
материалов и изделий». Старый Оскол, «ТНТ», 2013 - 680 с.
2. Богомолов
А. А. «Теоретические и технические основы совершенствования смесительных машин
для приготовления строительных смесей». Белгород, 2010.
. Сапожников
В. А. и др. «Механическое оборудование предприятий строительных материалов,
изделий и конструкций». М., «Высшая школа». 1971 - 382 с.
. Бауман
В.А. и др. «Механическое оборудование предприятий строительных материалов,
изделий и конструкций». М., «Машиностроение», 1981 - 324 с.
. Сапожников
Н. Я. «Атлас механического оборудования»
. Журавлев
М.И. и др. «Механическое оборудование предприятий строительных материалов». М.,
«Высшая школа», 1973 308 с.