Интегрированные технологии размерного анализа сборки и изготовления составных частей редуктора конического при условиях крупносерийного его выпуска
МIНIСТЕРСТВО
ОСВIТИ І НАУКИ УКРАΪНИ
СХІДНОУКРАЇНСЬКИЙ
НАЦIОНАЛЬНИЙ УНІВЕРСИТЕТ
Факультет
комп’ютерних
систем
і
технологій
Кафедра
АіКІТ
КУРСОВИЙ
ПРОЕКТ
з
дисципліни
«Комп’ютерно-інтегровані
технології»
за
темою: «Інтегровані технології розмірного аналізу зборки та виготовлення
складових частин редуктора конічного при умовах крупносерійному його випуску»
Виконавець:
студент
гр. КТ-891 Ігнатов В.В.
Викладач:
доц.,
к.т.н. Малахов В.Н.
Луганськ
2013р.
Реферат
Курсовий проект містить: 33 сторінки,
15 рисунків, 7 таблиць, 4 графіка, 4 додатка.
Об’єкт роботи: вихідний (тихохідний)
вал одноступінчатого редуктору.
Мета роботи: Визначення технічних
вимог до складальної одиниці, призначення та обґрунтування посадок для
з’єднань, розмірний аналіз складальної одиниці. Побудова та розрахунок
розмірного ланцюга, розрахунок граничних розмірів деталей з їх відхиленнями.
Приведено технічний опис складальної
одиниці, технічні вимоги до неї; зроблене обґрунтування і вибір посадок гладких
циліндричних з'єднань, підшипників кочення, шпонкових з’єднань; зроблений
розмірний аналіз складальної одиниці; приведене обґрунтування технічних вимог
до деталей складальної одиниці - валу вихідному; виконане дослідження за
вибором припусків та допусків на розміри заготовки валу.
Содержание
Введение
. Сопряжения деталей
.1 Размерный анализ сборки
.2 Анализ размерных цепей
.3 Размерный анализ сопряжений
в конструкции редуктора
. Посадка зубчатого колеса и
вала
. Посадки подшипников качения
. Посадки втулки и шпонки на
вал
.1 Посадка втулки
.2 Посадка шпонки
. Размерный анализ
конического редуктора
. Назначение припусков и
допусков на размеры заготовки вала
.1 Обоснование метода получения
заготовок
.2 Классификация штампованных
поковок
.3 Припуски и допуски штампованных
поковок
Заключение
Список используемой литературы
Введение
Ускорение социально-экономического развития
государства предполагает всемерную интенсификацию производства на основе
научно-технического прогресса. В последнее время значительно увеличился выпуск
новых видов машин и приборов, отвечающих современным требованиям. Это стало
возможным не только за счет совершенствования их конструкций и технологии
изготовления, но и в результате широкого использования внутриотраслевой и
межотраслевой специализации на основе унификации и стандартизации изделий,
агрегатов и деталей, применение методов комплексной и опережающей
стандартизации, внедрения системы управления качеством и аттестации продукции,
системы технологической подготовки производства.
При проектировании новых современных машин и
механизмов, конструктор постоянно пользуется стандартами. Применяя современные
стандарты, разработчик закладывает в технологическую документацию новейшие
достижения науки и техники с целью создания экономических и технически совершенных
конструкций.
Проведение комплекса работ размерного анализа
является абсолютно необходимым, поскольку без простановки конструктивных
размеров и допусков наиболее технологичных и научно обоснованных, технология не
может быть реализована, точно так же, как и совершенные составления и
эксплуатация объекта исследования.
В этом заключается суть интеграции
конструкторско-технологических разработок в машиностроении, подкрепленных в
работе рядом компьютерных программ.
1. Сопряжения
деталей
.1 Размерный анализ сборки
Размерный анализ сборки позволяет выявить
взаимосвязь размеров собираемых деталей, деталей сборочной системы; обосновать
требуемые точности размеров, обеспечивающие автоматическую сборку и требуемые
параметры сборочной единицы.
В результате проведенного размерного анализа
сборочного процесса можно выявить: допустимые отклонения размеров сопрягаемых
поверхностей, необходимые для реализации выбранной минимально-допустимой
точности (МДТ); допустимые отклонения расположения сопрягаемых поверхностей детали
относительно ее технологических баз, используемых при сборке; параметры фасок
по сопрягаемым поверхностям для улучшения условий собираемости; требования к
поверхностям, используемым в качестве технологических баз при автоматической
сборке, например, с целью снижения погрешности установки собираемой детали в
рабочем органе сборочного автомата; требования к конструкции детали для
облегчения ее ориентации.
Выявление и расчет сборочных размерных связей
было рассчитано в следующей последовательности: 1) представить автоматизируемый
процесс установки изделия эскизами и вычислить предельно допустимые отклонения
в положении устанавливаемой детали относительно базовой, при которых
обеспечивается установка; 2) построить размерные цепи, в которых допустимые
отклонения являются исходными звеньями; 3) составить уравнения размерных цепей
и определить возможные поля рассеяния составляющих звеньев;
) выбрать МДТ исходных звеньев размерных цепей с
учетом его реализации в автоматическом производстве; 5) произвести расчет допусков
составляющих звеньев и выбрать методы и средства автоматической реализации
процесса с учетом требуемой точности составляющих размеров размерной цепи.
1.2 Анализ размерных
цепей
редуктор вал посадка колесо
При конструировании механизмов, машин и других
изделий, проектировании технологических процессов, выборе средств и методов
измерений возникает необходимость в проведении размерного анализа, с помощью
которого достигается правильное соотношение взаимосвязанных размеров и
определяются допустимые ошибки (допуски).Технодопуски - макрос, позволяющий
выполнить пересчет размеров в модели детали, имеющих допуски (двунаправленный,
посадка и т.д.), по трем алгоритмам:
§ по среднему значению;
§ по верхнему пределу;
§ по нижнему пределу.
В результате каждого пересчета размеров, создает
в модели детали соответствующую конфигурацию.
Эти конфигурации можно использовать для:
§ выявления элементов, не допускающих
перестроения модели в пределах допусков;
§ проверки собираемости изделия путём
поиска конфликтов в собранной модели сборки;
§ для модели, пересчитанной в середину
поля допуска, может быть разработана программа механической обработки, что
минимизирует отклонение траекторий инструмента.
.3 Размерный анализ
сопряжений в конструкции редуктора
Для сборочного чертежа редуктора выполнить
анализ назначенных конструктором сопряжений: вал - ступица колеса, вал -
подшипник, подшипник - корпус; подшипник - крышка редуктора.
Такой вид анализа носит проверочный характер и
имеет название - решение «обратной задачи», в отличие от «прямой», когда
точность (квалитет) назначаются в зависимости от технических требований на
сборку: из условий эксплуатации устанавливаются max и min значения зазора или
натяга в перечисленных выше сопряжениях.
Размеры для расчетов принимаются из рабочих
чертежей деталей: вал, колесо, корпус, крышка. Подшипники относятся к
стандартным деталям и в представленной спецификации они отсутствуют.
Рекомендуемые поля допусков для радиальных и радиально-упорных подшипников
представлены в схеме:
Рис. 1 Классы точности подшипников
- поля допусков отверстия в корпусе; 2 - поля
допусков вала; dD - поле
допуска наружного кольца; dd
- поле допуска внутреннего кольца.
Взаимосвязь размеров сопрягаемых поверхностей
целесообразно представит в виде размерной цепи, в которой зазор (натяг)
сопряжения выступает в качестве самостоятельного звена. Это звено при решении
обратной задачи носит название замыкающего, а при решении прямой - исходного.
Замыкающее звено всегда состоит в цепи уменьшающих звеньев (в данном примере
единственное звено - номинальный размер вала с его верхним и нижним значениями
допуска.
Установить какое из звеньев является
увеличивающим, а какое - уменьшающим несложно. Если увеличение рассматриваемого
звена при неизменных значениях остальные звеньях приводит к увеличению
замыкающего звена, то такое звено относится к увеличивающим. Если при тех же
условиях происходит уменьшение замыкающего звена - звено относится к категории
уменьшающих.
Для уменьшающих звеньев в размерной цепи стрелка
направлена влево, увеличивающих - вправо.
Уравнения размерной цепи и форма заполнения
исходных данных (чертеж) и получаемых результатов расчета (номинальный размер
зазора (натяга), его верхнего и нижнего отклонений) приведены на схемах для программирования
на Excel.
Наличие стрелок в уравнениях создает
наглядность существующих взаимосвязей элементов размерной цепи, но в проводимых
расчетах целесообразно пользоваться понятием «передаточное отношение ξ»,
которое для увеличивающих
звеньев условно принимается единицей, а для уменьшающих - тоже единице, но со
знаком минус.
Рис.2 Таблица стандартов сопряжений
Табл 1. Расчет сопряжений
2. Посадка зубчатого колеса и вала
Посадки в соединениях
редукторов выбирают в зависимости от назначения и условий их работы, точности и
условий сборки. При этом необходимо учитывать и возможность достижения точности
при различных методах обработки изделия. В первую очередь должны применяться
предпочтительные посадки. В основном применяют посадки в системе отверстия
(СА), например: Ø60 Н7/е8, Ø80
H11/d11.
Ø40 Н7/к6, Ø50 Н8/и8
и т.д., здесь все валы выполнены в СА, отверстия являются основными (Н).
Посадки системы вала (СВ)
выбираются в тех случаях, когда: а) вал является частью готовой сборочной
единицы, последующая обработка которой не допускается, например наружное кольцо
подшипника качения в корпус подшипниковая посадка -
80
Js7/l0, здесь отверстие в корпусе выполнено в СВ; б) «гладкий» вал соединяется
одновременно с несколькими деталями по разным посадкам, например:
60
E8/h7,
60
Js7/h7,
60
U8/h7, здесь все отверстия - в СВ, а вал одного и того же диаметра и точности
обработки - основной (
60 h7); в)
штифтовые и шпоночные соединения, которые включают признаки а) и б).
Посадка - характер соединения
деталей, определяемый значениями получающихся в нем зазоров или натягов.
Различают посадки: с зазором, при которых обеспечивается зазор в соединении; с
натягом, при которых обеспечивается натяг в соединении, и переходные, при
которых возможно получение, как зазора, так и натяга.
Взаимозаменяемость - свойство
независимо изготовленных деталей занимать свое место в узле без дополнительной
обработке их при сборке и выполнять свои функции в соответствии с техническими
требованиями к работе данного узла. В целях повышения уровня взаимозаменяемости
изделий, развития кооперирования и специализации производства, сокращения
номенклатуры нормального инструмента установлены поля допусков валов и
отверстий предпочтительного применения (табл.1, 1а).
Рис. 3 Схемы полей допусков
посадок
а - с зазором; б - натягом; в -
переходной
Теперь переходим к анализу
сопряжения «вал-колесо» для исходного варианта редуктора (прототипа) и, на
основе полученных данных о наличии минимального натяга в сборке «вал-колесо»,
принимаем это значение в качестве исходного для определения параметров посадки
в свой вариант редуктора, отличающегося от прототипа посадочными размерами
колеса и вала.
Устанавливаем величину
минимального натяга сопряжения вал-колесо для наиболее часто встречающихся
сопряжений Н7/р6; Н7/r6 и Н7/s6. Затем строим схемы расположения допусков
принятого варианта из предложенных выше вариантов.
Рис 4. Допуски с натягом
Табл 2. Наименьший, наибольший и средний натяги
График 1. График допусков с натягом
3. Посадки
подшипников качения
Основные размеры подшипников качения
определяются ГОСТом 3478-2012. Допуски и предельные отклонения размеров
подшипников качения по ГОСТ 25256-82, ГОСТ 520-2002 устанавливает для разных
типов подшипников качения классы точности: 8; 7; нормальный; 0; 6Х; 6; 5; 4; Т;
2. Классы указаны в порядке повышения точности. Поля допусков и технические
требования к посадочным поверхностям валов и корпусов устанавливает ГОСТ
3325-85.
Класс точности указывается перед условным
обозначением подшипника через разделительную черту, например, 6-308, 5-36210, в
случае отсутствия дополнительных требований, класс точности 0 не указывается,
например 7306.
Посадки подшипников качения осуществляют: в корпус
- в системе вала, на вал - в системе отверстия. Это означает, что предельные
отклонения присоединительных размеров D и d не зависят от посадок. Поле допуска
размера D наружного кольца является основным валом и обозначается буквой l
(эль) с указанием класса точности подшипника, например: l0, l6, l5, предельные
отклонения D зависят от типа и класса точности подшипника (табл. 2). Поле
допуска размера d внутреннего кольца является основным отверстием и
обозначается прописной буквой L и классом точности, например L0, L6, L5, L4. В
отличие от основного отверстия H по ГОСТ 25346-82, поля допусков внутренних
колец подшипников расположены в «тело», т.е. в минус, ES=0. Допуски размеров
колец не совпадают с допусками IT и приведены в табл. 2 в соответствии ГОСТ 520-2002.
Посадки образуются применением полей допусков
(ГОСТ 25346-82) для корпуса и вала и полей допусков наружного и внутреннего
колец подшипника (ГОСТ 520-2002) и показаны на рис. 6.
Рис 5.
К посадочным поверхностям под подшипники качения
предъявляют повышенные требования к точности формы и качеству поверхности.
Отклонения формы поверхностей корпусов и валов не должны превышать для
подшипников 0 и 6 классов значений, равных IT/8, а для подшипников 5 и 4
классов - IT/4.
Основное отклонение валов
определятся по интенсивности нагружения PR, когда в расчете учитываются
совместных деформаций колец, возникающих вследствие натяга при посадке
вращающегося кольца на вал или корпус. С учётом условия обеспечения
оптимального радиального зазора в зоне сопряжения тел качения с поверхностью
дорожки качения. С увеличением нагрузок на подшипник преимущество получают
посадки из области повышенного натяга в сопряжениях с валом и корпусом.
Рис 6.
В нашем примере по существующей
методике расчета величины нагружения определено основное отклонение вала - m;
поле допуска вала, с учетом класса точности подшипника - m6.
Посадка внутреннего кольца на вал -
90
J7/m6.
Рис 7. 1
Рис 7. 2
Теперь выполняем расчет
посадочных поверхностей подшипника с валом и корпусом для варианта редуктора
для заданных размеров вала. Окончательное решение по выбору посадок для
внутреннего и внешнего колец будет ориентировано на прототип - вариант
редуктора, выданного по теме курсового проекта.
Табл 3. Расчет поля допусков диаметров вала
Из полученных данных строим график, чтобы определить
наиболее подходящих вариант полей допусков для данного вала.
График 2. График полей допусков на валу
Исходя из полученных данных, которые мы
отобразили на графике, можно определить, что наиболее подходящим допуском для
нашего вала, является m6.
Теперь рассчитываем значение для полей допусков
подшипник - корпус.
Полученные данные представляем в виде графика.
График 3. Поля допусков подшипник-корпус
На графике хорошо видно, что наиболее подходящий
для нашего вала это допуск J7.
Из ниже приведенного рисунка определяем диаметры
подшипников для нашего вала. Наш диаметр вала равен Ø90
см, поэтому подбираем приблизительно. d
= 90; D=160; b=32,5;
α = 16.
Рис 8.
. Посадки
втулки и шпонки на вал
4.1 Посадка втулки
Исходные данные: вал выполнен под подшипник,
поле допуска - m6;
дистанционное кольцо (l/d < 0,8) должно достаточно легко собираться с валом,
т.е. Smin f >0; максимальный зазор в соединении не должен вызывать
повышенную неуравновешенность при вращении, что достигается необходимой
точностью изготовления дистанционного кольца (втулки), как правило, не выше
IT9.
Решение. Возможны, например, варианты применения
предпочтительных полей допусков
90F8,
90D8
и
90E8
(табл.4).
Табл 4. Основные отклонения валов
Далее основываясь на полученных данных, проводим
расчеты, строим график и определяем наиболее подходящее отклонение для нашего
вала.
Рис 8. Расчет отклонения вала
График 4. График отклонения вала
В результате проведенного анализа, можно
установить, что наиболее подходящее отклонение Ø90Е8.
4.2 Посадка шпонки
Шпонка - деталь, которая устанавливается в пазах
двух деталей, которые сопрягаются, и препятствует относительному повороту или
сдвигу этих деталей.
В отличие от соединений с натягом, которые
обеспечивают взаимную неподвижность деталей без дополнительных конструктивных
элементов, шпоночные соединения - разъемные. Они позволяют осуществлять
разборку и повторную сборку конструкции с обеспечением того же эффекта, что и
при первичной сборке.
В машиностроении более всего широко употребятся
соединение призматическими шпонками. Сегментная шпонка с глубоким пазом в этом
отношении имеет преимущество перед простой призматической шпонкой. Ее стараются
применять при массовом производстве.
У стандартных шпонок размеры b и h подобраны
таким образом, что нагрузку соединения ограничивают не напряжение среза; а
напряжения смятия. Поэтому при расчетах обычно используют только условие
прочности на смятие.

Все размеры шпонок и допуски на них
стандартизированы. Стандарт предусматривает для каждого диаметра вала
определенные размеры поперечного сечения шпонки. Поэтому при проектных расчетах
размеры b и h берут по справочнику и определяют l. Расчетную длину шпонки
округляют к стандартному размеру, согласовывая с размером ступицы.
Рис 10. Размеры шпонок
Выбор посадки шпонки проводится в зависимости от
характера соединения и вида производства, для которого она предназначена.
При изучении посадок шпоночных соединений
рассматриваются две посадки: посадка шпонки (вал) в паз на валу (отверстие) и
посадка шпонки (вал) во втулку (отверстие). Предельные отклонения для размера
по ширине шпонки b принимают по h9 (по ГОСТ 253447-82).
Предельные отклонения размеров по ширине паза
вала и втулки выбираются по ГОСТ 23360 - 78 в зависимости от типа соединения.
Рис 11. Выбор шпонки
Шпоночное соединение включает в себя минимум две
посадки:) шпонка-паз вала и шпонка-паз втулки. В сопряжении (размерной цепи) по
высоте шпонки специально предусмотрен зазор по номиналу (суммарная глубина
пазов втулки и вала больше высоты шпонки). Возможно еще одно сопряжение - по
длине шпонки, если призматическую шпонку с закругленными торцами закладывают в
глухой паз на валу.
При установке колес на валах необходимо
обеспечить надежное базирование колеса на валу, передачу вращающего момента от
колеса к валу или от вала к колесу, а так же решить вопросы, связанные с осевым
фиксированием колес на валах.
Подбираем размеры шпонки для вала, исходя из
табличных данных.
d=90 см; h=14
см; t1=9 см; t2=5.4
см; b=25 см; d-t1=86;
d+t2=100.4
.
Размерный анализ конического редуктора
Выполнив все предыдущие расчеты, можно перейти к
выполнению анализа конического редуктора. Для этого определяем количество
звеньев для нашего вала, заносим размеры для каждого звена в таблицу и производим
расчет.
Рис 12. Вал
Табл 5. Анализ конического редуктора
Из полученных данных видно, что для нашего вала
6 квалитет наиболее подходящий, т.к. при других квалитетах, наши параметры не
совпадают с параметрами исходного звена.
.
Назначение припусков и допусков на
размеры заготовки вала
.1 Обоснование метода
получения заготовок
Горячая объемная штамповка - широко
распространенный способ получения качественных поковок. В отличие от ковки,
которая обеспечивает при изготовлении поковки фиксированные размеры вдоль одной
или двух осей, объемная штамповка обеспечивает заданные размеры по трем осям.
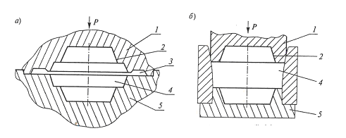
Формоизменение заготовки происходит в штампе. Штамп представляет собой
специальный инструмент с полостью, которая называется ручьем (рис..13). В полость
нижней части штампа 5 устанавливают нагретую заготовку, которая деформируется
при движении верхнего штампа 1 вниз. Течение металла заготовки встречает
сопротивление стенок 2 и сил трения, и металл заполняет объем ручья. Часть
металла может вытекать в разъем между штампами (заусенчатую канавку 3), образуя
облой. Отштампованная заготовка 4, называемая штампованной поковкой
представляет собой копию ручья штампа.
Рис.13 Схема штампов открытой (а) и закрытой (б)
штамповки.
6.2 Классификация
штампованных поковок
По точности изготовления поковки могут быть пяти
классов (от 1-гo класса точности Т1 до 5-го Т5). Класс точности поковки
устанавливается в зависимости от технологического процесса и оборудования для
ее изготовления, а также исходя из предъявляемых требований к точности размеров
поковки. Класс 1 (Т1) - наибольшей точности, соответствует прецизионной
штамповке и объемной калибровке. Классы Т4 и Т5 - это штамповка на молотах,
КГШП и ГКМ. Класс указывают на чертеже поковки.
Допускаются различные классы точности для разных
размеров одной и той же поковки. При этом класс точности определяется по
преобладающему числу размеров одного класса точности, предусмотренному чертежом
поковки.
По составу стали также устанавливают две группы,
которые обозначают М1 и М2. Группа стали поковок определяется по содержанию
углерода и легирующих элементов:
М1 - сталь с массовой долей углерода до 0,35%
включительно и суммарной массовой долей легирующих элементов до 2,0%
включительно;
М2 - сталь с массовой долей углерода свыше 0,35
до 0,65% включительно или суммарной массовой долей легирующих элементов свыше
2,0 до 5,0% включительно;
М3 - сталь с массовой долей углерода свыше 0,65%
или суммарн6й массовой долей легирующих элементов свыше 5,0%.
Определяющими легирующими элементами являются
Si, Мn, Сг, Ni, Мо, W, V.
Степень сложности С определяют путем вычисления
отношения массы (объема) Gп поковки к массе (объему) Gф геометрической фигуры,
в которую вписывается форма поковки
6.3
Припуски и допуски штампованных поковок
Штамповкой нельзя получить абсолютно
точные поковки, поэтому назначаются допуски. Допуски учитывают недоштамповку
поковки по высоте, износ ручья штампа, температурные колебания, сдвиг штампов,
коробление поковки, поверхностные дефекты материала, колебания объема исходной
заготовки, неравномерную усадку материала при охлаждении и другие факторы.
Припуски назначают либо по всей
поверхности детали, либо на отдельные ее элементы, преимущественно поверхности
сопряжения с другими деталями. Допускаемые отклонения назначают на все размеры
поковки, независимо от наличия и назначения припуска.
Избыток металла на поверхности
поковки сверх припуска, обусловленный технологическими требованиями упростить
конфигурацию поковки для облегчения условий ее получения, называется кузнечным
напуском. Кузнечные напуски могут быть образованы на поковке штамповочными
уклонами, радиусами закруглений внутренних углов, непробиваемой перемычкой в
отверстиях и невыполнимыми в штамповочных операциях поднутрениями и полостями.
В большинстве случаев напуск удаляется при технической обработке, реже остается
в изделии.
Допуски, припуски и кузнечные
напуски при горячей объемной штамповке назначают по ГОСТУ 7505-89 [83] для
стальных поковок массой до 250 кг и с линейным габаритным размером до 2500 мм.
При назначении припусков и допускаемых отклонений размеров необходимо
определить исходный индекс. Исходный индекс - это условный показатель,
учитывающий в обобщенном виде сумму конструктивных характеристик (класс
точности, группу стали, степень сложности, конфигурацию поверхности разъема) и
массу поковки.
Расчетная масса поковки определяется
исходя из ее номинальных размеров. Ориентировочную величину расчетной массы
поковки вычисляют по формуле
,
где Мп.р. - расчетная масса поковки,
кг;
Мд - масса детали, кг;
Кр - расчетный коэффициент.
Для определения исходного индекса по
рис. 14 в графе «Масса поковки» находят соответствующую данной массе строку и,
смещаясь по горизонтам вправо или по утолщенным наклонным линиям вправо вниз до
пересечения с вертикальными линиями, соответствующими заданным значениям группы
стали М, степени сложности С, класса точности Т, устанавливают исходный индекс.
Определяем припуски и допуски для
диаметров 90 (верхнее отклонение: 0.126, нижнее отклонение: 0.072) и 95
(верхнее отклонение: 0.059, нижнее отклонение: 0.037) посадки подшипников и
ступицы соответственно:

Рис.15 Программа припусков и
допусков
Табл. 6. Припуски и допуски для
диаметра под подшипник
Табл. 7. Припуски и допуски для
диаметра под ступицу
Заключение
В ходе выполнения курсового проекта получены
практические навыки использования действующих стандартов, закреплены
теоретические знания по дисциплине «Компьютерно-интегрированные технологии»,
произведен выбор посадок для различных соединений деталей: шпоночных,
конических и подшипников качения. Проведен анализ сборочной единицы -
тихоходный вал, построена и рассчитана размерная цепь, выбраны размеры
заготовки.
Разработаны технические требования на
изготовление детали узла - вал редуктора.
Разработаны рабочие чертежи деталей (редуктор
конический одноступенчатый, вал тихоходный, размерный анализ вала, заготовка
вала).
Список литературы
1. Шейнблит
А.Е. Курсовое проектирование деталей машин: Учеб. пособие для техникумов. - М.:
Высш. шк., 1991. - 432 с.
2. Допуски
и посадки: Справочник в 2-х ч. / Под ред. В.Д. Мягкова. - 6-е изд., перераб. и
доп. - Л.: Машиностроение. Ленингр. отд-ние, 1983. -Ч. 2.- 448 с.
. Допуски
и посадки: Справочник в 2-х ч. / Под ред. В.Д. Мягкова. - 6-е изд., перераб. и
доп. - Л.: Машиностроение. Ленингр. отд-ние, 1982. -Ч. 1.- 543 с.
. Бейзельман
Р.Д., Цыткин Б.В., Перель Л.Я. Подшипники качения. Справочник. Изд. 6-е.- М.:
Машиностроение, 1975.- 572 с.
. Справочник
контролера машиностроительного завода. Допуски, посадки, линейные измерения /
А.Н. Виноградов, Ю.А. Воробьев, Л.Н. Воронцов и др. Под ред. А.И. Якушева. -
3-е изд., перераб. и доп. - М.: Машиностроение, 1980. - 527 с.
. Дунаев
П.Ф., Леликов О.П., Варламова Л.П. Допуски и посадки. Обоснование выбора. Учеб.
Пособие для студентов машиностроительных вузов.- М.: Высшая школа, 1984.- 112
с.
. Зябрева
Н.Н. и др. Пособие к решению задач по курсу «Взаимозаменяемость, стандартизация
и технические измерения». Учеб. пособие для вузов.- М.: «Высш. школа», 1977. -
203 с.
8. Методические
указания к курсовому проектированию по курсу «Детали машин». Часть 2. «Комплекс
технических требований, предъявляемых к изготовлению зубчатых и червячных
колес» / Под общей редакцией Алиферова В.П.- Донецк: ДПИ, 1985.- 36 с.