Гидродинамический привод

  • Вид работы:
    Курсовая работа (т)
  • Предмет:
    Другое
  • Язык:
    Русский
    ,
    Формат файла:
    MS Word
    844,67 Кб
  • Опубликовано:
    2014-05-03
Вы можете узнать стоимость помощи в написании студенческой работы.
Помощь в написании работы, которую точно примут!

Гидродинамический привод

Содержание

Введение

Расчетная часть

. Предварительный расчет гидроцилиндра

.1 Определение давления в цилиндре

.2 Определение размеров гидроцилиндра

.2.1 Диаметр гидроцилиндра

.2.2 Диаметр штока поршня

.2.3 Длина хода поршня

. Подбор насоса

.1 Определение подачи насоса

.1.1 Расход жидкости

.1.2 Подача насоса

2.2 Выбор насоса

. Подбор рабочей жидкости

. Расчет гидролиний

.1 Определение диаметра трубопроводов

4.2 Толщина стенок трубопроводов

.3 Расчетные параметры трубопроводов

.4 Определение действительной скорости жидкости

. Определение потерь давления в гидросистеме

.1 Определение потерь давления по длине трубопровода

.1.1 Всасывающая линия -1-2

.1.2 Нагнетательная линия - 2-2-4-5-6

.1.3 Сливная линия -7-8-9-10-11

.2 Определение потерь давления из-за местных сопротивлений в трубопроводах

.3 Определение потерь давление из-за установки гидроарматуры в трубопроводах

6. Окончательный расчет гидроцилиндра

.1 Определение давления и диаметра цилиндра

.2 Определение параметров гидроцилиндра

. Определение рабочего усилия в гидроцилиндре

. Расчет объемных потерь в гидросистеме и времени рабочего цикла

.1 Определение объемных потерь в гидросистеме

.2 Определение действительного количества рабочей жидкости

8.3 Определение действительного времени рабочего цикла

9. Расчет коэффициента полезного действия гидропривода

.1 Полезная мощность

.2 Мощность затраченная

.3 Коэффициент полезного действия гидропривода

. Подбор вспомогательных устройств

Теоретическая часть

Список литературы

давление гидроцилиндр давление трубопровод

Введение

Гидропривод - совокупность устройств или гидромашин и гидроаппаратов, предназначенных для передачи механической энергии и преобразования движения при помощи жидкости.

По принципу действия гидромашин гидроприводы делятся на объемные и гидродинамические.

Гидродинамический привод состоит из лопастных гидромашин - насосного и турбинного колес, предельно сближенных друг с другом и расположенных соосно. Гидропривод, содержащий объемные гидромашины, называется объемным. Принцип действия простейшего объемного гидропривода основан на практической несжимаемости капельной жидкости и передаче давления по закону Паскаля. Простейший объемный гидропривода (рис. 1.) состоит из цилиндров 1 и 2, которые заполнены жидкостью и соединяются трубопроводом. Поршень цилиндра 1 под действием силы F1 перемешается вниз, вытеснял жидкость из цилиндра 1 в цилиндр 2. Если пренебречь потерями давления в системе, то давление в цилиндрах 1 и 2 будет одинаковым:

p=F1/ S1 =F2/ S2,

где S1 S2 - площади поршней цилиндров 1 и 2. Из условия непрерывности можно записать,

Q=V1·S1=V2·S2,

где V - скорость перемещения жидкости.

Мощность, затрачиваемая на перемещение поршня в цилиндре 1, выражается соотношением:

N=F1·V1=p·S1·V1=p·Q=F2·V2,

2·V 2 - мощность, развиваемая поршнем цилиндра 2, т.е. работа выходного звена системы, отнесенная к единице времени; Р·Q - мощность потока жидкости.


Рис.1. Схема простейшего объемного гидропривода

Расчетная часть

1. Предварительный расчет гидроцилиндра

1.1 Определение давления в цилиндре

Из-за гидросопротивлений давление в цилиндре всегда меньше расчетного (заданного) Р„. Учитывая потери в системе, принимаем давление в гидроцилиндре, исходя из условия:

Рц =(0,9... 0,95) Рн,

где Рн - расчетное давление, пусть по условию Рн = 9,5 МПа. Полученное значение Рц округляем до ближайшего значения по ГОСТ (Прил., табл. 1). Таким образом, Рц = 0,925 · 9,5 = 8,7 МПа, выбираем ближайшее значение давления Рц= 10 МПа.

Рис. 2.

1.2 Определение размеров гидроцилиндра

1.2.1 Диаметр гидроцилиндра

Требуемая площадь гидроцилиндра 5 при действии расчетной нагрузке F = 56 кН (по условию), составит:

S = F / PЦ = 56000/(10 · 106) = 0,0056 м2= 56 см3.

Диаметр гидроцилиндра (рис. 3) D определяется по выражению:

==1,128=1,128·=8,44см=84,4см.


Рис. 3. Гидроцилиндр

1.2.2 Диаметр штока поршня

Диаметр штока d поршня выбираем в зависимости от давления в цилиндре и от внутреннего диаметра цилиндра (Прил., табл. 3).d=0,7·D=0,7·90=63 мм.

1.2.3 Длина хода поршня

Длина хода поршня L определяется из условия:

=6·D

Тогда, L=6·90=54 см.

2. Подбор насоса

2.1 Определение подачи насоса

2.1.1 Расход жидкости

Расчетный расход жидкости во всех одновременно работающих цилиндрах (согласно выбранной схемы, расчет ведется для одного цилиндра) равен:Qр=∑(2D2- d2) где π/4(2D2- d2) - рабочий объем камеры двухстороннего действия (двойной ход поршня за один оборот вала); tц - время цикла работы цилиндра.

р=(2·-)=324/с=0,324 л/с =19,4 л/мин.

2.1.2 Подача насоса

Действительная подача насоса определяется с учетом потерь по формуле:

Qн=(1,05 … 1,10) Qр

Qн = 1,075 * 19,4 = 20,8 л/мин.

2.2 Выбор насоса

По расчетным значениям расхода Qн и давления Рн выбираем насос - НШ 10Е-2 (Прил., табл. 4, 5). Параметры насоса Qн= 17,7 л/мин; Рн= 9МПа.

3. Подбор рабочей жидкости

В предварительных расчетах рекомендуется выбирать рабочую жидкость в зависимости от давления Р„ в гидросистеме, при этом определяется значение кинематической вязкости жидкости:

при РН < 7,0 МПа        V = 0,1 ... 0,4 см2 / с

при РН 7,0 ... 20 МПа   V = 0,4 ... 0,8 см! / с

при РН = 20,0 ...60 МПа V = 0,8 ... 1,75 см2

Затем устанавливаются технические характеристики рабочей жидкости гидропривода (Прил., табл. 6). Согласно расчета давление в гидросистеме равно Рн = 9,5 МПа, выбираем рабочую жидкость - масло индустриальное, кинематическая вязкость масла равна V = 0,5 см2 /с, плотность р = 920 кг /м3

4. Расчет гидролиний

4.1 Определение диаметра трубопроводов

Гидролинии предназначены для подачи рабочей жидкости от гидробака к гидроцилиндру и обратно и состоят из всасывающего, нагнетательного и сливного трубопровода. Рекомендуются следующие скорости V движения жидкости в трубопроводах: всасывающий - 1,0 ... 2,0 м/с;

нагнетательный - 3,0 ... 6,0 м/с;,

сливной - 2,0 м/с.

Внутренний диаметр трубопроводов dр определяется из условия:

р=

где Q - расход жидкости на данном участке трубопровода.

Для рассматриваемой схемы расход во всех линиях будет одинаковым и равен максимальному расходу:

 =QН = 17,7 л/мин = 17,7·103 / 60 = 295 см3

Устанавливаем значения скорости жидкости в трубопроводах:

всасывающая линия - VВс = 1,5 м/с = 150 см/с,

нагнетательная линия - VНАГ = 4,5 м/с= 450 см/с;   

сливная линия - VСЛ = 2,0 м/с = 200 см/с.

Тогда диаметры dр линий будут равны:

всасывающей - dрвс = 1,128√295/150 = 1,58 см;

нагнетательной - dРНАГ - 1,128√295/450 = 0,91 см;

сливной - - dРСЛ = 1,128√295/200 = 1,37 см.

4.2 Толщина стенок трубопроводов

Расчетная толщина стенок трубопроводов определяется исходя из условия прочности: δр=k·Рн·dp/2·[δ], где k - коэффициент запаса прочности, учитывающий пиковые нагрузки, равный 2 … 6,[δ] - допускаемое напряжение материала, для стального трубопровода [δ]=100МПа.

Толщина стенок трубопроводов равна:

всасывающего - δр,вс =4·9,5·15,8/(2·100)=3 мм;

нагнетательного - δр,наг =4·9,5·9,1/(2·100)= 1,7мм;

сливного - δр,сл =4·9,5·13,7/(2·100)= 2,6мм;

4.3 Расчетные параметры трубопроводов

Окончательный подбор трубопроводов производится по ГОСТ (Прил., табл. 7, 8), при этом определяется наружный диаметр трубопроводов и толщина стенок.

Внутренний диаметр трубопроводов определяется по формуле:

вн=dн-2·δ,

полученные размеры трубопроводов сводят в таблицу 1.

Таблица 1 РАСЧЕТНЫЕ РАЗМЕРЫ ТРУБОПРОВОДОВ

Трубопровод

Расчетные значения, мм

Принятые значения, мм


δ

δ

dвн

всасывающие

15,8

3

24

3

18

нагнетательные

1,7

14

1,7

10,6

сливной

13,7

2,6

20

2,6

14,8



4.4 Определение действительной скорости жидкости

Действительная скорость движения жидкости рабочей жидкости определяется по формуле:

`=4·Q/π

Значения действительной скорости трубопроводов:

д,в,с=4·295/(3,14·)=115,9 см/с

Vд,нг=4·295/(3,14·)=334,4 см/с

Vд,с=4·295/(3,14·)=171,5 см/с

5. Определение потерь давления в гидросистеме

Потери давления в гидросистеме складываются:

из гидравлических потерь в трубопроводах (потерь по длине и местных потерь) и потерь за счет установленной на них арматуры.

Учитывая, что участки трубопроводов между распределителем и гидроцилиндром могут быть попеременно нагнетательными и сливными, в расчетах их диаметр выбирается как для нагнетательной линии.

5.1 Определение потерь давления по длине трубопровода

Потери давления по длине трубопровода ∆Рl определяются по формуле Вейсбаха - Дарси:

∆Рl=λ·l/ dвн/2·p,

где ĺ - длина участка трубопровода, м; dвн - внутренний диаметр трубопровода, м; р - плотность рабочей жидкости,кг/; λ - коэффициент гидравлического трения, зависящий от режима движения жидкости, и определятся по критерию Рейнольдса Re:

Re= Vд·dвн/ύ,

где, v - кинематическая вязкость рабочей жидкости, /с.

Режим движения жидкости определяется из условий:

если Re<2320,то режим движения жидкости ламинарный, λ=75/ Re;

если 2320< Re<10000, то режим движения турбулентный и зона "гладких" труб, λ=0,3164/;

если Re>10000, то режим движения турбулентный , зоны доквадратичная и квадратичная, где коэффициент гидравлического трения равен:

λ=11·,

где ∆э шероховатость стенок труб, принимает для стальных труб ∆э= 0,04 мм.

5.1.1 Всасывающая линия -1-2

l1-2 = 0,8м; dвн = 18мм; V = 1,159 м/c

Режим движения и число Рейнольдса:

Re = 1,159·1,8 ·/ (0,5 ·) = 417<2320,

следовательно режим движения ламинарный и λ= 75/ Re =0,180

Потери по длине:

∆Рl = 0,18·80/1,8· (/2) ·920 = 4,9кПа.

5.1.2 Нагнетательная линия - 2-2-4-5-6

l2-6 = 5,5 м; dвн =1,06 см; V = 3,344 м/с

режим движения и число Рейнольдса:

Re = 334,4·1,06/0,5 = 708,9 <2320,

следовательно режим движения ламинарный и λ= 75/ Re =0,106

Потери по длине:

∆Рl =0,106·550/1,06 · (/2) ·920 = 282,9кПа

5.1.3 Сливная линия -7-8-9-10-11

l7-11 =5,5 м; dвн =1,48 см; V =1,715 м/с

режим движения и число Рейнольдса:

Re = 1,715 ·1,48/0,5 = 507,6 <2320,

следовательно режим движения ламинарный и λ= 75/ Re =0,148

Потери по длине:

∆Рl =0,148·550/1,48· () ·920= 74,4кПа.

5.2 Определение потерь давления из-за местных сопротивлений в трубопроводах

Потери давление за счет местных сопротивлений трубопровода ∆Рм - повороты, сужение, расширение трубопровода и другие можно определить по формуле Дарси:

∆Рм =∑ξм·/2·p,

где ξм - коэффициент местных сопротивлений. Потери давления от местных сопротивлений можно оценить по эмпирической формуле:

∆Рм =0,1·∆Рl,

Определим потери давления от местных сопротивлений по эмпирической формуле:

Всасывающая линия - ∆Рм =0,1·4,9 = 0,49 кПа;

Нагнетающая линия - ∆Рм =0,1·282,9 =28,29 кПа;

Сливная линия - ∆Рм =0,1·74,4 = 7,44 кПа.

5.3 Определение потерь давление из-за установки гидроарматуры в трубопроводах

Потери давления из-за гидроарматуры ∆РГА, установленной в трубопроводах определяются согласно табличным данным (Прил., табл. 9)

Потери давления из-за гидроаппаратуры ∆РГА составят:

Гидродроссель - 200 кПа;

Гидрораспределитель - 230 кПа;

Фильтр - 100 кПа.

Результаты расчета потерь давления в трубопроводах сводятся в таблицу 2.

Участок трубопровода

Потери давления, кПа


∆Рl

∆Рм

∆РГА

∆Р∑

Всасывающая линия

4,9

0,49

-

5,39

Нагнетающая линия

282,9

28,29

430

741,19

Сливная линия

74,4

7,44

330

411,84



6. Окончательный расчет гидроцилиндра

6.1 Определение давления и диаметра цилиндра

Давление в цилиндре определяется по формуле:

Рц=Рц - ∑∆Р,

где ∑∆Р - потери давления в нагнетательной системе. Тогда диаметр цилиндра определится из условия:

D=

Полученный в результате расчета диаметр округляем до ближайшего по ГОСТ значения (Прил., табл. 2)

6.2 Определение параметров гидроцилиндра

Расчет диаметра штока d, длина хода поршня, толщины стенок цилиндра, осуществляется согласно пункта 1 данного раздела.

Толщина днища гидроцилиндра определяется по формуле:

δu = 0,405 ·D

7. Определение рабочего усилия в гидроцилиндре

Выбранные гидроцилиндры необходимо проверить на создание требуемого усилия при рабочем ходе с учетом трения и противодавления по уравнению равновесия поршня:

Fp=Fl - Fn - Fщ - Fс,

где Fl - сила давления рабочей жидкости на поршень, равна Fl=(π·/4·Pц); Fn - Fщ - сила трения в уплотнениях поршня и штока, соответственно; Fс - сила сопротивления движению поршня с обратной стороны,

Fс =  -)/4] ·∆Рсл;

∆Рсл - потери давления в сливной линии.

Для уплотнения поршня и штока обычно применяют манжеты. Усилие трения в манжетных уплотнениях равно:

Fм (п,ш) = π·dм·f·∑bм·Рц,

где dм - диаметр манжеты, (D или d); f -коэффициент трения, если материал кожа f = 0,007 резина f = 0,01; ∑bм - общая ширина манжетного уплотнения, для поршня - две резиновые манжеты, для штока - три кожаные манжеты.

Ширина манжет (общая) выбирается в зависимости от диаметра (Прил., табл. 10)

Полученное усилие должно быть больше или равным заданному значению:

Fp≥ F,

в противном случае делается пересчет по значению диаметра гидроцилиндра.

Для рассматриваемого примера при расчете уплотнения:

поршня - выбираем коэффициент трения f = 0,01, материал резина. Тогда общая ширина манжетного уплотнения равна: ∑bм = 26 мм (dм -D=80мм) и усилие трения равно Fn=3,14·0,08·0,01·0,026·9,332·=0,61 кН;

- штока - выбираем коэффициент трения f=0,007, материал кожа, общая ширина манжетного уплотнения ∑bм= 22 мм (dм= dш - 56), усилие трения

Fщ= Fр= Fl- Fп- Fщ- Fс=46,9-0,62-0,25-1,04=45 кН

 F = 40 кН.

8. Расчет объемных потерь в гидросистеме и времени рабочего цикла

8.1 Определение объемных потерь в гидросистеме

Потери жидкости в гидросистеме рассчитываются из условия:

=∆Qн+∆Qц+∆Qр,

где ∆Qн, ∆Qц, ∆Qр, - потери рабочей жидкости в насосе, гидроцилиндре и в распределителе, соответственно, которые на 1МПа давления можно принять равными:

∆Qн=0,03 … 0,005 л/мин

∆Qц= 0,00013 … 0,00016 л/мин

∆Qр= 0,00016 … 0,00018 л/мин

Потери жидкости в гидросистеме равны:

∆Q=(0,004+0,00019+0,00017)*10=0,0432.

8.2 Определение действительного количества рабочей жидкости

Действительное количество рабочей жидкости равно:

∆Qд =∆Qн+∆Q

где ∆Qн - подача насоса, равная ∆Qн = 17,7 л/мин.

∆Qд =17,7 - 0,0432 =17,6568 л/мин =294,3/c

8.3 Определение действительного времени рабочего цикла

Действительное время рабочего цикла определяется из условия:

tд = [·L/4· Qд] · (2 - ),

tд = [3,14·54/(4·294,3)] · (2·- )= 17,6 с

Действительное время цикла не должно превышать заданного времени цикла tц для обеспечения проектной производительности машины:

tц=16 с , не верно: tд < tц

9. Расчет коэффициента полезного действия гидропривода

9.1 Полезная мощность

Полезная ( эффективная) мощность, передаваемая гидроцилиндром рабочему органу, определяется по формуле:

Nп = Fp·4·Qд/π·

Nп = 45··4·294,3/(3.14·) =2, 636 кВт.

9.2 Мощность затраченная

Мощность , затраченная на привод насоса, определяется по формуле:

Nп = Pu·Qn/ηц,

где ηц - коэффициент полезного действия насоса, равный ηц=0,8…0,85. Nп = 10··17,7/ (0,83·60·)=3,554 кВт.

9.3 Коэффициент полезного действия гидропривода

Общий коэффициент полезного действия гидропривода равен:

η = Nэ/Nп

В расчетном варианте коэффициент полезного действия равен - η=0,74

10. Подбор вспомогательных устройств

К вспомогательным устройствам в данной схеме относится гидробак. Объем гидробака W определяется из условия подъема жидкости с запасом кратным 3…5 подачи насоса: W =1,2 (3…5) ·Qн. Объем гидробака для рассматриваемого варианта равен: W =1,2·4·17,7 =85 л.

Теоретическая часть


1.Гидроцилиндр

В качестве исполнительных механизмов (гидродвигателей) применяются силовые цилиндры, служащие для осуществления возвратно-поступательных прямолинейных и поворотных перемещений исполнительных механизмов. Гидроцилиндры подразделяются на поршневые, плунжерные мембранные и сильфонные.

1.1. Механизмы с гибкими разделителями

К механизмам с гибкими разделителями относятся мембраны, мембранные гидроцилиндры и сильфоны.

Сильфоны предназначены для работы при небольших давлениях (до 3 МПа). Их изготавливают из металлов и неметаллических материалов (резины или пластиков). Металлические сильфоны бывают одно- и многослойные (до пяти слоев). Применение сильфонов оправдано в условиях высоких и низких температур, значение которых лимитируется материалом, из которого изготовлен сильфон. Сильфоны могут быть цельные или сварные. Цельные изготавливают развальцовкой тонкостенной бесшовной трубы.

Рис.1.1. Схема металлического сильфона

а - сильфон; б - цельная стенка; в - сварная стенка

1.2. Классификация гидроцилиндров

Гидроцилиндры являются объемными гидромашинами и предназначены для преобразования энергии потока рабочей жидкости механическую энергию выходного звена. Гидроцилиндры работают при высоких давлениях (до 32 МПа), их изготовляют одностороннего и двухстороннего действия, с односторонним и двухсторонним штоком и телескопические.

Таблица 1.1 Классификация гидроцилиндров



На рис.1.2. представлены типичные схемы демпферных устройств. Пружинный демпфер (рис.1.2, а) представляет собой пружину 1, установленную на внутренней стороне крышки цилиндра 2, тормозящую поршень 3 в конце хода.

Демпфер с ложным штоком (рис.1.2, б) представляет собой короткий ложный шток 1 и выточку 2 в крышке цилиндра. Ложный шток может иметь коническую или цилиндрическую форму. В конце хода поршня жидкость запирается ложным штоком в выточке крышки цилиндра и вытесняется оттуда через узкую кольцевую щель. Если ложный шток выполнен в виде конуса, то эта щель уменьшается по мере достижения поршнем конца своего хода. При этом сопротивление движению жидкости возрастает, а инерция, ускорение и скорость движения поршня уменьшаются.

Регулируемый демпфер с отверстием (рис.1.2, в) по принципу действия аналогичен демпферу с ложным штоком. Конструктивное отличие заключается в том, что запираемая в выточке крышки цилиндра жидкость вытесняется через канал 1 малого сечения, в котором установлена игла 2 для регулирования проходного сечения отверстия.

Гидравлический демпфер (рис.1.2, г) применяется в том случае, когда конструкцией гидроцилиндра не может быть предусмотрено устройство выточки. В гидравлическом демпфере в конце хода поршня стакан 1 упирается в крышку цилиндра, а жидкость вытесняется из полости 2 через кольцевой зазор между стаканом 1 и поршнем 3. Пружина 4 возвращает стакан в исходное положение при холостом ходе поршня.

Рис.1.2. Принципиальные схемы демпферов:

а - пружинный демпфер; б - демпфер с ложным штоком; в - демпфер регулируемый с отверстием; г - гидравлическийдемпфер

.Гидролинии

В гидросистемах машин отдельные элементы находятся на расстоянии друг от друга и соединяются между собой гидролиниями. Гидролинии должны обладать: - достаточной прочностью;

- минимальными потерями давления на преодоление гидравлических сопротивлений;

- отсутствием утечек жидкости;

- отсутствием в трубах воздушных пузырей.

Трубопроводы в зависимости от своей конструкции делятся на жесткие и гибкие.

Жесткие трубопроводы изготавливают из стали, меди, алюминия и его сплавов. Стальные применяют при высоких давлениях (до 320 ат). Трубы из сплавов алюминия применяют при давлениях до 150 ат и главным образом в гидросистемах машин с ограниченной массой (авиация). Медные трубопроводы при меньших давлениях (до 50 ат), там, где требуется изгиб труб под большими углами, что обеспечивает компактность гидросистемы, и применяются для дренажных линий.

Гибкие трубопроводы (рукава) бывают двух видов: резиновые и металлические. Для изготовления резиновых рукавов применяют натуральную и синтетическую резину. Рукав состоит из эластичной внутренней резиновой трубки, упрочненной наружной оплеткой или внутренним текстильным каркасом (рис.2.1). Их применяют тогда, когда соединяемые трубопроводом гидроагрегаты должны перемещаться относительно друг друга. При этом благодаря своей упругости резиновый рукава уменьшают пульсацию давления в гидросистеме. Они имеют следующие недостатки: подвижность при изменении давления; снижение общей жесткости гидросистемы; малая долговечность (1,5…3 года). Поэтому при проектировании гидросистем машин резиновых рукавов следует по возможности избегать.

Рис.2.1. Схемы конструкции рукавов с оплеткой:

- внутренний резиновый слой; 2 - металлическая оплетка;

- промежуточный резиновый слой; 4 - наружный резиновый слой

2.1.Соединения

Соединениями отдельные трубы и гидроагрегаты монтируются в единую гидросистему. Кроме того, соединения применяют и тогда, когда в гидросистеме необходимо предусмотреть технологические разъемы. Соединения могут быть неразборными и разборными.

Неразборные соединения применяют в недемонтируемых гидросистемах. Для соединения труб применяют сварку и пайку встык или используют муфты (переходные втулки) с прямыми с скошенными под углом 30 концами. При применении неразборных соединений масса гидролиний может быть уменьшена на 25…30% по сравнению с применением разборных соединений.

Разборные соединения (неподвижные и подвижные) - это соединения при помощи фланцев, штуцеров, ниппелей и других соединительных элементов.

Неподвижное разборное соединение может быть выполнено по наружному и внутреннему конусу, с врезающимся кольцом и фланцевое.

Соединение с врезающимся кольцом (рис.2.3) состоит из штуцера 1 с внутренней конической поверхностью 2, накидной гайки 5 и врезающегося кольца 3. Кольцо изготовлено из стали с цементированной поверхностью, а его конец, обращенный к штуцеру, имеет режущую кромку. При затяжке соединения гайкой режущая кромка врезается в трубу 4, происходит деформация кольца, которое получает форму, соответствующую конической поверхности штуцера. В результате обеспечиваются требуемые прочность и герметичность соединения.

Рис.2.3. Соединение с врезающимся кольцом

К неподвижным разборным соединениям относится и фланцевое соединение (рис.2.4), которое применяют при монтаже гидросистем с трубами, имеющими диаметр условного прохода более 32 мм при рабочих давлениях до 32 МПа. Герметичность обеспечивается установкой между фланцами уплотнительных колец.

Рис.2.4. Фланцевое соединение

3. Распределитель

По способу присоединения к гидросистеме гидрораспре-делители выпускают в трех исполнениях: резьбового, фланцевого и стыкового присоединения. Выбор способа присоединения зависит от назначения гидрораспределителя и расхода через него рабочей жидкости.

По конструкции запорно-регулирующего элемента гидрораспределители подразделяются следующим образом:

Золотниковые (запорно-регулирующим элементом является золотник цилиндрической или плоской формы). В золотниковых гидрораспределителях изменение направления потока рабочей жидкости осуществляется путем осевого смещения запорно-регулирующего элемента.

Крановые (запорно-регулирующим элементом служит кран). В этих гидрораспределителях изменение направления потока рабочей жидкости достигается поворотом пробки крана, имеющей плоскую, цилиндрическую, коническую или сферическую форму.

Клапанные (запорно-регулирующим элементом является клапан). В клапанных распределителях изменение направления потока рабочей жидкости осуществляется путем последовательного открытия и закрытия рабочих проходных сечений клапанами (шариковыми, тарельчатыми, конусными и т.д.) различной конструкции.

По числу фиксированных положений золотника гидрораспределители подразделяются: на двухпозиционные, трехпозиционные и многопозиционные.

По управлению гидрораспределители подразделяются на гидроаппараты с ручным, электромагнитным, гидравлическим или электрогидравлическим управлением. Крановые гидрораспределители используются чаще всего в качестве вспомогательных в золотниковых распределителях с гидравлическим управлением.

Золотниковые гидрораспределители

Запорно-регулирующим элементом золотниковых гидрораспределителей является цилиндрический золотник 1, который в зависимости от числа каналов (подводов) 3 в корпусе 2 может иметь один, два и более поясков (рис.3, а). На схемах гидрораспределители обозначают в виде подвижного элемента, на котором указываются линии связи, проходы и элементы управления. Рабочую позицию подвижного элемента изображают квадратом (прямоугольником), число позиций соответствует числу квадратов (рис.3, б).

Рис.3. Схема (а) и обозначение (б) гидрораспределителя

4.Фильтр

Фильтры служат для очистки рабочей жидкости от содержащихся в ней примесей. Эти примеси состоят из посторонних частиц, попадающих в гидросистему извне (через зазоры в уплотнениях, при заливке и доливке рабочей жидкости в гидробак и т.д.), из продуктов износа гидроагрегата и продуктов окисления рабочей жидкости.

Механические примеси вызывают абразивный износ и приводят к заклиниванию подвижных пар, ухудшают смазку трущихся деталей гидропривода, снижают химическую стойкость рабочей жидкости, засоряют узкие каналы в регулирующей гидроаппаратуре.

Примеси задерживаются фильтрами (рис.7.3), принцип работы которых основан на пропуске жидкости через фильтрующие элементы (щелевые, сетчатые, пористые) или через силовые поля (сепараторы). В первом случае примеси задерживаются на поверхности или в глубине фильтрующих элементов, во втором рабочая жидкость проходит через искусственно создаваемое магнитное, электрическое, центробежное или гравитационное поле, где происходит оседание примесей.

Рис.4. Схема фильтрации рабочей жидкости

По тонкости очистки, т.е. по размеру задерживаемых частиц фильтры делятся на фильтры грубой, нормальной и тонкой очистки.

Фильтры грубой очистки задерживают частицы размером до 0,1 мм (сетчатые, пластинчатые) и устанавливаются в отверстиях для заливки рабочей жидкости в гидробаки, во всасывающих и напорных гидролиниях и служат для предварительной очистки.

Фильтры нормальной очистки задерживают частицы от 0,1 до 0,05 мм (сетчатые, пластинчатые, магнитно-сетчатые) и устанавливаются на напорных и сливных гидролиниях.

Фильтры тонкой очистки задерживают частицы размером менее 0,05 мм (картонные, войлочные, керамические), рассчитаны на небольшой расход и устанавливаются в ответвлениях от гидромагистралей.

В зависимости от мест установки фильтров в гидросистеме различают фильтры высокого и фильтры низкого давления. Последние можно устанавливать только на всасывающих или сливных гидролиниях.

Проволочные фильтры имеют аналогичную конструкцию. Они состоят из трубы с большим количеством радиальных отверстий или пазов, на наружной поверхности которой навивается калибровочная проволока круглого или трапециевидного сечения. Зазор между рядами проволок определяет тонкость фильтрации рабочей жидкости (до 0,05 мм). Недостаток сетчатых и проволочных фильтров - трудность очистки фильтрующих элементов от скопившихся на их поверхности загрязнений.

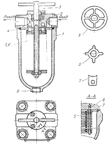
Пластинчатые (щелевые) фильтры устанавливают на напорных и сливных гидролиниях гидросистем. Пластинчатый фильтр типа Г41 (рис.4.1) состоит из корпуса 1, крышки 2 и оси 3, на которой закреплен пакет фильтрующих элементов. Крышка, имеющая отверстия для подвода и отвода жидкости, крепится к корпусу болтами, а стык между ними уплотняется резиновым кольцом 4. Пакет фильтрующих элементов состоит из набора основных 5 и промежуточных пластин 6. Жидкость поступает в корпус фильтра и через щели между основными и промежуточными пластинами попадает во внутреннюю полость фильтра, образованную вырезами в основных пластинах. При протекании жидкости через щели содержащиеся в ней механические примеси задерживаются. Тонкость очистки зависит от толщины промежуточных пластин. В процессе эксплуатации фильтра щели засоряются. Для очистки служат скребки 7, укрепленные на шпильке 8. При повороте рукояткой оси 3 скребки, помещенные между основными и промежуточными пластинами, очищают слой загрязнений на входе в щели. При скапливании загрязнений на дне корпуса производится их удаление через отверстие в нижней части корпуса 9. Такой сравнительно простой способ очистки является достоинством пластинчатых фильтров.

Рис.4.1. Пластинчатый фильтр типа Г41: 1 - корпус; 2 - крышка; 3 - ось; 4 - резиновое кольцо; 5 - основные пластины;6 - промежуточные пластины; 7 - скребки; 8 - шпилька; 9 - пробка.

5.Гидробак

Гидробаки предназначены для питания гидропривода рабочей жидкостью. Кроме того, через гидробак осуществляется теплообмен между рабочей жидкостью и окружающим пространством; в нем происходит выделение из рабочей жидкости воздуха, пеногашение и оседание механических и других примесей.

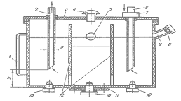
Рис.5. Гидробак: 1 - указатель масла; 2- всасывающая труба; 3 - крышка; 4 - сапун;5 - глазок; 6 - сливная труба; 7 - фильтр; 8 - сетчатый фильтр (ячейки 0,1 0,1 мм);9 - заливное отверстие; 10 - магнитная пробка;11 - крышка для слива РЖ; 12 - перегородки (успокоители)

Гидробаки изготавливают сварными из листовой стали толщиной 1-2 мм или литыми из чугуна. Форма гидробаков чаще всего прямоугольная. Внутри гидробака имеются перегородки 12, которыми всасывающая труба отделена от сливной 6. Кроме того, перегородки удлиняют путь циркуляции рабочей жидкости, благодаря чему улучшаются условия для пеногашения и оседания на дно гидробака примесей, содержащихся в рабочей жидкости. Лучшему выделению воздуха из рабочей жидкости способствует мелкая сетка, поставленная в гидробаке под углом. Для выравнивания уровня жидкости в гидробаке перегородки имеют отверстия на выоте 50…100 мм от дна. Заливку рабочей жидкости производят через отверстие 9 с сетчатым фильтром 8, имеющим ячейки размером не более 0,1 0,1 мм. Отверстие для заливки закрывают пробкой. Для контроля уровня рабочей жидкости в гидробаке служат указатель 1 или смотровой глазок 5. Для выравнивания давления над поверхностью жидкости в баке с атмосферным давлением служит сапун 4. Возможны случаи, когда давление в гидробаке отличается от атмосферного (избыточное давление или вакуум). Сливную и всасывающую трубы устанавливают на высоте h = (2…3) d от дна бака, а концы труб скашивают под углом 45°. При этом скос сливной трубы направлен к стенке, а всасывающей - от стенки. Такое расположение концов труб уменьшает смешивание жидкости с воздухом, взмучивание осадков и попадание примесей во всасывающую гидролинию. В верхней части сливной трубы может быть установлен фильтр. Дно гидробака имеет отверстие с крышкой 11 для спуска рабочей жидкости, периодической очистки и промывки гидроемкости. На дне также могут быть установлены магнитные пробки 10 для задержания металлических примесей. Крышка 3 бывает съемной. С гидробаком она соединяется через уплотнитель из маслостойкой резины.

.Насосы

Насос - гидравлическая машина, в которой механическая энергия, приложенная к выходному валу, преобразуется в гидравлическую энергию потока рабочей жидкости.

Пластинчатые насосы и гидромоторы так же, как и шестеренные, просты по конструкции, компактны, надежны в эксплуатации и сравнительно долговечны. В таких машинах рабочие камеры образованы поверхностями статора, ротора, торцевых распределительных дисков и двумя соседними вытеснителями-платинами. Эти пластины также называют лопастями, лопатками, шиберами.

Пластинчатые насосы могут быть одно-, двух- и многократного действия. В насосах однократного действия одному обороту вала соответствует одно всасывание и одно нагнетание, в насосах двукратного действия - два всасывания и два нагнетания.

Рис.6. Схема пластинчатого насоса однократного действия:

- ротор; 2 - приводной вал; 3 - пластины; 4 - статор; 5 - распределительный диск; 6, 8 - окна; 7 - гидролиния всасывания;9 - гидролиния нагнетания

Аксиально-поршневые гидромашины нашли широкое применение в гидроприводах, что объясняется рядом их преимуществ: меньшие радиальные размеры, масса, габарит и момент инерции вращающихся масс; возможность работы при большом числе оборотов; удобство монтажа и ремонта. Аксиально-поршневой насос состоит из блока цилиндров 8 (рис.6.1) с поршнями (плунжерами) 4, шатунов 7, упорного диска 5, распределительного устройства 2 и ведущего вала 6.

Рис.6.1. Принципиальные схемы аксиально-поршневых насосов:

и 3 - окна; 2 - распределительное устройство; 4 - поршни;

5 - упорный диск; 6 - ведущий вал; 7 - шатуны; 8 - блок цилиндров

а - с иловым карданом; б - с несиловым карданом;

в - с точечным касанием поршней; г - бескарданного типа

. Предохранитель устройства

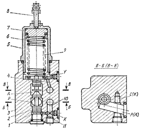
Предохранительный клапан ПГ54-34М (рис.7) стыкового присоединения состоит из следующих основных деталей: корпуса 3, колпачка 5, золотника 2, пружины 6, регулировочного винта 8 и втулки 7. Масло подводится к аппарату через отверстие P и отводится через отверстие A. Линия P через канал 10 и малое отверстие (демпфер) 11 соединена с полостью 1, а полость 9 через канал 4 - с отверстием A. Когда усилие от давления масла на торец золотника в полости 1 преодолевает усилие пружины 6 (регулируется винтом 8) и усилие от давления масла на противоположный торец золотника в полости 9, золотник перемещается вверх, соединяя линии P и A.

Рис.7. Конструкция гидроклапана давления ПГ54-34М

8.Дроссели

Очень часто во многих рабочих процессах необходимо изменять скорости движения выходных звеньев гидродвигателей. Изменение скорости может осуществляться разными способами. Одним из них является дроссельное управление.

Дроссельный способ регулирования скорости гидропривода с нерегулируемым насосом основан на том, что часть жидкости, подаваемой насосом, отводится в сливную гидролинию и не совершает полезной работы. Простейшим регулятором скорости является регулируемый дроссель, который устанавливается в системе либо последовательно с гидродвигателем, либо в гидролинии управления параллельно гидродвигателю.

При параллельном включении дросселя (рис.9.2, а) рабочая жидкость, подаваемая насосом, разделяется на два потока. один поток проходит через гидродвигатель, другой - через регулируемый дроссель.

Скорость поршня для этой схемы определится выражением  где S - эффективная площадь поршня; QН - подача насоса; Sдр - площадь проходного сечения дросселя; μ - коэффициент расхода; FН - нагрузка на шток поршня; ρ - плотность жидкости.

В такой системе при постоянной внешней нагрузке FН = const, скорость движения будет изменяться от υ min до υmax при изменении Sдр от Sдр max до Sдр = 0. Поскольку в рассматриваемом гидроприводе давление на выходе насоса зависит от нагрузки PH = FH /S и не является постоянной величиной, такую систему называют системой с переменным давлением. Клапан, установленный в системе, является предохранительным. Эта система позволяет регулировать скорость только в том случае, если направление действия нагрузки противоположно направлению движения выходного звена гидропривода (отрицательная нагрузка).

Рис.8. Схемы гидроприводов с дроссельным управлением скоростью:а - с параллельным включением дросселя; б - с дросселем на входегидродвигателя; в - с дросселем на выходе гидродвигателя;г - с четырехлинейным дросселирующим распределителем.

Список литературы

1. Акчурин Р.Ю. Расчет гидроприводов. Учебное пособие. 1998.

. Богданович Л.Б. Гидравлические приводы. Киев. 1980.

. Свешников В.К. Станочные гидроприводы: справочник. 1996.

. Анурьев В.И. Справочник конструктора-машиностроителя. 1992.

. ГОСТ 2.781-68 ЕСКД. Обозначения условные графические. Аппаратура распределительная и регулирующая, гидравлическая и пневматическая.

. Грубе А.Э., Санев В.И. Основы расчета элементов привода деревообрабатывающих станков


Не нашли материал для своей работы?
Поможем написать уникальную работу
Без плагиата!
Без нейросетей!