Структуризация системы по методике Перегудова-Сагатовского

  • Вид работы:
    Курсовая работа (т)
  • Предмет:
    Информационное обеспечение, программирование
  • Язык:
    Русский
    ,
    Формат файла:
    MS Word
    47,04 Кб
  • Опубликовано:
    2013-12-15
Вы можете узнать стоимость помощи в написании студенческой работы.
Помощь в написании работы, которую точно примут!

Структуризация системы по методике Перегудова-Сагатовского

1. Постановка задачи

Целью работы является освоение методов анализа работы предприятия.

В данной работе анализируется деятельность компании «Газпром» - российской энергетической компании, добывающей нефть и газ. Оценка успешности деятельности компании позволит также предвидеть перспективы развития организации, поможет избежать в дальнейшем кризисные ситуации.

Для начала раскроем понятие системы в целом. Например, Л. Фон Берталанфи определял систему как «комплекс взаимодействующих компонентов» или «совокупность элементов, находящихся в определенных отношениях друг с другом и со средой. В определении Ф.Е. Темникова «система - организованное множество», цель проявляется при раскрытии понятия организованное. Цель представлялась также в виде конечного результата, системообразующего критерия, - определения Вернадского В.И., Гибсона У.Р., Анохина П.К.

Однако взгляд на определение системы как на средство ее исследования позволил осознать целесообразность определения, в котором объект не расчленяется на элементы, что делается в вышеприведенных определениях, а представляется как совокупность укрупненных компонент, принципиально необходимых для существования и функционирования исследуемой или создаваемой системы:

S = <Z, STR, TECH, COND, N>

= {zi} - совокупность или структура целей;= {STRпр, STRорг, …} - совокупность структур, реализующих цели (производственная, организационная и т.д.)= {meth, means, alg, …} - совокупность технологий (методы, средства, алгоритмы и т.д.)

COND = {φex, φin} - условия существования системы, т. е. факторы, влияющие на ее создание и функционирование (внешние, внутренние).- «наблюдатель», лицо, принимающее и исполняющее решения, осуществляющие структуризацию целей, корректировку организационной и производственной структуры, осуществляющие выбор методов и средств моделирования.

Данное определение было предложено д.э.н., профессором Санкт-Петербургского государственного политехнического университета Волковой В.Н.

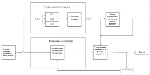
2. Модель проектирования информационной системы



3. Общие сведения об организации. Краткая история организации

ОАО «Газпром» - глобальная энергетическая компания. Основные направления деятельности - геологоразведка, добыча, транспортировка, хранение, переработка и реализация газа, газового конденсата и нефти.

«Газпром» видит свою миссию в надежном, эффективном и сбалансированном обеспечении потребителей природным газом, другими видами энергоресурсов и продуктов их переработки.

«Газпром» располагает самыми богатыми в мире запасами природного газа. Его доля в мировых запасах газа составляет 18 %, в российских - 70 %. На «Газпром» приходится 15 % мировой и 78 % российской добычи газа. В настоящее время компания активно реализует масштабные проекты по освоению газовых ресурсов полуострова Ямал, арктического шельфа, Восточной Сибири и Дальнего Востока, а также ряд проектов по разведке и добыче углеводородов за рубежом.

«Газпром» - надежный поставщик газа российским и зарубежным потребителям. Компании принадлежит крупнейшая в мире газотранспортная сеть - Единая система газоснабжения России, протяженность которой превышает 161 тыс. км. На внутреннем рынке «Газпром» реализует свыше половины продаваемого газа. Кроме того, компания поставляет газ в 30 стран ближнего и дальнего зарубежья.

«Газпром» является единственным в России производителем и экспортером сжиженного природного газа и обеспечивает около 5 % мирового производства СПГ.

Компания входит в пятерку крупнейших производителей нефти в РФ, а также является крупнейшим владельцем генерирующих активов на ее территории. Их суммарная установленная мощность составляет 17 % от общей установленной мощности российской энергосистемы.

Стратегической целью является становление ОАО «Газпром» как лидера среди глобальных энергетических компаний посредством освоения новых рынков, диверсификации видов деятельности, обеспечения надежности поставок.

4. Описание предприятия

В качестве исследуемого объекта выступает энергетическая компания «Газпром», которое является самостоятельным хозяйственным субъектом и осуществляет следующие виды работ:

- Геологоразведка;

Добыча энергоресурсов;

Транспортировка и хранение энергоресурсов

Переработка энергоресурсов.

Для осуществления перечисленных выше работ предприятию необходимо осуществлять следующие виды деятельности:

Обеспечение материально-технического снабжения;

Маркетинг и управление финансами;

Обеспечение необходимых условий труда;

Проведение научной деятельности;

Управление персоналом и обеспечение трудовыми ресурсами.

Также предприятию необходимо заключать договора с поставщиками и заказчиками, искать потенциальных покупателей, а, следовательно, для этого нужно активно заниматься рекламной деятельностью и проводить маркетинговые исследования.

Для увеличения прибылей фирме необходимо повышать конкурентоспособность продукции и услуг, поэтому следует поводить анализ деятельности конкурентов и заниматься научной деятельностью для внедрения новых технологий.

Осуществляя свою деятельность предприятие должно подчиняться действующему законодательству, международным стандартам продукции и услуг, а также экологическим стандартам.

5. Формирование структуры целей и функций объекта

5.1 Выбор АДПАЦФ

Для составления структуры целей и функций предприятия необходимо воспользоваться одной из автоматизированных процедур, предоставленных для выполнения работы.

Для этого необходимо провести анализ работы каждой из процедур и выбрать наиболее удобную.

В качестве рассматриваемых процедур были выбраны:

) ADPACF;

) Structuraiser:

) TreeMaker.

Для оценки действия каждой из них необходимо выбрать одну из предоставленных методик и попытаться выполнить ее с помощью программы. В качестве этой методики была выбрана методика Уемова-Кошарского.

В качестве наиболее удобной автоматизированной процедуры была выбрана программа TreeMaker.

5.2 Структуризация по методике Кошарского-Уемова, основанной на двойственном определении системы

Эта методика, базирующаяся на двойственном определении системы. А.И. Уемов, определяя систему через понятия «вещь», «свойство», «отношение», предложил двойственное определение, в одном из которых свойства  характеризуют элементы , а в другом - свойства  характеризуют связи (отношения) .

Б.Д. Кошарский показал, что каждый из этих способов представления системы в отдельности дает неполное описание системы управления, а для выполнения системных особенностей конкретного предприятия необходимо один способ описания дополнить другим, двойственным ему. Таким образом, только совместное использование процедурного и факторного представления системы позволяет обеспечить конкретизацию и полноту анализа целей и задач организационного управления.

Такое требование на практике реализуется либо путем параллельного формирования двойственных вариантов структуры с использованием взаимно обратной последовательности признаков структуризации, либо путем формирования и анализа матрицы «цикл управления - объект управления», после оценки которой формируются двойственные структуры и осуществляется выбор из них наилучшей.

Для методики Кошарского-Уемова структура будет выглядеть следующим образом:

. Прогнозирование

.1. Геологоразведка

.2. Добыча

.3. Транспорт

.4. Переработка

.5. Хранение

.6. Финансы

.7. Кадры

. Перспективное планирование

.1. Геологоразведка

.2. Добыча

.3. Транспорт

.4. Переработка

.5. Хранение

.6. Финансы

. Текущее планирование

.1. Геологоразведка

.2. Добыча

.3. Транспорт

.4. Переработка

.5. Хранение

.6. Материально-техническое обеспечение

.8. Маркетинг

.9. Финансы

. Организация

.1. Геологоразведка

.2. Добыча

.3. Транспорт

.4. Переработка

.5. Хранение

.6. Материально-техническое обеспечение

.7. Научная деятельность

.8. Маркетинг

.9. Кадры

. Оперативное управление

.1. Геологоразведка

.2. Добыча

.3. Транспорт

.4. Переработка

.5. Научная деятельность

.6. Маркетинг

.7. Финансы

. Учет, контроль, анализ

.1. Геологоразведка

.2. Добыча

.3. Транспорт

.4. Переработка

.5. Хранение

.6. Материально-техническое обеспечение

.7. Научная деятельность

.8. Маркетинг

.9. Финансы

.10. Кадры

Построим инвертированную систему:

. Геологоразведка

.1. Прогнозирование

.2. Перспективное планирование

.3. Текущее планирование

.4. Организация

.5. Оперативное управление

.6. Учет, контроль, анализ

. Добыча

.1. Прогнозирование

.2. Перспективное планирование

.3. Текущее планирование

.4. Организация

.5. Оперативное управление

.6. Учет, контроль, анализ

. Транспорт

.1. Прогнозирование

.2. Перспективное планирование

.3. Текущее планирование

.4. Организация

.5. Оперативное управление

.6. Учет, контроль, анализ

. Переработка

.1. Прогнозирование

.2. Перспективное планирование

.3. Текущее планирование

.4. Организация

.5. Оперативное управление

.6. Учет, контроль, анализ

. Хранение

.1. Прогнозирование

.2. Перспективное планирование

.3. Текущее планирование

.4. Организация

.5. Учет, контроль, анализ

. Материально-техническое обеспечение

.1. Текущее планирование

.2. Организация

.3. Учет, контроль, анализ

.1. Текущее планирование

.2. Организация

.3. Оперативное управление

.4. Учет, контроль, анализ

. Маркетинг

.1. Текущее планирование

.2. Организация

.3. Оперативное управление

.4. Учет, контроль, анализ

. Финансы

.1. Прогнозирование

.2. Перспективное планирование

.3. Текущее планирование

.4. Оперативное управление

.5. Учет, контроль, анализ

. Кадры

.1. Прогнозирование

.2. Организация

.3. Учет, контроль, анализ

5.3 Структуризация системы по методике Перегудова-Сагатовского, основанной на концепции системы, учитывающей среду и целеполагание

Методика, основанная на концепции системы, учитывающей среду и целеполагание. В основе методики лежит определение системы В.Н. Саготовского, в котором учитываются понятия цели , среды  и интервала времени  - периода существования системы, влияющего на процесс целеобразования: .

После построение дерева Саготовского в программе TreeMaker была получена схема:

. Максимизация прибыли за счет диверсификации видов деятельности и освоения новых рынков

.1. Надсистема

.1.1. Выполнение условий по контрактам с заказчиками

.1.2. Соблюдение законов РФ

.1.3. Соблюдение международных стандартов качества

.1.4. Соблюдение государственных норм добычи

.1.5. Соблюдение международных экологических норм

.2. Подведомственная система

.2.1. Разработка и применение новых технологий

.2.2. Повышение квалификации персонала

.2.3. Обновление парка технических средств

.2.4. Привлечение новых молодых кадров из ВУЗов

.2.5. Ремонт и расширение сети трубопроводов и других путей поставки

.3. Собственно система

.3.1. Обеспечение надежности и качества поставок

.3.2. Диверсификация бизнеса

.3.3. Диверсификация продукции

.3.4. Совершенствование орг. структуры

.3.5. Создание прогнозов и планов развития

.3.6. Развитие и поддержка КИС и АСУП

.4. Актуальная среда

.4.1. Заключение новых контрактов с гос. и част. лицами

.4.2. Поиск партнеров для совместной деятельности

.4.3. Осуществление рекламной деятельности

.4.4. Анализ рынка и деятельности конкурентов

.4.5. Поиск новых месторождений и рынков сбыта

.4.6. Повышение уровня конкурентоспособности продукции

.4.7. Обеспечение надежности и качества поставок.

5.4 Структуризация системы по методике, базирующейся на концепции деятельности

Понятие деятельности в той или иной форме используется в любой методике структуризации, разрабатываемой для отображения и анализа организационных систем управления. В то же время есть методики, в которых концепция деятельности является основой формирования структур целей, т. е. используется на верхних уровнях структуры.

В методике предусмотрено два основных этапа, которые делятся на под-этапы, а последние, в свою очередь, на более детальные под-этапы.

После построения схемы в программе TreeMAker, была получена следующая схема:

. Совершенствование системы управления компанией

.1. Совершенствование управления основной деятельностью

.1.1. Разработка требований к качеству добытых и переработанных ресурсов

.1.2. Совершенствование и разработка технологических методов

.1.3. Соблюдение и улучшение условий труда

.1.4. Контроль уровня экологического загрязнения

.2. Совершенствование системы организационного управления

.2.1. Разработка и совершенствование нормативно-методического обеспечения системы управления

.2.2. Совершенствование организационной структуры

.2.3. Разработка прогнозов и планов развития предприятия

.2.4. Развитие КИС и АСУП, как средств поддержки системы орг. управления.

5.5 Формирование обобщенной методики

После выполнения всех трех методик, необходимо сформировать обобщенную методику, которая бы позволяла в наилучшей степени осуществлять управление предприятием и обеспечивала бы наилучшее его функционирование.

В итоге обобщенная схема будет выглядеть следующим образом:

. Максимизация прибыли за счет диверсификации видов деятельности и освоения новых рынков

.1. Надсистема

.1.1.1. Прогнозирование

.1.1.2. Перспективное планирование

.1.1.3. Текущее планирование

.1.1.4. Оперативное управление

.1.1.5. Учет, контроль, анализ

.1.2. Соблюдение законов РФ

.1.2.1. Учет, контроль, анализ

.1.3. Соблюдение международных стандартов качества

.1.3.1. Учет, контроль, анализ

.1.4. Соблюдение государственных норм добычи

.1.4.1. Прогнозирование

.1.4.2. Учет, контроль, анализ

.1.5. Соблюдение международных экологических норм

.1.5.1. Учет, контроль, анализ

.2. Подведомственная система

.2.1. Разработка и применение новых технологий

.2.1.1. Прогнозирование

.2.1.2. Текущее планирование

.2.1.3. Организация

.2.1.4. Оперативное управление

.2.1.5. Учет, контроль, анализ

.2.2. Повышение квалификации персонала

.2.2.1. Прогнозирование

.2.2.2. Перспективное планирование

.2.2.3. Текущее планирование

.2.2.4. Организация

.2.2.5. Оперативное управление

.2.2.6. Учет, контроль, анализ

.2.3. Обновление парка технических средств

.2.3.1. Прогнозирование

.2.3.2. Перспективное планирование

.2.3.3. Текущее планирование

.2.3.4. Организация

.2.3.5. Учет, контроль, анализ

.2.4. Привлечение новых молодых кадров из ВУЗов

.2.4.1. Прогнозирование

.2.4.2. Перспективное планирование

.2.4.3. Текущее планирование

.2.4.4. Организация

.2.4.5. Учет, контроль, анализ

.2.5. Ремонт и расширение сети трубопроводов и других путей поставки

.2.5.1. Прогнозирование

.2.5.2. Перспективное планирование

.2.5.3. Текущее планирование

.2.5.4. Организация

.2.5.5. Оперативное управление

.2.5.6. Учет, контроль, анализ

.3. Собственно система

.3.1. Диверсификация бизнеса

.3.1.1. Прогнозирование

.3.1.2. Перспективное планирование

.3.1.3. Текущее планирование

.3.1.4. Организация

.3.1.5. Оперативное управление

.3.1.6. Учет, контроль, анализ

.3.2. Диверсификация продукции

.3.2.1. Прогнозирование

.3.2.2. Перспективное планирование

.3.2.3. Текущее планирование

.3.2.4. Организация

.3.2.5. Оперативное управление

.3.2.6. Учет, контроль, анализ

.3.3. Совершенствование орг структуры

.3.3.1. Прогнозирование

.3.3.2. Перспективное планирование

.3.3.3. Текущее планирование

.3.3.4. Организация

.3.3.5. Оперативное управление

.3.3.6. Учет, контроль, анализ

.3.4. Создание прогнозов и планов развития

.3.4.2. Перспективное планирование

.3.4.3. Текущее планирование

.3.4.4. Организация

.3.4.5. Оперативное управление

.3.4.6. Учет, контроль, анализ

.3.5. Развитие и поддержка КИС и АСУП

.3.5.1. Перспективное планирование

.3.5.2. Оперативное управление

.3.5.3. Учет, контроль, анализ

.4. Актуальная среда

.4.1. Заключение новых контрактов с гос. и част. лицами

.4.1.1. Перспективное планирование

.4.1.2. Организация

.4.1.3. Оперативное управление

.4.1.4. Учет, контроль, анализ

.4.2. Поиск партнеров для совместной деятельности

.4.2.1. Прогнозирование

.4.2.2. Перспективное планирование

.4.2.3. Оперативное управление

.4.2.4. Учет, контроль, анализ

.4.3. Осуществление рекламной деятельности

.4.3.1. Текущее планирование

.4.3.2. Организация

.4.3.3. Оперативное управление

.4.3.4. Учет, контроль, анализ

.4.4. Анализ рынка и деятельности конкурентов

.4.4.1. Организация

.4.4.2. Учет, контроль, анализ

.4.5. Поиск новых месторождений и рынков сбыта

.4.5.1. Текущее планирование

.4.5.2. Организация

.4.5.3. Оперативное управление

.4.5.4. Учет, контроль, анализ

.4.6. Повышение уровня конкурентоспособности продукции

.4.6.1. Текущее планирование

.4.6.2. Организация

.4.6.3. Оперативное управление

.4.6.4. Учет, контроль, анализ

.4.7. Обеспечение надежности и качества поставок

.4.7.1. Текущее планирование

.4.7.2. Организация

.4.7.3. Оперативное управление

.4.7.4. Учет, контроль, анализ.

6. Формирование информационного обеспечения

6.1 Разработка организационной структуры предприятия

В качестве информационного массива в системе управления деятельностью предприятия будут выступать сотрудники предприятия. Для этого следует изучить состав сотрудников, а также выявить иерархию в нем.

На предприятии имеются следующие должности и обязанности:

) Генеральный директор.

Несет персональную ответственность за общее руководство, координацию, регулирование и управление организацией.

) Первый заместитель генерального директора (Главный инженер)

В функциональные обязанности первого заместителя входит:

оценка перспективности проектов и их дальнейшая разработка, координация деятельности службы монтажа промышленного оборудования и службы монтажа бытовых приборов учета и т. д.

обеспечение бесперебойного снабжения потребителей электрической энергией, качество электроэнергии.

осуществлять монтаж, наладку и ремонт энергетических объектов и другого оборудования.

организация эксплуатации оборудования и устройств диспетчерско-технологического управления.

внедрение и эксплуатация автоматизированных систем контроля и учета.

организация работы с персоналом, включая прием экзаменов в соответствии с планами, с учетом действующих нормативных документов.

координация проектных и научно-исследовательских работ, согласование технических заданий и проектов.

содействие внедрению новой техники и технологий, технологический надзор за созданием и освоением новой техники.

ведение анализа технико-экономических показателей и затрат на эксплуатацию, ремонт, техническое перевооружение и развитие оборудования и систем.

) Заместитель генерального директора по общим вопросам.

В функциональные обязанности заместителя генерального директора по общим вопросам входит:

Решение социальных и хозяйственных вопросов.

Участие в реализации региональных социальных и других программ.

Организацию получения и отправления грузов, транспортного обеспечения, в том числе перевозок персонала, а также крупногабаритного и особо опасного груза.

Представление и защиту интересов ПГ «Метран».

Участие во внешнеэкономической деятельности.

Организацию и контроль работы по охране экономической безопасности и безопасности персонала.

работа со службой технической поддержки (компьютеры и программное обеспечение), связь и т. д.

) Заместитель генерального директора по инвестициям, тех. перевооружению, реконструкции и развитию.

Подготовка предложений в части сооружения и ввода в эксплуатацию нового оборудования.

Участие и разработка основных направлений и перспективных планов развития.

Согласование основных технических решений.

Расчет потребности в инвестициях для развития, разработка предложений по источникам финансирования.

Решение вопросов, связанных с получением согласований, необходимых для разрешения строительства новых, реконструкции и технического перевооружения действующих объектов.

Организацию рабочего проектирования, строительства и прием в эксплуатацию закрепленных объектов производственного назначения, вспомогательного и специального назначения.

) Заместитель генерального директора по финансам.

В функциональные обязанности заместителя генерального директора по финансам входит:

Организацию финансово-хозяйственной деятельности в области обеспечения объектов материально-техническими ресурсами.

Эффективное и целевое использование материальных и финансовых ресурсов, снижение их потерь.

Участие подчинённых ему служб и отделов в составлении перспективных и текущих планов производства.

Принятие мер по своевременному заключению хозяйственных и финансовых договоров.

Финансовые и экономические показатели деятельности предприятия, правильное использование оборотных средств.

Обеспечение своевременной выплаты заработной платы рабочим и служащим.

Своевременное составление сметно-финансовых и других документов, расчётов, установленной отчётности о выполнении планов.

6.2 Построение линейно-функциональной структуры предприятия

Наиболее распространенной формой организационной структуры является сочетание линейного и функционального принципов управления. Такие структуры называются линейно-функциональными. В таких структурах принято такое разделение труда, при котором линейные звенья управления наделены принципами единоначалия и выполняют функции распорядительства, а функциональные - оказывают помощь линейным. Принципы линейного и функционального управления используются в любой организационной структуре.

Приведенная на рисунке ниже иерархия построена по принципу линейно-функциональной структуры.


7. Оценка структуры целей и функций

В любой организации какие-то части системы имеют более высокий приоритет над остальными. Для того чтобы показать это, необходимо произвести оценку структуры целей и функций. Для этого можно воспользоваться программой TreeMaker.

Для оценки будем использовать полученную ранее обобщенную структуру целей и функций. Критерием оценивания можно выбрать «Необходимость».

. Стабильность предприятия и увеличение выручки за счет расширения рынка сбыта

.1. Надсистема (Ориентация на заказчика) [0,26]

.1.1. Обеспечение выпуска продукции по заказам от городских структур [0,25]

.1.1.1. Прогнозирование [0,05]

.1.1.2. Перспективное планирование [0,2]

.1.1.3. Текущее планирование [0,3]

.1.1.4. Оперативное управление [0,3]

.1.1.5. Анализ, контроль, учет [0,15]

.1.2. Выполнение гражданского, трудового, налогового законодательств, ГОСТов и инструкций [0,25]

.1.2.1. Анализ, контроль, учет [1]

.1.3. Взаимодействие с регулирующими государственными органами [0,15

.1.3.1. Анализ, контроль, учет [1]

.1.4. Сертификация по стандарту ISO 9000 [0,2]

.1.4.1. Текущее планирование [0,2] нА

.1.4.2. Организация [0,3]

.1.4.3. Оперативное управление [0,3]

.1.4.4. Анализ, контроль, учет [0,2]

.1.5. Разработка и продвижение интеллектуальных средств автоматизации, поддерживающих коммуникационный протокол HART [0,15]

.1.5.1. Текущее планирование [0,2]

.1.5.2. Организация [0,35]

.1.5.3. Оперативное управление [0,25]

.1.5.4. Анализ, контроль, учет [0,2]

.2. Подведомственная система (Обеспечение стабильности работы фирмы и подведомственных организаций) [0,26]

.2.1. Обеспечения материально-технического снабжения [0,15]

.2.1.1. Текущее планирование [0,5]

.2.1.2. Организация [0,5]

.2.2. Обеспечение изготовления продукции для нужд предприятия [0,15]

.2.2.1. Прогнозирование [0,15]

.2.2.2. Текущее планирование [0,25]

.2.2.3. Организация [0,25]

.2.2.4. Оперативное управление [0,2]

.2.2.5. Анализ, контроль, учет [0,15]

.2.3. Обеспечение необходимых условий труда [0,10]

.2.3.1. Организация [1]

.2.4. Внедрение новых технологий [0,15]

.2.4.1. Текущее планирование [0,3]

.2.4.2. Организация [0,2]

.2.4.3. Оперативное управление [0,2]

.2.4.4. Анализ, контроль, учет [0,3]

.2.5. Разработка и уточнение требований, предъявляемых к готовой продукции [0,15]

.2.5.1. Текущее планирование [0,3]

.2.5.2. Организация [0,35]

.2.5.3. Анализ, контроль, учет [0,35]

.2.6. Обеспечение ремонта помещений и оборудования [0,05]

.2.6.1. Текущее планирование [0,2]

.2.6.2. Организация [0,35]

.2.6.3. Оперативное управление [0,25]

.2.6.4. Анализ, контроль, учет [0,2]

.2.7.1. Прогнозирование [0,33]

.2.7.2. Текущее планирование [0,33]

.2.7.3. Анализ, контроль, учет [0,34]

.2.8. Управление персоналом и обеспечение трудовыми ресурсами [0,10]

.2.8.1. Организация [1]

.3. Собственно система (Обеспечение заказов потребителей актуальной среды) [0,26]

.3.1. Заключение договоров с гос. и частными предприятиями [0,2]

.3.1.1. Перспективное планирование [0,3]

.3.1.2. Организация [0,4]

.3.1.3. Анализ, контроль, учет [0,3]

.3.2. Заключение договоров о совместной деятельности с другими предприятиями [0,2]

.3.2.1. Перспективное планирование [0,4]

.3.2.2. Организация [0,3]

.3.2.3. Анализ, контроль, учет [0,3]

.3.3. Осуществление рекламной деятельности [0,15]

.3.3.1. Текущее планирование [0,2]

.3.3.2. Организация [0,3]

.3.3.3. Оперативное управление [0,2]

.3.3.4. Анализ, контроль, учет [0,3]

.3.4. Анализ деятельности предприятий-конкурентов [0,1]

.3.4.1. Организация [0,5]

.3.4.2. Анализ, контроль, учет [0,5]

.3.5. Повышение уровня конкурентоспособности продукции [0,20]

.3.5.1. Текущее планирование [0,3]

.3.5.2. Организация [0,3]

.3.5.3. Оперативное управление [0,2]

.3.5.4. Анализ, контроль, учет [0,2]

.3.6. Поиск потенциальных инвесторов [0,15]

.3.6.1. Организация [0,5]

.3.6.2. Анализ, контроль, учет [0,5]

.4. Актуальная среда (Совершенствование системы управления предприятием) [0,22]

.4.1. Совершенствование произв. и орг. структуры предприятия [0,3]

.4.1.1. Прогнозирование [0,1]

.4.1.2. Перспективное планирование [0,2]

.4.1.3. Текущее планирование [0,2]

.4.1.4. Организация [0,2]

.4.1.5. Оперативное управление [0,2]

.4.1.6. Анализ, контроль, учет [0,1]

.4.2. Разработка прогнозов, осн. напр-й развития и планов предприятия [0,4]

.4.2.1. Прогнозирование [0,1]

.4.2.2. Перспективное планирование [0,2]

.4.2.3. Текущее планирование [0,2]

.4.2.4. Организация [0,2]

.4.2.5. Оперативное управление [0,2]

.4.2.6. Анализ, контроль, учет [0,1]

.4.3. Разработка и развитие АСУП, как ср-ва совершенствования СОУ [0,3]

.4.3.1. Перспективное планирование [0,33]

.4.3.2. Оперативное управление [0,34]

.4.3.3. Анализ, контроль, учет [0,33].

8. Первое сопоставление функциональной части и информационных массивов

На данном этапе функциональная часть нашей информационной модели управления предприятием была сопоставлена с организационной структурой предприятия. В частности, функции управления были сгруппированы таким образом, чтобы распределить их по подразделениям организационной структуры, создаваемым для их выполнения.

9. Рекомендации


Проведя сопоставлений функциональной части с организационной структурой предприятия, можно отметить некоторые недостатки полученной модели. Видно, что такие функции как: сертификация по стандарту ISO 9000, осуществление рекламной деятельности, анализ деятельности конкурентов, поиск потенциальных инвесторов, разработка и развитие АСУП, разработка требований к готовой продукции остались без исполнителей. В тоже время у главного инженера слишком много функций. Для решения этой проблемы необходимо добавить новых исполнителей и сопоставить им необходимые функции. Это продемонстрировано во втором сопоставлении функциональной части и информационных массивов.

Заключение


В ходе выполнения данной работы была построена модель информационной системы на примере модели управления деятельности производственного предприятия.

В функции управления предприятия входят:

) Ориентация на заказчика;

) Обеспечение стабильности работы фирмы и подведомственных структур;

) Обеспечение заказов потребителей;

) Совершенствование системы управления предприятием.

Элементом структуры служит орган в лице руководителя предприятия - Генеральный директор. Директор несет ответственность за общее руководство предприятием и отдельные органы управления. Более младшими органами управления являются заместители, имеющие различные полномочия в сферах финансов, производства, хозяйственной деятельности и т.д.

Опираясь на данную информацию, были составлены различные функции и цели системы. За основу были взяты некоторые методики системного анализа целей, в частности, методики Кошарского-Уемова, Перегудова-Саготовского и методика, основанная на концепции деятельности.

Согласно данным методикам была составлена обобщенная структура целей и функций, а далее была составлена и функциональная часть архитектуры информационной системы управления предприятием с определенными функциями и подфункциями.

Библиография

информационный treemaker саготовский перегудов

1. Волкова В.Н., Денисов А.А. Теория систем и системный анализ. Издательство Юрайт, 2010

. Волкова В.Н. Автоматизированные диалоговые процедуры анализа целей и функций. СПБ, издательство СПБГТУ 2001

Похожие работы на - Структуризация системы по методике Перегудова-Сагатовского

 

Не нашли материал для своей работы?
Поможем написать уникальную работу
Без плагиата!
Без нейросетей!